|
Параметр
|
Значення, т
|
|
діапазон
|
коеф.
|
Приймаю значення
|
|
Загальна маса крана
|
0,3
|
|
|
|
Маса механізму підйому вантажу
|
0,15
|
|
|
|
Маса механізму пересування візка
|
0,03
|
|
|
|
Маса вантажного візка, поліспастів та
вантажозахватного пристрою
|
0,1
|
|
|
|
Маса кабіни
|
-
|
|
|
|
Маса металоконструкцій
|
-
|
|
|
|
Маса моста
|
0,6
|
|
|
|
Маса жорсткої опори
|
0,2
|
|
|
|
Маса шарнірної опори
|
0,09
|
|
|
Примітка: значення мас жорсткої та шарнірної опор
крана наведено з урахуванням мас ходових візків і механізму пересування крана,
встановлених на цих опорах.
2. Розрахунок механізму підйому вантажу
Загальна схема механізму підйому вантажу
зображена на рис. 2.1.
Рис. 2.1. Схема механізму підйому вантажу
2.1 Розрахунок канату, діаметрів барабана і
блоків
Максимальне зусилля у вітці канату, що набігає на
барабан, при підйомі вантажу
, (2.1)
кН.
де Gв - вага вантажу, кН; Gв =
; g = 9,8 м/с2;- кількість
віток канату, які утримують вантаж, z=4;
ηп - коефіцієнт корисної дії поліспаста;
, (2.2)
;
де ηб - К.К.Д.
канатного блока з урахуванням жорсткості канату (значення приймаються за
довідковою літературою, [1, табл. 2]); ηб = 0,96…0,98.
Приймаю ηб = 0,98;-
кратність поліспаста, u=2;- кількість відхильних блоків, n=4.
Розривне зусилля в канаті
кН, (2.3)
де zp - мінімально допустимий
коефіцієнт використання канату. Значення zp вибираємо з [2, табл.
4,2].
За отриманим розривним зусиллям вибираю стальний канат і
виписую тип канату, конструкцію, діаметр, розривне зусилля канату в цілому і
розрахункову межу міцності дроту: dк = 14 мм, F0 = 10800
Н, σ = 1764
МПа. Сталевий канат за ГОСТ 2688-80, канат подвійної звивки типу ЛК-Р
конструкції 6
19 (1+6+6/6)+1 о.с. [1, табл. 3-5].
Діаметр канатного барабану по центру навитого канату
де
коефiцiєнт, який призначається з урахуванням типу
вантажопідйомної машини та групи режиму роботи
машини, h1=16,0 ([1], табл. 7);
dk-діаметр канату, dk=14;
приймаю Dб = 0,230 м;
по дну канавки
мм, (2.5)
приймаю
= 0,21 м.
Діаметр канатних блоків по центру навитого канату
мм, (2.6)
де h2-коефіцієнт, який призначається з
урахуванням типу вантажопідйомної машини та групи режиму роботи, h2=18
(1, табл7);
приймаю Dбл = 0,21 м.
2.2 Розрахунок вантажозахватного пристрою
Так як вантажний візок крана пересувається по
верхньому поясу моста, то використовуємо вантажну траверсу.
2.2.1 Розрахунок елементів вантажної траверси
а) вибір крюка
Згідно з номінальною вантажопідйомністю та групою
режиму роботи механізму підйому за даними ГОСТ 6627-74 вибираю однорогий
кований вантажний крюк, №15.
б) вибір упорного підшипника
Розрахункове навантаження на підшипник Qр
; (2.7)
Н,
де kб - коефіцієнт безпеки; kб =
1,2 [1, табл. 37];
С0 - статична вантажопідйомність
підшипника.
Вибираю, за даними розрахункового навантаження Qр,
а також діаметра шийки гака d1 = 55 мм [1, табл. 37] упорний
однорядний шарикопідшипник крюка 8211 за ГОСТ 6874-75; С0 = 129000
Н.
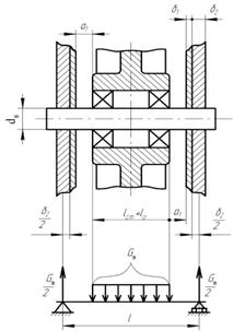
в) розрахунок осі блоків
Навантаження на вісь, яке передається через блоки
та підшипники блоків (рис. 2.2.), вважається рівномірно розподіленим на довжині
l0.
Опорні реакції рівні
=39,2 кН приймаються прикладеними посередині товщини серг.
Матеріал осі - сталь 45 з характеристиками згідно [2, табл. 3.2]. Конструктивно
призначаю лінійні розміри необхідні для розрахунку осі:
а-зазор між блоками, а=9 мм;
а1 - товщина лабіринт них дисків; а1
= (8…10) мм, приймаю
а1 = 9 мм;
δ1 - товщина захисного листа, обчислюємо за
формулою
δ1 =
мм, приймаю δ1 = 4 мм.
Рис. 2.2. Схема до розрахунку осі блоків крюкової підвіски δ2 - товщина серги; δ2 = 12 мм. (1, табл. 3)
Довжина навантаженої частини осі:
мм, (2.8)
де n-кількість блоків на осі, n=1;ст-ширина
ступиці блока, lст=500 мм, [1, табл. 9].
Розрахунковий проліт осі
мм (2.9)
Максимальний згинальний момент
Н
. (2.10)
Діаметр осі
м (2.11)
де [σзг] - допустимі
напруження при згині;
МПа, (2.12)
де σ-1 - межа
витривалості при згині; σ-1 = 350-380 МПа
[8, табл. 3.2];
[n] - запас міцності на згин; [n] = 1,4 [8, табл.
3.12];
- коефіцієнт концентрації напружень;
= 2,5 [8, табл. 3.13].
Отже
м.
Приймаю dв=40 мм.
г) вибір і розрахунок підшипників блоків
Кожен з блоків встановлюється на двох радіальних однорядних
шарикових або роликових підшипниках. Вибираємо підшипники за діаметром осі з
урахуванням динамічної вантажопідйомності.
Радіальне навантаження на один підшипник
кН, (2.13)
де n - кількість блоків, n=2.
Еквівалентне навантаження згідно з типовими
графіками навантаження механізмів може визначатися для різних груп режиму
роботи за виразами [2]:
кН. (2.14)
Приведене навантаження
кН, (2.15)
де V - коефіцієнт обертання; V = 1,2 - коли
обертається зовнішнє кільце підшипника;
- коефіцієнт безпеки;
= 1,2 [1, табл. 36].
, (2.16)
де
- показник степеня;
= 3 для шарикопідшипників;- номінальна довговічність підшипника,
, (2.17)
де
- строк служби підшипника згідно з групою режиму роботи;
= 3200 годин [2, табл. 3.4],
- частота обертання блока, об/хв,
об/хв, (2.18)
де
- швидкість підйому вантажу, м/с.
Отже маємо:
млн. об.
За отриманими значеннями діаметра осі та
динамічної вантажопідйомності вибираю із каталога [1, табл. 27] радіальний
однорядний підшипник 308 за ГОСТ 8338-75, з вантажопідйомністю.
д) розрахунок вантажної траверси
Вантажна траверса (рис. 4) виготовляється з двох
поздовжніх елементів, напртклад, прокатного профілю (двутавр, швеллер),
зєднаних між собою. В верхній частині встановлюються канатні блоки, а траверса
крюка через цапфи закріплюється в середній частині прольоту.
Розрахункова схема поздовжніх прокатних
елелментів являє собою балку на двух опорах, за які приймаються канатні блоки,
навантажені посередині прольоту зуссиллям GB. Довжина елементів
призначається конструктивно, а підбір номера прокатного профілю виконується
методами опору матеріалів.
Рис. 2.3. Схема до розрахунку вантажної траверси
Згинальний момент в перерізі Б-Б:
MБ=
кНм. (2.19)
Знаходимо осьовий момент опору в перерізі Б-Б:
; (2.20)
[
=160 МПа= 160000 кн/м2;
Wx
СМ3. (2.21)
Враховуючи коефіцієнт надійності kσ=1,2 обираємо швеллер №16п для якого Wx=16,4
см3 [3, додаток 6а]
Траверсу крюка виготовляють із Сталі 45 [2, табл. 3.2].
Схема до розрахунку траверси представлена на рисунку 3. Проліт траверси буде
рівний прольоту осі блока
мм.
Ширина траверси приймається з урахуванням зовнішнього
діаметра упорного підшипника
= 90 + 20 = 110 мм. (2.22)
Згинальний момент в перерізі А - А
кН
, (2.23)
де lт - довжина траверси, lт=l=130
мм.
Допустиме напруження для перерізу А - А
МПа, (2.24)
де
- межа витривалості при згині;
= 250 МПа [2, табл. 3.2];
- коефіцієнт концентрації напружень, kσ=2,2…2,8 [2, табл. 3.13].
Необхідний момент опору перерізу А - А
м3. (2.25)
Використавши інший вираз для моменту опору
, визначимо висоту траверси
м. (2.26)
Приймаю
мм.
Діаметр цапфи визначається з умови міцності цапфи
в перерізі Б-Б на згин
, (2.27)
де Mб - згинальний момент в перерізі
Б-Б,
кН м; (2.28)
де [
] - допустиме напруження на згин в перерізі Б - Б,
[
] = [
] = 100 МПа.
м. (2.29)
Приймаю
мм.
е) Розрахунок серги
Рекомендований матеріал для серги крюкової підвіски - сталь
20 з допустимими напруженнями при розтягу [
] = 160 MПа. Навантажена серга зусиллям Gв/4.
Ширина серги
В = (1,8…2) dв.=
мм. (2.30)
Напруження в перерізі А - А
МПа. (2.31)
Провушини серги розглядаються як товстостінний
циліндр, який навантажений зсередини тиском
МПа; (2.32)
В цьому разі найбільші напруження мають бути на
внутрішніх поверхнях в точках 1 і можуть бути розраховані за формулою Ляме
. (2.33)
Дня перерізу Б - Б маємо p = pБ, D =
B, d = dВ і напруження
МПа.
Отримане значення напруження менше ніж допустиме
(68,05<160), отже серга забезпечена на міцність.
ж) Визначення висоти і діаметра гайки крюка.
Матеріал для виготовлення гайки крюка - сталь 45. Висота
гайки розраховується з умови недопущення зминання різьби. При цьому допустиме
напруження на зминання приймається [
] = 30…35 МПа.
Висота гайки повинна бути не менше
, (2.34)
де t
- крок різьби;з - зовнішній діаметр різьби крюка; dз = 52
мм;в - внутрішній діаметр різьби крюка; dв = 46,6 мм.
м.
Приймаю Н = 0,04 м.
2.3 Розрахунок потужності і вибір двигуна, вибір
редуктора
Розрахункова потужність двигуна механізму підйому
вантажу при підйомі номінального вантажу, кВт
кВт (2.35)
де Gв - сила тяжіння маси вантажу, кН;в
- швидкість підйому вантажу, м/с;
- ККД механізму підйому;
= 0,85 [1, табл. 2].
З каталогу [1, табл. 51,52] вибирають електродвигун змінного
струму з фазним ротором.
Двигун - MTH411 - 8;
Потужність на валу - 18 кВт;
Частота обертання - 695 об/хв;
Максимальний момент - 580 Н м;
Момент інерції ротора - 0,547 кг
;
Номінальний момент на валу двигуна, Н м
Н м. (2.36)
, (2.37)
де nб - частота обертання барабана,
об/хв
об/хв, (2.38)
де
- швидкість каната при навивці на барабан, м/хв.
Обертальний момент на тихохідному валу редуктора
кН
, (2.39)
де а - кількість віток канату, закріплених на
барабані; а = 2;
- ККД барабана;
= 0,98 [1, табл. 2].
Тоді з каталога [1, табл. 66-67] вибираю редуктор:
Типорозмір - Ц2-300;
Передаточне число -
;
Частота обертання швидкохідного вала, nш=600 об⁄хв;
Обертальний момент на тихохідному валу - MT=5,8
кНм.
Фактична швидкість підйому вантажу
м/с (2.40)
і фактична частота обертання барабана
об/хв. (2.41)
2.4 Вибір гальма і муфт механізму підйому
2.4.1 Вибір гальма
Гальмо встановлюється на швидкохідному валу
механізму. Розрахунковий гальмівний момент
г = kг Мст.г, (2.42)
де kг - коефіцієнт запасу гальмування;
kг = 1,75 [1, табл. 86];
Мст.г - статичний момент на валу
двигуна при гальмуванні,
Н
; (2.43)
Н
.
З каталога гальм [1, табл. 87 - 89] вибираю двоколодкове
гальмо типу ТКТ-300 змінного струму з максимальним гальмівним моментом Мг=500 Н
, та діаметром гальмівного шківа D=300 мм.
2.4.2 Муфта між двигуном і редуктором
Між двигуном і редуктором встановлюється зубчаста муфта з
гальмівним шківом з такими характеристиками: діаметр гальмівного шківа Dг
= 300 мм; найбільший обертальний момент, який може передати муфта М = 3200 Н
; момент інерції муфти Ім =
0,471 кг
[1, табл. 63,65].
Статичний момент на валу двигуна при підйомі номінального
вантажу
кН
Н
. (2.44)
Розрахунковий момент для муфти може бути
визначений за виразом
Mp = k1 k2 MCТ=
кН
, (2.45)
де k1 і k2 - коефіцієнти,
які враховують, відповідно, ступінь відповідальності та умови роботи муфти; k1
= 1,56; k2 = 1,1 [1, табл. 53].
2.4.3 Муфта між редуктором і барабаном
Момент, який повинна передавати муфта, чисельно
дорівнює моменту на тихохідному валу М=Мт=5,8 кН м. Вибираю МЗП №6
2.5 Перевірка правильності вибору електродвигуна
2.5.1 Перевірка двигуна на тривалість пуску
Момент інерції рухомих мас механізму, зведений до
вала двигуна
(2.46)
де δ =
1,05…1,25
- коефіцієнт, що враховує момент інерції мас деталей, які обертаються
повільніше, ніж вал двигуна; приймаю δ
= 1,1;
ІР, Ім - момент інерції ротора
електродвигуна і муфти, встановленої між двигуном і редуктором; ІР =
0,547 кг
; Ім = 0,471 кг
;= 9,81
;м - загальне передаточне число механізму, uм =
uр u=25*2=50;
- кутова швидкість вала двигуна;
1/с.
Середній момент електродвигуна в період пуску
Н
, (2.48)
Середня тривалість пуску при підйому номінального
вантажу
с, (2.49)
де МСТ - статичний момент на валу
двигуна при підйомі номінального вантажу.
Середнє прискорення при пуску механізму підйому з
номінальним вантажем
, (2.50)
де VВФ - фактична швидкість
підйому вантажу, Vвф=0,167 м/с.
Рекомендовані значення прискорень в кранових
механізмах аП=0,1…0,2 [1, табл. 43].
2.5.2 Визначення тривалості гальмування механізму
підйому
Момент інерції рухомих мас механізму при
гальмуванні, зведений до вала двигуна
(2.51)
Для відрегульованого на розрахунковий гальмівний
момент гальма тривалість гальмування механізму підйому при:
підйомі вантажу
с, (2,52)
Прискорення при гальмуванні вантажу, що
підіймається
. (2,53)
2.5.3 Перевірка двигуна на нагрівання
Виконуємо наступний порядок розрахунку:
. Визначається середній робочий шлях механізму
lср = 0,5
м [1, табл. 57]. (2.54)
. Визначається середня тривалість робочої
операції
с, (2.55)
де V - номінальна швидкість виконання робочої
операції.
3. За відношенням
з використанням графіка [1, стор. 65] визначається коефіцієнт
= 0,72.
. Статична потужність, яка необхідна для виконання робочої
операції з номінальною швидкістю
кВт. (2.56)
Nе =
N = 0,72
кВт. (2.57)
. Еквівалентна потужність, віднесена до
тривалості вмикання (ТВ)
кВт, (2.58)
де kе - коефіцієнт, що залежить від
групи режиму роботи механізму;е = 0,5 [1, табл. 58].
. Двигун вважається вибраним вірно, якщо значення
Nтb менше від номінальної потужності двигуна при відповідній ТВ,
тобто 5,54 кВт < 18 кВт.
2.6 Розрахунок вузла барабана
.6.1 Розрахунок довжини барабана і товщини стінки
Довжина каната, навитого на одну половину
барабана
м, (2.59)
Кількість витків нарізки на одній половині
барабана
витків, (2.60)
де (1,5…2) - кількість запасних витків; приймаю
2.
Приймаю zВ=30.
Довжина нарізки на одній половині барабана
мм, (2.61)
де tн - крок нарізки барабана для
відповідного діаметра канату;н = 16,00 мм [1, табл. 12].
Повна довжина барабана
мм, (2.62)
де lЗ = 2 tН=2 16=32 мм -
довжина ділянки барабана з кожної сторони, яка використовується для закріплення
канату;o - відстань між лівою та правою нарізками барабана,
приймають lo = 100… 150 мм; приймаю lo = 100 мм.
Барабани виготовляють литими з чавуну СЧ15-32 з межею
міцності на стиск
= 700 MПа або із сталі.
З розрахунку на стиск товщина стінки барабана
м, (2.63)
де
=
МПа,- коефіцієнт запасу міцності; k=4,25
для сталевого барабану [1, табл. 8].
З умови технологічного процесу виготовлення литих
барабанів, товщина стінки визначається:
мм (2.64)
Приймаю товщину стінки барабана δ = 13 мм.
2.6.2 Розрахунок осі барабана та вибір
підшипників
Складаю розрахункову схему (рис. 2.6.)
Вісь барабана може бути виготовлена з сталі 45 ГОСТ
1050-74. При спрощеному розрахунку осі барабана визначають її діаметри в
небезпечних перерізах за напруженнями згину. Визначившись з компоновочною
схемою вузла барабана складаю розрахункову схему осі (рис. 2.6.). Приймаю такі
геометричні розміри:b = 470 мм; с = 550 мм; а =104 мм; d=60 мм;
мм;
мм;
мм.
Небезпечними маємо перерізи 1 - 1 і 2 - 2, які співпадають
з осями ступиць барабана, і переріз 3 - 3 більш навантаженої цапфи осі.
При номінальному вантажу на гаку навантаження на барабан
передається через ступиці на вісь
кН; (2.65)
кН. (2.66)
Реакції в опорах
кН; (2.67)
кН. (2.68)
Згинальні моменти в перерізах 1 - 1 і 2 - 2
кН
; (2.69)
кН
. (2.70)
За отриманими значеннями будується епюра
згинальних моментів і визначається діаметр осі
м, (2.71)
де [
] - допустиме напруження матеріалу осі на згин; для сталі 45; [
] = 55 МПа.
Вісь барабана встановлюється на шарикопідшипниках
радіальних сферичних дворядних №1316 ГОСТ 5720-75 [1, табл. 41].
За розрахунковим навантаженням на підшипник
кН, (2.72)
де kб = 1,2 - коефіцієнт безпеки, з
каталога вибираємо підшипник, зовнішній діаметр якого рівняється діаметру
виточки тихохідного вала редуктора.
Вибираю шарикопідшипник радіальний сферичний
дворядний №1316 ГОСТ 5721-75, з такими розмірами: d = 80 мм; D = 170 мм; B = 39
мм.
Після цього перевіряю міцність цапфи в перерізі 3
- 3 з умови
, (2.73)
МПа, (2.74)
де B, d - ширина і внутрішній діаметр підшипника.
2.6.3 Розрахунок кріплення канату до барабана
Для кріплення канату до барабана використовують
притискні планки з трапецієвидними (рисунок 6) канавками. Канат утримується від
переміщення силою тертя, яка виникає між канатом і планкою та між канатом і
барабаном. Планки призначаються в залежності від діаметра канату [1, табл. 13].
Перевіряється міцність болтів, якими притискні планки закріплюються на
барабані.
Внаслідок наявності на барабані запасних витків
канату (1,5…2) натяг канату перед притискною планкою значно менший, ніж зусилля
в вітці канату, що навивається на барабан
кН, (2.75)
де f = 0,1…0,16 - коефіцієнт тертя між канатом і
барабаном; приймаю 0,12;
е = 2,72 - основа натурального логарифма;
=
- кут обхвату канатом барабана; приймаю 4π;
Зусилля розтягу одного болта
кН, (2.76)
де f1 - приведений коефіцієнт тертя між
канатом і планкою;
/sin
β=0,13/sin 40o=0,2, так, як використовуються
планки з трапецієвидними канавками;
β-кут нахилу бокової грані канавки
притискної планки, β=40o;
- кут обхвату барабана канатом при переході від однієї канавки
планки до іншої; при одноболтових планках;
Одночасно з розтягом болт зазнає згину від сили
тертя
кН (2.77)
між планкою і канатом, яка намагається зсунути
планку в напрямку дії зусилля в канаті.
Сумарне напруження в болті
(2.88)
- коефіцієнт, який враховує напруження обертання при затягуванні
болта;- плече дії сили (рисунок 2.6.);
- внутрішній діаметр різьби болта, d1=16 мм.
Сумарне напруження повинно бути не більше
допустимого напруження розтягу болта, тобто
,
вантаж кран електродвигун нагрівання
де
;
- межа текучості матеріалу болта.
Бібліографічний список
1. Довідник до
розрахунків механізмів вантажопідйомних кранів: Навчальний посібник / С.В.
Ракша. - Д.: Вид-во Дніпропетр. націон. ун-ту залізн. трансп. ім. акад. В.
Лазаряна, 2005. - 131 с.
2. Крюковые подвески. Учебн. пособие/ Сост. П.М. Пузырьков.
Дне-пропетровск. ДМетИ, 1993. 76 с.
3. Іванченко Ф.К. Підйомно-транспортні машини. К.: Вища школа,
1993. 413 с.
4. Расчеты кранових механизмов и их деталей. ВНИИПТМАШ. М.:
Машиностроение, 1971. 496 с.
5. Иванченко Ф.К. и др. Расчеты грузоподъемних и транспортирующих
машин. К.: Высшая школа, 1978, 573 с.
6. Колесик Н.П. Расчеты строительннх кранов. К.: Высшая школа,
1985. 240 с.