Порівняльний аналіз методів отримання сульфенів - реакційно здатних інтермедіатів

  • Вид работы:
    Курсовая работа (т)
  • Предмет:
    Химия
  • Язык:
    Украинский
    ,
    Формат файла:
    MS Word
    113,44 Кб
  • Опубликовано:
    2013-11-16
Вы можете узнать стоимость помощи в написании студенческой работы.
Помощь в написании работы, которую точно примут!

Порівняльний аналіз методів отримання сульфенів - реакційно здатних інтермедіатів

 

 

 

 

 

 

 

 

 

 

 

 

Курсова робота

Порівняльний аналіз методів отримання сульфенів - реакційно здатних інтермедіатів

Зміст

сульфен фотохімічний синтез гетероциклічний

Перелік умовних позначень, символів, одиниць, скорочень та термінів

Вступ

. Сульфени та методи їх синтезу (літературний огляд)

1.1 Одержання сульфенів шляхом фотохімічних реакцій та термічних перегрупувань

1.2 Застосування реакції діазоалканів з діоксидом сірки для синтеза сульфенів

1.3 Сульфени із сполук RR'CXSO2Lg та RR'C(Lg)SO2ˉ

.4 Синтез сульфенів реакцією елімінування із RR'CXSO2Lg та основ

. Експериментальна частина

. Результати і їх обговорення

Висновки

Перелік посилань

Перелік умовних позначень, символів, одиниць, скорочень та термінів

ІЧ - інфрачервоний;

МСХ - метансульфохлорид;

м.ч. - мільйонна частка;

Тпл. - температура плавлення;

ТМС - тетраметилсилан;

ТЕА - триетиламін;

ТЕАХ - триетиламоній хлорид;

ν - волнове число;

δ - хімічний зсув у спектрах ядерного магнітного резонансу;

1Н ЯМР - ядерний магнітний резонанс на протонах.

Вступ

Гетерокумулени (сполуки з кумульованими подвійними зв'язками, що містять один або декілька гетероатомів X=Y=Z) широко застосовуються в органічному синтезі для одержання гетероциклічних і ациклічних сполук, що мають корисні властивості, зокрема біологічну активність.

Сульфени (тіокарбоніл-S,S-діоксиди) - гетерокумулени загальної формули R1R2C=SO2 є дуже реакційно здатними сполуками. Вони були вперше постульовані як інтермедіати деяких реакцій за участю сірковмісних сполук на початку XX сторіччя [1, 2], але їх існування було доведено в ряді робіт значно пізніше [3 - 8]. Формально сульфени можна розглядати як аналоги кетенів R1R2C=C=O, хімія яких ретельно вивчена. В порівнянні з кетенами, сульфени виявилися дуже нестабільними, тому хімічні їх реакції досі досліджують тільки in situ (тобто без попереднього виділення сульфенів), на відміну від їх найближчих аналогів - сульфінів (тіокарбоніл-S-оксидів), які мають загальну формулу R1R2C=S=O. Останні більш стійкі при нормальних умовах [9] і можуть бути досліджені із застосуванням фізичних і хімічних методів.

На цей час існують численні, але лише непрямі докази існування сульфенів, зокрема, синтезовані відносно стабільні аддукти сульфенів із третинними амінами й охарактеризована їх будова [4, 10 - 12].

В окремих роботах відзначалося, що структура сульфенів є плоскою  [13 - 14], однак систематичні дослідження впливу замісників на структуру й стабільність цих сполук розпочато зовсім недавно [15, 16].

Згідно з результатами проведених напівемпіричних й неемпіричних квантово-хімічних розрахунків та спектроскопічними результатами [15 - 17], сульфени з різними замісниками мають планарну будову фрагмента >C=SO2, що добре погоджується із класичними уявленнями про сульфени як сірковмісні гетерокумулени, у яких атом вуглецю має частково негативний заряд, а атом сірки - позитивний.

Слід зазначити, що хімічні перетворення, у яких сульфени розглядаються як хімічно активні інтермедіати дуже різноманітні, що проаналізовано в ряді оглядових статей [18 - 21]. Їх характерна риса - висока ступінь полярності зв'язку C=S, завдяки чому вони можуть реагувати як з нуклеофільними, так і електрофільними реагентами. Це робить їх дуже привабливими об'єктами в препаративній органічній хімії сірковмісних сполук для одержання різних гетероциклічних сполук, у тому числі лікарських.

У результаті досліджень останніх років розроблені нові напрями використання як функціонально-заміщених сульфенів, так і їх аддуктів у практиці органічного синтезу для одержання широкого спектра нових гетероциклічних сполук. Це відкриває перспективи для більш глибокого вивчення малодосліджених реакцій сульфенів, зокрема, приєднання до кратних зв'язків, що містять гетероатом (кетони та альдегіди, тіони, основи Шиффа та ін.). Такий напрямок досить перспективний в плані синтеза нових гетероциклічних сполук, що мають комплекс біологічно активних властивостей, зокрема, фунгіцидних і акарицидних.

У зв'язку з цим розробка і вибір зручних і ефективних методів лабораторного синтезу сульфенів, аналіз вже відомих методів для вдосконалення і модифікації є досить актуальними.

Мета даної роботи полягала у проведенні аналізу наявних даних по методам отримання сульфенів і дати рекомендації до застосування найбільш зручних з них у практиці лабораторного органічного синтезу.

1. Сульфени та методи їх синтезу (літературний огляд)

.1 Одержання сульфенів шляхом фотохімічних реакцій та термічних перегрупувань

Серед відомих методів отримання сульфенів найпоширенішими являються термічні та фотохімічні реакції. Вперше їх почали застосовувати для синтезу сульфенів починаючи з середини 60-х років. Серед переваг цих реакцій слід відзначити можливість синтезу продуктів на основі сульфенів, які в звичайних умовах неможливо отримати навіть при використанні різних каталізаторів, зміни розчинників. Вихід кінцевих продуктів при застосуванні цих методів, як правило, високий і досягає 70-80%.

Серед недоліків цих методів слід зазначити, в першу чергу, необхідність застосування спеціальної апаратури для проведення термолізу та імпульсного фотолізу, наявність термокамер, або необхідність проведення таких реакцій в так званих колориметричних бомбах (сталеві герметично закриті ємкості), у якій завантажують закриті сосуди з ампулами, що містять вихідні сполуки. При високій температурі проводиться термостатування, при цьому відбувається реакція розкладу з отриманням проміжного продукту - сульфену. При реакціях фотолізу, ампула з вихідною сполукою у спеціальній апаратурі опромінюється імпульсами ультрафіолетового випромінення на протязі певного часу. Подібний процес наведено в схемі 1.1.

Схема 1.1 - Фотоліз 2-фенілтієтен-1,1-діоксида з проміжним утворенням сульфена

Ця реакція ілюструє зручну можливість фотохімічного розкриття цикла циклотієтен-1,1-діоксида з утворенням нестабільного сульфену (1.2), який може бути уловлений метанолом. В результаті цього процесу утворюється складний ефір (1.3). Реакція може бути проведена як в метанолі, так і у суміші хлороформ-метанол. Вихід сполуки (1.3) становить > 60%.

Інший приклад подібної фотохімічної реакції з проміжним утворенням сульфенового інтермедіата наведено в схемі 1.2.

Схема 1.2 - Фотохімічна реакція розкриття циклу внутрішнього сульфонового ефіру (1.4) й генерація сульфену (1.5).

В результаті опромінення ультрафіолетом метанольного розчину сполуки (1.4) через проміжний сульфен (1.5) утворюється з добрим виходом метиловий ефір сульфонової кислоти (1.6). Реакція, як і більшість подібних процесів, проводиться без виділення проміжного високо реакційно здатного сульфену (утворення його, як правило, фізичними методами зафіксувати не вдається). Однак, всі кінцеві продукти (наприклад, складні ефіри) на його основі можуть бути отримані з високими виходами. Подібна реакція протікає і для циклічних сульфонів, що показано в схемі 1.3.

Схема 1.3 - Фотоліз циклічного сульфона (1.7) з утворенням сульфена (1.8)

Схема (1.3) подібна до схеми (1.2), але в даному випадку відбувається розкриття не внутрішнього ефіру, а циклічного сульфону (1.7). Реакція відбувається за подібним механізмом, що включає перегрупування зв’язків. Сульфен (1.8) також легко поглинається надлишком метанолу з утворенням метилового ефіру сульфокислоти (1.9)

Прикладом реакцій термолізу є реакція розкладення N-алкілсульфонілфталімідів при високій температурі, що наведена в схемі 1.4.

Схема 1.4 - Реакція термоліза N-алкілсульфонілфталімідів з утворенням сульфенів (1.11)

При нагріванні сполук (1.10) до температури 600°С й вище відбувається відщеплення сульфена (1.11), що може легко реагувати зі спиртами та амінами, наприклад, етиламіном. В останньому випадку відбувається утворення сульфонаміда (1.12) з виходом 80% та вільного фталіміду.

Для циклічних сульфонів також характерні реакції розкриття цикла з генерацією сульфенового інтермедіата, що показано в схемі (1.5).

Схема 1.5 ілюструє приклад термолізу тіет-1,1-діоксіда (1.13) й подібна до реакції фотоліза (див. схему 1.1). При цьому можливі два варіанта перебігу процеса. Якщо в середовищі немає уловлюючого реагенту, то відбувається утворення циклічного ефіру сульфінової кислоти (1.15).

Схема 1.5 - Реакція термоліза циклічного сульфона (1.13)

В іншому випадку (при використанні сполуки-"пастки" - фенолу) утворюється феніловий ефір сульфонової кислоти (1.16). Вихід в цьому випадку досягає 70-75%.

Стерично напружені циклічні сульфонаміди також можуть бути використані для генерації сульфенів in situ в різноманітних реакціях приєднання та перегрупуваннях, приклад яких показано в схемі 1.6.

Схема 1.6 - Реакція термоліза циклічного сульфонаміда (1.17)

В результаті вищезазначеної реакції відбувається перегрупування сульфена (1.18) із замиканням цикла й утворюється сульфон (1.19). Така поведінка сульфена (1.18) можлива тільки при відсутності в середовищі будь яких інших улювлюючих реагентів. Реакція може бути проведена й у відсутності розчинника.

Дуже цікавим прикладом синтеза сульфена шляхом термічного процеса є термоліз хлорсульфонілуксусної кислоти (1.20), як показано в схемі 1.7.

Схема 1.7 - Генерування сульфена термолізом хлорсульфонілуксусної кислоти

Ця реакція була використана як модельна в експериментах для отримання сульфена з метою спектроскопічної фіксації його при температурі рідкого азоту (Т = -196°С). Експеримент проводили наступним чином: сполука (1.20) потрапляла в камеру, в якій підтримувалась висока температура. Дія високої температури на сполуку призводила до її розпаду, при цьому утворювались газоподібний хлористий водень та діоксид вуглецю, а сульфен конденсувався на пластині з хлориду натрію. Потім знімали його інфрачервоний спектр. Після чого пластинку нагрівали від температури від -196°С до -10°С. Спостерігали зникнення ліній поглинання сульфену та утворення смолистих продуктів, що виникають при його олігомерізації. Таким чином експериментально було доведено, що сульфен може існувати тільки при дуже низьких температурах, а при звичайних температурах сульфен реагує з активними сполуками, які знаходяться в середовищі. Якщо таких сполук немає, тоді сульфен піддається реакції осмолення з утворенням складних продуктів, які не можна ідентифікувати.

.2 Застосування реакції діазоалканів з діоксидом сірки для синтеза сульфенів

Реакція діазоалканів з діоксидом сірки, яка веде до утворення сульфенів, відома здавна. Вперше она була проведена на початку 20-го століття німецькими вченими - Штаудінгером і Пфенингером [1, 2], які вивчали реакції кетенів та по аналогії з ними й процеси за участю сульфени. Вони показали, що дифенілдіазометан при обробці діоксидом сірки дає нестабільний дифенілсульфен, що легко вступає в реакції приєднання і приводить до продуктів, які показані в схемі 1.8.

Схема 1.8 - Синтез дифенілсульфена реакцією дифенілдіазометана з діоксидом сірки й деякі його подальші реакції


.3 Сульфени із сполук RR'CXSO2Lg та RR'C(Lg)SO2ˉ

В деяких випадках сульфени можуть утворюватись в реакціях сполук, що мають загальні формули RR'CXSO2Lg та RR'C(Lg)SO2ˉ. Три приклади подібних процесів наведено в схемах 1.9 - 1.11.

Схема 1.9 - Синтез сульфена реакцією триметилсилілметансульфохлорида з фторидами металів

Реакція, що представлена в схемі 1.9 вважається досить перспективною, тому що вихід сульфену досягає 90% й вище. Але його недостатком є необхідність використання дефіцитного триметилсилілсульфохлорида (1.28)

З винілсульфохлоридом перебіг реакції утворення сульфена інший, що показано в схемі 1.10. Цей "вінілоговий" механізм є досить цікавим з теоретичної точки зору і є прикладом нового перспективного для препаративних синтезів напрямку утворення сульфенів без використання дефіцитних реагентів й унікального обладнання.

Схема 1.10 - Синтез сульфена реакцією вінілсульфохлорида з триетиламіном

Сульфени можна також отримати з α-хлоретансульфітів, шляхом їх нагрівання до 200оС з високими виходами й практично без побічних реакцій, але цей процес може бути проведений тільки в розчинниках з високою температурою кипіння.

Схема 1.11 - Синтез сульфена при термічному розкладенні  α-хлоретансульфітів та деякі його реакції

.4 Синтез сульфенів реакцією елімінування із RR'CXSO2Lg та основ

Традиційним, дуже перспективним й зручним методом генерування сульфенів у середовищі органічних розчинників є метод, в основі якого лежить реакція E2-елімінування. Він заснований на здатності похідних алкансульфонових кислот вступати в реакцію під дією основ. Як субстрати найбільш часто використовують алкансульфонілхлориди (X = Cl), а як основи - триетиламін, піридин і інші третинні аміни. Однак іноді в присутності спиртів та фенолів, як перехоплювачів сульфенів, можуть відбуватися побічні реакції (особливо реакції заміщення), які в деяких випадках навіть переважають [23, 24]. Доказом проміжного утворення сульфена при проведенні реакції в присутності дейтерованої води або дейтерованих спиртів є виділення монодейтерованого похідного сульфонової кислоти (1.42), як показано на схемі 1.12. При обробці п-нітрофенілсульфоната (1.43) трет-бутоксидом калію в апротонних розчинниках генерується фенілсульфен (1.44) у результаті реакції елімінування [21].

Схема 1.12 - Способи генерування сульфенів реакцією елімінування

Механізм цих процесів ілюструє схема 1.13.

Схема 1.13 - Механізм утворення сульфена з алкансульфохлоридів реакцією Е2-елімінування.

По суті ця реакція є кислотно-основною взаємодією - як кислота виступає алкансульфохлорид, як основа - триетиламін. Останній атакує α-водневий атом сульфохлорида й через перехідний стан з розривом та утворенням відповідних зв'язків, що показаний на схемі 1.13, утворюється дуже реакційноздатний сульфен, який реагує далі зі сполуками-уловлювачами (спирти, аміни, феноли, активовані електронодонорними чи електроноакцепторними замісниками етенами, етинами).

Реакції сприяють наступні фактори:

електроноакцепторні замісники R1 та R2, що посилюють "кислотність"  α-водневого атома сульфонільного похідного;

перехід до сульфонільних похідних з більш лабільними відхідними групами (наприклад, перехід від сульфохлоридів до сульфобромідів);

використання як акцепторів сполук з більшою основністю (в цьому плані піридин менш зручний, ніж триетиламін, тому що його основність значно менша);

використання більш полярного розчинника (наприклад, хлористого метилена замість бензола), тому що процес відбувається через перехідний стан, в якому є сильне розподілення зарядів на атомах (полярний перехідний стан).

Реакціям сульфенів у відсутності реагентів - "пасток" поки приділялося мало уваги. Однак, показано, що в цих випадках переважають процеси димеризації й тетрамеризації [18].

Сульфени, що генеруються в розчині при участі третинних амінів, очевидно, існують головним чином у вигляді цвіттеріонних аддуктів (1.45) [4, 12, 21] як показано на схемі 1.14.

Було знайдено, що третинні аміни дійсно виступають як каталізатори в реакціях сульфенів з такими агентами як, наприклад з водою, спиртами, тіолами, первинними й вторинними амінами [4].

Схема 1.14 - Утворення цвіттеріонних аддуктів сульфенів з третинними амінами.

Реакція сульфенів з амінами дуже цікава в теоретичному плані, тому що ілюструє генетичний зв'язок між сульфенами й відповідними сульфонілонієвими солями (RR1CHSO2NR23(+)Cl(-)) - відомими інтермедіатами процесів сульфонільного транспорта. Таким чином є перспективи для подальшого теоретичного вивчення й практичного використання цього метода генерування сульфенів в органічному синтезі сірковмісних сполук.

2. Експериментальна частина

Прилади та обладнання.пектрометр Bruker Avance II 400 (400 МГц).пектрофотометр Specord 75 IR (завод. №460375, свідоцтво про повірку №4504 від 11.10.2010, повірка проведена згідно з ДСТУ ГОСТ 8.229-2008).

Столик Бьотіуса фірми "Нагема" (ФРГ), завод. №13836250.

Аналітичні ваги ВЛР - 200, згідно з ГОСТ 24104 - 88, завод. №284, свідоцтво про повірку №2286, від 21. 10. 2010; метрологічні характеристики: d = 1/0,05 мг, ∆ = 0,10 мг, ∆l = 0,60 мг, ∆про = ∆ро = 0,05 мг, 2 клас, НГ З 200г.

Набір гир згідно з ДСТУ ГОСТ 7328 - 2003, завод. №19, свідоцтво про повірку №2296, від 21. 10. 2010; метрологічні характеристики: клас F, 1 - 100г.

Посуд скляний згідно з ГОСТ 25336 - 82.

Шафа сушильна електрична кругла 2В - 151, завод. №2403, атестат №577, від 12. 10. 2010.

Термометр скляний ртутний згідно з ГОСТ 8.279 - 78, свідоцтво про повірку №422 від 19. 11. 2008.

Методи дослідження: синтетичні, спектроскопічні (ІЧ- та 1Н ЯМР спектроскопія), аналітичні (елементний аналіз).

Реактиви та матеріали:

Ацетон

"ч"

ГОСТ 2603-79

Бензол

"ч"

ГОСТ 5955-75

Диметилсульфоксид

"ч"

ТУ 6-09-3818-77

Метанол

"ч"

ГОСТ 6995-77

Хлороформ

"хч"

ГОСТ 20015-88

Метилен хлорид

"ч"

ТУ 6-09-3716-74

Натрій сірчанокислий безводний

"ч"

ГОСТ 4166-76

Триетиламін

"ч"

ГОСТ 9966-88

Метансульфохлорид

"ч"

ТУ 6-09-13-625-77

Вода дистильована


ГОСТ 6709-72

Вода питна


Рідкі реактиви категорії чистоти "ч" перед використанням переганяли, а тверді двічі перекристалізовували. Розчинники марки "ч" очищали за стандартними методиками [25, 26]. Сполуки марки "хч" і "чда" використовували без додаткового очищення.

Елементний аналіз синтезованих сполук проводили за методиками [27].

ІЧ спектри записували в таблетках KBr на спектрофотометрі Specord 75 IR. Спектри 1Н ЯМР записували на спектрометрі "Bruker Avance II 400" при частоті 400 МГц, внутрішній стандарт - тетраметилсилан (ТМС).

Апробацію запропонованого на основі аналіза літературних даних зручного метода генерації сульфена (на основі реакції алкансульфохлоридів й триетиламіна) з метою синтеза гетероциклічних сполук проводили на прикладі двох модельних реакцій. У цих реакціях як сполуки-уловлювачі сульфенів були використані кетони.

Відомо, що з неактивованими етиленовими зв'язками сульфени не реагують [19 - 21], а при підвищенній температурі утворюються тільки продукти осмолення. Реакція не протікає й у випадку використання альдегідів і кетонів з алкільними замісниками [20]. Однак карбонільні сполуки, активовані сильними акцепторними замісниками, що розташовані біля C=O групи, реагують із сульфенами, які у цьому випадку виступають як нуклеофільні реагенти. При цьому утворюються відповідні β-сультони (заміщені 1,2-оксатієтан-2,2-діоксиди), як показано на схемі 2.1.

Схема 2.1 - Реакція сульфенів з кетонами й утворення β-сультонів

R1 = R2 = H, R3 = CH3 (сполуки (2.1), (2.3));1= H, R2 = R3 = CH3 (сполуки (2.2), (2.4)).

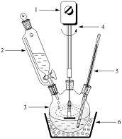
-Метил-4-(трихлорметил)-1,2-оксатиетан-2,2-діоксид (2.3). Синтез проводили, використовуючи лабораторну установку, що зображена на Рисунку. До розчина 1,61 г (0,01 моль) 1,1,1-трихлорпропан-2-она і 1,14 г (0,01 моль) метансульфохлорида у 50 мл хлористого метилена, охолодженого до 0оС, при інтенсивному перемішуванні на протязі 30 хвилин по краплях додавали розчин 1,5 г триетиламіна (0,015 моль) у 20 мл хлористого метилену. Спостерігалося виділення з розчину триетиламоній хлорида. По закінченні додавання перемішування продовжували ще 2 години. Потім розчин промивали водою, сушили над Na2SO4 і упарювали. Залишок перекристалізовували з бензолу. Вихід 1,72 г (72%). Тпл. 97 - 98оС. ІЧ спектр (KBr), ν, см-1: 1360 (SO2), 1185 (SO2), 840 (CCl3). 1Н ЯМР спектр (ТМС, CDCl3), δ, м.ч.: 1,44 т (3H, CH3); 3,21 кв (2H, СН2). Знайдено, %: С 29,2; Н 5,2; Cl 30,9; S 14,0. С4H5Cl3O3S. Обчислено, %: С 29,0; Н 5,1; Cl 31,2; S 14,1.

Сполуку (2.4) синтезували за аналогічною методикою.

Рисунок - Загальний вигляд установка для проведення реакцій за участю сульфена

- Електичний мотор; 2 - крапельна воронка з розчином триетиламіна; 3 - тригорла колба з реакційною сумішшю; 4 - мішалка роторного типу; 5 - термометр; 6 - баня з льодом

Реакція мезилзаміщених сульфенів (мезильний замісник вводили з метою посилення електрофільних властивостей сульфена) з тропоном, що була також досліджена, як модельна, з добрим виходом приводить до відповідного  γ-сультона (2.5), як показано на схемі 2.2.

Схема 2.2 - Реакція мезилзаміщеного сульфена з тропоном і утворення  γ-сультона

3-(Метилсульфоніл)-3,3а-дигідроціклогепта[d][1,2]оксатіол-2,2-діоксид (2.5)). До розчину 1,92 г (0,01 моль) мезилметансульфохлорида і 1,06 г (0,01 моль) тропона у 40 мл хлороформа при перемішуванні і охолодженні до 0оС на протязі 30 хвилин по краплях додавали розчин 1,3 г триетиламіна (0,013 моль) у 20 мл хлористого метилену. При цьому з розчину виділявся триетиламоній хлорид. По закінченні додавання перемішування продовжували ще 1 годину. Потім розчин промивали водою, сушили над безводним Na2SO4 і упарювали. Залишок перекристалізовували з метанола. Вихід 1,65 г (63%). Тпл. 131 - 132 оС. ІЧ спектр (KBr), ν, см-1: 1370 (SO2), 1175 (SO2). 1Н ЯМР спектр (ТМС, CDCl3), δ, м.ч.: 2,55 т (3H, CH3); 2,94 д (1Н, С-Н); 4,26 д (1Н,  С-Н); 5,85 - 6,55 м (5H, =С-Н). Знайдено, %: С 41,0; Н 3,9; S 24,6. С9H10O5S2. Обчислено, %: С 41,2; Н 3,8; S 24,5.

Таким чином, результати проведених модельних лабораторних синтезів свідчать про можливість застосування зручного метода генерації сульфенів, виходячи з алкансульфохлоридів для одержання гетероциклічних сполук з високим виходом і без застосування унікального обладнання. Це відкриває перспективи більш широкого використання його в лабораторній практиці.

3. Результати і їх обговорення

У результаті виконаної роботи зроблений огляд досліджених на теперішній час способів отримання сульфенів (реакційноздатних інтермедіатів) з метою їх подальшого використання в практиці органічного синтезу, а саме:

·        одержання сульфенів шляхом фотохімічних реакцій та термічних перегрупувань;

·        застосування реакції діазоалканів з діоксидом сірки для синтеза сульфенів;

·        сульфени із сполук RR'CXSO2Lg та RR'C(Lg)SO2ˉ;

·        синтез сульфенів реакцією елімінування із RR'CXSO2Lg та основ.

У результаті огляду встановлено, що ряд з цих методів є досить зручними. В них не використовуються дефіцитні реактиви, тому їх зручно застосовувати у лабораторній практиці. Найбільш цікавими й перспективними у цьому відношенні виявились два методи:

одержання сульфенів із застосуванням реакції діазоалканів з діоксидом сірки;

реакція алкансульфохлоридів (найчастіше використовують найпростіший представник - метансульфохлорид) та третинних амінів (зручний і доступний реагент - триетиламін).

Остання реакція протікає в безводному середовищі, при цьому розчинник повинен бути ретельно висушеним, тому що волога у розчиннику легко реагує з сульфеном, утворюючи сульфокислоту, що суттєво знижує вихід цільових продуктів реакцій сульфена. Для успішного проведення реакції необхідне охолодження (при температурі вищій за 20 оС основним процесом є полімеризація сульфена з утворенням смолистих речовин).

Ще однією важливою умовою є наявність у реакційній масі уловлюючого реагенту, який швидко зв’язує сульфен. У протилежному випадку (при відсутності цього реагенту) сульфени взаємодіють між собою. Таким чином відбувається полімеризація та утворюються складні полімерні продукти.

Як сполуки-"пастки" часто використовують речовини з рухомим атомом водню (спирти, феноли, аміни), або сполуки з подвійним зв’язком, активованим наявністю електронно-донорних або електронно-акцепторних груп зв’язків). В останньому випадку отримуємо чотирьох- або шестичленні гетероциклічні сполуки або сполуки з відкритим ланцюгом. У любому випадку до складу цих сполук входить сірка та азот. Таким чином, можна отримати широкий спектр подібних сполук, які можуть бути напівпродуктами для подальшого синтезу сполук з комплексом корисних властивостей: біологічно-активні добавки, інгібітори корозії, присадки до змащувальних масел, добавки при виробництві гум, пластмас й тощо.

Для перевірки можливості застосування обраного нами зручного методу (з алкансульфохлоридів) проведено його апробацію на прикладі двох модельних синтезів з отриманням чотирьохчленних гетероциклічних сірковмісних сполук. В обох випадках реакція відбувається з високим виходом. який становить 70% та вище. Сама реакція не ускладнена побічними процесами утворення вторинних сполук. Продукти реакції - стабільні, негідроскопічні речовини, які мають постійну температуру плавлення та постійний елементний склад.

Для проведення подібного процесу була використана установка, монтаж й якої не потребує необхідності використовувати складне (нетипове) обладнання. Складовими частинами її є колба, мішалка, охолоджувальна баня, термометр, крапельна воронка. В якості органічних розчинників зручно використовувати діетиловий ефір, хлористий метилен, хлороформ, діоксан, ацетонітрил, бензол та інші. Важливою умовою проведення реакції є ретельна очистка та висушування даних розчинників.

У результаті контрольних дослідів встановлено, що підвищення полярності середовища розчинника прискорює процес отримання сульфенів та загальну швидкість проведення реакції.

Таким чином, дана рекомендація використовувати запропонований метод отримання сульфенів для широкого впровадження у практиці органічного синтеза, а також при проведенні практичних та лабораторних робіт студентів у курсі вивчення органічної хімії.

Висновки

1. Аналіз наявних літературних даних дозволив запропонувати зручний лабораторний метод генерації сульфенів, виходячи з алкансульфохлоридів, для подальшого їх використання в синтезах органічних, зокрема, гетероциклічних сполук.

. Апробація запропонованого метода на прикладі двох модельних реакцій сульфена з кетонами, продуктами яких є β- і γ-сультони (циклічні сульфонові ефіри), показала перспективність більш широкого подальшого його використання в лабораторній практиці.

Перелік посилань

1. Wedekind E., Schenk D. Uber das verhalten von sulfochloriden gegen starke tertiarbasen // Ber. - 1911. - Vol. 44, №1. - P. 198-202.

. Staudinger H., Pfenninger F. Uber die einwirkung von schwefeldioxyd auf diphenyldiazomethan // Ber. - 1916. - Vol. 49, №2. - P. 1941-1951.

. Opitz G., Rieth K. Uber die bildung von thioketon-S,S-dioxyden aus sulfochloriden // Tetrahedron Lett. - 1965. - Vol. 6, №45. - P. 3977-3978.

. Opitz G., Bucher D. Isolierung eines sulfens als trimethylamin-adduct // Tetrahedron Lett. - 1966. - Vol. 7, №43. - P. 5263-5267.

. Opitz G., Rieth K., Walz G. Cycloaddition von vinylathern an mesylsulfen // Tetrahedron Lett. - 2010. - Vol. 7, №43. - P. 5269-5272.

. King J.F., Durst T. The existence of sulfenes // J. Am. Chem. Soc. - 1964. - Vol. 86, №2. - P. 287-288.

. King J.F., Lee T.W.S. The mechanism of formation of sulfenes by dehydrohalogenation of alkanesulfonyl chlorides // J. Am. Chem. Soc. - 1969. - Vol. 91, №23. - P. 6524-6525.

. Flash thermolysis. The reactivity and infrared spectrum of sulfene / J.F. King, R.A. Marty, P. de Mayo, D.L. Verdun // J. Am. Chem. Soc. - 1971. - Vol. 93, №14. - P. 6304.

. Zwanenburg B. The chemistry of sulfines // Recl. Trav. Chim. Pays-Bas. - 1982. - Vol. 107, №1. - P. 1-27.

. Synthese und struktur eines aminstabili-sierten sulfens, RHC=SO2N(CH2CH2)3CH / U. Hartwig, H. Pritzkow, W. Sundermeyer, J. Waldi // Z. Naturforsh., 1988. - V. B43. - № 3. - C. 271-274.

. Hartwig U., Pritzkow H., Rall K., Sundermeyer W. Bis-(trifluormethyl)-sulfen (CF3)2C=SO2 als addukt isoliert // Angew. Chem., 1989. - V. 101. - №2. - C. 224-225.

. Лящук С.Н. О структуре аддуктов сульфенов с третичными аминами // Вопросы химии и химической технологии, 2011. - №2. - С. 25-30.

. Snyder J.P. Sulfine and sulfene reactivity // J. Org. Chem., 1973. - V. 38. - №22. - P. 3965-3967

. Houk K.N., Strozier R.W., Hall J.A. Heterocumulene molecular orbitals: ketenes, isocyanates, sulfenes and sulfonylamines // Tetrahedron Lett., 1974. - V. 15. - №11. - P. 897-900.

. Tahmassebi D. Substituent effects on the stability of sulfenes // Phosph., Sulfur and Silicon and Relat. Elem., 2010. - V. 181. - №12. - P. 2745-2755.

Лящук С.Н., Дорошенко Т.Ф. О некоторых аспектах применения ab initio расчетов и полуэмпирических квантово-химических методов для исследования структуры и стабильности сульфенов // Наук. праці ДонНТУ. Серія: Хімія і хімічна технологія. - Випуск 12(144). - Донецьк: ДонНТУ, 2009. - С. 21-28.

. Penn R.E., Olsen R.J. Microwave spectrum, centrifugal, distortion, substitution structure and dipole moment of sulfine, CH2SO // J. Mol. Spectrosc., 1976. - V. 61. - №1. - P. 21-28.

. Opitz G. Sulfine und sulfene - die S-oxide und S,S-dioxide der thioaldehide und thioketone // Angew. Chem. - 1967. - Vol. 79, №4. - P. 161-177.

. Wallace T.J. The chemistry of sulfene intermediates // Quart. Rev. - 1972. - №1. - P. 67-74.

. Nagai T., Tokura N. Sulfenes as chemical intermediates // Int. J. Sulfur  Chem. (B). - 1972. - Vol. 7, №3. - P. 207-215.

. King J. F. The return of sulfenes // Acc. Chem. Res. - 1975. - Vol. 8, №1. - P. 10-17.

. Skrypnik Yu. G., Lyaschuk S.N. Kinetic study of the pyridine-catalysed reaction of phenols alkanesulfonylation // React. Kinet.Catal.Lett. - 2010. - Vol. 43, №2. - P. 283-288.

. Скрыпник Ю.Г., Безродный В.П., Лящук С.Н. Катализ пиридинами реакции алкансульфоэфирообразования в неводных средах // Докл. АН СССР. - 1991. - Т. 321, №5.- С. 1028-1031.

. Lyashchuk S.N., Skrypnik Yu. G. , Besrodnyi V.P. Sulfene mechanism in pyridine-catalysed reaction of alkanesulfonyl halides with phenols // J. Chem. Soc., Perkin Trans. II. - 1993, №6. - P. 1153-1159.

. Гордон А., Форд Р. Спутник химика. - М. : Мир, 1976. - 542 c.

. Органические растворители / А. Вайсбергер, Э. Проскауэр, Дж. Риддик, Э. Тупс. - М. : ИЛ, 1958. - 520 c.

. Климова В.А. Основные микрометоды анализа органических соединений. - М.: Химия, 1967. - 207 с.

Похожие работы на - Порівняльний аналіз методів отримання сульфенів - реакційно здатних інтермедіатів

 

Не нашли материал для своей работы?
Поможем написать уникальную работу
Без плагиата!
Без нейросетей!