Разработка барабанного вакуум-фильтра

  • Вид работы:
    Курсовая работа (т)
  • Предмет:
    Другое
  • Язык:
    Русский
    ,
    Формат файла:
    MS Word
    2,02 Мб
  • Опубликовано:
    2012-09-24
Вы можете узнать стоимость помощи в написании студенческой работы.
Помощь в написании работы, которую точно примут!

Разработка барабанного вакуум-фильтра

1. Литературный обзор


1.1    Фильтрование

Фильтрованием называют процессы разделения неоднородных систем при помощи пористых перегородок, которые задерживают одни фазы этих систем и пропускают другие. К этим процессам относятся разделение суспензий на чистую жидкость и влажный осадок, аэрозолей на чистый газ и сухой осадок или на чистый газ и жидкость. Закономерности, характеризующие процессы разделения перечисленных неоднородных систем, наряду с общими чертами имеют также существенные отличия, причем закономерности процесса разделения суспензий установлены значительно полнее и точнее по сравнению с соответствующими закономерностями для аэрозолей.

Различают следующие виды фильтрования:

фильтрование с образованием слоя осадка на фильтровальной перегородке;

)        сгущение - отделение твёрдой фазы от жидкой не в виде осадка, а в виде высококонцентрированной (сгущенной) суспензии;

)        осветление - фильтрование жидкостей с незначительным содержанием твердой фазы.

Фильтрование является гидродинамическим процессом, скорость которого прямо пропорциональна разности давлений, создаваемой по обеим сторонам фильтровальной перегородки и обратно пропорциональна сопротивлению, испытываемому жидкостью при ее движении через поры перегородки и слой образовавшегося осадка. Разность давлений по обеим сторонам фильтровальной перегородки создают при помощи компрессоров, вакуум-насосов и жидкостных насосов, например поршневых и центробежных, а также используя гидростатическое давление самой разделяемой суспензии. Независимо от того, каким образом создают разность давлений, движущая сила процесса фильтрования возрастает прямо пропорционально этой разности. Однако в большинстве случаев скорость фильтрования возрастает медленнее, чем увеличивается разность давлений, так как при увеличении последней поры перегородки и осадка сжимаются и сопротивление возрастает. Сопротивление при фильтровании является суммой сопротивлений фильтровальной перегородки и слоя осадка.

Необходимая отличительная особенность всякой фильтровальной перегородки - наличие в ней сквозных пор, способных пропускать жидкость, но задерживать твердые частицы суспензии. При этом сквозные поры могут задерживать такие твердые частицы, размер которых меньше размера поперечного сечения пор в их самых узких частях. В настоящее время применяют разнообразные по свойствам фильтровальные перегородки, в частности зернистые слои песка, диатомита, угля, волокнистые слои из асбестовых и хлопчатобумажных волокон; хлопчатобумажные или шерстяные ткани, а также ткани из синтетических волокон; сетки из волосяных или металлических нитей; пористые перегородки из кварца, шамота, спекшегося стеклянного или металлического порошка, а также из твердой резины (эбонита).

Средний размер и форма пор фильтровальных перегородок определяются размерами и формой элементов, из которых они изготовлены. При этом средний размер пор тем больше, чем крупнее указанные элементы, а форма пор тем единообразнее, чем правильнее форма этих элементов. Фильтровальные перегородки почти всегда размещаются на различных опорных устройствах, которые также оказывают сопротивление движению жидкости. Так, фильтровальные перегородки из волокон и тканей размещаются обычно на опорных перегородках с отверстиями; при этом жидкость движется не только в направлении, перпендикулярном поверхности фильтровальной перегородки, но отчасти и в направлениях, параллельных этой перегородке, в тех зонах, которые находятся вблизи границы между фильтровальной и опорной перегородками.

Мутность фильтрата в начале фильтрования объясняется прониканием твердых частиц через поры фильтровальной перегородки. Фильтрат становится прозрачным, когда перегородка приобретает достаточную задерживающую способность. Это достигается либо за счет уменьшения эффективности сечения пор при проникании в них твердых частиц, либо вследствие образования сводиков над входами в поры. При уменьшении эффективного сечения пор происходит фильтрование с закупориванием пор: на поверхности фильтровальной перегородки осадок почти не образуется и твердые частицы задерживаются внутри пор. Во втором случае осуществляется фильтрование с образованием осадка, когда твердые частицы почти не проникают внутрь фильтровальной перегородки. Увеличение сопротивления прохождению жидкости при фильтровании с закупориванием пор объясняется возрастанием сопротивления фильтровальной перегородки, а при фильтровании с образованием осадка - повышением сопротивления увеличивающегося слоя осадка.

В практических условиях необходимо считаться с возможностью протекания более сложных процессов, в которых сочетаются характерные особенности процессов фильтрования с закупориванием пор и образованием осадка.

Рассмотренные взаимоотношения между фильтровальной перегородкой и твердыми частицами суспензии очень существенны и в значительной мере определяют закономерности фильтрования.

Процесс фильтрования с образованием осадка на практике встречается чаще, чем фильтрование с закупориванием пор. По достижении установленной толщины слоя осадка его снимают с фильтровальной перегородки различными механическими устройствами или отделяют от нее обратным потоком фильтрата. Чтобы предотвратить появление мутного фильтрата в первый момент последующего цикла фильтрования, при снятии осадка механическими устройствами на фильтровальной перегородке иногда оставляют тонкий слой твердых частиц. С той же целью фильтрование в некоторых случаях начинают при небольшой, постепенно возрастающей разности давлений и приблизительно постоянной скорости процесса, а затем переходят к фильтрованию при постоянной разности давлений и постепенно уменьшающейся скорости процесса.

Структура образующегося осадка и, следовательно, его сопротивление потоку жидкости зависят от свойств твердых частиц и жидкой фазы суспензии, а также от условий фильтрования.

Структура осадка прежде всего определяется гидродинамическими факторами, к числу которых относятся пористость осадка, размер составляющих его твердых частиц и удельная поверхность или сферичность этих частиц. Однако на структуру осадка очень сильно влияет и ряд других факторов, которые до некоторой степени условно можно назвать физико-химическими. Такими факторами являются, в частности, степень коагуляции или пептизации твердых частиц суспензии; содержание в ней смолистых и коллоидных примесей, закупоривающих поры; влияние электрокинетического потенциала, возникающего на границе раздела твердой и жидкой фаз в присутствии ионов и уменьшающего эффективное сечение пор; наличие сольватной оболочки на твердых частицах. Вследствие совместного влияния гидродинамических и физико-химических факторов изучение структуры и сопротивления осадка крайне осложняется и возможность вычисления величины сопротивления как функции всех этих факторов почти исключается. Влияние физико-химических факторов, тесно связанное с поверхностными явлениями на границе раздела твердой и жидкой фаз, в особенности проявляется при небольших размерах твердых частиц суспензии. По мере увеличения размера твердых частиц усиливается относительное влияние гидродинамических факторов, а по мере уменьшения их размера возрастает влияние физико-химических факторов. Из условий фильтрования, влияющих на его течение, наибольшее значение имеют разность давлений по обеим сторонам фильтровальной перегородки и температура суспензии. Температура суспензии влияет на вязкость ее жидкой фазы и соответственно на способность этой фазы проходить через поры осадка и фильтровальной перегородки.

Значение процессов фильтрования возрастает с увеличением масштабов производства строительной и родственных ей отраслей промышленности. Это объясняется тем, что процесс разделения суспензии нередко вызывает затруднения, обусловленные главным образом большим сопротивлением осадка и соответственно малой скоростью фильтрования. При этом для достижения заданной производительности фильтровальной установки требуется большое число фильтров определенной конструкции. Поэтому возникла тенденция к увеличению размеров фильтровального оборудования и интенсификации процессов фильтрования.

Фильтрование с образованием осадка наиболее распространено. В большинстве случаев твёрдые частицы в первые моменты с начала фильтрования проходят через поры фильтровальной перегородки, но вскоре накапливаются в ней, и через фильтр начинает протекать только осветленная жидкость - фильтрат.

Разделение суспензии, состоящей из жидкости, в которой взвешены твердые частицы, производится при помощи фильтра. В простейшем случае он является сосудом, разделенным на две части пористой фильтровальной перегородкой. Суспензию помещают в одну часть этого сосуда таким образом, чтобы она соприкасалась с фильтровальной перегородкой. В разделенных частях сосуда создается разность давлений, под действием которой жидкость проходит через поры фильтровальной перегородки, а твердые частицы задерживаются этой перегородкой. Таким образом, суспензия разделяется на чистый фильтрат и влажный осадок.

Фильтры чаще всего подразделяют на периодически действующие и непрерывно действующие. В первых фильтровальная перегородка неподвижна, во вторых она непрерывно перемещается по замкнутому пути. При этом в фильтрах периодического действия на всех элементах перегородки одновременно осуществляются одни и те же процессы, например поступление суспензии, образование осадка или его удаление. В фильтрах непрерывного действия на различных элементах перегородки происходят разные процессы в зависимости от того, на каком участке замкнутого пути находится, в данный момент рассматриваемый элемент перегородки; так, на один участок перегородки поступает суспензия, а на других ее участках образуется и удаляется осадок.

1.2 Нутч-фильтры


Различают два вида нутч-фильтров: 1) открытые, работающие при разрежении, 2) закрытые, работающие под избыточным давлением.

Открытый нутч-фильтр представляет собой прямоугольный или цилиндрический аппарат с фильтровальной перегородкой, расположенной не сколько выше его днища.

Перегородка состоит из пористых керамических плиток или ткани, уложенной на решетке. После заполнения фильтра суспензией и включения вакуума фильтрат проходит сквозь перегородку, а осадок задерживается на ней. После фильтрования осадок промывают (если это необходимо) и удаляют из фильтра сверху вручную.

Открытый нутч-фильтр: 1 - корпус, 2 - фильтровальная перегородка

Достоинства открытых нутч-фильтров: 1) возможность тщательной промывки осадков, 2) легкость защиты от коррозии, 3) простота и надежность конструкции.

Недостатки: 1) малая скорость фильтрования, так как разность давлений практически не превышает 0,75 ат, 2) громоздкость установки, 3) ручная выгрузка осадка.

Выгрузка осадка значительно облегчается и ускоряется в открытых нутч-фильтрах с откидными днищами и в опрокидывающихся нутч-фильтрах. Откидное днище крепится к корпусу фильтра на болтах и откидывается на шарнире. В опрокидывающихся нутч-фильтрах весь корпус фильтра опрокидывается вручную либо посредством гидравлического механизма.

В закрытом нутч-фильтре, приведенном на фильтрование производится под давлением сжатого воздуха или инертного газа. Осадок выгружают через откидное днище или через боковой люк 3.

Закрытый нутч-фильтр: 1 - корпус, 2 - фильтровальная перегородка, 3 - люк

Достоинства закрытых нутч-фильтров: 1) значительная скорость фильтрования, 2) возможность отделения трудно фильтруемых осадков, 3) пригодность для разделения суспензий, выделяющих огнеопасные или токсичные пары.

Недостатком таких фильтров является ограниченная производительность, обусловленная тем, что изготовление их с большой фильтрующей поверхностью затруднительно, поскольку аппараты работают под избыточным давлением.

1.2    Мешочные фильтры


Эти фильтры состоят из ряда вертикальных фильтровальных элементов (тканевые мешки, натянутые на каркасы), находящихся в горизонтальном или вертикальном корпусе.

Горизонтальный мешочный фильтр: 1 - корпус, 2-фильтровальные элементы; 3 - ролики, 4-съемная крышка

Горизонтальный мешочный фильтр представляет собой цилиндрический, слегка наклонный аппарат, в котором расположены 6-12 прямоугольных фильтровальных элементов 2. Элементы жестко соединены с передней съемной крышкой 4 и перемещаются вместе с ней на роликах 3 по рельсам, расположенным вдоль корпуса 1 аппарата.

Отдельный элемент фильтра состоит из вваренной в полую раму 1 толстой металлической сетки 2, этот каркас обтянут мешком 3 из фильтровальной ткани.

Рама элемента имеет отводную трубку и краник для слива фильтрата. Перед фильтрованием элементы вдвигают в корпус, плотно закрепляют болтами съемную крышку и заполняют корпус суспензией под давлением (ризб < 4aт). Фильтрат проходит через ткань и каркасы элементов, затем сливается через отводные трубки в общий желоб, установленный возле фильтра. Когда на ткани образуется достаточный слой осадка, корпус фильтра освобождают от суспензии и промывают осадок водой под давлением; промывные воды движутся по пути фильтрата. После промывки осадка сливают из корпуса воду и просушивают осадок сжатым воздухом. При помощи ручной лебедки фильтровальные элементы с крышкой выдвигают из корпуса и сбрасывают с них осадок струей воздуха, подаваемого внутрь элементов.

Отдельные операции процесса фильтрования осуществляются в этом фильтре при помощи автоматического устройства.

Значительно более компактен и удобен в эксплуатации вертикальный мешочный фильтр. В вертикальном корпусе 1 установлены фильтровальные элементы 2, состоящие из каркаса в виде рифленой прямоугольной пластины, окаймленной трубчатой рамой. Каркас обтянут снаружи фильтровальной тканью. Фильтрат отводится через верхнюю часть каждой рамы, которая соединена с общим коллектором 3, расположенным внутри фильтра. Осадок удаляется сжатым воздухом или водой через патрубок 4 в коническом днище корпуса. Фильтр работает под избыточным давлением; аппарат герметичен и не имеет движущихся частей.

Горизонтальный мешочный фильтр с круглыми элементами имеет корпус в виде двух полуцилиндрических половин 1 и 2, плотно соединенных откидными болтами 4, причем нижняя половина 2 может откидываться вниз на шарнире Фильтровальные элементы - диски 3 подвешены параллельно друг другу в верхней половине корпуса. Они представляют собой проволочные сетки, приваренные к круглой рамке и обтянутые фильтровальной тканью. Фильтрат и промывные воды отводятся, через верхние патрубки элементов, которые соединяются с общим коллектором 5.

Описанный фильтр работает аналогично мешочному фильтру. Для удаления осадка нижнюю половину корпуса быстро откидывают без затраты больших усилий, так как она уравновешивается противовесом 6, а откидные болты имеют общую ось и поворачиваются одновременно при помощи зубчатой передачи Осадок разгружается под действием струи воздуха (поступает изнутри элементов) или смывается водой, подаваемой через сопла, которые установлены на трубе. Мешочные фильтры, работающие под давлением, обладают следующими преимуществами: 1) промывка осадка при меньшем расходе воды, 2) меньший износ ткани, 3) более легкое обслуживание, 4) большая производительность на единицу фильтровальной поверхности вследствие более быстрой сборки фильтра, промывки и выгрузки осадка.

Недостатки этих фильтров: 1) сложность изготовления и более высокая стоимость, 2) трудность контроля конечной толщины слоя осадка на элементах, 3) недостаточное перемешивание суспензии (только путем ее рециркуляции); вследствие этого при большой концентрации твердой фазы в суспензии осадок неравномерно отлагается, что ухудшает его промывку, 4) более сложная замена ткани.

1.4 Патронные фильтры

Фильтры этого типа состоят из фильтровальных элементов в виде узких, закрытых снизу вертикальных цилиндров (патронов, или свечей), изготовленных из специальных материалов - пористой керамики, угольной массы, прессованного кизельгура и др.

Эти фильтры работают по тому, же принципу, что и нутч - фильтры под давлением: фильтрат продавливается снаружи через фильтровальную перегородку внутрь каждого элемента, осадок остается на его наружной поверхности. Осадок сбрасывается толчком жидкости или воздуха, которые подводятся изнутри патрона.

Патронные фильтры применяются главным образом в качестве сгустителей.

По окончании фильтрования подача суспензии автоматически прекращается и осадок сбрасывается при резком увеличении давления фильтрата внутри патрона. Затем давление снижают и патрон промывают водой, движущейся изнутри патрона наружу, осадок в виде сгущенной суспензии удаляют при помощи мешалки 5 через патрубок 6.

Обычно патронные фильтры состоят из нескольких десятков фильтровальных элементов, заключенных в общем корпусе. Эти фильтры часто снабжаются автоматическим управлением и могут работать без постоянного наблюдения.

Патронный фильтр-сгуститель: 1 - корпус; 2-патрон; 3-патрубок для входа суспензии; 4 - патрубок для выхода фильтрата; 5 - мешалка; 6 - патрубок для удаления осадка; 7 - отверстия для отвода фильтрата; 8 - ребристая металлическая труба (сердечник); 9 - гильза-цилиндр

1.5 Дисковые вакуум-фильтры

Дисковый фильтр непрерывного действия состоит из 1-10 вертикальных дисков, укрепленных на горизонтальном полом валу. Вал с дисками вращается в корыте, имеющем форму полуцилиндра с выступающими спереди узкими камерами или карманами, число которых равно числу дисков. Диски при вращении по часовой стрелке входят в карманы и почти наполовину погружаются в суспензию. Каждый диск состоит из плотно прижатых друг к другу секторов с рифлеными (иногда дырчатыми) боковыми поверхностями. У основания сектора имеется полая обойма с дренажной трубкой, которая вставляется в соответствующее отверстие вала и соединяет сектор с одним из продольных каналов, на которые разделен полый вал. Снаружи каждый сектор обтянут мешком из фильтровальной ткани, обвязанным вокруг трубки. Секторы скрепляются друг с другом попарно длинными радиальными шпильками, ввинчиваемыми в тело вала и имеющими на концах дугообразные накладки.

Таким образом, все секторы дисков, расположенные на одной и той же образующей вала, соединяются общим продольным каналом в нем. К одной из торцовых сторон вала плотно прижата распределительная головка, соединяющая диски с линиями вакуума и сжатого воздуха. Принцип действия распределительной головки тот же, что и в барабанном фильтре.

Суспензия поступает в камеры корыта снизу в таком количестве, чтобы ее избыток сливался через переливной патрубок. При движении суспензия перемешивается, причем известное перемешивающее действие оказывают диски.

Фильтрование происходит при вращении дисков, делающих 0,1-3 об/мин (иногда до 20 об/мин), фильтрат отсасывается через ткань, радиальные желобки секторов, обойму, дренажные трубки, соответствующие каналы вала и камеры головки. В большинстве случаев за зоной фильтрования на диске следует зона просушки и отдувки осадка воздухом, промывка осадка в дисковых фильтрах производится крайне редко. С обеих сторон каждого диска на краях камер корыта установлены скребки 4 или конические горизонтальные валики. При продувке изнутри сжатым воздухом ткань на секторе выпучивается, осадок разрыхляется и сбрасывается, когда ткань проходит между скребками. Осадок падает в пространство между камерами корыта и поступает в желоб или на транспортер, при помощи которого производится выгрузка. При снятии толстого слоя осадка пользуются скребками вместо валиков, причем скребки служат главным образом направляющей плоскостью.

Если нужна промывка осадка, к поверхности дисков подводятся радиальные трубки, через которые разбрызгивается вода; промывные воды отводятся через отдельную камеру распределительной головки. Диски обычно изготовляют из древесины твердых пород или же отливают из чугуна или цветных металлов.

Достоинства дисковых фильтров: 1) наибольшая фильтрующая поверхность на единицу производственной площади по сравнению с фильтрами других типов, 2) возможность удобной замены отдельных дисков и ткани на них и соответственно меньший расход ткани, 3) сравнительно небольшой расход энергии.

Недостатки: 1) плохая промывка осадков, 2) возможность смешения промывной воды с суспензией в корыте фильтра; в связи с этим дисковые фильтры работают, как правило, без промывки осадка.

Сектор диска непрерывно действующего фильтра: 1 - сектор; 2 - полая обойма; 3 - дренажная трубка; 4 - шпилька; 5 - накладка

Разновидностью дискового вакуум-фильтра является тарельчатый вакуум - фильтр, или план-фильтр, имеющий один горизонтальный пустотелый диск 1 значительного размера, вращающийся на полом вертикальном валу 2 Диск имеет низкие борта и перфорированную поверхность, разделенную на секторы-ячейки, которые покрыты фильтровальной тканью. Каждая ячейка сообщается через каналы в вертикальном валу с распределительной головкой 3, находящейся под диском. За один оборот диска его ячейки по следовательно соединяются с линиями вакуума и сжатого воздуха. Суспензия подается на поверхность диска сверху. Осадок снимается ножом 4 после почти полного оборота диска, т.е. возле места ввода суспензии.

Тарельчатый вакуум-фильтр: 1 - горизонтальный пустотелый диск; 2-полый вал; 3 - распределительная головка; 4 - нож для съема осадка

Достоинства тарельчатого фильтра: 1) трата с направлением осаждения твердых осадка, 3) возможность фильтрования неоднородных суспензий.

Недостатки - 1) громоздкость установки, 2) небольшая фильтрующая поверхность, 3) затруднительность снятия осадка и очистки ткани.

Дисковые фильтры, работающие под давлением, аналогичны по устройству дисковым вакуум-фильтрам, но имеют герметически закрытый кожух, внутри которого создается давление при помощи сжатого воздуха или газа.

1.6 Карусельные вакуум-фильтры

Карусельный фильтр (рисунок 18) представляет собой горизонтальный вращающийся вакуум-фильтр непрерывного действия с вращающейся кольцевой рамой, на которой шарнирно укреплены ячейки-противни. Каждый противень соединен гибким шлангом с центральной распределительной головкой.

Все операции на каждом противне совершаются последовательно. При вращении рамы с помощью зубчатой рейки каждый противень заполняется суспензией, затем соединяется с линией вакуума. После удаления маточного раствора осадок можно многократно промывать (до пяти раз). После промывки и осушки осадка противень переворачивается и осадок сбрасывается в сборник. Далее ткань промывается и осушается, после чего начинается новый цикл фильтрования. Достоинства карусельных фильтров: 1) высокая производительность при разделении грубодисперсных суспензий, 2) весьма тщательная промывка осадка, 3) длительный срок службы фильтровальной ткани (благодаря отсутствию съема осадка ножом) и легкость ее замены, 4) низкие эксплуатационные расходы. Рабочая фильтрующая поверхность карусельных фильтров от 1,5 до 40 м2.

Карусельный фильтр-схема действия

1.7 Ленточный вакуум-фильтр

Ленточный фильтр непрерывного действия состоит из горизонтального гладкого стола 2 по которому скользит бесконечная резиновая лента 4, натянутая между барабанами 1 и 5. Барабан 5 соединен с приводом, задний барабан 1 может перемещаться в направляющих и служит для натяжения ленты. Резиновая лента 4 имеет специальный профиль, рифленую рабочую поверхность. Лента снабжена боковыми бортами, вдоль ее оси расположены отверстия, которые при движении ленты сообщаются с тремя вакуум-камерами 3, расположенными под поверхностью стола 2. Вакуум - камеры служат для отсоса фильтрата.

На резиновую ленту 4 надето бесконечное полотно 6 из фильтровальной ткани, кромки которой уплотнены круглым резиновым шнуром, вшитым в ткань и вдавленным в желобки резиновой ленты. Суспензия поступает на ткань по лотку 7.

При движении ленты 4 и полотна 6 фильтрат отсасывается, а осадок отлагается на ткани. Осадок промывается водой, поступающей через трубки 8, просушивается в вакууме и сбрасывается при перегибе полотна через барабан 5.

Для снятия липких осадков применяют пустотелый перфорированный валик, в отверстия которого продувается сжатый воздух, что облегчает отделение осадка от ткани. Иногда осадок смывается с ткани струей воды. При обратном движении ткани под столом она очищается (регенерируется) с помощью механических щеток или паровых форсунок.

Ленточный вакуум-фильтр: 1 - натяжной барабан, 2 - стол; 3 - вакуум-камеры; 4 - бесконечная резиновая лента, 5 - приводной барабан; 6 - бесконечное полотно (фильтровальная ткань), 7 - лоток для подачи суспензии; 8 - оросительные трубки

1.8 Фильтр-прессы

Применяют в основном для разделения тонкодисперсных суспензий. К ним относятся рамные и камерные фильтр-прессы и камерный автоматический фильтр-пресс (ФПАКМ).

Фильтрпресс состоит из ряда чередующихся друг с другом плит 1 и рам 2. Плиты и рамы опираются боковыми ручками на параллельные брусья станины 5 пресса. На станине имеются концевая неподвижная плита 3 и перемещающаяся на роликах подвижная плита 4. Между плитами 3 и 4 при помощи специального устройства плотно зажимается комплект плит и рам; между плитами и рамами помещаются перегородки («салфетки») из фильтровальной ткани. Салфетки обычно навешиваются на плиты и покрывают их боковые поверхности.

Боковые поверхности плиты фильтр-пресса по краям плоские и гладкие и во внутренней части рифленые. Желобки плиты сообщаются с каналом в нижней ее части, который заканчивается краником (или пробкой) для отвода фильтрата. У верхней кромки плиты расположены три отверстия: центральное - для прохода суспензии, два крайних - для промывной жидкости. Плита покрыта салфеткой из ткани, в салфетке прорезаны отверстия, совпадающие с отверстиями плиты.

Суспензия под давлением подается в фильтр-пресс при помощи насоса, поступает под гидравлическим давлением из напористо бака. Фильтрат продавливается через ткань, стекает по желобкам плит и через отводные каналы и краники сливается в корыто, установленное на полу вдоль фильтра. Из корыта фильтрат стекает в сборник или, если фильтрат не представляет ценности, то выводится из процесса. Твердые частицы осаждаются на ткани, причем наиболее часто фильтрование ведется до заполнения рам осадком. Осадок промывают (если это необходимо) или только продувают паром либо воздухом для удаления жидкости. После этого плиты и рамы раздвигаются и осадок частично падает под действием силы тяжести в сборник, установленный под фильтром. Остальную часть осадка выгружают вручную лопаткой.

Фильтр-пресс: 1 - плиты; 2 - рамы; 3 - неподвижная концевая плита; 4 - подвижная концевая плита; 5 - станина; 6 - гидравлический зажим; 7 - штуцер для ввода суспензии, промывной воды и сжатого воздуха; 8 - кран для вывода фильтрата и промывной воды

Автоматический камерный фильтр-пресс: 1 - шланг резиновый уплотняющий; 2 - опорная щелевидная плита; 3 - фильтрующая ткань; 4 - нож для съема осадка; 5 - нож подчистки; 6 - камера регенерации; 7 - поддон; 8 - камера для чистого фильтрата; 9 - камера для суспензии; б-уплотняющие шланги

1.9 Барабанные вакуум-фильтры

Вакуум-фильтр - аппарат для разделения суспензий, то есть жидкостей, содержащих твёрдые частицы во взвешенном состоянии. Разделение происходит в результате разности давлений, создаваемой вакуум-насосом, над фильтрующей перегородкой и под ней. Известны вакуум - фильтры периодического и непрерывного действия. Последний представляет собой горизонтальный вращающийся барабан, который изнутри разделён радиальными герметичными перегородками на отдельные ячейки, соединённые трубками с распределительной головкой. По мере вращения барабана в ячейках создаётся вакуум или избыточное давление. При вращении барабан проходит зону фильтрации, где жидкость засасывается в барабан, а твёрдые частицы оседают на фильтрующей ткани. После промывания осадка водой барабан входит в зону сушки, где через осадок просасывается воздух, затем в зону удаления осадка. Здесь изнутри барабана подаётся сжатый воздух, а осадок с поверхности барабана срезается ножом. Известны также дисковые, ленточные, тарельчатые, карусельные и др.

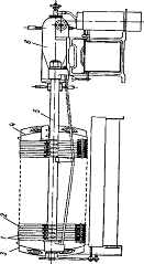
Барабанный ячейковый вакуум-фильтр с наружной фильтрующей поверхностью является наиболее распространенным фильтром данного типа. Полый барабан 1 с отверстиями на боковой поверхности, покрытый металлической сеткой и фильтровальной тканью, вращается в корыте 2 с небольшой скоростью (0,1-2,6 об/мин). Корыто заполнено суспензией в которую погружено 0,3-0,4 поверхности барабана. Барабан разделен радиальными перегородками на ячейки, каждая из которых через каналы по полой цапфе вала 3 сообщается с распределительной головкой 4, прижатой к торцевой поверхности цапфы.

Распределительная головка служит для последовательного соединения ячеек барабана с линиями вакуума и сжатого воздуха. Погруженные в суспензию ячейки барабана сообщаются с вакуумной линией. Под действием разности давлений снаружи и внутри барабана осадок откладывается на его поверхности, а фильтрат отсасывается внутрь барабана и удаляется через распределительную головку.

Общий вид и схема работы барабанного вакуум-фильтра непрерывного действия с наружной фильтрующей поверхностью: 1 - барабан; 2 - корыто; 3 - главный вал; 4 - распределительная головка

Поверхность ячеек барабана, на которой откладывается осадок, называется зоной фильтрования (зона фильтровании I).

Когда соответствующие ячейки барабана выходят из суспензии, осадок подсушивается при разрежении (зона просушки II). Затем осадок промывается водой, подаваемой через трубки 5, причем промывные воды отсасываются, как и фильтрат, через распределительную головку.

Вслед за промывкой в этой же зоне (зона промывки и просушки III) осадок сушится воздухом, который просасывается через слой осадка. После этого ячейки соединяются через распределительную головку с линией сжатого воздуха (зона отдувки IV). Воздух не только сушит, но и разрыхляет осадок, благодаря чему облегчается его последующее удаление.

При подходе ячеек с просушенным осадком к ножу 7 прекращается подача сжатого воздуха и осадок падает с поверхности ткани под действием силы тяжести. Нож служит в основном направляющей плоскостью для слоя осадка, отделяющегося от ткани. При дальнейшем вращении барабана ткань, освобожденная от осадка, очищается путем продувки воздухом (зона регенерации ткани V). Вслед за этим весь цикл операций, соответствующий одному обороту барабана, повторяется снова. Между рабочими зонами II, III, IV, V и I находятся небольшие мертвые зоны.

Это препятствует сообщению между собой рабочих зон при переходе ячеек из одной зоны в другую.

Таким образом, на каждом участке поверхности фильтра все операции - фильтрование, промывка, просушка, съем осадка и очистка ткани - производятся последовательно одна за другой, но участки работают независимо друг от друга и поэтому все операции на фильтре проводятся одновременно, т.е. процесс протекает непрерывно. По такому же принципу работают все непрерывно действующие фильтры.

Чередование отдельных операций в ячейковом фильтре достигается при помощи распределительной головки, неподвижный корпус 1 головки прижимается к ячейковой шайбе 3. Шайба вращается вместе с барабаном и имеет отверстия по числу ячеек барабана.

В процессе фильтрования стремятся свести к минимуму осаждение твердых частиц, которое происходит в направлении, противоположном движению фильтрата. Для предотвращения возможности осаждения суспензия перемешивается в корыте качающейся мешалкой 8. Чтобы не происходило снижения вакуума из-за просасывания воздуха через трещины в осадке, последний иногда заглаживают покровной лентой 6.

Осадки снимают с фильтрующей поверхности различными способами. При помощи ножа снимают осадки толщиной не менее 8-10 мм. Для снятия более тонких слоев (2-4 мм) применяют бесконечные шнуры, огибающие барабан, с которых осадок сбрасывается при перегибе через валик. Тонкие и мажущиеся осадки снимают прижатым к барабану вращающимся резиновым валиком, на который переходит осадок и затем снимается валиком меньшего диаметра. Снятие очень тонких слоев осадка (<2 мм) производится бесконечным сходящим полотном. Полотно проходит через систему роликов, на первый ролик осадок налипает и снимается с него ножом, после чего полотно промывается и возвращается к барабану. Движение полотна осуществляется вследствие его трения о поверхность барабана.


Способы снятия осадка: а - ножом, б-бесконечными шнурами, в-резиновым валиком, г - сходящим полотном

Барабанный вакуум-фильтр с внутренней фильтрующей поверхностью: 1 - барабан; 2 - решетка; 3 - нож; 4 - бандаж, 5 - разгрузочный желоб, 6 - оросительная труба, 7-распределительная головка

Барабанный вакуум-фильтр с внутренней фильтрующей поверхностью имеет перегородку внутри барабана 1 в виде решетки 2, покрытой фильтровальной тканью и установленной на некотором расстоянии от стенок барабана. Суспензия подается с открытого конца барабана (снабженного закраиной), жидкость удаляется через распределительную головку 7, осадок сбрасывается в разгрузочный желоб 5 после отдувки воздухом и снятия слоя ножом 3. Вращение барабана осуществляется при помощи бандажа 4, который катится по опорным роликам. В случае необходимости осадок промывается водой, подаваемой по трубе 6

В описанном фильтре осаждение твердых частиц совпадает по направлению с движением фильтрата. Поэтому на фильтровальной перегородке отлагаются в первую очередь более крупные частицы осадка, что облегчает фильтрование.

В барабанных фильтрах с внутренней фильтрующей поверхностью проводится разделение грубых, быстро расслаивающихся суспензий.

Барабанный фильтр, работающий под давлением имеет ячейковый барабан 1 со сходящей тканью, заключенный в закрытый кожух 2 Суспензия подается в кожух насосом или давлением сжатого воздуха через нижний патрубок 3 и отводится через переливной патрубок 7. Сжатый воздух поступает сверху через патрубок 4 под тем же давлением, что и суспензия. Фильтрат продавливается через поверхность барабана и удаляется через пустотелую цапфу 5 и распределительную головку 6 Осадок сбрасывается с ткани при перегибе ее через валик 8 с отверстиями, продуваемый изнутри сжатым воздухом. Этим облегчается отделение осадка, который удаляется шнеком 9 Фильтры, работающие под давлением, имеют ограниченную фильтрующую поверхность и отличаются сравнительной сложностью устройства.

 

Барабанный фильтр, работающий под давлением: 1 - барабан; 2 - кожух; 3 - патрубок для подачи суспензии; 4 - патрубок для подачи сжатого воздуха; 5 - цапфа вала; 6 - распределительная головка; 7 - переливный патрубок; 8 - валик; 9 - шнекер

Фильтр имеет вращающийся цилиндрический перфорированный барабан 1, покрытый металлической сеткой 2 и фильтровальной тканью 3. Часть поверхности барабана (30-40%) погружена в суспензию, находящуюся в корыте 6. С помощью радиальных перегородок барабан разделен на ряд изолированных друг от друга ячеек (камер) 9.

Ячейки с помощью труб 10, составляющих основу вращающейся части распределенной головки 11, соединяется с различными полостями неподвижной части распределительной головки 12, к которым подведены источники вакуума и сжатого воздуха. При вращении барабана каждая ячейка проходит несколько зон (I-IV).

Зона I - зона фильтрования и подсушивания осадка; где ячейки соединяются с линией вакуума. Благодаря возникающему перепаду, давления фильтрат проходит через фильтровальную ткань 3, сетку 2 и перфорацию барабана 1 внутрь ячейки и по трубе 10 выводится из аппарата. На наружной поверхности фильтровальной ткани формируется осадок 4. При выходе ячеек из суспензии осадок частично подсушивается.

Зона II - зона промывки осадка и его сушки, где ячейки соединены с линией вакуума. С помощью устройства 8 подается промывная жидкость, которая проходит через осадок и по трубам 10 выводится из аппарата. На участке этой зоны, где промывная жидкость не поступает, осадок высушивается.

Зона III - зона съема осадка, здесь ячейки соединены с линией сжатого воздуха для распыления осадка, что облегчает его удаление. Затем с помощью ножа 5 осадок отделяется от поверхности ткани.

Зона IV - зона регенерации фильтровальной перегородки, которая продувается сжатым воздухом от оставшихся на ней твердых частиц.

В корыте 6 для суспензии происходит осаждение твердых частиц под действием силы тяжести, причем в направлении обратном движению фильтрата. В связи с этим возникает необходимость перемешивания суспензий, для чего используют мешалку 7. Ячейки при вращении барабана проходят так, называемые «мертвые» зоны в которых они оказываются отсоединенными от источников, как вакуума, так и сжатого газа.

Весь цикл операций повторяется. Таким образом, на каждом участке поверхности фильтра все операции происходят последовательно одна за другой, но участки работают независимо, поэтому в целом все операции происходят одновременно, и процесс протекает непрерывно.

1.10 Циклоны

Устройства для отделения твердых частиц от газа; центробежные пылеуловители, конструктивные элементы которых обеспечивают вращательно - поступательное движение газового потока.

Схема течения газовых потоков в циклоне: 1 - входной патрубок; 2 - выхлопная труба; 3 - цилиндрическая камера; 4 - коническая камера; 5 - пылеосадитсльная камера

Обеспыливаемый газ поступает в образующую кольцевое пространство аппарата цилиндрическую часть, где движется по спирали с возрастающей скоростью от периферии к центру, спускается по наружной спирали, затем поднимается по внутренней спирали и выходит через выхлопную трубу. Под действием центробежной силы частицы пыли отбрасываются к стенке циклоны и вместе с частью газа попадают в бункер. Часть освободившегося от пыли газа возвращается из бункера в циклоны через центр пылеотводящего отверстия, давая начало внутреннему вихрю. Отделение частиц от попавшего в бункер газа происходит при перемене направления их движения на 180° под действием сил инерции. По мере движения данной части газа в сторону выхлопной трубы к ним присоединяются порции газа, не попавшего в бункер. Это не вызывает существенного увеличения выноса пыли в трубу, т.к. распределенное на довольно большом отрезке длины циклоны перетекание газа происходит со скоростью, недостаточной для противодействия движению частиц к периферии аппарата. Значительно большее влияние на полноту пылеулавливания оказывает движение газа в области пылеотводящего отверстия. Поэтому частицы чрезвычайно чувствительны к подсосам газа через бункер из-за увеличения объема потока, движущегося навстречу улавливаемой пыли. Отсюда видна важная роль бункера при осаждении частиц пыли в циклоны; использование таких аппаратов без бункеров или с бункерами уменьшенных размеров приводит к снижению эффективности пылеулавливания.

Конструкции циклоны весьма разнообразны. Циклоны различаются по способу подвода газа, который может быть спиральным, тангенциальным или обычным, винтообразным и осевым; циклоны с осевым (розеточным) подводом газа работает как с возвратом газа в верхнюю часть аппарата, так и без него. Аппараты последнего типа (так называемые прямоточные циклоны) отличаются низким гидравлическим сопротивлением и меньшей по сравнению с циклоны иных типов эффективностью пылеулавливания. Простота конструкции прямоточных циклонов облегчает нанесение на них футеровки, что позволяет применять эти аппараты для осаждения крупных абразивных частиц пыли.

1.11 Рукавный фильтр

Очистка запыленного воздуха осуществляется просасыванием его через пористые перегородки, которые могут быть тканевые, насыпные, набивные или керамические, является одним из самых старых и надежных способов очистки промышленных выбросов. В этих аппаратах фильтрация взвешенных в газовом потоке твердых или жидких частиц осуществляется за счет броуновской диффузии, эффекта касания или зацепления, а также инерционных, электростатических, гравитационных сил.

Рукавные фильтры - наиболее распространенные среди тканевых фильтров. Состоят из корпуса, внутри которого помещены рукава из шерстяной, хлопчатобумажной, полимерной или стеклянной ткани. Загрязненный газ или воздух проходит через рукава, которые периодически регенерируются от задержанной пыли.

Рукавный фильтр

1.12 Электрофильтр

Электрическая очистка газов является одним из наиболее значимых в практическом отношении методов борьбы с пылью в промышленности строительных материалов. Эксплуатационные расходы на электрофильтр по сравнению с расходами на другие пыле- и золоуловители оказываются весьма низкими благодаря небольшим гидравлическим потерям в аппарате (100-И 50 Н/м»). Специфические особенности технологических процессов в различных отраслях промышленности привели к созданию электрофильтров различных конструкций, но принцип их работы идентичен.

Метод основан на ионизации газа (за счёт искрового разряда). При напряжении 35-70 кВ молекулы газа ионизируются, т.е. распределяются на положительно заряженные ионы и электроны, которые перемещаются вдоль силовых линий электростатического поля.

В трубчатых электрофильтрах в качестве осадительных электродов применяют круглые или шестигранные трубы диаметром 150-300 мм и длиной до 3-4 м (иногда применяют пластины), а в качестве коронирующих электродов используется нихромовая проволока диаметром 2 - 3 мм. При создании разности потенциалов до 70 кВ заряженные ионами частицы пыли переносятся к осадительному электроду.

Попав на заземленный уловитель, частицы прилипают и разряжаются. Когда осадительный электрод обрастает слоем частиц, они стряхиваются под воздействием вибрации и собираются в бункере. Электрофильтры применяются там, где необходимо очищать очень большие объемы газа и отсутствует опасность взрыва. Степень очистки может достигать 99,5%. Эти установки используются для улавливания пыли в цементной промышленности, для улавливания летучей золы на современных электростанциях, а также в металлургии в мощных системах улавливания дыма.

Схема электрофильтр: 1 - осадительная камера; 2, б - патрубки; 3 - осадительный электрод; 4 - коронирующий электрод; 5,7 - изоляторы; 8 - затвор.

2. Блок-схема процесса

                                               H




                                               Z

Контролируемый нерегулируемый фактор X:

х1-температура окружающей среды;

х2-Атмосферное давление;

х3-Скорость фильтрования;

х4-Плотность суспензии;

х5-Размер частиц;

х6-Размер аппарата;

х7-Коррозия деталей;

х8 - удельное сопротивление осадка при фильтровании;

х9 - разность плотностей фаз;

Контролируемый регулируемый фактор H:

h1-Скорость подачи суспензии;

h2-Количество жидкости;

h3 - Число оборотов; h4-Интенсивность фильтрации;

h5 - Уровень суспензии;

h6 - высота слоя осадка;

h7 - вязкость жидкой фазы;

h8 - время снятия осадка;

h9 - время выгрузки;

Неконтролируемый нерегулируемый фактор Z:

z1-Эксплуатационные воздействия;

z2-Человеческий фактор;

z3-Примеси;

z4-Отключение электрической энергии;

z5-Перепады электрической энергии;

Выходы Y:

y1-Количество осадка;

y2-Влажность осадка;

y3-Качество;

y4-Производительность;

y5-Износ аппарата;

у6 - насыщенность осадка жидкой фазой.

Список источников

1. Плановский А.Н. и др. Процессы и аппараты химической технологии - М.: Химия, 1968.

2. Макаева А.А. Процессы и аппараты технологии строительных изделий. Часть 1. Механические и гидромеханические процессы и аппараты: учебное пособие /А.А. Макаева - Оренбург: ОГУ, 2011.

3. Макаева А.А. Процессы и аппараты технологии строительных изделий: методические указания к курсовой работе/А.А. Макаева - Оренбург: ОГУ, 2002.

4. Павлов К.Ф. Примеры и задачи по курсу процессов и аппаратов химической технологии - С.: Химия, 2006.

. Жужиков В.А. Фильтрование Теория и практика разделения суспензий - М.: Химия, 1971.

алгоритм фильтр вакуум барабанный

Похожие работы на - Разработка барабанного вакуум-фильтра

 

Не нашли материал для своей работы?
Поможем написать уникальную работу
Без плагиата!
Без нейросетей!