Привод галтовочного барабана для снятия заусенцев после штамповки
Министерство
образования и науки Республики Татарстан
Альметьевский
государственный нефтяной институт
Кафедра
прикладной механики
РАСЧЕТНО-ПОЯСНИТЕЛЬНАЯ
ЗАПИСКА
к курсовому
проекту
по курсу:
«Детали машин и основы конструирования»
Тема:
Привод галтовочного
барабана для снятия заусенцев после штамповки
Выполнил
студент: группы 21-41
Гилязев
Айнур Мулланурович
Руководитель
курсового проекта:
Волкова О.Н.
Альметьевск
- 2013
Содержание
Введение
Техническое
задание
.
Выбор электродвигателя и кинематический расчет привода
.
Расчет открытой поликлиноременной передачи
.
Расчет зубчатых колес редуктора
.
Предварительный расчет валов редуктора
.
Конструктивные размеры шестерни и колеса
.
Конструктивные размеры корпуса редуктора
.
Первый этап компоновки редуктора
.
Проверка долговечности подшипников
.
Второй этап компоновки редуктора
.
Выбор муфты
.
Проверка прочности шпоночных соединений
.
Уточненный расчет валов
.
Вычерчивание редуктора
Посадки
зубчатого колеса и подшипников
.
Выбор сорта масла
.
Сборка редуктора
Заключение
Список
использованной литературы
Введение
Курсовая работа по деталям машин является первой
конструкторской работой студента, выполненной на основе знаний
общеобразовательных дисциплин. Здесь есть все: и анализ назначения и условия
работы проектируемых деталей; и наиболее рациональные конструктивные знания с
условием технологических, монтажных, эксплуатационных и экономических
требованиях; и кинематические расчеты и определение сил, действующих на детали
и узлы, и расчеты конструкций на прочность, и выбор материалов, и процесс
сборки и разборки конструкции и многое другое.
Таким образом, достигаются основные цели этого
проекта:
Овладеть техникой разработки конструкторских
документов на стадиях проектирования;
Приобрести навыки самостоятельного решения
инженерно-технических задач и умения анализировать получение результаты;
Научиться работать со стандартами, различной
инженерной, учебной и справочной литературой;
Уметь обоснованно защищать курсовую работу.
В результате приобретенных навыков и опыта
проектирования машин и механизмов общего назначения станут базой для выполнения
курсовых работ по специальным дисциплинам.
Поэтому необходимо применять материалы наиболее
подходящие с учетом их стоимости и дефицитности, а также рассчитывать детали
без лишних запасов. Работоспособность и надежность деталей машин
характеризуется определенными критериями. Важнейшие критерии: прочность,
жесткость, износостойкость, теплостойкость, виброустойчивость.
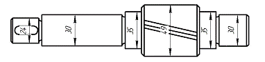
Техническое задание
Спроектировать привод к галтовочному барабану
для снятия заусенцев после штамповки
Рис. 1 Кинематическая схема привода к
галтовочному барабану для снятия заусенцев после штамповки
Исходные данные:
|
Окружная
сила на барабане F, кН
|
0,9
|
|
Окружная
скорость барабанаV, м/с
|
3
|
|
Диаметр
барабана D, мм
|
900
|
|
Допускаемое
отклонение скорости барабана δ, %
|
3
|
|
Срок
службы привода Lr , лет
|
5
|
1. Выбор электродвигателя и
кинематический расчет
По табл. 1.1 примем: КПД пары цилиндрических
колес η1=
0,97; коэффициент, учитывающий потери пары подшипников качения , η2=
0,99; КПД открытой передачи η3=
0,96; КПД, учитывающий потери в опорах вала приводного барабана, η4=
0,99.
Общий КПД привода
η = η1
(η2)3
η3=0,97*0,993*0,96=0,903
Мощность на валу барабана
Pб
= 0,9*3=2,7 кВт
Требуемая мощность электродвигателя
Угловая скорость барабана
Частота вращения барабана
В табл. П.1 по требуемой
мощности Ртр = 2,99 кВт с учетом возможностей привода, состоящего из
цилиндрического редуктора и поликлиноременной передачи (см. § 1.3, гл. I,
[1]) выбираем электродвигатель трехфазный короткозамкнутый серии 4А, закрытый,
обдуваемый, с синхронной частотой вращения 1000 об/мин 4A112MA6УЗ,
с параметрами Рдв= 3 кВт и скольжением 4,7 % (ГОСТ 19523-81).
Номинальная частота вращения
nдв
= 1000 - 47 = 953 об/мин.
Угловая скорость:
Проверим общее передаточное
отношение:
что можно признать приемлемым, так
как оно находится между 6 и 36 (большее значение принимать не рекомендуют).
Частные передаточные числа (они равны передаточным отношениям) можно принять:
для редуктора по ГОСТ 2185-66 (см. с 36[1]), up=4 для
цилиндрической зубчатой передачи:
Частоты вращения и угловые
скорости валов редуктора и приводного барабана:
|
Вал
A
|
nдв=953 об/мин
|
|
|
Вал
B
|

|
|
|
Вал
C
|
.
|
|
Вращающие моменты:
На валу электродвигателя:
На валу шестерни
на валу колеса
. Расчет открытой поликлиноременной
передачи
Выбираем необходимое сечение ремня.
Выбор производим по номограмме в зависимости от мощности, передаваемой ведущим
шкивом, равной номинальной мощности двигателя.
;
Выбираем сечение ремня Л.
Находим диаметр меньшего шкива.
Принимаем ближайшее значение из
стандартного ряда 
Находим окружную скорость ремня.
Находим диаметр большего шкива.
Принимаем ближайшее значение из
стандартного ряда.
Уточняем передаточное отношение.
проверка
;
Находим межосевое расстояние.
Находим расчетную длину ремня.
Выбираем ближайшее значение из
стандартного ряда. L=2240мм.
Уточняем межосевое расстояние.
Находим угол обхвата на малом шкиве.
;
Находим необходимое число клиньев
ремня. По номограмме для определения числа клиньев ремня сечением Л, получаем z=6,47.
Принимаем окончательно четное число
клиньев z=8.
Находим усилие, действующее на вал.
Ширина шкивов.
3. Расчет зубчатых колес редуктора
Так как в задании нет особых
требований в отношении габаритов передачи, выбираем материалы со средними
механическими характеристиками (см. гл. III,
табл. 3.3[1]): для шестерни сталь 30ХГ6 термическая обработка - улучшение,
твердость НВ 260; для колеса - сталь 45, термическая обработка - улучшение, НВ
200
Допускаемое контактное
напряжение для косозубых колес из указанных материалов:
Примем коэффициент ширины венца
Коэффициент KHβ, несмотря
на симметричное расположение колес относительно опор, примем выше
рекомендуемого для этого случая, так как со стороны клиноременной передачи
действует сила, давления на ведущий вал, вызывающая его деформацию и ухудшающая
контакт зубьев. Принимаем предварительно по табл. 3.1[1], как в случае
несимметричного расположения колес, значение KHβ=1,25.
Мощность на валу барабана
Найдем вращающий момент на этом валу
Межосевое расстояние из условия
контактной выносливости активных поверхностей зубьев по формуле :
Принимаем ближайшее значение
межосевого расстояния из стандартного ряда:
где для косозубых колес Кa
= 43, а передаточное число нашего редуктора u
= uр=6.3
Принимаем ближайшее значение
межосевого расстояния из стандартного ряда:
Нормальный модуль зацепления
принимаем по следующей рекомендации:
принимаем
Примем предварительно угол наклона
зубьев β=10
и определим
числа зубьев шестерни и колеса:
Принимаем z1 =17; тогда z2 = z1 *u= 17*6,3 =
107. Уточненное значение угла наклона зубьев:
β=12040
Основные размеры шестерни и
колеса:
диаметры делительные:

Проверка:
Диаметры вершин зубьев:
Ширина колеса:

=0.3*160=48мм.
Ширина шестерни:
b1=b2+(2..4)=48+4=52мм.
Определяем коэффициент ширины шестерни
по диаметру:
Окружная скорость колес и степень
точности передачи
При такой скорости для косозубых
колес следует принять 8-ю степень
точности (см. с. 32[1]).
Коэффициент нагрузки
Значения КHβ даны в
табл. 3.5[1]; при
=1,1818
твердости НВ≤350 и несимметричном расположении колес относительно опор КHβ =1,25
По табл. 3.4 гл. III[1] при v=0,91 м/с и
8-й степени точности КНа = 1,09. По табл. 3.6[1] для косозубых колес
при v ≤ 5
м/с имеем КHv= 1.Таким образом, КH = 1,25
*1,09 * 1 = 1,36
Проверка контактных напряжений по
формуле:
426 МПа ≤ [
]=438,3
МПа
Недогруз составляет 2,81%, что
составляет <5%
Силы, действующие в зацеплении:
Окружная:
Радиальная:
Осевая: Fa =
=2951*tg12,4 =649
H.
Проверяем зубья на выносливость по
напряжениям изгиба по формуле:
Здесь коэффициент нагрузки KF
= KFβKFv
(см. с. 42). По табл. 3.7 при
=1,1818, твердости
НВ < 350 и несимметричном расположении зубчатых колес относительно опор КFβ
= 1. По табл. 3.8 KFv
= 1,1. Таким образом, коэффициент KF
= 1*1,1 = 1,1; YF
- коэффициент, учитывающий форму зуба и зависящий от эквивалентного числа
зубьев zv:
у шестерни:
у колеса:
Допускаемое напряжение по
формуле:
По табл. 3.9 [1]для стали 45
улучшенной при твердости HВ
< 350,
σ
Fimb = 1.8НВ.
для шестерни σ
F limb = 1,8*260 =
468 МПа,
для колеса σ
F limb = 1,8*230 =
414 МПа.
[SF] - [SF] [SF]” -
коэффициент безопасности, где [SF] = 1,75 (по
табл. 3.9),
[SF]” = 1 (для
поковок и штамповок). Следовательно, [SF] = 1,75.
Допускаемые напряжения:
Для шестерни
Для колеса
Для шестерни 261/4,28=61 МПа
Для колеса 237/3,6=65,8 МПа
Дальнейший расчет следует вести
для зубьев колеса, для которого найденное отношение меньше.
Определяем коэффициенты Yβ
и KFα:
Проверяем прочность зуба колеса
по формуле:
. Предварительный
расчет валов редуктора
Предварительный расчет проведем
на кручение по пониженным допускаемым напряжениям.
Ведущий вал:
Вращающий момент
Допускаемое напряжение на кручение:
Определим диаметр выходного конца
вала.
Принимаем из стандартного ряда
Диаметр вала под подшипниками
принимаем равным:
Вращающий момент
Ведомый вал: примем [τк] = 25 МПа,
Принимаем ближайшее большее значение
из стандартного ряда: dв2=48 мм, вала
под подшипниками принимаем dn2 =55 мм, под
зубчатым колесом dк2 =60мм.
Диаметры остальных участков валов назначают исходя из конструктивных
соображений при компоновке редуктора. Принимаем шариковые радиально-упорные
подшипники средней серии; габариты подшипников выбираем по диаметру вала в
месте посадки подшипников
и
Ведущий вал
Ведомый вал
привод поликлиноременной
зубчатый редуктор
5. Конструктивные
размеры шестерни, колеса и шкива ведомого
|
Условное
обозначение подшипников
|
d
|
D
|
B
|
|
Размеры
в мм
|
|
46306
|
30
|
72
|
19
|
|
46311
|
55
|
120
|
29
|
Шестерню выполняем за одно
целое с валом; все размеры определены выше: dа1
=49мм; b1
=52мм; d1=
44 мм.
Колесо кованое: d2=278
мм; da2=283
мм; b2
= 48 мм.
Диаметр ступицы
dcт=
l,6dп2
= 1,6*55 =88 мм;
Длина ступицы
lm
= (1,2 - 1,5) dп2=(1,2
-1,5)55=(66 - 82.5) мм, принимаем lст=80
мм.
Толщина обода
δ0
=(2,5 -4)mn=(2,5-4)*2,5
= 6,25 - 10 мм, принимаем δ0
=8 мм.
Толщина диска
С = 0,3b2=
0,3*48=14,4 мм.
6. Конструктивные
размеры корпуса редуктора
Толщина стенок корпуса и
крышки:
δ =0,025а
+ 1=0,025*160+1= 5 мм, принимаем δ=8 мм;
δ1=0,02a+
1 = 0,02 • 160 +1=5 мм, принимаем δ1
= 8 мм.
Толщина фланцев поясов корпуса
и крышки:
верхнего пояса корпуса и пояса
крышки
b=1,5δ=1,5*8=12мм;b1=1,5δ1=1.5*8=12мм;
нижнего пояса корпуса
p
= 2,35δ= 2,35*8= 19 мм; принимаем р = 20 мм.
Диаметр болтов: фундаментных
d1=(0,03
- 0,036)а + 12 = (0,03-0,36)160+12 = (16,8-17,76)мм;
принимаем болты с резьбой М18;
крепящих крышку к корпусу у
подшипников
d2
= (0,7 - 0,75)d1==(0,7
0,75)18=
12.6 - 13.5 мм;
принимаем болты с резьбой М14;
. Первый этап
компоновки редуктора
Компоновку обычно проводят в
два этапа. Первый этап служит для приближенного определения положения зубчатых
колес и звездочки относительно опор для последующего определения опорных реакций
и подбора подшипников.
Компоновочный чертеж выполняем
в одной проекции разрез по осям валов при снятой крышке редуктора; выбираем
масштаб 1:1, чертим тонкими линиями.
Примерно посередине листа
параллельно его длинной стороне проводим горизонтальную осевую линию; затем две
вертикальные линии - оси валов на расстоянии aw
= 160 мм.
Вычерчиваем упрощенно шестерню
и колесо в виде прямоугольников; шестерня выполнена за одно целое с валом;
длина ступицы колеса равна ширине венца и не выступает за пределы прямоугольника.
Очерчиваем внутреннюю стенку
корпуса:
а) принимаем зазор между торцом
шестерни и внутренней стенкой корпуса А1=1,2δ=10мм;
при наличии ступицы зазор берется от торца ступицы;
б) принимаем зазор от
окружности вершин зубьев колеса до внутренней стенки корпуса А=δ;
в) принимаем расстояние между
наружным кольцом подшипника ведущего вала и внутренней стенкой корпуса А=δ;
если
диаметр окружности вершин зубьев шестерни окажется больше наружного диаметра
подшипника, то расстояние А надо брать от шестерни.
Предварительно намечаем
радиальные шарикоподшипники средней серии; габариты подшипников выбираем по
диаметру вала в месте посадки подшипников dп1
= 35мм и dп2
= 45 мм.
По табл. ПЗ[1]
имеем:
|
Условное
обозначение подшипников
|
d
|
D
|
B
|
Грузоподъемность,кН
|
|
Размеры
в мм
|
С
|
С0
|
|
46306
|
30
|
72
|
19
|
25,6
|
18,7
|
|
46311
|
55
|
120
|
29
|
68,9
|
57,4
|
Решаем вопрос о смазывании
подшипников. Принимаем для подшипников пластичный смазочный материал типа
солидол жировой ГОСТ 1033-79. Для предотвращения вытекания смазки внутрь
корпуса и вымывания пластичного смазочного материала жидким маслом из зоны
зацепления устанавливаем мазеудерживающие кольца.
. Проверка
долговечности подшипника
Веущий вал.
Из предыдущих расчетов имеем:
Ft1
=2951 Н, Fr1
= 1100 Н и Fa1
= 649 Н.
Нагрузка на вал от шкива
поликлиновой ременной передачи Fв =3172Н.
Составляющие этой нагрузки
sin45=2243Нм
Из первого этапа компоновки l1 =56 мм и 12
=120 мм. Реакции опор:
в плоскости xz
Проверка:
В плоскости yz:
Проверка:
Суммарные реакции:
Выбираем подшипники по более
нагруженной опоре 1.
Шариковые радиально-упоорные подшипники 46306
средней серии (см. табл. П3[1]): d=30
мм, D=72 мм, B=18
мм , C=25,6 кН , C0=18,3
кН.
Отношение
этой
величине (по табл.9.18)
соответствует е=0,23.
Отношение
<e
Следовательно, Х=1, Y=0. Поэтому
Рэ=Рr2VKбКТ=4903,
т. к. Кб=1 для цилиндрических зубчатых передач.
Расчетная долговечность, млн.
об.
Расчетная долговечность, ч.
здесь n = 402,1
об/мин - частота вращения ведущего вала.
Ведомый вал несет
нагрузки:
Ft
= 2951 H, Fr=649
Н и Fa
=1100 Н; из первого этапа компоновки l3
= 142 мм.
Реакции опор: в плоскости xz
Проверка:
в плоскости уz
Проверка:
Суммарные реакции:
Выбираем подшипники по более
нагруженной опоре 1.
Намечаем шариковые радиально-упорные
подшипники 46311 (см. приложение, табл. П3[1]):d=55 мм, D=120мм , B=29мм, C=68,9 кН, C0=57,4 кН.
Эквивалентная нагрузка:
в которой радиальная нагрузка Pr = 649 Н;
осевая нагрузка Pa= Fa = 1100 Н; V=1
(вращается внутреннее кольцо); коэффициент безопасности для приводов мостовых
кранов Kб=l (см. табл.
9.19); КТ= 1 (см. табл. 9.20[1]).
Отношение
этой
величине (по табл.9.18[1])
e = 0,20
(получаем интерполируя).
Отношение
>e,
Расчетная долговечность, млн. об.
Расчетная долговечность, ч.
Для зубчатых редукторов ресурс
работы подшипников может превышать 36000 ч (таков ресурс самого редуктора), Но
не должен быть менее 10000 ч (минимально допустимая долговечность подшипника).
В нашем случае подшипники ведущего вала 46306 имеют ресурс Lh=
23.4 • 103 ч, а подшипники ведомого вала 46311 имеют ресурс Lh=3969
• 103 ч.
Быстроходный вал

Строим эпюру изгибающих
моментов относительно оси Х в характерных сечениях 1...4
Горизонтальная плоскость.
Определяются изгибающие моменты в горизонтальной
плоскости:
Тихоходный вал
Горизонтальная плоскость
Определяются изгибающие моменты
в горизонтальной плоскости:
Вертикальная плоскость.
Определяются изгибающие моменты в
вертикальной плоскости:
. Второй этап компоновки редуктора
Второй этап компоновки имеет
целью конструктивно оформить зубчатые колеса, валы, корпус, подшипниковые узлы
и подготовить данные для проверки прочности валов и некоторых других деталей.
Вычерчиваем шестерню и колесо
по конструктивным размерам, найденным ранее. Шестерню выполняем за одно целое с
валом. Конструируем узел ведущего вала:
а) наносим осевые линии,
удаленные от середины редуктора на расстояние l1.
Используя эти осевые линии, вычерчиваем в разрезе подшипники качения (можно
вычерчивать одну половину подшипника, а для второй половины нанести габариты);
б) между торцами подшипников и
внутренней поверхностью стенки корпуса вычерчиваем мазеудерживающие кольца. Их
торцы должны выступать внутрь корпуса на 1-2 мм от внутренней стенки. Тогда эти
кольца будут выполнять одновременно роль маслоотбрасываюшнх колец. Для
уменьшения числа ступеней вала кольца устанавливаем на тот же диаметр, что и
подшипники. Фиксация их в осевом направлении осуществляется заплечиками вала и
торцами внутренних колец подшипников;
в) вычерчиваем крышки
подшипников. Войлочные и фетровые уплотнения применяют главным образом в узлах,
заполненных пластичной смазкой. Уплотнения манжетного типа широко используют
как при пластичных, так и при жидких смазочных материалах;
г) переход вала к
присоединительному концу выполняют на расстоянии 10-15 мм от торца крышки
подшипника так, чтобы ступица муфты не задевала за головки болтов крепления
крышки.
Длина присоединительного конца
вала определяется длиной ступицы муфты. Аналогично конструируем узел ведомого
вала. Обратим внимание на
следующие особенности:
а) отложив от середины
редуктора расстояние l2
, проводим осевые линии и вычерчиваем подшипники;
б) вычерчиваем мазеудерживающие
кольца, крышки подшипников с прокладками и болтами;
в) откладываем расстояние l3
и вычерчиваем шестерню зубчатой передачи; Переход от 40 мм к 35 мм смещаем на 2
- 3 мм внутрь подшипника с тем, чтобы гарантировать прижатие кольца к
внутреннему кольцу подшипника (а не к валу!).
На ведущем и ведомом валах
применяем шпонки призматические со скругленными горцами по ГОСТ 23360-78.
Вычерчиваем шпонки, принимая их длины на 5-10 мм меньше длин ступиц.
Непосредственным измерением уточняем расстояния между опорами и расстояния,
определяющие положение зубчатых колес и звездочки относительно опор. При
значительном изменении этих расстояний уточняем реакции опор и вновь проверяем
долговечность подшипников.
. Выбор муфты
Для соединения выходных концов двигaтeля и
быстроходного вала редуктора, установленных, как правило, на общей раме,
применены упругие втулочно-пальцевые муфты и муфты со звездочкой. Эти муфты
обладают достаточными упругими свойствами и малым моментом инерции для
уменьшения пусковых нагрузок на соединяемые валы.
Муфты упругие втулочно-пальцевые. Муфты
получили широкое распространение благодаря простоте конструкции и удобству
замены упругих элементов. Однако они имеют небольшую компенсирующую способность
и при соединении несоосных валов оказывают большое силовое воздействие на валы
и опоры, при этом резиновые втулки быстро выходят из строя.
Основные параметры, габаритные и
присоединительные размеры муфт, допускаемые смещения осей валов определяют по
табл. К21.
Полумуфты изготовляют из чугуна марки СЧ 20
(ГОСТ 1412-85) или стали 30 Л (ГОСТ 977-88); материал пальцев - сталь 45 (ГОСТ
1050-88); материал упругих втулок - резина с пределом прочности или разрыве не
менее 8 Н/мм2.
=6585
0.2=1317 Н/мм
=0.2 согласно таблице К21.
=6585Н/мм согласно таблице 10.27
. Проверка прочности шпоночных
соединений
Шпонки призматические со
скругленными торцами. Размеры сечений шпонок и пазов и длины шпонок - по ГОСТ
23360- 78 (см. табл. 8.9). Материал шпонок - сталь 40Л нормализованная.
Напряжения смятия и условие
прочности по формуле:
Допускаемые напряжения смятия
при стальной ступице [σсм]
= 100-120МПа, при чугунной [σсм]
= 50-80 МПа.
Ведущий в а л: d=
24мм; b*h
= 8*7 мм; t1
=4 мм; длина шпонки l= 22 мм;
момент на ведущем валу
T1
= 67,5*103 Н*мм;
Ведомый вал
Проверяем шпонку под колесом: d =60 мм; b*h = 18* 11
мм; t1 = 7 мм;
длина шпонки l = 63 мм;
момент
T2=404,3*103
Н*мм;
Условие σсм≤[
σсм] выполнено.
Проверяем шпонку под муфтой
Проверяем шпонку под колесом: d
=48 мм; b*h
= 14* 9 мм; t1
= 5,5 мм; длина шпонки l
= 50 мм; момент
T2=404,3*103
Н*мм;
12. Уточненный
расчет валов
Примем, что нормальные
напряжения от изгиба изменяются по симметричному циклу, а касательные от
кручения - по отнулевому (пульсирующему). Уточненный расчет состоит в
определении коэффициентов запаса прочности s
для опасных сечений и сравнении их с требуемыми (допускаемыми) значениями [s].
Прочность соблюдена при s
> [s]. Будем
производить расчет для предположительно опасных сечений каждого из валов.
Ведущий вал: материал вала тот же, что и для шестерни (шестерня выполнена
заодно с валом), т. е. сталь 45, термическая обработка - улучшение. По табл.
3.3 при диаметре заготовки до 90 мм (в нашем случае dа1
= 58 мм) среднее значение σв
= 780 МПа. Предел выносливости при симметричном цикле изгиба:
Предел выносливости при
симметричном цикле касательных напряжений:
Сечение А-А.
Это сечение при передаче вращающего момента от электродвигателя через
поликлиноременную передачу рассчитываем на кручение. Концентрацию напряжений
вызывает наличие шпоночной канавки. Коэффициент запаса прочности:
где амплитуда и среднее
напряжение отнулевого цикла:
При d=24мм;
b=8мм; t1=4мм
по табл. 8.5:
Принимаем кτ=1.68;
ετ=0.8; ψτ=0.1:
ГОСТ 16162-78 указывает на то,
чтобы конструкция редукторов предусматривала возможность восприятия радиальной
консольной нагрузки, приложенной в. середине посадочной части вала. Величина
этой нагрузки для одноступенчатых зубчатых редукторов на быстроходном валу
должна быть2,5√ТБ при
25∙103 Н∙мм<ТБ<250∙103
Н∙мм.
Приняв у ведущего вала длину
посадочной части под шкив, при длине шкива l
= 71 мм, получим изгибающий момент в сечение А-А от консольной нагрузки:
Амплитуда нормальных напряжений
изгиба:
Коэффициент запаса прочности по
нормальным напряжениям:
Результирующий коэффициент
запаса прочности:
условие выполнено.
Сечение Б-Б. Сечение под
зубчатым колесом. В этом сечении действует изгибающий момент и крутящий момент.
Диаметр вала d = 30 мм.
Суммарный изгибающий момент
Т1 = 67.5∙103
Н∙мм - крутящий момент. Коэффициенты кσ = 1,65 и кτ = 2,55;
масштабные факторы εσ=0,87; ετ=0,75.
Коэффициенты ψσ=
0,15, ψτ= 0,1.
Осевой момент сопротивления:
Амплитуда нормальных напряжений:
Полярный момент сопротивления:
Амплитуда и среднее значение
цикла касательных напряжений:
Коэффициент запаса прочности по
нормальным напряжениям:
Коэффициент запаса прочности по
касательным напряжениям:
Результирующий коэффициент
запаса прочности для сечения К-К:
,
условие выполнено.
Ведомый вал:
Материал вала - сталь 45 улучшена; σв = 570 МПа
(см. табл. 3.3).
Пределы выносливости
σ-1= 0,43*570
=246 МПа,
τ-1 =0,58* σ-1= 142 МПа.
Сечение А-А. Диаметр
вала в этом сечении 60 мм.
Концентрации напряжений обусловлена
наличием шпоночной канавки (см, табл. 8.5): к𝜎= 1,58 и к𝜏 = 1,48;
масштабные факторы εσ=0,79; ετ=0,68 (см.
табл. 8.8); коэффициенты ψσ=
0,15, ψτ= 0,1.
Крутящий момент Т2 =
404.3∙103 Н∙мм.
Суммарный изгибающий момент:
Момент сопротивления кручению (d=60мм;
b=18мм; t1=7
мм):
Момент сопротивления изгибу (см.
табл. 8,5):
Амплитуда и среднее напряжение цикла
касательных напряжений:
Амплитуда нормальных напряжений
изгиба:
Коэффициент запаса прочности по
нормальным напряжениям:
Коэффициент запаса прочности по
касательным напряжениям:
Результирующий коэффициент
запаса прочности для сечения А-А:
Сечение К-К.
Концентрация напряжений обусловлена посадкой подшипника с гарантированным
натягом (см. табл. 8.7);
kσ/εσ==3.3; kτ/ετ=0.6*3.3+0.4=2.38;
ψσ=0.15; ψτ=0.1.
Изгибающий момент:
Осевой момент сопротивления:
Амплитуда нормальных напряжений:
Полярный момент сопротивления:
Амплитуда и среднее значение
цикла касательных напряжений:
Коэффициент запаса прочности по
нормальным напряжениям:
Коэффициент запаса прочности по
касательным напряжениям:
Результирующий коэффициент
запаса прочности для сечения К-К:
,
. Вычерчивание редуктора
Редуктор вычерчивают в двух
проекциях (рис. 12.11) на листе формата А1 (594 х 841 мм) в масштабе 1:1с
основной надписью и спецификацией (см. с 319-321).
. Посадки зубчатого колеса и
подшипников
Посадки назначаем в соответствии с
указаниями, данными в табл. 10.13.
Посадка зубчатого колеса на вал Н7/p6 по ГОСТ
25347 -82.
Шейки валов под подшипники выполняем
с отклонением вала к6. Отклонения отверстий в корпусе под наружные кольца по
Н7.
. Выбор сорта масла
Смазывание зубчатого зацепления
производится окунанием
зубчатого колеса в масло, заливаемое
внутрь корпуса до уровня
обеспечивающего погружение колеса
примерно на 10 мм. Объем масляной ванны V определяем
из расчета 0,25дм3 масла на 1 кВт передаваемой мощности:
V=
0.25*2.99=0.74дм3.
По табл. 10.8 устанавливаем вязкость
масла. При контактных напряжениях σН= 438,3 МПа
и скорости и v=0,91 м/с
рекомендуемая вязкость масла должна быть примерно равна 30*10-6 м2/с.
По табл. 10.10 принимаем масло индустриальное И-30А (по ГОСТ 20799-75*).
16. Сборка редуктора
Перед сборкой внутреннюю полость
корпуса редуктора тщательно очищают и покрывают маслостойкой краской.
Сборку производят в соответствии со
сборочным чертежом редуктора, начиная с узлов валов; на ведущий вал насаживают
мазеудерживающие кольца и шарикоподшипники, предварительно нагретые в масле до
80-100
С; в ведомый
вал закладывают шпонку 16x10x45;
устанавливают шарикоподшипники, предварительно нагретые в масле.
Собранные валы укладывают в
основание корпуса редуктора и надевают крышку корпуса, покрывая предварительно
поверхности стыка крышки и корпуса спиртовым лаком. Для центровки устанавливают
крышку на корпус с помощью двух конических штифтов.
После этого на ведомый вал надевают
распорное кольцо, в подшипниковые камеры закладывают пластичную смазку, ставят
крышки подшипников с комплектом металлических прокладок для регулировки.
Перед постановкой сквозных крышек в
проточки закладывают войлочные уплотнения, пропитанные горячим маслом.
Заливают в корпус масло и закрывают
смотровое отверстие крышкой с прокладкой из технического картона; закрепляют
крышку винтами.
Собранный редуктор обкатывают и
подвергают испытанию на стенде по программе, устанавливаемой техническими
условиями.
Заключение
При выполнении курсового проекта по “Деталям
машин” были закреплены знания, полученные за прошедший период обучения в таких
дисциплинах как: теоретическая механика, сопротивление материалов,
материаловедение.
Целью данного проекта является проектирование
привода цепного конвейера, который состоит как из простых стандартных деталей,
так и из деталей, форма и размеры которых определяются на основе
конструкторских, технологических, экономических и других нормативов.
В ходе решения поставленной передо мной задачей,
была освоена методика выбора элементов привода, получены навыки проектирования,
позволяющие обеспечить необходимый технический уровень, надежность и долгий
срок службы механизма.
Опыт и навыки, полученные в ходе выполнения
курсового проекта, будут востребованы при выполнении, как курсовых проектов,
так и дипломного проекта.
Можно отметить, что спроектированный редуктор
обладает хорошими свойствами по всем показателям.
По результатам расчета на контактную
выносливость действующие напряжения в зацеплении меньше допускаемых напряжений.
По результатам расчета по напряжениям изгиба
действующие напряжения изгиба меньше допускаемых напряжений.
Расчет вала показал, что запас прочности больше
допускаемого.
Необходимая динамическая грузоподъемность
подшипников качения меньше паспортной.
При расчете был выбран электродвигатель, который
удовлетворяет заданные требования.
Список
использованной литературы
1.
Шейнблит А.Е. Курсовое проектирование деталей машин: Учебное пособие, изд. 2-е
перераб. и доп. - Калининград: Янтарный сказ, 2004 г., 454 c.: ил., черт. -
Б.ц.
.
Дунаев П.Ф., Леликов О.П. Конструирование узлов и деталей машин, М.:
Издательский центр Академия, 2003 г., 496 c.
.
Чернавский С.А., Боков К.Н., Чернин И.М., Ицкевич Г.М., Козинцов В.П. Курсовое
проектирование деталей машин: Учебное пособие для учащихся. М.: Машиностроение,
1988 г., 416с.
.
Березовский Ю.Н., Чернилевский Д.В., Петров М.С. Детали машин, М.:
Машиностроение, 1983г., 384 c.
.
Боков В.Н., Чернилевский Д.В., Будько П.П. Детали машин: Атлас конструкций. М.:
Машиностроение, 1983 г., 575 c.
.
Гузенков П.Г., Детали машин. 4-е изд. М.: Высшая школа, 1986 г., 360 с.
.
Детали машин: Атлас конструкций / Под ред. Д.Р. Решетова. М.: Машиностроение,
1979 г., 367 с.
.
Дружинин Н.С., Цылбов П.П. Выполнение чертежей по ЕСКД. М.: Изд-во стандартов,
1975 г., 542 с.
.
Кузьмин А.В., Чернин И.М., Козинцов Б.П. Расчеты деталей машин, 3-е изд. -
Минск: Высшая школа, 1986 г., 402 c.
.
Куклин Н.Г., Куклина Г.С., Детали машин 3-е изд. М.: Высшая школа, 1984 г., 310
c.
.
Мотор-редукторы и редукторы: Каталог. М.: Изд-во стандартов, 1978 г., 311 c.
.
Перель Л.Я. Подшипники качения. M.: Машиностроение, 1983 г., 588 c.
.
Подшипники качения: Справочник-каталог / Под ред. Р.В. Коросташевского и В.Н.
Нарышкина. М.: Машиностроение, 1984 г., 280 с.