Автоматизация хлебопекарного производства

  • Вид работы:
    Дипломная (ВКР)
  • Предмет:
    Другое
  • Язык:
    Русский
    ,
    Формат файла:
    MS Word
    3,01 Мб
  • Опубликовано:
    2014-02-06
Вы можете узнать стоимость помощи в написании студенческой работы.
Помощь в написании работы, которую точно примут!

Автоматизация хлебопекарного производства

Содержание

Введение

1.       Специальная часть

.1       Описание технологического процесса изготовления хлебобулочных изделий

.2       Конструкция хлебопекарной печи туннельного типа

.3       Разработка функциональной схемы автоматизированной системы регулирования температуры хлебопекарной печи

1.3.1      Разработка общей структуры системы автоматического регулирования температуры в пекарной камере печи и выбор типа регулятора

1.3.2  Описание регулирования температуры подвухпозиционному закону

.3.3    Построение динамических характеристик системы автоматического регулирования температуры в пекарной камере печи

.3.4    Разработка общей структуры системы автоматического регулирования разрежения в топке печи

.3.5    Модель объекта управления САР разрежения в топке печи

.3.6    Построение динамических характеристик системы

автоматического регулирования разрежения в топке печи

1    .4 Выбор элементов систем автоматического регулирования

1.4.1 Выбор элементов системы автоматического регулирования

разрежения в топке печи

1.4.1.1 Выбор регулирующего прибора

.4.1.2 Выбор первичных преобразователей разрежения в топке печи

.4.1.3 Выбор исполнительного механизма

1.4.2 Выбор элементов системы автоматического регулирования температуры в пекарной камере печи

1.4.2.1 Выбор регулирующего прибора

.4.2.2 Выбор первичных преобразователей системы регулирования температуры в пекарной камера печи

.4.2.3 Выбор исполнительных устройств

.5       Система автоматики безопасности печи

.6       Интерфейсная привязка системы к объекту

.7       Разработка алгоритма работы системы

. Безопасность и экологичность проекта

2.1   Анализ потенциально опасных и вредных производственных факторов при эксплуатации проектируемой системы

.2     Анализ принятых в дипломном проекте инженерно-технических решений, обеспечивающих безопасность при эксплуатации проектируемой системы

.3     Анализ возможных ЧС и мероприятия по их предотвращению

2.4     Электробезопасность при эксплуатации проектируемой системы

.5       Охрана окружающей среды

3. Экономическая часть

Заключение

Список использованных источников

Введение

Автоматизация производства - одно из главных направлений технического прогресса. В связи с развитием автоматики появилась возможность освободить человека от непосредственного участия в производственном процессе. При автоматизации машины уже не только заменяют физический труд человека, но и выполняют функции управления производством. При этом процессы получения, преобразования, передачи и использования энергии, материалов и информации производятся автоматически. В автоматизированном производстве обслуживающий персонал занимается наладкой механизмов и систем управления.

Автоматизация производства подготовлена всем предыдущим развитием науки, техники, технологии и является закономерным продолжением механизации производственных процессов. В то же время автоматизация - это качественно новый этап развития производства. В результате автоматизации увеличивается производительность оборудования, снижается себестоимость, сокращается брак и повышается безопасность работы, улучшается санитарное состояние цехов и т.д.

Интенсивной особенностью автоматизации является её влияние на технологию и оборудование производства. В настоящее время все вопросы создания новой техники решаются комплексно. Технологические процессы и оборудование проектируется с расчетом на максимальную автоматизацию, что позволяет повышать экономичность и моторесурс оборудования.

Технический прогресс в народном хозяйстве тесно связан с автоматизацией.

Автоматическое управление широко применяется и в хлебопекарном производстве. Современные хлебопекарные печи - это полностью автоматизированные объекты, где все операции выполняются без участия человека, а оператор лишь задает в начале выпечки необходимые параметры и следит за исправностью аппаратуры. Автоматические системы управления хлебопекарными печами осуществляют непрерывный контроль и точное регулирование параметров печи, таких как температура в пекарной камере, тяга в топке, а также скорость движения ленточного конвейера сквозь печь, что обеспечивает высокое качество выпускаемой продукции. Немаловажную роль играет также высокая безопасность эксплуатации печи, особенно это касается печей работающих на газе, ведь в большинстве несчастных случаев на производстве главную роль играет человеческий фактор.

1. Специальная часть

.1 Описание технологического процесса выпечки хлебобулочных изделий

Технологическая схема производства хлеба и хлебобулочных изделий включает в себя следующие этапы: хранение и подготовка сырья к производству, приготовление и разделка теста, выпечка и хранение хлеба. На рисунке 1.1 приведена схема производства хлеба на современном хлебозаводе. /1/

Муку доставляют на хлебозавод автомуковозами 1, а дополнительное сырье - автомашинами 2. По трубопроводу 3 мука поступает в силосы для хранения 4. Для очистки транспортирующего воздуха от мучной пыли установлены фильтры 5, 10, 14. Затем роторными питателями 6 мука из силосов направляется в промежуточную емкость 7, которая находится над просеивателем 8, и далее синековым питателем 9 в промежуточную емкость 11. После взвешивания на автовесах 12 мука ссыпается в бункер 13, а затем по мукопроводу поступает в производственный бункер 15. Вода подготавливается в водомерных бачках 16, а дополнительное сырье в виде растворов - в сборниках 17, 18, 19, 20. Для теста в тестомесительную машину 26 бункерного тестоприготовительного агрегата 29 дозатором 25 отмеривается мука, а из бачков постоянного уровня 21, 22, 23, 24 дозатором 27 подаются растворы дополнительного сырья. Выброженное тесто питателем 28 направляется в тестоделитель 30, откуда в виде отдельных кусков, определенной массы транспортерами 31, 33 - в округлитель 32, а затем в закаточную машину 34. Укладчиком-манипулятором 35 тестовые заготовки перекладываются в формы на люльки расстойного шкафа 36. Расстоявшиеся заготовки транспортером 37 подаются на под туннельной печи 38. Выпеченный хлеб сборным транспортером 39 направляется на распределительный транспортер 40 или тележку 48. С помощью устройств для ориентирования 41 хлеб поступает на хлебоукладочный агрегат 42, откуда на полки контейнеров 43.

  

Рисунок 1.1- Схема производства хлеба на современном производстве

Для подсортировки заказов торговой сети служит комплектующая тележка 45. Загруженные контейнеры собираются в накопителях 44, откуда они перемещайся загрузочным конвейером 46 к автохлебовозам, которые с помощью стыковочного механизма 47 крепятся к местам погрузки на рампе экспедиции.

Для каждого сорта хлеба существуют унифицированные рецептуры, в которых указывают сорт муки и расход каждого вида сырья (в кг на 100 кг муки). На их основании лаборатория хлебозавода составляет производственные рецептуры, в которых указывает дозировку муки, дополнительного сырья, растворов, полуфабрикатов на замес одной порции опары (закваски) и теста, в зависимости от мощности завода, его оборудования, принятого способа тестоведения, а также технологический режим приготовления изделий (температура, влажность, кислотность полуфабрикатов, продолжительность брожения, обминок, условия расстойки и выпечки).

Одним из основных мероприятий по выпечке хлеба является его расстойка. Она осуществляется непосредственно перед выпечкой хлебобулочных изделий. Расстойка бывает предварительная и окончательная. Предварительная расстойка - выдержка округленных заготовок из пшеничного теста в состоянии покоя в течении 5-8 мин. Этого времени достаточно, чтобы в куске теста рассосались внутренние напряжения, возникшие в результате механического воздействия на тесто при делении и округлении (явление релаксации).

При расстойке куски теста увеличиваются в объеме, улучшаются физические свойства и структура теста. Предварительная расстойка осуществляется обычно на ленточных транспортерах, проложенных вдоль шкафов окончательной расстойки на уровне 2,5-3м от пола цеха.

Формирование изделий осуществляется на формирующих закаточных машинах сразу после предварительной расстойки. Изделиям придается форма, свойственная данному сорту хлеба: цилиндр с тупыми округлениями по концам для батонов и с заостренными концами для городский булок, жгутики для плетения хал и т.п. Для придания тестовой заготовке цилиндрической формы используются валковоленточные закаточные машины.

Окончательная расстойка необходима в связи с тем, что при формировании из тестовых заготовок почти полностью вытесняется углекислый газ, нарушается пористая структура теста. Для получения хлеба с хорошей пористостью и большим объемным выходом необходимо, чтобы тестовые заготовки «подошли», т.е. увеличились в объеме и приобрели равномерную пористую структуру. Для этого тастовые заготовки и подвергаются перед выпечкой окончательной расстойке. Для изделий из пшеничной муки это вторая расстойка после предварительной.

В отличие от предварительной расстройки, которая проводится при температуре и относительной влажности воздуха, поддерживаемой в цехе, окончательная расстройка осуществляется в специальных расстройных шкафах при температуре 35°-40° и относительной влажности воздуха 75-85%. Весьма важно, чтобы изделия при расстройке не обдувались воздухом во избежание заветривания кусков образования уплотненной корки. Появление корочки желательно, так как она будет сдерживать увеличение объема изделий при расстройке и в начальный период выпечки и вызывает образование на поверхности готовых изделий подрывов и трещин. Окончание расстойки обычно устанавливают по внешнему виду и объему кусков. На автоматизированных линиях регулируется длительность этого процесса. Длительность расстойки колеблется в широком диапазоне от 25 до 120мин в зависимости главным образом от массы кусков и рецептуры теста. Чем меньше масса куска, тем длительнее расстойка. Сдобное тесто расстаивается более длительное время. Чем не сдобное. Повышение температуры (не более 45 °С) и относительной влажности воздуха (не более 90%) сокращает длительность расстойки на 20-30%. Нежелательны недостаточная и избыточная расстойка.

Заключительным звеном приготовления хлеба является выпечка. Изменения характеризующие переход тестовой заготовки в процессе выпечки в хлеб, являются результатом целого комплекса процессов: физических, микробиологических, коллоидных и биохимических. Однако в основе всех процессов лежат физические явления - прогревание теста и вызываемый им внешний влагообмен между тестом - хлебом и паровоздушной средой пекарной камеры и внутренний тепломассообмен в тесте - хлебе.

Физические процессы. В начале выпечки тесто поглощает влагу в результате конденсации паров воды из пекарной камеры; в этот период масса куска теста - хлеба несколько увеличивается. После прекращения конденсации начинается испарение влаги с поверхности. Часть влаги при образовании корки испаряется в окружающую среду, а часть (около 50%) переходит в мякиш. Вследствие этого содержание влаги в мякише горячего хлеба на 1,5 … 2,5% выше содержание влаги в тесте.

Микробиологические и биохимические процессы. В первые минуты выпечки спиртовое брожение внутри теста ускоряется при 35 С(достигает максимума). В дальнейшем брожение затухает и при 50 °С прекращается, так как дрожжевые клетки отмирают, а при 60 °С(приостанавливается жизнедеятельность кислотообразующих бактерий). В результате остаточной деятельности микрофлоры во время выпечки в тесте - хлебе увеличивается содержание спирта, диоксида углерода и кислот, что повышает объем хлеба и улучшает его вкус. Биохимические процессы связаны с изменением состояния крахмала и белков и при температуре 70 … 80 °С они прекращаются. Крахмал при выпечке клейстеризуется и энергично разлагается. Белки при выпечке так же расщепляются с образованием промежуточных продуктов. Глубина и интенсивность расщепления крахмала и белков влияют на характер протекания химических процессов, определяющих цвет корки пшеничного хлеба, его вкус и аромат.

Коллоидные процессы. Белки и крахмал при выпечке претерпевают существенные изменения. При 50.. 70 °С одновременно протекают процессы денатурации(свертывания) белков и клейстеризации крахмала. Белки при этом выделяют воду, поглощенную при замесе теста, уплотняются, теряют эластичность и растяжимость. Прочный каркас свернувшихся белков закрепляет форму хлеба. Влага, выделенная белками, поглощается крахмалом. Однако, этой влаги недостаточно для полной клейстеризации крахмала процесс протекает сравнительно медленно и заканчивается прогреве мякиша до 95...97 °С. Клейстеризуясь, крахмальные зерна прочно связывают влагу, поэтому мякиш хлеба кажется более сухим, чем тесто.

Режимы выпечки определяются степенью увлажнения среды пекарной камеры, температурой в различных ее зонах и продолжительностью процесса. Режим выпечки зависит от сорта хлеба, вида и массы изделия, качества теста, свойств муки, а так же конструкции печи. Решающим фактором является масса тестовой заготовки. Продолжительность выпечки колеблется от 8 до 12 минут для мелкоштучных изделий.

Для большинства пшеничных изделий режим выпечки включает три периода. В первый период выпечка протекает при высокой относительной влажности (до 80%) и сравнительно низкой температуре паровоздушной среды пекарной камеры и длится 2..3 мин. Второй период идет при высокой температуре и несколько пониженной относительной влажности газовой среды. При этом образуется корка, закрепляются объем и форма изделий. Третий период - это завершающий этап выпечки. Он характеризуется менее интенсивным подводом теплоты(180 °С), что приводит к снижению к снижению упека.

Упек хлеба это потери массы теста (%) при выпечке, которые выражаются разностью между массами теста и горячего хлеба, отнесенной к массе теста. Около 95% этих потерь приходится на влагу, а остальная часть - на спирт, диоксид углерода, летучие кислоты и др. Упек составляет 6...14% и зависит от формы хлеба: у формового хлеба он меньше, чем у подового. Для снижения упека увеличивают массу хлеба, а на завершенном этапе выпечки повышают относительную влажность воздуха снижают температуру в пекарной камере.

После выпечки хлеб направляют в хлебохранилище для охлаждения, а затем в экспедицию для отправки в торговую сеть.

В хлебохранилище хлеб из печки подается ленточными транспортерами на циркуляционные столы, с которых его перекладывают на вагонетки-стеллажи. На вагонетках хлеб хранится до правки в торговую сеть.

.2 Конструкция хлебопекарной печи туннельного типа

Выпечку хлеба производят в печах различной конструкции. Бывают печи сквозные (посадка тестовых заготовок осуществляется с одной стороны, а выгрузка с противоположенной) и тупиковые (посадка и выгрузка с одной стороны). Многие печи оборудованы автоматическими посадчиками тестовых заготовок и механизмами для выгрузки хлеба.

Печи являются основным технологическим оборудованием хлебопекарного производства, назначение которого - обеспечить выработку высококачественной продукции при соблюдении всех технико-экономических показателей работы (расход пара, топлива, электроэнергии, упек и др.). Вкус, аромат и внешний вид хлеба и булочных изделий в значительной степени зависят от конструктивных достоинств печного агрегата, работы отдельных узлов и правильной эксплуатации печи.

Конвейерные хлебопекарные печи позволяют механизировать и автоматизировать процесс выпечки и использовать на хлебозаводах механизированные поточные линии.

Конвейерные хлебопекарные печи по конструкции пекарной камеры могут быть тупиковыми и туннельными. Тупиковые печи труднее установить в автоматические поточные линии в связи с тем, что в тупиковых печах загрузка тестовых заготовок и выгрузка готовой продукции производится через одно посадочно-выгрузочное отверстие.

Более перспективными являются туннельные конвейерные печи, которые особенно легко автоматизировать и устанавливать в поточные линии.

Туннельные хлебопекарные печи в последнее время получили все большее распространение. Обогрев печей туннельного типа осуществляют с помощью газообразного или жидкого топлива, а кроме того, электрических нагревательных элементов.

Печь устанавливается между агрегатом для окончательной расстойки тестовых заготовок и оборудованием для транспортирования готовых изделий к циркуляционным столам или агрегатам укладки изделий в лотки или расфасовки.

Печь может быть использована в механизированных линиях для производства хлеба и хлебобулочных изделий с автоматической посадкой или как самостоятельный агрегат.

Рассмотрим конструкцию тоннельной хлебопекарной печи с газовым обогревом пекарной камеры на примере печи ПХС-25 установленной на хлебозаводе №3.

Рисунок 1.2 - Печь хлебопекарная ПХС - 25

Где: 1 - вентилятор рециркуляции; 2 - пекарная камера; 3 - топочное устройство; 5 - предохранительный (взрывной) клапан; 6 - дымовая труба;  7 - горелка.

На рисунке 1.2 показана печь ПХС-25, которая представляет собой металлическую конструкцию, состоящую из пекарной камеры, конвейерного пода с приводным и натяжными механизмами, топочного устройства, системы греющих и распределительных каналов и дымососа (вентилятора рециркуляции).

Пекарная камера представляет собой прямоугольной формы горизонтальный туннель. Верхняя и нижняя стенки пекарной камеры являются одновременно теплоотдающими стенками газовых каналов верхнего и нижнего обогрева камеры (все стенки камеры сделаны из металлических листов небольшой толщины). По нижнему металлическому листу (основанию пекарной камеры) перемещается рабочая ветвь конвейерной металлической сетки, на которой расположены тестовые заготовки.

Холостая (нижняя) ветвь сетки движется в обратном направлении в сторону загрузочного отверстия. Сетка состоит из отдельных спиралей прямоугольной формы, навитых из металлической ленты шириной 2 и толщиной 1мм, соединенных между собой металлическими прутками диаметром 2мм. Ширина сетчатого пода составляет 2,1 м.

Приводная станция печи расположена со стороны выгрузки. Станция состоит из трехскоростного электродвигателя, частота вращения которого может составлять 750, 1500 и 3000 об/мин, соединенного клиноременной передачей с редуктором-вариантом; от последнего вращения передается приводному барабану. При частоте вращения двигателя 3000об/мин с помощью вариатора скорости можно регулировать продолжительность выпечки в пределах от 5 до 17мин, при частоте вращения 1500об/мин - в пределах от 17 до 35мин, а при частоте вращения 750об/мин в пределах от 35 до 105мин.

Со стороны загрузки печи расположена станция натяжения сетки конвейера, которая состоит из натяжного барабана и винтового устройства для его перемещения. Со стороны выгрузки расположено также грузовое натяжное устройство.

Для увлажнения поверхности тестовых заготовок в начальном участке пекарной камеры имеется пароувлажнительное устройство, состоящее из металлического колпака, под которым помещены четыре трубы с отверстиями. Излишек пара удаляется из пекарной камеры, к которым примыкают патрубки с заслонками, и систему вентиляционных трубопроводов, присоединенных к вытяжному вентилятору. Последний устанавливают над печью.

Техническая характеристика печи:

площадь пода - 26,2м²;

- ширина сетчатого пода - 2100мм;

ассортимент выпекаемых изделий;

хлеб подовый и формовой;

батоны;

мелкоштучные хлебобулочные изделия;

бараночные изделия;

пряники;

габаритные размеры;

длинна - 14570мм;

ширина - 3500мм;

высота - 2615мм;

масса печи с теплоизоляцией - 21920 кг

Для обогрева пекарной камеры используют металлические каналы небольшой высоты(50мм), расположенные сверху и снизу камеры по всей её ширине и длине. Греющие газы подводятся в каналы и отводятся из них в нескольких местах по длине пекарной камеры с помощью металлических труб диаметром 200 мм.

Все газоходы печи выполнены герметичными и находится под разряжением, создаваемым рециркуляционными вентиляторами.

Технические данные приводных двигателей рециркуляционных вентиляторов:

тип АО2-51-6

частота вращения, об/мин 970

мощность, кВт 5,5

номинальное напряжение, В 380/220

 

Рисунок 1.3 - Тепловая схема печи ПХС - 25

Где: 1 - шиберы регулирования разряжения, установленные в вытяжных трубах; 2 - топки первого и второго газового трактов; 3 - вентиляторы рециркуляции, обеспечивающие движение газов по газовым каналам; 4- каналы обогрева пекарной камеры.

Тепловая схема печи ПХС (рисунок 1.3) состоит из двух независимых друг от друга газовых трактов: «зона 1» и «зона 2». Газовый тракт «зона 1» обслуживает входной участок пекарной камеры, а «зона 2» средний и выходной участки. Термоэлектрические преобразователи установлены во входном и среднем участках пекарной камеры, следовательно, температура регулируется только в этих двух участках. Выходной участок пекарной камеры является нерегулируемым. Стрелками на рисунке показаны направления циркуляции греющих газов в газоходах.

В хлебопекарных печах ПХС применена система рециркуляционного обогрева, работающая следующим образом.

Охлажденные до температуры 200-300 °С дымовые газы из каналов поступают во всасывающий патрубок вентилятора. На выходе из нагнетательного патрубка вентилятора поток газов разделяется. Часть газов удаляется в дымовую трубу, другая часть по газоходу возвращается (рециркулирует) на обогрев печи. Эти газы подаются вентилятором в топочные устройства - муфеля (рисунок) температура в которых достигает 1500 °С. Охлажденные газы подогреваются в муфелях, смешиваются в них с горячими газами и снова направляются в каналы для обогрева пекарной камеры.

Из камеры смешения по вертикальному газоходу газы подводятся в верхние и нижние транспортирующие каналы, из которых затем попадают в каналы обогрева пекарной камеры. Из каналов обогрева охлажденные газы отводятся коробом, присоединенным к всасывающему патрубку вентилятора рациркуляции. Цикл замыкается. Второй контур обогрева обслуживает средний и входной участок пекарной камеры. Газы из камеры смешения второго контура, так же как и в первом контуре, поступают в транспортирующие каналы, подводящие газы в каналы обогрева. Охлажденные продукты сгорания отводятся по транспортирующему каналу, который соединен патрубком, подводящим газы к вентилятору рециркуляции. В топке печей ПХС можно сжигать газообразное и жидкое, например дизельное или моторное топливо. Процесс сжигания автоматизирован.

Система обогрева печи ПХС-25 оборудована предохранительными клапанами. Во избежание возможного взрыва несгоревших газов, которые могут оставаться в газоходах печи после выключения горелки, перед очередным розжигом горелок необходимо с помощью вентилятора рециркуляции произвести продувку газового тракта свежим воздухом. При продувке воздух в газовый тракт (в обоих контурах обогрева) засасывается вентиляторами рециркуляции через специальные патрубки для продувки. Пройдя по газоходам, транспортирующим и рабочим каналам, воздух удаляется в дымовые трубы.

Обшивка печи выполнена из металлических листов. Между обшивкой и горячими элементами печи (пекарной камерой, греющими каналами и др.) проложен слой стекло и шлаковаты.

Таким образом, печи марки ПХС, как и вообще печи с рециркуляцией продуктов сгорания, имеют следующие основные преимущества: печь полностью изготовлена из металла; при этом пекарную камеру изолируют слоем небольшой толщины (от 300 до 400мм); разогрев печи длится около 2-3ч.

Применение рециркуляционного обогрева в сочетании с туннельной конструкцией пекарной камеры позволяет организовать температурный режим, который сравнительно легко регулировать по длине камеры. Для обогрева печи применяются инжекторные четырехсопельные горелки среднего давления типа

Г - 1,0 с техническими данными:

- номинальная тепловая мощность, МВт 0.93

- давление газа перед горелкой, ПА 700 - 1000

давление воздуха перед горелкой, ПА 600 - 1000

номинальный коэффициент избытка воздуха при номинальной тепловой мощности 1,05

топливо природный газ

коэффициент рабочего регулирования горелки, не менее 3

-масса горелки, кг 24

Данный тип горелок относится к горелкам с предварительным смещением. Эти горелки обеспечивают образование газовоздушной смеси, которая сгорает при выходе из горелки в коротком высокотемпературном факеле. Основным преимуществом инжекционных горелок является то, что в них газ высокого давления подсасывает воздух, причем соотношение газ-воздух сохраняется при изменении давления газа, т.е. при изменении количества газа проходящего через горелку. Таким образом, отсутствует необходимость в системе регулирования подачи воздуха.

Основными факторами, характеризующими нормальную работу печи являются разряжение в топках и температура газов «от топок». Разряжение в топках регулируется с помощью шиберов установленных в вытяжных трубах. На всем протяжении работы печи разложение должно оставаться неизменным в пределах 6-8мм. вод. ст. Невозможность установить данное разряжение говорит о не плотностях в системе обогрева либо о большом сопротивлении в дымовой трубе или отводах. Температура газов «от топок» измеряется за муфелем топки (рис. 1.2, разрез А-А, показано жирной точкой) и не должна превышать 550 °С.Превышение данной температуры говорит о не плотностях в системе обогрева.

Строго запрещается эксплуатация печи при отклонении любого из показателей, характеризующих ее нормальную работу.

1.3 Разработка функциональной схемы автоматизированной системы регулирования температуры хлебопекарной печи

Так как пекарная камера печи ПХС содержит в себе две зоны выпечки с контролируемой температурой, в которых должна поддерживаться различная температура, то автоматика печи должна включать в себя две абсолютно одинаковые по своему составу системы регулирования температуры: одна для первой зоны, другая для второй.

Также для поддержания устойчивого горения факелов горелок необходимо регулировать разрежения в топках. В данный момент регулирование разряжения в топках печи производится вручную путем изменения положения шиберов установленных в дымоотводящих трубах. Поэтому одной из основных задач является задача автоматизации регулирования разряжения в топках печи.

Таким образом, автоматизированная система регулирования температуры хлебопекарной печи включает в себя две системы: автоматическую систему регулирования температуры в пекарных камерах и автоматическую систему регулирования разряжения в топках печи.

Также система управления хлебопекарной печью должна осуществлять автоматический (по команде) розжиг обеих горелок и контроль безопасности работы всей печи, при нарушении одного из критериев безопасности производить отсечку газа с последующим отключением всего оборудования.

.3.1 Разработка общей структуры системы автоматического регулирования температуры в пекарной камере и выбор типа регулирования

Поддержание заданной температуры в зонах пекарной камеры осуществляется за счет изменения количества газа, подаваемого на горелку. Путем изменения сечения газопровода к горелке.

Процесс управления температурным режимом в печи может осуществляться как непрерывным, так и дискретным способами. Непрерывные методы обеспечивают большую точность регулирования температуры. Однако, для большинства печей, благодаря инерционности самой печи и ее загрузки, изменение температур в ней протекают сравнительно медленно, поэтому соответствие прихода тепловой энергии и ее потребления не является обязательным для каждого момента времени, достаточно, если такое соответствие будет иметь место для средних значений мощностей в определенных интервалах времени, длительностью (в зависимости от требования процесса) от нескольких минут до нескольких секунд. Это значительно упрощает систему регулирования температуры и позволяет в ряде случаев отказаться от непрерывного регулирования ограничившись простым позиционным.

Задача выбора закона управления и типа регулятора состоит в следующем - необходимо выбрать такой тип регулятора, который при минимальной стоимости и максимальной надежности обеспечивал бы данное качество регулирования. Могут быть выбраны релейные, непрерывные или дискретные (цифровые) типы регуляторов.

Для того, чтобы выбрать тип регулятора и определить его настройки необходимо знать:

.        Статические и динамические характеристики объекта регулирования.

.        Требования к качеству процесса регулирования.

.        Показатели качества регулирования для непрерывных регуляторов.

.        Характер возмущений, действующих на процесс регулирования.

Выбор типа регулятора обычно начинается с простейших двухпозиционных регуляторов и может заканчиваться самонастраивающимися микропроцессорными регуляторами. Заметим, что по требованиям технологического регламента многие объекты не допускают применения релейного управляющего воздействия.

Исходными данными к расчету регулятора являются статические и динамические параметры объекта, то есть коэффициент объекта Коб, чистое запаздывание τоб И постоянная времени Тоб.

Наиболее сложным является определение характеристик печи. Печь представляет собой сложную, многозвенную структуру, звенья которой связанны между собой законами тепло обмена.

В связи с тем, что расчет динамических параметров печи трудоемок и неточен, применяют экспериментальные методы их определения, если речь идет об установленной или монтируемой печи, поскольку зависимость между входной и выходной величиной (переходная характеристика или кривая разгона) легче получить именно таким способом.

При определении динамических характеристик объекта по его переходной характеристике(кривой разгона) на вход подается или ступенчатый пробный сигнал или прямоугольный импульс. Во втором случае преходная характеристика(кривая отклика) должна быть достроена до соответствующей кривой разгона.

Процесс получения передаточной функции объекта, исходя из данных о переходном процессе, называется идентификацией объекта.

При снятии переходной характеристики необходимо выполнить ряд условий, представленных в таблице:

Таблица 1.1 - Условия снятия переходной характеристики

№ условия

Условия

 

1

 Если проектируется система стабилизации технологического параметра, то переходная характеристика должна сниматься в окрестности рабочей точки процесса.

 

2

 Переходные характеристики необходимо снимать как при положительных, так и при отрицательных скачках управляющего сигнала. По виду кривых можно судить о степени асимметрии объекта. При небольшой асимметрии расчет настроек регулятора рекомендуется вести по усредненным значениям параметров передаточных функций. Линейная асимметрия наиболее часто проявляется в тепловых объектах управления.

3

 При наличии зашумленного выхода желательно снимать несколько переходных характеристик(кривых разгона) с их последующим наложением друг на друга и получением усредненной кривой.

4

 При снятии переходной характеристики необходимо выбрать наиболее стабильные режимы процесса, например, ночные смены, когда действие внешних случайных возмущений маловероятно.


Начальные условия снятия переходной характеристики: в начальный момент необходимо, чтобы система управления находилась в покое, т.е. регулируемая величина Х (например, температура в печи) и управляющее воздействие регулятора Y (выход регулятора на исполнительный механизм) не изменялись, а внешние возмущения отсутствовали. Например, температура в печи оставалась постоянной и исполнительный механизм не изменяет своего положения. Затем на вход исполнительного механизма подается ступенчатое воздействие, например, включается нагрев. В результате состояние объекта начинает изменяться.

Печь является объектом с самовыравниванием. Самовыравниванием процесса регулирования называется свойство регулируемого объекта после нарушения равновесия между притоком и расходом вернуться к этому состоянию самостоятельно, без участия человека или регулятора. Самовыравнивание способствует более быстрой стабилизации регулируемой величины и следовательно, облегчает работу регулятора. При повышении температуры печи увеличиваются ее тепловые потери, поэтому график нагрева носит экспоненциальный характер, в конечном счете, в печи само собой устанавливается положение равновесия.

Процесс изменения параметра X(t) и его переходная характеристика h(t) изображена на рисунке 1.4

Сняв кривую разгона, и оценив характер объекта управления можно определить параметры соответствующей передаточной функции.

Перед началом обработки переходную характеристику(кривую разгона) рекомендуется пронумеровать (диапозон изменения нормированной кривой от 0 до 1) и выделить из ее начального участка величину чистого временного запаздывания τd1.

Рисунок 1.4 - Переходная характеристика (кривая разгона) объекта с самовыравниванием.

Определение динамических характеристик объектов по кривой разгона производится методом касательной к точке перегиба переходной характеристики (кривой разгона).

В данном случае точка перегиба соответствует переходу кривой от режима ускорения к режиму замедления темпа нарастания выходного сигнала.

По виду переходной характеристики можно определить динамические свойства объекта: К, Хуст, τd, T, R.

К - динамический коэффициент усиления К = Хуст/Y

Хуст - установившееся значение выходной величины (максимальное значение температуры в печи, которое может быть достигнуто при установленной мощности нагревателя).

Т - постоянная времени объекта, может быть определена в соответствии с рисунком.- максимальная скорость изменения параметра - наклон переходной характеристики, может быть определена по формуле:

R= Хуст /T

τd - транспортное (динамическое) запаздывание - промежуток времени от момента изменения входной величины Y до начала изменения выходной величины Х. Например, это может быть время после включения нагрева, за которое температура в печи достигнет значения ≈ 0,1 Хуст.

Чем больше, время полного запаздывания τd - тем труднее регулировать такой процесс.

Тип регулятора выбирают исходя из следующих рекомендаций /4/:

Если τd /Т < 0,2, то можно выбрать релейный, непрерывный или цифровой регуляторы.

Если 0,2 < τd/Т < 1, то должен быть выбран непрерывный или цифровой, ПИ-, ПД-, ПИД - регулятор.

Если τd /Т > 1, то выбирают специальный цифровой регулятор с упредителем, который компенсирует запаздывание в контуре управления.

На рисунке 1.5 приведены приближенные (идеализированные) кривые разгона хлебопекарной печи ПХС-25, снятые при минимальной и максимальной мощностях работы горелок. В момент снятия кривой печь не была загружена. Из-за невозможности разогрева печи до установившейся температуры на полной мощности горелки кривые не были сняты полностью. До установившегося значения они были достроены, так как закон изменения температуры уже примерно определился. Также известно, что при минимальной мощности горелки печь может нагреться примерно до 200 °С, а при максимальной мощности установившаяся температура составляет около 800 ºС.

Рисунок 1.5 - кривые разгона печи ПХС-25, где 1 - кривая разгона на максимальной мощности; 2 - кривая разгона на минимальной мощности;

Из график определяем постоянную времени Т и запаздывание τ печи:

Т ≈ 100 мин;

τ ≈ 14 мин.

Следовательно τ/Т = 14/100 = 0.14 < 0.2 - выбираем релейный (двухпозиционный) регулятор температуры.

Реализация двухпозиционного метода регулирования значительно проще и дешевле чем плавного. Схема реализации двухпозиционного закона регулирования температуры приведена на рисунке 1.6.

Рисунок 1.6 - Схема реализации двухпозиционного закона регулирования температуры в пекарной камере печи.

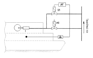
Система двухпозиционного регулирования включает в себя следующие элементы:

–       датчик температуры Дт;

–       регулятор температуры РТ;

–       электромагнитные вентили различного сечения: БП и МП.

Поддержание требуемой температуры осуществляется по принципу «малое пламя» - «большое пламя» (полная мощность - чистая мощность). Вентиль МП открыт всегда при работающей печи для того, чтобы снизить величину скачка в подаче газа на горелку. Сигнал о текущей температуре в пекарной камере поступает с термоэлектрического преобразователя на регулятор температуры. При понижении температуры ниже установленной открывается вентиль БП и на горелку поступает газ через оба вентиля (БП и МП), что соответствует максимальной мощности горелки. При достижении заданной температуры вентиль БП закрывается и на горелку поступает только газ с вентиля МП, что соответствует частичной мощности горелки.

.3.2    Описание регулирования температуры по двухпозиционному закону

Двухпозиционные регуляторы обеспечивают хорошее качество регулирования для инерционных объектов с малым запаздыванием, не требуют настройки и простоты в эксплуатации. Эти регуляторы представляют обычный и наиболее широко распространенный метод регулирования.

В простейшем случае (без обратной связи) двухпозиционный регулятор работает как двухпозиционный переключатель.

Структурная схема двухпозиционной системы регулирования приведена на рисунке 1.7.

Рисунок 1.7 - Структурная схема двухпозиционной системы регулирования, где: АР - двухпозиционный регулятор, ОУ - объект управления, SP - узел формирования заданной точки (задания), Е - рассогласование регулятора, PV=Х - регулируемая величина, Y - управляющее воздействие, Z - возмущающее воздействие.

Для предотвращения «дребезга» управляющего выходного устройства (например, реле) вблизи задания SP (слишком частого включения нагревателя), предусматривается гистерезис Н (зона нечувствительности).

Описание работы двухпозиционной системы регулирования температуры в печи может быть представлено следующим образом:

Нагрев включен, пока температура в печи (X=PV) не достигнет значения заданной точки SP.

Выход регулятора Y (нагрев) отключается, если регулируемая величина (температура) выше заданной точки SP.

Повторное включение нагревателя происходит после уменьшения температуры до значения SP-H, т.е. с учетом гистерезиса Н переключательного элемента.

Алгоритм двухпозиционных регуляторов определяется статической характеристикой: зависимостью выходного сигнала Y от входного Х /4/ (рисунок 1.8).

Рисунок 1.8 - Статическая характеристика двухпозиционной системы регулирования

Выходная величина Y равна максимальному воздействию - нагрев включен: Y=max при X < SP-H, где Н - значение гистерезиса.

Выходная величина Y равна минимальному воздействию - нагрев выключен: Y=0 при X > SP.

Ширина зоны гистерезиса в современных двухпозиционных регуляторах является единственным программируемым параметром настройки.

Процесс двухпозиционного регулирования является автоколебательным - регулируемая величина, как в переходном, так и в установившемся режимах периодически изменяется относительно заданного значения (рисунок 1.9), т.е. регулируемая величина PV (X) подвержена незатухающим колебаниям. Показателями автоколебательного режима являются амплитуда автоколебаний Ак и период автоколебаний Тк.

Частота и амплитуда колебаний зависят и определяются следующими величинами /4/:

от времени транспортного запаздывания τd;

- от постоянной времени объекта Т (определяется инерционностью объекта);

- от максимальной скорости R изменения параметра Х (определяется по переходной характеристике);

от величины гистерезиса Н переключательного элемента регулятора.

 

Рисунок 1.9 - Процесс регулирования с двухпозиционным законом

Для объектов с большой инерционностью (большим значением постоянной времени объекта Т) и малым запаздыванием τd регулирование происходит с постоянными колебаниями до 5-15% от задания SP.

Чем больше гистерезис Н, отношение τd /Т, R - тем больше амплитуда колебаний Ак.

Чем больше время запаздывания τd и постоянная времени объекта Т - тем больше период колебаний Тк.

Точность регулирования технологического параметра, например, температуры зависит от величины гистерезиса. Чем меньше гистерезис, тем точнее регулирование, но тем чаще включается нагреватель и тем самым больше износ коммутационных элементов (например, реле). Уменьшая гистерезис можно повысить качество регулирования до некоторого предела, определяемого параметрами объекта регулирования (тепловой инерцией, мощностью нагревателя, тепловой связью нагревателя и объекта и др.).

1.3.3 Построение динамических характеристик системы автоматического регулирования температуры в пекарной камере печи

Процесс автоматического регулирования температурного режима в печи характеризуется следующими особенностями.

Печь с точки зрения управления представляет собой сложный комплекс, состоящий из нагревателя(системы газоходов и горелки), изделия, термоэлектрического термометра, связанных друг с другом процессами теплообмена, причем каждый из них обладает своей тепловой инерцией, что чрезвычайно усложняет расчет тепловых переходных процессов и анализ динамики процесса регулирования.

Температуры в отдельных частях камеры печи могут различаться. Более того, температура рабочего конца термопары, а следовательно и регулируемая температура будет зависеть от расположения в камере печи. От этого расположения могут зависеть так же качество регулирования, размер колебаний температуры при позиционном регулировании.

Для построения динамических характеристик системы регулирования температуры необходимо ввести допущение: будем считать, что тепловое взаимодействие между зонами пекарной камеры практически не влияет на температуру во второй зоне.

Тогда передаточную функцию объекта управления с достаточной точностью можно представить в виде последовательного соединения апериодического звена первого порядка с запаздывающим звеном:

,

Где T и τ были найдены ранее из кривой разгона печи.

Передаточная функция объекта также учитывает инерционность термоэлектрического преобразователя.

Коэффициент усиления зависит от мощности горелки и, как и другие параметры системы, находится из кривой разгона печи. При работе системы на полной мощности ее коэффициент усиления равен К1 = 700, так как на этой мощности печь может разогреться максимум до 700 °С. При работе системы на частичной мощности коэффициент усиления К2 = 200.

Как было сказано выше, единственным задаваемым параметром регулятора температуры является его гистерезис (зона нечувствительности). От величины гистерезиса также зависит амплитуда колебаний температуры системы, чем больше гистерезис, тем выше колебания температуры. Поэтому для снижения амплитуды колебаний выбираем минимально возможную (нулевую) ширину зоны гистерезиса. Поэтому в регуляторе задаем только рабочую температуру. Рабочей температурой считается: для первой зоны 01 = 180 °С, для второй зоны 02 = 270 °С.

Разогрев печи до рабочей температуры не рекомендуется проводить от начала до конца на полной мощности. Поэтому сначала разогрев производят на частичной мощности, а затем при достижении температуры 100 °С печь переводят на полную мощность.

В программе структурного моделирования PSM32 моделируем работу автоматической системы регулирования температуры хлебопекарной печи.

При моделировании считаем что Uз = 1, при этом К = 200, для получения К = 700 задание должно составлять X = 3.5, для этого выходное значение регулятора равно 2.5. Так как до 100 °С печь должна нагреваться на малой мощности, то для этого в отрицательную обратную связь вводим релейный элемент с выходным сигналом равным 2.5. При достижении 100°С релейный элемент отключится и печь вновь встанет на полную мощность. При этом структурная схема приобретает вид изображенный на рисунке 1.10:

 

Рисунок 1.10 - Структурная схема проектируемой систем

На рисунках 1.11 и 1.12 изображены временные графики представленной системы для первой и второй зон пекарной камеры.

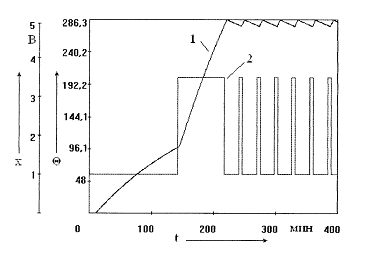
Рисунок 1.11 - Временной график системы регулирования температуры для первой зоны пекарной камеры (заданная температура 220 °С)

Цифрой 1 отмечен временной график на выходе системы - зависимость температуры от времени; цифрой 2 отмечен временной график второго сумматора (вход объекта управления).

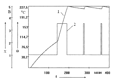
Рисунок 1.12 - Временной график системы регулирования температуры для второй зоны пекарной камеры (заданная температура 220 °С)

Здесь также цифрой 1 отмечен временной график на выходе системы - зависимость температуры от времени, а цифрой 2 - временной график второго сумматора (вход объекта управления).

Из графиков видно, что колебания температуры в окрестности заданного значения больше в положительную сторону, чем в отрицательную (например рисунок 1.12: амплитуда колебаний составляет 9,6 °С, причем 6,3 °С вверх от заданной и 3,3 °С вниз от заданной температуры). Это связано с тем, что при достижении заданной температуры нагрев не отключается полностью, а лишь уменьшается мощность горелки, поэтому понижении температуры происходит медленнее, чем ее повышение. И запаздывание в системе играет уже меньшую роль. Поэтому уставку регулятора температуры рекомендуется задавать немного ниже необходимой температуры /6/.

Также из графиков видно, что температура в печи поднимается не сразу, а через некоторое время, это обусловлено запаздыванием в системе. Чем меньше запаздывание в печи, тем меньше амплитуда автоколебаний температуры в ней. Запаздывание в системе зависит от типа и места расположения термопары, вида ее защитной арматуры. Поэтому для уменьшения запаздывания рекомендуется использовать термопары без защитных чехлов, а также располагать термопары ближе к нагревателю /6/.

1.3.4 Разработка общей структуры системы автоматического регулирования разрежения в топках печи

Автоматическая система регулирования разрежения в топках печи необходима для поддержания постоянным разрежения в топках. По техническим характеристикам печи в топках необходимо поддерживать постоянное разрежение, составляющее примерно 6-8 мм водяного столба, что соответствует 60-80 Па.

Автоматическая система регулирования разрежения предназначена для поддержания наиболее экономичного и безопасного режима сжигания топлива в топке путем регулирования положения шибера, установленного в дымовой трубе.

При отсутствии разрежения пламя факела будет прижиматься, что приведет к обгоранию горелок и нижней части топки. Дымовые газы при этом пойдут в помещение цеха, что делает невозможным работу обслуживающего персонала.

.3.5 Модель объекта управления САР разрежения в топках печи

Регулирование разрежения в топке осуществляется с помощью регулятора, получающего сигнал от датчика разрежения и воздействующего на исполнительный механизм, при помощи которого осуществляется изменение положения шибера установленного в вытяжной трубе.

Структурная схема такой системы изображена на рисунке 1.13:

Рисунок 1.13 - Структурная схема модели системы автоматического регулирования разряжения в топке печи, где: Wpc(p) - стабилизирующий регулятор; Wro(p) - привод поворотной заслонки; Whg(p) - объект регулирования, представляющий собой участок топочного пространства между серединой горелок и местом отбора сигнала по разряжению в топке.

Динамические свойства объекта регулирования характеризуются отсутствием запаздывания, малой инерционностью, самовыравниванием. Особенностью являются небольшие колебания регулируемой величины около среднего значения с частотой несколько герц. Такие низкочастотные колебания обусловлены, в частности, пульсациями расходов топлива и воздуха, кроме того, процесс горения сам является источником высокочастотных колебаний (100-150 Гц), отдельные низкочастотные моды которых могут резонировать.

Таким образом, динамические свойства объекта регулирования, участка топочного пространства печи, с достаточной для практических расчетов точностью могут быть представлены в виде передаточной функцией апериодического звена первого порядка:

,

где:

РГ = 70 среднее необходимое разряжение в топке печи, Па;

Из технологических данных печи полагаем: ТHG = Зс.

Передаточную функцию привода поворотной заслонки можно представить передаточной функцией апериодического звена первого порядка:

,

где: kПЗ - коэффициент передачи поворотной заслонки;

ТПЗ - постоянная времени реакции привода поворотной заслонки, с.

Измерительный преобразователь разряжения в топке печи может быть представлен апериодическим звеном первого порядка, но поскольку его постоянная времени мала по отношению к объекту, то ею можно пренебречь:

,

где: РГ - среднее необходимое разряжение в топке печи, Па.

Номинальное значение задания примем равным 10 В.

Тогда передаточная функция измерительного преобразователя разряжения будет иметь вид:

.

Передаточная функция привода поворотной заслонки будет иметь вид:

.

Передаточная функция участка топочного пространства будет иметь вид:

.

Зная все передаточные функции звеньев, составляющих контур регулирования, рассчитаем передаточную функцию стабилизирующего регулятора.

,

В силу того, что ТПЗ < ТHG принимаем ее за малую постоянную времени Tµ.

Тогда:

,

получаем:

,

Отсюда:

;

,

где: τP = THG;


Подставляя числовые значения, получаем:

Тогда передаточная функция стабилизирующего регулятора будет иметь вид:

.

Это передаточная функция ПИ - регулятора.

1.3.6 Построение динамических характеристик системы автоматического регулирования разрежения

В программе структурного моделирования PSM32 моделируем работу автоматической системы регулирования разрежения в топке. На рисунке 1.14 представлен временной график этой системы.

Рисунок 1.14 - Временной график регулирования разряжения

.4 Выбор элементов систем автоматического регулирования

.4.1 Выбор элементов системы регулирования разрежения в топке печи

.4.1.1 Выбор регулирующего прибора

Для автоматизации системы регулирования разрежения в топках печи выбираем регулятор напора и тяги «УЗОР-Д2».

Для регулирования низких давлений (разрежения) в настоящее время применяется комплекс приборов, состоящий из преобразователей «Сапфир», ДКО или ДТ-2-50 и регулирующего прибора УКР, либо РС-29. Система громоздкая, дорогостоящая, требует квалифицированного обслуживания, нестабильна.

Предлагаемый регулятор «УЗОР-Д2» совмещает функции регулятора и первичного преобразователя, имеет 3 компаратора с выходами на реле, унифицированный токовый выход и интерфейс RS-485 для связи с верхним уровнем иерархии. Позволяет вести регулирование одновременно по двум каналам.

Рисунок 1.15 - Внешний вид измерителя - регулятора «УЗОР-Д2»

Технические данные регулятора «УЗОР-Д2» приведены в таблице 1.2.

Таблица 1.2 - Технические данные регулятора «УЗОР-Д2»

Рабочий диапазон давлений

10...+10 кПа (0...+100 кПа в зависимости от модификации)

Разрешающая способность

10 Па

Класс точности

1,5

Количество входов

6 (по 3 на каждый канал регулирования)

Количество выходов

2


Выходной зависит от модификации прибора. Это либо токовый сигнал

-20мА, либо импульсы пульсирующего напряжения постоянного тока среднего значения 24В, либо изменение состояния электронного ключа при сигнализации предельных отклонений.

Для управления гидравлическими и пневматическими исполнительными механизмами используют токовый выход.

Для управления электрическим исполнительным механизмом используют импульсный выход.

Прибор реализует следующие законы регулирования: пропорционально - интегрально - дифференциальный (ПИД), позиционный (двух и трех).

В регуляторах «УЗОР-Д2» имеются сервисная функция - контроль обрыва датчиков.

Рисунок 1.16 - Схема подключения регулятора «УЗОР-Д2»

1.4.1.2 Выбор первичных преобразователей разрежения в топке

В качестве первичных преобразователей для измерения разрежения в топках печи выбираем преобразователи, типа «УЗОР 1Д-2» которые входят в комплект регулятора «УЗОР-Д2»,

Для сигнализации предельных отклонений тяги используются уже установленные в печи реле тяги. Питание датчиков осуществляется от напряжения 20 - 30В переменного тока. Выходной сигнал - замыкающий контакт реле.

.4.1.3 Выбор исполнительного механизма

В качестве исполнительного механизма для изменения положения поворотной заслонки в дымоотводящем тракте выбираем запорный однооборотный исполнительный механизм типа МЭО с однофазным асинхронным электродвигателем серии ДАУ. Эти двигатели отличаются малой инерционностью, высокой надежностью и способны длительно работать на упор. Последнее обстоятельство позволяет исключить из схемы управления исполнительным механизмом защитные концевые выключатели, роль которых выполняют настраиваемые механические упоры. Однофазное питание двигателя напряжением 220В, 50Гц также упрощает электрическую схему управления исполнительным механизмом.

Выбираем модификацию МЭО- 40/20 - 0.63. Цифры в шифре модификации соответственно обозначают: номинальный крутящий момент на выходном валу (40Н м), номинальное время полного хода выходного вала (20 с), номинальный полный ход выходного вала (0.63 оборота).

Данные механизмы изготавливаются для работы в повторно-кратковременном реверсивном режиме, с числом включений до 320 в час и ПВ до 25% при нагрузке на выходном валу от номинальной противодействующей до 0,5 номинального значения сопутствующей. При этом механизмы допускают работу в течение 1 часа в повторно-кратковременном режиме с числом включений до 630 в час и ПВ до 25% со следующим повторением не раньше, чем 3 часа. Интервал между выключением и включением на обратное направление - не менее 50 мс. Максимальная продолжительность непрерывной работы механизма в реверсивном режиме не должна превышать 10 минут.

Пусковой крутящий момент механизма при номинальном напряжении питания превышает номинальный момент не менее чем в 1,7 раз.

В механизмах по заказу могут быть установлены индукционные, реостатные или токовые датчики положения.

Управление исполнительным механизмом осуществляется через бесконтактный пускатель ПБР - 2.

Пускатель ПБР-2 предназначен для работы с исполнительными механизмами МЭО, оснащенными однофазными электродвигателями с симметричными обмотками.

Принцип управления исполнительным механизмом типа МЭО с помощью пускателя ПБР-2 поясняется схемой, приведенной на рисунке 1.17.

Рисунок 1.17- Схема работы пускателя ПБР-2

Основу пускателя составляют два тиристорных ключа К1 и К2, которые управляются сигналами, вырабатываемыми регулирующими блоками или оператором. Каждый из тиристорных ключей включен в цепь питания одной из статорных обмоток электродвигателя.

При отсутствии управляющих сигналов тиристорные ключи разомкнуты, обмотки электродвигателя обесточены.

При подаче управляющего сигнала «Меньше» (М) замыкается тиристорный ключ К1 и к обмотке О1 подключается источник питания (сеть 220 В, 50 Гц). К другой обмотке напряжение питания поступает через фазосдвигающий конденсатор С. Электродвигатель вращается в направлении «Меньше».

Для включения электродвигателя в противоположном направлении необходимо замкнуть тиристорный ключ К2 путем подачи управляющего сигнала «Больше» (Б). При этом к источнику питания подключается обмотка О2 непосредственно, а обмотка О1 - через фазосдвигающий конденсатор. Фазовый сдвиг между напряжениями, подведенными к обмоткам, меняет знак, в результате чего происходит реверс электродвигателя. Таким образом, в рассматриваемой схеме нет различия в способах питания статорных обмоток О1 и О2: каждая из них, в зависимости от требуемого направления вращения, может подключаться к источнику питания как непосредственно, так и через фазосдвигающий конденсатор. Поэтому обе обмотки электродвигателя, работающего с пускателем ПБР-2, должны быть идентичны.

.4.2 Выбор элементов системы автоматического регулирования температуры в пекарной камере печи

.4.2.1 Выбор регулятора

Для контроля и регулирования температуры в пекарных камерах печи, а также для автоматизации розжига и контроля безопасности целесообразно использовать программируемый контроллер.

Программируемый контроллер (ПЛК) - это устройство, предназначенное для автоматизации наиболее часто встречающихся в промышленности комбинаторных и последовательных процессов, поэтому он представляет интерес практически для любого случая автоматизации.

Программируемые логические контроллеры являются постоянно функционирующими устройствами, обеспечивающими цифровую обработку данных в реальном масштабе времени. ПЛК объединяют в своем составе устройства ввода/вывода (I/O) и блок центрального процессора (CPU)/7/.

На рисунке 1.18 показаны основные компоненты ПЛК. Он контролирует состояние объектов управления (группы объектов) путем считывания сигналов датчиков, подключенных к его выходам; выполняет программу пользователя, хранимую в CPU, и формирует воздействие на объект управления посылкой сигналов управления на выходы, к которым подключаются исполнительные устройства.

Рисунок 1.18 - Основные компоненты ПЛК

Программируемые логические контроллеры семейства SIMATIC S7-200 являются идеальным средством для построения высокоэффективных систем автоматического управления при минимальных затратах на приобретение оборудования и разработку системы. Контроллеры способны работать в реальном масштабе времени и могут быть использованы как для построения узлов локальной автоматики, так и систем распределенного ввода-вывода с организацией обмена данными по PPI или MPI интерфейсу, сети PROFD3US-DP или AS-интерфейсу.

Семейство SIMATIC S7-200 объединяет в своем составе:

· 4 типа центральных процессоров, отличающихся объемами памяти, количеством встроенных входов-выходов, набором встроенных функций, возможностями расширения системы.

· Широкий спектр модулей ввода-вывода дискретных и аналоговых сигналов.

· Два коммуникационных модуля, обеспечивающие возможность подключения к AS-интерфейсу и сети PROFIBUS-DP (только ведомое устройство).

Все контроллеры, модули ввода-вывода и коммуникационные модули выпускаются в износоустойчивых пластиковых корпусах. Монтаж всех модулей может выполняться на стандартную 35мм профильную шину или на плоскую поверхность. Соединения между модулями выполняются плоскими кабелями.

Все центральные процессоры снабжены встроенным блоком питания напряжением 24В постоянного тока для питания входных и выходных цепей контроллеров. В зависимости от модификации выходной ток блока питания может составлять 180, 280 или 400мА. Если мощности этих блоков питания недостаточно, то совместно с контроллерами S7-200 могут быть использованы внешние источники питания семейства SITOP power.

Выбор типа центрального процессора

Для нашей системы выбираем центральный процессор CPU 222.

Данный центральный процессор, предназначен для построения относительно простых систем автоматического управления, работающих автономно или в составе распределенных систем автоматического управления. Оснащен 8 встроенными дискретными входами и 6 дискретными выходами. Позволяет производить подключение до 2 модулей расширения ввода-вывода.

Программируемые контроллеры SIMATIC S7-200 предназначены для построения систем автоматического управления и регулирования, как отдельных машин, так и отдельных частей производственного процесса.

Контроллеры находят применение для управления:

1) прессами;

2) смесителями пластификатора и цемента;

3) насосными и вентиляторами;

4) деревообрабатывающим оборудованием;

5) воротами и дверями;

6) гидравлическими подъемниками;

7) конвейерами;

8) оборудованием пищевой промышленности;

9) лабораторным оборудованием;

10) обменом данными через модем;

11) электротехническим оборудованием и аппаратурой;

На их основе могут создаваться эффективные управляющие устройства, отличающиеся относительно невысокой стоимостью SIMATIC S7-200 позволяют решать широкий спектр задач управления. От замены простых релейно-контактных схем до построения автономных систем управления или

создания интеллектуальных устройств систем распределенного ввода-вывода. Программируемые контроллеры S7-200 находят применение там, где основным требованием к системе управления является ее низкая стоимость.

Технические данные CPU 222:

1) Встроенный блок питания =24В/ 180мА для питания датчиков и преобразователей.

2) 2 исполнения, отличающихся напряжением питания и типами выходов. 3) 8 встроенных дискретных входов и 6 дискретных выходов.

4) 1 коммуникационный порт (RS 485), который может использоваться:

· Как PPI-интерфейс, используемый для программирования контроллера, подключения устройств человеко-машинного интерфейса (TD 200, ОР), организации связи между центральными процессорами S7-200. Скорость передачи данных может устанавливаться равной 9.6/19.2/ 187.5 Кбит/с.

· Как MPI-интерфейс, используемый для программирования контроллера и подключения к ведущим MPI-устройствам (S7-300/ S7-400, панелям оператора, текстовым дисплеям, кнопочным панелям). Скорость передачи данных может устанавливаться равной 9.6/19.2/ 187.5 Кбит/с.

· Как свободно программируемый порт с возможностью поддержки прерываний, используемый для организации последовательного канала обмена данными с оборудованием и аппаратурой других производителей. Например, с поддержкой ASCII протокола передачи данных. Скорость передачи данных может устанавливаться равной 0.3/ 0.6/ 1.2/ 2.4/ 4.8/ 9.6/ 19.2/ 38.4 Кбит/с. Для подключения к аппаратуре, оснащенной встроенным интерфейсом RS 232 может использоваться РС/РР1-кабель.

5) Возможность подключения до 2 модулей расширения ЕМ (из состава серии S7-22x) для ввода-вывода дискретных или аналоговых сигналов.

6) Входы прерываний, обеспечивающие исключительно быструю реакцию на внешние события.

7) 4 скоростных счетчика (30 кГц) с параметрируемыми входами разрешения работы и сброса, 2 независимых входа для подключения инкрементальных датчиков позиционирования с двумя последовательностями импульсов, сдвинутых на 90° (20 кГц).

8)  Имитатор входных сигналов (опциональный), позволяющий имитировать переключателями входные сигналы контроллера и производить отладку программы.

9)  1 потенциометр, подключенный к АЦП контроллера, позволяющий производить установку цифровых параметров. Например, уставок счетчиков или таймеров.

10) 2 импульсных выхода (до 20 кГц), используемых для решения задач позиционирования, частотного управления двигателями, а также управления шаговыми двигателями. Подключение двигателей должно производиться через соответствующие усилители.

11) Съемный опциональный модуль часов реального времени, используемый для управления процессами во времени, снабжения сообщений временными отметками и т.д.

12) Съемный опциональный модуль EEPROM-памяти, используемый для быстрого программирования контроллера (установкой запрограммированного модуля памяти) и архивирования данных.

13) Съемный опциональный модуль батареи, позволяющий сохранять данные (состояния флагов, таймеров и счетчиков) при перерывах в питании в течение 200 дней. Без этого модуля данные в памяти контроллера могут сохраняться только в течение 5 дней. Для сохранения программы модуль батареи не нужен.

14) Исчерпывающий набор инструкций; большое количество: - Базовых операций: логические инструкции, инструкции адресации результата, сохранения, управления таймерами и счетчиками, загрузки, передачи, сравнения, сдвиговых операций, формирования дополнений, вызова подпрограмм (с передачей локальных переменных).

· Интегрированных коммуникационных функций: чтения (NETR) и записи (NETW) информации в сеть, поддержки свободно программируемого порта (Transmit ХМТ, Receive RCV).

· Функций расширенного набора команд: инструкции управления широтно-импульсной модуляцией, генераторами импульсов, выполнением арифметических функций и операций с плавающей запятой, работой ПИД регуляторов, функциями переходов и циклов, преобразования кодов и другие.

15) Счетчики: удобный набор функций в сочетании с встроенными скоростными счетчиками существенно расширяют возможный спектр областей применения контроллера.

16) Обработка прерываний:

· Использование входов аппаратных прерываний, фиксирующих появление импульсных сигналов (по нарастающему или спадающему фронту) и позволяющих существенно снизить время реакции контроллера на поступающие запросы.

· Временные прерывания, периодичность повторения которых может задаваться с шагом в 1 мс в диапазоне от 1 до 255 мс.

· Прерывания от счетчиков: могут формироваться в моменты достижения заданного значения или изменения направления счета.

· Коммуникационные прерывания: обеспечивают повышение эффективности связи с периферийным оборудованием, например, с принтером или сканнером штрих-кодов.

17) Непосредственный опрос входов и управление выходами: опрос входов и

управление состоянием выходов может выполняться независимо от цикла выполнения программы. Это позволяет снизить время реакции на прерывание и время формирования соответствующих выходных сигналов.

18) Парольная защита: трехуровневая парольная защита доступа к программе пользователя. Концепция парольной защиты базируется на использовании следующих вариантов доступа к программе:

· Полный доступ: программа может быть изменена по Вашему желанию.

· Только чтение: изменение программы запрещено, допускается выполнять ее тестирование, изменять настройки параметров, копировать программу.

· Полная защита: программа не может быть прочитана, не может быть скопирована, не может быть изменена. Допускается изменение параметров настройки.

19) Функции тестирования и диагностики: готовая программа может быть выполнена заданное количество циклов (до 124), результаты выполнения могут быть проанализированы; допускается изменение состояний флагов, счетчиков и таймеров.

20) Принудительная установка значений входных и выходных сигналов во время диагностирования и отладки: в целях отладки циклы выполнения программы могут происходить при заданных значениях входных и выходных сигналов.

Модификации контроллера Simatic S7-200 CPU222 приведены в таблице 1.3 (модификации отличаются типом выходов).

Таблица 1.3 - Модификации процессора CPU222

Модификация

6ES7211-0AA21-0XB0

6ES7211-0BA21-0XB0

Тип выходов

выходы постоянного тока

релейные выходы

Напряжение питания

24В, постоянное

85... 264В, переменное

Входное напряжение

24В, постоянное

24В, постоянное

Выходное напряжение

24В, постоянное

24В, постоянное 24... 230В, переменное

Выходной ток

0.75 А, транзистор

2 А, реле


Исполнительными устройствами в проектируемой системе являются электромагнитные вентили, поэтому выбираем модификацию 6ES7211-0ВА21-0ХВ0 с релейными выходами.

Выбор элементов для построения системы человеко-машинного интерфейса

Для построения систем человеко-машинного интерфейса программируемых контроллеров S7-200 воспользуемся текстовым дисплеем TD 200.

Текстовый дисплей TD 200 является наиболее удобным средством для создания интерфейса оператора с программируемым контроллером SIMATIC S7-200. Дисплей соединяется с контроллером соединительным кабелем, входящим в его комплект поставки, по PPI интерфейсу и не требует использования дополнительного источника питания. TD 200 может быть использован для решения следующих задач: а) отображение сообщений; б) изменение параметров настройки программы; в) ручной запуск и остановка машин и механизмов. Он обладает следующими достоинствами:

Параметры настройки текстового дисплея TD 200 сохраняются в памяти центрального процессора программируемого контроллера S7-200. Необходимые части текстовых сообщений и параметры настройки текстового дисплея формируются инструментальными средствами пакета STEP 7- Micro/WIN.

Дополнительного программного обеспечения для этих целей не требуется.

TD 200 выполняет следующие функции:

· Вывод текстовых сообщений: до 80 текстовых сообщений, содержащих до 4 переменных, поддержка кириллицы. Вывод сообщений с подтверждением их получения или сообщений, защищенных паролем. Сохранение текстов сообщений на различных языках в памяти дисплея.

· Отображение и модификация текущих параметров: текущие значения технологических параметров могут отображаться на дисплее и модифицироваться с помощью его клавиш. Например, модификации могут подвергаться заданные значения регулируемой температуры, скорости и т.д.

· Установка состояний входов и выходов с помощью 8 программируемых клавиш: может использоваться для выполнения пуско-наладочных работ, а также реализации операций ручного управления.

Дополнительные функции и характеристики: выполнение операций с плавающей запятой, отображение специальных символов и гистограмм, использование различных блоков данных для подключения к одному центральному процессору нескольких текстовых дисплеев TD 200, использование парольной защиты для доступа к меню, использование различных типов переменных.

Технические данные текстового дисплея TD 200 приведены в таблице 1.4

Таблица 1.4 - Технические данные текстового дисплея TD 200


LCD с внутренней светодиодной

Дисплей

подсветкой, 2 строки по 20 символов


(ASCII, кириллица), высота символов 5мм

Интерфейс

1 PPI интерфейс (RS 485); подключение к сети, объединяющей до 126 станций (S7-200, OP, TP, ТВР, PG/PC); скорость передачи данных 9.6/ 19.2/187.5 Кбит/с

Питание

=24В/ 120мА. От коммуникационного интерфейса S7-200 или от внешнего блока питания. Встроенный в центральный процессор блок питания датчиков для этой цели не используется.

Диапазон рабочих температур

0...60°С

Степень защиты

IP 65/ фронтальная панель; IP 20/ остальная часть корпуса


Выбор модулей расширения

Подключение термоэлектронных датчиков к программируемому контроллеру невозможно осуществить напрямую, так как он обладает только дискретными входами. Для этого необходим модуль ЕМ 231, который предназначен для подключения термопар к центральным процессорам CPU 222/ 224/ 226 и позволяет производить прецизионное измерение сигналов стандартных термопар. Кроме этого модуль способен измерять сигналы напряжения ± 80мВ.

Модуль ЕМ 231 обладает следующими достоинствами: а) удобная обработка сигналов термопар с высокой точностью; б) возможность подключения термопар 7 различных типов; б) возможность измерения сигналов напряжения ±80мВ; г) простое подключение к существующим системам.

Модуль термоэлементов ЕМ 231 имеет те же конструктивные характеристики, что и все другие модули S7-22x:

1) Монтаж на стандартную профильную шину: модуль устанавливается на стандартную 35мм профильную шину DIN справа от центрального процессора CPU 22х и подключается к системе с помощью встроенного плоского кабеля.

2) Монтаж на плоскую поверхность: корпус модуля снабжен монтажными отверстиями, позволяющими производить его монтаж на плоскую поверхность с помощью винтов или шурупов. Этот вариант крепления рекомендуется для установок, подверженных вибрационным воздействиям.

3) Термопары: к одному модулю возможно подключение 4 термопар семи различных типов. Подключение датчиков производится непосредственно к модулю без использования промежуточных усилителей. Ко всем 4 каналам должны подключаться термопары одного и того же типа.

4) Особенности монтажа: для обеспечения наиболее высокой точности измерений и хорошей повторяемости результатов модуль должен монтироваться в местах, подверженных минимальным колебаниям температуры.

5) DIP-переключатели: необходимые настройки модуля, например, выбор типа подключаемых термопар, производятся с помощью встроенных DIP-переключателей.

6) Выбор пределов измерений: сигналы термопар типов J, К, Т, Е, R, S или N; сигналы напряжения ±80мВ.

7) Тестирование на разомкнутых линиях.

8) Компенсация холодного спая: для предотвращения погрешностей, вносимых сопротивлением соединительных линий и контактных соединений между модулем и термопарой; при переходе на диапазон ±80мВ компенсация автоматически отключается.

9) Масштабирование: измерение температуры может выполняться в °С или в °F.

Технические данные модуля термоэлементов ЕМ 231 приведены в таблице 1.5

Таблица 1.5 -Технические данные модуля ЕМ 231

Подключение к

CPU 222/224/226

Съемные терминальные блоки

Нет

Количество входов

4, аналоговых

Пределы измерения/ входное сопротивление

Термопары типов: S, Т, R, Е, N, К, J/ более 1МОм Напряжение ±80мВ/ более 1МОм

Максимально допустимое напряжение на входах измерения напряжения

ЗОВ, постоянное

Гальваническое разделение цепей

Есть

1 -й полевой уровень - цепи логики

500В, переменное

2-й полевой уровень - цепи 24В, постоянное

500В, переменное

Цепи 24В (постоянное) - цепи логики

500В, переменное

Время обновления информации

405мс (на все каналы)

Принцип преобразования

Sigma-Delta

Разрешение.

15 бит + знаковый разряд

по температуре

0.1°C/0.1°F

по напряжению

15 бит + знаковый разряд

Подавление шумов

85Д6

для частот

50/60/400Гц

Синфазное напряжение

-120В

Отклонение синфазного сигнала

120Д6 при -120В

Диапазон изменения измеренных величин:


для биполярных сигналов

-27648...+27648

Базовая погрешность преобразования

0.1% FS (напряжение)

Повторяемость

0.05% FS

Погрешность холодного спая

±1.5°С

Диагностика

Светодиоды: EXTF (контроль напряжения питания), SF (системная ошибка)

Длина соединительного кабеля

Не более 100м к одному датчику

Сопротивление кабеля

Не более 100 Ом

Потребляемый ток:


от внутренней шины контроллера (=5В)

87мА

от источника L+

бОмА

Потребляемая мощность

1.8Вт


Для подключения контактных датчиков нам необходимо 6 дискретных входов. CPU 222 имеет 8 встроенных дискретных входов, поэтому модулей расширения для ввода сигналов больше не требуется.

Для подключения исполнительных механизмов (электромагнитных вентилей и катушек зажигания) нам требуется 12 дискретных выходов. В нашем контроллере имеется 6 встроенных дискретных выходов. Для увеличения дискретных выходов используем модуль вывода дискретных сигналов ЕМ222 модификации 6ES7222-1HF20-0XA0 имеющий 8 релейных выходов.

Таблица 1.6 - Технически данные модуля расширения ЕМ222

Количество выходов

8

Напряжение питания нагрузки L+/L1 • номинальное значение • допустимый диапазон изменений

=24В/~24...230В =5...30В/~20...250В

Выходное напряжение логической единицы

L+/L1

Тип выходов

Реле

Количество выходов в группе

4

Выходной ток логической единицы

2.0А

Выходной ток логического 0

0

Суммарный выходной ток группы выходов

8.0А

Выходной ток 2 смежных выходов

4.0А

Коммутационная способность выхода: • при активной нагрузке • при индуктивной нагрузке • при ламповой нагрузке

2.0А 2.0А 30Вт в цепи пост., 200Вт в цепи переменного тока

Ограничение коммутационных перенапряжений

Внешнее

Защита от коротких замыканий

Обеспечивается внешними цепями

Длина кабеля: • обычного • экранированного

До 150м До 500м

Потребляемый ток: • от внутренней шины контроллера (=5В) • от внешнего источника =24В

40мА 72мА

Потребляемая мощность

2Вт


1.4.2.2 Выбор первичных преобразователей системы регулирования температуры в пекарной камере печи

В качестве первичных преобразователей для измерения и контроля температуры в пекарных камерах печи, а также для контроля температуры газов «от топок» выбираем термопары ТХК - 0515 с характеристиками указанными в таблице.

Таблица 1.7- Характеристики термопары ТХК - 0515

материалы термоэлектродов

сплав хромель - копель

предел измерения температуры, °С

0...600

область применения

пар, газообразные и жидкие химические неагрессивные среды

длина рабочей части, мм

320

максимальная термо - ЭДС, мВ

45


1.4.2.3 Выбор исполнительных устройств

В качестве исполнительных устройств для изменения количества газа подаваемого на горелку используем электромагнитные вентили двухходовые типа ВН.

Технические данные вентилей приведены в таблице 1.8

Таблица 1.8- Технические данные вентилей ВН

Исходное состояние

нормально закрытый

Исполнение клапана

двухпозиционный

Мощность катушки, Вт

80

Напряжение питания, В

220

Частота переменного тока, Гц.

50

Рабочая температура, °С

-30...+40

Время открытия/закрытия, с

1

Частота включений в час

1000

Класс герметичности

А


1.5 Система автоматики безопасности печи

Система автоматики безопасности предназначена для эксплуатации в составе оборудования хлебопекарной печи. Функционально аппаратная часть автоматики безопасности входит в состав выбранного контроллера SDVIATIC S7-200 и управляет электромагнитом, устанавливаемым на предохранительно-запорном клапане на вводе газа к печи.

Система автоматики безопасности реализует алгоритм управления отсечным газовым клапаном печи и аварийной звуковой и световой сигнализациями.

Отсечка газа осуществляется в следующих случаях:

- при понижении давления газа перед отсечным клапаном ниже допустимого значения;

- при понижении разряжения в одной из топок ниже предельно допустимого значения;

- при выходе из строя одного из двигателей рециркуляционных вентиляторов;

- при погасании (срыве) пламени одной из горелок;

- при превышении температуры газов «от топок» в одной из зоны выше допустимой;

- при нажатии кнопки «Отсечной клапан. Отключить»;

При срабатывании отсечного клапана выдается одновременно звуковой и световой сигнал, а на текстовый дисплей выводится сообщение о причине отсечки газа.

Для системы автоматики безопасности используются следующие датчики и элементы:

Для контроля пламени используется прибор контроля пламени Ф-34, чувствительным элементом которого является контрольный электрод. Прибор преобразует сигнал детектирующего датчика пламени в изменение состояния контактов выходного реле. Выходной сигнал поступает на дискретный вход микроконтроллера.

Для контроля температуры «от топок печи» используются термопары. Опрос данных термопар осуществляет микроконтроллер.

Для контроля минимального разрежения в топке используются реле тяги с выходным сигналом - замыкающим контакт реле. Сигнал поступает на дискретный вход микроконтроллера.

Для контроля минимально допустимого давления перед основным запорным органом в газопроводе применен датчик реле напора ДН предел установки 4-40 мм.вод.ст. Предел срабатывания 20 мм.вод.ст Выходной сигнал замыкающий контакт реле поступает на вход прерывания микроконтроллера.

Для контроля работы вентиляторов рециркуляции в цепи их двигателей установлены тепловые реле. Контакты реле также подключены на вход прерывания микроконтроллера.

1.6 Интерфейсная привязка системы к технологическому объекту

Схема подключения исполнительных устройств к микроконтроллеру показана на рисунке 1.19.

Рисунок 1.19- Схема подключения исполнительных устройств к микроконтроллеру

Исполнительными устройствами, которые подключаются к микроконтроллеру являются электромагнитные вентили, магнитные пускатели, а также катушки зажигания. Все эти устройства рассчитаны на напряжение 220 В переменного тока. Их мощности составляют от 80 до 150 Вт.

В проектируемой системе использовалась модификация микроконтроллера с релейными выходами напряжением 24-230 В переменного тока. Максимальный выходной ток логической единицы на один канал при данной модификации составляет 2А. Ток потребляемый элементом с максимальной мощностью, используемым в данной системе составляет 150/220 = 0.68 А. Следовательно дополнительных элементов для подключения исполнительных устройств к микроконтроллеру не требуется.

Для подключения термопар к микроконтроллеру использовался модуль ввода аналоговых сигналов ЕМ231. Схема подключения показана на рисунке 1.20.

Рисунок 1.20 - Схема подключения термопар к модулю ЕМ231.

Данный модуль специально используется для подключения термопар 7 различных типов. Он также осуществляет компенсацию холодного спая термопары. Выбор типа подключаемых термопар, производятся с помощью встроенных DIP-переключателей.

Подключение датчиков производится непосредственно к модулю без использования промежуточных усилителей. Модуль ЕМ231 подключается непосредственно к микроконтроллеру.

Схема подключения дискретных датчиков к микроконтроллеру показана на рисунке 1.21.

Рисунок 1.21 - Схема подключения дискретных датчиков к микроконтроллеру

Дополнительных устройств для подключения дискретных датчиков не требуется.

Кроме микроконтроллера в автоматизированной системе регулирования температуры используется регулятор разряжения «УЗОР-Д2». В качестве первичных преобразователей для измерения разрежения в топках печи использовались преобразователи типа «УЗОР 1Д-2», датчики подключаются непосредственно к регулятору без вторичных преобразователей.

Для соединения регулятора с исполнительным механизмом (МЭО) используется пускатель ПБР2. Данный пускатель производит усиление импульсов вырабатываемых регулятором от 0 - 24В до 0 - 220В и производит бесконтактное управление механизмом.

Подробней о ПБР2 сказано в пункте 1.4.1.3

1.7 Разработка алгоритма работы системы

Ниже представлена блоксхема алгоритма работы печи.

Где: ПК1, ПК2 -продувочные клапана первой и второй зон, Гл.Отсек - главный отсекающий клапан на подводящем газопроводе, К31, К32 - катушки зажигания, ЗП1, ЗП2 - клапана запальных горелок, МГ1, МГ2 - клапана «Малый газ»,

БГ1, БГ2 -клапана «Большой газ», t1, t2 - текущие температуры, соответственно первой и второй зон пекарной камеры, tот1, tот2 - температуры газов «От топок», соответственно первой и второй топок, n - количество циклов соответствующее времени 4с (по технике безопасности запальная горелка может работать при отсутствии пламени не более 4с).

Рисунок 1.22 - Блок схема основного алгоритма работы печи

Продолжение рисунка 1.22

Рисунок 1.23 - Подпрограмма контроля безопасности печи и подпрограмма защиты

2. Безопасность и экологичность проекта

2.1 Анализ потенциально опасных и вредных производственных факторов при эксплуатации проектируемой системы

Изучение и решение проблем, связанных с обеспечением здоровых и безопасных условий, в которых протекает труд человека - одна из наиболее важных задач в разработке новых технологических систем производства. Основная цель мероприятий по охране труда - ликвидация травматизма и профессиональных заболеваний. Проведение мероприятий по улучшению условий труда дает ощутимый экономический эффект - повышается производительность труда, снижаются затраты на восстановление утраченной трудоспособности

Согласно ГОСТ 12.0.003-74 опасные и вредные производственные факторы подразделяются по природе действия на следующие группы:

- физические;

- химические;

- биологические;

- психофизиологические.

При эксплуатации проектируемой автоматизированной системы регулирования температуры персонал могут воздействовать следующие опасные и вредные производственные факторы:

Физической группы:

- повышенная запыленность и загазованность воздуха рабочей зоны;

- повышенная или пониженная температура воздуха рабочей зоны;

- повышенный уровень шума на рабочем месте;

- повышенный уровень вибрации;

- повышенное значение напряжения в электрической цепи, замыкание которой может произойти через тело человека;

- отсутствие или недостаток естественного света;

- недостаточная освещенность рабочей зоны;

Химической группы (действующей через дыхательные пути):

- токсические;

- раздражающие;

Биологические и психофизиологические опасные и вредные производственные факторы при эксплуатации проектируемой системы отсутствуют.

Повышенный уровень шума может быть вызван как работающими горелками печи, работающими рециркуляционными вентиляторами в ней, так и автоматическими выключателями, электромагнитными вентилями всевозможными реле и некоторым другим оборудованием.

Согласно ГОСТ 12.1.003-83 общие требования безопасности по шуму приведены в таблице 2.1

Таблица 2.1 - Общие требования безопасности по шуму

Вид трудовой деятельности, рабочие места

Уровни звукового давления, дБ, в октавных полосах со среднегеометрическими частотами, Гц

Уровни звука и экв. уровни звука


31,5

63

125

250

500

1000

2000

4000

8000


Выполнение всех видов работ на постоянных рабочих местах в производственных помещения на территории предприятия

103

95

87

82

78

75

73

71

69

80


Вибрация представляет собой колебания твердых тел, в частности машин и механизмов, оборудования печи и т. п., воспринимаемые организмом человека как сотрясения. Вибрация при частоте более 20 Гц сопровождается слышимым шумом. Таким образом, все перечисленные выше источники шума в силу их жёсткого крепления к фундаменту являются ещё и источником вибрации.

Вибрация характеризуется следующими параметрами:

- амплитудой смещения А, м;

- наибольшим отклонением колеблющейся точки от положения равновесия, м;

· амплитудой колебания скорости V, м/с;

· амплитудой колебания ускорения аm, м/с;

· периодом колебания Т, с;

· частотой колебания f, с-1.

Основные нормируемые параметры вибрации - среднеквадратичные величины Lv (дБ) уровней виброскорости (виброускорения или вибросмещения) в октавных полосах со среднегеометрическими значениями частот 2; 4; 8; 16; 31,5 и 63 Гц, выраженные в виде

Lv=201g(V/Vo),

где V - среднеквадратичная виброскорость, м/с;

Vo - пороговая виброскорость, равная 5*10-8 м/с. Пороговая величина виброускорения и вибросмещения соответственно равны 3*10-4 м/с2 и 8 * 10-12 м.

По способу передачи на человека различают общую и локальную вибрацию. Общая вибрация передаётся через поверхности на тело сидящего или стоящего человека.

Электрические машины и вентиляторы относятся к категории вибрации по санитарным нормам 3 тип «а» (технологическая вибрация, воздействующая на операторов стационарных машин и оборудования или передающаяся на рабочие места, не имеющая источников вибрации).


Таблица 2.2 - Общая вибрация на рабочем месте

Вид  вибрации

Категория вибрации по санитарным нормам

Направления действия

Нормативные, корректированное по частоте и эквивалентное корректирующее значения




виброускорения

виброскорости

общая

3 тип «а»

Zo,Yo,Xo

м·c-2

Дб

м·c-2·10-2

Дб




0.1

100

0.2

92


Понятие «климат» определяется температурой, влажностью, степенью излучений и скоростью движения воздуха. Для нормальной жизнедеятельности человека необходимо, чтобы температура его тела была постоянной - около 37 С, а тепловой баланс тела выравнивался за определенный промежуток времени, т.е. восприятие тепла должно быть таким, как отдача его в окружающую среду. Микроклимат и чистота воздуха рабочей зоны нормируются ГОСТ 12.1.005-88 "Общие санитарно-гигиенические требования к воздуху рабочей зоны". Согласно ему микроклимат рабочей зоны описывается следующей таблицей.

Компенсировать недостаток освещённости рабочей зоны можно за счёт установки необходимого числа светильников и своевременной заменой ламп в них. Помимо этого увеличение освещённости рабочей зоны можно добиться путём поддержание в чистоте осветительного оборудования (прожекторов).

Для снижения запылённости в рабочей зоне установлено специальное вентиляционное оборудование, обеспечивающее необходимую очистку воздуха

2.2 Анализ принятых в дипломном проекте инженерно - технических решений, обеспечивающих безопасность при эксплуатации проектируемой системы

В ходе дипломного проектирования автоматизированной системы регулирования температуры при выпечке хлебобулочных изделий были приняты инженерно - технические решения, обеспечивающие безопасность при эксплуатации проектируемой системы, а также учтены мероприятия, предписанные или рекомендованные руководящими документами.

Так в частности для снижения вредного воздействия повышенной температуры поверхностей оборудования и повышенной температуры воздуха рабочей зоны (по ГОСТ 12.1.005-88 температура воздуха на рабочем месте в холодный период года 22 - 24 °С, в теплый 23-25 °С, относительная влажность воздуха 40-60%) необходимо ограничивать время пребывания персонала в рабочей зоне с повышенной температурой. Если же время пребывания персонала в рабочей зоне с повышенной температурой ограничить невозможно (например, при производстве работ по предупреждению, локализации или ликвидации аварийной ситуации, угрожающей жизни людей), то необходимо устраивать перерывы в работе.

Для противодействия повышенному уровню шума на рабочем месте (а это по ГОСТ 12.1.003-83 дБ А) необходимо применять средства и методы коллективной защиты по ГОСТ 12.1.029-80 и средства индивидуальной защиты по ГОСТ 12.4.051-78 (например, ушные вкладыши). Также необходимо (по возможности) ограничивать время пребывания персонала в рабочих зонах с повышенным уровнем шума, а в случае, если октавные уровни звукового давления превышают 135 дБ в любой октавной полосе, то в данной рабочей зоне запрещается даже кратковременное пребывание персонала.

Одним из основных методов уменьшения шума на производственных объектах является снижение (ослабление) шума в самих его источниках - в электрических машинах, механизмах, компрессорах, вентиляторах и др.

Согласно ГОСТ 12.2.003-74 ССБТ конструкция производственного оборудования должна обеспечивать исключение или снижение до регламентированных уровней шума, ультразвука и вибраций. ГОСТ 12.2.007-75 требует предотвращения или уменьшения до допустимого уровня воздействия на человека шума, ультразвука и вибраций электротехнических изделий.

В механических устройствах часто причинами недопустимого шума являются износ подшипников, неточная сборка деталей при ремонтах и др. Поэтому в процессе эксплуатации всех видов машин и механического оборудования следует точно выполнять все требования Правил технической эксплуатации.

Контроль уровней шума на рабочих местах должен проводиться не реже одного раза в год.

Рациональное освещение помещения и рабочих мест - один из важнейших элементов благоприятных условий труда. При правильном освещении повышается производительность труда, улучшаются условия безопасности, снижается утомляемость. При недостаточном освещении рабочий плохо видит окружающие предметы и плохо ориентируется в производственной обстановке. Успешное выполнение рабочих операций требует от него дополнительных усилий и большого зрительного напряжения. Неправильное и недостаточное освещение может привести к созданию опасных ситуаций. Наилучшие условия для полного зрительного восприятия создает солнечный свет.

Одним из основных опасных и вредных производственных факторов проектируемой автоматизированной системы регулирования температуры при выпечке хлебобулочных изделий является опасный уровень напряжения в электрической цепи, замыкание которой может произойти через тело человека.

ГОСТ 12.1.038-82 регламентирует напряжения прикосновения и токи, протекающие через тело человека (от руке к руки и от руки к ногам), как при нормальном, так и при аварийном режимах работы электроустановки. Они не должны превышать значений приведенных в таблице

Таблица 2.3 - Предельно допустимые уровни напряжений прикосновения и токов до 1000 В.

Род тока

Нормируемая величина

Предельно допустимые значения, не более при продолжительности воздействия тока t,c








0.01 0.08

0.1

0.2

0.3

0.4

0.5

0.6

0.7

0.8

0.9

1

CB1

Переменный, 50 Гц

U,В I,А

550

340

160

135

120

105

95

85

75

70

60

20



650

400

190

160

140

125

105

90

75

65

50

6


Для контроля предельно допустимых уровней напряжения прикосновения и токов в местах, где возможно замыкание электрической цепи через тело человека, измеряют напряжения и токи. При этом используют измерительные приборы, класс точности которых не ниже 2,5.

При измерении напряжений прикосновения и токов сопротивление тела человека в электрической цепи при частоте 50 Гц должно моделироваться резистором сопротивлением 6,7 кОм (допускается отклонение в пределах 10%).

При измерении напряжений прикосновения и токов сопротивление растеканию тока с ног человека должно моделироваться с помощью квадратной металлической пластины размером 250*250 мм, которая располагается на поверхности пола в местах возможного нахождения человека. Нагрузка на металлическую пластину должна создаваться массой не менее 50 кг.

При измерении напряжений прикосновения и токов в электроустановках должны быть установлены режимы и условия, создающие наибольшие значения напряжения прикосновения и токов, воздействующих на организм человека.

Защиту персонала от воздействия напряжений прикосновения и токов обеспечивает конструкция электроустановок, технические способы и средства защиты, организационные и технические мероприятия по ГОСТ 12.1.019-79.

2.3 Анализ возможных ЧС и мероприятия по их предотвращению

В процессе работы электрооборудования возможно появление аварийных ситуаций, приводящих к пожарам. Данная чрезвычайная ситуация является особенно опасной для проектируемой системы, так как существует возможность взрыва газа.

Пожарная опасность определяется свойствами сырья, готовой продукции, а также характером технологического процесса.

Мука, сахар, масло (животное и растительное), крахмал, хлеб и хлебобулочные изделия - горючее вещества, имеющие различную характеристику по воспламенению и самовоспламенению. Так, например, температура воспламенения муки 250 °С, самовоспламенения 440 °С, а нижний предел взрывоопасной концентрации мучной пыли в воздухе составляет 10 -35 г/м3. Соответственно характеризуется сахар, крахмал и другое сырье, полуфабрикаты и готовая продукция.

Причины пожаров и взрывов могут быть как электрического, так и неэлектрического характера.

Причинами электрического характера являются:

а) искрение в электрических аппаратах и машинах, а также искрение в результате электрических разрядов и ударов молнии;

б) токи коротких замыканий и перегрузок проводников, вызывающих их перегрев до высоких температур, что может привести к воспламенению их изоляции;

в) плохие контакты в местах соединения проводов, когда вследствие большого переходного сопротивления выделяется значительное количество тепла и резко повышается температура;

г) электрическая дуга, возникающая между контактами коммутационных аппаратов, особенно при неправильных операциях с ними (например, отключение нагрузки разъединителем);

д) перегрузка и неисправность обмоток электрических машин и трансформаторов при отсутствии надлежащей защиты и др.

Причинами пожаров и взрывов неэлектрического характера могут быть:

а) повреждение газопровода

б) неосторожное обращение с огнём при проведении газосварочных работ или проведение работ в неположенных местах;

в) курение в пожароопасных и взрывоопасных помещениях;

г) самовоспламенение или самовозгорание некоторых материалов.

Требования пожарной безопасности определены в соответствии с ГОСТ 12.1.004-91 ССБТ «Пожарная безопасность. Общие требования».

Персонал, обслуживающий электрооборудование хлебопекарной печи, обязан изучить правила применительно к выполнению работы и занимаемой должности, местные инструкции и знать устройство и электрические машины печи.

Пожарная безопасность объекта (в данном случае автоматизированной системы регулирования температуры при выпечке хлебобулочных изделий) должна обеспечиваться системами предотвращения пожара и противопожарной защиты.

Для устранения причин пожаров и взрывов проводятся различные мероприятия - технические, эксплуатационные, организационные и режимные /10/.

К техническим мероприятиям относятся соблюдение противопожарных норм при сооружении зданий, устройстве отопления и вентиляции, выбор и монтаж электрооборудования и др.

Эксплуатационные мероприятия предусматривают правильную техническую эксплуатацию электрооборудования.

К организационным мероприятиям относится обучение персонала противопожарным правилам, издание необходимых инструкций и плакатов.

Режимным мероприятиям является ограничение или запрещение в пожароопасных местах применения открытого огня, курения. Производства элекро- и газосварочных работ.

Объект должен иметь системы пожарной безопасности, направленные на предотвращения воздействия на людей опасных факторов пожара, в том числе их вторичных проявлений.

При возникновении пожара в цеху, где располагаются хлебопекарные печи, во избежание взрыва, должна быть немедленно произведена автоматическая отсечка газа в подводящей магистрали.

Опасными факторами, воздействующими на людей и материальные ценности, являются:

· пламя и искры;

· повышенная температура окружающей среды;

· токсичные продукты горения и термического разложения;

· дым;

· пониженная концентрация кислорода.

К вторичным проявлениям опасных факторов пожара, воздействующим на людей и материальные ценности, относятся:

· осколки и части разрушившихся аппаратов, агрегатов, установок, конструкций;

· токсичные вещества и материалы, вышедшие из разрушенных аппаратов и установок;

· электрический ток, возникший в результате выноса высокого напряжения на токопроводящие части конструкций, аппаратов, агрегатов;

· опасные факторы взрыва, произошедшего вследствие пожара;

· огнетушащие вещества.

Предотвращение возникновения пожара в элементах автоматизированной системы регулирования температуры при выпечке хлебобулочных изделий достигается предотвращением образования горючей среды и предотвращением образования в горючей среде источников зажигания.

Предотвращение образования горючей среды обеспечивается следующими способами:

· максимально возможным применением негорючих и трудногорючих веществ и материалов;

· изоляцией горючей среды;

· поддержанием безопасной концентрации среды в соответствии с нормами и правилами и другими нормативно - техническими документами и правилами безопасности (установка сигнализаторов загазованности СМТ - 10);

· максимальной механизацией и автоматизацией технологических процессов, связанных с обращением горючих веществ;

· установкой пожароопасного оборудования по возможности на открытых площадках;

· применением устройств защиты производственного оборудования с горючими веществами от повреждений и аварий, установкой отключающих, отсекающих и других устройств.

Предотвращение образования в горючей среде источников зажигания достигается применением следующих способов:

· применением машин, механизмов, оборудования, устройств, при эксплуатации которых не образуется источников зажигания;

· применением электрооборудования, соответствующего пожароопасной и взрывоопасной зонам, группе и категории взрывоопасной смеси в соответствии с требованиями ГОСТ 12.1.011 и Правил устройства электроустановок;

· применением в схеме быстродействующих средств защитного отключения возможных источников зажигания;

· поддержанием температуры нагрева поверхности машин, механизмов оборудования, веществ и материалов, которые могут войти в контакт с горючей средой, ниже предельно допустимой, составляющей 80% наименьшей температуры самовоспламенения горючего;

· применением неискрящего инструмента при работе с легковоспламеняющимися жидкостями и горючими газами.

Также необходимо отметить, что в целях пожарной безопасности все газоэлектросварочные и другие огневые работы на энергетическом оборудовании выполняются только по наряду-допуску и только при наличии первичных средств пожаротушения. Перед производством работ необходимо выполнить все предписанные Правилами, инструкциями и руководящими документами меры безопасности.

Возникновение пожара в процессе эксплуатации автоматизированной системы регулирования температуры может привести к появлению в воздушной среде цеха вредных для человека газов. В нашем случае основными из них являются:

· пропан С3Н8, бутан С4Н10, пропилен C3H6 и бутилен С4Н8. Это бесцветные горючие газы, тяжелее воздуха, без запаха, трудно смешивающиеся с воздухом. Вдыхание пропилена и бутилена оказывает наркотическое действие. Средства защиты - шланговые противогазы ПШ-1, ПШ-2, самоспасатели СПИ-20, ПДУ-3 и другие;

· окись углерода СО. Это бесцветный газ, без запаха, горючий и взрывоопасный, немного легче воздуха. Окись углерода чрезвычайно ядовита. Физиологическое воздействие окиси углерода на человека зависит от ее концентрации в воздухе и длительности вдыхания. Вдыхание воздуха, содержащего окись углерода выше предельно допустимой концентрации (20 мг/м3), может привести к отравлению, и даже смерти. Средства защиты - фильтрующий противогаз марки СО, самоспасатели СПИ-20, ПДУ-3 и другие;

- углекислый газ СО2 (двуокись углерода) - бесцветный газ, без запаха, с кисловатым вкусом, тяжелее воздуха. Двуокись углерода не ядовита, но обладает наркотическим действием и способна раздражать слизистые оболочки. При высоких концентрациях вызывает удушье вследствие уменьшения содержания кислорода в воздухе. Средства защиты - шланговые противогазы ПШ-1, ПШ-2, самоспасатели СПИ-20, ПДУ-3 и другие.

2.4 Электробезопасность при эксплуатации проектируемой системы

Проектируемая автоматизированная система регулирования температуры является электроустановкой до 1000 В.

В условиях производства обслуживающий персонал находится в непосредственном контакте с металлическими конструктивными частями, вследствие чего создается угроза поражения электрическим током при пробое изоляции и переходе напряжения на металлические конструкции.

Представляют опасность накапливающиеся заряды статического электричества, возникающие в результате трения частиц муки о стенки трубопроводов при ее транспортировании. Заряды могут достигать больших потенциалов, что может привести к взрыву и пожару.

Не менее опасно возникновение зарядов статического электричества на оборудовании вследствие утечки тока из токоведущих частей при неудовлетворительном состоянии изоляции.

Для предотвращения поражения электрическим током все силовое оборудование заземляется.

Заземление оборудования производится в соответствии с требованиями «Правил технической эксплуатации электроустановок потребителей», а также отраслевых Правил.

Принципиальная схема защитного заземления в цепях трехфазного тока приведена на рисунке 3.1

Рисунок 3.1 - Принципиальная схема защитного заземления в цепях трехфазного тока: 1 - заземленное оборудование, 2 - заземлитель защитного заземления,  rO и rЗ - сопротивления рабочего и защитного заземлений.

Опасными и вредными воздействиями на персонал, обслуживающий электроустановки до 1000В, является воздействие электрического тока, электрической дуги, и электромагнитных полей, что проявляется в виде травм и профессиональных заболеваний.

Степень опасного и вредного воздействия на человека электрического тока, электрической дуги и электромагнитных полей зависит от: /9/

· рода и величины напряжения и тока;

· частоты электрического тока;

· пути тока через тело человека;

· продолжительности воздействия электрического тока, электрической дуги и электромагнитных полей на организм человека;

· условий внешней среды.

Нормы на допустимые токи и напряжения в электроустановках должны устанавливаться в соответствии с предельно допустимыми уровнями воздействия на человека токов и напряжений прикосновения и утверждаются в установленном порядке.

Требования электробезопасности при воздействии электрических полей промышленной частоты по ГОСТ 12.1.002 -84, при воздействии электромагнитных полей радиочастот по ГОСТ 12.1.006-84.

Электробезопасность должна обеспечиваться:

· конструкцией электроустановок;

· техническими способами средств защиты;

· организационными и техническими мероприятиями.

Электроустановки и их части должны быть выполнены таким образом, чтобы работающие не подвергались вредным воздействиям электрического тока и электромагнитных полей и соответствовали требованиям электробезопасности.

Требования (правила и нормы) электробезопасности к конструкции и устройству электроустановок должны быть установлены в стандартах Системы стандартов безопасности труда, а также в стандартах и технических условиях на электротехнические изделия.

Технические способы и средства защиты, обеспечивающие электробезопасность, должны устанавливаться с учетом:

- номинального напряжения, рода и частоты тока электроустановки;

- способа электроснабжения (от стационарной сети, от автономного источника питания электроэнергией);

· режима нейтрали (средней точки) источника питания электроэнергией (изолированная, заземленная нейтраль);

· вида исполнения (стационарные, передвижные, переносные);

· условий внешней среды (особо опасные помещения; помещения повышенной опасности; помещения без повышенной опасности; на открытом воздухе);

· возможности снятия напряжения с токоведущих частей, на которых или вблизи которых должна производиться работа;

· характера возможного прикосновения человека к элементам цепи тока (однофазное или двухфазное прикосновения; прикосновение к металлическим нетоковедущим частям, оказавшимся под напряжением);

· возможности приближения к токоведущим частям, находящимся под напряжением, на расстоянии меньше допустимого или попадания в зону растекания тока;

· видов работ (монтаж, наладка, испытание, эксплуатация электроустановок, осуществляемых в зоне расположения электроустановок, в том числе в зоне воздушных линий электропередачи).

Для осуществления защиты от случайного прикосновения к токоведущим частям, необходимо применять следующие способы и средства:

· защитные оболочки;

· защитные ограждения (временные или стационарные);

· изоляция токоведущих частей (рабочая, дополнительная, усиленная, двойная);

· безопасное расположение токоведущих частей;

· малое напряжение;

· защитное отключение;

· предупредительная сигнализация, блокировка, знаки безопасности;

Для обеспечения защиты от поражения электрическим током при прикосновении к электрическим нетоковедущим частям, которые могут оказаться под напряжением в результате повреждения изоляции в соответствии с ГОСТ 12.1.019-79, применяют следующие способы:

· защитное заземление;

· зануление;

· выравнивание потенциалов;

· система защитных проводов;

· защитное отключение;

· изоляция нетоковедущих частей

· электрическое разделение сетей;

· компенсация токов замыкания на землю;

· контроль изоляции;

· средства индивидуальной защиты.

Технические способы и средства применяют раздельно или в сочетании друг с другом так, чтобы обеспечивалась оптимальная защита.

При эксплуатации нашей системы применяют следующие средства защиты от поражения электрическим током:

· защитное заземление;

· защитное отключение;

· контроль изоляции.

Технические способы и средства защиты должны быть указаны в нормативно-технической документации на электроустановки.

Организационные и технические мероприятия по обеспечению электробезопасности состоят в следующем. К работе в электроустановках должны допускаться лица прошедшие инструктаж и обучение безопасным методам труда, проверку знаний правил безопасности и инструкций в соответствии с занимаемой должностью применительно к выполняемой работе с присвоением соответствующей квалификационной группы по технике безопасности и не имеющие медицинских противопоказаний, установленных Министерством здравоохранения РФ.

Для обеспечения безопасности работ в действующих электроустановках должны выполняться следующие организационные мероприятия:

· назначение лиц, ответственных за организацию и производство работ;

· оформление наряда или распоряжения на производство работ;

· осуществления допуска к проведению работ;

· организация надзора за проведением работ;

· оформление окончания работы, перерывов в работе, переводов на другие рабочие места.

Также для обеспечения безопасности работ в действующих электроустановках должны выполняться следующие технические мероприятия:

· отключение установки (части установки) от источника питания электроэнергией;

· механическое запирание приводов отключенных коммуникационных аппаратов, снятие предохранителей, отсоединение концов питающих линий и другие мероприятия, обеспечивающие невозможность ошибочной подачи напряжения к месту работы;

· установка знаков безопасности и ограждение остающихся под напряжением токоведущих частей, к которым в процессе работы можно прикоснуться или приблизиться на недопустимое расстояние;

· наложение заземлений (включение заземляющих ножей или наложение переносных заземлений);

· ограждение рабочего места и установка предписывающих знаков безопасности.

При проведении работ на токоведущих частях, находящихся под напряжением и вблизи них, выполнение работ должно производиться только по наряду и не менее, чем двумя лицами, с применением электрозащитных средств, под непрерывным надзором, с обеспечением безопасного расположения работающих и используемых механизмов и приспособлений.

2.5 Охрана окружающей среды

Загрязнение гидросферы при эксплуатации автоматизированной системы регулирования температуры при выпечке хлебобулочных изделий произойти не может, так как вода в технологическом процессе не участвует.

Загрязнение литосферы при эксплуатации автоматизированной системы регулирования температуры при выпечке хлебобулочных изделий не происходит ввиду отсутствия твердых отходов производства. Хлебопекарные печи не работают на твердом топливе, поэтому в процессе горения нет обильных выделений золы. Твердые промышленные и бытовые отходы, появляющиеся в ходе ремонтов оборудования и жизнедеятельности человека, утилизируются согласно санитарно-гигиеническим нормам.

При своей работе хлебопекарная печь производит загрязнение атмосферы. Основные компоненты, выбрасываемые в атмосферу при сжигании различных видов топлива, - нетоксичные диоксид углерода СО и водяной пар Н2О. При сжигании природного (неочищенного) газа, который и является топливом для данной хлебопекарной печи, в дымовых выбросах также содержаться оксид серы и оксид азота. Но эти вещества содержаться в дымовых газах в незначительном количестве, поэтому специальных сооружений для очистки газообразных выбросов не требуется. Остаточным является поднятие дымовой трубы на уровнем земли на 15-20 м, для обеспечения необходимого рассеяния дымовых выбросов.

В предложенном дипломном проекте рассматривается разработка автоматизированной системы управления температурой при выпечке хлебобулочных изделий. Данная система управления разрабатывается для применения на хлебопекарной печи тоннельного типа ПХС-25.

В настоящее время рассматриваемая печь имеет низкий уровень автоматизации. Розжиг печи также как и регулирование тяги производится оператором вручную.

Цель проектируемой системы - полностью исключить человеческий фактор из процесса управления печью. В задачу оператора будет входить только задание уставок основных параметров печи и обслуживание установленных приборов.

Оценку экономической эффективности проекта производим SWOT - анализом.

Буквы слова SWOT: Strengths - сильные стороны; Weaknesses - слабые стороны; Opportunities - возможности; Threats - опасности, угрозы, используется для анализа экономической обстановки, в которой реализуется проект.

Первым шагом SWOT-анализа является распределение данных аудита в соответствующие разделы: Сильные и Слабые Стороны, Возможности и Угрозы.

К сильным сторонам относятся в основном внутренние факторы, такие, как качество товара, цены, которые ниже, чем у конкурентов, или уровень и качество подготовки продавцов.

К слабым сторонам обычно относят также внутренние факторы, например, маленькие размеры организации по сравнению с основными конкурентами или ограниченный бюджет на рекламу.

Возможности (благоприятные) ищут среди внешних факторов, таких, как новые рынки для экспорта в Восточной Европе или финансовые трудности конкурента.

Угрозы выявляются среди внешних факторов, таких, как выпуск нового товара конкурентом, появление нового соперника, предлагающего низкие цены, или неопределенность в политике правительства.

Все факторы, определяющие спрос на разработанную программу, ее сильные и слабые стороны, угрозы вытеснения и возможности на рынке приведены ниже.

Таблица 3.1- Сильные и слабые стороны

Сильные стороны

Слабые стороны

1. Увеличение безопасности при эксплуатации печи с данной системой. 2. Отсутствует необходимость в постоянном контроле за печью. 3. Автоматическая работа всей системы без участия человека. 4. Отсутствует необходимость в персонале, производящем регулировку параметров печи.

1. Дополнительные затраты на реализацию данной системы. 2. Необходимость повышения квалификации персонала, обслуживающего оборудование. 3. Поломка оборудования новой системы.


Таблица 3.2 - Возможности и угрозы

Возможности

Угрозы

1. Возможность применения проектируемой системы на других предприятиях. 2. Возможность модернизации.

1. Прекращение работы всей системы из-за выхода из строя микроконтроллера. 2. Появление более совершенных систем данного типа 3. Снижение цен конкурирующих систем управления.


Составляем матрицу - SWOT.

Таблица 3.3 - Матрица SWOT-анализа.


Сильные стороны

Слабые стороны


Автоматическая работа всей системы без участия человека

Дополнительные затраты на реализацию данной системы

Возможность применения проектируемой системы на других предприятиях

Из анализа сильных сторон и возможностей следует, что необходимо искать предприятия нуждающиеся в подобной системе автоматизации и предлагать им ее. Проводить рекламные кампании и демонстрации системы с целью доведения ее характеристик до потребителей.

Для преодоления слабых сторон необходимо искать пути снижения себестоимости данной системы. Например искать более дешевые комплектующие или стараться по максимуму использовать уже установленное на предприятии оборудование для данной системы.

Угрозы Прекращение работы всей системы при выходе из строя микроконтроллера

Используя сильные стороны разработки можно избежать угроз путем резервирования существующего микроконтроллера, или повышение его надежности используя оборудование ведущих мировых разработчиков

Стратегия выживания вплоть до ликвидации проекта.


Комбинация сильных сторон и представляющихся возможностей определяет направленность стратегии на получение максимальной прибыли от последних. Стратегия заключается в скорейшем продвижении проектируемой системы на рынки сбыта, путем проведения рекламных акций и демонстраций возможностей моей системы.

Комбинация слабых сторон и появляющихся возможностей нацеливает стратегию на использование этих возможностей для преодоления существующих недостатков. Стратегия заключается в снижении стоимости проектируемой системы за счет использования в своей системе оборудования уже установленного на предприятии - покупателе.

Комбинация сильных сторон и угроз ориентирует стратегию на борьбу с опасностями за счет имеющихся внутренних резервов. Стратегия заключается в применении микроконтроллеров ведущих мировых разработчиков, что является гарантией хорошей работы системы.

Комбинация слабых сторон и угроз задает необходимость выработки такой стратегии, которая бы позволила организации не только укрепить свой потенциал, но и предотвратить возможные неприятности, грозящие из внешнего окружения. Заданной стратегией может быть построение системы на базе дешевого отечественного микроконтроллера, имеющего систему резервирования в виде такого же микроконтроллера.

Заключение

автоматизированный печь хлебопекарный температура

В предложенном дипломном проекте была разработана автоматизированная система регулирования температуры для хлебопекарной печи. Существующая система регулирования температуры была модернизирована и заменена одним микроконтроллером Simatic S7-200. Все релейно-контакторные схемы, входившие в состав старой системы, были также заменены предложенным микроконтроллером.

Была произведена автоматизация регулирования разряжения в топках печи на базе одного современного отечественного микропроцессорного регулятора «УЗОР-Д2».

Также произведен выбор недостающих элементов для систем регулирования и пояснение подключения уже установленного оборудования к новой системе. С помощь программы PSM была составлена математическая модель системы и построены ее динамические характеристики, которые позволяют наглядно продемонстрировать изменение параметров новой системы. Анализ полученных кривых позволил сделать вывод о пригодности рассчитанной системы.

Кроме того в проекте был разработан алгоритм работы автоматической работы печи и составлена его блок-схема.

В разделе экологичность и безопасность проекта были рассмотрен анализ потенциальных опасностей и вредных производственных факторов при монтаже и эксплуатации системы регулирования температуры, анализ принятых инженерно - технических решений, обеспечивающих сведение к минимуму опасностей и вредных факторов.

В экономической части были рассмотрены и проанализированы основные достоинства и недостатки проектируемой системы. И были выбраны основные направления стратегии для успешного продвижения системы на рынки сбыта.

Список используемых источников

1.       Технология пищевых производств/Л.П. Ковальская, И.С. Шуб, Г.М. Мелькина и др.; Под ред. Л.П. Ковальской. - М.: Колос, 1999. - 752 с:

.        Клюев А.С. Автоматическое регулирование. - М.: Энергия, 1973. - 392с.

.        Клюев А.С., Глазов Б.В., Дубровский А.Х. Проектирование систем автоматизации технологических процессов. - М.: Энергия, 1980. -512с.

.        Типы регуляторов. Методики настройки регуляторов. Инструкция. Разработал Главный конструктор КП МИКРОЛ А. Ю. Симановский http://www.microI.com.ua. 2004. -63с.

.        Датчики теплофизических и механических параметров/ Под ред. Ю.Н. Коптева, Москва, 1998.

.        Кручинин A.M., Махмудов К.М. Автоматическое управление электротермическими установками.- М.: Энергоатомиздат, 1990.

.        Вершинин О.Е. Применение микропроцессоров для автоматизации технологических процессов. - 1986 г.

.        Микропроцессорные автоматические системы регулирования/ Под ред. В.В. Солодовникова. М.: Высш. шк., 1991. -255с.

.        Долин П.А. Основы техники безопасности в электроустановках. - М.: Знак, 2000. -440с.

.        Князевский В.А., Чекалин Н.А. Техника безопасности и противопожарная техника в электроустановках. Учеб. Пособие для средних специальных учебных заведений по электротехническим специальностям. Изд. 2-е, перераб. и доп. - М.: Энергия, 1973.-248с.

.        Охрана окружающей среды/ Под ред. СВ. Белова. - М.: Высшая школа,1991. -319 с

.        Оформление курсовых и дипломных проектов: Методические указания/ Сост. Н.Е. Дерюжкова, В.Ф. Горячев. - Комсомольск-на-Амуре. Комсомольский-на-Амуре гос. техн. ун-т, 1998. - 30с.

Похожие работы на - Автоматизация хлебопекарного производства

 

Не нашли материал для своей работы?
Поможем написать уникальную работу
Без плагиата!
Без нейросетей!