Организация пожарной безопасности в аэропорту 'Пулково'
Аннотация
В данном дипломном проекте
произведен анализ пожарной безопасности в Российской Федерации, рассмотрены
принципы организации пожарной безопасности в аэропорту, регламентирующая
документация в этой области, задачи, выполняемые пожарной охраной в аэропорту.
Рассмотрены способы
усовершенствования мероприятий по пожарной безопасности, меры по повышению
эффективности пожарной безопасности, приведено описание современных средств и
технологии по пожарной безопасности.
Работа содержит 5 таблиц, 9 рисунков
Введение
В последнее время из-за повсеместно
происходящих пожаров, аварий, террористический актов очень актуальной темой
является обеспечение пожарной безопасности на предприятиях транспорта в целях
сохранения жизни людей, что является важной и значимой задачей. В целом
мероприятия по пожарной безопасности разработаны и внедрены, но не смотря на
это, необходимо совершенствовать и развивать их, так пожары тем не менее
продолжают происходить.
В данной работе объектом
исследования является аэропорт Пулково.
Аэропорт «Пулково» - это один из
крупнейших, динамично развивающихся авиатранспортных узлов России.
Инфраструктура аэропорта «Пулково»
включает аэродром с двумя взлетно-посадочными полосами, два аэровокзала,
грузовой терминал, топливозаправочный комплекс, парковочный комплекс и другие
объекты инфраструктуры. В аэровокзалах предусмотрены все необходимые удобства
для пассажиров: комфортабельные залы ожидания, более 100 торговых и сервисных
точек, VIP-залы и бизнес-салоны и многое другое. Высокое качество предоставляемых
аэропортом услуг подтверждено международным сертификатом ИСО 9001:2000 и
наградами международных и всероссийских конкурсов в области качества.
В данной работе проанализированы
следующие моменты: анализ пожарной безопасности в аэропорту, принципы
организации пожарной безопасности в аэропорту, какая существует
регламентирующая документация, предложены новые системы тушения пожаров.
Приведены меры по повышению пожарной безопасности.
В данной работе использована
различна литература по теме:ГОСТы, СНиПЫ, различная справочная и техническая
литература.
Структура работы следующая:
.Анализ пожарной безопасности РФ
. Принципы организации пожарной
безопасности в аэропорту
.1 Регламентирующая документация в
области пожарной безопасности.
.2. Необходимость создания
ведомственной пожарной охраны в аэропорту 2.3 Задачи, выполняемые пожарной
охраной в аэропорту
. Совершенствование мероприятий по
пожарной безопасности в аэропорту 3.1.Меры по повышению эффективности пожарной
безопасности
.2.Современные технические средства
и технологии по пожарной безопасности
.3. Система подготовки персонала
аэропорта в области пожарной безопасности.
1. Анализ пожарной безопасности РФ
Анализ пожарной опасности и защиты
предприятия, в данном случае- аэропорта, осуществляется поэтапно.
Он включает в себя:
изучение особенностей специфики
предприятия, осуществляющего аэроперевозки;
оценку пожароопасных свойств
веществ, обращающихся в технологических процессах;
выявление возможных причин
образования горючей среды, источников зажигания и путей распространения пожара;
разработку систем предотвращения
возникновения пожара и противопожарной защиты;
разработку
организационно-технических мероприятий по обеспечению пожарной безопасности.
Анализ пожарной опасности
технологических процессов предусматривает сопоставление показателей пожарной
опасности веществ и материалов, обращающихся в технологическом процессе, с
параметрами технологического процесса.
Перечень показателей пожарной
опасности веществ и материалов в зависимости от их агрегатного состояния,
необходимых и достаточных для характеристики пожарной опасности технологической
среды, приведен в таблице 1 приложения к настоящему Федеральному закону.
Перечень потенциальных источников зажигания пожароопасной технологической среды
определяется посредством сопоставления параметров технологического процесса и
иных источников зажигания с показателями пожарной опасности веществ и
материалов.
Табл.1 Перечень показателей пожарной
опасности веществ и материалов
|
Показатель пожарной опасности
|
Вещества и материалы в различном агрегатном состоянии
|
Пыли
|
|
газообразные
|
жидкие
|
твердые
|
|
|
Безопасный экспериментальный максимальный зазор, миллиметр
|
+
|
+
|
-
|
+
|
|
Выделение токсичных продуктов горения с единицы массы горючего,
килограмм на килограмм
|
-
|
+
|
+
|
-
|
|
Группа воспламеняемости
|
-
|
-
|
+
|
-
|
|
Группа горючести
|
+
|
+
|
+
|
+
|
|
Группа распространения пламени
|
-
|
-
|
+
|
-
|
|
Коэффициент дымообразования, квадратный метр на килограмм
|
-
|
+
|
+
|
-
|
|
Излучающая способность пламени
|
+
|
+
|
+
|
+
|
|
Индекс пожаровзрывоопасности, паскаль на метр в секунду
|
-
|
-
|
-
|
+
|
|
Индекс распространения пламени
|
-
|
-
|
+
|
-
|
|
Кислородный индекс, объемные проценты
|
-
|
-
|
+
|
-
|
|
Концентрационные пределы распространения пламени (воспламенения)
в газах и парах, объемные проценты, пылях, килограмм на кубический метр
|
+
|
+
|
-
|
+
|
|
Концентрационный предел диффузионного горения газовых смесей в
воздухе, объемные проценты
|
+
|
+
|
-
|
-
|
|
Критическая поверхностная плотность теплового потока, ватт на
квадратный метр
|
-
|
+
|
+
|
-
|
|
Линейная скорость распространения пламени, метр в секунду
|
-
|
-
|
+
|
-
|
|
Максимальная скорость распространения пламени вдоль поверхности
горючей жидкости, метр в секунду
|
-
|
+
|
-
|
-
|
|
Максимальное давление взрыва, паскаль
|
+
|
+
|
-
|
+
|
|
Минимальная флегматизирующая концентрация газообразного
флегматизатора, объемные проценты
|
+
|
+
|
-
|
+
|
|
Минимальная энергия
|
+
|
+
|
-
|
+
|
|
Минимальное взрывоопасное содержание кислорода, объемные
проценты
|
+
|
+
|
-
|
+
|
|
Низшая рабочая теплота сгорания, килоджоуль на килограмм
|
+
|
+
|
+
|
-
|
|
Нормальная скорость распространения пламени, метр в секунду
|
+
|
+
|
-
|
-
|
|
Показатель токсичности продуктов горения, грамм на кубический
метр
|
+
|
+
|
+
|
+
|
|
Потребление кислорода на единицу массы горючего, килограмм на
килограмм
|
-
|
+
|
+
|
-
|
|
Предельная скорость срыва диффузионного факела, метр в секунду
|
+
|
+
|
-
|
-
|
|
Скорость нарастания давления взрыва, мегапаскаль в секунду
|
+
|
+
|
-
|
+
|
|
Способность гореть при взаимодействии с водой, кислородом
воздуха и другими веществами
|
+
|
+
|
+
|
+
|
|
Способность к воспламенению при
|
+
|
+
|
-
|
-
|
|
Способность к самовозгоранию
|
-
|
-
|
+
|
|
|
Способность к экзотермическому разложению
|
+
|
+
|
+
|
+
|
|
Температура воспламенения, градус Цельсия
|
-
|
+
|
+
|
+
|
|
Температура вспышки, градус Цельсия
|
-
|
+
|
-
|
-
|
|
Температура самовоспламенения, градус Цельсия
|
+
|
+
|
+
|
+
|
|
Температура тления, градус Цельсия
|
-
|
-
|
+
|
+
|
|
Температурные пределы распространения пламени (воспламенения),
градус Цельсия
|
-
|
+
|
-
|
-
|
|
Удельная массовая скорость выгорания, килограмм в секунду на
квадратный метр
|
-
|
+
|
+
|
-
|
|
Удельная теплота сгорания, джоуль на килограмм
|
+
|
+
|
+
|
+
|
Примечание: 1. Знак + обозначает,
что показатель необходимо применять.
. Знак *-* означает, что показатель
не применяется.
Определение пожароопасных ситуаций
на производственном объекте должно осуществляться на основе анализа пожарной
опасности каждого из технологических процессов и предусматривать выбор
ситуаций, при реализации которых возникает опасность для людей, находящихся в
зоне поражения опасными факторами пожара и вторичными последствиями воздействия
опасных факторов пожара. К пожароопасным ситуациям не относятся ситуации, в
результате которых не возникает опасность для жизни и здоровья людей. Эти
ситуации не учитываются при расчете пожарного риска.
Для каждой пожароопасной ситуации на
производственном объекте должно быть приведено описание причин возникновения и
развития пожароопасных ситуаций, места их возникновения и факторов пожара,
представляющих опасность для жизни и здоровья людей в местах их пребывания.
Для определения причин возникновения
пожароопасных ситуаций должны быть определены события, реализация которых может
привести к образованию горючей среды и появлению источника зажигания.
Анализ пожарной опасности
производственных объектов предусматривает определение комплекса превентивных
мероприятий, изменяющих параметры технологического процесса до уровня,
обеспечивающего допустимый пожарный риск.
После тщательного изучения
технологии производств по технологическому регламенту или проектным материалам
определяются аппараты (оборудование), в которых содержатся
легковоспламеняющиеся и горючие жидкости, горючие газы и твердые горючие
вещества и материалы. Устанавливаются, какие именно вещества и в каком количестве
участвуют в технологических процессах; при этом составляется полный перечень
пожароопасных веществ и дается оценка их пожарной опасности. К пожароопасным
относятся вещества и материалы, свойства которых каким-либо образом
способствуют возникновению или развитию пожара.
Свойства веществ, необходимые для
анализа пожарной опасности, могут быть взяты в технологическом регламенте, в
нормативной и справочной литературе.
МВД России совместно с
заинтересованными федеральными органами исполнительной власти осуществляются
организационно-практические мероприятия, направленные на обеспечение
транспортной безопасности. Продолжалается реализация мер по совершенствованию
системы охраны и пропускного режима на стратегически важных объектах
транспортной инфраструктуры, а также в местах массового скопления пассажиров.
В соответствии с поручением
Президента Российской Федерации органами внутренних дел на транспорте во
взаимодействии с территориальными органами внутренних дел, администрациями
воздушного транспорта, органами исполнительной власти и местного самоуправления
осуществляются мероприятия по интеграции систем комплексной безопасности
«Безопасный город», Общероссийской комплексной системы информирования и
оповещения населения в местах массового пребывания людей (ОКСИОН) с системами,
используемыми транспортной милицией. В Минтранс России направлены предложения
по усилению технической защищенности объектов транспорта, в том числе об
организации досмотра пассажиров высокоскоростного транспорта, их ручной клади и
багажа..
В целях реализации комплекса мер,
направленных на повышение эффективности обеспечения общественного порядка и
безопасности на железнодорожных вокзалах МВД России и ОАО «РЖД» утвержден план
совместных мероприятий по обеспечению правопорядка и предотвращению
правонарушений на вокзальных комплексах, станциях, остановочных пунктах и
прилегающих к ним территориях, пассажирских поездах пригородного сообщения и
дальнего следования.
Планом предполагается реализация
комплекса мер, направленных на усиление антитеррористической защищенности
объектов транспорта, информирование пассажиров о действиях в чрезвычайных
ситуациях, обеспечения сохранности личного имущества, предупреждение фактов
несанкционированной торговли.
В связи с произошедшими 29 марта
2010 года террористическими актами Московском метрополитене, в целях сохранения
стабильности оперативной обстановки и контроля за складывающейся ситуацией на
объектах транспорта приняты меры по усилению охраны объектов воздушного,
железнодорожного, автомобильного пассажирского транспорта, метрополитена и их
инфраструктуры.
На места направлены дополнительные
указания, предусматривающие конкретные мероприятия по обеспечению контроля за
складывающейся оперативной обстановкой, недопущению совершения террористических
актов и экстремистских проявлений.
Указ Президента Российской Федерации
от 31 марта 2010 года № 403 «О создании комплексной системы обеспечения
безопасности населения на транспорте» определил перечень превентивных задач по
противодействию терроризму на объектах транспортной инфраструктуры. Решение,
которых должно быть выполнено в достаточно сжатые сроки и потребует
консолидации усилий органов исполнительной власти всех уровней, а также
предприятий и организаций, осуществляющих свою деятельность в сфере транспорта.
По моему мнению, комплексная система
безопасности на метрополитене и наземном общественном транспорте может
включать:
общегосударственную федеральную
систему;
межрегиональную систему;
региональную систему субъектов
федерации;
муниципальную систему.
Такая система должна на каждом
уровне включать в себя следующие подсистемы:
раннего предупреждения;
предупреждения на входе в объект;
видеонаблюдения.
В целях совершенствования системы
выявления потенциальных угроз на общественном транспорте предлагается:
усовершенствовать
нормативно-правовую базу для решения организационных и практических вопросов по
реализации мер безопасности на объектах транспорта, при этом предусмотреть
четкое разграничение компетенции должностных лиц федеральных органов исполнительной
власти, органов исполнительной власти субъектов Российской Федерации,
организаций и ведомств, осуществляющих эксплуатацию метрополитена;
совершенствовать подготовку кадров в
области проведения мероприятий по антитеррористической защищенности в данной
области;
создать общефедеральную базу данных,
содержащую всю имеющуюся информацию по обеспечению безопасности национальной
системы перевозки пассажиров;
ввести четкие правила
государственной стандартизации и сертификации всех технических систем контроля
на транспорте, в т.ч. разработанных частными компаниями и фирмами.
Система обеспечения безопасности на
воздушном транспорте является частью государственной системы обеспечения
безопасности на транспорте, которая входит в общегосударственную систему национальной
безопасности.
Основными элементами системы
обеспечения безопасности на воздушном транспорте являются органы
государственной власти, органы местного самоуправления, организации и граждане,
принимающие участие в авиационной деятельности в соответствии с
законодательством государства.
Государство обеспечивает наличие
системы безопасности на воздушном транспорте, формирует (определяет) орган
(организацию), отвечающий за безопасность на воздушном транспорте, и определяет
полномочия органов государственной власти и местного самоуправления.
Компетенция каждого элемента,
входящего в состав системы обеспечения безопасности на воздушном транспорте и
ее подсистем, определяется национальным законодательством.
На всех стадиях процесса обеспечения
безопасности на воздушном транспорте осуществляется контроль и надзор со
стороны уполномоченных органов государственной власти за надлежащей реализацией
мер по обеспечению безопасности на воздушном транспорте.
Функции органов, координирующих
деятельность системы обеспечения безопасности на воздушном транспорте и ее
подсистем, а также осуществляющих контроль и надзор в сфере обеспечения
безопасности на воздушном транспорте, определяются отдельными
нормативно-правовыми актами государства.
Органы исполнительной власти, уполномоченные
в области воздушного транспорта, хозяйствующие субъекты, авиационные и другие
организации, участвующие в авиационной деятельности, обязаны планировать и
проводить мероприятия по обеспечению безопасности на воздушном транспорте в
пределах своих полномочий и компетенции.
Государственные целевые программы
обеспечения безопасности на воздушном транспорте разрабатываются и реализуются
на основе концепций обеспечения безопасности на транспорте и обеспечения
безопасности на воздушном транспорте органами исполнительной власти в области
воздушного транспорта и уполномоченными органами в области обеспечения
безопасности на воздушном транспорте.
Вывод: Мероприятия по обеспечению
безопасности на воздушном транспорте и предотвращению авиационных и чрезвычайных
происшествий разрабатываются и реализуются на основании государственных целевых
программ обеспечения безопасности на воздушном транспорте, а также результатов
анализа состояния безопасности на воздушном транспорте, результатов
расследования авиационных и чрезвычайных происшествий и инцидентов.
Кризисные (чрезвычайные) ситуации на
воздушном транспорте могут быть вызваны:
авиационным происшествием (аварией
или катастрофой);
пожаром, разливом нефтепродуктов и
химически опасных веществ;
взрывом (угрозой взрыва);
террористическим актом (угрозой его
совершения);
незаконным вмешательством в
деятельность воздушного транспорта;
наводнением или затоплением
территорий авиапредприятий;
радиоактивным загрязнением
территорий и воздушных судов;
аварией на объектах обслуживания
воздушного движения;
аварией на объектах инфраструктуры
воздушного транспорта;
стихийным бедствием природного
характера;
остановкой деятельности
авиапредприятий или организаций, непосредственно влияющих на безопасность
полетов, авиационную безопасность, поиск и спасание на воздушном транспорте;
другими происшествиями и
инцидентами.
2. Принципы организации пожарной
безопасности в аэропорту
Противопожарная защита аэропорта -
это целый комплекс мер и средств, направленных, прежде всего, на предупреждение
такого крайне нежелательного явления, как пожар. А если предупредить не
удалось- то на скорейшую локализацию с минимумом последствий для имущества и
людей. Если кратко, то основными функциями комплекса противопожарной защиты
является
предупреждение,
обнаружение,
оповещение,
тушение,
ликвидация последствий.
В этом комплексе мер особое место
занимает пассивная противопожарная защита, о которой будет сказано чуть ниже. В
целом же система противопожарной защиты включает в себя следующие составляющие:
централизованный пункт охраны;
автоматическая система пожарной
сигнализации и система оповещения о пожаре;
системы пожаротушения разных видов.
Так Централизованный пункт охраны
обеспечивает контроль и управление всеми системами комплекса. Пункт должен быть
оснащен системой видеонаблюдения для мониторинга всех помещений аэровокзала.
Автоматическая система пожарной
сигнализации и система оповещения о пожаре, которая может быть интегрирована с
общей системой охраны и голосового оповещения.
В целях обеспечения безопасности на
воздушном транспорте в кризисных (чрезвычайных) ситуациях создается система
предупреждения и ликвидации кризисных (чрезвычайных) ситуаций на воздушном
транспорте.
Основными органами такой системы
являются органы исполнительной власти, а также специальные постоянно и временно
действующие органы, в том числе:
координирующие органы (комиссии);
оперативные органы (оперативные
штабы);
постоянно действующие органы
управления (дежурные смены);
силы и средства постоянной
готовности (службы, базы, подразделения).
Специальные органы создаются
постановлениями правительства, решениями органов исполнительной власти
(министерств и ведомств), территориальных субъектов государства и органов
местного самоуправления.
Основными задачами координирующих
органов (комиссий) по предупреждению и ликвидации кризисных (чрезвычайных)
ситуаций на воздушном транспорте являются:
а) разработка предложений по
реализации единой государственной политики в области предупреждения и
ликвидации кризисных (чрезвычайных) ситуаций на воздушном транспорте;
б) планирование, подготовка и
реализация мероприятий по обеспечению безопасности на воздушном транспорте в
условиях штатного функционирования, а также в условиях возникновения кризисных
(чрезвычайных) ситуаций, разработка и руководство реализацией планов
готовности;
в) координация деятельности органов
управления и сил специально уполномоченного органа в области воздушного
транспорта в процессе ликвидации последствий кризисных (чрезвычайных) ситуаций;
г) обеспечение согласованных
действий сил и средств специально уполномоченного органа в области воздушного
транспорта и подразделений других органов исполнительной власти в процессе
урегулирования и ликвидации последствий кризисных (чрезвычайных) ситуаций,
связанных с проявлениями терроризма и другими актами незаконного вмешательства.
Основными задачами оперативных
органов (штабов) по предупреждению и ликвидации последствий кризисных
(чрезвычайных) ситуаций на воздушном транспорте являются:
а) оперативное планирование и
руководство проведением мероприятий по ликвидации кризисных (чрезвычайных)
ситуаций на воздушном транспорте;
б) руководство деятельностью органов
управления и сил специально уполномоченного органа в области воздушного
транспорта в процессе ликвидации последствий кризисных (чрезвычайных) ситуаций,
не связанных с проявлением терроризма;
в) согласование действий сил и
средств специально уполномоченного органа в области воздушного транспорта и
подразделений других органов исполнительной власти при ликвидации последствий
кризисных (чрезвычайных) ситуаций, связанных с проявлениями терроризма на
воздушном транспорте и иными актами незаконного вмешательства.
Сделаем вывод: основы пожарной
безопасности в РФ заключается в
изучении особенностей специфики
предприятия, осуществляющего аэроперевозки;
оценке пожароопасных свойств
веществ, обращающихся в технологических процессах;
выявлении возможных причин
образования горючей среды, источников зажигания и путей распространения пожара;
разработку систем предотвращения
возникновения пожара и противопожарной защиты;
Мероприятия по предупреждению и
ликвидации последствий кризисных (чрезвычайных) ситуаций на воздушном
транспорте осуществляются в соответствии с планами готовности (планами действий
в кризисных ситуациях), которые разрабатываются правительством, специально
уполномоченными органами государства в области транспорта и в области
воздушного транспорта, а также подведомственными учреждениями и организациями,
осуществляющими авиационную деятельность.
Для ликвидации кризисных
(чрезвычайных) ситуаций формируются резервы финансовых и материальных ресурсов.
Создание, использование и восполнение указанных резервов финансовых и
материальных ресурсов осуществляются в порядке, предусмотренном
нормативно-правовыми актами государства, субъектов государства и органов
местного самоуправления.
разработку
организационно-технических мероприятий по обеспечению пожарной безопасности.
.1 Регламентирующая документация в
области пожарной безопасности
Основным документом в области
пожарной безопасности является федеральный закон * Технический регламент о
требованиях пожарной безопасности* Принят Государственной Думой 4 июля 2008
года Одобрен Советом Федерации 11 июля 2008 года.
Настоящий Федеральный закон
принимается в целях защиты жизни, здоровья, имущества граждан и юридических
лиц, государственного и муниципального имущества от пожаров, определяет
основные положения технического регулирования в области пожарной безопасности и
устанавливает общие требования пожарной безопасности к объектам защиты
(продукции), в том числе к зданиям, сооружениям и строениям, промышленным
объектам, пожарно-технической продукции и продукции общего назначения.
Федеральные законы о технических регламентах, содержащие требования пожарной
безопасности к конкретной продукции, не действуют в части, устанавливающей
более низкие, чем установленные настоящим Федеральным законом, требования
пожарной безопасности.
Положения настоящего Федерального
закона об обеспечении пожарной безопасности объектов защиты обязательны для
исполнения при:
) проектировании, строительстве,
капитальном ремонте, реконструкции, техническом перевооружении, изменении
функционального назначения, техническом обслуживании, эксплуатации и утилизации
объектов защиты;
) разработке, принятии, применении и
исполнении федеральных законов о технических регламентах, содержащих требования
пожарной безопасности, а также нормативных документов по пожарной безопасности;
) разработке технической
документации на объекты защиты.
В отношении объектов защиты
специального назначения, в том числе объектов военного назначения, объектов
производства, переработки, хранения радиоактивных и взрывчатых веществ и
материалов, объектов уничтожения и хранения химического оружия и средств
взрывания, наземных космических объектов и стартовых комплексов, горных выработок,
объектов, расположенных в лесах, наряду с настоящим Федеральным законом должны
соблюдаться требования пожарной безопасности, установленные нормативными
правовыми актами Российской Федерации.
Техническое регулирование в области
пожарной безопасности ядерного оружия и связанных с ним процессов разработки,
производства, эксплуатации, хранения, перевозки, ликвидации и утилизации его
составных частей, а также в области пожарной безопасности зданий, сооружений,
строений, объектов организаций ядерного оружейного комплекса Российской
Федерации устанавливается законодательством Российской Федерации.
Правовой основой технического
регулирования в области пожарной безопасности являются Конституция Российской
Федерации, общепризнанные принципы и нормы международного права, международные
договоры Российской Федерации, Федеральный закон "О техническом
регулировании", Федеральный закон "О пожарной безопасности" и
настоящий Федеральный закон, в соответствии с которыми разрабатываются и
принимаются нормативные правовые акты Российской Федерации, регулирующие
вопросы обеспечения пожарной безопасности объектов защиты (продукции).
Техническое регулирование в области
пожарной безопасности представляет собой:
) установление в нормативных
правовых актах Российской Федерации и нормативных документах по пожарной
безопасности требований пожарной безопасности к продукции, процессам
проектирования, производства, эксплуатации, хранения, транспортирования,
реализации и утилизации;
) правовое регулирование отношений в
области применения и использования требований пожарной безопасности;
) правовое регулирование отношений в
области оценки соответствия.
К нормативным документам по пожарной
безопасности относятся национальные стандарты, своды правил, содержащие
требования пожарной безопасности (нормы и правила).
Вывод: к нормативным правовым актам
Российской Федерации по пожарной безопасности относятся федеральные законы о
технических регламентах, федеральные законы и иные нормативные правовые акты
Российской Федерации, устанавливающие обязательные для исполнения требования
пожарной безопасности. На существующие здания, сооружения и строения,
запроектированные и построенные в соответствии с ранее действовавшими
требованиями пожарной безопасности, положения настоящего Федерального закона не
распространяются, за исключением случаев, если дальнейшая эксплуатация
указанных зданий, сооружений и строений приводит к угрозе жизни или здоровью
людей вследствие возможного возникновения пожара. В таких случаях собственник
объекта или лицо, уполномоченные владеть, пользоваться или распоряжаться
зданиями, сооружениями и строениями, должны принять меры по приведению системы
обеспечения пожарной безопасности объекта защиты в соответствие с требованиями
настоящего Федерального закона.
. Противопожарные расстояния от
резервуаров сжиженных углеводородных газов, размещаемых на складе организации,
общей вместимостью до 10000 кубических метров при хранении под давлением или
вместимостью до 40000 кубических метров при хранении изотермическим способом до
других объектов, как входящих в состав организации, так и располагаемых вне
территории организации, приведены в таблице 17 приложения к настоящему
Федеральному закону.
. Противопожарные расстояния от
отдельно стоящей сливоналивной эстакады до соседних объектов, жилых домов и
общественных зданий, сооружений и строений принимаются как расстояния от
резервуаров сжиженных углеводородных газов и легковоспламеняющихся жидкостей
под давлением.
.2 Необходимость создания
ведомственной пожарной охраны в аэропорту
Федеральные органы исполнительной
власти, организации в целях обеспечения пожарной безопасности могут создавать
органы управления и подразделения ведомственной пожарной охраны. Порядок
организации, реорганизации, ликвидации органов управления и подразделений
ведомственной пожарной охраны, условия осуществления их деятельности, несения
службы личным составом определяются оответствующими положениями, согласованными
с Государственной противопожарной службой.
Основными задачами ведомственной
пожарной охраны СПАСОП ФАС России являются:
организация контроля и осуществление
мероприятий по противопожарному обеспечению полетов воздушных судов;
организация работы и ведомственный
контроль по обеспечению пожарной безопасности охраняемых объектов и воздушных
судов при техническом обслуживании;
организация профессиональной
подготовки пожарно-спасательных расчетов;
тушение пожаров и проведение
связанных с ними аварийно-спасательных и противопожарных работ.
Основными функциями ведомственной
пожарной охраны СПАСОП ФАС России являются:
разработка и согласование проектов
инструкций и иных, необходимых организационно-распорядительных документов по
вопросам обеспечения пожарной безопасности охраняемых объектов;
. проведение обследований и целевых
проверок противопожарного состояния охраняемых объектов;
проведение практических занятий с
личным составом пожарно-спасательных расчетов;
. разработка оперативных планов
действий пожарно-спасательных расчетов по тушению пожаров на воздушных судах,
участие в подготовке планов ликвидации аварий и аварийных ситуаций на
охраняемых объектах;
. проверка внутреннего и наружного
водоснабжения на территории авиационных предприятий;
участие в обучении работников
авиационных предприятий, в том числе временно работающих, а также добровольных
пожарных, мерам пожарной безопасности и действиям при пожаре;
взаимодействие пожарно-спасательных
расчетов ВПО СПАСОП ФАС России с подразделениями государственной
противопожарной службы (ГПС) МВД России, а также других ведомств по совместным
действиям при ликвидации пожаров и проведении аварийно-спасательных работ,
должны быть определены на основе соглашений, планов и договоров.
Ответственным руководителем
аварийно-спасательных работ при авиационных и чрезвычайных происшествиях па
воздушных судах на территории и в районе ответственности аэропорта является
сменный заместитель руководителя авиационного предприятия или другое
должностное лицо, назначенное приказом руководителя авиационного предприятия;
разработка типовых программ
подготовки личного состава ВПО СПАСОП ФАС России и согласование их с ГПС МВД
России;
. участие в испытаниях и освоении
новых аварийно-спасательных и противопожарных средств и техники;
подготовка необходимой документации
в части противопожарного обеспечения полетов для сертификации авиационных
предприятий;
представление в установленном
порядке статистической отчетности о пожарах на объектах авиационных предприятий
в Главное управление государственной противопожарной службы МВД России.
Вывод: создание ведомственной
пожарной охраны в аэропорту является необходимостью и соответствует положениям
приказа Федеральной авиационной службы РФ от 11.12.1998г N 361/
.3 Задачи, выполняемые пожарной
охраной в аэропорту
Задачей в области пожарной охраны
аэропортов и объектов их инфраструктуры является предотвращение пожаров зданий
и транспортных средств, контроль за взрывчатыми веществами и других опасных
устройств, предметов, веществ на территорию аэропортов. В документе сообщается,
что в целях осуществления охраны периметра аэропорта устанавливается
ограждение, а также организуются контрольно-пропускные пункты. Ограждение
аэропорта оборудуется инженерно-техническими системами, обеспечивающими
воспрепятствование несанкционированному проникновению лиц и транспортных
средств на территорию аэропорта. Пропуск лиц, транспортных средств на
территорию аэропорта через контрольно-пропускные пункты осуществляется только
после: идентификации личности и транспортного средства; установления
действительности оснований для прохода (проезда) на территорию аэропорта;
проведения досмотра с использованием досмотровых средств. Контрольно-пропускные
пункты в международных аэропортах оборудуются инженерно-техническими системами,
обеспечивающими: а) предотвращение несанкционированного прохода (проезда) лиц,
проноса оружия, взрывчатых веществ и других опасных устройств, предметов,
веществ на территорию аэропорта; б) воспрепятствование проходу (проезду) лица и
(или) транспортного средства через контрольно-пропускной пункт до завершения
идентификации личности, транспортного средства и проверки действительности
оснований для прохода (проезда) на территорию аэропорта; в) идентификацию лиц
по документам, удостоверяющим личность; г) идентификацию транспортных средств
по государственным номерным знакам или иным идентификационным номерам, а также
по документам на транспортное средство установленного образца; д) осуществление
досмотра лиц, а также транспортных средств. На территории международного
аэропорта создаются непрерывно функционирующие посты (пункты) управления
охраной аэропорта и объектов его инфраструктуры, оборудованные техническими
средствами для сбора, обработки и хранения в электронном виде данных со всех
инженерно-технических систем охраны, с автоматической передачей этих данных в
режиме реального времени органам федеральной службы безопасности и органам
внутренних дел РФ, а также Федеральной службе по надзору в сфере транспорта
(Ространснадзор).
3. Совершенствование мероприятий по
пожарной безопасности в аэропорту
Противопожарная защита - комплекс
дополнительных технических и организационных мероприятий, обеспечивающих
повышенную устойчивость объекта к развитию пожара в крупномасштабную аварию,
связанную с выходом в селитебную зону.
Повышенная устойчивость объекта к
развитию пожара достигается за счет уменьшения пожарной опасности очага пожара
и (или) повышения тактико-технических возможностей подразделений пожарной
охраны предприятия нефтепродуктообеспечения, исходя из условия локализации, а
затем и ликвидации пожара, развивающегося по наиболее неблагоприятному
сценарию.
Эффективность повышения тактико-технических
возможностей подразделения пожарной охраны предприятия нефтепродуктообеспечения
может быть достигнута за счет применения следующих современных средств и систем
пожаротушения:
подслойного тушения (СПТ) пожаров в
резервуарах со стационарной крышей (прил. 6) и в пространстве между резервуаром
и специально установленной защитной стеной, рассчитанной на удержание жидкости
в случае полного разрушения резервуара:
снижения опасности процесса
испарения аварийно пролитых из резервуара нефтепродуктов;
эжекционных генераторов
высокократной пены;
пленкообразующих пенообразователей
типа "Легкая вода".
Расчет преобразователя должен быть
определен для наиболее неблагоприятного сценария развития пожара с учетом его
трехкратного запаса.
Тактико-технические возможности
пожарной охраны объекта должны обеспечивать возможность тушения пожара в
резервуаре наибольшей вместимости.
Расчетную продолжительность боевых
действий пожарных подразделений при тушении пожара в резервуарном парке следует
принимать равной 6 ч.
Неиспользуемая емкость резервуарного
парка может быть заполнена водой для целей пожаротушения.
В качестве дополнительных мер,
обеспечивающих защиту наземных резервуаров от тепловой энергии пожара, следует
рассматривать:
оборудование стационарными системами
охлаждения резервуаров, конструкция которых не должна иметь жестких связей с
корпусом резервуара и иметь дополнительные вводы с противоположных сторон
обвалования для подачи воды от передвижной пожарной техники;
устройство дополнительного
внутреннего обвалования в группе между резервуарами; установку на
дополнительном внутреннем обваловании роботизированных стволов или установку на
внешнем обваловании комбинированных гидромониторов, обеспечивающих кроме подачи
воды на охлаждение резервуаров подачу пены низкой кратности для снижения
интенсивности испарения или тушения пожара.
Зашита от разгерметизации фланцевых
соединений коренных задвижек должна осуществляться за счет одного из следующих
технических решений:
применения огнестойкого покрытия,
обеспечивающего предел огнестойкости до разгерметизации не менее 1 ч;
устройства системы локального
орошения коренных задвижек, основные параметры которой могут быть определены по
"Рекомендациям ВНИИПО по расчету стационарных систем аварийного охлаждения
колонных аппаратов, нагревающихся в условиях пожара".
Как временная мера защиты от
разгерметизации фланцевых соединений до выполнения одного из вышеуказанных
требований допускается установка над коренными задвижками резервуаров
металлических козырьков или других устройств, обеспечивающих предотвращение
фонтанирования при разгерметизации в условиях пожара.
Вывод: для своевременного тушения
пожара в аэропорту очень важно своевременно устанавливать современные средства
пожаротушения Противопожарную защиту насосной целесообразно осуществлять с
использованием эжекционных пеногенераторов, обеспечивающих подачу пены
кратностью 700-800 без принудительного наддува воздуха от электровентиляторов.
Огнетушащая эффективность пены
высокой кратности сохраняется, несмотря на возникающие и процессе пожара или
взрыва сквозные проемы.
На сливоналивных эстакадах
целесообразно предусматривать стационарную установку комбинированных
гидромониторов со специальными насадками, которые обеспечивают образование
компактных водяных и расширенных струй низкократной пены.
Линия подачи водного раствора
пенообразователя оборудуется пеносмесителем эжекционного типа для забора из
передвижной емкости пенообразователя.
При пожаре до подвода
пенообразователя гидромониторы используют для подачи компактных струй воды на
охлаждение.
Для защиты сгораемых конструкций
зданий и сооружений, расположенных на селитебной территории в зоне воздействия
опасной тепловой энергии пожара, последние могут быть защищены дренчерными
завесами с внешней стороны, т.е. со стороны воздействия тепла пожара.
.1 Меры по повышению эффективности
пожарной безопасности
В число предупредительных
мероприятий могут быть включены мероприятия, направленные на устранение причин,
которые могут вызвать пожар (взрыв), на ограничение (локализацию)
распространения пожаров, создание условий для эвакуации людей и имущества при
пожаре, своевременное обнаружение пожара и оповещение о нем, тушение пожара,
поддержание сил ликвидации пожаров в постоянной готовности.
Соблюдение технологических режимов
производства, содержание оборудования, особенно энергетических сетей, в
исправном состоянии позволяет, в большинстве случаев, исключить причину
возгорания.
Своевременное обнаружение пожара
может достигаться оснащением производственных и бытовых помещений системами
автоматической пожарной сигнализации или, в отдельных случаях, с помощью
организационных мер.
Первоначальное тушение пожара (до
прибытия вызванных сил) успешно проводится на тех объектах, которые оснащены
автоматическими установками тушения пожара.
Спасание экипажа и пассажиров
воздушного судна при пожаре будет наиболее успешным, если время прибытия ПСР и
ликвидация пожара будут минимальными. Это достигается регулярным проведением
занятий и тренировок, максимально приближенных к реальным условиям.
Пожарная техника и личный состав ПСР
в аэропорту размещаются на аварийно-спасательных станциях (АСС). Место
расположения станций обеспечивает прибытие расчетов к торцам взлетной полосы за
время, не превышающее 3 мин. Кроме того, АСС имеют наблюдательную вышки,
дежурные помещения - устойчивую связь со службами аэропорта.
В аэропорту требуется разработать
план тушения пожаров на воздушных судах.
План согласовывается начальником
УГПС УВД региона. Примерный план содержит следующие разделы:
. Характеристика аэропорта (данные
об удаленности от ближайших частей МВД, время их прибытия), характеристика
водопровода, характеристика дорог, краткие характеристики воздушных судов,
эксплуатирующихся на данном аэродроме.
. Пожарная охрана. В нем дается
характеристика пожарной охраны, технических средств и огнетушащих составов,
имеющихся на вооружении аэропорта.
. Расчет сил и средств сводится к
определению следующих параметров: - требуемого расхода раствора
пенообразователя, л/с;
тр =S* h
где S - критическая площадь пожара,
в зависимости от размеров самолета,м2; нормативная интенсивность для пены
низкой кратности принимается равной 0,137 л/(мс).тр - требуемое количества
раствора пенообразователя для тушения пожара, л:
"=q:/p=s:j„t,
где - t-расчетное время тушения,
равное 3 мин.
Количество пожарных автомобилей N
определяется из условий обеспечения требуемого расхода раствора и количество
пенообразователя вывозимого к месту пожара.
Вывод: важная роль при тушении
пожаров воздушных судов отводится разведке пожара. Разведка пожара должна
начинаться еще при движении пожарных автомобилей к месту происшествия. При этом
определяются следующие основные факторы: место и характер пожара, наличие людей
и степень угрозы им, размер пожара, направление распространения огня, место
наибольшей угрозы пожара для фюзеляжа, а также влияние метеоусловий на развитие
пожара.
Все силы и средства должны быть
сконцентрированы на решающем направлении. В начальной стадии решающим
направлением является локализация за минимальное время пожара авиатоплива,
разлитого под фюзеляжем и плоскостью крыша, а также создание эвакуационных
проходов для эвакуации людей из воздушного судна.
Одновременно с тушением необходимо
обеспечить охлаждение фюзеляжа и крыла самолета пеной или раствором
пенообразователя. Интенсивность подачи раствора на охлаждение 0,2(л/см). На
начальном этапе тушения охлаждение целесообразно производить из лафетных
стволов пожарных автомобилей, подавая огнетушащее средство на нижние
поверхности крыла и фюзеляжа самолета.
При тушении розлива (рис. 12.11)
авиатоплива подачу струй огнетушащего состава целесообразно производить под
острым углом к горящей поверхности, под основание пламени, "подрезая"
его. Тушение истекающего топлива из разрушенных баков и коммуникаций начинают с
тушения площади, куда истекает струя, а затем огнетушащую струю переводят
непосредственно на струю истекающего топлива и начинают маневрирование по струе
снизу вверх, доводя процесс до тушения. При этом поверхность земли в месте истечения
струи должна находиться постоянно под контролем огнетушащего состава, чтобы
исключить повторные воспламенения. Кроме основного огнетушащего вещества - пены
низкой кратности - розлив ЛВЖ и ГЖ можно тушить комбинированным способом,
используя порошок и пену. Первоначально в зону горения подается порошок.
Образуется порошковое облако, которое прекращает объемное горение. После подачи
порошка необходимо сразу же подать пену низкой кратности для изоляции и
охлаждения очага горения.
3.2 Современные технические средства
и технологии по пожарной безопасности
Противопожарное водоснабжение
предприятий обеспечивается системой противопожарного водопровода, который
объединяется с хозяйственно-питьевым или производственным водопроводом.
Водопроводные сети устраиваются, как правило, кольцевыми. Тупиковые водопроводы
могут иметь длину не более 200м. Забор воды из подземной водопроводной сети для
наружного тушения пожара осуществляется через пожарные гидранты,
устанавливаемые в колодцах. Пожарные гидранты располагают вдоль дорог на
расстоянии не более 2,5м от края проезжей части, не дальше 20м и не ближе 5м от
стен здания. На расстоянии меньше 5м от пожарного гидранта не допускается
стоянка автотранспорта. Указатель гидранта должен быть световым или
флуоресцентным с нанесением буквенного индекса ПГ, цифровых значений расстояния
в метрах от указателя до гидранта и внутреннего диаметра трубопровода в
миллиметрах.
Необходимость устройства внутреннего
противопожарного водопровода в зданиях и помещениях, а также расходы воды на
пожаротушение определяются в зависимости от их назначения, объема и высоты. В
зданиях магазинов и предприятий общественного питания объемом от 5000 до
25000м3 включительно предусматривается одна струя с расходом воды 2,5л/с. При
большем объеме этих зданий требуются две струи с расходом воды по 2,5л/с.
Внутренний противопожарный трубопровод не предусматривается в отдельно стоящих
и встроенных в здания иного назначения магазинах и предприятиях общественного
питания объемом до 5000м3.
Забор воды из внутреннего
трубопровода для тушения пожара в здании осуществляется через пожарные краны.
Они устанавливаются на высоте 1,35м от пола возле входов - входов на площадках
отапливаемых лестничных клеток, в вестибюлях, коридорах, проходах и других
доступных местах. Каждый пожарный кран, снабженный пожарным рукавом длиной 10
или 20м и стволом, устанавливается в шкафчике. На шкафчике должны быть надпись
ПК, порядковый номер крана, номер телефона ближайшей пожарной части. Внутренний
противопожарный водопровод и пожарные краны через каждые 6 месяцев должны
подвергаться техническому обслуживанию и проверяться на работоспособность
посредством пуска воды. Результаты техобслуживания и проверки их регистрируются
в специальном журнале.
На всех предприятиях, базах и
складах и других зданиях аэропорта должны быть в необходимом количестве
первичные средства пожаротушения, предназначенные для борьбы с огнем в
начальной стадии пожара. К таким средствам относятся огнетушители. Ручные
огнетушители - это сосуды разного объема, наполненные огнетушащими веществами и
имеющие приспособления для разбрызгивания или распыления этих веществ в очаге
горения. Имеются в обращении огнетушители следующих типов: ОВ (водяные), ОВП
(водопенные), ОВПА (водопенные аэрозольные), ОУК (углекислотные), ОП (порошковые).
После обозначения типа огнетушителя проводится цифра, которая обозначает массу
содержащегося в нем огнетушащего вещества в килограммах. Цифра после
обозначения аэрозольного водопенного огнетушителя обозначает массу в нем
огнетушащего вещества в граммах.
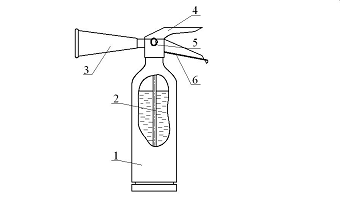
Огнетушитель водопенный
унифицированный, например ОВП-10 (рис.1) предназначен для тушения пожаров
классов А и В - соответственно, ОВП-10А и ОВП-10В.
Рис.1
Огнетушитель ОВП-10
- корпус - сосуд с раствором пенообразователя,
- пеногенератор,
- рычаг запорно-пускового
устройства,
- сифонная трубка,
- шланг,
- горловина,
- головка,
- пробойник,
- мембрана,
- баллон со сжатым воздухом,
- рукоятка
Он не применяется для тушения
загораний щелочных и щелочноземельных металлов, других материалов, горение
которых может происходить без доступа кислорода, а также электрооборудования,
находящегося под напряжением.
В этом огнетушителе в качестве
огнетушащего вещества используется 5%-ный раствор пенообразователя (ПО-6К или ПО-ЗАИ),
в качестве энергоносителя - сжатый воздух. Раствор пенообразователя находится в
сосуде, сжатый воздух - в баллоне. Для приведения огнетушителя в действие
извлекают предохранительную чеку, фиксирующую положение пробойника относительно
головки, и ударом ладони перемещают пробойник внутрь сосуда. При этом пробойник
прокалывает острым концом мембрану, герметизирующую баллон со сжатым воздухом.
Вследствие этого сжатый воздух (масса его 35...40г) поступает в сосуд
огнетушителя, создает в нем избыточное давление 1,0...1,3МПа, под действием
которого раствор пенообразователя вытесняется в пеногенератор. Образующаяся в
пеногенераторе пена вытесняется под давлением наружу в виде компактной струи
длиной не менее 4,5м. Управление работой огнетушителя осуществляется путем
нажатия на рычаг запорно-пускового устройства. При тушении пожара огнетушитель
удерживают за ручку и пеногенератор. Продолжительность действия этого
огнетушителя не менее 40с.
Углекислотные огнетушители ОУК -
(рис.2,3) применяются для тушения загораний в электроустановках, находящихся
под напряжением, а также тушения горящих материалов, которые могут быть
испорчены водой, пеной и другими веществами. Эти огнетушители различной емкости
заполняются углекислотой под давлением 5,7МПа.
Рис. 2.
Огнетушитель углекислотный с
запорным вентилем
- корпус, 2 - сифонная трубка, 3 -
рукоятка, 4 - вентиль, 5 - маховичок, 6 - раструб-снегообразователь
Работа углекислотного огнетушителя
основана на вытеснении заряда диоксида углерода под действием соответственного
избыточного давления, которое задается при его заполнении.
Рис. 3.
Огнетушитель углекислотный с
запорно-пусковым устройством
- корпус,
- сифонная трубка,
- раструб-снегообразователь,
- рычаг запорно-пускового
устройства,
- предохранительная чека,
- ручка для переноски
Для приведения огнетушителя в
действие необходимо направить раструб-снегообразователь на очаг горения и
медленно поворачивать маховичок вентиля против часовой стрелки, в углекислотных
огнетушителях с запорно-пусковым устройством необходимо поджать его подвижный
рычаг к рукоятке удержания их корпуса. При этом углекислота поступает по
сифонной трубке в раструб, где превращается в снегообразную массу (температура до
-70оС). В зависимости от емкости баллона время действия углекислотных
огнетушителей 25...40с, полезная длина струи 1,5...3,5м.
В углекислотно-бромэтиловых
огнетушителях (ОУБ-3 и ОУБ-7) заряд состоит из бромистого этила (97%) и
углекислоты (3%). Рабочее давление в корпусе огнетушителя для выброса заряда
создается сжатым воздухом. Эти огнетушители предназначены для тушения небольших
пожаров, а также электроустановок под напряжением.
Огнетушитель порошковый, например,
ОП-10 (рис.4) предназначен для тушения пожаров классов А, В, С, а также
загораний в электроустановках, находящихся под напряжением до 1140В.
Рис.4 Огнетушитель ОП-10
- корпус - сосуд с порошком,
-мембрана эластичная,
- вспушиватель,
- сифон,
- рукоятка,
- рычаг,
- пробойник,
- клапан,
- головка,
- шланг,
- баллон со сжатым воздухом,
- насадок,
- фиксатор насадка
Он не применяется для тушения
загораний щелочных и щелочноземельных металлов и других материалов, горение
которых может происходить без доступа кислорода. В этом огнетушителе в качестве
огнетушащего вещества используется порошок марки П-2АП в качестве
энергоносителя - сжатый воздух. Порошок находится в сосуде, сжатый воздух - в
баллоне. Для приведения огнетушителя в действие извлекают предохранительную
чеку, фиксирующую положение пробойника относительно головки, и ударом ладони
перемещают пробойник внутрь сосуда. При этом пробойник прокалывает острым
концом мембрану, герметизирующую баллон со сжатым воздухом.
Вследствие этого сжатый воздух
(масса его 65...70г) поступает через вспушиватель в полость мембраны и затем -
в массив порошка и в зазор между днищем сосуда и мембраной. В сосуде происходит
механическое рыхление порошка колеблющейся мембраной и равномерное
псевдоожижение его потоками воздуха.
Псевдоожиженный порошок под
давлением воздуха 1,0...1,4МПа поступает в сифон. Удерживая огнетушитель одной
рукой за рукоятку и подпружиненный рычаг, направляют другой рукой насадок на
очаг горения. Путем прижатия усилием руки рычага к рукоятке открывают клапан в
запорной головке. Имеется модификация этого порошкового огнетушителя,
управление работой которого осуществляется нажатием на рычаг запорно-пускового
устройства, расположенного в насадке. При этом воздушно-порошковая смесь
вытесняется из сосуда через насадок на очаг горения. Минимальная длина струи
огнетушащего вещества 4,5м. Продолжительность действия огнетушителя не менее
15с.
В обращении имеются порошковые
закачные огнетушители (ОП-1(з), ОП-2(з), ОП-5(з), ОП-10(з)), отличающиеся тем,
что в корпусе их находятся без разделения огнетушащий порошок и сжатый воздух,
давление которого регистрируется манометром, расположенным перед
запорно-пусковым устройством. Стрелка манометра должна находиться в зеленом
секторе шкалы. При нажатии на рычаг запорно-пускового устройства сжатый воздух
выбрасывает из корпуса огнетушителя огнетушащий порошок.
Для указания местонахождения
пожарной техники и огнетушащих средств используются указательные знаки согласно
ГОСТ 12.4.026-76, которые размещают на видных местах на высоте 2...2,5м.
Выбор типа и необходимого количества
огнетушителей определяются согласно Типовым нормам размещения огнетушителей,
утвержденным приказом Министерства Украины по вопросам чрезвычайных ситуаций и
в делах защиты населения от последствий Чернобыльской катастрофы от
02.04.2004г. №151. Внутри зданий огнетушители устанавливают возле пожарных
кранов, а также на видных и доступных местах (в коридорах, вестибюлях, на
площадках лестничных клеток, возле выходов из помещений) на высоте не более
1,5м (от уровня пола до нижнего торца огнетушителя) и на расстоянии от дверей,
достаточном для их полного открытия. Расстояние между огнетушителями не должно
превышать: 15м - для помещений категорий А, Б, В (горючие газы и жидкости); 20м
- для помещений категорий В, Г.
Критериями выбора типа и
необходимого количества огнетушителей для защиты объекта являются: уровень его
пожарной опасности; класс пожара имеющихся в нем горючих веществ и материалов;
категория помещения по взрывопожарной или пожарной опасности; площадь его. Так,
например, в производственных и складских зданиях, помещениях промышленных
предприятий при размещении в них производств категорий А, Б, В (с наличием
горючих газов и жидкостей), площади больше 250 - до 500м2 необходимо
использовать один из вариантов установки огнетушителей: 8 порошковых
огнетушителей с зарядом огнетушащего вещества 5 или 6кг (ОП-5 или ОП-6); 6
таких огнетушителей с зарядом 8 или 9кг (ОП-8 или ОП-9); 4 огнетушителя с
зарядом 12кг (ОП-12). Необходимо предусматривать по одному углекислотному
огнетушителю с величиной заряда огнетушащего вещества 3кг и более (ОУК-3,5,
ОУК-5) на 20м2 площади пола электрощитовых, офисных помещений с ПЭВМ,
вентиляционных камер и других технических помещений. Помещения, в которых
размещены ПЭВМ, необходимо оснащать переносными углекислотными огнетушителями
из расчета: один огнетушитель ОУК-1,4 или ОУК-2 или один ОВПА-400 на три ПЭВМ,
но не меньше чем один огнетушитель указанных типов на помещение. Общественные и
административно-бытовые помещения на каждом этаже должны иметь не меньше двух
переносных (порошковых, водопенных или водяных) огнетушителей с массой заряда
огнетушащего вещества 5кг и больше (ОП-5, ОВП-6, ОВ-5).
Нормы размещения огнетушителей для
производственных и складских помещений и помещений промышленных предприятий
приведены в таблицах 1-3 Приложения.
Эксплуатация и техническое
обслуживание огнетушителей должны осуществляться в соответствии с Правилами
эксплуатации огнетушителей, утвержденными приказом Министерства Украины по
вопросам чрезвычайных ситуаций и в делах защиты населения от последствий
Чернобыльской катастрофы от 02.04.2004г. №152, а также ДСТУ 4297-2004
„Техническое обслуживание огнетушителей. Общие технические требования”.
На территории предприятий первичные
средства пожаротушения (шанцевый инструмент, ведра, огнетушители) группируют на
специальных щитах. Щиты располагают так, чтобы каждый из них обслуживал группу
сооружений в радиусе не более 100м, хранилища с огнеопасными материалами - на
расстоянии 50м. Территорию предприятия обеспечивают пожарными щитами из расчета
1 щит на площадь до 5000м2. Средства пожаротушения окрашивают в красный цвет, а
надписи на них и поверхность щита должны быть белыми.
Автоматическое тушение пожара в
месте его возникновения и подачу сигнала пожарной тревоги обеспечивают
спринклерные и дренчерные установки, а также установки пенного, газового
(аэрозольного) и порошкового пожаротушения.
Спринклерная система представляет
собой совокупность водопитателей, сети труб, расположенных внутри помещения под
потолком, спринклерных головок (оросителей), контрольно-сигнального клапана и
сигнальных аппаратов. Спринклерные головки-оросители - автоматические
устройства, вскрывающиеся при повышении температуры в помещении. Под действием
высокой температуры (57, 72, 93, 141, 182 и 240°С) разрушается выносной легкоплавкий замок, запорное устройство -
клапан выпадает из спринклерной головки и находящееся в трубах огнетушащее
вещество разбрызгивает через открывшееся отверстие над очагом пожара.
Одновременно с этим подается сигнал тревоги. Спринклерные головки устанавливают
с таким расчетом, чтобы каждая орошала зону площадью 6...9м2.
Дренчерные установки представляют
собой систему трубопроводов, на которых расположены специальные
головки-дренчеры. Дренчеры не имеют замков, выходные отверстия у них постоянно
открыты. Поступлению огнетушащего вещества в сеть препятствует клапан,
удерживаемый в рабочем положении специальным тросом. Отрезки троса соединяются
легкоплавкими замками или легкосгораемыми вставками. При плавлении замка под
действием высокой температуры или сгорании вставки трос разрывается, клапан
открывается и огнетушащее вещество поступает к дренчерным головкам и
разбрызгивается над очагом горения. Дренчерные установки используются как для
тушения пожара, так и для создания водяных завес с целью изоляции очагов огня и
предотвращения его распространения. Дренчеры могут устанавливаться с внешней
стороны здания по его периметру, над оконными и дверными проемами.
Принципиальная схема установки
водяного пожаротушения представлена на рисунке 5.
В состоянии готовности сплинклерная
установка (рисунок 5а) находится под давлением, создаваемым автоматическим
водопитателем 16. При вскрытии спринклерного оросителя 1 давление в питательном
3 и распределительном 2 трубопроводах падает, вскрывается контрольно-сигнальный
клапан (КСК) 4, и по проводящему трубопроводу 13 из автоматического
водопитателя 16 вода поступает через вскрывшиеся спринклерные оросители 1 к
месту тушения пожара. Одновременно вода поступает к сигнальному прибору 6,
который выдает сигнал о срабатывании контрольно-сигнального клапана. Командный
импульс от сигнального прибора 6 поступает на включение основного
водопитателя-насоса 14, который забирает воду из водоисточника и подает в
сплинклерную сеть. При работе насоса 14 обратный клапан 21 отключает
автоматически водопитатель 16 от сети. Заполнение водой автоматического
водопитателя 16 осуществляется по специальному водопроводу 19, воздух в него
подкачивает компрессор 17. При работе автоматического водопитателя 16 обратный
клапан 15 отключает насос 14 от сети.
Рис 5. Схема установки водяного
пожаротушения
В дренчерной установке (рисунок 5б)
побудительная система 20 находится под давлением, создаваемым автоматическим
водопитателем 16. При этом распределительный 2 и питательный 3 трубопроводы
сообщаются с атмосферой. В случае пожара распадаются легкоплавкие замки 8
троссовой побудительной системы. При этом из побудительного клапана 10
троссовой системы выходит воздух, что приводит к падению давления в
побудительной системе. Давление в побудительном трубопроводе 20 падает также
при ручном включении установки поворотом крана 11. Вследствие этого вскрывается
клапан группового действия (КГД) 12, и вода из автоматического водопитателя 16
по подводящему 13, питательному 3 и распределительному 2 трубопроводам
поступает к дренчерным оросителям 7. При этом срабатывает сигнальный прибор 6,
что вызывает автоматическое включение основного водопитателя - насоса 14,
который забирает воду из водоисточника и подает ее в дренчерную сеть.
Принципиальная схема пенной
спринклерной системы приведена на рис.6. В случае пожара расплавляется тепловой
замок пенного оросителя 1, и пенообразующий раствор поступает через обратный
клапан 4 и запорно- пусковой узел 3 из автоматического питателя - пневмобака 5
в питательный трубопровод 2, к оросителям 1, в которых образуется воздушно-
механическая пена. После понижения давления в емкости автоматического питания 5
до определенной величины включается насос 8, подающий воду из основного
водопитателя 9 в магистраль 6 и питательный трубопроводы 2. При этом
автоматический питатель 5 отключается, и в магистральный трубопровод 6, в
котором насосом 8 создается давление воды, из дозирующего устройства 7 подается
пенообразователь. Образующийся в трубопроводах раствор поступает к пенным
оросителям 1.
Рис.6. Схема пенной спринклерной
установки
Для тушения пожаров внутри помещений
могут быть использованы автоматические газовые и порошковые установки.
В установках газового пожаротушения
используют в основном диоксид углерода. Углекислота применяется для тушения
пожаров в электроустановках под напряжением, в вычислительных центрах, складах
пищевых продуктов, производственных помещениях с огнеопасными жидкостями.
Принципиальная схема установки
газового пожаротушения с тросовым пуском приведена на рисунке 7. Установка
состоит из двух 40-литровых баллонов 1 (первый - рабочий, другой резервный) с
запорно-пусковой головкой 4 типа ГЗСМ и коллектора 3 с распределительным трубопроводом
6, оборудованным выпускными насадками 5. Под потолком защищаемого помещения
натягивается трос 9 длиной не более 15 метров с легкоплавкими замками 8.
Расстояние между замками до 4м. но в любом случае в помещении должно быть не
менее 2-х замков. Один конец троса удерживает рычаг 11, к которому подвешен
груз 12 массой 10кг. К грузу прикреплен малый трос 10, второй конец которого
соединен с рычагом 2 для ручного пуска установки. Дистанционное включение ее
осуществляется с помощью рычага 14, зуб которого входит в зацепление со
звездочкой 13 барабана, имеющего витки троса-удлинителя. При повышении
температуры в защищаемом помещении до температуры плавления припоя замка 8
(обычно 72оС) замок распадается, и трос 9 перестает удерживать рычаг 11 с подвешенным
грузом 12. Под действием груза 12 связанный с ним малый трос 10 поворачивает
рычаг запорной головки 4, открывая отверстия для выхода огнетушащего средства
из баллона 1 в коллектор 3 и далее в распределительную сеть 6 и защищаемое
помещение. Дистанционное включение рабочего баллона можно осуществлять
поворотом рычага 14. При этом зуб рычага выходит из зацепления со звездочкой 13
барабана троса-удлинителя, трос 9 ослабляется, и установка срабатывает так же,
как и при расплавлении замка. Автоматически или дистанционно включается только
рабочий баллон, резервный баллон включают в ручную или при помощи ручки 2.
Рис. 7.
Схема установки газового
или аэрозольного пожаротушения с тросовым пуском
пожарная безопасность
аэропорт
Стационарные установки
порошкового пожаротушения предназначены для тушения пожаров и загораний
спиртов, нефтепродуктов, щелочных металлов, других горючих материалов, а также
различных установок, в том числе находящихся под напряжением до 1000В.
Рис. 8.
Схема УПМ на базе
огнетушителей ОПА-100 модульного типа с централизованным источником рабочего
газа
УПМ на базе
огнетушителей с центрированным источником рабочего газа включает: узел хранения
сжатого газа - баллоны 4, оборудованные запорно-пусковой арматурой 14;
установку автоматической пожарной сигнализации 2 с пожарными извещателями 1 и
устройством звуковой сигнализации 3; коллектор 5 для подачи сжатого газа к
огнетушителям; набор необходимого количества огнетушителей 6…9;
распределительную сеть 11 с распылителями 12; устройство ручного пуска 13.
При появлении пламени и
повышении температуры в защищаемом помещении срабатывает извещатель 1
автоматической пожарной сигнализации, что вызывает электропуск установки пожаротушения:
газ из баллонов 4 поступает в огнетушители 6…9, вытесняя из них порошок через
распределительную сеть 11 и распылители 12 в очаг горения.
Приказом МВД Украины 20
ноября 1997г. №779 утвержден и введен в действие Перечень однотипных по
назначению объектов, которые подлежат оборудованию автоматическими установками
пожаротушения и пожарной сигнализации. Перечень распространяется на здания и
помещения магазинов и предприятий общественного питания, в которых хранятся или
находятся в обращении горючие материалы. Автоматические установки пожаротушения
применяются: при торговой площади больше 3500м2 в двухэтажных зданиях магазинов
и их одноэтажных зданиях при размещении торговых залов в цокольных или
подвальных этажах; независимо от размеров торговой площади в зданиях магазинов
высотой в три этажа и выше, а также высотой в два этажа при размещении торговых
залов в цокольных или подвальных этажах.
Установками
автоматического пожаротушения должны быть оборудованы: помещения складов
горючих материалов площадью 1000м2 и больше, негорючих материалов в горючей
упаковке площадью 1500м2 и больше; такие же помещения площадью 700м2,
размещенные в подвалах; помещения для хранения шерсти не зависимо от площади;
складские помещения площадью 200м2 и больше для хранения смазочных материалов в
подвалах и цокольных этажах, а так же площадью 750м2 и больше для хранения
резино-технических изделий и шин; склады для хранения горючих и негорючих
грузов в горючей упаковке при высоте их хранения свыше 5,5м не зависимо от
площади. Спринклерные установки используются в универсальных магазинах с
торговыми залами общей площадью 3600м2 и более, а также в зданиях универсальных
магазинов в три этажа и более независимо от площади торговых залов.
Руководители предприятий
торговли, баз и складов несут ответственность за сохранность и правильную
эксплуатацию противопожарных систем и установок пожарной автоматики. Для лиц,
работающих в защищаемых установками помещениях, должны быть разработаны и
вывешены специальные инструкции.
К тушению пожара следует
приступать в начальном периоде, умело применяя огнегасительные средства.
К основным
огнегасительным средствам относятся: вода, водяной пар, инертные газы,
углекислый газ, пена: покрывала и песок.
Вода является одним из
наиболее распространенных огнегасительных средств. Обладая большой
теплоемкостью, вода отнимает от горящего вещества большое количество тепла,
понижая температуру поверхности этого вещества. ниже точки воспламенения.
Образующееся паровое облака не дает доступа кислороду к горящему веществу.
Кроме охлаждающего действия, вода под большим напором оказывает механическое
воздействие, сбивая частицы горящего вещества и проникая в глубь раскаленной
массы.
Однако вода не пригодна
для тушения следующих горящих веществ:
а) легковоспламеняющихся
(tвсп ≤ 120° С) не смешивающихся с водой жидкостей;
б) элементов, быстро
соединяющихся с кислородом (металлический натрий, калий);
в) карбидов, вступающих
в химическую реакцию с водой и выделяющих при этом взрывоопасные газы
(ацетилен, метан и др.);
г) металлов, нагретых до
температуры выше 1300° С, так как при этой температуре вода разлагается,
образуя гремучий газ;
д) электросетей и
установок, находящихся под напряжением, так как через струю воды может быть
поражение электрическим током.
Водяной пар и инертные
газы применяются для тушения любых загоревшихся веществ, которые находятся в
достаточно плотных закрытых помещениях. В среде (примерно 30% объема помещения)
водяного пара или инертных газов пожар прекращается в результате недостаточного
количества кислорода воздуха, поддерживающего горение.
Углекислый газ изолирует
горящие вещества от кислорода воздуха, в результате чего прекращается горение.
Тушение пожара
углекислым газом (углекислотой) производится преимущественно в закрытых
помещениях, при этом необходимо применять защиту органов дыхания.
Углекислота при переходе
из жидкого в газообразное состояние резко понижает температуру до -79° С
(образует снег) и расширяется в объеме (1 кг дает 509 л газа).
Углекислота является
плохим проводником электрического тока, поэтому широко применяется для тушения
загоревшейся электропроводки и электроустановок.
Вступая в
соприкосновение с другими предметами, углекислота не оставляет никаких
последствий (коррозии и др.).
Пена для тушения пожара
нашла широкое применение. Она получается в результате химической реакции
соединения серной кислоты с щелочным раствором двууглекислой соды.
Пена обволакивает
горящее вещество и прекращает к нему доступ кислорода, а также, обладая большой
поверхностью, отнимает тепло из зоны горения.
Пена является
эффективным средством тушения легковоспламеняющихся жидкостей, не оказывает
вредное воздействие на металлическое и другое оборудование.
Сухой, чистый и
просеянный песок тушит пожар почти так же, как водяной пар и инертные газы. При
забрасывании им горящего предмета происходят поглощение тепла и изоляции
горящей поверхности от кислорода воздуха.
Покрывала (асбестовые
полотна, брезент, кошма и др.) используются для тушения небольших горящих
поверхностей и горящей одежды человека. Здесь также преследуется изоляция
горящего вещества от доступа кислорода воздуха.
Противопожарный
инвентарь также имеет большое значение при тушении пожара, к нему относятся:
ведра, багры, топоры, лопаты и пр.
Противопожарный
инвентарь должен крепиться на щите, который устанавливается на стенах
промышленных зданий и в помещениях.
Для каждого взрыво- и
пожароопасного объекта, объектов с массовым пребыванием людей, помещения и
оборудования нормами пожарной безопасности Государственной противопожарной
службы НПБ 110-99 устанавливаются требования по защите их установками
обнаружения и тушения пожара.
По обязательному
требованию, предъявляемому к приборам и аппаратам систем автоматического
пожаротушения и пожарной сигнализации, устройствам и приборам систем
охранно-пожарной сигнализации, начнется их сертификация в области пожарной
безопасности.
Системы пожарной
сигнализации предназначены для обнаружения в начальной стадии пожара, передачи
тревожных извещений о месте и времени его возникновения и, при необходимости,
введения в действие автоматических систем пожаротушения и дымоудаления. Они
могут быть пожарные, реагирующие на первоначальные признаки пожара (дым, тепло,
пламя), и охранно-пожарные, совмещающие охранные (срабатывают на вскрытие
дверей, окон и т.п.) и пожарные функции.
Установки пожарной
сигнализации бывают (ГОСТ 12.4.009-83) на базе:
автоматических (дымовых,
тепловых, комбинированных и др.) пожарных извещателей;
ручных пожарных
извещателей;
автоматических и ручных
пожарных извещателей.
Основными элементами
систем пожарной сигнализации являются пожарные извещатели, приемно-контрольные
приборы, шлейфы пожарной сигнализации, приборы управления, оповещатели, системы
передачи извещений, ретрансляторы, пультовые оконечные устройства, пульты
централизованного наблюдения и некоторые другие устройства (ГОСТ 26342-84.
«Средства охранной, пожарной и охранно-пожарной сигнализации. Типы, основные
параметры и размеры»).
По обязательному
требованию, предъявляемому к приборам и аппаратам систем автоматического
пожаротушения и пожарной сигнализации, устройствам и приборам систем
охранно-пожарной сигнализации, начнется их сертификация в области пожарной
безопасности.
Системы пожарной
сигнализации предназначены для обнаружения в начальной стадии пожара, передачи
тревожных извещений о месте и времени его возникновения и, при необходимости,
введения в действие автоматических систем пожаротушения и дымоудаления. Они
могут быть пожарные, реагирующие на первоначальные признаки пожара (дым, тепло,
пламя), и охранно-пожарные, совмещающие охранные (срабатывают на вскрытие
дверей, окон и т.п.) и пожарные функции.
Установки пожарной
сигнализации бывают (ГОСТ 12.4.009-83) на базе:
автоматических (дымовых,
тепловых, комбинированных и др.) пожарных извещателей;
ручных пожарных
извещателей;
автоматических и ручных
пожарных извещателей.
Основными элементами
систем пожарной сигнализации являются пожарные извещатели, приемно-контрольные
приборы, шлейфы пожарной сигнализации, приборы управления, оповещатели, системы
передачи извещений, ретрансляторы, пультовые оконечные устройства, пульты
централизованного наблюдения и некоторые другие устройства (ГОСТ 26342-84.
«Средства охранной, пожарной и охранно-пожарной сигнализации. Типы, основные
параметры и размеры»).
Пенные огнетушащие
средства
Пены - коллоидные системы,
состоящие из пузырьков газа, окруженных пленками жидкости, и характеризуются
агрегативной и термодинамической неустойчивостью.
К воде добавляют
пенообразователи (ПО) и пенопорошки, в качестве которых применяют некоторые
природные и синтетические поверхностно-активные вещества. Для улучшения
эксплуатационных характеристик ПО (морозоустойчивости и др.) вводят различные
добавки и стабилизаторы.
Основной
классификационной характеристикой ПО является кратность образующейся пены -
отношение объема пены к объему ее жидкой фазы.
Пены подразделяются на
виды: химическая и воздушно-механическая.
Химическая пена
образуется при взаимодействии растворов кислот и щелочей. Из-за низкой
кратности пены и высокой коррозионной активности широкого применения не нашла
(огнетушители ОХП-10).
Воздушно-механическая
пена в зависимости от ее кратности подразделяется (по ГОСТ Р 5088-93.
«Пенообразователи») на:
низкократную - до 20;
среднекратную:
а) не менее 60 -
для пенообразователей общего назначения и углеводородных;
б) не менее 40 -
для фторсодержащих пенообразователей;
высокократную - не менее
200.
Инертные разбавители
Диоксид углерода (СО2),
азот (N2), аргон (Аr), дымовые газы, водяной пар применяются для тушения
пожаров методом разбавления газопаровоздушной среды помещения.
Горение прекращается при
снижении содержания кислорода в атмосфере защищаемого объема до 12-15% (об.).
Для веществ имеющих широкую концентрационную область распространения пламени
(например, водород, ацетилен, диборан и др), металлов тлеющих материалов - 5% и
ниже.
Аргон применяют при
опасности образования взрывчатых нитридов соединений (например, нитридов
некоторых металлов).
Огнетушащая концентрация
СО2 20-40% (масс.) при интенсивности расхода 0,7 кг/м3 и времени тушения от 60
до 120 с.
При объемном тушении
щелочных металлов небольшие добавки к азоту СО2 - до 6% (об.) - позволяют
существенно повысить эффективность последнего.
Хладоны (фреоны)
Хладоны - товарное
наименование предельных галогенсодержащих углеводородов, в молекулах которых
обязательно имеются атомы фтора, а также могут быть все остальные галогены
(ранее назывались фреонами). Обычно используют бромсодержащие, а также
бромхлорсодержащие хладоны.
Хладоны являются
ингибиторами горения, т.е. активно вмешиваются в химические процессы, тормозя
их. Наиболее эффективны для тушения органических веществ (нефтепродуктов,
растворителей и др.) и значительно слабее - водород, аммиак и некоторые другие
вещества. К торможению реакции горения приводит преимущественное связывание
атомов водорода.
Применяются для тушения
металлов, многих металлорганических соединений, некоторых гидридов металлов, а
также, когда при пожаре окислителем является не кислород, а другие вещества
(например, галогены, оксиды азота).
Хладоны обладают
хорошими диэлектрическими свойствами, высокой плотностью паров, легкостью
образования газовой фазы (температура кипения - от минус 50 до минус 4°С;
давление пара при 20°С - от 0,38 до 15 атм), низкой температурой замерзания (от
-ПО до -168°С), низкой коррозионной активностью и умеренной активностью. В
огнетушителях используются хладоны 114В2 и 12В1.
Хладоны считаются
практически негорючими веществами. Однако в кислороде пары хладона 114В2
становятся горючими, имеющими пределы распространения пламени.
Нормативная огнетушащая
концентрация: для категорий взрыво- и пожароопасных помещений А и Б - 0,37
кг/м3, для категории В - 0,22кг/м3. Время подачи хладонов регламентируется СНиП
2.04.09 - 30 с (на практике от 60 до 120 с в зависимости от категории взрыво- и
пожроопасности).
Однако хладоны разрушают
озоновый слой Земли, и поэтому их применение для целей пожаротушения
ограничивается. В последнее время ведутся поиски альтернативных хладонам
средств объемного тушения.
Комбинированные составы
Тушение основано на
сочетании свойств различных огнетушащих средств. Наиболее эффективные составы -
комбинации носителя с сильным ингибитором горения (водно-хладоновая эмульсия,
комбинации воздушно-механической пены с хладоном). Порошок СИ-2 также относится
к огнетушащим средствам комбинированного действия.
Для объемного тушения
применяют азотно-хладоновый и углекислотно-хладоновый составы (снижают в 4-5
раз расход бром-хладонов): 85% - СО2 (масс.) и 15% (масс.) - хладона 114В2.
Этот состав
рекомендуется СНиП 2.04.09, поскольку при данной концентрации он
взаиморастворим под давлением. Для объемного тушения в помещениях с натрием
применяется комбинированный состав, состоящий из 94% (об.) N2 и 6% (об.) СО2,
который снижает пирофорность натрия (увеличивает его температуру
самовоспламенения) и увеличивает огнетушащий эффект.
Порошковые огнетушащие
средства
Основу огнетушащих
порошков составляют аммонийные соли (моно-, диаммонийфосфаты, аммофос),
карбонат и бикарбонат натрия, хлориды натрия и калия и др. В качестве добавок
применяются кремнийорганические соединения (аэросил AM-1-300 и т.п.), стеараты
металлов, нифелин, тальк и др.
Обеспечивают тушение
пожаров класса В на большой площади при времени тушения несколько секунд.
Аэрозольные огнетушащие
составы
Для целей пожаротушения
шире стали использоваться системы объемного аэрозольного тушения и локализации
пожаров (CAT) на основе генераторов огнетушащего аэрозоля (ГОА), образующих
аэрозольный огнетушащий состав (АОС). Огнетушащий состав получается сжиганием
твердотопливной композиции (ТТК) окислителя и восстановителя. В качестве окислителя
обычно используются неорганические соединения щелочных металлов
(преимущественно нитрат (КНОз) и перхлорат (КСЮ4) калия), в качестве
горючего-восстановителя - органические смолы (эпоксидный идитол и т.п.). Эти
ТТК могут гореть без доступа воздуха.
Образуемый в качестве
продукта сгорания аэрозоль состоит из газовой фазы (преимущественно диоксид
углерода) и взвешенной конденсированной фазы в виде тончайшего порошка,
аналогичного огнетушащим порошкам на основе хлорида и карбоната калия. АОС
отличается от обычных порошков значительно большей дисперсностью (примерно в 50
раз), поэтому заранее изготавливать и хранить порошок с размером частиц 10-6 м
из-за склонности к слеживанию практически невозможно.
Благодаря высокой
дисперсности огнетушащая способность АОС в 5-8 раз превышает огнетушащую
способность порошков и хладонов, и более чем на порядок - двуокиси углерода и
азота. Другим достоинством АОС является возможность тушения пожаров подкласса
А1 (тлеющие материалы).
К недостаткам АОС
относится высокая температура (до 400°С) и наличие открытого форса пламени на
выходе из ГОА (последние разработки ГОА типа «Габар» ликвидируют последний
недостаток).
Для противопожарной
защиты применяют установки пожаротушения. Эти установки классифицируются (ГОСТ
12.4.009-83):
• по способу пуска:
автоматическая установка
пожаротушения с дублирующим ручным пуском (местным и/или дистанционным);
автоматическая установка
пожаротушения без дублирующего ручного пуска;
ручная установка
пожаротушения (с местным и/или дистанционным пуском);
• по способу тушения:
установка объемного
пожаротушения;
установка пожаротушения
по площади;
установка локального
пожаротушения (по объему, по площади);
• по виду огнетушащего
средства:
установка водяного
пожаротушения (спринклерная, дренчерная, лафетными стволами);
установка пенного
пожаротушения (спринклерная, дренчерная);
установка порошкового
пожаротушения;
установка газового (СО2,
хладонового, азотного, парового и др.) пожаротушения.
Автоматические установки
пожаротушения (АУПТ) классифицируются по ГОСТ 12.3.046-91:
по конструктивному
исполнению - на спринклерные, дрен-черные, агрегатные, модульные;
по виду огнетушащего
вещества - на водяные, ленные, газовые и порошковые.
Необходимость применения
и выбор типа АУПТ обусловливаются уровнем пожарной опасности конкретного
объекта с учетом скорости развития пожара в начальной стадии и экономической
целесообразности их применения по ГОСТ 12.1.004-91.
По назначению установки
подразделяются на установки для предупреждения, тушения пожаров, сдерживания горения
(установки локализации пожаров) и блокирования объектов от пожаров.
Установки для
предупреждения пожаров предназначены для ведения в опасную зону огнетушащих
(флегматизирующих) средств или изменения режима работы технологического
агрегата (аппарата) и тем самым предотвращения возникновения пожара.
Установки для тушения
пожаров предназначены для полной локализации возникших очагов горения
огнетушащим средством или создания условий, в которых горение прекращается.
Установки локализации
пожаров предназначены для сдерживания развития очага горения воздействием
огнетушащих средств
на огонь до прибытия
передвижной пожарной техники и аварийно-спасательных служб предприятия.
Установки блокирования
от пожаров предназначены для защиты объектов от опасного воздействия
возникающих при пожаре высоких температур. Эти установки применяют для
охлаждения и создания завес.
Классификация по виду
используемых средств тушения пожаров:
водяные - для подачи
сплошных, капельных, распыленных и мелкораспыленных водяных струй (дренчерные и
спринклерные);
водохимические -
подающие водные растворы химических веществ;
пенные - для подачи
пены;
газовые (аэрозольные) -
для подачи диоксида углерода, гало-генуглеводородов, пара и инертных газов;
порошковые - для подачи
порошковых составов;
комбинированные - для
одновременной подачи нескольких средств тушения, например, пены и порошка, воды
и газа.
Классификация по
принципу тушения:
установки тушения по
площади (распыленная вода, пена, порошки);
установки объемного
тушения (диоксид углерода, галогенпроизводные и инертные газы, пар и пена
высокой кратности);
установки локального
тушения, располагаемые вблизи возможного очага пожара (огнетушащие вещества
любого типа);
установки блокирующего
действия (рекомендуются для преграждения распространения огня на другие объекты
или исключения теплового воздействия на близлежащие технологические аппараты).
Продолжительность работы
установок локализации и блокирования объектов от пожара определяется временем,
необходимым для ликвидации возникшей аварии и развертывания передвижной техники
пожарных подразделений.
По продолжительности
пуска пожарные установки подразделяются на:
сверхбыстродействующие
(безынерционные; продолжительность пуска - до 0,1 с);
быстродействующие
(безынерционные; продолжительность пуска-до 0,1-3 с);
средней инерционности
(продолжительность пуска - 3-30 с);
инерционные
(продолжительность пуска - свыше 30 с).
По продолжительности
тушения (действия) пожарные установки могут быть:
кратковременного
действия (до 15 мин);
средней продолжительности
действия (до 30 мин);
длительного действия
(более 30 мин).
Защите подлежат:
а) здания - складов
целлулоида и изделий из него, щелочных металлов; складов при хранении 200 кг и
более, на горючей основе - независимо о количества; складов полупроводниковых
материалов, микросхем других радиокомплектующих; складов расходного запаса
двигателей и агрегатов машин с наличием в них топлива и масел; складов каучука,
резины и резинотехнических изделий; складов категории В; архивов уникальных
изданий, отчетов, рукописей и другой документации особой ценности; жилые здания
высотой более 28 м; общежития, специализированные жилые дома для престарелых и
инвалидов, общественного и административно-бытового назначения (в т.ч.
одноэтажные из легких металлических конструкций с полимерными горючими
утеплителями); по переработке и хранению зерна; предприятий торговли;
автозаправочных станций (в том числе контейнерного типа), а также палаток,
магазинов и киосков, относящихся к ним; выставочных павильонов; культовые;
б) сооружения -
пространства за подвесным потолком и под съемными полами при прокладке в них:
воздуховодов, трубопроводов и кабельных трасс (в том числе при их совместной
прокладке) с числом кабелей (проводов) более 12 напряжением 220 В и выше с
изоляцией из горючих и трудногорючих материалов, кабельных трасс с числом
кабелей и проводов от 5 до 12 напряжением 220 В и выше с изоляцией из горючих и
трудногорючих материалов;
в) помещения -
складского назначения категорий А, Б и В1-ВЗ по взрывопожарной и пожарной
опасности; для хранения щелочных металлов, пиротехнических изделий и
материалов, изделий радиоэлектронной техники и их комплектующих;
производственные категорий А, Б, В1-ВЗ по взрывопожарной и пожарной опасности;
энергетические; связи; транспорта; хранилищ ценностей в банках, ломбардах;
съемочных павильонов киностудий; для хранения багажа ручной клади (кроме
оборудованных автоматическими ячейками) и складов горючих материалов в зданиях
вокзалов (в том числе аэровокзалов); для хранения горючих материалов
или негорючих материалов
в горючей упаковке, при расположении их под трибунами и в зданиях крытых
спортивных сооружений; Для размещения ЭВМ (за исключением персональных ЭВМ,
размещаемых на рабочих местах пользователей и не требующих выделения зон
обслуживания); предприятий торговли, встроенных в здания другого назначения;
производственного и складского назначения, расположенные в
научно-исследовательских учреждениях и других общественных зданиях, а также
иного общественного назначения, в том числе встроенные и пристроенные;
г) оборудование -
окрасочные и сушильные камеры; циклоны, бункеры для сбора горючих отходов;
трансформаторы с масляной системой охлаждения напряжением до 500 кВ; масляные
выключатели в закрытых распределительных устройствах; испытательные станции передвижных
электростанций и агрегатов с дизель- и бензоэлектрическими агрегатами,
смонтированными на автомашинах и прицепах; стеллажи высотой более 5,5 м для
хранения горючих материалов и негорючих материалов в горючей упаковке; масляные
емкости для закаливания.
По обязательному
требованию, предъявляемому к приборам и аппаратам систем автоматического
пожаротушения и пожарной сигнализации, устройствам и приборам систем
охранно-пожарной сигнализации, начнется их сертификация в области пожарной
безопасности.
Системы пожарной
сигнализации предназначены для обнаружения в начальной стадии пожара, передачи
тревожных извещений о месте и времени его возникновения и, при необходимости,
введения в действие автоматических систем пожаротушения и дымоудаления. Они
могут быть пожарные, реагирующие на первоначальные признаки пожара (дым, тепло,
пламя), и охранно-пожарные, совмещающие охранные (срабатывают на вскрытие
дверей, окон и т.п.) и пожарные функции.
Установки пожарной
сигнализации бывают (ГОСТ 12.4.009-83) на базе:
автоматических (дымовых,
тепловых, комбинированных и др.) пожарных извещателей;
ручных пожарных
извещателей;
автоматических и ручных
пожарных извещателей.
Основными элементами
систем пожарной сигнализации являются пожарные извещатели, приемно-контрольные
приборы, шлейфы пожарной сигнализации, приборы управления, оповещатели, системы
передачи извещений, ретрансляторы, пультовые оконечные устройства, пульты
централизованного наблюдения и некоторые другие устройства (ГОСТ 26342-84.
«Средства охранной, пожарной и охранно-пожарной сигнализации. Типы, основные
параметры и размеры»).
Разработка системы
противопожарного водоснабжения.
К сожалению, в
существующих нормативах на проектирование и эксплуатацию систем водоснабжения
требования к системам водоснабжения высотных зданий сформулированы недостаточно
полно, "разбросаны" по многочисленным документам и не содержат
требований по ресурсосбережению. Требования по надежности сформулированы в
общем виде и не позволяют оценить надежность подачи воды отдельным потребителям
и небольшим группам потребителей. Повышение гидравлической надежности систем
хозяйственного и питьевого водоснабжения обеспечивается зонированием их по
высоте здания. Высота зоны принимается из условия обеспечения максимального
допустимого давления перед водоразборной арматурой. Все насосные агрегаты и
другое оборудование должны иметь системы автоматизации, диспетчеризации и
управления с возможностью ручного и дистанционного управления. Желательно эти
системы интегрировать в автоматизированную систему управления зданием.
Водопроводные сети
принимают кольцевыми. Большое влияние на надежность оказывает материал
трубопроводов, зарастание или коррозия которых приводит к ухудшению
гидравлических характеристик, к авариям и сбоям в подаче воды потребителям.
Правильный выбор материала трубопровода, применение медных и пластмассовых
труб, мало подверженных коррозии и зарастанию, значительно увеличивает
надежность и долговечность систем. Водонапорные баки, обеспечивая временное
резервирование, создают регулирующий и аварийный запас воды в здании и
стабилизируют давление воды в системе.
Для снижения
гидравлической неустойчивости работы внутренних сетей, когда температура воды
резко изменяется при включении смесителей у соседей или в рядом расположенном
помещении, целесообразно использовать коллекторную квартирную разводку, когда
каждый смеситель соединен отдельным трубопроводом с общим коллектором,
присоединенным к стояку. Стояки, регулирующую арматуру,
контрольно-измерительные приборы (счетчики воды) желательно выносить за пределы
квартир, чтобы служба эксплуатации в аварийных ситуациях могла оперативно
отключать аварийные участки, размещенные в квартирах и помещениях
собственников.
Исходя из этих
соображений в элитных и коммерческих высотных зданиях стояки системы водоснабжения
прокладываются в нише лестнично-лифтовогохолла, откуда обеспечивается ввод в
квартиру трубопроводов горячей и холодной воды. Система оснащена счетчиками
горячей и холодной воды, которые вместе с фильтрами и регуляторами давления
установлены в распределительных шкафах в лестнично-лифтовом холле. Расчет за
фактически потребленные ресурсы ведется по показаниям счетчиков. Такое решение
позволяет при необходимости отсечь одного из потребителей, проверить давление,
отрегулировать потребителей. Локализация поврежденного участка позволяет
минимизировать ущерб от аварии, при этом водоснабжение соседних квартир не
прекращается.
Разводка до квартир и в
квартире выполняется, как и для системы отопления, из PEX-труб, размещенных,
как правило, за подшивным потолком (или в полу). Поскольку разводка от
отключающей до водоразборной арматуры выполняется без разрывов, "одной
трубой", данная схема отличается высокой надежностью, устойчивостью к
протечкам. В свою очередь, гладкая внутренняя поверхность трубы из сшитого
полиэтилена позволяет избежать зарастания трубы даже в случае использования
очень жесткой воды. Система водоснабжения также делится на зоны по высоте, и в
описываемых системах стояки систем прокладываются параллельно в нишах
лестнично-лифтового узла, имеют удобный доступ для обслуживания и ремонта. По
аналогии с системами отопления все стояки горячего водоснабжения оборудуются
компенсаторами и неподвижными опорами. Расчетная циркуляция выставляется при
помощи регулирующей и балансировочной арматуры. Применение современных
регуляторов позволяет использовать в индивидуальном тепловом пункте одну группу
теплообменников горячего водоснабжения для 2-3 зон.
При строительстве здания
в первую очередь должен быть смонтирован противопожарный водопровод. Пусть эта
система находится в "сухом" режиме, но должна быть предусмотрена
возможность в любой момент подать в нее воду и погасить, например, возгорание
бытового мусора на любом этаже.
Временное водоснабжение
строящихся объектов должно обеспечивать противопожарный расход воды. На такое
водоснабжение можно поставить временный противопожарный повысительный насос,
который может включаться вручную и в случае возгорания обеспечивать тушение
пожара. В настоящее время во всех новых зданиях широко используются чугунные
безраструбные трубы. Такие трубы не горят в отличие от труб из ПВХ. Кроме того,
они шумоизолированы, что немаловажно для элитных зданий. При пожаре труба из
ПВХ горит, пропускает пожар на смежные этажи и выделяет токсичные вещества.
Одним из главных преимуществ данной системы является возможность быстрого
демонтажа отдельных участков лежаков на техэтаже с целью удаления
цементно-песчаных и красочно-клеевых отложений, которыми зарастает до 3/4
сечения лежаков за две недели. Для качественной прочистки лежаков машиной
"Кобра" с одновременной промывкой применяется система с устройством
прочистки из двух полуотводов, с тем чтобы открытый раструб находился выше
основной трубы.
Особое внимание должно
уделяться выпускам высотных зданий. Поскольку здания имеют значительную
просадку, выпуски в наружных стенах не заделываются вглухую, а применяется
специальное демпфирующее устройство, не позволяющее трубе на выпуске
переломиться. Это также касается всех остальных сетей.
Схема обнаружения пожара
и пуска АУП.
Определяю число
извещателей необходимое для защиты помещения исходя из следующих требований:
площадь контролируемая
одним извещателем принимается равной 70 м2, а расстояние между извещателями -
не более 8,5 м от извещателя до стены не более 4 м (СНиП 2.04.09-84 п.4.10 таб.
4).
если установка пожарной
сигнализации предназначена для управления автоматическими установками
пожаротушения, каждую точку защищаемой поверхности необходимо контролировать не
менее, чем двумя пожарными извещателями (СНиП 2.04.09-84 п. 4.1).
Исходя из выше
изложенных требований и принцип равномерности рассчитываем необходимое
количество пожарных извещателей по формуле:
где F - площадь пола
защищаемой поверхности (140 м2), Fо - нормативная площадь, контролируемая одним
ПИ (70 м2).
По тактическим
соображениям принимаем 4 пожарных извещателя. (схему размещения извещателей
смотри на рис.3)
Для приема и отображения
сигналов от автоматических пожарных извещателей (в частности типа ДИП-3)
используется концентратор ППС-3. Он предназначен для защиты промышленных
объектов и др. При этом электрическое питание активных пожарных извещателей
осуществляется от источника питания непосредственно по шлейфам пожарной
сигнализации. Концентратор обеспечивает отображение всей поступающей информации
о состоянии пожарных извещателей или неисправностей в сигнальных цепях на пульт
центрального оповещения, а также формирование адресных сигналов-команд на пуск
установок автоматического пожаротушения.
Табл.2
Техническая
характеристика концентратора ППС-3
|
Максим. число сигнальных шлейфов
|
60
|
|
Максим. число пожарных извещателей:
|
|
|
дымовых, шт.:
|
20
|
|
Напряжение питания:
|
|
|
основное - от сети переменного тока, В
|
220
|
|
резервное - от источника постоянного тока, В
|
24
|
|
Диапазон рабочих температур, С
|
0...40
|
|
Максимальная относительная влажность окружающего воздуха, %
|
80
|
|
Срок службы, лет
|
10
|
Нормативные требования к размещению
концентратора и оборудования
должны соответствовать требованиям
СНиП 2.04.09-84 (4 раздел), а также техническим характеристикам.
Рис.9.
Схема размещения
пожарных извещателей
Обоснование типа АУП и
способа тушения.
Способ тушения
выбирается, исходя из предельно допустимого времени развития пожара и
достижимого быстродействия подачи огнетушащего вещества в нужные зоны
помещения. Время включения АУП tвклАУП должно быть существенно меньше критического времени
свободного развития пожара tкр:
tвклАУП = tпор
+ tипи
+ tу.у.
+ tтр
< tкр.
tвклАУП = 75,5 + 5 + 0,4
+ 18,3 < tкр.
tвклАУП = 99,23 < 210
= tкр.
где tипи
- инерционность пожарного извещателя, tу.у. - продолжительность
срабатывания узла управления (пускового блока) АУП, с, (Бубырь Н.Ф., и д.р.
Производственная и пожарная автоматика. Часть 2.-М.:Стройиздат,1985.
табл.18.11); tтр - время транспортирования огнетушащего вещества по трубам: tтр
= l/V. Здесь l - длина подводящих и питательных трубопроводов, м; V - скорость
движения огнетушащего вещества, м*с-1 (целесообразно взять V = 3 м*с-1).
Наиболее целесообразным
способом тушения пожара в цехе с применением в технологическом процессе резины
является объемный, т.е. для тушения применяется пена (справочник А.Н. Баратова,
таб. 4.1).
Гидравлический расчет
АУП.
Важным моментом
проектирования всех типов АУП является разработка схем размещения оросителей
(распылителей) и распределительных сетей трубопроводов. Требуемое для помещения
количество дренчерных (равно как и спринклерных) оросителей и их установка
производится с учетом их технических характеристик, равномерности орошения
защищаемой площади (табл.1 СНиП 2.04.09-84) и огнестойкости (пункт 2.20 СНиП
2.04.09-84) помещения.
По приложению 2 СНиП
2.04.02-84 принимается третья группа помещения по опасности распространения
пожара. По таблице 1 СНиП и таблице 5 приложения 6 СНиП принимаю основные
расчетные параметры:
интенсивность подачи
огнетушащего средства 0,12 л/с*м2;
продолжительность работы
установки 1500 с (25 мин);
коэффициент разрушения
пены k2 = 3.
Для расчета примем
генератор пенный 2-ГЧСм. Значение коэффициента k = 1,48. Минимальный свободный
напор, м - 15; максимальный допустимый напор, м = 45.
Рассчитываем требуемый
объем раствора пенообразователя.
,
где К2 - коэффициент
разрушения пены принимается по таблице 5 приложения 6 СНиП 2.04.09-84; W -
объем помещения, м3; К3 - кратность пены.
Находим требуемый
основной объем пенообразователя.
Определяем расход
генератора Q при свободном напоре Hсв = 45 м, их необходимость и достаточное
количество n:
, т.е. принимаем 2 ГЧСм.
= 25 минут = 1500 секунд
- продолжительность работы установки с пеной средней кратности, мин.
(приложение 6 таблица 5).
Итак в помещении
достаточно установить два генератора ГЧСм. Осуществим размещение генераторов на
плане помещения. Разводящая сеть принимается кольцевой. Положение генераторов
ГЧСм асимметрично стояка.
Для наглядности покажем
также принципиальную расчетную схему АУПП и важнейшие размеры
архитектурно-планировочных решений.
Схема размещения
генераторов пены, а также расчетная схема АУПП с насосом дозатором показана в
графической части.
Выбираем диаметр труб
кольцевого питательного d1 и подводящего трубопровода d2:
Принимаем d1 = 65 мм. Значение
Кт = 572 (СНиП таб.9 прил. 6).
Принимаем d2 = 100 мм.
Значение Кт = 4322 (СНиП таб.9 прил. 6).
Выполняем гидравлический
расчет сети основного водопитателя с учетом расходов, включающих
пенообразователь. Поскольку H1 =45 м,
то Q = 9,93 л/с. В
дальнейшем, чтобы минимизировать невязку напоров левого и правого направлений
обхода кольцевого трубопровода относительно точки 3, допустим, что расход
диктующего оросителя лишь на 15% осуществляется со стороны распределительного
полукольца, включающего генератор 2. Следовательно:
Таким образом, напор в
узловой точке 3 питательного трубопровода, так как невязка в данных условиях
равна 0,24 м, будет равен:
Суммарный расход
генераторов:
= Q1 + Q2 = 9,93 + 9,94
= 19,9 л/с.
Ему будет
соответствовать напор на выходном патрубке основного водопитателя H:

где H3-овп - потери
напора на подводящем трубопроводе от узловой точки 3 до выходного патрубка
водопитателя; l3-овп = 51 м - длина трубы диаметром 100 мм; Z = 6 м -
статический напор в стояке АУП; e= 2,35*10-3 -
коэффициент потерь напора в принимаемом узле управления БКМ (см. табл. 4 прил.
6 СНиП 2.04.09-84).
Выбор
насосно-двигательной пары.
По найденному расходу Q
= 19,9 л/с и напору H = 59,9 м выбираем по каталогам насосно-двигательную пару
основного водопитателя АУПП (выбираем насос К-90/55 с электродвигателем
мощностью 22 кВт) и строим совмещенный график рабочей характеристики основного
насоса, динамических потерь сети и насоса дозатора.
Чтобы выбрать насос
дозатор уточним фактические расходы и напор, которые обеспечит данная насосная
пара в проектируемой сети. Для этого нужно построить так называемую
динамическую характеристику сети. Динамические потери напора сети - это
зависимость динамической составляющей Hдин на выходном патрубке насоса от
текущих расходов Q1, возведенных в квадрат:
В свою очередь
сопротивление сети может быть определено из выражения:
Результаты динамических
потерь сети, рассчитываемой АУП, занесем в таблицу.
Табл.3
Динамические потери
|
S, м*л-2*с-1
|
0,02
|
|
Q, л*с-1
|
5
|
10
|
15
|
20
|
25
|
|
Ндин, м
|
0,5
|
2
|
4,5
|
8
|
12,5
|
Из совмещения графиков видно, что
фактический расход раствора пенообразователя установкой будет составлять 20 л/с
при напоре 58 м. Отсюда ясно что расход пенообразователя и объем также
изменится:
по = 20*0,06 = 1,2 л/спо = Qпо*tраб
= 1,2*1500 = 1800 л =1,8 м3
Расчет диаметра дозирующей шайбы
насоса дозатора.
В заключении выбираем насос дозатор
и рассчитываем диаметр дозирующей шайбы dш. В качестве насоса дозатора
принимаем ЦВ-3/80. При этом разность напоров из линии насоса дозатора и
основного водопитателя в точке их врезки будет не более H = 225-58 = 167 м.
Теперь используем выражение, позволяющее рассчитать диаметр дозирующей шайбы:
где m
- коэффициент расхода шайбы (m = 0,62 для шайбы с тонкой стенкой); g = 9,8 м/с. В результате
подстановки в выражение получим, что dш = 6,56 мм.
Таким образом,
принципиальные тактико-технические характеристики автоматического тушения
среднекратной пеной, в соответствии с условием, установлены.
Пожарная безопасность
строительных материалов зависит от их природы, которая предопределяет возможные
негативные последствия их деструкции, возникающие при воздействии на материал
комплекса экстремальных факторов при пожаре. Поэтому в ряду основных
эксплуатационно-технических свойств строительного материала, наряду с
морозостойкостью, коррозионной стойкостью, основное место занимает показатель
«огнестойкость».
Огнестойкость характеризует
способность материала и изделий сохранять физико-механические свойства при
воздействии огня и высоких температур, развивающихся в условиях пожара.
По огнестойкости
конструкции и конструкционные строительные материалы принято делить на три
группы: несгораемые - это, в основном, конструкции из минеральных материалов,
трудносгораемые - из смешанного типа материалов минерально-органической природы
и сгораемые - из материалов органической природы. Основная характеристика этих
трех групп материалов представлена в табл.4.
Таблица 4
Группы огнестойкости и
характеристика строительных материалов и конструкций
|
Группа возгораемости, огнестойкости
|
Характеристика
|
|
материалов
|
конструкций
|
|
Несгораемые
|
Под воздействием огня или высокой температуры не воспламеняются,
не тлеют и не обугливаются
|
Из несгораемых материалов, например, природного камня, бетона,
кирпича, металла
|
|
Трудносгораемые
|
Под воздействием огня или высокой температуры воспламеняются,
тлеют или обугливаются. Продолжают гореть или тлеть только при наличии
источника огня, а после его удаления горение и тление прекращаются
|
Из трудносгораемых, а также сгораемых материалов, защищенных от
огня и высоких температур несгораемыми материалами, например, асфальтобетон,
фибролит
|
|
Сгораемые
|
Под воздействием огня или высокой температуры воспламеняются или
тлеют и продолжают гореть или тлеть после удаления источника огня
|
Из сгораемых материалов, незащищенных от огня или высоких
температур, например, древесина, рубероид
|
При анализе представленных в табл.4
групп материалов пожарная безопасность первых двух групп будет определяться
следующими показателями с привязкой их к линейным параметрам конструкции:
• пределом огнестойкости (по
показателям потери прочности - R, теплоизолирующей способности - I, потере
целостности - Е), мин (час) для заданной толщины или наименьшего размера
сечения конструкции в см;
• максимальным пределом
распространения огня, см.
Например, стены и перегородки из
силикатного обыкновенного или дырчатого глиняного кирпича (материал относится к
группе несгораемых) предел огнестойкости будет равен 0,75; 2,5; 5,5; 11 часов,
соответственно, для значений толщины стен и перегородок - 6,5; 12; 25; 38 см.
Работа несгораемых и трудносгораемых
материалов в конструкции во время воздействия на них огня будет сопряжена со
снижением их конструкционного качества, что представляет серьезную угрозу для
здания и сооружения в целом и обычно относится к категории чрезвычайных
опасностей. Например, блоки из известняка, бетона и т.д. (карбонатсодержащие
материалы) под действием огня будут изменять химический состав и терять
прочность. СМ из металла под действием температуры за счет деформаций также
могут терять прочность.
Важное значение для получения точных
результатов измерения перечисленных показателей имеет масштабный фактор, а
также использование строительных материалов различного вида в одной и той же
конструкции, поэтому, согласно ГОСТам, показатели огнестойкости, пожарной
опасности и др. принято сразу относить к строительным конструкциям.
Пределы огнестойкости строительных
конструкций устанавливаются по ГОСТ 30247.0-94 «Конструкции строительные.
Методы испытаний на огнестойкость. Общие требования».
Предельные состояния конструкций по
огнестойкости приведены в разделе 8 ГОСТ 30247.1-94 «Конструкции строительные.
Методы испытаний на огнестойкость. Несущие и ограждающие конструкции».
Признаки наступления пределов
огнестойкости несущих и ограждающих конструкций при огневых испытаниях указаны
в п. 8.1 ГОСТ 30247.1-94, а именно:
• потеря несущей способности (R)
вследствие обрушения конструкции или возникновения предельных деформаций;
• потеря теплоизолирующей
способности (I) - повышение температуры на необогреваемой поверхности
конструкции, в среднем, более чем на 140°С или в любой точке этой поверхности
более чем на 180° С по сравнению с температурой конструкции до испытания или
более 220° С независимо от температуры конструкции до испытания;
• потеря целостности (Е) -
образование в конструкции сквозных трещин или отверстий, через которые на
необогреваемую поверхность проникают продукты горения или пламя.
Горючие материалы подразделяют по
группам горючести, воспламеняемости, распространения пламени, дымообразующей
способности и токсичности продуктов горения.
Номенклатура основных показателей
пожарной опасности, которые необходимо определять при проведении испытаний
различных строительных материалов, приведена в НПБ 244-97 «Материалы
строительные. Декоративно-отделочные и облицовочные материалы. Материалы для
покрытия полов. Кровельные, гидроизоляционные материалы. Показатели пожарной
опасности».
В п.п. 5.3-5.8 СНиП 21-01-97 дана
классификация характеристик пожарной опасности строительных материалов по
группам: горючести, воспламеняемости, распространения пламени, дымообразующей
способности и токсичности.
В общем виде деление горючих
строительных материалов на группы и их характеристики приведено в табл. 3.25.
Группа горючести материалов
определяется в соответствии с ГОСТ 30244-94 «Материалы строительные. Методы
испытаний на горючесть»; группа воспламеняемости - в соответствии с ГОСТ
30402-96 «Материалы строительные. Метод испытания на воспламеняемость»;
распространение пламени - в соответствии с ГОСТ 30444-97 (ГОСТ Р 51032-97)
«Материалы строительные. Метод испытания на распространение пламени»; группа
дымообразующей способности - в соответствии с п.п. 2.14.2 и 4.18 ГОСТ
12.1.044-89 ССБТ «Пожаровзрывоопасность веществ и материалов. Номенклатура
показателей и методы их определения» и группа токсичности - в соответствии с
п.п. 2.16.2 и 4.20 ГОСТ 12.1.044-89.
Таблица 5
Основные характеристики пожарной
опасности для сгораемых материалов
|
Показатель свойств СМ
|
Группы
|
Характеристика для группы
|
Нормативный документ
|
|
горючесть
|
Г1
|
слабая
|
ГОСТ 30244-94
|
|
Г2
|
умеренная
|
|
|
ГЗ
|
нормальная
|
|
|
Г4
|
сильно горючий
|
|
|
воспламеняемость
|
В1
|
трудно
|
ГОСТ 30402-96
|
|
В2
|
умеренно
|
|
|
ВЗ
|
легко
|
|
|
распространение пламени по поверхности
|
РП1
|
не распространяется
|
ГОСТ Р 51032-97 ГОСТ 30444-97
|
|
РП2
|
слабо распространяется
|
|
|
РПЗ
|
умеренно распространяется
|
|
|
РП4
|
сильно распространяется
|
|
|
дымообразующая способность
|
Д1
|
малая
|
ГОСТ 12.1.044-89 п.п. 2.14.2 и 4.18
|
|
Д2
|
умеренная
|
|
|
Д3
|
высокая
|
|
|
токсичность
|
Т1
|
малоопасные
|
ГОСТ 12.1.044-89 п.п. 2.16.2 и 4.2014
|
|
Т2
|
умеренно опасные
|
|
|
ТЗ
|
высоко опасные
|
|
|
Т4
|
чрезвычайно опасные
|
|
Современные характеристики по огнестойкости
и пожарной опасности строительных конструкций и инженерного оборудования
зданий, а также перечень характеристик пожарной безопасности наиболее
распространенных сейчас на строительном рынке облицовочных и отделочных
строительных материалов, покрытий полов и кровли представлены в справочной
литературе, технической информации на продукцию и сертификате пожарной
безопасности материала, а в сокращенном варианте приведены в Приложении III.3.
Пределы распространения огня по
строительным конструкциям определяются по методике, изложенной в СНиП
2.01.02-85**. За предел распространения огня принимается размер повреждения (в
см) образца конструкции вследствие его горения, обугливания или оплавления за
пределами зоны нагрева (в контрольной зоне). Предел распространения огня по
конструкциям, выполненным полностью из негорючих материалов, принимается равным
нулю без испытаний. Классы пожарной опасности строительных конструкций
устанавливаются по ГОСТ 30403-96 «Конструкции строительные. Метод определения
пожарной опасности».
При установлении класса пожарной
опасности конструкций по этому стандарту в процессе огневых испытаний опытных
образцов определяют:
• наличие теплового эффекта от
горения или термического разложения составляющих конструкцию материалов;
• наличие пламенного горения газов
или расплавов, выделяющихся из конструкции в результате термического разложения
составляющих ее материалов;
• размеры повреждения конструкции и
составляющих ее материалов, возникшие при испытании конструкции вследствие
горения или термического разложения;
• характеристики пожарной опасности
составляющих конструкцию материалов, поврежденных при испытании, по методу,
изложенному в данном стандарте.
При этом, в отличие от испытаний на
распространение огня в соответствии с Приложением 1 СНиП 2.01.02-85**, время
теплового воздействия на образцы конструкций определяется требуемыми для этой
конструкции пределами огнестойкости. Испытания проводятся на специальной
двухкамерной установке с «автономным» режимом теплового воздействия.
Результаты испытаний конструкций по
методу, изложенному в СНиП 2.01.02-85** (предел распространения огня) в
большинстве случаев не могут быть использованы при установлении класса пожарной
опасности применительно к СНиП 21-01-97.
Исключение могут составлять конструкции,
выполненные только из материалов группы горючести Г4, которые без испытаний
могут быть отнесены к классу пожарной опасности КЗ.
Конструкциям, выполненным только из
материалов группы горючести НГ и с нулевым пределом распространения огня
присваивается класс пожарной опасности КО (15).
Далее все перечисленные
характеристики используются в проектных расчетах в соответствии с п. 5.17 СНиП
21-01-97, а оценка «Пожарная безопасность зданий и сооружений» и степень
огнестойкости зданий и сооружений определяются огнестойкостью их строительных
конструкций. Вводится показатель «класс конструктивной пожарной опасности
зданий и сооружений», определяется степень участия строительных конструкций в
развитии пожара и образовании его опасных факторов. Пределы огнестойкости и
классы пожарной опасности конструкций приводятся в табл. 4 и 5 СНиП 21-01-97.
На основании требований правил
пожарной безопасности в Российской Федерации (ППБ 01-03) в каждой организации
создается пожаро-техническая комиссия и назначается приказом первого
руководителя, ответственного за электро- и пожаробезопасность.
Вывод: современные средства
пожаротушения помогают эффективно тушить пожар.
Заблаговременно в каждой организации
проводится:
оснащение системами оповещения и
обнаружения пожаров;
оценка критического времени
экстренной эвакуации;
оснащение средствами пожаротушения.
При обнаружении пожара каждый
работник должен сообщить об этом руководителю, который должен:
прибыть к месту пожара и сообщить о
его возникновении в пожарную охрану;
в случаи угрозы жизни людей -
организовать их спасение;
проверить и включить систему
пожарной защиты (оповещение пожаротушения);
при необходимости отключить
электроэнергию и другие системы (вентиляция, лифты);
прекратить все виды деятельности в
здании;
эвакуировать весь рабочий персонал;
осуществить общее руководство по
тушению пожара до прибытия подразделения пожарной охраны, обеспечив при этом
соблюдение мер безопасности;
встретить подразделение пожарной
охраны и показать им кратчайший путь до очага пожара, место нахождения пожарных
гидрантов, водоемов,
планировку здания, пути эвакуации.
Во избежание возникновения
пожароопасных ситуаций применяются следующие меры:
производственные территории должны
быть оборудованы средствами пожаротушения согласно ППБ-01-03;
в местах, содержащих горючие или
легковоспламеняющиеся материалы, курение должно быть запрещено, а пользование
открытым огнем допускается только в радиусе более 50м;
не разрешается накапливать на
площадках горючие вещества (жирные масляные тряпки, опилки или стружки и отходы
пластмасс), их следует хранить в закрытых металлических контейнерах в
безопасном месте;
противопожарное оборудование должно
содержаться в исправном, работоспособном состоянии. Проходы к противопожарному
оборудованию должны быть всегда свободны и обозначены соответствующими знаками;
на рабочих местах, где применяются
или приготовляются клеи,
мастики, краски и другие материалы,
выделяющие взрывоопасные или вредные вещества, не допускаются действия с
использованием огня или вызывающие искрообразование. Эти рабочие места должны
проветриваться.
электроустановки в таких помещениях
(зонах) должны быть во взрывобезопасном исполнении. Кроме того, должны быть
приняты меры, предотвращающие возникновение и накопление зарядов статического
электричества;
рабочие места, опасные во взрыво -
или пожарном отношениях, должны быть укомплектованы первичными средствами
пожаротушения и
средствами контроля и оперативного
оповещения об угрожающей ситуации.
.3 Система подготовки персонала
аэропорта в области пожарной безопасности
Согласно комментируемого Закона
обучение мерам пожарной безопасности работников организаций проводится
администрацией (собственниками) этих организаций в соответствии с нормативными
документами по пожарной безопасности по специальным программам, утвержденными
соответствующими руководителями федеральных органов исполнительной власти и
согласованными в порядке, установленном федеральным органом исполнительной
власти, уполномоченным на решение задач в области пожарной безопасности.
Такая деятельность регламентирована
нормами <http://base.garant.ru/192618/> пожарной безопасности
"Обучение мерам пожарной безопасности работников организации",
утвержденными приказом <http://base.garant.ru/192618/> МЧС РФ N
645 от 12 декабря 2007 г., согласно которым основными видами обучения
работников организаций мерам пожарной безопасности являются противопожарный
инструктаж и изучение минимума пожарно-технических знаний.
Противопожарный
инструктаж проводится с целью доведения до работников организаций основных
требований пожарной безопасности, изучения пожарной опасности технологических
процессов производств и оборудования, средств противопожарной защиты, а также
их действий в случае возникновения пожара. Инструктаж проводится администрацией
(собственником) организации по специальным программам обучения мерам пожарной
безопасности работников организаций и в порядке, определяемом администрацией
(собственником) организации.
При проведении
противопожарного инструктажа следует учитывать специфику деятельности
организации. Проведение противопожарного инструктажа включает в себя
ознакомление работников организаций с правилами содержания территории, зданий
(сооружений) и помещений, в том числе эвакуационных путей, наружного и
внутреннего водопровода, систем оповещения о пожаре и управления процессом
эвакуации людей; требованиями пожарной безопасности, исходя из специфики
пожарной опасности технологических процессов, производств и объектов;
мероприятиями по обеспечению пожарной безопасности при эксплуатации зданий
(сооружений), оборудования, производстве пожароопасных работ; правилами
применения открытого огня и проведения огневых работ; обязанностями и
действиями работников при пожаре, правилами вызова пожарной охраны, правилами
применения средств пожаротушения и установок пожарной автоматики.
По характеру и времени
проведения противопожарный инструктаж подразделяется на: вводный, первичный на
рабочем месте, повторный, внеплановый и целевой.
Вводный противопожарный
инструктаж проводится:
со всеми работниками,
вновь принимаемыми на работу, независимо от их образования, стажа работы в
профессии (должности);
с сезонными работниками;
с командированными в
организацию работниками;
с обучающимися,
прибывшими на производственное обучение или практику;
с иными категориями
работников (граждан) по решению руководителя.
Вводный противопожарный
инструктаж заканчивается практической тренировкой действий при возникновении
пожара и проверкой знаний средств пожаротушения и систем противопожарной
защиты.
Первичный
противопожарный инструктаж проводится непосредственно на рабочем месте:
со всеми вновь принятыми
на работу;
с переводимыми из одного
подразделения данной организации в другое;
с работниками,
выполняющими новую для них работу;
с командированными в
организацию работниками;
с сезонными работниками;
со специалистами
строительного профиля, выполняющими строительно-монтажные и иные работы на
территории организации;
с обучающимися,
прибывшими на производственное обучение или практику.
Первичный
противопожарный инструктаж проводят с каждым работником индивидуально, с
практическим показом и отработкой умений пользоваться первичными средствами
пожаротушения, действий при возникновении пожара, правил эвакуации, помощи
пострадавшим. Все работники организации, имеющей пожароопасное производство, а
также работающие в зданиях (сооружениях) с массовым пребыванием людей (свыше 50
человек) должны практически показать умение действовать при пожаре,
использовать первичные средства пожаротушения.
Первичный
противопожарный инструктаж возможен с группой лиц, обслуживающих однотипное
оборудование и в пределах общего рабочего места. Повторный противопожарный
инструктаж проводится лицом, ответственным за пожарную безопасность,
назначенным приказом (распоряжением) руководителя организации со всеми
работниками, независимо от квалификации, образования, стажа, характера
выполняемой работы, не реже одного раза в год, а с работниками организаций,
имеющих пожароопасное производство, не реже одного раза в полугодие. В ходе
повторного противопожарного инструктажа проверяются знания стандартов, правил,
норм и инструкций по пожарной безопасности, умение пользоваться первичными
средствами пожаротушения, знание путей эвакуации, систем оповещения о пожаре и
управления процессом эвакуации людей.
Внеплановый
противопожарный инструктаж проводится:
при введении в действие
новых или изменении ранее разработанных правил, норм, инструкций по пожарной
безопасности, иных документов, содержащих требования пожарной безопасности; при
изменении технологического процесса производства, замене или модернизации
оборудования, инструментов, исходного сырья, материалов, а также изменении
других факторов, влияющих на противопожарное состояние объекта;
при нарушении
работниками организации требований пожарной безопасности, которые могли
привести или привели к пожару;
для дополнительного
изучения мер пожарной безопасности по требованию органов государственного
пожарного надзора при выявлении ими недостаточных знаний у работников
организации;
при перерывах в работе,
более чем на 30 календарных дней, а для остальных работ - 60 календарных дней
(для работ, к которым предъявляются дополнительные требования пожарной
безопасности);
при поступлении
информационных материалов об авариях, пожарах, происшедших на аналогичных
производствах;
при установлении фактов
неудовлетворительного знания работниками организаций требований пожарной
безопасности.
Внеплановый
противопожарный инструктаж проводится работником, ответственным за обеспечение
пожарной безопасности в организации, или непосредственно руководителем работ
(мастером, инженером), имеющим необходимую подготовку индивидуально или с
группой работников одной профессии. Объем и содержание внепланового
противопожарного инструктажа определяются в каждом конкретном случае в
зависимости от причин и обстоятельств, вызвавших необходимость его проведения.
Целевой противопожарный
инструктаж проводится:
при выполнении разовых
работ, связанных с повышенной пожарной опасностью (сварочные и другие огневые
работы);
при ликвидации
последствий аварий, стихийных бедствий и катастроф;
при производстве работ,
на которые оформляется наряд-допуск, при производстве огневых работ во
взрывоопасных производствах;
при проведении экскурсий
в организации;
при организации массовых
мероприятий с обучающимися;
при подготовке в
организации мероприятий с массовым пребыванием людей (заседания коллегии,
собрания, конференции, совещания и т.п.), с числом участников более 50 человек.
Целевой противопожарный
инструктаж по пожарной безопасности завершается проверкой приобретенных
работником знаний и навыков пользоваться первичными средствами пожаротушения,
действий при возникновении пожара, знаний правил эвакуации, помощи
пострадавшим, лицом, проводившим инструктаж.
Руководители,
специалисты и работники организаций, ответственные за пожарную безопасность,
обучаются пожарно-техническому минимуму в объеме знаний требований нормативных
правовых актов, регламентирующих пожарную безопасность, в части
противопожарного режима, пожарной опасности технологического процесса и
производства организации, а также приемов и действий при возникновении пожара в
организации, позволяющих выработать практические навыки по предупреждению
пожара, спасению жизни, здоровья людей и имущества при пожаре.
Обучение
пожарно-техническому минимуму руководителей, специалистов и работников
организаций, не связанных с взрывопожароопасным производством, проводится в
течение месяца после приема на работу и с последующей периодичностью не реже
одного раза в три года после последнего обучения, а руководителей, специалистов
и работников организаций, связанных с взрывопожароопасным производством, один
раз в год. Работники организаций, имеющие квалификацию инженера (техника)
пожарной безопасности, а также работники федерального органа исполнительной
власти, уполномоченного на решение задач в области пожарной безопасности и его
структурных подразделений, преподаватели образовательных учреждений,
осуществляющие преподавание дисциплины "Пожарная безопасность",
имеющие стаж непрерывной работы в области пожарной безопасности не менее пяти
лет, в течение года после поступления на работу (службу) могут не проходить
обучение пожарно-техническому минимуму.
Обязанности по
организации обучения пожарно-техническому минимуму в организации возлагаются на
ее руководителя. Обучение пожарно-техническому минимуму организуется как с отрывом,
так и без отрыва от производства.
Вывод: для обеспечения
эффективного тушения пожаров очень важно своевременно поддерживать
теоретическую подготовку персонала.
Обучение
пожарно-техническому минимуму по разработанным и утвержденным в установленном порядке
специальным программам, с отрывом от производства проходят:
руководители и главные
специалисты организации или лица, исполняющие их обязанности; работники,
ответственные за пожарную безопасность организаций и проведение
противопожарного инструктажа;
руководители первичных
организаций добровольной пожарной охраны; руководители загородных
оздоровительных учреждений для детей и подростков;
работники, выполняющие
газоэлектросварочные и другие огневые работы;
водители пожарных
автомобилей и мотористы мотопомп детских оздоровительных учреждений;
иные категории
работников (граждан) по решению руководителя.
Обучение с отрывом от
производства проводится в образовательных учреждениях пожарно-технического
профиля, учебных центрах федеральной противопожарной службы МЧС России,
учебно-методических центрах по гражданской обороне и чрезвычайным ситуациям
субъектов РФ, территориальных подразделениях Государственной противопожарной
службы МЧС России, в организациях, имеющих лицензию на деятельность по тушению
пожаров.
Руководителям и
специалистам организаций, где имеются взрывопожароопасные и пожароопасные
производства рекомендуется проходить обучение в специализированных учебных
центрах, где оборудованы специальные полигоны, учитывающие специфику
производства.
По разработанным и
утвержденным в установленном порядке специальным программам
пожарно-технического минимума непосредственно в организации обучаются
руководители подразделений организации, руководители и главные специалисты
подразделений взрывопожароопасных производств; работники, ответственные за
обеспечение пожарной безопасности в подразделениях; педагогические работники
дошкольных образовательных учреждений; работники, осуществляющие круглосуточную
охрану организации; граждане, участвующие в деятельности подразделений пожарной
охраны по предупреждению и (или) тушению пожаров на добровольной основе;
работники, привлекаемые к выполнению взрывопожароопасных работ.
Обучение по специальным
программам пожарно-технического минимума непосредственно в организации проводится
руководителем организации или лицом, назначенным приказом (распоряжением)
руководителя организации, ответственным за пожарную безопасность, имеющим
соответствующую подготовку.
Выводы и рекомендации
Пожарная безопасность
аэропорта обеспечивается системами предотвращения пожара и противопожарной
защиты, а также организационно-техническими мероприятиями. Разработка таких
систем осуществляется исходя из анализа пожарной опасности и защиты
предприятия. Метод анализа пожарной опасности и защиты основан на выявлении в
транспортных условиях причин возникновения горючей среды, источников зажигания
и путей распространения огня, без знания которых невозможно провести
пожарно-техническую экспертизу проектных материалов, пожарно-техническое
обследование объектов, исследование происшедших пожаров и загораний, других
видов работ.
Одним из важных условий
предотвращения пожара является бдительное слежение за опасными объектами
аэропорта, выполнение противопожарных правил и инструкций.
Литература
1. Безопасность жизнедеятельности. Учебник для вузов / Белов
С.В., Ильницкая А.В., Козьяков А.Ф., и др.; Под общ.ред. Белова С.В. - М.:
Высш.шк., 1999.
2. Гринин А.С., Новиков В.Н. Экологическая безопасность.
Защита территории и населения при чрезвычайных ситуациях: Учебное пособие. -
М.: ФАИР-ПРЕСС, 2000.
. Русак О.Н., Малаян К.Р., Занько Н.Г. Безопасность
жизнедеятельности: Учебное пособие /Под ред. Русака О.Н. - СПб.: Издательство
«Лань», 2000.
. В. А. Макашев, С. В. Петров. «Опасные ситуации
техногенного характера и защита от них: учебное пособие»
. Осокин, В. В., Селезнева, Ю. А.* Основы охраны труда
[текст]: метод. указания к выполнению лаб. работы «Огнетуш. вещества и средства
пожаротушения» для студентов всех спец. и форм обучения / В. В. Осокин, Ю. А.
Селезнева; Донец. нац. ун-т экономики и торговли им. М. Туган-Барановского,
каф. холодил. и торг. техники. - Донецк: ДонНУЭТ, 2008. - 21 с.
. ГОСТ Р 23.0.01 "Безопасность в чрезвычайных
ситуациях. Основные положения.
. ГОСТ Р 22.0.02 "Безопасность в чрезвычайных
ситуациях. Термины и определения основных понятий
. ГОСТ 12.1.033 "ССБТ. Пожарная безопасность. Термины
и определения".
. СНиП 21-01-97 «Пожарная безопасность зданий и
сооружений».
. СНиП 2.04.09-84 "Пожарная автоматика зданий и
сооружений".
. Фалеев М. И., «Гражданская оборона и пожарная
безопасность», М., 2002
. Бобок С. А., Юртушкин В. И., «Чрезвычайные ситуации:
защита населения и территории», М., 2002.
. Горбовицкий Р. М., «Основы техники безопасности и
противопожарной техники», М., 1966.
. 13.Киселев Н. Д., «Основы техники безопасности и
противопожарной техники в машиностроении», М., 1964.
. Шевелов Л. М., «Техника безопасности в машиностроении»,
М., 1961.
. Павлов С. П., Павлов И.П., Сычева Н. А., Спесивсева Н.
Ф., «Техника безопасности и противопожарная техника в радиоэлектронной
промышленности», М., 1969.
. Приложение к Федеральному закону 122-Ф3 *Технический
регламент о требованиях пожарной безопасности.