Надежность технических систем

  • Вид работы:
    Контрольная работа
  • Предмет:
    Информатика, ВТ, телекоммуникации
  • Язык:
    Русский
    ,
    Формат файла:
    MS Word
    27,96 Кб
  • Опубликовано:
    2013-11-08
Вы можете узнать стоимость помощи в написании студенческой работы.
Помощь в написании работы, которую точно примут!

Надежность технических систем

Надежность технических систем

Система - объект, представляющий совокупность элементов, взаимодействующих в процессе выполнения определенного круга задач и взаимосвязанных функционально. В лабораторной работе под системой понимается электронный модуль, предназначенный для решения определенной задачи.

Элемент системы - объект, представляющий собой простейшую часть системы, например резистор, конденсатор, трансформатор и т.п.

Надежность - свойство объекта сохранять во времени в установленных пределах значения всех параметров.

Работоспособное состояние - состояние объекта, при котором значения всех параметров, характеризующих способность выполнять заданные функции, соответствуют требованиям нормативно-технической документации.

Неработоспособное состояние - состояние объекта, при котором значение хотя бы одного параметра, характеризующего способность объекта выполнять заданные функции, не соответствует требованиям нормативно-технической документации.

Отказ - событие, заключающееся в нарушении работоспособного состояния объекта.

Внезапный отказ характеризуется скачкообразным изменением значений одного или нескольких основных параметров объекта.

Наработка - продолжительность или объем работы объекта.

Наработка до отказа - наработка объекта от начала его эксплуатации до возникновения первого отказа.

Невосстанавливаемый объект - объект, для которого в рассматриваемой ситуации проведение восстановления работоспособного состояния не предусмотрено нормативно-технической документацией.

Технология изготовления современных элементов аппаратуры столь сложна, что не всегда удается проследить за скрытыми дефектами производства, которые должны выявляться на стадии тренировки и приработки аппаратуры. В результате в сферу эксплуатации могут проникать следующие дефектные элементы: резистор с недостаточно прочным креплением токоотвода; токопроводящий слой печатного монтажа, у которого толщина либо чрезвычайно малая, либо чрезмерно большая; интегральная схема, у которой соединение вывода с печатным монтажом недостаточно прочное и т.д. В процессе эксплуатации могут создаваться условия, при которых скрытый дефект приводит к отказу изделия (пиковые нагрузки, вибрация, температурный скачок, помехи и т.д.). При большом уровне случайных неблагоприятных воздействий внезапный отказ может произойти даже при отсутствии скрытых дефектов.

Необходимо отличать логическую схему соединения элементов расчета надежности от электрической схемы соединения радиоэлектронных элементов.

При расчете надежности объекта строится логическая схема соединения его элементов.

В качестве простого примера рассмотрим два параллельно включенных диода, выполняющих функцию выпрямителя (рис. 1).

а

б

Рис. 1. Схемы соединения элементов: а-электрическая схема; б-логическая схема

Таким образом, если модуль выходит из строя при отказе любого из его N элементов, то логическая схема расчета надежности состоит из N последовательно соединенных элементов. Надежность таких объектов исследуется в этой лабораторной работе.

Показатель надежности - характеристика, определяющая одно или несколько свойств, составляющих надежность объекта.

Вероятность безотказной работы за наработку tз есть вероятность того, что объект проработает безотказно в течение заданного времени tз, начав работать в момент времени t=0:

P (0, tз) = P(tз) = P (T>=tз), (1)

где tз - заданная наработка; T - случайная величина, представляющая наработку объекта до отказа.

Другими словами, P(tз) является монотонно убывающей функцией, причем очевидно P(0)=1 и P(tз=) = 0, так как любой объект, работоспособный в момент включения, со временем откажет.

Вероятность отказа есть вероятность того, что объект откажет в течение заданной наработки от 0 до tз:

Q(tз) = 1-P(tз) = P (T< tз). (2)

Очевидно, что Q(0) = 0 и Q(tз=) = 1.

Вероятность безотказной работы объекта на интервале времени от t1 до t2 можно определить из соотношения

P(t1, t2) = P(t2)/P(t1). (3)

Плотность вероятности отказа есть производная от вероятности отказа невосстанавливаемого объекта

. (4)

Одним из основных расчетных показателей надежности является интенсивность отказов:

 (5)

Если этот показатель известен, то другие показатели легко рассчитать:

 (6)

 (7)

. (8)

На участке нормальной эксплуатации преобладают случайные внезапные отказы, поэтому обычно принимают интенсивность отказов . В этом случае говорят, что используется экспоненциальный закон надежности, для которого верны следующие расчетные соотношения:


Q(tз)=1- (10)

f(tз)=  (11)

P (t, t2)=. (12)

В качестве показателя надежности невосстанавливаемого объекта широко используется средняя наработка до отказа - математическое ожидание наработки объекта до отказа.

Tср= . (13)

Если , то средняя наработка до отказа

Tср= (14)

т.е. при экспоненциальном законе надежности средняя наработка до отказа обратно пропорциональна интенсивности отказов.

Тогда

 и  (15)

Если t=Tcp, то

P(Tcp,) =

т.е. в этом случае под средней наработкой до отказа можно понимать такую наработку, по истечении которой из множества одинаковых объектов в среднем должны остаться работоспособными 37%.


Вода, содержащая ионы серебра («серебряная» или «живая» вода), нашла применение в медицине и в быту, а ее полезные свойства описаны в литературе. «Серебряную» воду можно изготавливать и в домашних условиях. Особенности прибора, предлагаемого вниманию читателей для получения такой воды, - это возможность путем расчета определить количество растворившегося в воде серебра и равномерный износ электродов. Автор изготовил свой прибор, используя относительно старые компоненты. Они без проблем заменяются на современные. Более того, можно заметно упростить конструкцию, используя, например, микросхемы.

Для получения «серебряной воды» через опущенные в воду электроды из серебра пропускают электрический ток.

Количество растворившегося серебра М в миллиграммах можно подсчитать по формуле:

М=1,118*I*Т*К,

где I - величина тока, протекающего через электроды, А; Т - время прохождения тока, с; К - коэффициент, равный для питьевой воды 0,9.

Предлагаемый вниманию читателей прибор обеспечивает стабильный ток через электроды 16 мА вне зависимости от характеристик воды, расстояния между электродами и напряжения питания. Производительность его 1 мг/мин.

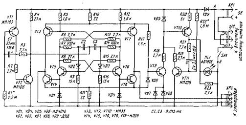
Электрическая схема прибора для получения «серебряной» воды приведена на рисунке. Он состоит из генератора тактовых импульсов, триггера, задающего частоту коммутации электродов, устройства изменения полярности включения электродов и стабилизации протекающего через них тока и светодиодного индикатора.

Генератор тактовых импульсов выполнен на транзисторах VT1, VT2. Длительность импульсов задается цепочкой R3C1, а период их следования - цепочкой R1C1. В нашем случае длительность импульсов значения не имеет, а вот от периода их следования (примерно 2…4 мин, что тоже не особенно существенно) зависит частота переключения электродов ионатора.

Тактовые импульсы с коллектора транзистора VT2 подаются на счетный триггер на транзисторах VT5, VT6. От классического этот триггер отличается наличием четырех выходов, предназначенных для токового управления ключевым каскадом, выполненным по мостовой схеме на транзисторах VT3, VT4, VT7, VT8. Ключевой каскад меняет полярность напряжения на электродах и стабилизирует ток через них.

Рассмотрим работу данного коммутатора подробнее. Предположим, что транзистор VT5 триггера открыт, а VT6 - закрыт.

Эмиттерный ток транзистора VT5 протекает через диод VD1 и создает на нем напряжение, способное открыть регулирующий транзистор VT4. Из-за наличия резистора R11 в цепи его эмиттера последний работает в режиме стабилизации тока, проходящего через электроды. Коллекторный ток транзистора VT5 протекает через резисторы R6, R12 и базу транзистора VT7 ключевого каскада, поэтому последний открыт и на его коллекторе присутствует напряжение, близкое к напряжению питания. Транзисторы VT3, VT8 коммутатора в этом случае будут закрыты из-за закрытого состояния транзистора VT6 триггера и наличия на их эмиттерах запирающих напряжений с резисторов R10, R11. Таким образом, в рассматриваемом варианте ток будет проходить по цепи R10-VT7-электроды прибора - VT4 - R11 и напряжение на контактах 1, 2 разъема ХРЗ будет иметь отрицательную полярность. Очередной тактовый импульс переключит триггер в иное состояние, и открыт уже будет транзистор VT6, а закрыт VT5. Теперь ток потечет по цепи R10-VT3-электроды прибора - VT8 - R11 и отрицательная полярность напряжения будет на контактах 3, 4 разъема ХРЗ. Регулирующие транзисторы VT4, VT8 компенсируют изменения питающего напряжения и напряжения на электродах. Кроме того, они ограничивают сквозные токи транзисторов моста в моменты переключения и выходные токи при случайном замыкании электродов друг с другом.

При разряженной батарее или при повышенном падении напряжения на электродах регулирующие транзисторы могут оказаться в состоянии насыщения, вследствие чего стабилизация тока нарушится. Эту ситуацию контролирует каскад на транзисторе VT9 и диодах VD6-VD8. При штатной работе напряжение на электродах повышено и диоды VD7, VD8, а также транзистор VT9 закрыты.

При насыщении какого-либо из регулирующих транзисторов остаточное напряжение на его коллекторе в сумме с падением напряжения на соответствующем диоде (VD7 или VD8) становится ниже падения напряжения на диоде VD6 и транзистор VT9 открывается.

На транзисторах VT10, VT11 и свето-диоде HL1 собран индикатор работы прибора. Он представляет собой генератор импульсов (вспышек света) большой скважности, управляемый транзистором VT9. Закрытый транзистор не влияет на работу генератора, а открытый - переводит его в режим постоянного свечения светодиода. Чтобы яркость свечения при разряде батареи не менялась, транзистор VT10 работает в режиме стабилизации тока, проходящего через светодиод. Через резистор R23 протекает ток разрядки конденсатора С4 при малых напряжениях на светодиоде.

Прибор для получения «серебряной» воды собран на печатной плате из стеклотекстолита размерами 102х55 мм.

При монтаже могут быть использованы резисторы УЛМ - 0,12, ВС - 0,125, МЛТ - 0,125 или МЛТ - 0,25 и др.

Конденсаторы С2, СЗ - любые керамические (например, К10-23); С1, С4 - любые оксидные с малым током утечки (например К53-4). Если в наличии имеются неполярные конденсаторы, то лучше применить их.

Германиевые транзисторы структуры п-р-п можно взять любые из серий МП35-МП38, П8-П11, а структуры р-п-р из серий МП39-МП42, П13-П16, МП25, МП26, П25, П26 с коэффициентом передачи тока 30…90.

Кремниевые транзисторы - структуры п-р-п (МП101-МП103, МП111-МП113, П101-П103) и р-п-р (МП104-МП106, МП114-МП116, П104-П106) с коэффициентом передачи тока 15…45.

Вместо диодов КД401Б подойдут практически любые кремниевые маломощные. Светодиод АЛ102Б можно заменить на АЛ307 желаемого цвета свечения. Выключатель SA1 - миниатюрный П1ТЗ. Розетка ХР1 взята от использованной батареи «Крона», разъем ХР2 (ОНП-ВС-18) - от калькулятора, а разъем ХРЗ выпилен из соединителя ГРППЗ-36ШП (взято две пары контактов).

Из-за малой длины выводов светодиод HL1 распаян на выводах резистора R23.

Корпус прибора можно спаять из пластин фольгированного стеклотекстолита толщиной 0,8…1,5 мм.

Размеры заготовок: 22х55 мм - 2 шт.; 22х132 мм - 2 шт.; 55х130 мм - 1 шт.; 57х132 мм - 1 шт.

Под пайку оставляют полоски фольги 1,5…3 мм по периметру заготовок. Для крепления печатной платы на боковых стенках корпуса нужно припаять или приклеить бобышки с резьбой М2. В корпусе по месту выпилить отверстия под светодиод HL1, выключатель SA1 и разъемы ХР2, ХРЗ.

Держатель электродов рекомендуется выполнить в виде лопатки с ручкой и клювиком - крючком из органического стекла толщиной 4…6 мм. На лопатку с двух сторон медицинским клеем БФ-6 нужно наклеить пластины электродов (площадь поверхности одного электрода около 1 см2), и через ручку вывести соединительные проводники.

Места паек не должны смачиваться водой. Наиболее пригодно для электродов технически чистое серебро, содержащееся в некоторых промышленных комплектующих изделиях, а также бытовое серебро наивысшей пробы.

При настройке прибора желаемую частоту переключения электродов устанавливают подбором резистора R1, а вспышек светодиода - подбором резистора R22. В заключение, подключив вместо электродов миллиамперметр, подбором резистора R11 устанавливают ток через электроды, равный 16 мА.

Для приготовления «серебряной воды» нужно поместить электроды в воду и включить питание. Нормальный процесс сопровождается миганием светодиода; при отсутствии воды, разряженной батарее или чрезмерно большом расстоянии между электродами светодиод горит постоянно. Продолжительность работы прибора определяется его производительностью (1 мг/мин), объемом воды и требующейся концентрацией. Например, при концентрации 20 мг/л и одном литре воды прибор должен работать в течение 20 мин. По истечении этого времени питание следует отключить, электроды вынуть и сполоснуть чистой водой.

Приготовленную воду перемешать и поставить в темное место на 4 ч, после чего она становится пригодной к употреблению.

Серебряная вода должна храниться в темном месте, поскольку на свету серебро чернеет и выпадает в осадок.

В процессе эксплуатации электроды также чернеют из-за окисления, но это не сказывается на процессе серебрения воды.

Подвергавшаяся промышленной очистке вода (хлорированная и др.) должна быть предварительно отфильтрована (через фильтр «Родник» и т.п.) или отстояна в течение нескольких часов для удаления хлора.

«Серебряная» вода не подлежит кипячению, которое переводит серебро в физиологически недействующую форму.

серебряный надежность транзистор технический

Похожие работы на - Надежность технических систем

 

Не нашли материал для своей работы?
Поможем написать уникальную работу
Без плагиата!
Без нейросетей!