Определение тангенса угла диэлектрических потерь

  • Вид работы:
    Практическое задание
  • Предмет:
    Физика
  • Язык:
    Русский
    ,
    Формат файла:
    MS Word
    20,65 Кб
  • Опубликовано:
    2013-10-31
Вы можете узнать стоимость помощи в написании студенческой работы.
Помощь в написании работы, которую точно примут!

Определение тангенса угла диэлектрических потерь

Лабораторная работа №2:

Предмет: Наладка электрооборудования

«Определение тангенса угла диэлектрических потерь»

Цель: научится определять тангенс угла диэлектрических потерь.

Литература: А. П. Алексеев, С. В. Хавроничев «Монтаж и эксплуатация электроустановок» Волгоград, «Политехник», 2006 г.

Для определения tg дельта проводят два измерения, для которых используют специально разработанные ячейки. Конструкция ячейки должна быть удобной для разборки и тщательной очистки, а ее электроды должны сохранять первоначальное положение относительно друг друга, чтобы собственная емкость ячейки не отличалась при очередных испытаниях более чем на 3 %.

Применяемые для изготовления ячеек материалы должны выдерживать требуемые температуры, а изменение температуры не должно влиять на взаимное расположение электродов. В качестве твердого электроизоляционного материала применяют плавленый кварц, фторопласт или соответствующую указанным требованиям керамику.

Для изготовления электродов используются металлы, устойчивые против коррозии, вызываемой испытуемой жидкостью или промывочным составом, и не оказывающие каталитического воздействия (окисления) на испытуемые жидкости.

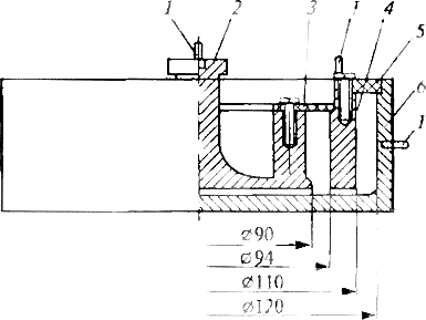
Измерительные ячейки могут иметь разную конструкцию: плоские или цилиндрические, двух- или трехзажимные. На рисунке показана трехзажимная ячейка с плоскими электродами. Ячейка имеет три электрода: внешний высоковольтный, внутренний измерительный и промежуточный охранный. Внешний электрод одновременно служит оболочкой сосуда, в который заливается испытуемая жидкость. Такие ячейки применяют при проведении приемосдаточных испытаний, входном и периодическом контроле. В остальных случаях используют ячейки трехзажимного типа.

Обязательными размерами в конструкции ячейки являются зазоры между измерительными и высоковольтными электродами и между измерительным и охранным электродами. Эти зазоры должны быть (2 ± 01) мм. Электроды ячейки должны иметь контактные зажимы, обеспечивающие надежное соединение с элементами схемы. Соединение с измерительным прибором выполняют экранированным кабелем. При этом охранный электрод ячейки трехзажимного типа должен быть присоединен к заземлению и к экрану кабеля, соединяющего внутренний (измерительный) электрод с измерительным прибором.

Установка для измерения тангенса угла диэлектрических потерь состоит из источника (генератора) напряжения, измерительного устройства и индикатора. Источник должен обеспечивать получение напряжения практически синусоидальной формы, колебания напряжения - не более 1 %, изменение частоты - не более 0,5 %. Установка должна обеспечивать измерение емкости от 20 до 1000 Ф с погрешностью не более ±0,01 Ф и тангенса угла диэлектрических потерь от 0,0001 до 1 с погрешностью не более ±5%.

Плоская трехзажимная измерительная ячейка: I - зажимы для соединения с измерительной схемой: 2 ~ измерительный электрод; 3 и 5 проводники; 4 охранный электрод: 6 - высоковольтный электрод

Измерение tgδ проводят мостом Вина - измерительным мостом переменного тока, предназначенным для измерения емкости и коэффициента потерь конденсаторов. Мост представляет собой последовательное соединение измеряемого объекта (емкость Сх с потерями) со схемой сравнения, копирующей схему замещения этой емкости, и параллельно соединенным с ними делителя напряжения из двух активных сопротивлений.

В соответствии со схемой замещения измеряемого объекта схема сравнения представляет собой последовательную цепочку образцовой емкости CN с малыми или пренебрежимыми потерями и фазовыравнивающего сопротивления Rw. Емкость и сопротивление потерь конденсатора определяются независимо от частоты источника:


Зная частоту источника питания, получают коэффициент потерь.


В качестве нулевого индикатора применяют вибрационный гальванометр, селективный микровольтметр или осциллограф.

Перед проведением измерения ячейка должна быть полностью демонтирована и все ее детали должны быть дважды тщательно промыты растворителем (при испытании нефтяных масел используются углеводородные растворители, например толуол).


Мост Вина

После сушки летали ячейки осаждают до температуры на 5...7 С выше комнатной и собирают ее, стараясь избегать Прикосновения незащищенными руками к рабочей поверхности электродов. Затем ячейку присоединяют к измерительной схеме, определяют емкость пустой ячейки (С0), а также ее tgδ0. Значение tg50 при температуре 15...35 С для трехзажимной ячейки не должно превышать 0,0001, а для двухзажимной - 0,0003. На основании этих измерений оценивают чистоту изоляционных прокладок ячейки. При больших значениях tgδ ячейку следует разобрать и вновь промыть.

Если электрофизические показатели определяют в пробе, взятой из трансформатора, или в пробе, подготовленной для заполнения бака, ее предварительную обработку не проводят.

При испытании масла после транспортировки или хранения на складе определяют электрофизические показатели сухого масла, проводя его предварительную сушку. Для этого масло пропускают через фильтрующую воронку при температуре 60...80°С и при избыточном давлении 1333...2666 Па (10...20 мм рт. ст.) с последующей выдержкой при таких условиях в тонком (5... 10 мм) слое в течение 50 мин.

Перед проведением первого измерения ячейку сначала заполняют испытуемым маслом и, не проводя измерения, жидкость выливают. Затем повторно заполняют ячейку до уровня на 3...5 мм выше нижнего края охранного электрода, помещают ее в предварительно нагретый до температуры испытания термостат, присоединяют к электрической схеме и после достижения ячейкой заданной температуры проводят измерение. Для измерений при комнатной температуре термостат не используют. Отсчет значения tg5 проводят не более чем через 3 мин после включения напряжения.

При проведении второго измерения чистую собранную ячейку нагревают до температуры, на 5... 10°С превышающей заданную температуру измерения, заполняют порцией нагретой жидкости и выливают ее. Ячейку вновь заполняют порцией нагретой жидкости и выдерживают 20 мин при заданной температуре, после чего определяют tgS. Каждое из двух измерений предпочтительно проводить в своей отдельной ячейке.

Обработка результатов измерений. Расхождение между результатами двух измерений tgδ не должно превышать 15 % от значения большего результата плюс 0,0002, Если расхождение между результатами измерений превышает указанные пределы, то продолжают измерения на новых порциях диэлектрика пока не получат удовлетворительное расхождение. Расчет значений tg δ проводится по следующим формулам:

при проведении измерений в трехзажимной ячейке


при проведении измерении в двухзажимной ячейке


где С0, tgδ - соответственно емкость (Ф) и тангенс угла диэлектрических потерь пустой измерительной ячейки; С1 tgδ - емкость (Ф) и тангенс угла диэлектрических потерь измерительной ячейки, заполненной испытываемым маслом; Сп - паразитная емкость ячейки (обусловлена наличием твердых электроизоляционных прокладок, пустот, емкости проводов и т.д.), Ф; Ск - емкость измерительной ячейки, заполненной жидкостью с известным значением диэлектрической проницаемости £к (калибровочной жидкостью) и с tg δ < 0,01.

За результат измерения tg δ принимают меньшее из двух полученных в опытах значений.

тангенс диэлектрический электроизоляционный измерение

Вывод

В данной работе рассмотрен метод определения тангенса диэлектрических потерь с использованием специально разработанных ячеек, а также их обслуживание и использование в измерениях.

Похожие работы на - Определение тангенса угла диэлектрических потерь

 

Не нашли материал для своей работы?
Поможем написать уникальную работу
Без плагиата!
Без нейросетей!