Механические свойства твердых тел
Контрольная
работа
Механические
свойства твердых тел
1. Деформация
Деформация (от лат. deformatio -
искажение), изменение относительного положения частиц тела, связанное с их
перемещением. Деформация представляет собой результат изменения междуатомных
расстояний и перегруппировки блоков атомов. Обычно деформация сопровождается
изменением величин междуатомных сил, мерой которого является упругое напряжение
<mmdtp://$48628>.
Наиболее простые виды деформации
тела в целом: растяжение <mmdtp://$48632> - сжатие, сдвиг
<mmdtp://$48635>, изгиб <mmdtp://$48626>, кручение
<mmdtp://$48627>. В большинстве случаев наблюдаемая деформация
представляет собой несколько деформации одновременно. В конечном счёте, однако,
любую деформации можно свести к 2 наиболее простым: растяжению (или сжатию) и
сдвигу. Деформация тела вполне определяется, если известен вектор перемещения
каждой его точки. Деформация твёрдых тел в связи со структурными особенностями
последних изучается физикой твёрдого тела, а движения и напряжения в
деформируемых твёрдых телах - теорией упругости и пластичности. У жидкостей и
газов, частицы которых легкоподвижны, исследование деформации заменяется
изучением мгновенного распределения скоростей.
Деформация твёрдого тела может
явиться следствием фазовых превращений, связанных с изменением объёма,
теплового расширения, намагничивания (магнитострикционный эффект), появления
электрического заряда (пьезоэлектрический эффект) или же результатом действия
внешних сил. Деформация называется упругой, если она исчезает после удаления
вызвавшей её нагрузки, и пластической, если после снятия нагрузки она не
исчезает (во всяком случае полностью). Все реальные твёрдые тела при деформации
в большей или меньшей мере обладают пластическими свойствами. При некоторых
условиях пластическими свойствами тел можно пренебречь, как это и делается в
теории упругости. Твёрдое тело с достаточной точностью можно считать упругим,
т.е. не обнаруживающим заметных пластических деформаций, пока нагрузка не
превысит некоторого предела.
Природа пластической деформации
может быть различной в зависимости от температуры, продолжительности действия
нагрузки или скорости деформации. При неизменной приложенной к телу нагрузке
деформация изменяется со временем; это явление называется ползучестью. С
возрастанием температуры скорость ползучести увеличивается. Частными случаями
ползучести являются релаксация <mmdtp://$48633> и последействие
<mmdtp://$48631> упругое. Релаксация - процесс самопроизвольного
уменьшения внутреннего напряжения с течением времени при неизменной деформации.
Процесс самопроизвольного роста деформации с течением времени при постоянном
напряжении называется последействием. Одной из теорий, объясняющих механизм
пластической деформации, является теория дислокаций <mmdtp://$48625> в
кристаллах.
В теории упругости и пластичности
тела рассматриваются как «сплошные». Сплошность, т.е. способность заполнять
весь объём, занимаемый материалом тела без всяких пустот является одним из
основных свойств, приписываемых реальным телам. Понятие сплошности относится
также к элементарным объёмам, на которые можно мысленно разбить тело. Изменение
расстояния между центрами каждых двух смежных бесконечно малых объёмов у тела,
не испытывающего разрывов, должно быть малым по сравнению с исходной величиной
этого расстояния.
Простейшей элементарной деформацией
является относительное удлинение некоторого элемента:
, где
- длина
элемента после Д.,
-
первоначальная длина этого элемента. На практике чаще встречаются малые Д., так
что
.
Измерение деформации производится
либо в процессе испытания материалов с целью определения их механических
свойств, либо при исследовании сооружения в натуре или на моделях для суждения
о величинах напряжений. Упругие деформации весьма малы, и измерение их требует
высокой точности. Наиболее распространённый метод исследования деформации - с
помощью тензометров <mmdtp://$48637>. Кроме того, широко применяются
тензодатчики <mmdtp://$48636> сопротивления, поляризационно-оптический
метод исследования <mmdtp://$48630> напряжения, рентгеновский структурный
анализ <mmdtp://$48634>. Для суждения о местных пластических деформаций
применяют накатку на поверхности изделия сетки, покрытие поверхности легко
растрескивающимся лаком и т.д.
2. Напряжение
Напряжение механическое, мера
внутренних сил, возникающих в деформируемом теле под влиянием внешних
воздействий. При изучении напряжении в любой точке проводят сечение тела через
эту точку. Взаимодействие соприкасающихся по сечению частей тела заменяют
силами. Если на элементарную площадку
, окружающую точку М, действует сила
то предел
отношения lim
= р
называется напряжением в точке М по площадке ДS; эта величина является
векторной. Составляющие вектора напряжения: по нормали к сечению - нормальное
напряжение
, а в
плоскости сечения - касательное -
, причём
.
Совокупность всех векторов напряжения для всех площадок, проходящих через точку
М, характеризует напряжённое состояние в точке. Оно полностью определяется
тензором напряжений, компоненты которого
,
,
,
,
,
и есть напряжении по граням
бесконечно малого параллелепипеда, выделенного около данной точки.
В пределах упругости материала
зависимость между напряжением и деформациями описывается соотношениями теории
упругости; в упругопластическом состоянии - уравнениями теории пластичности.
Опытное изучение напряжения производится методом тензометрии, а также с помощью
оптических методов (например, поляризационно-оптического метода исследования
<mmdtp://$104996> напряжений).
3. Закон Гука
деформация
напряжение твердый гук
Гука закон, основной закон,
выражающий связь между напряжённым состоянием и деформацией упругого тела.
Установлен англ. физиком Р. Гуком <mmdtp://$41127> в 1660 для простейшего
случая растяжения или сжатия стержня в форме: абсолютное удлинение (укорочение)
Дl цилиндрического стержня прямо пропорционально растягивающей (сжимающей) силе
N, т.е.
, где
- длина
стержня, S - площадь его поперечного сечения, Е модуль продольной упругости,
являющийся механической характеристикой (константой) материала]. Закон Гука
удобно представлять также в форме
- где
-
нормальное напряжение в поперечном сечении,
- относительное удлинение
(укорочение) стержня.
При сдвиге закон Гука записывается
так:
, где
-
касательное напряжение,
- сдвиг, G
- т. н. модуль сдвига; при сдвиге касательное напряжение прямо пропорционально
сдвигу.
Обобщённый закон Гука - для тела
произвольной формы - утверждает, что 6 величин, определяющих напряжённое
состояние в точке, выражаются линейно через 6 величин, определяющих деформацию
<mmdtp://$41128> в окрестности рассматриваемой точки. Коэффициент
пропорциональности в этих соотношениях называются модулями упругости <mmdtp://$41130>.
В анизотропных телах, например в кристаллах, модули упругости различны в разных
направлениях, поэтому в общем случае упругие свойства твёрдого тела
характеризуются с помощью 21 модуля упругости. Для изотропных тел число
независимых упругих постоянных сводится к двум.
Закон Гука не имеет места, когда
некоторые напряжения (или деформации) достигают предельных значений,
характерных для каждого материала, и тело переходит в упруго-пластическое
состояние. Закон Гука является основным соотношением, применяемым при расчёте
на прочность и деформируемость конструкций и сооружений.
4. Деформация изгиба
Приближённый расчёт прямого бруса на
действие изгиба в упругой стадии производится в предположении, что поперечные
сечения бруса, плоские до изгиба, остаются плоскими и после него (гипотеза
плоских сечений); полагают также, что продольные волокна бруса при изгибе не
давят друг на друга и не стремятся оторваться одно от другого. При плоском изгибе
в поперечных сечениях бруса возникают нормальные и касательные напряжения.
Нормальные напряжения в
произвольном
волокне какого-либо поперечного сечения бруса (рис. 2), лежащем на расстоянии y
от нейтральной оси, определяются формулой
где Mz - изгибающий момент в
сечении, a Iz - момент инерции поперечного сечения относительно нейтральной
оси. Наибольшие нормальные напряжения возникают в крайних волокнах сечения
(
- момент
сопротивления поперечного сечения). Касательные напряжения
,
возникающие при поперечном изгибе, определяются по формуле Д.И. Журавского
<mmdtp://$60787>
где Qy - поперечная сила в сечении,
Sz - статический момент относительно нейтральной оси части площади поперечного
сечения, расположенной выше (или ниже) рассматриваемого волокна, b - ширина
сечения на уровне рассматриваемого волокна.
Характер изменения изгибающих
моментов и поперечных сил по длине бруса обычно изображается графиками-эпюрами,
по которым определяются их расчётные значения. Под влиянием изгибе ось бруса
искривляется, ее кривизна определяется выражением
где
- радиус
кривизны оси изогнутого бруса в рассматриваемом сечении; Е - модуль продольной
упругости материала бруса. В случаях малых деформаций кривизна приближённо
выражается второй производной от прогиба V, а поэтому между координатами
изогнутой оси и изгибающим моментом существует дифференциальная зависимость
, называемая
дифференциальным уравнением оси изогнутого бруса. Решением этого уравнения
определяется упругая линия <mmdtp://$60792> балки (бруса).
Расчёт бруса на изгиб с учётом
пластических деформаций приближённо производится в предположении, что при
возрастании нагрузки (изгибающего момента) первоначально в крайних точках
(волокнах), а затем и во всём поперечном сечении возникают пластические
деформации. Распределение напряжений в предельном состоянии имеет вид двух прямоугольников
с ординатами, равными пределу текучести материала
т, при этом
кривизна бруса неограниченно возрастает. Такое состояние в сечении называется
пластическим шарниром, а соответствующий ему момент является предельным и
определяется по формуле
,
в которой S1 и S2 - статические моменты сжатой и
растянутой частей сечения относительно нейтральной оси.
Рис. 1. Изгиб бруса: а - чистый: б - поперечный;
в-продольный; г - продольно-поперечный.
Рис. 2. Чистый изгиб прямого бруса в упругой
стадии: а - элемент бруса; б - поперечное сечение; в-эпюра нормальных
напряжений.
5. Деформация кручения
(в сопротивлении материалов), вид деформации,
характеризующийся взаимным поворотом поперечных сечений стержня, вала и т.д.
под влиянием моментов (пар сил), действующих в этих сечениях. Поперечные сечения
круглых стержней (валов) при кручении остаются плоскими; при кручении
призматических стержней происходит т. н. депланация сечения (последнее не будет
плоским). Если депланация в разных сечениях различна, то наряду с касательными
напряжениями в поперечных сечениях стержня возникают также нормальные
напряжения. В этом случае кручение называется стеснённым. При свободном
кручении (когда депланация во всех сечениях одинакова) в поперечном сечении
возникают только касательные напряжения.
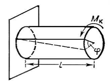
Наиболее часто встречающимся в практике случаем
является кручение круглого прямого стержня (рис. 3). В результате действия
крутящего момента Мк в поперечных сечениях стержня возникают касательные
напряжения
, а сечения стержня
(расстояние между которыми равно l) поворачиваются одно относительно другого на
угол закручивания
. Угол закручивания
на единицу длины стержня называют относительным углом закручивания
.
При свободном К. в упругой стадии относительный угол закручивания и наибольшие
касательные напряжения
max определяются по
формулам:
;
;
где G - модуль упругости при сдвиге; Iк и Wк -
условный момент инерции и момент сопротивления при кручении. В круглых сечениях
Iк представляет собой полярный момент инерции Ip =
r4/2,
а Wк - полярный момент сопротивления
.
Для прямоугольных сечений с большей стороной h и меньшей b:
,
,
где коэффициенты
и
определяются
в зависимости от отношения h/b по таблицам. Для узких сечений
)
можно принимать
.
При кручении круглого вала в упругой
стадии касательного напряжения распределяются в поперечном сечении по линейному
закону (рис. 4, а) и определяются по формуле
где
- расстояние от оси вала до
рассматриваемой точки сечения. В упруго-пластической стадии касательные
напряжения при кручении, соответствующие пределу текучести фт, распространяются
от поверхности к оси вала (рис. 4, б). В предельном состоянии
<mmdtp://$77361> пластическая зона распределяется до оси вала (рис. 4,
в), при этом предельный крутящий момент для круглого сечения:
Понятие кручение распространяется
также и на действие внутренних касательных сил, возникающих при деформации
пластинок <mmdtp://$77360> и оболочек <mmdtp://$77359>.
Рис. 3. Кручение круглого вала,
защемленного одним концом

6. Деформация сдвига
Сдвиг в сопротивлении материалов,
деформация <mmdtp://$192410> упругого тела, характеризующаяся взаимным
смещением параллельных слоев (волокон) материала под действием приложенных сил
при неизменном расстоянии между слоями. Пример сдвига: деформация
прямоугольного бруса (рис. 5), основание которого
закреплено,
а к верхней грани приложена сдвигающая сила, параллельная основанию. Величиной
перемещения cc1=dd1 определяется абсолютный сдвиг, а углом y (вследствие
малости деформаций
- относительный
сдвиг. Если по граням бруса действуют только касательные напряжения
(рис. 6),
сдвиг называется чистым; для такого сдвига справедливо соотношение
, где
- модуль
упругости при сдвиге. Чистый сдвиг - частный случай плоского напряжённого
состояния. Поэтому его можно рассматривать на основе одной из теорий прочности.
Проверка прочности материала на сдвиг. производится для болтовых и заклёпочных
соединений, сварных швов, врубок и т.п.
Рис. 5. Сдвиг
Рис. 6 Сдвиг
7. Пластическое течение
кристаллов
Пластическое течение твердых кристаллических тел
происходит путем осцилляций, осуществляемых по схеме кристаллографический сдвиг
+ ориентационный поворот. Вместе эти два процесса образуют
трансляционно-ротационную волну пластической деформации.
Пластическое течение кристаллов под
действием механического напряжения осуществляется путем перемещения дефектов
кристаллической решетки. При не слишком высоких температурах, когда скорость
диффузии точечных дефектов не велика, деформация определяется процессами
размножения и движения дислокаций, а также двойникованием.
Список используемой литературы
1. Бушманов Б.Н., Хромов Ю.А. Физика
твердого тела. Учебное пособие для втузов. - М, «высшая школа», 1971. - 224 с.
2. Александров А.В., Потапов
В.Д., Державин Б.П. Сопротивление материалов: Учебник для вузов. - М.: Высшая
школа, 2001. - 560 с.
. Варданян Г.С., Андреев
В.И., Атаров Н.М., Горшков А.А. Сопротивление материалов с основами теории
упругости и пластичности. - М.: АСВ, 1995. -
572 с.
. Дарков А.В., Шапиро Г.С.
Сопротивление материалов. - М.: Высшая школа, 1975. -
654 с.
. Минин Л.С., Окопный Ю.А.,
Радин В.П., Хроматов В.Е. Сборник задач по курсу «Механика материалов и
конструкций». - М.: МЭИ, 1998. - 303 с.