Принципы сотовой связи

  • Вид работы:
    Контрольная работа
  • Предмет:
    Информатика, ВТ, телекоммуникации
  • Язык:
    Русский
    ,
    Формат файла:
    MS Word
    462,47 Кб
  • Опубликовано:
    2013-08-06
Вы можете узнать стоимость помощи в написании студенческой работы.
Помощь в написании работы, которую точно примут!

Принципы сотовой связи

1. Общая структура компонентов сети сотовой связи, назначение отдельных подсистем

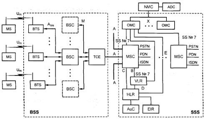
Сеть GSM состоит из нескольких функциональных объектов, функции и интерфейсы которых показаны на рис. 1.


ADC

Administration Center

Административный центр

AuC

Authentication Center

Центр аутентификации

BTS

Base Transceiver Station

Базовая приемо-передающая станция

BSC

Base Station Controller

Контроллер базовой станции

BSS

Base Station System

Подсистема базовой станции

EIR

Equipment Identification Register

Регистр идентификации оборудования

HLR

Home Location Register

Домашний регистр местоположения

ISDN

Integrated Services Digital Network

Цифровая сеть с интеграцией служб

MS

Mobile Station

Мобильная станция

MSC

Mobile Switching Center

Центр коммутации мобильной связи

NMC

Network Management Center

Центр управления сетью

ОМС

Operation and Maintenance Center

Центр эксплуатации и тех. обслуживания

PDN

Packet Data Network

Сеть пакетной коммутации

PSTN

Public Switched Telephone Network

Телефонная сеть общего пользования

SSS

Switching Subsystem

Коммутационная подсистема

VLR

Visit Location Register

Визитный регистр местоположения

ТСЕ

Transcoder Equipment

Транскодер

Рис. 1. Архитектура сети и интерфейсы GSM

Сеть GSM включает три основных части. Мобильные станции (MS), которые перемещаются с абонентом. Подсистема базовых станций (BSS), которая управляет радиолинией связи с мобильной станцией. Подсистема коммутации (SSS), главная часть которой - центр коммутации мобильный связи (MSC), выполняет коммутацию между мобильными станциями и между мобильными или стационарными сетевыми пользователями. MSC также управляет работой, связанной с передвижением абонента.

На рис. 1 не показан центр обслуживания, который наблюдает за надежным функционированием и изменениями в сети. Мобильная станция и подсистема базовых станций связываются по интерфейсу Um, также известному как «воздушный интерфейс» или радиолиния связи. Подсистема базовых станций взаимодействует с центром коммутации мобильной связи по А-интерфейсу.

Мобильная станция (MS) состоит из подвижной аппаратуры (терминал) и карты с интегральной схемой, включающей микропроцессор, которая называется модулем абонентской идентификации (SIM - Subscriber Identification Module). SIM-карта обеспечивает при перемещении доступ пользователя к оплаченным услугам независимо от используемого терминала. Вставляя SIM-карту в другой терминал GSM, пользователь может принимать вызовы, делать вызовы с этого терминала и получать другие услуги.

Подвижная аппаратура однозначно определяется с помощью международного опознавательного кода (идентификационного номера) мобильного оборудования (IMEI - International Mobile Equipment Identity). SIM-карта содержит международный опознавательный код мобильного абонента (IMSI -International Mobile Subscriber Identity), используемый для идентификации абонента, секретный код для удостоверения подлинности и другую информацию. IMEI и IMSI независимы в целях обеспечения наиболее вероятного опознавания личности и оборудования при передвижении абонента. SIM-карта может быть защищена против неправомочного использования паролем или личным номером.

Используется три типа оконечного оборудования подвижной станции: МТО (Mobile Terminal 0) - многофункциональная подвижная станция, в состав которой входит терминал данных с возможностью передачи и приема данных и речи; МТ1 (Mobile Terminal 1) - подвижная станция с возможностью связи через терминал с ISDN; MT2 (Mobile Terminal 2) - подвижная станция с возможностью подключения терминала для связи по протоколам МККТТ серий V или X.

Терминальное оборудование может состоять из оборудования одного или нескольких типов, такого как телефонная трубка с номеронабирателем, аппаратура передачи данных (DTE), телекс и т.д.

Различают следующие типы терминалов: ТЕ1 (Terminal Equipment 1) - терминальное оборудование, обеспечивающее связь с ISDN; TE2 (Terminal Equipment 2) - терминальное оборудование, обеспечивающее связь с любым оборудованием по протоколам МККТТ серий V или X(связь с ISDN не обеспечивает). Терминал ТЕ2 может быть подключен как нагрузка к МТ1 (подвижной станции с возможностью связи с ISDN) через адаптер ТА.

Подсистема базовых станций содержит два вида оборудования: базовую приемопередающую станцию (BTS - Base Transceiver Station) иконтроллер базовой станции (BSC - Base Station Controller). Они взаимодействуют через стандартизированный интерфейс AWs.

На BTS размещается приемопередатчик, который для одной определенной соты реализует протоколы взаимодействия радиолинии с передвижной станцией. В большом городе обычно размещено большое количество BTS. Поэтому основные требования к BTS - прочность, надежность, портативность и минимальная стоимость.

Контроллер базовой станции управляет радиоресурсами одной или более BTS. Он управляет выбором и установлением соединения по радиоканалу, скачком частоты и хэндовером. BSC подключается между BTS и центром коммутации мобильный связи (MSC).

Центральный компонент подсистемы сети - центр коммутации мобильный связи (MSC). Он работает как обычный узел коммутации общедоступной телефонной сети (PSTN) или цифровой сети интегрального обслуживания (ISDN). Дополнительно он обеспечивает все функциональные возможности мобильного абонента, такие как регистрация, аутентификация, обновление местоположения, передача соединения (хэндовер) и маршрутизация вызова при передвижении объекта. Эти функции обеспечиваются совместно несколькими функциональными объектами, которые вместе формируют коммутационную подсистему сети. MSC обеспечивает подключение к фиксированным сетям, таким как телефонная сеть PSTN или ISDN. При передаче сигналов между функциональными объектами в коммутационной подсистеме сети используется общий канал сигнализации ОКС-7 (SS7), такой же, как используется для обмена в ISDN и в сетях общего пользования.

Центр коммутации подвижной связи обслуживает группу сот и обеспечивает все виды соединений, в которых нуждается в процессе работы подвижная станция. MSC аналогичен коммутационной станции ISDN и реализует интерфейс между фиксированными сетями (PSTN,PDN, ISDN и т.д.) и сетью подвижной связи. Он обеспечивает маршрутизацию вызовов и функции управления вызовами. Кроме выполнения функций обычной коммутационной станции ISDN, на MSC возлагаются функции коммутации радиоканалов. К ним относятся «эстафетная передача», в процессе которой достигается непрерывность связи при перемещении подвижной станции из соты в соту, и переключение рабочих каналов в соте при появлении помех или неисправностях.

Каждый MSC обеспечивает обслуживание подвижных абонентов, расположенных в пределах определенной географической зоны (например, Москва и область). MSC управляет процедурами установления вызова и маршрутизации. Для телефонной сети общего пользования MSCобеспечивает функции сигнализации по ОКС-7, передачи вызова и поддерживает другие виды интерфейсов в соответствии с требованиями конкретного проекта.

MSC формирует данные, необходимые для выписки счетов за предоставленные сетью услуги связи, накапливает данные по состоявшимся разговорам и передает их в центр расчетов (биллинг-центр). MSC составляет также статистические данные, необходимые для контроля работы и оптимизации сети; он поддерживает процедуры безопасности, применяемые для управления доступом к радиоканалам.

MSC не только участвует в управлении вызовами, но также управляет процедурами регистрации местоположения и передачи управления, кроме передачи управления в подсистеме базовых станций (BSS). Регистрация местоположения подвижных станций необходима для обеспечения доставки вызова перемещающимся абонентам от абонентов телефонной сети общего пользования или других подвижных абонентов. Процедура передачи вызова позволяет сохранять соединения и обеспечивать ведение разговора, когда подвижная станция перемещается из одной зоны обслуживания в другую. Передача вызовов в сотах, управляемых одним контроллером базовых станций, осуществляется этим BSC. Когда передача вызовов осуществляется между двумя сетями, управляемыми разными BSC, то первичное управление осуществляется в MSC. В стандарте GSM также предусмотрены процедуры передачи вызова между сетями (контроллерами), относящимися к разным MSC. Центр коммутации осуществляет постоянное слежение за подвижными станциями, используя домашние регистры местоположения (HLR - Ноте Location Register) и визитные регистры местоположения (VLR - Visit Location Register).

Домашний регистр местоположения вместе с MSC обеспечивает маршрутизацию вызова и изменения местоположения (роуминг) мобильной станции. Он содержит всю административную информацию каждого абонента, зарегистрированного в соответствующей сети GSM, наряду с информацией о текущем местоположении мобильных станций. Местоположение мобильных станций находится обычно в форме адреса данной мобильной станции в VLR (Visit Location Register). Более детально процедура маршрутизации будет описана позже. Логически для каждого абонента существует один HLR в сети GSM, хотя он может быть реализован как распределенная база данных. К данным, содержащимся в HLR, имеют дистанционный доступ все MSC и VLR сети и, если в сети имеются несколько распределенных HLR, в базе данных содержится только одна запись об абоненте, поэтому каждый HLR представляет собой определенную часть общей базы данных сети об абонентах. Доступ к ней осуществляется по номеру IMSI или по номеру подвижной станции в сети ISDN (MSISDN - Mobile Station ISDN Number). К базе данных могут получить доступ MSC или VLR, относящиеся к другим сетям, в рамках обеспечения межсетевого роуминга абонентов.

Второе основное устройство, обеспечивающее контроль над передвижением подвижной станции из зоны в зону, - визитный регистр местоположения VLR. С его помощью достигается функционирование подвижной станции за пределами зоны, контролируемой HLR. Когда в процессе перемещения подвижная станция переходит из зоны действия одного контроллера базовой станции. BSC, объединяющего группу базовых, станций, в зону действия другого BSC, она регистрируется новым BSC, и в VLR заносится информация о номере области связи, которая обеспечит доставку вызовов подвижной станции. Для сохранности данных, находящихся в HLR и VLR, в случае сбоев предусмотрена защита устройств памяти этих регистров.

VLR содержит такие же данные, как и HLR, однако эти данные содержатся в VLR только до тех пор, пока абонент находится в зоне, контролируемой VLR.

В сети подвижной связи GSM соты группируются в географические зоны (LA - Location Area), которым присваивается свой идентификационный номер (LAC - Location Area Code).

Каждый VLR содержит данные об абонентах в нескольких LA. Когда подвижный абонент перемещается из одной LA в другую, данные о его местоположении автоматически обновляются в VLR. Если старая и новая LAнаходятся под управлением различных VLR, то данные на старом VLR стираются после их копирования в новый VLR. Текущий адрес VLRабонента, содержащийся в HLR, также обновляется.

VLR обеспечивает также присвоение номера для услуг роуминга мобильной станции (MSRN - Mobile Station Roaming Number). Когда подвижная станция принимает входящий вызов, VLR выбирает MSRN и передает его на MSC, который осуществляет маршрутизацию этого вызова к базовым станциям, находящимся рядом с подвижным абонентом.

Во время движения подвижная станция может покинуть зону, обслуживаемую одним MSC/VLR, и переместиться в зону, которую обслуживает другой MSC/VLR. В этом случае MSC/VLR участвует в передаче управления от одного MSC/VLR к другому. Он также присваивает новый временный номер TMSI подвижному абоненту и передает его в HLR. Новый VLR инициирует процедуру установления подлинности абонента и его оборудования. Кроме случая, когда подвижный абонент меняет зону местоположения, временный номер может периодически изменяться по решению оператора с целью защиты от злонамеренного опознавания номеров участников разговора. В этом случае процедура изменения идет также с использованием VLR. Для доступа к VLR могут использоваться идентификационные номера IMSI, TMSI и MSRN.

В заключении отметим, что VLR - это локальная база данных в данной зоне о подвижном абоненте. Применение VLR позволяет сократить число запросов HLR, что снижает сетевой трафик и уменьшает время обслуживания.

Для защиты и аутентификации используются два компонента. Регистр идентификации оборудования (EIR - Equipment Identity Register) и центр аутентификации (АиС - Authentication Center). EIR - база данных, которая содержит список всей доступной для обслуживания подвижной аппаратуры на сети, где каждая мобильная станция идентифицирована ее международным опознавательным кодом IMEI. Этот код может быть маркирован как запрещенный к обслуживанию, если мобильная станция украдена или принадлежит к типу оборудования, который не обслуживается. Центр аутентификации АиС - защищенная база данных, которая накапливает копии ключей шифрования, хранящихся вSIM-карте каждого абонента, и используется для аутентификации абонента и его оборудования, а также шифрования для передачи по радиоканалу.

Каждый подвижный абонент на время пользования системой связи получает стандартный модуль идентификации абонента (SIM), который содержит: идентификационный номер IMSI, свой индивидуальный ключ аутентификации (Ki), алгоритм аутентификации (A3).

С помощью записанной в SIM информации в результате взаимного обмена данными между подвижной станцией и сетью осуществляется полный цикл аутентификации, и разрешается доступ абонента к сети.

EIR содержит централизованную базу данных для подтверждения подлинности IMEI. Эта база данных относится исключительно к оборудованию подвижной станции. Она состоит из списков номеров IMEI, организованных следующим образом:

Белый список - содержит IMEI, о которых есть сведения о том, что они закреплены за санкционированными подвижными станциями. Терминалу позволяют соединиться с сетью.

Черный список - содержит IMEI подвижных станций, которые украдены или имеют некорректный тип мобильной станции для сетиGSM, или которым отказано в обслуживании по другой причине. Терминалу не позволено соединиться с сетью.

Серый список - содержит IMEI подвижных станций, у которых существуют проблемы, выявленные по данным программного обеспечения, которые не являются основанием для внесения в черный список. Терминал находится под наблюдением сети ввиду возможных проблем.

К базе данных EIR получают дистанционный доступ MSC данной сети, а также MSC других подвижных сетей.

Как и в случае с HLR, сеть может иметь более одного EIR, при этом каждый EIR управляет своей группой оборудования, имеющей свой идентификационный номер IMEI. В этом случае в состав MSC входит транслятор, который при получении IMEI выбирает EIR, содержащий данные о части оборудования, имеющей этот номер.

ОМС (Operation and Maintenance Center) - центр эксплуатации и технического обслуживания, является центральным элементом сети GSM, который обеспечивает контроль и управление другими компонентами сети, а также контроль качества ее работы. ОМС соединяется с компонентами сети GSM по каналам пакетной передачи, используя протокол Х.25. Он обеспечивает функции обработки аварийных сигналов, предназначенных для оповещения обслуживающего персонала, и регистрирует сведения об аварийных ситуациях в других компонентах сети. В зависимости от характера неисправности ОМС позволяет обеспечить ее устранение автоматически или при активном вмешательстве персонала. ОМС может обеспечить проверку состояния оборудования сети и прохождения вызова подвижной станции. Он позволяет осуществлять управление нагрузкой в сети. Функция эффективного управления включает сбор статистических данных о нагрузке от компонентов сети GSM, запись их в дисковые файлы и вывод на дисплей для визуального анализа. ОМС обеспечивает управление изменениями программного обеспечения и базами данных о конфигурации элементов сети. Загрузка программного обеспечения может производиться из ОМС в другие элементы сети или из них в ОМС.

NMC (Network Management Center) - центр управления сетью, позволяет обеспечивать рациональное иерархическое управление сетью GSM. Он обеспечивает эксплуатацию и техническое обслуживание на уровне всей сети, поддерживаемой центрами ОМС, которые отвечают за управление региональными сетями. NMC обеспечивает управление трафиком во всей сети и диспетчерское управление сетью при сложных аварийных ситуациях, как например, выход из строя или перегрузка узлов. Кроме того, он контролирует состояние устройств автоматического управления, задействованных в оборудовании сети, и отражает на дисплее состояние сети для операторов NMC. Это позволяет операторам контролировать региональные проблемы и при необходимости оказывать помощь ОМС, обслуживающему конкретный регион. Таким образом, персонал NMC знает состояние всей сети и может дать указание персоналу ОМС изменить стратегию решения региональной проблемы.

NMC следит за состоянием маршрутов сигнализации и соединений между узлами с тем, чтобы не допускать условий для возникновения перегрузки в сети. Контролируются также маршруты соединений между сетью GSM и PSTN во избежание распространения условий перегрузки между сетями. При этом персонал NMC координирует вопросы управления сетью с персоналом других центров управления сетью. NMCобеспечивает также возможность управления трафиком, адресованным сетевому оборудованию подсистемы базовых станций (BSS). Операторы NMC в экстремальных ситуациях могут задействовать такие процедуры управления, как приоритетный доступ, когда только абоненты с высоким приоритетом (экстренные службы) могут получить доступ к системе.

NMC может брать на себя ответственность в каком-либо регионе, когда местный ОМС не может обслуживать нагрузку, при этом ОМС действует в качестве транзитного пункта между NMC и оборудованием сети. NMC предоставляет операторам возможности, аналогичные возможностям ОМС.

Он является также важным инструментом планирования сети, так как контролирует сеть и ее работу на сетевом уровне, а, следовательно, обеспечивает планировщиков сети данными, определяющими нагрузочные параметры сети.

ADC (Administration Center) - административный центр - сетевая служба, ответственная за организацию связи, административное управление сетью и соблюдение установленных правил доступа.

ТСЕ (Transconder Equipment) - транскодер, обеспечивает преобразование выходных сигналов передачи речи и данных MSC (64 кбит/с, ИКМ) к виду, соответствующему рекомендациям GSM по радиоинтерфейсу. В соответствии с этими требованиями скорость передачи речи, представленной в цифровой форме, составляет 13 кбит/с. Этот канал передачи цифровых речевых сигналов называется «полноскоростным». Стандартом предусматривается использование полускоростного речевого канала (скорость передачи - 6,5 кбит/с).

Снижение скорости передачи обеспечивается применением специального речепреобразующего устройства, использующего кодирование с линейным предсказанием (LPC - Linear Predictive Coding), долговременное предсказание (LTP - Long Term Predicting), возбуждение регулярной импульсной последовательностью (RPE - Regular Pulse Excitation).

Передача цифровых сообщений от транскодера по направлению к контроллеру базовых станций (BSC) осуществляется с добавлением к потоку со скоростью передачи 13 кбит/с дополнительных битов (stuffing). Таким образом, скорость передачи данных становится 16 кбит/с. Затем осуществляется уплотнение с кратностью 4 в стандартный канал 64 кбит/с. Так формируется определенная Рекомендациями GSM 30-канальная ИКМ-линия, обеспечивающая передачу 120 речевых каналов. Шестнадцатый канал (64 кбит/с) (slot) выделяется отдельно для передачи информации сигнализации и часто содержит сигналы ОКС-7 или процедуры доступа к звену передачи данных для канала D - LAPD (LinkAccess Procedure for the D-channel).

В других каналах (64 кбит/с) могут передаваться также пакеты данных, согласующиеся с протоколом Х.25.

2. Функциональная возможность протокола управления радио ресурсами RR-RR

Основное описание протоколов сети GSM дано в документах ETSI. Эти документы представляют собой некоторые группы, систематизированные по версиям.


Протоколы в GSM разделены на три уровня в зависимости от интерфейса.

Участок «мобильная станция - базовая станция» использует следующие уровни.

Уровень 1 - физический уровень, который использует структуры канала, рассмотренные выше, по «воздушному интерфейсу».

Уровень 2 - уровень звена передачи данных по интерфейсу Um, уровень звена передачи данных - это модифицированная версия процедуры LAPD, применяемой в ISDN, называемая LAPDm.

Уровень 3 - протокол, использующий также модифицированную версию LAPD, самостоятельно разделен на три следующих подслоя.

Управление радиоресурсами (RRM - Radio Resources Management) - управляет первоначальной установкой оконечных устройств, включением радио- и фиксированных каналов, их обслуживанием, а также обеспечивает процедуру хэндовера.

Управление передвижением (ММ - Mobility Management) - управляет обновлением местоположения и процедурами регистрации, а также защитой и аутентификацией.

Управление соединением (СМ - Connection Management) - осуществляет общий процесс управления установлением соединения и сигнализацией и управляет дополнительными услугами, а также службой передачи коротких сообщений.

При взаимодействии базовой приемопередающей станции (BTS) с контроллером базовой станции (BSC) используется интерфейс AbiS, который обеспечивает управление базовой приемопередающей станцией (BTSM -Base Transceiver Station Management).

Передача сигналов между различными объектами в фиксированной части сети (интерфейс А) использует следующие протоколы:

на уровне 1 - МТР (Message Transfer Part - подсистема передачи сообщений);

на уровне 2 - SCCP (Signaling Connection Control Part - подсистема управления соединением канала сигнализации), принадлежащий системе сигнализации ОКС-7.

на уровне 3 применяют перечисленные выше протоколы GSM - ММ и СМ.

Подсистема третьего уровня BSSAP (BSS Application Part - прикладная часть системы базовой станции) предназначена для связи контроллера базовой станции (BSS) с центром коммутации мобильной связи (MSC). Спецификация MAP весьма сложна и изложена на более чем 500 страницах, это - один из самых длинных документов в рекомендациях GSM.

Уровень управления радиоресурсами (RRM - Radio Resource Management) наблюдает за установлением соединения по радио- и фиксированной сети между подвижной станцией и центром коммутации подвижной связи (MSC). Главные функциональные компоненты этого уровня - подвижная станция, подсистема базовых станций, центр коммутации подвижной связи. Уровень RRM предназначен для управления радиосеансом. Сеанс - это время, которое мобильная станция находится в режиме соединения, управляя конфигурацией радиоканалов, включая распределение специализированных каналов.

Радиосеанс всегда инициализируется подвижной станцией с помощью процедуры доступа либо для исходящего вызова, либо в ответ на широковещательный вызов при входящем вызове. Рассмотренные выше процедуры исходящего вызова, широковещательного вызова, такие как назначение выделенного канала для сигнализации мобильной станции, определение структуры широковещательного подканала, осуществляются на уровне RRM. Кроме того, этот уровень содержит процедуры управления мощностью, прерывистой передачи и приема.

3. Особенность распространения радиоволн в диапазоне УКВ, влияние на распространение зданий и лесных массивов

сотовый связь список номер

К диапазону ультракоротких волн (УКВ) относят радиоволны длиной от 10 м до 1 мм. Условия распространения зависят от протяженности линии связи и специфики трассы.

Из-за малой длины УКВ плохо дифрагируют вокруг сферической поверхности Земли и крупных неровностей земной поверхности или других препятствий. Антенны стремятся расположить на значительной высоте над поверхностью Земли, так как при этом, во-первых, увеличивается расстояние прямой видимости и, во-вторых, уменьшается экранирующее влияние местных предметов, находящихся вблизи антенны. При этом, как правило, выполняется условие, при котором высота расположения антенны много больше длины волны.

В диапазоне УКВ земная поверхность может рассматриваться как идеальный диэлектрик, и проводящие свойства земной поверхности следует учитывать только при распространении метровых волн над морской поверхностью. Поэтому изменение проводящих свойств почвы (изменение ее влажности) практически не сказывается на распространении УКВ. Но даже небольшие неровности земной поверхности существенно изменяют условия отражения УКВ от поверхности Земли.

При расстояниях, много меньших предела прямой видимости, можно не учитывать влияние сферичности Земли и влияние рефракции радиоволн в тропосфере. Характерными особенностями распространения УКВ при этом являются большая устойчивость и неизменность уровня сигнала во времени при стационарных передатчике и приемнике.

Отражения УКВ от неровной земной поверхности имеют особое значение в радиолокационной технике. В основном они носят рассеянный характер, причем часть отраженной энергии оказывается направленной к источнику. Такие отражения чаще всего относятся к мешающим сигналам, которые затрудняют распознавание полезных радиолокационных целей. Однако отражения от земной поверхности к источнику используются при проведении наблюдений за поверхностью Земли с воздуха, например при высотометрии.

Случайные значения амплитуды сигнала, излученного движущимся радиолокатором (например, с самолета) и отраженного земной поверхностью, подчиняются закону Рэлея. Только при отражении от спокойной воды и от ровных участков пустыни присутствует постоянная составляющая и закон распределения амплитуд соответствует обобщенному закону Рэлея. Корреляционная функция сигнала описывается экспоненциальным законом, причем масштаб корреляции зависит как от высоты неровностей, так и от скорости движения источника.

Обычно вдоль линии связи на УКВ имеются большие или малые неровности, которые влияют на распространение радиоволн. В общем случае учесть это влияние не представляется возможным. Для расчета напряженности электрического поля в каждом конкретном случае необходимо построить профиль трассы и в зависимости от характера этого профиля вести расчет тем или иным методом. Рассмотрим несколько примеров профилей трасс.

Рис. 3. Распространение УКВ в пересеченной местности:

а - одна антенна находится на пологом склоне; б - пологая возвышенность в середине трассы

На (рис. 3 а), изображен профиль трассы, при котором передающая антенна расположена на пологом склоне холма. В этом случае к приемной антенне могут прийти прямой луч АВ и три отраженных луча ,  и . При расчете напряженности электрического поля следует учитывать разность фаз этих лучей, обусловленную разностью хода и разными условиями отражения в точках , ,  и . В результате рассмотрения такой картины можно получить выражение для расчета напряженности поля, аналогичное интерференционным формулам, но более сложное. На рис 3,б изображен профиль, при котором имеется возвышенность в середине трассы. В простейшем случае в точку В приходит только один луч, отражающийся в точке С. Для расчета такой трассы удобно ввести понятие приведенных высот антенн h1пр и h2пр и свести задачу к известному случаю распространения радиоволн над фиктивной плоскостью, касательной к поверхности Земли в точке отражения.

Трасса, проходящая над высоким холмом или горным кряжем. Для приближенного определения напряженности поля на трассе, имеющей высокий холм или горный кряж, можно воспользоваться теорией дифракции электромагнитных волн на непрозрачном клиновидном экране.

Если препятствие не перекрывает линии прямой видимости между антеннами, то трасса называется открытой; когда препятствие поднимается выше линии прямой видимости, трасса называется закрытой (рис. 4а).

Рис. 4. Распространение УКВ на трассе с препятствием, открытая и закрытая трассы (а); зависимость множителя ослабления V от параметра z (б)

Если препятствие хотя бы частично перекрывает первую зону Френеля, интенсивность электромагнитного поля на трассе изменяется. При применении остронаправленных антенн излученные волны не попадают на ровные участки земной поверхности.

Множитель ослабления V зависит от длины волны и «просвета» d, который принято считать положительным при закрытой трассе и отрицательным при открытой трассе. На рис. 4б изображена зависимость множителя ослабления V от параметра z..

На трассах УКВ протяженностью примерно 100-150 км, проходящих через горные кряжи высотой 1000-2000 м, наблюдается явление, называемое усиление препятствием. Это явление заключается в том, что интенсивность электромагнитного поля радиоволны при некотором удалении за препятствие оказывается больше, чем на том же расстоянии от передатчика на трассе без препятствий. Объяснить усиление препятствием можно тем, что вершина горы служит естественным пассивным ретранслятором (рис. 5).

Рис. 5 Схема трассы с «усиливающим препятствием»

Поле, возбуждающее вершину горы, складывается из двух волн - прямой АС и отраженной ADC. Волны дифрагируют на острой вершине горы, как на клиновидном препятствии, и распространяются в область за гору. При этом к месту расположения приемной антенны В придут два луча СЕВ и СВ. Следовательно, на участках трассы передатчик - гора и гора - приемник распространение идет в пределах прямой видимости. При отсутствии препятствия на расстоянии 100-150 км, намного превышающих предел прямой видимости, к месту приема доходит только весьма слабое поле, обусловленное дифракцией на сферической поверхности Земли и рефракцией. Расчеты и эксперименты показывают, что такое препятствие - ретранслятор может дать усиление напряженности электрического поля на 60-80 дБ.

Использование явления усиления препятствием оказывается экономически выгодным, избавляя от, необходимости устанавливать высокогорные ретрансляционные станции.

Большой город можно рассматривать как сильно пересеченную местность. Многочисленные опыты показали, что в среднем напряженность поля метровых и дециметровых волн в городе меньше, чем на открытой местности, примерно в 3-5 раз.

Внутри помещений структура поля является еще более сложной и практически не поддается расчету. Измерения напряженности поля внутри помещения показали, что в помещениях верхних этажей напряженность поля составляет 10-40% напряженности поля над крышей, а в первом этаже - 3- 7% этой величины.

Список литературы

1 В.И. Попов Основы Сотовой Связи Стандарта GSM, 2005

Маковеева М.М., Шинаков Ю.С. Системы связи с подвижными объектами: Учебное пособие для вузов. - М.: Радио и связь, 2002 г.

Особенности сотовой системы подвижной связи стандарта GSM

Тихвинский В.О. Сети подвижной связи третьего поколения. Экономические и технические аспекты развития в России. - М.: Радио и связь, 2001 г.

Управление радиочастотным спектром и электромагнитная совместимость радиосистем. Учебное пособие / Под ред.М.А. Быховского. - М.: ЭкоТрендз, 2006 г.

Ю.А. Громаков. Сотовые системы подвижной радиосвязи. Технологии электронных коммуникаций. Том 48. «Эко-Трендз». Москва. 1994.

http://pro3gsm.com/arhitektura-seti-gsm/


Не нашли материал для своей работы?
Поможем написать уникальную работу
Без плагиата!
Без нейросетей!