Защита атомного реактора

  • Вид работы:
    Реферат
  • Предмет:
    Физика
  • Язык:
    Русский
    ,
    Формат файла:
    MS Word
    88,08 Кб
  • Опубликовано:
    2013-11-13
Вы можете узнать стоимость помощи в написании студенческой работы.
Помощь в написании работы, которую точно примут!

Защита атомного реактора

Министерство образования и науки Украины

ГВУЗ "Приднепровская государственная академия строительства и архитектуры"

Кафедра безопасности жизнедеятельности








Реферат на тему:

"Защита атомного реактора"

Вып. студ. Гр. арх 09-5п Рева Л.В.

Проверил к. т. н. доц. каф. БЖД Пилипенко А.В.






г. Днепропетровск

г.

Содержание

1. Ядерный реактор, принцип действия, работа ядерного реактора

Список использованной литературы

1. Ядерный реактор, принцип действия, работа ядерного реактора


Каждый день мы используем электричество и не задумываемся над тем, как оно производится и как оно к нам попало. А тем не менее это одна из самых важных частей современной цивилизации. Без электричества не было бы ничего - ни света, ни тепла, ни движения.

Все знают про то, что электричество вырабатывается на электростанциях, в том числе и на атомных. Сердце каждой АЭС - это ядерный реактор.

Ядерный (атомный) реактор - установка, в которой осуществляется самоподдерживающаяся управляемая цепная ядерная реакция деления. Ядерные реакторы используются в атомной энергетике и в исследовательских целях. Основная часть реактора - его активная зона, где происходит деление ядер и выделяется ядерная энергия. Активная зона, имеющая обычно форму цилиндра объёмом от долей литра до многих кубометров, содержит делящееся вещество (ядерное топливо) в количестве, превышающем критическую массу. Ядерное топливо (уран, плутоний) размещается, как правило, внутри тепловыделяющих элементов (ТВЭЛов), количество которых в активной зоне может достигать десятков тысяч. ТВЭЛы сгруппированы в пакеты по несколько десятков или сотен штук. Активная зона в большинстве случаев представляет собой совокупность ТВЭЛов погружённых в замедляющую среду (замедлитель) - вещество, за счёт упругих соударений с атомами которого энергия нейтронов, вызывающих и сопровождающих деление, снижается до энергий теплового равновесия со средой. Такие "тепловые” нейтроны обладают повышенной способностью вызывать деление. В качестве замедлителя обычно используется вода (в том числе и тяжёлая, D2О) и графит. Активную зону реактора окружает отражатель из материалов, способных хорошо рассеивать нейтроны. Этот слой возвращает вылетающие из активной зоны нейтроны обратно в эту зону, повышая скорость протекания цепной реакции и снижая критическую массу. Вокруг отражателя размещают радиационную биологическую защиту из бетона и других материалов для снижения излучения за пределами реактора до допустимого уровня.

В активной зоне в результате деления освобождается в виде тепла огромная энергия. Она выводится из активной зоны с помощью газа, воды или другого вещества (теплоносителя), которое постоянно прокачивается через активную зону, омывая ТВЭЛы. Это тепло может быть использовано для создания горячего пара, вращающего турбину электростанции.

Для управления скоростью протекания цепной реакции деления применяют регулирующие стержни из материалов, сильно поглощающих нейтроны. Введение их в активную зону снижает скорость цепной реакции и при необходимости полностью останавливает её, несмотря на то, что масса ядерного топлива превышает критическую. По мере извлечения регулирующих стержней из активной зоны поглощение нейтронов уменьшается, и цепная реакция может быть доведена до стадии самоподдерживающейся.

Схема ядерного реактора: 1 - ядерное топливо, 2 - замедлитель, 3 - отражатель нейтронов, 4 - защита, 5 - регулирующие стержни.

Прообраз ядерного реактора был построен в декабре 1942 года в США под руководством Э. Ферми. Это была так называемая "Чикагская стопка”. Chicago Pile (впоследствии слово"Pile” наряду с другими значениями стало обозначать ядерный реактор). Такое название дали ему из-за того, что он напоминал собой большую стопку графитовых блоков, положенных один на другой.

В СССР первый реактор был построен под руководством академика И.В. Курчатова. Реактор Ф-1 был заработал 25 декабря 1946 г. Реактор был в форме шара, имел в диаметре около 7,5 метров. Он не имел системы охлаждения, поэтому работал на очень малых уровнях мощности.

Исследования продолжились и в 27 июня 1954 года вступила в строй первая в мире атомная электростанция мощностью 5 МВт в г. Обнинске.

Верхнюю защиту реактора образуют:

графитовый отражатель;

защитные плиты;

схема "Е" с серпентинитовой засыпкой;

схема "Г" с серпентинитово

Боковую защиту образуют:

графитовый отражатель;

схема "КЖ";

схемы "Л" и "Д", заполненные водой;

песчаная засыпка монтажного проема;

бетонные стены шахты реактора;

Нижнюю защиту образуют;

рафитовый отражатель;

опорные плиты;

схема "ОР" с серпентинитовой засыпкой;

схема "Э";

серпентинитово-чугунная засыпка межкомпенсаторного пространства.

Сложной задачей при построении силовых ядерных установок является разработка и изготовление надежных механизмов управления ядерными реакторами и их аварийной защиты, поскольку эти механизмы работают вблизи активной зоны реактора, где на них воздействуют высокие давления, влажность, высокая температура, радиация, вибрация и ударные нагрузки.

Надежность приводов поглощающих стержней повышают путем упрощения кинематических схем, применения специальных материалов, совершенствования технологии изготовления и эксплуатации.

Реактор размещен в бетонной шахте. Он представляет собой цилиндрическую кладку высотой 8 метров, состоящую из вертикальных графитовых колонн, в отверстиях которых расположены технологические (с ядерным топливом) и специальные каналы, а также каналы для перемещения поглощающих стержней системы управления и защиты (СУЗ). Эта система стержней должна обеспечить пуск и остановку реактора, устойчивое автоматическое поддержание мощности на заданном уровне, компенсацию выгорания топлива, противоаварийную защиту. Механизм управления установлен в каналах СУЗ, по которым сверху вниз циркулирует вода с температурой 40-70°С. Температура воздуха над каналом СУЗ - 60°С (в аварийных ситуациях за 1 час достигает 250°С), относительная влажность воздуха - 98%.

На валу смонтирован барабан, на который наматывается (или сматывается) гибкая тяга с поглощающим стержнем. Вал получает вращение от электродвигателя через редуктор, с которым связаны также сельсин контроля положения стержня и кулачки, воздействующие на концевые выключатели. Детали привода отделены от охлаждающей канал воды манжетными уплотнителями на валу барабана. На валу сельсина установлен циферблат со стрелкой - указателем положения поглощающих стержней. Вал двигателя оснащен упором для сцепления с поводком ручного привода, которым можно воспользоваться для стопорения или подъема поглощающих стержней в случае выхода из строя электродвигателя или отключения электропитания. Привод приводится в движение электродвигателем постоянного тока. Электродвигатель через редукторную передачу передает вращение на барабан, на который наматывается (с которого сматывается) гибкая тяга с поглощающим стержнем. Через упомянутую выше связь вращение вала передается сельсину-датчику и кулачкам, воздействующим на микровыключатели крайнего верхнего и нижнего положения поглощающего стержня.

Также известен сервопривод. Он использует в основном ту же кинематическую схему, что и ранее описанный аналог, но имеет и ряд важных отличий. Этот сервопривод, обеспечивающий ручное и автоматическое управление и аварийную защиту атомного реактора типа РБМК, содержит понижающий зубчатый редуктор, жестко соединенный с валом электродвигателя. Его выходная шестерня соединена с входной шестерней вала барабана перемещения поглощающего стержня. Редуктор четырехступенчатый, содержит цилиндрические и конические шестерни.

Ось входной шестерни барабана перемещения стержня сдвинута относительно оси выходной шестерни редуктора на сумму радиусов насаженных на них шестерен. Шестерни расположены в одной плоскости и сцеплены непосредственно. Вал электродвигателя связан с валом устройства ручного привода посредством разъемной сцепки, состоящей из двух соосных дисков, один из которых жестко соединен с валом двигателя, второй - с валом механизма ручного привода, причем диски имеют встречно расположенные выступы для взаимной сцепки, а один из дисков установлен с возможностью перемещения вдоль оси вала.

Кроме перечисленного, сервопривод содержит сельсин-датчик для соединения с устройствами контроля положения стержня, концевых и путевых выключателей и другие элементы, необходимые для работы сервопривода.

С учетом современных требований к безопасности реакторной установки такой сервопривод недостаточно надежен и долговечен, сложен в наладке, слабо защищен от отказов в режиме ручного управления, не обеспечивает высокого быстродействия.

Известен сервопривод автоматического и ручного управления и защиты ядерного реактора типа РБМК, содержащий электродвигатель, силовой редуктор, барабан с лентой, подтормаживающее устройство, электромагнитную муфту и гидравлическое тормозное устройство в виде гидробуфера, которое выполнено отдельно от привода и размещено с возможностью функционирования только после полного

входа стержня в активную зону атомного реактора (патентная заявка RU 2003113497/06).

В связи с постоянным повышением требований к быстродействию приводов и появлением быстродействующих кластерных стержней, скорость вращения шестерен редуктора значительно увеличена. Зубчатые соединения редуктора, систем контроля, ручного управления, соединения с барабаном перемещения, при этих скоростях вращения, нагрузках и агрессивной среде, в которой они работают, быстро изнашиваются. Их отказы снижают надежность привода при аварийной защите. Кроме того, момент инерции этих элементов не позволяет быстро разогнать и остановить кластерный стержень, а также приводит к наматыванию тяги на барабан в обратном направлении и ее излому. Это проявилось при испытаниях, например, второй системы останова на 2-ом блоке ИАЭС.

Отказы механизма ручного привода или схемы сигнализации о его включении снижают безопасность реактора, не позволяя вводить стержени в активную зону реактора.

Наиболее близким к заявляемому техническому решению по технической сущности и большинству существенных признаков является сервопривод системы управления и защиты ядерного реактора, содержащий электродвигатель, кинематически связанный через понижающий редуктор, электромагнитную муфту сцепления и первый вал промежуточного редуктора с валом барабана, на тягу которого намотана гибкая лента, на конце которой прикреплен поглощающий стержень, сельсин контроля положения поглощающего стержня с кулачковым механизмом, воздействующим на концевые выключатели, гидротормозной узел электродвигателя и механизм ручного управления (патент SU 1748545, заявленный 1989 г.).

Этому сервоприводу, как и другим вышеописанным, присущи выше упомянутые недостатки, а именно:

недостаточная надежность привода в режиме аварийного ввода стержня-поглотителя,

недостаточное быстродействие привода в режиме аварийного ввода стержня-поглотителя,

сложность его сборки.

Эти недостатки прототипа обусловлены следующим:

муфта останова соединена с гидротормозом редуктором из пары конических шестерен, а с барабаном - через редуктор из пары конических и пары цилиндрических шестерен. Применение дополнительных конических пар снижает надежность привода. Величина конечного участка торможения определяется положением дросселирующего отверстия на корпусе цилиндра, которое перекрывается гайкой гидротормоза и может быть изменено только при замене цилиндра.

Целью изобретения является повышение надежности, быстродействия, универсальности, обеспечение автономности торможения при полном обесточении привода, а также обеспечение ручного управления приводом и упрощение его сборки.

Указанная цель достигается тем, что сервопривод ручного и автоматического управления и аварийной защиты атомного реактора типа РБМК, содержит электродвигатель, кинематически связанный через понижающий редуктор, электромагнитную муфту сцепления и первый вал промежуточного редуктора с валом барабана, на который намотана гибкая лента, на конце которой прикреплен поглощающий стержень, сельсин контроля положения поглощающего стержня с кулачковым механизмом, воздействующим на концевые выключатели, гидротормозной узел барабана с лентой, и механизм ручного управления. Новым является то, что упомянутая электромагнитная муфта сцепления наружными фрикционными дисками через понижающий редуктор соединена с валом электродвигателя, а внутренними фрикционными дисками через второй вал промежуточного редуктора соединена через тормозной узел с кулачковым механизмом, который через редуктор сельсина соединен с сельсином. Редуктор сельсина через дополнительно введенную предохранительную муфту соединен с первым валом промежуточного редуктора, причем в цепь катушки возбуждения электромагнитной муфты сцепления последовательно включен нелинейный термистор.

Для повышения скорости ввода и предохранения стержней от разрушения используется изменение настройки регулирующего дросселя от кулачкового механизма для дополнительного уменьшения скорости в нижнем положении стержня-поглотителя.

Для повышения надежности и безопасности ручного управления механизм ручного перемещения, соединенный через третий вал промежуточного редуктора с валом барабана, на котором прикреплен поглощающий стержень, выполнен съемным, имеющим специальную форму в подстыкованном состоянии, служащую механическим сигнализатором пристыковки.

Ввиду высоких требований к надежности срабатывания муфты останова, нельзя допустить, чтобы с ней были связаны другие элементы, отказ которых может привести к отказу аварийного сброса. Поэтому второстепенные элементы отделены от важных цепей и поэтому детали электромагнитной муфты сцепления отделены от остальных цепей электродвигателя, тормозного механизма, сельсина, микровыключателя.

Торцевое соединение с валом шестеренчатого насоса гидротормоза, выполненное в виде крестовидной муфты, обеспечивает выбор эксцентриситета и удобство сборки.

При поступлении команды АВАРИЙНАЯ ЗАЩИТА (A3), независимо от состояния электродвигателя 1 и его электромагнитного тормоза, электромагнитную муфту сцепления 3 выключают, поглощающий стержень 9 падает, силой собственного веса разматывая ленту барабана 11 и раскручивая кинематику сервопривода. Ввиду отключенной электромагнитной муфты сцепления 3, двигатель 1 и редуктор 2 не раскручиваются. После разгона до высокой скорости движения стержня 9, шестеренчатый насос 7 гидротормоза 6 обеспечивает большой расход через интегрированный регулирующий дроссель 8. Дроссель 8, имеющий нелинейную характеристику, обеспечивает повышенное сопротивление на выходе шестеренчатого насоса 7 для гидравлической жидкости, тем самым обеспечивая эффективное торможение поглощающего стержня 9 до нужного значения скорости ввода. При достижении поглощающим стержнем 9 заранее заданного положения (внизу активной зоны), кулачковым механизмом 17 включается режим увеличения гидравлического сопротивления интегрированного регулирующего дросселя 8 до максимального, что обеспечивает плавное увеличение торможения поглощающего стержня 9 и безударное достижение им дна канала реактора. Снижение механических нагрузок на стержень 9 увеличивает его ресурс.

Ток срабатывания электромагнитной муфты сцепления 3 гораздо больше тока, который необходим для уже сработанной муфты в состоянии поджатия фрикционных дисков (нет воздушного зазора между полюсами электромагнита муфты). Поэтому, после срабатывания электромагнитной муфты сцепления 3 ток уменьшается с помощью термистора 20 с положительным температурным коэффициентом. Если придет, даже кратковременный, сигнал на прерывание тока в муфте по аварийной защите, то стержень будет введен в реактор, даже если напряжение на электромагнитной муфте сцепления 3 восстановится. Так как постоянная времени термистора 20 больше, чем время ввода стержня 9 в реактор, он не успеет остыть (тока через него нет), и снизить свое сопротивление. Поэтому в цепь катушки возбуждения электромагнитной муфты сцепления 3 последовательно включен нелинейный термистор 20.

В цепь катушки многодисковой электромагнитной фрикционной муфты 3 последовательно включенный нелинейный термистор 20 обеспечивает снижение тока через катушку электромагнитной муфты сцепления 3 после притягивания ее дисков, тем самым повышая надежность ввода стержня 9 в режиме А3 ("запоминание" режима A3). Снижение тока через электромагнитную муфту сцепления 3 уменьшает ее сопротивление и температуру привода, что дополнительно увеличивает надежность работы привода.

При регламентных работах привод переводят в режим ручного управления. Для этого съемный механизм ручного перемещения 12 подсоединяют к сервоприводу. При этом сигнализатор 13 подает команду запрет на схему управления электродвигателем 1. Теперь с сервопривода можно полностью снимать питание. Удержание поглощающего стержня 9, при выключенных тормозной муфте 14 и электромагнитной муфты сцепления 3, обеспечивает самотормозящийся механизм ручного перемещения 12. При ручном управлении оператор вручную вращает вал механизма ручного перемещения 12, который через редуктор 4 вращает вал 5 барабана перемещения поглощающего стержня 9 в реакторе.

Для обеспечения торможения в режиме аварийной защиты используется гидротормоз на основе шестеренчатого насоса, отличающийся интегрированным нелинейным регулировочно-нагрузочным дросселем и обратным клапаном, размещенными в одном объеме, что позволяет упростить изготовление и повысить надежность гидротормоза и уменьшить габариты.

Предохранительная муфта, включенная между барабаном с лентой и редуктором сельсина служит для повышения надежности и устранения влияния отказов второстепенных кинематических цепей на ввод стержня в режиме АВАРИЙНОЙ ЗАЩИТЫ.

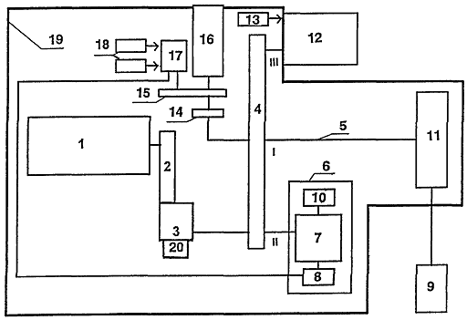
Сервопривод ручного и автоматического управления


. Сервопривод автоматического и ручного управления перемещением поглощающего стержня и аварийной защиты атомного реактора типа РБМК, содержащий электродвигатель с электромагнитным тормозом, кинематически связанный через понижающий редуктор, электромагнитную муфту сцепления и первый вал промежуточного редуктора с валом барабана, на который намотана гибкая лента, на конце которой прикреплен поглощающий стержень, сельсин контроля положения поглощающего стержня с кулачковым механизмом, воздействующим на концевые выключатели, гидротормозной узел барабана с лентой и механизм ручного управления, отличающийся тем, что упомянутая электромагнитная муфта сцепления (3) наружными фрикционными дисками через понижающий редуктор (2) соединена с валом электродвигателя (1), а внутренними фрикционными дисками через второй (II) вал промежуточного редуктора (4) - с тормозным узлом (6) и с кулачковым механизмом (17), который через редуктор сельсина (15) соединен с сельсином (16); редуктор сельсина (15) через дополнительно введенную предохранительную муфту (14) соединен с первым (I) валом промежуточного редуктора (4), причем в цепь катушки возбуждения электромагнитной муфты сцепления (3) последовательно включен нелинейный термистор (20).

. Сервопривод по п.1, отличающийся тем, что гидротормозной узел помещен в общем объеме гидравлической жидкости и содержит шестеренчатый насос (7), который соединен со вторым (II) валом промежуточного редуктора (4), имеет обратный клапан (10), а интегрированный регулирующий дроссель (8) соединен с упомянутым кулачковым механизмом (17).

. Сервопривод ручного управления по п.1, отличающийся тем, что содержит механизм ручного перемещения (12), соединенный через третий (III) вал промежуточного редуктора (4) с валом барабана (5), на котором прикреплен поглощающий стержень (9).

. Сервопривод ручного управления по п.3, отличающийся тем, что механизм ручного перемещения (12) выполнен съемным, имеющим специальную форму в подстыкованном состоянии, служащую механическим сигнализатором пристыковки.

. Сервопривод по п.1, отличающийся тем, что детали электромагнитной муфты сцепления (3) отделены от остальных цепей электродвигателя (1), тормозного механизма, сельсина (16), микровыключателя (18).

. Сервопривод по п.1, отличающийся тем, что торцевое соединение с валом шестеренчатого насоса (7) гидротормоза (6) выполнено в виде крестовидной муфты.

 

Исследование биологической защиты реактора

 

Бетонная шахта реактора

Реактор в сборе устанавливается в бетонной шахте, оборудование которой обеспечивает биологическую защиту от излучений со стороны активной зоны, надежное крепление реактора с учетом сейсмического нагружения и тепловую изоляцию по наружной поверхности.

На рис.28 показан шахтный объем реактора ВВЭР-1200.

Шахта выполняется из обычного бетона и имеет закладные металлические детали для крепления оборудования шахтного объема.

Бетонная шахта реактора разделительным сильфоном на два объёма: верхний, заполняемый водой при перегрузке топлива и ревизии оборудования внутрикорпусных устройств (бассейн мокрой перегрузки - БМП) и нижний, условно разделённый опорной фермой на два объёма: на шахту зоны патрубков и на шахту цилиндрической части корпуса реактора.

Бетонная шахта через транспортный коридор, снабженный гидрозатвором, соединена с бассейном выдержки и перегрузки.

атомный реактор защита сервопривод

Конструктивное исполнение гидрозатворов построено на принципе уплотнения резинового элемента гидрозатвора. Гидрозатворы выполнены с двухсторонним действием, т.е. предусматривается раздельное заполнение бассейна выдержки и перегрузки или бетонной шахты реактора с шахтами ревизии. На энергоблоке с реактором ВВЭР-1200 бетонная шахта, в сторону, противоположную расположению гидрозатвора, переходит в коридор над шахтами ревизии БЗТ и шахты реактора, образуя единый объем, который заполняется борным раствором для перегрузки внутрикорпусных устройств реактора или для перегрузки топлива. В бетонную шахту (до бетонирования) закладываются две анкерные тяги в районе расположения гидрозатвора с выходом на отметку 36,9 м, предназначенные для проведения очередных испытаний кругового крана защитной оболочки, а также предусматриваются кабельные коридоры для СУЗ и системы внутриреакторного контроля, воздуховоды рециркуляционных систем.

В зоне патрубков находится защита тепловая зоны патрубков корпуса реактора и биологическая защита реактора

В шахтном объёме цилиндрической части расположена "сухая" биологическая защита, защита тепловая корпуса реактора и передвижной манипулятор наружного контроля корпуса и днища реактора.

Оборудование бетонной шахты реактора состоит из следующих сборочных единиц:

·        Детали закладные;

·        Ферма опорная;

·        Каналы измерительные ядерные;

·        Защита тепловая цилиндрической части корпуса реактора;

·        Сильфон разделительный;

·        Защита тепловая зоны патрубков корпуса реактора;

·        Защита биологическая;

·        "Сухая" биологическая защита.

2.      http://ru. wikipedia.org/wiki/Аварийная_защита_ядерного_реактора

Похожие работы на - Защита атомного реактора

 

Не нашли материал для своей работы?
Поможем написать уникальную работу
Без плагиата!
Без нейросетей!