Малошумящий интегральный усилитель
МАЛОШУМЯЩИЙ
ИНТЕГРАЛЬНЫЙ УСИЛИТЕЛЬ
Пояснительная
записка к курсовому проекту по дисциплине
«Интегральные
устройства радиоэлектроники»
МАЛОШУМЯЩИЙ
ИНТЕГРАЛЬНЫЙ УСИЛИТЕЛЬ
. Исходные данные источника сигнала:
.1 Выходное сопротивление 60 Ом
.2 Амплитуда 2 мкВ
. Исходные данные усилителя:
.1 Коэффициент усиления > 25 дБ
.2 Полоса рабочих частот 1-3 ГГц
.3 Сопротивление нагрузки 70 Ом
.4 Питание однополярное +10 В
. Условия эксплуатации:
.1 Температура среды 27 ºС
.2 Влажность относительная 96 % при 27 ºС
. Особые требования:
.1 Реализовать усилитель в бескорпусном однокристальном исполнении
.2 В качестве активных элементов использовать полевые транзисторы с
затвором Шоттки (ПТШ) шириной не более 250 мкм
.3 Обеспечить минимизацию дифференциального коэффициента шума в полосе
рабочих частот
.4 Минимальный топологический размер (проектная норма) - 0.2 мкм
. Индивидуальное задание:
.1 Исследовать влияние ширины затвора на коэффициент шума и другие
характеристики ПТШ
.2 Разработать технологию изготовления кристалла
. Содержание отчета:
Введение, анализ технического задания, проектирование малошумящего
полевого транзистора с затвором Шоттки, функциональное проектирование
усилителя, разработка конструкции и топологии кристалла, разработка технологии
изготовления кристалла, заключение, список литературы, приложения (при
необходимости)
. Конструкторская и технологическая документация:
.1 Схема электрическая принципиальная
.2 Чертеж общего вида кристалла
.3 Топологические сборочный и послойный чертежи
.4 Схема технологического процесса с профилями создаваемых структур
. Основная рекомендуемая литература
.1 Березин А.С., Мочалкина О.Р. Технология и конструирование интегральных
микросхем. - М.: Радио и связь, 1992. - 320 с.
.2 Черняев В.Н. Технология производства интегральных микросхем и
микропроцессоров. - М.: Радио и связь, 1987. - 464 с.
.3 Шур М. Современные приборы на основе арсенида галлия. - М.: Мир, 1991.
- 632 с.
.4 Разевиг В.Д. Применение программ P-CAD и PSPICE для схемотехнического
моделирования на ПЭВМ. Выпуск 2. - М.: Радио и связь. - 1992.- 72 с.
.5 Разевиг В.Д. Применение программ P-CAD и PSPICE для схемотехнического
моделирования на ПЭВМ. Выпуск 3. - М.: Радио и связь. - 1992.-120 с.
Дата выдачи
задания 19 февраля 2013
Дата сдачи проекта 30 апреля 2013
Содержание
Введение
. Анализ технического задания
. Проектирование малошумящего полевого транзистора с затвором
Шоттки
.1 Определение толщины обедненной области
.2 Определение значения порогового напряжения перекрытия
канала
.3 Определение геометрических размеров полевого транзистора
Шоттки
. Функциональное проектирование усилителя
.1 Получение схемы электрической принципиальной
.2 Исследование влияния ширины затвора на коэффициент шума и
другие характеристики ПТШ
. Разработка конструкции и топологии кристалла
.1 Расчет геометрических размеров пассивных элементов
.2 Разработка топологии кристалла
. Разработка технологии изготовления кристалла
. Рисунки отображающие технологию изготовления кристалла
Заключение
Список использованной литературы
Приложения
Введение
транзистор
полевой малошумящий
Проектирование полупроводниковых интегральных схем (ИС) является сложным
и многоэтапным процессом. Комплекс работ по проектированию включает синтез и
анализ схемы, оценку экономической обоснованности степени интеграции, расчет
элементов, разработку топологии, выбор оптимального технологического процесса,
расчет технико-экономических показателей производства.
Процесс проектирования полупроводниковых ИС можно подразделить на
следующие основные этапы: 1) составление технических требований; 2) выбор
физической структуры; 3) разработка принципиальной электрической схемы; 4)
разработка конструкции и топологии; 5) оформление документации.
На первом этапе анализируют техническое задание и составляют технические
требования - к электрическим параметрам, надежности и др.
Второй этап предполагает выбор структуры и электрофизических параметров
подложки, формулирование требований к электрофизическим параметрам слоев,
определение геометрических и электрических параметров активных элементов.
Толщины и электрофизические параметры слоев определяются, исходя из требований,
предъявляемых к основным структурам (транзисторам или др. активным элементам),
- с учетом возможностей типового технологического процесса, на базе которого
должна быть изготовлена ИС. Для проектирования остальных (пассивных) элементов
используются слои, определенные для основных структур.
Основной этап проектирования ИС - разработка топологии - производится в
следующей последовательности: получение и согласование исходных данных; расчет
геометрических размеров элементов; разработка эскиза топологии; разработка
предварительного варианта топологии; оценка качества и оптимизация топологии.
Исходными данными являются принципиальная электрическая схема, а также
технологические и конструктивные требования и ограничения. По принципиальной
электрической схеме определяется перечень активных и пассивных элементов,
формулируются требования к отдельным элементам. К конструктивным исходным
данным относятся порядок расположения на кристалле контактных площадок и
предполагаемая конструкция корпуса. При разработке топологии необходимо
учитывать точность технологических операций, определяющих геометрические
размеры элементов (изготовления фотошаблонов, совмещения фотошаблонов с
рисунком на подложке, травления окон в диэлектрической пленке и т. п.).
Заканчивается процесс проектирования изготовлением опытной партии ИС и их
исследованием (проверка электрических параметров, оценка надежности, проведение
механических и климатических испытаний и т. д.). Если в результате исследований
выясняется, что изготовленные ИС не удовлетворяют требованиям технического
задания, то после анализа причин несоответствия производят корректировку того
или иного этапа проектирования.
Цель работы: изучение принципа функционирования, математических моделей,
электрических характеристик и конструктивно-технологических особенностей
изготовления ПТШ на арсениде галлия.
1. Анализ
технического задания
В результате выполнения индивидуального задания, мы должны получить
малошумящий высокочастотный интегральный усилитель на Ga As, реализованный на полевом транзисторе с затвором Шоттки,
который удовлетворял бы ТЗ.
Проектируемый усилитель может быть выполнен на одном или более каскадах.
При проектировании усилителя нужно обеспечить минимальный коэффициент шума.
При разработке технологии изготовления ИМС необходимо выделить наиболее
оптимальные технологические процессы, чтобы обеспечить наиболее точное
изготовление устройства.
2.
Проектирование малошумящего полевого транзистора с затвором Шоттки
2.1
Определение толщины обедненной области
Рис. 2.1 - Схематическое изображение полевого транзистора
С точки зрения функционирования ПТШ (см. рисунок 2.1) может
рассматриваться как резистор с переменным сечением и, следовательно, переменным
сопротивлением.
Под затвором, за счет образования барьера металл-полупроводник, даже без
воздействия внешних напряжений, автоматически создается область, обедненная
основными носителями заряда (на рисунке 2.1.а она показана как наиболее светлая
область). Толщина обедненной области зависит от значения контактной разности
потенциалов барьера Ub и
определяется по формуле (2.1).
(2.1)
где
q - элементарный заряд (q=1.6×10-19 Кл);
e - относительная
диэлектрическая проницаемость GaAs (e=12.9);
N
- концентрация основных носителей
заряда (N=1024 м-3);
Ub -
контактная разность потенциалов барьера (Vb=0.8
В).
м
Так как толщина области обеднения много меньше толщины эпитаксиального n-слоя (an=0,1 мк м), то используется
транзистор с нормально открытым каналом.
2.2
Определение значения порогового напряжения перекрытия канала
Найдем пороговое значение напряжения для канала, ширина которого равна
толщине эпитаксиального n -
слоя. Оптимальным диапазоном для напряжения отсечки будем считать диапазон 0,1 Uu<|Uto|< 0,25 Uu.
Для обеспечения требуемого значения |Uto| следует либо сузить канал под затвором методом
травления, либо, если это невозможно, использовать в схеме источник
дополнительного питания для смещения на затворе.
(2.2)
В
Uu - напряжение питания 10 В.
Модуль полученного значения напряжения отсечки |Uto| не лежит в рекомендуемом диапазоне 0.1Uи<|Uto|<0.25Uи при Uu = 10 В.
Для обеспечения требуемого диапазона примем Uto= 1,72 В, соответственно an=0,6*10-7 м.
В итоге из предложенных схем, выбираем схему:
2.3
Определение геометрических размеров полевого транзистора Шоттки
С помощью пакета PSPICE
получены геометрические размеры полевого транзистора с затвором Шоттки, который
является основным элементом усилителя. Количество параллельных структур
(затворов, истоков, стоков) в данном транзисторе десять. Это позволяет достичь
достаточно большого усиления на высоких частотах.
Все размеры транзистора занесены в таблицу 2.1.
Рис.2.2 - Схематическое изображение транзистора Шоттки
Таблица 2.1 - Геометрические размеры полевого транзистора с затвором
Шоттки.
|
Параметры
|
Значения, мкм
|
|
Толщина пленок
|
|
толщина металлизации
затвора Hmg
|
1.2
|
|
толщина металлизации истока
Hms
|
1.4
|
|
толщина металлизации стока Hmd
|
1.4
|
|
Полупроводниковая структура
|
|
толщина эпитаксиального N -
слоя an
|
0.1
|
|
толщина канала под затвором
ak
|
0.06
|
|
толщина эпитаксиального N+
- слоя an+
|
0.2
|
|
Планарные размеры
|
|
ширина затвора (длина
пальца затвора) W
|
25
|
|
длина затвора (ширина
пальца затвора) L
|
0.2
|
|
ширина пальцев истока Ls
|
20
|
|
ширина пальцев стока Ld
|
20
|
|
Расстояния
|
|
расстояние от края затвора
до края истока Lsg
|
2
|
|
расстояние от края затвора
до края стока Ldg
|
2
|
|
расстояние от края истока
до лунки затвора Lsn
|
1.75
|
|
расстояние от края стока до
лунки затвора Ldn
|
1.75
|
3.
Функциональное проектирование усилителя
3.1
Получение схемы электрической принципиальной
На основе результатов расчета по постоянному току, в среде программы
PROBE, построили семейство выходных характеристик Id(Vd) в пределах от
нуля до напряжения источника 0 < Vd < V0 при
вариации напряжения на затворе Vto < Vg < 0 В.
По построенным графикам, определили максимальное значение нагрузочного
сопротивления Rmax=12 кОм, I=0.8 мкА, U=10
В.
Определите низкочастотное значение параметра Y21 в режиме
насыщения при Vg = Vt0/2. Vto/2 = 1,72 В. Выбираем две соседние
характеристики, например, при Vg = 0,85 В и Vg = 1,75 В. На
участке насыщения определяем Id(Vg = 0,85 В) = 97 мА и Id(Vg =
1,75 В) = 72 мА. Даем оценку Y21 = (51 - 42)/0.1 = 90 См.
Вывод: при изменении параметров R1 - не влияет на параметры, R4 - при увеличении параметров, увеличивается шум. При уменьшении,
количество шумов, уменьшается. R2 -
увеличиваем, растет напряжение на выходе.
Получили следующие значения элементов схемы:
R1=100
Ом; R2=200 Ом; R3=70 Ом; R4=20
Ом; RG=60 Ом; C3=5*е-9 Ф.
С помощью пакета PSPICE
получим двухкаскадный усилитель, отвечающий заданным требованиям. В результате
получена схема усилителя, представленная на рисунке 3.1.
Рис. 3.1 Схема электрическая принципиальная двухкаскадного усилителя.
На рисунках 3.2 и 3.3 представлены основные характеристики - коэффициент
усиления и коэффициент шума усилителя.
Рис. 3.2 Зависимость коэффициента усиления от частоты.
Рис. 3.3 Зависимость коэффициента шума от частоты.
3.2
Исследование влияния ширины затвора на коэффициент шума и другие характеристики
ПТШ
Изменяя ширину затвора, получим графики, представленные на рисунке 3.4 и
3.5.

Рис. 3.5 Зависимость коэффициента шума от частоты при изменении ширины
затвора.
Вывод: Оптимальное значение ширины затвора W=25 мкм. Из рисунков 3.4 и 3.5 видно, что коэффициент
усиления растет с увеличением ширины затвора и максимального смещения. С
увеличение ширины затвора, коэффициент шума уменьшается.
4.
Разработка конструкции и топологии кристалла
4.1 Расчет
геометрических размеров пассивных элементов
Расчет
геометрических размеров конденсаторов
При проектировании усилителя, получили следующие значения конденсаторов:
С1=20*10-12Ф; С2=20*10-12Ф; С3=5*10-11Ф;
С4=20*10-12Ф; С1=5*10-11Ф.
Рассчитаем геометрические размеры конденсатора С1.
Примем разброс номиналов ΔС/С=10%. Расстояние между краями
верхней обкладки и диэлектрика, диэлектрика и нижней обкладки ΔLВ.Н.=2 мк м. Погрешность линейных
измерений ΔLВ.О.=1 мк м. В качестве диэлектрика
выберем окись тантала (Та2О5).
Рассчитаем минимальную толщину диэлектрика:
(4.1)
Где:
Kz=3 - коэффициент запаса.
Up=0.1 мк В -
рабочее напряжение.
Ed=24 кВ/мм -
электрическая прочность диэлектрика.
εd=25.
Так
как минимальная толщина меньше минимально возможного значения, то примем
минимальную толщину равной hmin=0.1*10-6 м.
Рассчитаем
максимальную удельную емкость:
(4.2)
Найдем
погрешность в геометрических размерах верхних обкладок конденсатора δа:
δa=ΔC/C - Δh/h - ΔT*TKE=0.1 - 0.1 - 100*2*10-4=-0.02
Где:
Δh/h=0,1.
ТКЕ=2*10-4
1/С
ΔT=100 С -
перепад температур.
Найдем
максимальную удельную емкость, которая обеспечивает требуемую величину δа:
(4.3)
Где:
Кф=1 - коэффициент формы.
Значение
обеспечивает заданное Uр и требуемое значение δА. Емкость С0 определяет геометрические размеры
конденсатора.
Найдем
площадь конденсатора АВ.О. по формуле:
АВ.О.=С1/С0*Ккр=20*10-12/0,212=9,43*10-11
м2
Где:
Ккр - коэффициент учитывающий краевой эффект, равен 1.
Рассчитаем
длину верхней обкладки LВ.О.:
LВ.О.=
(4.4)
Длина
нижней обкладки LН.О.:
LН.О.= LВ.О.+2*ΔLВ.Н. =1,32*10-4 +2*2*10-6 =1,37*10-5
м (4.5)
Длина
диэлектрика:
LД= LН.О + 2*ΔLВ.Н.=1,77*10-5+2*2*10-6=2,17*10-5
(4.6)
Параметры
всех конденсаторов приведены в таблице 4.1
|
Конденсатор
|
Uраб, мк В
|
Сjmax2
|
АВ.О. м2
|
LВ.О. м
|
LН.О. м
|
LД м
|
|
С1
|
0,1
|
2*10-3 Ф/м2
|
9,43*10-11
|
9,71*10-6
|
1,37*10-5
|
2,17*10-5
|
|
С2
|
0,43
|
2*10-3 Ф/м2
|
9,43*10-11
|
9,71*10-6
|
1,37*10-5
|
2,17*10-5
|
|
С3
|
0,27
|
5*10-3 Ф/м2
|
2,35*10-10
|
1,53*10-5
|
1,93*10-5
|
2,33*10-5
|
|
С4
|
2,7
|
2*10-3 Ф/м2
|
9,43*10-11
|
9,71*10-6
|
1,37*10-5
|
2,17*10-5
|
1,4
|
5*10-3 Ф/м2
|
2,35*10-10
|
1,53*10-5
|
1,93*10-5
|
2,33*10-5
|
Расчет геометрических размеров резисторов
При проектировании усилителя, получили следующие значения резисторов:
R1=100
Ом; R2=200 Ом; R3=120 Ом; R4=20
Ом; R5=20 Ом; R6=200 Ом; R7=70
Ом.
Важным параметром резистора, во многом определяющим его характеристики,
является
(4.7)
где
bэфф.0 - минимальная эффективная
ширина, определяемая технологическими ограничениями; bэфф.Р -минимальная эффективная ширина, определяемая
допустимой удельной рассеиваемой мощностью (Р0); bэфф.Т
-минимальная эффективная ширина, обеспечивающая заданную точность
изготовления.
Значение
bэфф.Р находится из выражения для допустимой мощности (Р),
рассеиваемая резистором, которая должна удовлетворять неравенству
(4.8)
где
Р0 ≈ 5 Вт/мм2 - допустимая удельная мощность.
Отсюда следует, что
(4.9)
В
качестве диэлектрика для резисторов выберем рений.
Рассчитаем
мощность рассеиваемую на резисторе R1:
Р1=Up12/R1=(0.8*10-6)2/100=6.4*10-15
Вт (4.10)
(4.11)
Определим
bТ=(2*ΔbT)/(δR-δRs)=(2*0.2*10-6)/0.2-0.1=4*10-6 (4.12)
Где:
ΔbT=0,2*10-6м.
δR - погрешность в номиналах сопротивлений.
δRs - погрешность в номинале поверхностного
сопротивления.
Рассчитаем
коэффициент формы:
Кф1=R1/Rко=100/250=0,4 (4.13)
Найдем
длину резистора:
L1=Кф1*bэфф=0,4*30*10-6=1,2*10-5 м (4.14)
Где:
bэфф -
минимально эффективная ширина.
Параметры
всех резисторов приведены в таблице 4.2
|
Резистор
|
Uраб, мкВ
|
P, Bт
|
bp, м
|
bt, м
|
Кф
|
L, м
|
|
R1
|
0,8
|
6,4*10-15
|
5,65*10-11
|
4*10-6
|
0,4
|
1,2*10-5
|
|
R2
|
6,5
|
3,2*10-15
|
2,82*10-11
|
4*10-6
|
0,89
|
2,4*10-5
|
|
R3
|
6,4
|
5,33*10-15
|
4,71*10-11
|
4*10-6
|
0,48
|
2,44*10-5
|
|
R4
|
0,2
|
3,2*10-15
|
2,82*10-10
|
4*10-6
|
0,08
|
2,4*10-6
|
|
R5
|
1,46
|
3,2*10-15
|
2,82*10-10
|
4*10-6
|
2,4*10-6
|
|
R6
|
24,2
|
3,2*10-15
|
2,82*10-11
|
4*10-6
|
0,8
|
2,4*10-5
|
|
R7
|
24
|
9,14*10-15
|
8,08*10-11
|
4*10-6
|
0,28
|
8,4*10-6
|
4.2 Разработка топологии кристалла
Исходными данными являются принципиальная электрическая схема с заданным
расположением контактных площадок и геометрические размеры элементов. На этом
этапе решаются такие вопросы, как определение необходимого числа изолированных
областей, минимизация возможного числа пересечений коммутационных шин элементов
и длины шин.
На данном этапе рассматривается ряд вариантов топологии, отличающихся
компоновкой отдельных узлов. В процессе разработки вариантов топологии
происходит перемещение элементов, изменение их формы, в частности, многократный
изгиб каналов резисторов, изменение формы контактов, формы транзисторов и
другие модификации. При этом необходимо осуществлять корректировку
геометрических размеров элементов для сохранения значений их электрических
параметров. На свободных периферийных участках кристалла располагаются метки совмещения,
тестовые элементы и другие вспомогательные элементы. В заключение выбираем
оптимальный предварительный вариант топологии.
Спроектированная топология должна: удовлетворять всем предъявляемым
электрическим, конструктивным и технологическим требованиям и ограничениям;
обеспечивать возможность экспериментальной проверки электрических параметров
элементов или отдельных блоков схемы; давать возможность сокращения числа
технологических операций и стоимости изготовления (простые методы изоляции
элементов; однослойная металлизация и др.); плотность размещения элементов
должна быть по возможности максимальной.
5. Разработка технологии изготовления кристалла
Кристалл выполняем на пластине ni - n - n+ - GaAs
Технология очистки поверхности кристалла
1. На начальном этапе очистки производится так называемое обезжиривание
поверхности - удаления жиров, масел, восков, смол. При этом в качестве
растворителей могут использоваться углеводороды, их смеси, спирты, эфиры,
амины, кетоны, хлорорганические соединения и др.
. Органические примеси с поверхности кремниевых пластин обычно удаляются
в перекисно-аммиачном растворе (Н2О2 : NН4ОН : Н2О = 1
: 1 : 3) с последующей гидродинамической отмывкой поверхности. Перекись
водорода Н2О2 обеспечивает окисляющее разложение органических
примесей, гидроксид аммония NН4ОН
образует комплексные соединения с металлами, что облегчает их удаление с
поверхности.
. Для отмывки пластин используют особо чистую воду: дистиллированную и
деионизованную (ионообменную). Степень очистки воды контролируют по ее
удельному электросопротивлению. Удельное сопротивление дистиллированной воды
составляет от 100 до 200 кОм×см, бидистиллированной - от 0,5 до 10 МОм×см, деионизованной - до 20 МОм×см.
. Для очистки от органических частиц деионизованная вода фильтруется
мембранными фильтрами из тонких пленок нитроцеллюлозы, нейлона и др.
материалов, обеспечивающих размеры отверстий от долей до нескольких
микрометров.
. Очищенная поверхность пластин должна быть предохранена от последующих
загрязнений. Для этого используют несколько приемов: моментальную передачу
очищенных пластин в условиях чистой окружающей среды на следующую
технологическую операцию; хранение очищенных пластин в герметичной таре,
заполненной чистым инертным газом; защиту поверхности кремниевых пластин
специальными технологическими пленками, например покрытие их специальным лаком.
Травление n+ слоя
1. Подготовка пластины.
. Нанесение позитивного фоторезиста ФП-РМ-7 на основе резольной и
новолачной смол, методом полива.
. Сушка фоторезиста при температуре 100 С.
. Совмещение и экспонирование методом проецирования (Фотошаблон 1).
. Проявление в растворе тринатрийфосфата Nа3РO4.
. Задубливание фоторезиста при температуре 130 С в несколько этапов, с
постепенным повышением температуры до 200 С.
. Травление потоком химически активных, но нейтральных частиц. К таким
частицам относятся свободные радикалы и некоторые короткоживущие молекулярные
комплексы, которые возникают в плазме соответствующих газов.
. Удаление фоторезиста обработкой в горячей (70 - 80 ºС) смеси деметилформамида и
моноэтаноламина.
Травление n слоя
1. Нанесение позитивного фоторезиста ФП-РМ-7 на основе резольной и
новолачной смол, методом центрифугирования.
. Сушка фоторезиста при температуре 100 С.
. Совмещение и экспонирование методом проецирования (фотошаблон 2).
. Проявление в растворе тринатрийфосфата Nа3РO4.
. Задубливание фоторезиста при температуре 130 С в несколько этапов, с
постепенным повышением температуры до 200 С.
. Травление потоком химически активных, но нейтральных частиц. К таким
частицам относятся свободные радикалы и некоторые короткоживущие молекулярные
комплексы, которые возникают в плазме соответствующих газов.
. Удаление фоторезиста обработкой в горячей (70 - 80 ºС) смеси деметилформамида и
моноэтаноламина.
Изготовление резисторов
1. Нанесение позитивного фоторезиста ФП-РМ-7 на основе резольной и
новолачной смол, методом полива.
. Сушка фоторезиста при температуре 100 С.
. Совмещение и экспонирование методом проецирования (Фотошаблон 2).
. Проявление в растворе тринатрийфосфата Nа3РO4.
. Задубливание фоторезиста при температуре 130 С в несколько этапов, с
постепенным повышением температуры до 200 С.
. Нанесение слоя материала резисторов рения методом катодного осаждения.
. Удаление фоторезиста обработкой в горячей (70 - 80 ºС) смеси деметилформамида и
моноэтаноламина.
Нанесение нижней обкладки конденсаторов
1. Нанесение позитивного фоторезиста ФП-РМ-7 на основе резольной и
новолачной смол, методом центрифугирования.
. Сушка фоторезиста при температуре 100 С.
. Совмещение и экспонирование методом проецирования (Фотошаблон 5).
. Проявление в растворе тринатрийфосфата Nа3РO4.
. Задубливание фоторезиста при температуре 130 С в несколько этапов, с
постепенным повышением температуры до 200 С.
. Напыление первого слоя металлизации Au методом плазмохимического осаждения.
. Удаление фоторезиста обработкой в горячей (70 - 80 ºС) смеси деметилформамида и
моноэтаноламина.
Формирование лунок под затвор
1. Нанесение позитивного фоторезиста ФП-РМ-7 на основе резольной и
новолачной смол, методом полива.
. Сушка фоторезиста при температуре 100С.
. Совмещение и экспонирование методом проецирования (Фотошаблон 5).
. Проявление в растворе тринатрийфосфата Nа3РO4.
. Задубливание фоторезиста при температуре 130 С в несколько этапов, с
постепенным повышением температуры до 200 С.
. Травление потоком химически активных, но нейтральных частиц. К таким
частицам относятся свободные радикалы и некоторые короткоживущие молекулярные
комплексы, которые возникают в плазме соответствующих газов.
. Удаление фоторезиста обработкой в горячей (70 - 80 ºС) смеси деметилформамида и
моноэтаноламина.
Омические контакты
Для формирования контактов используют метод обратной фотолитографии
(Фотошаблон 3):
. Сушка фоторезиста при температуре 100С.
. Совмещение и экспонирование методом проецирования (Фотошаблон 3).
. Проявление в растворе тринатрийфосфата Nа3РO4.
. Задубливание фоторезиста при температуре 130 С в несколько этапов, с
постепенным повышением температуры до 200 С.
. Наносят слой Au
методом ионно-плазменного осаждения, этот слой и будет являться омическими
контактами.
. Удаление фоторезиста обработкой в горячей (70 - 80 ºС) смеси деметилформамида и моноэтаноламина.
. Вплавление контактов.
Первая металлизация
1 Нанесение позитивного фоторезиста ФП-РМ-7 на основе резольной и
новолачной смол, методом полива.
Сушка фоторезиста при температуре 100 С.
Совмещение и экспонирование методом проецирования (Фотошаблон 7).
Проявление в растворе тринатрийфосфата Nа3РO4.
Задубливание фоторезиста при температуре 130 С в несколько этапов, с
постепенным повышением температуры до 200 С.
Напыления первого слоя металлизации методом плазмохимического осаждения.
Удаление фоторезиста обработкой в горячей (70 - 80 ºС) смеси деметилформамида и
моноэтаноламина.
Вторая металлизация
1. Нанесение позитивного фоторезиста ФП-РМ-7 на основе резольной и
новолачной смол, методом центрифугирования.
. Сушка фоторезиста при температуре 100 С.
. Совмещение и экспонирование методом проецирования (Фотошаблон 9).
. Проявление в растворе тринатрийфосфата Nа3РO4.
. Задубливание фоторезиста при температуре 130 С в несколько этапов, с
постепенным повышением температуры до 200 С.
. Напыление второго слоя металлизации Au методом плазмохимического осаждения.
. Удаление фоторезиста обработкой в горячей (70 - 80 ºС) смеси деметилформамида и
моноэтаноламина.
Нанесение диэлектрика Al2O3
Материал диэлектрика Al2O3. Нанесение методом
плазмохимического осаждения при температуре 300 С в течение 100 секунд
(Фотошаблон 9).
6. Рисунки отображающие технологию изготовления кристалла
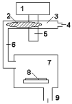
Рисунок 6.1 - Схемы контактного (а) и проекционного (б) экспонирования:
- ртутная лампа; 2 - конденсор; 3 - фотошаблон, 4 - фоторезист;
- подложка; б - столик, 7 - светофильтр; 8 - объектив.
Рисунок 6.2 Технологическая схема изготовления ИС на ni-n-n+-GaAs
Рисунок 6.3 - Схема реактора для химического (радикального) травления:
- СВЧ генератор; 2 - плазма; 3 - разрядная трубка; 4 - реактивный газ4
- волновод; 6 - транспортная труба с нейтральными радикалами;
- реактор; 8 - подложка; 9 - откачка
Заключение
В ходе данной работы был спроектирован двухкаскадный усилитель,
соответствующий характеристикам, описанным в задании. Усилитель обеспечивает
усиление более чем на 25 дБ в полосе частот от 1 ГГц до 3 ГГц. Так же
разработана технология изготовления интегральной микросхемы.
При изучении влияния зависимость коэффициента шума от частоты при
изменении ширины затвора от 10 до 30 мк м, нашли оптимальную ширину затвора 30
мк м.
В работе были использованы следующие программы: PSpice, MathCAD,
Microsoft Word 2003, Microsoft Exel 2003, Adobe Photoshop.
Список использованной литературы
1. Романовский М.Н., Нефедцев Е.В.Проектирование интегральных
схем на арсениде галлия. Руководство к практическим занятиям по дисциплине
Интегральные устройства радиоэлектроники. - Томск: Томский государственный
университет систем управления и радиоэлектроники, 2009. - 77 с.
. Романовский М.Н. Интегральные устройства радиоэлектроники.
Часть 1. Основные структуры полупроводниковых интегральных схем. Учебное
пособие для вузов. - Томск: Томский государственный университет систем
управления и радиоэлектроники, 2007. - 123 с.
. Березин А.С., Мочалкина О.Р. Технология и конструирование
интегральных микросхем: Учеб. пособие для вузов / Под ред. И.П.Степаненко. -
М.: Радио и связь, 1983. - 232 с.
Приложения
Фотошаблон №1, травление n+
слоя
Фотошаблон №2, травление n слоя
Фотошаблон №3, нанесение омических контактов
Фотошаблон №4, подтравление n слоя, нанесение барьерного материала
Фотошаблон №5, формирование нижних обкладок конденсатора
Фотошаблон №6, формирование окон в первом слое диэлектрика
Фотошаблон №7, первый слой металлизации
Фотошаблон №8, вскрытие окон во втором диэлектрике
Фотошаблон №9, вторая металлизация