|
№ вар.
|
НЕ (стабілітрон)
|
R1,
Ом
|
R2, Ом
|
Е, В
|
|
33-15=18
|
Д817В
|
2400
|
7200
|
160
|
Вступ
Нелінійні прилади та
пристрої мають широке застосування в електротехніці та електроніці. Робота
багатьох реальних приладів заснована на використанні явищ та властивостей, які
притаманні лише нелінійним електричним колам. З кожним роком розширюється сфера
застосування нелінійних приладів, а також розробляються нові прилади з новими
характеристиками та властивостями.
Головною особливістю
нелінійних ланцюгів є складність процесів що в них протікають. В той же час, на
відміну від лінійних ланцюгів, для нелінійних відсутні загальні методи аналізу.
Це пов’язано з тим, що на відміну від лінійних, в нелінійних ланцюгах не
виконується принцип накладання, на якому базується більшість методів розрахунку
лінійних електричних ланцюгів.
Процеси в нелінійних
електричних колах описуються нелінійними алгебраїчними або диференційними
рівняннями. Тому для аналізу таких ланцюгів широко застосовуються наближені
методи, які дійсні для обмеженого класу рівнянь, а також чисельні методи
рішення.
Основним завданням
аналізу нелінійних електричних кіл є не тільки визначення струмів та напруг в
окремих елементах електричного кола при заданій вхідній дії. Аналіз таких кіл
повинен дати можливість оцінити ступінь впливу на протікаючи процеси окремих
елементів та їх характеристик, структури електричного ланцюга, а також вказати,
яким шляхом можна змінити реакцію ланцюга в потрібному напрямку. З цієї точки
зору дуже важливе значення мають якісні та наближені методи аналізу.
Дуже важливе значення
має вміння проводити кількісний та якісний аналіз нелінійних електричних кіл,
оскільки в майбутньому буде проводитися робота саме з такими колами, тому
потрібно приділяти значну увагу на практичне освоєння існуючих методів аналізу
нелінійних електричних ланцюгів.
Теоретичні відомості
ЕЛ звуться нелінійними,
якщо в ланцюзі є хоч би один нелінійний елемент (НЕ). У таких елементів
вольт-амперна характеристика (ВАХ) (I = f (U)) є нелінійною функцією, оскільки
опір цього елементу залежить від величини і напряму струму, що протікає через
нього, або від величини і знаку напруги, прикладеної до нього. Нелінійні
елементи описуються нелінійними характеристиками, які не мають строгого
аналітичного виразу, визначаються експериментально і задаються табличний або
графіками.
Нелінійні елементи можна
розділити на двох - і багатополюсні. Останні містять три (різні
напівпровідникові і електронні тріоди) і більш (магнітні підсилювачі,
багатообмоточні трансформатори, тетроди, пентоди і ін.) полюсів, за допомогою
яких вони під'єднуються до електричного ланцюга. Характерною особливістю
багатополюсних елементів є те, що в загальному випадку їх властивості
визначаються сімейством характеристик, що представляють залежності вихідних
характеристик від вхідних змінних і навпаки: вхідні характеристики будують для
ряду фіксованих значень одного з вихідних параметрів, вихідні - для ряду
фіксованих значень одного з вхідних.
За іншою ознакою
класифікації нелінійні елементи можна розділити на інерційні і неінерційні.
Інерційними називаються елементи, характеристики яких залежать від швидкості
зміни змінних. Для таких елементів статичні характеристики, що визначають
залежність між діючими значеннями змінних, відрізняються від динамічних
характеристик, що встановлюють взаємозв'язок між миттєвими значеннями змінних.
Неінерційними називаються елементи, характеристики яких не залежать від
швидкості зміни змінних. Для таких елементів статичні і динамічні
характеристики співпадають.
Залежно від виду
характеристик розрізняють нелінійні елементи з симетричними і несиметричними
характеристиками. Симетричною називається характеристика, не залежна від
напряму визначальних її величин, тобто що має симетрію відносно почала системи
координат:
.
Для несиметричної характеристики ця умова не виконується, тобто
.
Наявність у нелінійного елементу симетричної характеристики дозволяє у цілому
ряді випадків спростити аналіз схеми, здійснюючи його в межах одного квадранта.
У сучасних
засобах автоматики, радіотехніки і обчислювальної техніки широке застосування
знаходять НЕ (діоди, транзистори, тиристори і т.д.), які мають різні по формі
ВАХ.
Залежно від умов роботи
нелінійного елемента і характеру завдання розрізняють статичний, диференціальний
і динамічний опори.
Якщо нелінійний елемент
є неінерційним, то він характеризується першими двома з перерахованих
параметрів.
Статичний опір рівний
відношенню напруги на резистивному елементі до струму який протікає через
нього.
.
Під
диференціальним опором розуміється відношення нескінченно малого приросту
напруги до відповідного приросту струму
.
Слід зазначити,
що у некерованого нелінійного елемента завжди
, а
може
приймати і негативні значення.
У разі
інерційного нелінійного резистора вводиться поняття динамічного опору
визначуваного по
динамічній ВАХ. Залежно від швидкості зміни змінної, наприклад струму, може
змінюватись не тільки величина, але і знак
.
1.
Побудова графіка ВАХ нелінійного елемента
Скориставшись
параметрами стабілітрона Д817В, отримані із довідника, побудуємо графік ВАХ
нелінійного елемента:
Таблиця 1. Параметри
стабілітрона Д817В
|
Тип
|
Параметри
|
|
Uст,
В
|
rст, Oм
|
Iст. мин, мA
|
Iст.маx, мA
|
|
Д817В
|
82±12,3
|
600
|
5
|
60
|
За допомогою параметрів
стабілітрона визначимо нахил зворотної вітки ВАХ стабілітрона:
Побудуємо ВАХ
стабілітрона Д817В:
Рис. 1 - ВАХ
стабілітрона Д817В
Оскільки як НЕ
використовується послідовне з’єднання двох стабілітронів, графіком ВАХ буде
графік сумарної ВАХ послідовно з’єднаних стабілітронів з урахуванням їх
зустрічного включення, тому графік ВАХ матиме вигляд:
Рис. 2 - ВАХ заданого НЕ
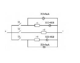
2. Кусочно-лінійна
апроксимація ВАХ НЕ та його дискретно-лінійна схема заміщення
Апроксимуємо ВАХ НЕ
трьома лінійними ділянками. Зафіксуємо координати початкової та кінцевої точки
кожної лінійної ділянки. Кожній лінійній ділянці поставимо у відповідність
гілку електричного кола, складену з лінійних елементів. Якщо ці гілки за
допомогою ключів почергово включати в ЕК замість НЕ у відповідності з табл. 2
можна здійснювати розрахунок нелінійного ланцюга, використовуючи методи
розрахунку лінійних ланцюгів. При цьому похибка розрахунків буде визначатись
точністю апроксимації ВАХ НЕ. Дискретно-лінійна схема заміщення наведена на
рис. 4. Опори резисторів r1, r2, r3 дорівнюють диференційному опору відповідальної лінійної ділянки.
Визначимо параметри елементів дискретно-лінійної схеми заміщення.
Рис. 3. Кусочно-лінійна
апроксимація ВАХ НЕ.
Складемо
дискретно-лінійну схему заміщення. Використовуючи кусочно-лінійну апроксимацію
ВАХ НЕ визначимо параметри елементів схеми та зведемо отримані дані до таблиці:
Таблиця 2. Параметри
дискретно-лінійної схеми заміщення
|
Ключі
|
Напруга, (В)
|
Струм, (mA)
|
|
Min
|
max
|
Min
|
max
|
|
S1
|
-∞
|
-∞
|
|
|
|
S2
|
  
|
|
|
|
|
S3
|
+∞ +∞
|
|
|
|
Рис. 4. Дискретно-лінійна
схема заміщення
Використовуючи
кусочно-лінійну апроксимацію визначимо значення опорів r1 - r3:
Зведемо отримані
дані до таблиці 3
Таблиця 3.
Значення опорів r1 - r3.
|
Опір
|
r1
|
r2
|
r3
|
|
Значення, Ом
|
600
|
16200
|
600
|
3. Побудова
сумарної ВАХ для нелінійного ланцюга
Побудуємо в одній
системі координат ВАХ НЕ та резисторів R1 і R2. Потім будуємо сумарну
ВАХ НЕ та R2, які з’єднані паралельно,
додаючи значення струмів при фіксованих значеннях напруг. Після цього будуємо
сумарну ВАХ електричного ланцюга, шляхом додавання напруг резистора R1 та ділянки R2+НЕ при фіксованих значеннях
струму.
Побудуємо ВАХ резисторів
R1 та R2 як пряму залежність струму від напруги. Це пряма, яка проходитиме
через т. 1 (0,0) і т. 2, яку визначаємо у такий спосіб:
Для R1: U=50B тоді I=50B/2400Ом=20,8мА.
Для R2: U=60B тоді I=60B/7200Ом=8,33мА.
Маючи координати т. 2,
будуємо ВАХи R1 та R2, після чого отримуємо ВАХ R2+НЕ. Останньою дією
знаходимо ВАХ ділянки (R2+НЕ)+R1
На рис. 5 зображені ВАХи елементів електричного кола та сумарна ВАХ електричного
ланцюга.
Рис. 5 - ВАХ нелінійного
електричного кола
4.
Визначення режиму роботи елементів нелінійного ланцюга при заданій напрузі
джерела живлення Е=160 [В]
По заданій напрузі
джерела живлення Е = 160В визначаємо робочу
точку О1 на сумарній ВАХ. Ця точка визначає струм джерела живлення І1, а
отже і струм резистора R1. Точка перетину
(О5) струму І1 з ВАХ резистора R1 визначає напругу на цьому резисторі U1. Точка перетину (О2) струму І1 з характеристикою ділянки R2 + НЕ визначає напругу U2 на резисторі R2 та НЕ. У точках перетину напруги U2 з характеристиками НЕ (О3) та R2 (О4) знаходимо відповідно струми через ці елементи.
Зведемо отримані
значення до таблиці:
нелінійний живлення
ланцюг амперний
Таблиця 4. Режим роботи
елементів нелінійного ланцюга
|
R1
|
R2
|
НЕ
|
|
U,
(B)
|
U1= 69
|
U2= 91
|
Uне=91
|
|
I,
мA
|
I1=30
|
I2=12
|
Iне=18
|
Перевіримо отримані
результати за законами Ома та Кіргофа:
5. Визначення
основних параметрів НЕ в робочій точці
В результаті
попередніх розрахунків було визначено робочу точку НЕ (О3), а також на сумарній
ВАХ (О1) і характеристиці паралельної ділянки ВАХ R2
+ НЕ (О2). Визначимо статичний опір
, а також диференційний
опір
у
вказаних робочих точках. Для кожної точки розрахуємо відносний диференційний
опір
.
а) для ВАХ
нелінійного елемента:
б) для ВАХ R2 + НЕ:
в) для ВАХ
нелінійного ланцюга:
Зведемо отримані
результати до таблиці:
Таблиця 5.
Основні параметри елементів нелінійного ланцюга в робочій точці
|
НЕ (точка О3)
|
R2 + НЕ (точкаО2)
|
R1
+ R2 + НЕ (точка
О1)
|
|
,
(Ом)5055,53033,35333,3
|
|
|
|
|
,
(Ом)6002003000
|
|
|
|
|
0,1180,0660,562
|
|
|
|
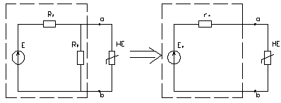
6. Розрахунок
режиму роботи усіх елементів ланцюга методом пересікання
Виокремимо нелінійний
елемент, а частину схеми представимо у вигляді еквівалентного генератора:
Рис. 6. Метод еквівалентного генератора
Напругу
еквівалентного генератора
визначаємо
як напругу холостого ходу між точками ab, його внутрішній опір
- як еквівалентний опір
між точками ab в режимі холостого ходу при закороченому джерелі напруги Е.
Будуємо графік
робочої ділянки ВАХ НЕ. На осі струмів відкладаємо значення
,
а на осі напруг
.
З’єднавши ці точки прямою лінією в точці перетину з ВАХ НЕ (О3) визначаємо
режим його роботи:
Рис. 7 - Визначення
режиму роботи НЕ методом пересікання
З графіка визначаємо
режим роботи НЕ в робочій точці О3.
UНЕ = 90В IНЕ = 18мА
UНЕ = U2
Після цього повернемося
до вихідної схеми і за допомогою законів Ома та Кіргофа визначимо режим роботи
усіх інших елементів:
Отримані
результати зведемо до таблиці:
Таблиця 6. Режим роботи
елементів нелінійного ланцюга
|
R1
|
R2
|
НЕ
|
|
U, В
|
70
|
90
|
90
|
|
I, мА
|
30,5
|
12,5
|
18
|
Дані майже збігаються з
даними табл. 4. Невелика похибка пов’язана з похибками графічної побудови і
визначенням параметрів, а також великим інтервалом між мінімальним та
максимальним струмами стабілізації.
7. Еквівалентна
лінеаризована схема для режиму малих сигналів
Будуємо ВАХ НЕ і на ній
позначаємо робочу точку (О3), визначену раніше (рис. 8). Проводимо
дотичну до ВАХ НЕ у робочій точці і продовжуємо її до пересікання з віссю
струмів (Jф) та віссю напруг (Eф)
Якщо відомо, що робоча
точка буде переміщуватись по ВАХ НЕ на незначну відстань відносно початкової
робочої точки О3, НЕ можна замінити еквівалентною лінійною схемою, побудованою
з використанням джерела Jф, або джерелом напруги Eф.
Рис. 8 - Метод
лінеарізації
Еквівалентна схема з
джерелом струму
Диференційний опір на
робочій ділянці характеристики визначимо з такого співвідношення:
Струм в околі
робочої точки можна визначити з такого співвідношення:
Еквівалентна
схема з джерелом напруги
Диференційний
опір на робочій ділянці характеристики можна визначити також з такого
співвідношення:
Напругу в околиці
робочої точки можна приблизно визначити з такого співвідношення:
Таблиця 7.
Параметри схеми для режиму малих сигналів
|
E, [B]
|
R1, [Oм]
|
R2, [Oм]
|
,
[Ом]Eф, [B]Jф, [мA]
|
|
|
|
160
|
2400
|
7200
|
600
|
79,2
|
132
|
8. Побудова
передавальних характеристик електричного ланцюга
Побудуємо передавальні
характеристики електричного ланцюга:
та
На
графіку (рис. 5) показано, як знаходиться значення вихідної напруги Uвих та вихідного струму Iвих при напрузі Uвх=-1.5Е=-260В.
Аналогічно знайдемо значення Uвх до Uвх=1.5Е=240В. Але, оскільки ВАХи є
симетричними відносно початку координат, передавальні характеристики також
будуть симетричними. Отже, достатньо лише розглянути зміну вхідної напруги на
проміжку від -240 [B] до 0 [B]
Одержані
результати зведемо до таблиці 8і побудуємо графіки передавальних характеристик
та
Таблиця 8. Значення Uвх, Uвих,
Iвих
|
Uвх
|
240
|
220
|
200
|
180
|
160
|
140
|
120
|
100
|
80
|
60
|
40
|
20
|
0
|
|
Uвих
|
105
|
101
|
99
|
96
|
91
|
89
|
82
|
66
|
54
|
40
|
28
|
10
|
0
|
|
Iвих
|
41
|
36
|
31
|
25
|
19
|
14
|
5
|
4
|
3
|
2
|
1.5
|
1
|
0
|
Для відмінних значень
таблиця буде ідентичною, але зі знаком «-«
Рис. 13 - Графік передавальної характеристики
Рис. 14 - Графік
передавальної характеристики
9. Побудова
узгоджених часових діаграм струмів та напруг в елементах ланцюга
Результати, одержані в
попередніх пунктах, дозволяють графічно визначити форму струмів та напруг в
усіх елементах електричного ланцюга при заданій формі вхідної напруги.
За допомогою
передавальної характеристики
(рис. 13) методом
проекції будуємо форму вихідної напруги при двох заданих значеннях вхідної
напруги (рис 15).
Рис. 15 - Форма
вихідної напруги
За допомогою
передавальної характеристики
(Рис. 14) методом
проекцій будуємо форму вихідного сигналу iвих(t) при двох заданих значеннях вхідної
напруги (Рис. 16)
Рис. 16 - Форма
вихідного струму
Будуємо форму
напруги на резисторі R1, використовуючи другий закон Кіргхофа
для
кожного значення вхідної напруги. (рис. 17,18).
Таблиця 9.
Значення UR1, Uвх, Uвих
для відповідних t
(Um=240B)
|
t
|
1
|
2
|
3
|
4
|
5
|
6
|
7
|
8
|
9
|
10
|
11
|
12
|
|
Uвх, B
|
144
|
205
|
240
|
205
|
144
|
0
|
-144
|
-205
|
-240
|
-205
|
-144
|
0
|
|
Uвих, В
|
88
|
100
|
105
|
100
|
88
|
0
|
-88
|
-100
|
-105
|
-100
|
-88
|
0
|
|
UR1,
В
|
56
|
105
|
135
|
105
|
56
|
0
|
-56
|
-105
|
-135
|
-105
|
-56
|
0
|
Рис. 17 - Графік для
випадку Um=240B
Таблиця 10. Значення UR1, Uвх, Uвих для відповідних t (Um=80B)
|
t
|
1
|
2
|
3
|
4
|
6
|
7
|
8
|
9
|
10
|
11
|
12
|
|
Uвх, B
|
44
|
70
|
80
|
70
|
44
|
0
|
-44
|
-70
|
-80
|
-70
|
-44
|
0
|
|
Uвих, В
|
30
|
42
|
51
|
42
|
30
|
0
|
-30
|
-42
|
-51
|
-42
|
-30
|
0
|
|
UR1,
В
|
14
|
28
|
29
|
28
|
14
|
0
|
-14
|
-28
|
-29
|
-28
|
-14
|
0
|
Рис. 18 - Графік для випадку Um=80B
Будуємо форму струмів
через резистори R1 таR2, використовуючи закон Ома:
;
;
Ці струми, а
також струм
(рис.
16), будуємо в одній системі координат для кожного значення
(рис.
19, 20)
Таблиця 11. Значення IR1, IR2, Iвих для відповідних t (Um=240B)
|
t
|
1
|
2
|
3
|
4
|
5
|
6
|
7
|
8
|
9
|
10
|
11
|
12
|
|
IR1, A
|
23,3
|
43,75
|
56,25
|
43,75
|
23,3
|
0
|
-23,3
|
-43,75
|
-56,25
|
-43,75
|
-23,3
|
0
|
|
IR2, A
|
12,2
|
13,8
|
14,58
|
13,8
|
12,2
|
0
|
-12,2
|
-13,8
|
-14,58
|
-13,8
|
-12,2
|
0
|
|
Iвих,
A
|
11
|
30
|
41
|
30
|
11
|
0
|
-30
|
-11
|
-41
|
-30
|
-11
|
0
|
Рис. 19 - Графік для випадку Um=240B
Таблиця 12. Значення IR1, IR2, Iвих для відповідних t (Um=80B)
|
t
|
1
|
2
|
3
|
4
|
5
|
6
|
7
|
8
|
9
|
10
|
11
|
12
|
|
IR1, A
|
5,83
|
11,6
|
12,08
|
11,6
|
5,83
|
0
|
-5,83
|
-11,6
|
-12,08
|
-11,6
|
-5,83
|
0
|
|
IR2, A
|
4,16
|
6
|
7,5
|
6
|
4,16
|
0
|
-4,16
|
-6
|
-7,5
|
-6
|
-4,16
|
0
|
|
Iвих,
A
|
2
|
4
|
5
|
4
|
2
|
0
|
-2
|
-4
|
-5
|
-4
|
-2
|
0
|
Рис. 20 - Графік для випадку Um=80B
Перевірим виконання 1 го закону Кірхгофа:
iR1(t)=iR2(t)+iвих(t)
56,25=14,58+41=55,58 ≈56,25
,75=13,8+30=43,8 ≈43,75
,3=12,2+11=23,2 ≈23,3
,08=7,5+5 ≈12,5
,6=6+4=10 ≈11,6
,83=4,16+2=6,16 ≈5,83
Висновки
Графічні методи
розрахунку за своєю суттю є достатньо простими та наочними. Для проведення
графічних розрахунків треба мати графік ВАХ нелінійного елемента, а також знати
параметри усіх інших елементів електричного ланцюга. Точність графічних методів
залежить від точності графічних побудов, а також складності електричного кола.
Оскільки графічні методи є графічним відображенням законів Ома та Кіргхофа,
точність проведених розрахунків можна контролювати перевіряючи виконання цих
законів. У цій роботі максимальна похибка одержаних результатів не перевищує
5%.