Воздушные выключатели

  • Вид работы:
    Практическое задание
  • Предмет:
    Физика
  • Язык:
    Русский
    ,
    Формат файла:
    MS Word
    1,22 Мб
  • Опубликовано:
    2013-10-17
Вы можете узнать стоимость помощи в написании студенческой работы.
Помощь в написании работы, которую точно примут!

Воздушные выключатели

МИНОБРНАУКИ РОССИИ

Федеральное государственное бюджетное образовательное учреждение высшего профессионального образования

«Тульский государственный университет»

Факультет систем автоматического управления

Кафедра «Электроэнергетика»


Отчет по лабораторной работе №2

дисциплины

«Электрические станции и подстанции»

Выполнил:

ст.гр.121511 Столов А.Е.







Тула 2013

Воздушные выключатели

 

Цель работы - изучить принцип гашения электрической дуги в воздушных выключателях

В воздушных выключателях дугогасительной средой является сжатый воздух, подаваемый в гасительную камеру, в зону горения дуги, сильной струей под давлением от 2 до 4 МПа. Поток сжатого воздуха выносит продукты горения из дугового промежутка и создает в нем высокую электрическую прочность, которая способна противостоять восстанавливающемуся напряжению.

Сжатый воздух, как дугогасящая среда, обладает высокими качествами. Его электрическая прочность сильно возрастает с увеличением давления.

Принцип работы гасительного устройства воздушного выключателя очень прост. Применяют камеры продольного и поперечного воздушного дутья. В первом случае струя воздуха направляется вдоль ствола дуги, во втором - поперек.

На рисунке 1.8 показаны основные типы гасительных камер.

а - камера продольного дутья с полым и сплошным контактами;

б - камера продольного дутья с двумя полыми контактами;

в - камера поперечного дутья.

Рисунок 1.8 - Схематические разрезы гасительных камер

Необходимо отметить, что гашение дуги в воздушных выключателях осуществляется струей воздуха, интенсивность которой не зависит от мощности дуги, так как гашение производится за счет энергии постороннего источника. Поэтому соответствующей подачей воздуха можно обеспечить надежное и быстрое гашение дуги.

Воздушные выключатели имеют очень высокое быстродействие: в них время гашения дуги достигает 0,02 с, а полное время отключения 0, 06 с.

Воздушные выключатели могут выполняться как с применением отделителя, который служит для создания необходимого изоляционного промежутка при отключенном положении выключателя, т.е. для отделения выключателя от цепей, находящихся под напряжением, так и без него.

Отделитель может быть выполнен как:

·   внешний, с размыканием контактов на открытом воздухе при атмосферном давлении;

·   внутренний, с размыканием контактов внутри камеры, заполненный воздухом при атмосферном давлении;

·   внутренний (воздухонаполненный) с размыканием контактов в камере, заполненной сжатым воздухом.

Вследствие недостатков, связанных с работой воздушных выключателей, имеющих первые два типа отделителя (сложность работы отделителя в осенне-зимний период, большое время отключения), производство таких выключателей прекращено.

В воздушных выключателях на напряжения 110 кВ и выше дугогасительные устройства, как правило, выполняют с многократным разрывом на фазу; они состоят из нескольких одинаковых гасительных элементов, включенных в электрическую цепь последовательно.

В каждом гасительном элементе происходит разрыв цепи, т.е. каждый элемент отключает часть общей мощности. Увеличением числа гасительных элементов можно до известного предела повысить мощность отключения выключателя.

В гасительных камерах, при двух разрывах и более, напряжение между ними распространяется неравномерно. Для равномерного распределения напряжения на отдельных разрывах гасительной камеры применяют специальные делители напряжения, состоящие из активных или емкостных сопротивлений. Эти сопротивления присоединяются параллельно каждому разрыву. Кроме выравнивания напряжения, эти шунтирующие сопротивления снижают амплитуду и скорость восстановления напряжения на контактах выключателя.

Воздушные выключатели по сравнению с масляными выключателями имеют ряд преимуществ: малый вес, простоту ревизии, удобство транспортировки.

Отсутствие трансформаторного масла делает эти выключатели пожаробезопасными. При установке воздушных выключателей отпадает необходимость в устройстве обширного масляного хозяйства.

В настоящее время воздушные выключатели получили широкое распространение в энергосистемах.

 

Конструкции воздушных выключателей

Воздушный выключатель ВВН-35-2

Воздушный выключатель типа ВВН-35-2 (В - выключатель, В - воздушный, Н - наружной установки, 35 - номинальное напряжение, 2-количество резервуаров сжатого воздуха) предназначен для использования в электроустановках переменного тока частотой 50 Гц.

Номинальный рабочий ток выключателя 2000 А, номинальный ток отклонения 31,5 кА, полное время отклонения 0,08 с (собственное время 0,06 с).

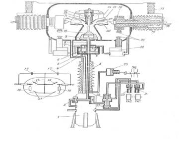
На рисунке 1.9 показан общий вид выключателя ВВН-35-2. Основанием выключателя являются два соединенных между собой резервуара. На резервуаре 15 установлены три дутьевых клапана 4 и два шкафа управления 9 и 11.

На каждом из дутьевых клапанов установлено по два опорных изолятора 3 и гасительная камера 2 с клапаном отсечки 13 и выхлопным устройством 1. На каждом полюсе выключателя имеются токосъемные фланцы 16.

На резервуаре 15 расположен также промежуточный клапан 10, осуществляющий управление дутьевыми клапанами через распределительные трубы 5.

Выключатель снабжен тремя указателями продувки 14 и обратными клапанами продувки. Болт заземления 6 расположен на лапе резервуара 15.

В шкафу управления 11 расположены: манометр 12, являющийся указателем наличия давления в гасительной камере; промежуточный клапан; обратный клапан; кабельная муфта 8, через которую осуществляется ввод проводов вторичной коммутации в шкаф управления; блок пусковых клапанов с электромагнитами; подогреватель и ниппель для присоединения трубки местного пневматического отключения.

В шкафу управления 9 расположены лампы 7 (зеленая и красная) световой сигнализации положения выключателя, блок-контактное устройство и кабельные муфты 8.

Блок-контактное устройство состоит из сигнально-блокировочных контактов (СБК), привода СБК, клемм, образующих три колодки, и счетчика с кронштейном.

Рисунок 1.9 - Выключатель ВВН 35-2

На рисунке 1.10 приведены полюс выключателя в разрезе и электропневматическая схема (для положения выключателя “отключено”), на рисунке 1.11 - разрез клапана отсечки выключателя ВВН-35-2.

На токосъемном фланце 25 (рисунок 1.10), в который при помощи гаек закреплен неподвижный контакт 10 с тугоплавкими контактами, расположен изолятор 17 гасительной камеры. На верхнем конце изолятора камеры расположен токосъемный фланец 24 с корпусом, в котором крепится система подвижных контактов с антивибрационными контактами: два дугогасительных 11 и четыре главных (рабочих) 16, передающих ток на токосъемный фланец 24.

Для включения выключателя командный импульс через блок - контакты SQ 23 и нормально замкнутые блок - контакты электромагнита отключения 2 (YAT) подается на обмотку электромагнита включения 1 (YAC), якорь которого открывает пусковой клапан включения 4, благодаря чему сжатый воздух, находящийся над поршнем промежуточного клапана 6, сбрасывается в атмосферу через открывшееся отверстие (а) пускового клапана включения 4.

Промежуточный клапан 6 под действием пружины перемещается вверх и закрывает доступ воздуха из резервуара 21 к поршню промежуточного клапана 7. Остаток сжатого воздуха, находящийся над поршнем 7, сбрасывается в атмосферу через открывшийся кольцевой зазор (б) в корпусе промежуточного клапана 6; под действием пружины промежуточный клапан 7 перемещается вверх, прекращая доступ воздуха из резервуара 21 к поршню дутьевого клапана 9. Остаток воздуха сбрасывается в атмосферу через открывшийся кольцевой зазор (в) в корпусе промежуточного клапана 7, и дутьевой клапан 9 под действием пружины закрывается. В результате этого прекращается доступ воздуха в гасительную камеру и создается возможность для эвакуации воздуха из внутренней полости камеры через изоляторы 17, 18 и открывшийся кольцевой зазор (г) в корпусе дутьевого клапана.

После сброса давления в камере дугогасительные контакты 11 вместе с антивибрационными контактами под действием пружин начинает двигаться на замыкание. С небольшим отставанием от них начинают двигаться на замыкание главные контакты 16.

Замыкание с неподвижным контактом 10 первыми осуществляют антивибрационные контакты, причем их нажатие увеличивается по мере хода на включение дугогасительных контактов. Кроме того, давление воздуха на антивибрационные контакты с обеих сторон всегда уравновешено, что предотвращает отскок антивибрационных контактов при ударе о неподвижный контакт. Через некоторое время, определяемое ходом 12 мм, замыкаются дугогасительные контакты, а затем главные.

В процессе включения выключателя воздух, находящийся в объеме под клапаном 14, отжимает шайбу 12 и выходит через отверстие в полости гасительной камеры. После этого антикомпрессионный клапан 4 (рисунок 1.11) и шайба 10 под действием своих пружин возвращаются в верхнее положение.

При закрытии промежуточного клапана 6 (рисунок 1.10) воздух выходит из привода СБК-22 и поршень привода под действием пружины, перемещаясь в крайнее левое положение, поворачивает вал СБК 23, разрывая, тем самым, цепи включения и подготавливая цепи отключения.

Для отключения включателя командный импульс через блок - контакты SQ 23 подается на электромагнит отключения 2 (YAT), якорь которого открывает пусковой клапан отключения 3. После открытия пускового клапана отключения 3 воздух, идущий из резервуара 21, открывает обратный клапан 5, поступает в пространство над поршнем промежуточного клапана 6 и открывает его. В результате этого воздух из резервуара поступает в пространство над поршнем промежуточного клапана 7 и открывает его. Через этот клапан воздух поступает в дутьевой клапан 9, перемещает его поршень в левое положение и, тем самым, открывает его. Через открывшийся дутьевой клапан 9 сжатый воздух из резервуара 21 поступает в гасительную камеру и клапан отсечки (рисунок 1.11) и перемещает клапан 3 и антикомпрессионный клапан 4 вниз, благодаря чему начинается истечение воздуха из камеры (рисунок 1.10) через выхлопное устройство 15. После открытия клапана 14 размыкаются главные 16 и дугогасительные 11 контакты, но электрическая цепь не размыкается, пока дугогасительные контакты не пройдут расстояние 12 мм и не увлекут за собой антивибрационные контакты. Это предохраняет главные контакты от обгорания.

Рисунок 1.10 - Электропневматическая схема ВНН-35-2

После размыкания антивибрационных контактов загорается дуга между ними и неподвижным контактом, которая затем перебрасывается потоком сжатого воздуха на тугоплавкую накладку и тугоплавкий наконечник 9 (рисунок 1.11). Затем дуга гаснет, охлаждаясь потоком сжатого воздуха.

В процессе хода клапана 3 сначала частично, а затем полностью совмещаются отверстия в клапане 3 и гильзе 5, и начинается натекание воздуха в объем под клапаном 3. В конце хода антикомпрессионный клапан 4 закрывает кольцевой зазор 12, преграждая воздуху выход в атмосферу из объема под клапаном через ниппель 7. Время нахождения клапана 3 в открытом состоянии определяется количеством отверстий в нем и должно быть больше времени горения дуги.

Клапан 3 закрывает выход воздуху в атмосферу, когда давление в полости под клапаном, натекшего через отверстия в клапане 3 и в гильзе 5 становится равным давлению в камере. В процессе отключения выключатели шайба 10 прижата воздухом и пружиной к крайнему верхнему положению и не допускает натекания воздуха в объем под клапаном 3 через отверстие над шайбой 10.

Рисунок 1.11 - Клапан отсечки воздушного выключателя ВВН-35-2

При открытии промежуточного клапана 7 (рисунок 1.10) воздух из резервуара 21 поступает в пространство над поршнем привода СБК 22, который, перемещаясь в крайнее правое положение, поворачивает вал СБК 23, разрывая, тем самым, цепи отключение и подготавливая цепи включение, идущие через блок - контакты.

Система вентиляции предназначена для непрерывной продувки внутренних полостей опорных изоляторов и камеры выключатели при его включенном положении, так как в отключенном положении внутренние полости заполнены сжатым воздухом. Продувка осуществляется следующим образом: сжатый воздух пониженного давления поступает от редукторного клапана, установленного в распределительном шкафу, по трубкам к полюсам выключателя.

На подходе к каждому полюсу установлен указатель продувки 20, представляющий собой трубку из органического стекла с помещенным в нее шариком.

При нормальном давлении воздуха для продувки шарик находится примерно в среднем положении. От указателя продувки 20 воздух поступает через обратный клапан 19 продувки в полость дутьевого клапана 9 и через полые изоляторы 17 и 18 в гасительную камеру. Вентиляционный воздух выходит из камеры и клапана отсечки (рисунок 1.11) через кольцевую щель между клапаном 3 и гильзой 5, кольцевое отверстие 12 и отверстие в гильзе 7.

Воздушный выключатель серии ВВБ

Выключатели серии ВВБ (В - выключатель, В - воздушный, Б - с металлической дугогасительной камерой - баком) имеют изолированный от земли резервуар (бак) сжатого воздуха, внутри которого находится контактная система. Это основной элемент выключателей данной серии, являющийся дугогасительным модулем.

Собственное время отключения этих выключателей меньше, чем у выключателей серии ВВН, поскольку давление воздуха в гасительной камере в воздушных выключателях серии ВВН из-за постепенной подачи в гасильную камеру к моменту гашения дуги меньше номинального. В выключателях серии ВВБ оно к моменту гашения равно номинальному; последнее также обусловливает большую мощность отключения таких выключателей.

Рисунок 1.12 - Электропневматическая схема ВВБ-110


Uном, кВ

110

220

330

500

750

Число модулей

1

2

4

6

8


Номинальный ток выключателей серии ВВБ составляет 2000 - 3200 А, номинальный ток отключения 31,5 - 56 кА. Давление воздуха в дугогасительном модуле выключателя типа ВВБ составляет 2 МПа, время отключения 0,06 - 0,08 с; у новейших выключателей этой серии ВВБК (В - выключатель, В - воздушный, Б - с металлической дугогасительной камерой - баком, К - крупномодульный) и ВВД (В - выключатель, В - воздушный, Д - с повышенным давлением) давление воздуха составляет 3,2 - 4,0 МПа, а время отключения уменьшено до 0,04 с.

Основанием выключателя ВВБ-110, электропневматическая и электрическая функциональные схемы которого приведены на рис. 1.12, служит резервуар 1 со сжатым воздухом, на котором сбоку закреплен шкаф управления 2.

Внутри колонки 3 опорного изолятора проходят два стеклопластиковых воздуховода. Один из них служит для постоянной подачи воздуха в гасительную камеру из магистрали, другой - для оперативного управления полюсом выключателя.

На опорном изоляторе 3 укреплен дугогасительный модуль, состоящий из металлической дугогасительной камеры (бака), внутри которой находятся подвижные контакты, выполненные в виды ножей 14, закрепленных на траверсе, и неподвижные пальцевые контакты 15, расположенные внутри конфузоров 20, создающих направленный поток воздуха при отключении выключателей для лучшего гашения электрической дуги.

Траверса приводится в движение штоком 13 заканчивающимся внизу поршнем 10. К вводам 18, изолированным эпоксидными втулками 19 и фарфоровой рубашкой, внутри камеры крепится вспомогательные контакты 21 и шунтирующие сопротивления (резисторы) 16, предназначенные для выравнивания напряжений между разрывами главных контактов и снижения скорости восстанавливающегося напряжения на контактах выключателя, что особенно важно при отключении не удаленных коротких замыканий. Вспомогательные контакты шунтируются емкостями 17 для равномерного распределения напряжения между разрывами.

Для включения выключателя подается импульс на электромагнит включения YAC, который открывает пусковой клапан 25, и воздух из полости обратного клапана 26 и объема «а» промежуточного клапана 27 сбрасывается в атмосферу. Клапан 27 перемещается вверх, обеспечивая сброс воздуха из объема «б» клапана управления, который перекрывает доступ сжатому воздуху из резервуара 1 и обеспечивает сброс сжатого воздуха из объема «в» под поршнем дутьевого клапана и из полости «г» через полый шток 8. За счет разности давлений воздуха на поршень 10 штока (в камере полное давление, а в полости «г» его нет) траверса с подвижными контактами перемещается вниз. Контактные ножи 14 входят в пальцевые неподвижные контакты 15. Ролики фиксатора 12 переходят через выступ на штоке 13. Через золотники 6 сжатый воздух сбрасывается из полости «д» и запирающая шайба 7 под действием пружины перемешаются к поршню 5. Вспомогательные контакты 21 включаются с помощью клапана 22. Во включенном положении ток проходит по токоведущему стержню ввода 18, через контакты 14, 15, траверсу, контакты второго разрыва, на второй ввод.

При отключении выключателя командный импульс подается на электромагнит отключения YAT, который открывает пусковой клапан 24. Сжатый воздух из резервуара через клапан 26 заполняет объем «а» открывается клапан 27, заполняется сжатым воздухом обьем «б», при этом клапан 2 соединяет резервуар 1 с воздуховодом. Сжатый воздух, поступая в полость «в» под поршень 5, перемешает его вместе с шайбой 7 вверх. Движение поршня 5 передается тарелке дутьевого клапана 9, поршню 10 и траверсе с главными контактами. Контакты размыкаются, возникает дуга. Открывается дутьевой клапан 28, мощным потоком воздуха дуга с рабочих контактов перебрасывается на противоэлектроды 11. Время гашения дуги не превышает 0,02 с. В конце хода поршня 5 регулируемые отверстие, закрытое иглой 4, открывается и начинается переток сжатого воздуха из полости «в» в полость «д». Когда давление в полостях «д» и «в» уравняется, поршень под действием пружины возвратится в исходное положение. Вместе с поршнем опускается тарелка 9 и дутьевой клапан закроется.

Отключение вспомогательных контактов происходит с запаздыванием по отношению к главным контактам за счет подачи воздуха в клапан 22, после того, как шайба 7 перекроет выход в атмосферу.

Дуга, возникшая между вспомогательными контактами, гасится потоками сжатого воздуха, проходящего через полые подвижные контакты.

С помощью поршня привода 23 вспомогательные контакты SQ переводятся в положение, соответствующее отключенному положению выключателя.

Отличительными особенностями конструктивного исполнения выключателей данного типа являются: унификация изготовления деталей на все номинальные напряжения; модульный принцип позволяет при необходимости быстро заменить вышедший из строя модуль на новый; меньшие габариты и вес по сравнению с выключателями типа ВВН; отсутствие фарфоровых изоляторов, работающих под давлением сжатого воздуха; снижение расхода воздуха в 2 - 2,5 раза; уменьшение времени отключения до 0,04 с; возможность достижения большой отключающей способности.

Воздушный выключатель типа ВНВ

Выключатели серии ВНВ имеют укрупненный двухразрывный дугогасительный модуль на напряжение 220 кВ.

воздушный выключатель гасительный камера

а) пневматическая схема; б) электрическая функциональная схема.

Рисунок 1.13 - Схематический разрез дугогасительного модуля выключателя ВНВ и электрическая схема.

Все выключатели этой серии компонуются из резервуара со шкафом управления и опорной изоляционной колонки, на которой смонтирован дугогасительный модуль. Полюс выключателя на 220 кВ имеет одну опорную колонку с одним двухразрывным модулем (рис. 1.13), на 500 кВ - две опорные колонки и два модуля, на 750 - три колонки и три модуля. Полюс выключателя на 110 кВ имеет одноразрывный модуль.

Дугогасительный модуль - это двухразрывная дугогасительная камера, контактная система которой находится постоянно в среде сжатого воздуха (4 МПа) как во включенном, так и в отключенном положении. Контакты смонтированы в металлическом резервуаре, на котором установлены контейнеры с шунтирующими резисторами и коммутирующими их механизмами, также заполненные сжатым воздухом. Токоведущие части присоединены к контактной системе с помощью изолирующих вводов. Гашение дуги в камере осуществляется двухсторонним дутьем сжатым воздухом, выбрасываемым через внутренние полости контактов и выхлопные клапаны в атмосферу. Контакты имеют двухтактное движение: при гашении дуги разрыв между контактами имеет минимальное значение, чем обеспечивается интенсивное дутье, после окончания гашения дуги подвижный контакт перемещается на максимальное расстояние, обеспечивая необходимую электрическую прочность.

На рисунке 1.13, а схематически показано устройство одного разрыва дугогасительного модуля выключателя ВНВ на 500 кВ во включенном положении. Отключение происходит при срабатывании электромагнита отключения, который, воздействуя на клапан пневматической системы, связанной с резервуаром 1, создает движение изолированной тяги 2 и рычагов 3, в результате чего подвижной контакт 6 перемещается вправо. Вначале размыкаются главные рабочие контакты 7, а затем дугогасительные 8. Дуга возникает между внутренней дугостойкой поверхностью подвижного контакта 6, ламелями дугогасительного контакта, и потоком сжатого воздуха из камеры сдувается на подвижное сопло 5. Так как внутренние полости контактов связаны с выхлопной полостью 11 и через нее с атмосферой, создается мощное дутье и дуга гаснет. После окончания гашения дуги подвижный контакт перемещается на максимальное расстояние и “прячется” за электростатический экран 4. Одновременно, при движении тяги 2 вниз перемещается шток 12 и, воздействуя выступом на рычаг, открывает оперативный клапан 14. Воздух под поршнем 15 выбрасывается в атмосферу, сам поршень перемещается, и подвижное сопло 5 движется вправо до упора, прекращая выхлоп воздуха в атмосферу. Истечение воздуха из неподвижного контакта также прекращается, так как выхлопной клапан 9, приводимый тягой 10, перекрывает отверстие контакта 8.

При включении, срабатывает электромагнит включения, он открывает пусковой клапан, и шток 12 под действием включающей пружины 13 перемещается вверх. Со штоком 12 связана тяга 2, которая через рычаг 3 передает движение подвижному контакту 6. Он перемещается влево и замыкает цепь. Пневмомеханическое устройство, примененное в выключателе ВНВ, уменьшает собственное время отключения до 0,02 - 0,025 с. Распределение напряжения между дугогасительными разрывами осуществляется с помощью параллельно включенных конденсаторов 3 (рис. 1.13 б). При необходимости, выключатели могут оснащаться шунтирующими резисторами 1. В этом случае, после гашения дуги в главной цепи на контакте 2, отключаются вспомогательные контакты 4 в среде сжатого воздуха, разрывая небольшой ток.

Все фарфоровые покрышки разгружены от воздействия сжатого воздуха и динамических нагрузок стеклоэпоксидными цилиндрами. Кроме выключателей на опорных изоляторах разработаны конструкции подвесных выключателей с модулями серии ВНВ, которые обеспечивают значительную экономию площади ОРУ. Выключатели серии ВНВ рассчитаны на ток отключения 40 - 63 кА. По сравнению с выключателями ВВБ эти выключатели имеют меньшую массу и меньшие габариты.

К недостаткам всех воздушных выключателей следует отнести необходимость компрессорной установки, сложную конструкцию ряда деталей и узлов, относительно высокую стоимость, трудность установки встроенных трансформаторов тока.


Не нашли материал для своей работы?
Поможем написать уникальную работу
Без плагиата!
Без нейросетей!