Устройство двигателей автомобилей

  • Вид работы:
    Контрольная работа
  • Предмет:
    Транспорт, грузоперевозки
  • Язык:
    Русский
    ,
    Формат файла:
    MS Word
    2,82 Мб
  • Опубликовано:
    2013-06-20
Вы можете узнать стоимость помощи в написании студенческой работы.
Помощь в написании работы, которую точно примут!

Устройство двигателей автомобилей

Последняя цифра 3; Разница 5 - 3 = 2.

   

Легковой

Грузовой

Модель автомобиля

ВАЗ-2121

ЗиЛ-4331

Модель двигателя

ВАЗ-2121

ЗиЛ-645


1. Компоновка кривошипно-шатунного механизма

Изобразить схемы КШМ двигателей с цифровым обозначением деталей в последовательности, соответствующей передаче усилия от давления газов к маховику.

Двигатель ВАЗ-2121, бензиновый, карбюраторный, четырёхтактный, четырёхцилиндровый, верхнеклапанный с жидкостным охлаждением.

Схема КШМ двигателя ВАЗ-2121

.        Цилиндр 2. Поршень 3. Шатун 4. Кривошип коленвала. 5. Маховик

Дизель ЗиЛ-645 четырёхтактный, восьмицилиндровый с V образным расположение цилиндров, угол развала 90О. Устанавливается на на автомобиль ЗиЛ-4331, 433100.

Схема КШМ двигателя Зил-645

. Цилиндр 2. Поршень 3. Шатун 4. Кривошип коленвала. 5. Маховик

. Со стороны носка коленчатого вала представить схему расположения кривошипов, для каждого двигателя. Чем обусловлено это расположение?

В четырёхцилиндровых двигателях рабочие ходы происходят через 180О поворота коленчатого вала. В каждом цилиндре указанного двигателей происходит один и тот же рабочий процесс, но одноименные такты происходят в разные моменты времени, при этом чередование тактов в цилиндрах двигателей выбирают так, чтобы обеспечить равномерное распределение нагрузки на подшипники коленчатого вала и плавную работу двигателя.

Чтобы уравновесить вращающиеся массы КШМ у 4-х цилиндрового двигателя шатунные шейки располагаются в одной плоскости и при этом уравновешиваются инерционные нагрузки движущихся возвратнопоступательно деталей КШМ.

У V образных двигателей на равномерность хода влияет и расположение шатунных шеек и угол между осями цилиндров. Для получения оптимальной равномерности хода угол развала должен быть в два раза меньше угла между шатунными шейками.

Тогда угол чередования рабочих ходов, у;

у = 720/2 i;

где, i - число цилиндров.

. Таблицы чередование тактов рассматриваемых двигателей

С порядком работы 1-3 - 4 -2; ВАЗ-2121.

Полуоборот коленчатого вала

Угол поворота коленчатого вала, град.

Цилиндр



1-й

2-й

3-й

4-й

Первый

0...180

Рабочий ход

Выпуск

Сжатие

Впуск

Второй

180...360

Выпуск

Впуск

Рабочий ход

Сжатие

Третий

360...540

Впуск

Сжатие

Выпуск

Рабочий ход

Четвёртый

540...720

Сжатие

Рабочий ход

Впуск

Выпуск


С порядком работы 1 - 5 - 4 - 2 - 6 - 3 - 7 - 8; ЗиЛ-645.

Полуоборот коленчатого вала

Угол поворота коленчатого вала, град.

Цилиндры



1-й

2-й

3-й

4-й

5-й

6-й

8-й

Первый

0 ... 90

Рабочий ход

Конец впуска

Конец выпуска

Сжатие

Конец сжатия

Впуск

Выпуск

Конец рабочего хода


90 … 180


Сжатие

Впуск


Рабочий ход



Выпуск

Второй

180 ... 270

Выпуск



Рабочий ход


Сжатие

Впуск



270 … 360


Рабочий ход

Сжатие


Выпуск



Впуск

Третий

360 ... 450

Впуск



Выпуск


Рабочий ход

Сжатие



450 ... 540


Выпуск

Рабочий ход


Впуск



Сжатие

Четвёртый

540 ... 630

Сжатие



Впуск


Впуск

Рабочий ход



630 ... 720


Впуск

Выпуск


Сжатие



Рабочий ход


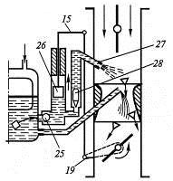
. Система, СО, охлаждения ЗиЛ-645. Назначение основных элементов

1. Система охлаждения двигателя жидкостная, закрытого типа, с принудительной циркуляцией охлаждающей жидкости.

Она состоит из:

- радиатор, 5;

вентилятор, 7;

центробежный водяной насос, 1;

рубашка охлаждения головки блока цилиндров и сам блок. 3;

термостат, 4;

расширительный бачок;

соединительные шланги и патрубки, 6.

Схема СО дизеля.


При работающем двигателе циркуляция охлаждающей жидкости в системе охлаждения создаётся центробежным насосом. Насос забирает жидкость из нижнего бачка радиатора и нагнетает её через каналы в крышке шестерён распределения в правую и левую водяные рубашки блока цилиндров. Здесь жидкость омывает наружную поверхность гильз цилиндров и, поглощая тепло, нагревается, затем из блока цилиндров поступает в водяные рубашки головок цилиндров и в первую очередь к наиболее нагревающимся местам - выпускным клапанам и стаканам форсунок. Из рубашки охлаждения головок цилиндров жидкость поступает в водосборные трубопроводы, а из них через проходы в термостате в радиатор.

Циркуляция жидкости в зависимости от теплового состояния двигателя изменяется с помощью термостата.

При температуре охлаждающей жидкости ниже 70О - 75 О С основной клапан термостата закрыт. В этом случае жидкость не поступает в радиатор, а циркулирует по малому контуру через патрубок, что способствует быстрому прогреву двигателя до оптимального теплового режима. При нагревании термочувствительного элемента термостата до 70 О -75 О С основной клапан термостата начинает открываться и пропускать воду в радиатор, где она охлаждается. Полностью термостат открывается при 83О - 90О С.

Охлаждающая жидкость в радиаторе через трубки отдаёт тепло потоку воздуха, создаваемому вентилятором. Охлаждённая в радиаторе жидкость вновь поступает к водяному насосу.

С помощью шторки регулируется объём потока воздуха к радиатору. Шторка радиатора может фиксироваться в любом промежуточном положении и управляется из кабины водителя.

Вентилятор шестилопастной, с шестерённым приводом, вращается в кожухе радиатора.

Эскиз СО дизеля.


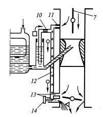
5. Схема включения термостата В СО рассматриваемых двигателей. Работа термостата

- радиатор. 2. вентилятор. 3 - большой круг движения ОЖ. 4 - малый круг. 5 - термостат.

двигатель сгорание карбюратор насос

В период пуска двигателя для уменьшения износа необходимо быстрее прогреть его до рабочей температуры и при дальнейшей эксплуатации поддерживать эту температуру. Для ускорения прогрева двигателя и поддержания оптимальной его температуры служит термостат. Термостат устанавливают в рубашке охлаждения головки цилиндров на пути циркуляции жидкости из рубашки в верхний бачок радиатора. В системах охлаждения используются термостаты с жидкостным и с твёрдым наполнителем.

В системе охлаждения есть два круга циркуляции жидкости охлаждения. Малый круг служит, для того чтобы быстрее прогреть холодный двигатель. При этом ОЖ циркулирует только в рубашке двигателя, а когда подключается большой круг охлаждения, то ОЖ начитает циркулировать дополнительно через радиатор, при этом интенсивно охлаждаясь. Регулируется этот процесс термостатом.

Схема работы термостата


. Приводы вентилятора, которые могут использоваться в СО ДВС, для автоматического поддержания температурного режима

Приводы вентилятора могут использоваться в системах охлаждения ДВС для автоматического поддержания температурного режима, это:

механический привод, клиноремённая и шестерённая передачи.

электрический, вентилятор на валу электродвигателя,

гидравлический, с помощью гидромуфты.

Температурный режим ДВС оказывает большое влияние на расход топлива и токсичность отработавших газов, поэтому совершенству системы охлаждения современных двигателей уделяется большое внимание.

При этом, крыльчатка вентилятора системы охлаждения, вращаясь, забирает часть мощности двигателя, значит, если температура двигателя находится в нормальных пределах, вентилятор можно отключить.

В конструкциях двигателей КамАЗ-740 и ЗИЛ-645 для привода вентилятора используются гидравлическая муфта. Она изменяет скорость вращения вентилятора системы охлаждения в зависимости от температурного режима двигателя путём изменения количества масла внутри муфты.

Полость гидромуфты заполнена маслом из системы смазки двигателя.

Заполнение полости происходит под действием клапана, он в свою очередь работает от термосилового датчика. Если температура охлаждающей жидкости двигателя не превышает оптимальной, то клапан закрыт и в полости гидромуфты нет масла, вентилятор не вращается. По мере повышения температуры клапан приоткрывается, масло поступает в полость гидромуфты, вентилятор начинает вращаться, и при повышении температуры вращается всё с большей скоростью, это происходит, пока не снизится температура охлаждающей жидкости, не сработает датчик, а от него клапан. При положении клапана, соответствующее температуре охлаждающей жидкости 81 О … 95О С, происходит полное заполнение полости гидромуфты маслом и обеспечивается максимально возможная частота вращения крыльчатки вентилятора.

Эскиз привода вентилятора гидравлической муфтой двигателя КамАЗ-740; 7408, ЗИЛ-645.

1 - вал привода вентилятора; 2, 6 - сальники, манжеты; 3 - гайка вала; 4 - стопорная шайба; 5 - втулка сальника; 7 - рабочее колесо; 8 - гидромуфта; 9 - корпус вентилятора; 10 - крышка; 11 - уплотнительное кольцо; 12 - корпус центрифуги; 13 - шайба; 14 - маслопроводный болт; 15 - подшипник скольжения;

. Система питания, СП, карбюраторного двигателя

Тип СП двигателя ВАЗ-2121, общая схема с указанием всех элементов.

Система питания служит для хранения, очистки топлива, приготовления горючей смеси путём смешивания бензина с воздухом и подачи её в цилиндры.

Система питания состоит из двух топливных баков, топливопроводов, фильтра-отстойника, топливного насоса, фильтра тонкой очистки топлива, карбюратора, воздушного фильтра, выхлопной трубы и глушителя.

На двигателе ВАЗ-2121 устанавливается карбюратор "Озон" модели 2107. Вертикальный, двухкамерный, двухдиффузорный, с падающим потоком и последовательным механическим открыванием дросселя вторичной камеры.

Схема системы питания

 <#"667574.files/image009.gif">

7 - воздушная заслонка; 9 - дроссельная заслонка; 29 - пружина автоматического клапана; 30 - клапан частичной подачи воздуха

Система пуска служит для обогащения горючей смеси при запуске и прогреве холодного двигателя. Она состоит из воздушной заслонки 7 и устройства, автоматически обеспечивающего поступление дополнительного количества воздуха для образования нужного состава горючей смеси. Автоматический клапан 30 , открывается под действием разрежения при закрытой воздушной заслонке 7, и пропускающий некоторое количество воздуха.

Современные карбюраторы снабжены диафрагменным автоматическим пусковым устройством. Устройство за счёт разрежения приоткрывает закрытую при пуске двигателя воздушную заслонку. Пусковое устройство предназначено также для предупреждения возможного переобогащения горючей смесью цилиндров двигателя при прогреве его на холостом ходу.

Схема системы холостого хода карбюратора

- топливный жиклёр системы холостого хода; 11 - воздушный жиклёр системы холостого хода; 12 - эмульсионный канал; 13 - верхнее и нижнее отверстия; 14 - винт регулировки количества поступающей эмульсии.

Если дроссельную заслонку прикрывать, разрежение в диффузоре резко уменьшается, скорость движения воздуха снижается, и поступление топлива через распылитель в диффузор прекращается. Поэтому для обеспечения устойчивой работы двигателя на режимах холостого хода и малых нагрузок карбюратор снабжают системой холостого хода.

Система холостого хода служит для приготовления и подачи обогащённой горючей смеси в целях обеспечения устойчивой работы двигателя при малой частоте вращения коленчатого вала.

На холостом ходу под действием большого разрежения за дроссельной заслонкой топливо через жиклёр 10 поступает в эмульсионный канал 12, где смешивается с воздухом, поступающим через воздушный жиклёр 11, и через верхнее отверстие 13, расположенное выше дроссельной заслонки, образуя эмульсию.

Полученная эмульсия выходит через нижнее отверстие 13 в задроссельное пространство, обеспечивая нормальную работу двигателя. Количество поступающей эмульсии регулируется винтом 14.

Ускорительный насос служит для кратковременного обогащения горючей смеси при резком открытии дроссельной заслонки, что улучшает приемистость автомобиля то есть ускоряет разгон.


Экономайзер принудительного холостого хода отключает систему холостого хода на принудительном холостом ходу, торможение автомобиля двигателем, движение под уклон, переключение передач, чем исключает выбросы окиси углерода в атмосферу.

На принудительном холостом ходу, если частота вращения коленчатого вала начинает возрастать, то напряжение на обмотку электромагнитного клапана 4 , подаётся до тех пор электронным блоком управления, пока частота вращения вала не превысит 2100 об/мин, хотя концевой выключатель и замкнут на "массу".

При более высокой частоте вращения электронный блок управления выключает питание на электромагнитный запорный клапан, в результате прекращается подача топлива в систему холостого хода.

При уменьшении частоты вращения коленчатого вала двигателя на принудительном холостом ходу до 1900 об/мин вновь начинает подаваться питание электронным блоком управления на обмотку клапана, и он открывает подачу топлива через жиклёр холостого хода, хотя концевой выключатель и замкнут на "массу".

Рисунок работы карбюратора на полных нагрузках


. Работа и устройство топливоподкачивающего насоса

Топливный насос - диафрагменного типа, с механическим приводом от эксцентрика распределительного вала, с рычагом ручной подкачки. Он состоит из нижнего корпуса с рычагами привода, верхнего корпуса с клапанами и патрубками, диафрагменного узла и крышки.

Диафрагменный узел устанавливается между верхним и нижним корпусами. Сверху устанавливаются три диафрагмы, верхняя двойная и снизу одна предохранительная. Она предотвращает попадание бензина в картер двигателя при разрыве рабочих диафрагм. В этом случае просочившийся бензин отводится через отверстия в наружной дистанционной проставке, находящейся между предохранительной и рабочими диафрагмами.

При набегании эксцентрика привода насоса на толкатель, он перемещается и через рычаг 2 поворачивает балансир, он в свою очередь перемещает шток с диафрагмами вниз, при этом сжимается пружина. в рабочей полости над диафрагмами создаётся разрежение, под действием его открывается клапан и топливо из бака засасывается через патрубок, сетчатый фильтр и всасывающий клапан в полость над диафрагмами.

Когда эксцентрик пройдёт толкатель он с рычагом 2 под действием пружины переместится обратно и одновременно балансир и шток с диафрагмами под воздействием пружины переместятся вверх.

В рабочей полости на диафрагмами создастся давление, под действием его всасывающий клапан закроется, а нагнетательный клапан откроется и топливо через нагнетательный патрубок будет подаваться в карбюратор.

Эскиз топливного насоса

А - всасывание топлива; Б - нагнетание топлива;

- эксцентрик привода насоса; 2 - рычаг привода насоса; 3 - толкатель; 4 - нижняя часть корпуса насоса; 5 - контрольное отверстие в наружной дистанционной прокладке; 6 - верхняя часть корпуса (головка] насоса; 7 - всасывающий клапан; 8 - крышка; 9 - сетчатый фильтр; 10 - всасывающий патрубок; 11 - сдвоенные верхние рабочие диафрагмы; 12 - нижняя предохранительная диафрагма; 13 - внутренняя дистанционная прокладка; 14 - рычаг ручной подкачки топлива; 15 - возвратная пружина рычага; 16, 20 \л 25 - пружины; 17 - шток; 18 - балансир; 19- эксцентрик рычага ручной подкачки топлива; 21 - ось рычага и балансира; 22 - нагнетательный патрубок; 23 - нагнетательный клапан; 24 - болт крепления крышки; 26 - винт крепления верхней части корпуса к нижней части; 27 - наружная дистанционная прокладка; 28 - блок цилиндров; 29 - теплоизоляционная проставка; 30 и 31 - шпилька и гайка крепления насоса соответственно; В - прокладка толщиной 0,27...0,33 мм; С- прокладка толщиной 0,70...0,80 мм; D - прокладка толщиной 1,10...1,30 мм; d - минимальное выступание толкателя, d = 0,8... 1,3 мм

. Типы фильтров очистки топлива, воздухоочистителя двигателя ВАЗ-2121

В системе питания этого двигателя установлены сетчатые фильтры, они размещены в топливозаборной трубке бензобака, в топливном насосе, в карбюраторе. Установлен так же фильтр тонкой очистки топлива с бумажным фильтрующим элементом на топливопроводе.

Эскиз фильтра тонкой очистки топлива

- корпус фильтра; 2 - фильтрующий элемент; - неочищенное топливо; - очищенное топливо

Воздушный фильтр сухой со сменными бумажным фильтрующим элементом. Корпус фильтра крепится на шпильке кронштейна и двух шпильках крепления крышки головки цилиндров и уплотнён резиновой прокладкой.


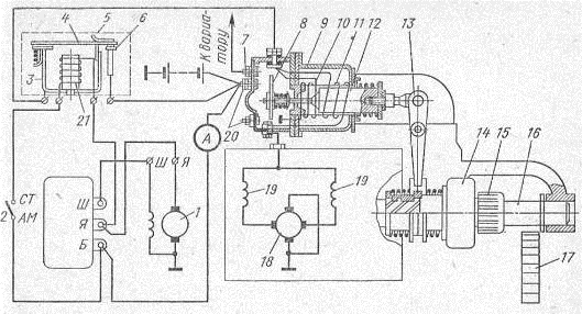
11. Система зажигания и электрического пуска

Принципиальная схема системы зажигания двигателя ВАЗ-2121. Основные элементы, принцип работы.

Применена классическая батарейная контактная система зажигания.

6 - катушка зажигания. 4 - прерыватель-распределитель с конденсатором 5, 1 - свечи зажигания. 2 - помехоподавляющие резисторы для снижения помех радиоприёму. 8 - выключатель, замок, зажигания. 3;9 - провода соответственно высокого и низкого напряжения. 10 - аккумуляторная батарея.

Напряжение, необходимое для пробоя искрового зазора свечи зажигания на холодном двигателе, должно быть не менее 16 к Вольт, оно зависит от конструкции (типа) системы зажигания, расстояния между электродами свечи, давления, температуры и состава рабочей смеси и других факторов.

Низкое напряжение от аккумуляторной батареи проходит через витки первичной обмотки катушки, в них создаётся магнитное поле, при этом контакты прерывателя замкнуты, при вращении ротора прерывателя - распределителя кулачок периодически размыкает и замыкает контакты, во время размыкания контактов ток в витках первичной обмотки прерывается, и при этом почти мгновенно, создаётся ЭДС самоиндукции, исчезающее магнитное поле пронизывает витки вторичной обмотки катушки и создаёт в них ЭДС, под действием её в обмотках создаётся высокое напряжение, до 24 000 Вольт, так количество витков вторичной обмотки намного больше. Высокое электрическое напряжение с помощью прерывателя-распределителя распределяется по свечам зажигания и создаёт пробой, то есть искру между электродами свечей.


При возрастании числа оборотов коленчатого вала двигателя требуется более ранний момент возникновения искры в свечах. То есть более раннее зажигание или больший угол опережения зажигания.

То же самое требуется при возрастании нагрузки на двигатель, даже если при этом обороты не высокие.

Для этого в конструкцию датчика момента искрообразования входят центробежный и вакуумный регуляторы опережения зажигания.

Схема центробежного регуляторы опережения зажигания

- пружина грузика центробежного регулятора; 5 - грузик регулятора; 6 - ведущая пластина центробежного регулятора; 11 - ведомая пластина центробежного регулятора;

При увеличении частоты вращения грузики, 5, под действием центробежных сил расходятся и поворачивают опорную пластину датчика вместе с пластиной Холла на угол α в направлении вращения валика. Датчик раньше посылает импульсы и опережение зажигания увеличивается.

Схема вакуумного регуляторы опережения зажигания

    



Вакуумный регулятор изменяет опережение зажигания в зависимости от нагрузки на двигатель. При не больших нагрузках содержание остаточных газов в горючей смеси высокое, смесь горит медленнее, её надо поджигать раньше и наоборот. На диафрагму регулятора действует разрежение, отбираемое из зоны над дроссельной заслонкой первой камеры карбюратора. При небольших открытиях дроссельной заслонки, малая нагрузка, под действием разрежения диафрагма 32 оттягивается и тягой 36 поворачивает подвижную пластину против направления вращения валика. Опережение зажигания увеличивается. По мере дальнейшего открытия дроссельной заслонки, увеличение нагрузки, разрежение уменьшается и пружина отжимает диафрагму в исходное положение.

. Электрическая схема включения стартера двигателя ЗиЛ-645, основные элементы, работа

Стартер представляет собой электрический двигатель постоянного тока, который служит для запуска двигателя автомобиля.

Простым поворотом ключа в замке в положение запуска двигателя, стартер ток через реле подаётся от аккумуляторной батареи на обмотки стартера, и двигатель запускается.

Схема включения стартера

. Выключатель; 7. Обмотка тягового реле; 5. Тяговое реле; 8. Сердечник электромагнита; 11. Рычаг; 12. Шестерня; 10. Привод стартера; 13. Зубчатый венец маховика; 8. Сердечник; 9. Пружина; 6. Контактный диск; 4. Контакты; 14. Аккумуляторная батарея; 3. Обмотка стартера; 15 Якорь стартера; 12 Шестерня;

Стартер следует включать на время не более 5-10 с. Если двигатель не пустился, стартер можно включить повторно с интервалом не менее 30 с. Этот промежуток времени необходим для восстановления работоспособности аккумуляторной батареи. Включать стартер повторно можно не более трёх раз подряд, затем следует найти и устранить неисправность в системе питания.

14. Работа механизма привода стартера двигателя ЗиЛ-645


Стартер включается с помощью реле включения кнопкой. При этом ток от аккумуляторной батареи поступает-в управляющую обмотку 21 реле включения 5 стартера и далее через неработающий генератор 1 на корпус. Контакты 6 реле замыкаются, и ток от батареи через контакты 6, якорь 4 и ярмо 3 реле поступает во втягивающую 11 и удерживающую 10 обмотки тягового реле, а затем на корпус.

Якорь 24 электромагнита через серьгу 22 связан с вилкой 21, перемещающей поводковую муфту 14 и муфту 16 свободного хода. Контактная пластина 26, соединённая с якорем 24, при его перемещении замыкает контакты 1. Муфта. 16 свободного хода передаёт вращение с вала стартера на маховик и не допускает передачи вращения от маховика к валу стартера. Муфта состоит из втулки 32, жёстко связанной с наружной обоймой 33 и внутренней обоймы 34, выполненной как одно целое с шестерней 17 стартера. В фасонных пазах между обоймами 33 и 34, размещены ролики 35, отжимаемые в узкую часть паза с помощью плунжеров 36 и пружин 37.

Втулка 32 через шлицы связана с валом стартера, а обойма 34 свободно "сидит" на его валу. При передаче вращения от вала стартера маховику ролики заклиниваются в пазах и втулка 32 оказывается связанной с шестерней 17. Если шестерня 17 начинает вращаться быстрее вала якоря после пуска двигателя, то ролики силой трения отодвигаются в более широкую часть паза, и шестерня 17 отсоединяется от втулки 32.

В начале включения стартера необходимо большое усилие электромагнита, поэтому первоначально работают две обмотки тягового электромагнита (втягивающая и удерживающая), одна из которых (втягивающая) затем отключается. Втягивающая обмотка соединяется с корпусом через обмотки стартера. При втягивании якоря 12 тягового реле шестерня 15 стартера входит в зацепление с зубчатым венцом 17 маховика, а контактная пластина ¿9 соединяет между собой два контакта 20 и контакт 7. Ток от батареи поступает в обмотки 19 стартера 18, и якорь стартера начинает вращаться. Одновременно отключается втягивающая обмотка, так как оба её конца оказываются соединёнными с аккумуляторной батареей, а от контакта 7 ток проходит к катушке зажигания, минуя дополнительное сопротивление.

Когда двигатель начинает работать, создаётся напряжение на клемме Я генератора. Разность потенциалов на концах управляющей обмотки 21 реле включения уменьшается, а следовательно, понижается и сила тока. Контакты 6 реле размыкаются, и стартер автоматически выключается, даже если кнопка 2 удерживается во включённом состоянии. Это устройство предотвращает также случайное включение стартера при работающем двигателе.

При размыкании контактов реле включения прерывается цепь удерживающей обмотки 10, и якорь 12 тягового реле выдвигается пружиной из электромагнита, вследствие чего шестерня 15 выходит из зацепления, а контактная пластина 9 отходит от контактов 20,, и цепь обмоток стартера прерывается.

Вращение якоря стартера через муфту 16 свободного хода и шестерню 17 передаётся на маховик двигателя. При выключении стартера пружина 23 возвращает якорь 24 электромагнита и вилку 21 в исходное положение. Винтовые шлицы на валу стартера, через которые передаётся вращение с вала якоря на муфту свободного хода, способствуют сдвигу шестерни 17 стартера до упора в ограничительную шайбу 18, обеспечивая полное зацепление зубьев шестерни 17 и венца маховика. Для облегчения включения стартера на зубьях шестерни 17 сделаны скосы. Однако возможны случаи, когда зуб шестерни стартера упрётся в зуб венца маховика. Тогда вилка 21 продолжает перемещать поводковую муфту 14 за счёт сжатия пружины 15, что позволяет контактной пластине.26 замкнуть контакты 1 и включить стартер. Как только якорь стартера начинает вращаться, его приводная шестерня входит в зацепление с зубчатым венцом маховика под действием усилия пружины 15.

Список литературы

1. Автомобили ЗиЛ. Руководство по ремонту, эксплуатации и техническому обслуживанию. Москва, "Третий Рим", 2001 г.

. Баловнев, В. И., Данилов, И., Г. Автомобили и тракторы. Краткий справочник. Москва 2006 г.

. Вахламов, В. К., и другие. Автомобили. Москва, "Транспорт", 2005 г.

. Передерий, В., П. Устройство автомобиля. Москва, "Форум" 2011 г.

. Селифонов, В., В., Бирюков, М., К. Устройство и техническое обслуживание грузовых автомобилей. Москва, "Академия", 2009 г.

6. Туревский, И., С., и другие. Электрооборудование автомобилей. Москва, "Форум". 2008 г.

7. Шестопалов, С. К. Устройство легковых автомобилей. Часть 1. Москва, "Академия", 2011 г.

. Ютт, В., Е. Электрооборудование автомобилей. Учебник для вузов. Москва, "Горячая линия - Телеком", 2006 г.

Похожие работы на - Устройство двигателей автомобилей

 

Не нашли материал для своей работы?
Поможем написать уникальную работу
Без плагиата!
Без нейросетей!