Рассеивание в атмосфере выбросов электростанций

  • Вид работы:
    Лекция
  • Предмет:
    Экология
  • Язык:
    Русский
    ,
    Формат файла:
    MS Word
    524,3 Кб
  • Опубликовано:
    2013-08-05
Вы можете узнать стоимость помощи в написании студенческой работы.
Помощь в написании работы, которую точно примут!

Рассеивание в атмосфере выбросов электростанций

Рассеивание в атмосфере выбросов электростанций

1. Дымовые трубы

В начале развития энергетики дымовые грубы котлов служили для удаления дымовых газов за счет разности плотностей холодного воздуха и горячих дымовых газов. Трубы сооружались из металла или кирпича.

С развитием энергетики дымовые трубы стали использоваться для рассеивания содержащихся в дымовых газах вредных примесей в атмосферном воздухе до допустимых концентраций. По мере повышения мощности электростанций и ухудшения качества топлива для обеспечения необходимого рассеивания потребовались трубы большой высоты 200, 300 м и более. Прогрессивным решением в отношении строительства высоких дымовых труб явилось применение монолитных железобетонных стволов, выдерживающих ветровые и весовые нагрузки. Железобетон, являясь прочным материалом, оказался не способным противостоять воздействию сернистых соединений, влаги и повышенной температуры дымовых газов. Поэтому возникла необходимость создания второй, внутренней оболочки, имеющей назначение ограждающей поверхности для агрессивных дымовых газов.

Внутренняя поверхность железобетонного ствола трубы покрыта изоляцией - эпоксидным лаком и стеклотканью. Футеровка выполнена из красного и кислотоупорного кирпича, прямого или лекального, на диабазовой или андезитовой замазке и опирается на железобетонные консоли несущего ствола, выполняемые через 30…50 м (рис. 1).

Для защиты железобетонного ствола трубы на верхнем ее обрезе устанавливается чугунный колпак (рис. 1, б). Для установки на трубе светооградительных огней предусматриваются светофорные площадки, располагаемые по высоте трубы через каждые 15 или 30 м. Трубу окрашивают полосами красного цвета шириной 2…2,5 м с интервалами по высоте 15 м. Для обслуживания площадок делается лестница с ограждением; предусматривается система грозозащиты.

В течение всего срока эксплуатации электростанции (30…50 лет) труба должна работать без ремонта. Однако в результате движения агрессивных газов через неплотности футеровки, конденсации паров и проникновения жидкости через бетонный ствол наружу происходит разрушение трубы.

Основной причиной попадания дымовых газов в толщу ствола дымовой трубы являются избыточные статические давления дымовых газов в газоотводящем стволе по отношению к атмосфере. Эффективным средством борьбы с избыточными статическими давлениями является установка небольших диффузоров в верхней части трубы.

Для повышения надежности дымовых труб наряду с ликвидацией избыточных статических давлений применяется разделение функций газоотводящего и несущего ствола.

С этой целью между ограждающими и несущими стволами выполняется воздушный зазор 150…200 мм. В этом зазоре обеспечена циркуляция воздуха для вывода просачивающихся через футеровку агрессивных газов (рис. 2). Воздух засасывается из атмосферы и подогревается в калорифере паром из отбора турбины до температуры 50…90 ОС. Вентилятор установлен под газоотводящим каналом трубы и направляет воздух в воздушный канал (прослойку) трубы.

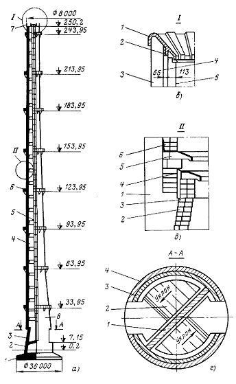
Рис. 1. Железобетонная футерованная труба:

а - общий вид: 1 - фундамент; 2 - цоколь; 3 - пандус; 4 - ствол; 5 - ходовая лестница; 6 - светофорная площадка; 7 - грозозащита; б - верхняя часть: 1 - чугунный колпак; 2 - асбестовая прокладка; 3 - ствол; 4 - изоляция; 5 - футеровка; в-средняя часть: 1 - железобетонный ствол; 2 - кислотоупорный кирпич; 3 - красный кирпич; 4 - асбестовый шнур; 5 - слезниковый кирпич; 6 - антикоррозионная защита; г - нижняя часть: 1 - перегородка; 2 - пандус; 3 - футеровка; 4 - ствол

Большое распространение нашли одноствольные дымовые трубы, выполненные по типу «труба в трубе» со значительным зазором между стволами, позволяющим обеспечить движение людей и проведение ремонтных работ. Газоотводящий ствол состоит из кольцевых элементов высотой 10 м каждый, состоящих из металлических подвесных каркасов, на которые крепятся кремнебетонные панели. Этот материал является коррозионно-устойчивым. Обечайки на растяжках подвешены к железобетонному стволу.

Для ТЭС с набором большого количества разнотипного оборудования, особенно на ТЭЦ, получили применение многоствольные грубы, в которых внутри железобетонной оболочки устанавливается несколько (обычно три-четыре) металлических стволов цилиндрической формы (рис. 3). Основное преимущество многоствольной трубы состоит в том, что имеется возможность обслуживать и ремонтировать каждый ствол независимо от других.

В последние годы в некоторых странах (Германии, США) ряд новых ТЭС проектируется и строится без дымовых труб. В этом случае очищенные от золы, оксидов серы и азота дымовые газы выбрасываются в атмосферу через градирни.

2. Методика расчета рассеивания вредных веществ и выбор оптимальной высоты дымовой трубы

Рис. 2. Дымовая труба с вентилируемым зазором:

- подводящие газоходы; 2 - газоотводящий канал; 3 - вентилируемый зазор; 4 - паровой калорифер; 5 - выходное окно; 6 - воздуховоды; 7 - вентилятор

При проектировании и эксплуатации ТЭС или котельных необходимо обеспечить концентрацию вредных веществ в атмосферном воздухе па уровне дыхания человека не выше ПДК по всем выбрасываемым примесям дымовых газов.

Так как наличие вредных веществ в дымовых газах в сотни и тысячи раз превышает предельно допустимые концентрации, требуется рассеивание дымовых газов в атмосферном воздухе. Весьма важно описать математическими формулами зависимости концентрации веществ на выходе из дымовой трубы и в атмосферном воздухе после их рассеивания. Для решения этой задачи разработана и используется методика, основанная на полученной в результате теоретических и экспериментальных исследований Главной геофизической обсерваторией им. А.И. Воейкова (ГГО) формуле, устанавливающей зависимость концентрации примесей в приземном слое атмосферного воздуха СМ, мг/м3, от различных параметров работы ТЭС и метеорологических условий:

,                                              (1)

Рис. 3. Многоствольная дымовая труба:

- железобетонная оболочка; 2 - металлический ствол для пиковых котлов; 3 - металлический ствол для паровых котлов; 4 - цоколь; 5 - газоходы

где А - коэффициент температурной стратификации атмосферы (распределе-ние температуры воздуха по вертикали) при неблагоприятных метеорологических условиях:

М - суммарный выброс загрязняющего вещества, г/с:

Н - высота дымовой трубы;

V1 - объем дымовых газов, выбрасываемых из трубы, м3/с;

DТ - разность температур газов и окружающего воздуха, ОС;

m и n - безразмерные коэффициенты, зависящие от скорости выхода газов из устья трубы;

F - безразмерный коэффициент, учитывающий скорость осаждения твердых частиц золы в атмосфере (для газовых примесей равный единице);

N - число дымовых труб;

h - безразмерный коэффициент, учитывающий влияние рельефа местности (для ровной и слабопересеченной местности h = 1).

Для Казахстана, Нижнего Поволжья, Кавказа, Молдовы, Сибири, Дальнего Востока и Средней Азии А = 200; для севера и северо-запада европейской территории России, Среднего Поволжья, Урала и Украины А=160; для центральной части европейской территории России А=140; для субтропической зоны Средней Азии А=250.

При расчете DТ температура окружающего воздуха определяется из климатологического справочника для летнего времени в дневные часы.

Безразмерный коэффициент m подсчитывается по уравнению в зависимости от параметра f:

      при   f >100,

где параметр f, м/(с2×К), определяется из выражения

.

При f <100 безразмерный коэффициент определяется как

.

В этих выражениях: w0 - скорость газов в устье дымовой трубы, м/с;

D - диаметр устья трубы, м.

Для тепловых электростанций n =1.

Предложенная методика применима для ТЭС, расположенных на ровной или слабопересеченной местности, и позволяет определить при неблагоприятных метеорологических условиях максимально-разовую концентрацию загрязняющих веществ в атмосферном воздухе на уровне дыхания человека, т.е. на высоте 1,5 м над поверхностью земли. Максимальная концентрация вредных веществ наблюдается на линии, являющейся проекцией дымового факела (шлейфа) на земную поверхность на расстоянии ХМ от основания дымовой грубы. Принимается. что ХМ=dН где коэффициент d для ТЭС определяется по формуле:

.

По уравнению (1) построена номограмма (рис. 4), позволяющая с достаточной точностью определить максимальную приземную концентрацию газообразных примесей (SO2+NOX).

Суммарный выброс оксидов серы и азота (г/с) в пересчете на оксиды серы определяется по выражению

,

где МSO2 и МNO2 определяются соответствующим расчетом выбросов вредных веществ в атмосферу.

Предложенный методический подход позволяет рассчитать минимально допустимую высоту дымовых труб при проектировании ТЭС. Если суммарный выброс оксидов серы и азота приведен к SO2, а фоновая концентрация этих веществ отсутствует, то максимальная концентрация СM (выражение 1) должна быть не больше ПДКSO2=0,5 мг/м3. Следовательно высота трубы определяется как, м:

.

Рис. 4. Номограмма для определения максимальной приземной концентрации вредных примесей

На рис. 5 приведена номограмма для определения Н по предложенному уравнению. При использовании этой номограммы можно задаться коэффициентом m (для крупных ТЭС m =0,7…0,9).

В соответствии с законом об охране атмосферного воздуха при проектировании ТЭС должно обеспечиваться неравенство

 

СМФМР£ПДК

где СФ - фоновая концентрация загрязняющего вещества, обусловленная работой существующих предприятий и транспорта, определяется для данного района санитарными или природоохранными органами, мг/м3;

СМР - расчетная (фактическая) концентрация, мг/м3.

При проектировании ТЭС на твердом топливе должны быть выдержаны ПДК в атмосферном воздухе не только газообразных веществ, но и твердых частиц золы. Анализ показывает, что при степени очистки газов в золоуловителях не ниже 98…99% высота труб определяется газообразными выбросами.

При проектировании и эксплуатации электростанций очень важно знать распределение концентраций вредных веществ на уровне дыхания людей на различных расстояниях от электростанции. Для этого составляются экспериментальные и расчетные зависимости концентрации каждого вида загрязнений при удалении от источника рассеивания.

Рис. 5. Номограмма для определения высоты дымовой трубы

Основным направлением в защите воздушного бассейна от загрязнения выбросами ТЭС является уменьшение абсолютного количества этих выбросов. Вместе с тем дымовые трубы необходимо максимальною эффективно использовать для рассеивания вредных выбросов. Этой цели служат следующие мероприятия: увеличение высоты дымовых труб, сокращение их числа, увеличение скорости выхода газов из устья дымовой трубы, повышение температуры уходящих газов. Выбор того или иного мероприятия делается с учетом технико-экономических расчетов.

Дымовые трубы являются дорогостоящим элементом электростанции, поэтому очень важно обеспечить оптимальный выбор их характеристик. Главная задача оптимизации расчетов дымовых труб заключается в определении скорости газа в стволе.

Скорость газа w0 определяет поперечное сечение f и диаметр D0 устья грубы, а следовательно, стоимость трубы. От скорости зависит и гидравлическое сопротивлениеDh, которое связано, в свою очередь, с расходом энергии на транспортировку дымовых газов. С увеличением скорости движения газов в стволе уменьшаются диаметр трубы и ее высота, а следовательно, и стоимость трубы, но увеличиваются гидравлическое сопротивление и расход энергии на перемещение дымовых газов. В таких случаях может использоваться, например, метод расчета по минимуму приведенных затрат (руб./год), или другой метод технико-экономических расчетов в соответствии с положениями о технико-экономической оценке инвестиционных проектов.

дымовой вредный труба


Создание надежных и точных методов и средств контроля вредных выбросов ТЭС и их концентраций в уходящих, газах и в атмосфере является сложной задачей.

В настоящее время выбросы тепловых электростанций контролирукугся по четырем вредным ингредиентам (SO2, NOX, СО и пыль).

Методы и средства анализа уходящих газов (и атмосферы) развиваются в двух направлениях: промышленном и лабораторном. Методы лабораторного анализа можно разделить на три группы: химические, инструментальные и биологические.

Для промышленного анализа дымовых газов наибольшее распространение получили физико-химические методы.

Электрические методы. Большим достоинством электрических методов является высокая чувствительность и стабильность. В промышленной санитарии наиболее успешно используются кондуктометрический и кулонометрический методы. Принцип кондуктометрического анализа заключается в измерении изменения электрического сопротивления раствора при поглощении компонента газовой смеси. Кондуктометрический метод имеет высокую чувствительность (0,05 мг/м3 и ниже), отличается простотой и надежностью инструментальных средств, универсален, обладает возможностью анализа на различные ингредиенты, например SO2, NOX, СО, SO3 и др.

Кулонометрический метод анализа газов основан на измерении токов электродной реакции, в которую вступает определяемое вещество, являющееся деполяризатором и непрерывно подаваемое в кулонометрическую ячейку с потоком анализируемого газа. Достоинства этого метода высокая чувствительность, компактность конструкции, эксплуатационная надежность. Кулонометрические газоанализаторы нашли широкое применение для анализа атмосферного воздуха.

Оптические методы. Из оптических методов наибольшее распространение для определения концентраций вредных выбросов ТЭС как в уходящих газах, так и в атмосфере получили фотокалориметрический, спектрофотометрический, люминесцентный и лазерный методы.

Для определения концентрации диоксида серы применяется фотокалориметрический метод, основанный на просасывании воздуха, содержащего SO2, через поглотительный раствор тетрахлормеркурата натрия (ТХМ). Образовавшийся дихлорсульфатомеркурант натрия с кислым раствором n-розанилина и формальдегидом дает комплекс фиолетово-красного цвета, интенсивность окраски которого пропорциональна концентрации сернистого газа.

В спектрофотометрических методах используют принцип поглощения ультрафиолетовых или инфракрасных излучений. При этом достигается высокая чувствительность и простота прибора.

Люминесцентный метод основывается на способности атомов и молекул поглощать энергию, поступающую к ним извне, что вызывает новое энергетическое состояние вещества, называемое возбужденным. Возбужденные атомы способны отдавать избыточную энергию или часть ее в виде света. Люминесцентный анализ один из самых высокочувствительных и быстрых физико-химических методов измерения концентрации органических и неорганических веществ. На базе этого метода созданы лабораторные и промышленные приборы, в том числе и по измерению концентраций вредных выбросов ТЭС.

В настоящее время широко внедряется на ТЭС хроматографический метод газового анализа, который также относится к физическим методам газового анализа. Этот метод заключается в разделении газовой смеси при пропускании ее совместно с потоком вспомогательного газа (газа-носителя) через слой пористого вещества (адсорбента) и последующим поочередным измерением содержания каждого выделившегося компонента электрическим методом.

Хроматографические газоанализаторы служат для определения содержания в дымовых газах горючих (СО, СН4, Н2 и др.), характеризующих химическую неполноту сгорания и негорючих (СО2, О2, N2 и др.) компонентов.

Для определения содержания пыли в газовых выбросах ТЭС применяют фотометрический и оптический сорбционный методы. Фотометрический метод измерения основан на свойстве частиц ныли осаждаться на движущемся фильтре и непрерывном определении оптической плотности этого пылевого осадка. Оптическую плотность пылевого осадка в существующих приборах определяют измерением поглощения им света.

Оптический метод основан на явлении поглощения света при прохождении его через пылегазовую среду. Пылемеры, построенные на этом принципе, практически безынерционны, не требуют пробоотборного устройства и позволяют определять мгновенные значения концентрации пыли без внесения возмущений в исследуемую среду. Недостатками метода являются влияние изменений химического и дисперсного составов пыли на результаты измерений и сравнительно узкий интервал измеряемых концепт раций.

Оптические пылемеры должны иметь надежные средства защиты от ныли оптических деталей. Наиболее распространенным средством такой защиты является обдув поверхности защитных окон чистым воздухом.

При создании оптических пылемеров используют как однолучевые, так и двухлучевые оптические системы. Однолучевые оптические пылемеры имеют более простые оптические и электрические схемы, но дают большие погрешности измерения.

В России разработан однолучевой автоматический пылемер типа «АИД-210-Эпергия», предназначенный для непрерывного контроля эффективности работы золоуловителей. Он устанавливается непосредственно на газоходах диаметром от 1 до 4 м при температуре контролируемой среды от 70 до 250 ОС и влагосодержании до 20%.

Автоматизация контроля загрязнений атмосферного воздуха.

Во многих промышленно развитых странах в крупных индустриальных районах действуют автоматизированные системы контроля загрязнения атмосферы (АСК 3В), представляющие собой сеть контрольно-измерительных станций (КЗС), оснащенных датчиками и электронной аппаратурой, каналов связи и информационного центра, где производятся сбор и обработка данных об уровне загрязнения воздуха контролируемого района.

Например, в Японии действует более 800 станций, снабженных автоматической аппаратурой для измерения концентраций SO2, NOX, СО, взвешенных частиц, углеводородов, а также скорости ветра, температуры и влажности воздуха. Периферийные станции связаны с центральными, где анализируются и обобщаются результаты измерений.

Наиболее эффективно использование АСК 3В в том случае, если обслуживаемая территория подвергается загрязнению только одного источника выброса или если выбросы различных предприятий различаются и не имеют одинаковых вредных веществ (ингредиентов).

При создании АСК 3В необходимо учитывать, что своевременный и точный контроль вредных выбросов ТЭС и загрязненности атмосферного воздуха должны производиться с учетом метеорологических параметров. Такой контроль можно осуществлять с помощью системы автоматических газоанализаторов, расположенных как непосредственно в дымовых трубах, так и на окружающей местности.

Рис. 6. Блок-схема (а) и размещение оборудования системы контроля загазованности атмосферы (б):

- подсистема измерения технологических параметров; 2 - подсистема измерения метеопараметров; 3 - подсистема измерения концентраций вредных веществ

дымовой вредный труба

Пример системы автоматизированного контроля за состоянием атмосферы показан на рис. 6, где показана АСК ЗВ Запорожской ГРЭС. Из рисунка видно, что система контроля состоит из трех подсистем: измерения технологических параметров 1, метеопараметров 2 и концентраций вредных веществ в атмосфере 3. В подсистеме измерений технологических параметров используются автоматические газоанализаторы для измерения концентраций SO2 и NOX в дымовых газах непосредственно в дымовых трубах. Количество золы выбрасываемой из дымовых труб не регистрируется. Это связано с отсутствием приборов для таких измерений, так и с тем фактом, что нормативная степень очистки в электрофильтрах обеспечивает допустимый уровень загрязнений дымовых газов.

Подсистема по измерению метеорологических параметров смонтирована на специальной метеовышке высотой 45 м и включает датчики по измерению направлению и скорости ветра, установленнве на отметках 0,5; 2; 10; 23 и 45 м, и датчики по измерению градиента температур на этих же высотах. Кроме того, температурный градиент измеряется с помощью датчиков, установленных на светофорных площадках дымовой трубы на отметках 45, 100, 200 и 260 м.

Контрольно-измерительные станции (КЗС) смонтированы в стандартных павильонах, расположенных в зоне максимальных концентраций, а также вблизи жилых массивов. Расстояние между КЗС выбрано таким, чтобы оно было соизмеримо с дисперсией факела, вызываемой горизонтальной составляющей интенсивности турбулентности атмосферы. Уточнение концентраций, находящихся близко от оси факела осуществляется с помощью передвижной контрольно-измерительной станции, позволяющей произвести измерения непосредственно под дымовым шлейфом с передачей информации по УКВ каналу.

По каналам автоматической связи данные с КЗС поступают в центр сбора информации (ЦСИ). Опрос датчиков производится каждые 2…4 мин. И осредняется за каждые 20…30 мин. Сюда же поступает информация о метеоусловиях и о выбросах вредных примесей в атмосферу.

Приземные концентрации колеблются не только в течение года, но даже в течение дня, увеличиваясь в полдень и уменьшаясь к вечеру. АСК ЗВ позволяет разрабатывать конкретные мероприятия по снижению вредных выбросов ТЭС как для обычных, так и для неблагоприятных метеоусловий и проверять эффективность этих мероприятий.

Похожие работы на - Рассеивание в атмосфере выбросов электростанций

 

Не нашли материал для своей работы?
Поможем написать уникальную работу
Без плагиата!
Без нейросетей!