Переработка отходов полимеров

  • Вид работы:
    Дипломная (ВКР)
  • Предмет:
    Экология
  • Язык:
    Русский
    ,
    Формат файла:
    MS Word
    1,1 Мб
  • Опубликовано:
    2013-08-19
Вы можете узнать стоимость помощи в написании студенческой работы.
Помощь в написании работы, которую точно примут!

Переработка отходов полимеров

Введение

переработка утилизация полимер экологический

Двадцатый век - век научно-технического прогресса. В тот период объем производства вырос более чем в сто раз благодаря значительному расширению научных открытий и внедрения их в новейшие технологии. Весомый вклад в новые технологии внесли и химические и биологические науки. На базе их открытий были созданы новые материалы из синтетических полимеров, которых ранее не было на Земле. По своим свойствам эти материалы настолько хороши, что вошли буквально во все сферы жизни человека, стали совершенно незаменимыми и абсолютно необходимыми. На примере нескольких видов материалов можно посмотреть, насколько велик спектр выпускаемых на их основе продуктов.

·   Полиэтилен (1-е место в мире по объему производства): пленки и пакеты, волокна (веревки, тросы), тара (бутылки, медицинская посуда), трубы, сифоны для сантехники, игрушки

·   Полипропилен (2-е место): панели и бамперы для автомобилей, стенки и полки холодильников, особо прочная медицинская посуда, шприцы, изоляционные материалы, покрытия, посуда

·   Полиэтилентерефталат (3-е место): упаковочные бутылки (для напитков), искусственные волокна - полиэстер (куртки, колготки, рубашки и проч.), тросы крепежные

·   Полиамид: чулки, носки, куртки, рубашки, шестеренки, втулки, лыжи, тросы, шланги

·   Поливинилхлорид: синтетическая кожа, оконные рамы, строительная фурнитура

·   Полистирол: корпуса телефонных аппаратов и телевизоров, панели приборов, мебель, ванны, посуда, игрушки, упаковки, авторучки

·   Полиуретан: шланги для ванн, катетеры, бамперы, ролики, шины, колеса, амортизаторы, звукоизоляция, клеи, оконные рамы, двери, лыжи, подошвы обуви

Сегодня в мире выпускается ежегодно около 130 миллионов тонн пластмасс с годовым приростом в 10 процентов. Однако, наряду с положительными качествами, у этих синтетических продуктов есть один существенный недостаток - они, в отличие от многих природных материалов, выполнив свои функции, не уничтожаются достаточно быстро под действием света, тепла, микроорганизмов, а продолжают существовать в виде долгоживущих отходов, причиняя в некоторых случаях непоправимый ущерб живой природе. Существуют также многие другие виды отходов человеческой жизнедеятельности. Переработка и утилизация отходов является сложной и многофакторной экологической, технологической и экономической проблемой. Особенно актуальна эта проблема в крупных городах с большой плотностью населения. Например, в Париже и Санкт-Петербурге количество собираемых отходов составляет порядка 600 кг в год на одного жителя, в Москве превышает 1 тонну.

Лишь незначительная часть твердых бытовых отходов (ТБО) большинства крупных городов перерабатывается на мусоросжигательных заводах, остальные вывозятся на полигоны (свалки), расположенные за десятки километров от городов, причем площади для этих целей практически исчерпаны. Известно также, что свалки являются источником загрязнения окружающей среды (ПДК превышаются в 1000 и более раз). Захоронение отходов на свалках требует отчуждения больших территорий и их дорогостоящего обустройства. Во всем мире идет активный поиск технологий и оборудования для переработки и утилизации отходов при соблюдении современных требований экологии, ресурсосбережения и экономической эффективности. В настоящее время в Москве промышленной переработке подвергается не более 5% собираемых твердых отходов.

Полимеры, по отношению к твердым бытовым отходам (ТБО), составляют 10-15%. Однако уничтожение полимерных отходов оказалось не менее сложным и дорогостоящим, чем их производство, и человек пошел и пока продолжает идти по наиболее простому пути - складируя эти отходы вместе с другим мусором на поверхности Земли и таким образом создавая новые грандиозные творения своих рук - свалки. Каждый член человеческого сообщества в настоящее время в год генерирует примерно 200 кг отходов (в США - 700 кг), из них 10 - 15% - полимерных, доля которых непрерывно возрастает, и если продолжать вывозить отходы на свалки, в скором времени человек создаст совершенно новый пейзаж: все крупные населенные пункты будут окружены сплошным кольцевым валом, состоящим из захороненных отходов. Население земного шара увеличивается в год на полтора - два процента, а объем мусорных свалок - на 6%. Содержимое свалок, постепенно разлагаясь, отравляет окружающую среду продуктами распада, и, хотя полимеры и являются достаточно инертными компонентами мусора, они также постепенно разрушаются, выделяя опасные для живых организмов вещества, в том числе сверхтоксичные соединения диоксинового и фуранового ряда. Таким образом, чтобы продолжать использовать полимерные материалы во все возрастающих количествах, человечество должно незамедлительно разработать эффективные методы утилизации.

1.Основные направления утилизации и обезвреживания отходов полимеров

Полимеры широко используются в мире, как для упаковочных материалов, так и для изготовления товаров народного потребления, в том числе и строительных материалов. Упаковка родилась еще до всякого производства. Первоначально она была одноразовой. Однако по мере перехода к цивилизации доля многоразовых вместилищ непрерывно росла. Исходными ее функциями были транспортировка и хранение: с жидкостями и сыпучими телами обращаться без помощи тары вообще невозможно. Упаковка превратилась в средство производства - пребывание в ней продукта в течение определенного срока стало необходимой технологической операцией. Но победа товарной экономики возложила на упаковку совсем новую миссию, ставшую в наше время чуть ли не главной - рекламу и продвижение. Упаковка стала лицом товара. Отныне основными требованиями к ней стали привлекательность и узнаваемость. Однако за все приходится платить. В одной только Германии 10 лет назад производилось 20 млн. пластиковых стаканчиков для йогурта ежедневно. В 1990-х годах европейские страны потребляли 100-150 кг одноразовой упаковки на душу населения в год. В США эта цифра приближалась к 200 кг. Однако дешевые и технологичные пластики оказались ксенобиотиками - веществами, неспособными включиться в природные геохимические циклы.

На воздухе и солнечном свету они еще кое-как разлагаются (следует заметить, что продукты такого разложения подчас создают больше проблем, чем исходный пластик), в лишенной же кислорода и ультрафиолетовых лучей толще мусорной свалки сохраняются вечно. Конечно, практически все полимеры горючи, и одно время развитые страны сделали ставку на мусоросжигательные заводы, позволявшие не только избавляться от отходов, но и получать дополнительную энергию. Но оказалось, что добиться гарантированного полного сгорания мокрого, грязного, перемешанного с пищевыми и прочими отходами пластика невозможно даже с кислородным поддувом. Неполное же сгорание превращает такой завод в постоянный источник целого букета уникальных токсинов и канцерогенов (особенно при сгорании хлорсодержащих пластиков, составляющих огромную долю упаковочного материала). Вдобавок горячие газы увлекают с собой в атмосферу массу вредных веществ - в частности, тяжелых металлов.

Из всех выпускаемых пластиков 41 % используется в упаковке, из этого количества 47 % расходуется на упаковку пищевых продуктов. Удобство и безопасность, низкая цена и высокая эстетика являются определяющими условиями ускоренного роста использования пластических масс при изготовлении упаковки. Упаковка из синтетических полимеров, составляющая 40 % бытового мусора, практически "вечна" - она не подвергается разложению. Поэтому использование пластмассовой упаковки сопряжено с образованием отходов в размере 40…50 кг/год в расчете на одного человека. В России предположительно к 2010 г. полимерные отходы составят больше одного миллиона тонн, а процент их использования до сих пор мал.

Учитывая специфические свойства полимерных материалов - они не подвергаются гниению, коррозии, проблема их утилизации носит, прежде всего, экологический характер. Общий объем захоронения твердых бытовых отходов только в Москве составляет около 4 млн. т в год. От общего уровня отходов перерабатывается только 5…7 % от их массы. По данным на 1998 г. В усредненном составе твердых бытовых отходов, поставляемых на захоронение, 8 % составляет пластмасса, что составляет 320 тыс. т в год. Однако в настоящее время проблема переработки отходов полимерных материалов обретает актуальное значение не только с позиций охраны окружающей среды, но и связана с тем, что в условиях дефицита полимерного сырья пластмассовые отходы становятся мощным сырьевым и энергетическим ресурсом. Вместе с тем решение вопросов, связанных с охраной окружающей среды, требует значительных капитальных вложений. Стоимость обработки и уничтожения отходов пластмасс примерно в 8 раз превышает расходы на обработку большинства промышленных и почти в три раза - на уничтожение бытовых отходов. Это связано со специфическими особенностями пластмасс, значительно затрудняющими или делающими непригодными известные методы уничтожения твердых отходов. Использование отходов полимеров позволяет существенно экономить первичное сырье (прежде всего нефть) и электроэнергию.

Проблем, связанных с утилизацией полимерных отходов, достаточно много. Они имеют свою специфику, но их нельзя считать неразрешимыми. Однако решение невозможно без организации сбора, сортировки и первичной обработки амортизованных материалов и изделий; без разработки системы цен на вторичное сырье, стимулирующих предприятия к их переработке; без создания эффективных способов переработки вторичного полимерного сырья, а также методов его модификации с целью повышения качества; без создания специального оборудования для его переработки; без разработки номенклатуры изделий, выпускаемых из вторичного полимерного сырья.

Другим путем борьбы с отходами полимеров является превращение их во вторсырье. Однако первое, что для этого надо - разделить их, что не всегда возможно даже теоретически. Так, ламинированный картон нельзя разделить на целлюлозу и полиэтилен, а придумать способ его утилизации целиком до сих пор не удается.

Поиски решения сегодня ведутся по всем направлениям сразу:

·   раздельный сбор с последующей утилизацией совершенствование "огненного погребения" мусора

·   безопасное захоронение с последующей рекультивацией свалки до состояния "зеленой лужайки"

·   разработка материалов, которые после нарушения целостности будут быстро распадаться на безопасные соединения

·   возвращение к бумаге и картону

Каждый из этих путей имеет перспективы, но каждый требует дополнительных расходов. Например, в алюминиевые банки с пивом на долю упаковки приходится до трех четвертей розничной цены.

В годы реформ Россия принялась наверстывать упущенное - производство упаковки в стране непрерывно растет с 1993 года, да и объемы импортной упаковки весьма велики. Однако импортировать современную упаковку или даже линию для ее изготовления оказалось несравненно проще, чем культуру обращения с ней - от технологии отбеливания макулатуры до психологической готовности граждан возиться с разделением бытового мусора. И хотя объемы потребления упаковочных материалов в России до сих пор отличаются от европейских в несколько раз (впрочем, это в среднем по стране - московская агломерация, к примеру, уже достигла европейских показателей), проблема их последующей утилизации стоит тут не менее остро. В Европейской России все лесные массивы и реки замусорены пластиковыми бутылками.

.1 Классификация отходов полимеров

Отходы термопластичных пластмасс можно классифицировать следующим образом:

·   Технологические отходы производства образуются при синтезе и переработке термопластов и других видов пластмасс. К технологическим отходам относятся остатки исходного сырья, образовавшиеся в процессе производства и частично или полностью утратившие показатели качества. Часть из них (возвратные отходы) - литники, бракованные детали - используются после предварительной подготовки в том же или другом процессе. Технологические отходы, безвозвратно утратившие свои основные свойства, не могут быть переработаны в изделия и подлежат сжиганию либо захоронению. Технологические отходы делятся на устранимые и неустранимые.

Устранимые отходы образуются вследствие несовершенства технологии синтеза и переработки пластмасс и несоблюдения технологических режимов. Устранимые отходы часто представляют собой высококачественное сырье, по своим свойствам не отличающееся от исходного материала. Применение устранимых отходов как вторичного сырья не требует дополнительной переработки, специального оборудования, так как используют их на самих предприятиях.

Неустранимые отходы - сложные многокомпонентные отходы, содержащие помимо полимеров другие материалы, использование которых в качестве вторичного полимерного сырья требует специального оборудования и технологий.

·   Отходы производственного потребления накапливаются в результате выхода из строя или прекращения срока использования полимерных изделий (отходы упаковки, накапливающиеся на предприятиях торговли, оптовых базах, многооборотная полимерная тара, мешки из-под удобрений, сельскохозяйственная пленка и т.д.). Эти виды отходов в большинстве случаев имеют стабильный состав, мало загрязнены и могут быть дополнительным источником вторичного сырья, пригодного для повторного использования.

·   Отходы общественного потребления, включающие полимеры, которые накапливаются в процессе жизнедеятельности населения. В конечном итоге они переходят в смешанные полимерные отходы, которые являются одним из компонентов ТБО. Смешанные полимерные отходы утилизируют вместе с ТБО на свалки или мусоросжигательные заводы.

До 7,0 % всего городского мусора (в странах ЕС) составляют полимерные отходы, и их доля увеличивается с ростом уровня жизни. Использование смешанных полимерных отходов из ТБО в качестве вторичного сырья представляет наибольшие трудности. Это связано с технологической несовместимостью полимеров, входящих в состав смешанных полимерных отходов, и их большой загрязненностью. Переработка смешанных отходом требует выделения различных классов из обшей массы полимера и тщательной отмывки их от загрязнений. Практически такое разделение может быть проведено только на мусороперерабатывающих заводах при комплексной переработке городского мусора. При этом стоимость выделения и последующей переработки часто бывает достаточно велика, что делает вторичные полимеры, получаемые из городского мусора, неконкурентоспособными с первичными полимерами.

Вместе с тем существует целый ряд компонентов смешанных полимерных отходов, которые можно выделить из городского мусора и использовать в качестве вторичного сырья. В экономически развитых странах (ЕС, США, Япония) принят комплексный подход к решению проблемы использования полимерных отходов в качестве вторичного полимерного сырья. Важно отметить, что большинство экспертов в развитых странах считают, что полимерные отходы нужно в обязательном порядке выделять из основной массы ТБО и утилизировать отдельно, так как они практически не разлагаются в естественных условиях при вывозе на захоронение, а при сжигании являются одним из основных источников токсичных выбросов.

1.2 Способы сокращения отходов полимеров

Сокращению технологических отходов, образующихся при изготовлении деталей из пластмасс, способствуют следующие мероприятия:

·   Правильное распределение имеющейся номенклатуры изделий по оборудованию таким образом, чтобы суммарные отходы были минимальны, учитывая, что потери сырья при переходах с одного изделия на другое на машинах с большой производительностью максимальны.

·   Усовершенствование конструкции оснастки, выбор оптимального формующего инструмента (пресс-форм, дорнов, матриц и т. д.).

·   Оптимизация режимов переработки полимера с целью исключения его термодеструкции и получения бракованных изделий.

·   Уменьшение числа переходов с одного цвета на другой как при изготовлении деталей, так и при переработке отходов.

·   Установка на вентиляционных отсосах дробильных отделений циклонов для улавливания полимерной пыли, образующейся при дроблении отходов.

·   Организация безостановочного цикла работы оборудования. Для облегчения разделения пластмассовых отходов потребления во многих странах изделия при их производстве маркируют, что позволяет идентифицировать вид полимера, из которого оно изготовлено.

Раздельный сбор отходов потребления пластмассовых деталей с учетом вида полимера (а еще лучше цвета) у нас в стране пока не осуществляется. Поэтому значительная часть отходов пластмасс не перерабатывается.

.3 Способы утилизации и обезвреживания отходов полимеров

В промышленности применяют следующие основные направления утилизации и ликвидации отходов пластмасс:

1.      переработка отходов в полимерное сырье и повторное его использование для получения изделий;

2.      сжигание вместе с бытовыми отходами;

.        пиролиз и получение жидкого и газообразного топлива;

.        захоронение на полигонах и свалках.

Несмотря на значительные преимущества повторного использования полимерных материалов, таким способом утилизируется лишь незначительное их количество, что связано с трудоемкостью собора, разделения, сортировки, очистки отходов (прежде всего отходов бытового потребления). Поэтому наряду с вторичной переработкой отходов пластмасс в изделия в промышленности используются и другие способы утилизации.

Сжигание отходов пластмасс - наименее эффективный способ их удаления и обезвреживания, так как при этом полностью разрушается дорогостоящий полимер и другие компоненты пластика. Оно применяется при переработке отходов пластмасс только в тех случаях, когда другие способы по техническим или экономическим причинам не могут быть использованы. В частности, сжигание отходов пластмасс используют, когда их выделение из смеси других отходов невозможно или слишком дорого.

Конструкции печей, используемых для сжигания отходов пластмасс, могут быть самыми разными, но должны учитывать особенности горения этих материалов. Во время горения отходов пластмасс в печи создается высокая температура, что требует специальных мер защиты. Кроме того, необходимо оснащение печей системами дожигания, очистки и обработки дымовых газов, так как при горении пластмасс образуются такие токсичные газы, как аммиак, оксиды азота, хлористый водород, диоксины и др.

Весьма перспективна переработка отходов пластмасс пиролизом, в результате которой из пластмассовых отходов при 425 °С получают топливо, на 95% состоящее из жидких углеводородов и на 5% из горючего газа. Применение этой технологии для пераработки пластмассовых отходов экономически выгодно. Установка, перерабатывающая 11,3 тыс. т/год отходов, окупается за три года. Использование этих установок целесообразно лишь в районах с ресурсами отходов не менее 465 тыс. т/год.

Захоронение отходов пластмасс - наименее целесообразный способ их удаления, так как наносит прямой ущерб окружающей среде и приводит к нерациональному использованию природных ресурсов. В отличие от сжигания захоронение отходов пластмасс не позволяет использовать потенциальные энергетические ресурсы, содержащиеся в полимерах.

Наиболее рациональный способ утилизации отходов пластмасс - это их повторное использование по прямому назначению. Капитальные затраты при таком способе утилизации невелики. При этом не только достигается ресурсосберегающий эффект от повторного вовлечения материальных ресурсов в производственный цикл, но и существенно снижаются нагрузки на окружающую среду.

В случае если имеется рынок сбыта продуктов переработки, осуществлены непрерывность и регулярность поступления отходов, разработана экономичная технология их переработки, а поступающие отходы стандартизованы, имеет смысл создавать специализированные предприятия по переработке отходов. Если количество полимерных отходов невелико, то целесообразно передавать их на переработку предприятию - изготовителю первичной продукции.

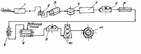
В общем виде последовательность операций при переработке отходов пластмасс с целью их повторного использования представ лена на рис.1.

Рис.1. Последовательность операций при переработке отходов пластмасс

В зависимости от качества и чистоты отходов такая схема может быть реализована в полном или сокращенном объеме. Как правило, промышленные отходы не требуют выполнения всех стадий процесса, показанного на этой схеме. Бытовые полимерные отходы, наоборот, нуждаются в тщательной подготовке.

Переработка технологических отходов термопластов должна начинаться с определения степени изменения их свойств и выбора наиболее эффективной технологии их использования.

Высокое качество готовых изделий и стабильность технологического процесса могут быть обеспечены лишь при равномерном дозировании измельченных или гранулированных отходов и хорошем смешении их с исходным сырьем.

При переработке отходов на предприятиях, производящих изделия из термопластов, они возвращаются в основной технологический процесс.

В процессе вторичного использования пластмасс необходимо предотвратить или уменьшить ухудшение их физико-механических и реологических свойств вследствие старения, вызываемого напряжением сдвига и нагреванием - термомеханическим воздействием, которому подвергаются полимеры при размоле, расплавлении и формовании. С этой целью в композиции на основе вторичных полимерных материалов вводят дополнительные стабилизаторы, которые позволяют без изменения технологических свойств полимеров сохранить их эксплуатационные характеристики.

Сбор и сортировка отходов пластмасс являются наиболее слабым звеном в процессе организации переработки как технологических отходов, так и в еще большей степени отходов потребления.

Идеальная сортировка отходов должна обеспечить разделение их не только по видам, маркам, цвету, но и по форме, степени загрязненности, содержанию инородных материалов, физико-механическим свойствам и т.п., что требует больших затрат и делает утилизацию отходов неэффективной.

Наиболее простой и в то же время удовлетворяющей основным требованиям является сортировка, осуществляемая в процессе сбора отходов непосредственно на рабочем месте, т.е. на стадии их образования (так называемый околомашинный сбор отходов).

Околомашинная переработка отходов позволяет добавлять к первичному сырью наиболее близкие по свойствам вторичные материалы. При этом устраняется необходимость их сортировки по цвету, снижается возможность их загрязнения, отпадает необходимость в складских помещениях, проверке качества вторичных материалов, их сушке и т.п.

Чтобы отличить термопластичный материал от термореактивного, следует приложить к образцу раскаленный металлический предмет. Если при этом образец плавится, то это термопластичный материал.

Если образец пластмассы (непористый) плавает на поверхности воды, в которую добавлены несколько капель моющего вещества (для снижения поверхностного натяжения), то этот образец, вероятнее всего, из неполярного полимера - полиэтилена или полипропилена. Продукты горения таких материалов пахнут горящей стеариновой свечой.

Сжигание образцов пластика - достаточно надежный способ его идентификации. Для этого кусок или полоску пластика берут щипцами, пинцетом, клещами или другим аналогичным инструментом (порошкообразный материал насыпают на лезвие ножа или другой удобный инструмент) и подносят к пламени. Полученные результаты сравнивают с известным поведением пластмасс при горении. Во внимание принимаются следующие характеристики: легкость воспламенения, характер плавления, продолжительность горения после вынесения из пламени, наличие копоти, цвет пламени, запах. При этом необходимо помнить о мерах безопасности при определении запаха и при поджигании образцов. Поведение различных полимеров в пламени горелки видно из данных табл. 1.

Таблица 1. Особенности горения полимеров

Полимер

Поведение при горении

Запах при горении

Полиэтилен, полипропилен

Горит голубым пламенем с желтой верхушкой, мало дыма, капли расплава

Горящего парафина

Поливинил-ацетат

Горит желтым с искрами пламенем, коптит

Уксуса

Полистирол

Горит оранжево-желтым светящимся пламенем, сильно коптит

Цветочный

АБС

Горит оранжево-желтым пламенем, сильно коптит

Цветочный, горящей резины

Полиметил-метакрилат

Горит с потрескиванием синим пламенем, коптит

Цветочно-плодовый

Полиамид

Горит голубым пламенем с белой верхушкой

Жженой кости

Целлюлоза

Горит желтым пламенем, слабо коптит

Жженой бумаги

Полиэтилен-терефталат

Горит желтым светящимся пламенем, слабо коптит

Сладковатый

Поликарбонат

Горит желтым свет. дрож. пламенем, слабо коптит, при выносе из пламени медленно затухает

Слабый запах фенола

Полиформальдегид

Горит синеватым пламенем, капли расплава

Резкий формальдегида

Поливинил-хлорид

Горит зеленым с голубой верхушкой пламенем, при выносе из пламени затухает

Резкий


Повторному использованию отходов термопластов, как правило, предшествуют измельчение и гранулирование. С этой целью разработаны специальные машины и установки для получения вторичного сырья, которое по форме и размерам соответствует первичному сырью.

Первичное сырье, используемое при переработке пластмасс, представляет собой главным образом гранулы со стандартной величиной зерен, с постоянной объемной массой и хорошей сыпучестью.

Механизм разрушения полимерных материалов принципиально отличается от процессов, протекающих при измельчении низкомолекулярных соединений, так как энергия разрушения полимеров расходуется главным образом на механические потери. Это относится как к пластмассам, так и в еще большей степени к резинам, т.е. материалам, способным к значительным обратным деформациям. Поэтому оптимальные условия для измельчения отходов полимерных материалов возникают при высоких скоростях деформирования. Разрушению способствует также снижение температуры, при которой материал становится стеклообразным, хрупким, или повышение температуры до значений, когда его прочностные свойства резко падают. Крупногабаритные отходы пластмасс предварительно нарезаются на циркулярных пилах или ленточно-пильных станках.

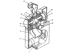
Рис.2. Конструкция роторно-ножевого измельчателя с водяным охлождением: 1 - поворотная плита; 2 - электродвигатель; 3 - лоток; 4 - сьмная калибрующая решотка; 5 - ротор; 6 - татор; 7 - маслоотражаели; 8 - ножи ротора; 9 - загрузочный бункер; 10 - маховик; 11 - упорные подшипники; 12 - маслодробители; 13 - регулируемые ножи статора; 14 - штуцер для подачи воды.

Для измельчения широко используются режущие грануляторы, переработка отходов в которых происходит между роторными и статорными ножами, а сито, расположенное в нижней части машин, определяет заданную величину зерен. Конструкция роторно-ножевого измельчителя изображена на рис. 2.

Производительность измельчителя определяется видом отходов, а также конструктивными особенностями установки: числом и длиной ножей, а также частотой вращения ротора. В процессе работы производительность роторных измельчителей падает вследствие износа ножей. Поэтому при падении производительности измельчителя на 20-30% от первоначального значения при работе на одном материале необходимо затачивать ножи.

Степень измельчения отходов определяется размером ячеек сита, ограждающего камеру помола со стороны выхода измельченного материала. Размер частиц измельченных отходов колеблется от 3 - 5 до 25 - 30 мм. Роторные измельчители при работе издают сильный шум. С целью его уменьшения измельчитель вместе с двигателем и вентилятором заключают в шумозащитный кожух, что позволяет снизить уровень шума на 10 - 15 дБ.

При измельчении отходов вязких термопластов основное количество энергии превращается в тепло и лишь ничтожно малое количество расходуется на разрушение материала. Это снижает производительность оборудования, приводит к налипанию расплавленного в результате разогрева пластика на части оборудования. Так, производительность роторных дробилок по сравнению с паспортными данными составляет всего 20 - 30% для полиэтилена и 35 -55% для полиамида. Поэтому в ножевых измельчителях часто используют охлаждение отходов и деталей дробилок водой. Более перспективно использование криогенного измельчения. После глубокого охлаждения таких отходов в среде жидкого азота (температура испарения - минус 195,8 °С) полимер переходит в стеклообразное состояние и становится хрупким, что значительно упрощает его измельчение.

Некоторые виды отходов можно измельчать после охлаждения в среде сжиженного углекислого газа (температура испарения - минус 78,5 °С). Хладагенты вводят непосредственно в дробилку или используют специальный конвейер, на котором пластмассовые отходы предварительно охлаждаются, а затем в охлажденном виде подаются на измельчение.

Криогенная техника измельчения полимерных, отходов по сравнению с измельчением при комнатной температуре имеет ряд преимуществ. В частности, расход энергии на измельчение полимерных отходов на одной из таких установок, созданных и используемых в Японии для утилизации полимерных деталей выпускаемой фирмой "Хитачи" электробытовой аппаратуры, составляет 6 Вт-ч/кг отходов по сравнению с 24 на обычной установке.

При измельчении тонких и легких отходов (обрезков пленки, волокон, переплетов, остатков тканей и ковров из синтетических полимеров, искусственных кож и т.д.) с помощью роторных измельчителей получают обрезки с незначительной объемной массой и плохой сыпучестью, дальнейшая переработка которых на существующем технологическом оборудовании практически невозможна. Отходы такого типа, имеющие насыпную массу менее 0,25 г/см3, превращают в гранулят с помощью плавления.

Для подготовки к переработке объемных отходов пластмасс, например пленки, используют агломерацию. Агломераторы обеспечивают непрерывное приготовление сыпучего гранулята из пленочных, волокнистых и пористых отходов термопластов всех видов: полиэфирных, полипропиленовых, полистирольных, полиамидных, поливинилхлоридных и др.

Разработан агломератор для гранулирования отходов термопластов с низкой насыпной плотностью, минуя подготовительные стадии. Он представляет собой вращающийся цилиндр с электрообогревом. При работе температура в цилиндре поддерживается выше температуры плавления термопласта. Цилиндр размещен внутри нагреваемого цилиндрического кожуха, смещенного по отношению к оси цилиндра. Кожух и цилиндр агломератора образуют камеру с уменьшающимся поперечным сечением и заканчивающуюся с противоположной стороны раклей, за которой расположена головка с отверстиями или прорезями.

Попадая на горячую поверхность вращающегося цилиндра, материал, вводимый в бункер, плавится и прилипает к его поверхности. Так как поперечное сечение камеры при вращении цилиндра уменьшается, расплавленный материал прижимается к наиболее ограниченной зоне камеры и, наконец, к ракле, а затем выдавливается наружу через головку. Из материала, проходящего последовательно устройство охлаждения и режущие элементы, получают гранулят. Размер частиц 2-15 мм, насыпная плотность 400 кг/м . В процессе агломерации возможно введение в композицию каких-либо добавок (наполнителей, красителей и др.).

Разделение смесей отходов полимеров осуществляют различными методами. Смешанные отходы термопластов содержат, как правило, вещества, различающиеся механическими и химическими свойствами, что позволяет для их разделения применять физические и химические способы.

Разделять смеси термопластов можно, сочетая процессы грохочения и воздушной сепарации, основу которой составляет различие в скоростях осаждения, размерах твердых частиц и их плотности. Полная сортировка достигается, когда скорость оседания самых крупных частиц легкого компонента равна скорости оседания самых малых частиц тяжелого компонента. С помощью этого метода можно разделить до пяти-шести видов материалов.

Для разделения отходов пластмасс по видам можно использовать флотационный метод, основанный на различии в смачиваемости полимеров водой. С целью увеличения эффективности разделения используют ПАВ, изменяющие смачиваемость полимеров и поверхностное натяжение на границе раздела воздух - полимер - вода. В частности, для выделения из смеси отходов частиц ПВХ используют водные растворы сульфоната двухосновного алифатического спирта, полиоксиэтиленсульфата и других ПАВ.

Хорошие результаты получаются при последовательном разделении отходов различных пластмасс в солевых растворах с различной плотностью.

2.Особенности переработки отходов термопластов

Для превращения отходов термопластов в сырье, пригодное для последующей переработки в изделия, необходима его предварительная обработка. Выбор способа предварительной обработки зависит в основном от источника образования отходов и степени их загрязненности. Так, однородные отходы производства и переработки ПЭНП обычно перерабатывают на месте их образования, для чего требуется незначительная предварительная обработка - главным образом измельчение и грануляция. Отходы в виде вышедших из употребления изделий требуют более основательной подготовки. Предварительная обработка отходов сельскохозяйственной ПЭ пленки, мешков из под удобрений, отходов из других компактных источников, а также смешанных отходов включает следующие этапы: сортировка (грубая) и идентификация (для смешанных отходов), измельчение, разделение смешанных отходов, мойка, сушка. После этого материал подвергают грануляции.

Предварительная сортировка предусматривает грубое разделение отходов по различным признакам: цвету, габаритам, форме и, если это нужно и возможно, - по видам пластмасс. Предварительную сортировку производят, как правило, вручную на столах или ленточных конвейерах; при сортировке одновременно удаляют из отходов различные посторонние предметы и включения. Разделение смешанных (бытовых) отходов термопластов по видам проводят следующими основными способами: флотационным, разделением в тяжелых средах, аэросепарацией, электросепарацией, химическими методами и методами глубокого охлаждения. Наибольшее распространение получил метод флотации, который позволяет разделять смеси таких промышленных термопластов, как ПЭ, ПП, ПС и ПВХ. Разделение пластмасс производится при добавлении в воду поверхностно-активных веществ, которые избирательно изменяют их гидрофильные свойства. В некоторых случаях эффективным способом разделения полимеров может оказаться растворение их в общем растворителе или в смеси растворителей. Обрабатывая раствор паром, выделяют ПВХ, ПС и смесь полиолефинов; чистота продуктов - не менее 96 %. Методы флотации и разделения в тяжелых средах являются наиболее эффективными и экономически целесообразными из всех перечисленных выше.

2.1 Переработка отходов полиэтилена

К основным особенностям полиэтиленовых отходов потребления относятся низкая насыпная плотность, пониженные прочностные свойства и высокая вязкость расплава. Изменение физико-механических свойств вторичного полиэтилена, полученного из отходов потребления, является следствием термоокислительного и механохимического воздействия на полимер в процессе переработки и особенно при эксплуатации. Наибольшее изменение свойств происходит именно вследствие протекания фотохимических процессов.

Вторичный полиэтилен низкой плотности, полученный из отработанной сельскохозяйственной пленки, сильно отличается от первичного материала. В табл. 2 приведены свойства исходного полиэтилена и этого же материала после повторной переработки и после трехмесячной эксплуатации пленочного материала из него в районе с субтропическим климатом.

Для вторичного полиэтилена низкой плотности, полученного из отходов потребления, характерна низкая текучесть расплава при малых напряжениях сдвига. Однако ее можно регулировать, изменяя температуру и напряжение сдвига.

Снижение текучести расплава может служить критерием для ориентировочной оценки свойств отходов и их пригодности для повторного использования совместно с исходным материалом.

Для улучшения свойств вторичного полиолефина в композицию на его основе добавляют минеральные и органические наполнители, ПАВ и другие добавки. Так, введение наполнителя в количестве до 30% (объемн.) позволяет получать из вторичного полиэтилена напорные трубы, упаковочные пленки, многооборотную тару и другую продукцию. В качестве наполнителя могут быть использованы дисперсные частицы любой природы, в том числе из отходов других материалов, например древесная мука, резиновая крошка или измельченные отходы реактопластов.

Таблица 2. Изменение свойств полиэтилена низкой плотности при повторной переработке и при старении

Показатели


Исходный

вторичный

вторичный после экс.

Содержание низкомолекулярной фракции, %

0,1

6,2

6,2

Содержание геля, %

0

20,0

20,0

Прочность при растяжении, МПа

15,5

10,0

11,4

Относительное удлинение, %

490,0

125,0

17,0

Стойкость к растрескиванию, ч

8,0

1,0

_

Светостойкость, сут

90,0

50,0

_


Интересен опыт Тушинского машиностроительного завода, который производит из отходов полиэтилена и резиновой крошки массивные блоки для переездов трамвайных путей. Основная масса такого изделия изготавливается прессованием из смеси крупной крошки и отходов пластика, а покровный слой небольшой толщины - из износостойкой протекторной резины. Такие изделия повышают долговечность переездов, уменьшают шум, снижают нагрузку на трансмиссию и колеса автомобиля.

Рассмотренные технологические операции по подготовке к повторному использованию отходов полимерных материалов могут быть реализованы на непрерывной линии, которая включает в себя все необходимые агрегаты для их выполнения.

Так, линия немецкой фирмы "Райфенхаузер" для гранулирования загрязненной полиэтиленовой пленки включает: ножевой измельчитель; ванну для мойки; вихревой водоотделитель; фильтр; червячный пресс; ванну с охлаждающей водой; гранулятор; транспортирующие устройства; вспомогательное оборудование.

Процесс получения гранул на этой линии состоит из следующих стадий: измельчения, смешения, усреднения, отмывки, сушки, уплотнения, пластикации, фильтрации расплава, формования жгутов, охлаждения жгутов, гранулирования, контроля качества гранулята и его затаривания.

Производительность такой линии составляет 300 кг/ч, размеры гранул 4х4 мм.

Отечественная линия ЛПВ-2000 (рис.3), выпускаемая на заводе "Кузполимермаш", предназначена для комплексной подготовки к переработке кусковых и пленочных отходов полиэтилена. Производительность линии составляет 2000 т/год. Измельчение отходов производится в роторных измельчителях (ИПР-300 - для кусковых отходов, ИРНП-300-600 - для пленочных отходов). Измельченные отходы в виде пульпы попадают в шнековый промыватель, откуда поступают в отжимное устройство и далее в вихревую сушилку, а затем в шнековый экструдер на грануляцию. Размер гранул, получаемых на этой линии, 2-5 мм.

Рим.3. Технологическая схема получения вторичной полиэтиленовой пленки:  1 - узел сортировки отходов; 2 - дробилка; 3 - моечная машина; 4 - центрифуга; 5 - сушилка; 6 - питатель; 7 - экструзионные прессы; 8 - гранулятор; 9 - смеситель; 10 - пленочный агрегат.

После сортировки и дробления отходы моются в моечной машине, после чего отделяются от воды в центрифуге и высушиваются в сушилке. Далее через питатель попадает в экструзионные прессы, где смесь плавится и перемешивается, затем измельчается в грануляторе, в смесителе смешивается с первичным сырьем в заданных пропорциях и плавится в прессах. Конечным процессом является получение пленки из пленочного аппарата.

.2 Переработка отходов полиэтилентерефталата

Переработка лавсановых волокон и изношенных изделий из ПЭТФ аналогична вторичной переработке полиамидных отходов, поэтому в данном разделе рассмотрим вторичную переработку ПЭТФ бутылок. За более чем 10 лет массового потребления в России напитков в упаковке из ПЭТФ на полигонах твердых бытовых отходов накопилось по некоторым оценкам более 2 млн. т использованной пластиковой тары, являющейся ценным химическим сырьем. Взрывной рост производства бутылочных преформ, повышение мировых цен на нефть и, соответственно, на первичный ПЭТФ, повлияли на активное формирование в России в 2000 г. рынка по переработке использованных ПЭТФ бутылок.

Существует несколько методов переработки использованных бутылок. Одной из интересных методик является глубокая химическая переработка вторичного ПЭТФ с получением диметилтерефталата в процессе метанолиза или терефталевой кислоты и этиленгликоля в ряде гидролитических процессов. Однако такие способы переработки имеют существенный недостаток - дороговизна процесса деполимеризации. Поэтому в настоящее время чаще применяются довольно известные и распространенные механохимические способы переработки, в процессе которых конечные изделия формируются из расплава полимера. Разработан значительный ассортиментный ряд изделий, получаемых из вторичного бутылочного полиэтилентерефталата. Основным крупнотоннажным производством является получение лавсановых волокон (в основном штапельных), производство синтепонов и нетканых материалов. Большой сегмент рынка занимает экструзия листов для термоформования на экструдерах с листовальными головками, и, наконец, наиболее перспективным способом переработки повсеместно признано получение гранулята, пригодного для контакта с пищевыми продуктами, т.е. получение материала для повторной отливки преформ.

Бутылочный полупродукт может быть использован в технических целях: в процессе переработки в изделия вторичный ПЭТФ можно добавлять в первичный материал; компаундирование - вторичный ПЭТФ можно сплавлять с другими пластиками (например, с поликарбонатом, с ВПЭ) и наполнять волокнами для производства деталей технического назначения; получение красителей (суперконцентратов) для производства окрашенных пластиковых изделий. Также очищенные ПЭТФ хлопья можно непосредственно использовать для изготовления широкого ассортимента товаров: текстильного волокна; набивочных и штапельных волокон - синтепона (утеплитель для зимних курток, спальных мешков и др.); кровельных материалов; пленок и листов (окрашенных, металлизированных); упаковки (коробки для яиц и фруктов, упаковка для игрушек, спортивных товаров и т.д.); литьевых изделий конструкционного назначения для автомобильной промышленности; деталей осветительных и бытовых приборов и др. В любом случае исходным сырьем для деполимеризации или переработки в изделия являются не бутылочные отходы, которые могли пролежать какое-то время на свалке, и представляющие собой бесформенные сильно загрязненные объекты, а чистые хлопья ПЭТФ.

Рассмотрим процесс переработки бутылок в чистые хлопья пластика. По возможности бутылки должны уже собираться в отсортированном виде, не смешиваясь с другими пластиками и загрязняющими объектами. Оптимальным объектом для переработки является спрессованная кипа из бесцветных ПЭТФ бутылок (окрашенные бутылки должны быть отсортированы и переработаны отдельно). Бутылки необходимо хранить в сухом месте. Пластиковые мешки с ПЭТФ бутылками навалом опорожняют в загрузочный бункер. Далее бутылки поступают в бункер-питатель. Питатель кип используется одновременно и как бункер хранения с системой равномерной подачи, и как разбиватель кип. Транспортер, расположенный на полу бункера, продвигает кипу к трем вращающимся шнекам, разбивающим агломераты на отдельные бутылки и подающим их на разгрузочный конвейер. Здесь необходимо разделять бутылки из окрашенного и неокрашенного ПЭТФ, а также удалять посторонние объекты, такие как резина, стекло, бумага, металл, другие типы пластиков. В однороторной дробилке, оборудованной гидравлическим толкателем, ПЭТФ бутылки измельчаются, образуя крупные фракции размером до 40 мм. Измельченный материал проходит через воздушный вертикальный классификатор. Тяжелые частицы (ПЭТФ) падают против воздушного потока на экран вибросепаратора. Легкие частицы (этикетки, пленка, пыль и т.д.) уносятся вверх потоком воздуха и собираются в специальном пылесборнике под циклоном. На виброэкране сепаратора частицы разделяются на две фракции: крупные частицы ПЭТФ "перетекают" через экран, а мелкие частицы (в основном тяжелые фракции загрязнений), проходят вовнутрь экрана и собираются в емкости под сепаратором. Флотационный танк используется для сепарации материалов с разными относительными плотностями. Частицы ПЭТФ опускаются на наклонное дно, и шнек непрерывно выгружает ПЭТФ на водоот-делительный экран.

Экран служит одновременно как для отделения воды, нагнетаемой вместе с ПЭТФ из флотатора, так и для отделения тонких фракций загрязнений. Предварительно раздробленный материал эффективно отмывается в наклонном двухступенчатом вращающемся барабане с перфорированными стенками. Сушка хлопьев происходит во вращающемся барабане, изготовленном из перфорированного листа. Материал перевертывается в потоках горячего воздуха. Воздух нагревается электрическими нагревателями. Далее хлопья попадают во вторую дробилку. На этой стадии крупные частицы ПЭТФ измельчаются в хлопья, размер которых составляет приблизительно 10 мм. Необходимо отметить, что идея переработки состоит в том, что материал не измельчается в хлопья товарного продукта на первой стадии измельчения. Такое ведение процесса позволяет избежать потерь материала в системе, достичь оптимального отделения этикеток, улучшить моющий эффект и уменьшить износ ножей во второй дробилке, так как стекло, песок и прочие абразивные материалы удаляются до стадии вторичного измельчения. Конечный процесс аналогичен процессу первичной воздушной классификации. Остатки этикеток и пыль ПЭТФ удаляются с воздушным потоком. Конечный продукт - чистые ПЭТФ хлопья засыпаются в бочки. Таким образом, можно решить серьезный вопрос утилизации вторичной пластиковой тары с получением продукта. Перспективным способом вторичной переработки ПЭТФ является производство бутылок из бутылок.

Главными стадиями классического процесса рецайклинга для реализации схемы "бутылка к бутылке" являются: сбор и сотрировка вторичного сырья; пакетирование вторичного сырья; измельчение и промывка; выделение дробленки; экструзия с получением гранул; обработка гранул в шнековом аппарате с целью увеличения вязкости продукта и обеспечения стерилизации продукта для возможности прямого контакта с пищевыми продуктами. Но для реализации этого процесса необходимы серьезные капитальные вложения, так как невозможно проведение данного процесса на стандартном оборудовании.

2.3 Переработка отходов поливинилхлорида

Поливинилхлорид и его сополимеры широко применяют в производстве покрытий для полов, стен, мебели, обивочных и галантерейных искусственных кож, пленок, клеенки, обуви, литьевых изделий и т. д. Значительные количества отходов этого полимера образуются как при изготовлении этих материалов, так и при их использовании в промышленности.

Можно выделить три основных направления в использовании отходов ПВХ:

5.      переработка отходов в линолеум, искусственные кожи и пленочные материалы;

6.      химическое восстановление ПВХ композиций с регенерированием, как правило, пластификаторов и ПВХ порошка;

.        использование отходов в различных полимерных композициях.

Примерная схема регенерации отходов искусственных кож и пленочных материалов выглядит так: отходы искусственных кож сначала поступают на измельчение в дробилку, потом промываются в промывочном устройстве. Высушенная крошка по трубопроводу через циклоны направляется на гомогенизацию на рифайнер-вальцы. Полученная гомогенная смесь поступает на экструдер-гранулятор, а оттуда в виде гранул подается в накопительный бункер. Дальнейшая переработка материала проводится с помощью вальцев и каландра. После чего происходит отделка и упаковка. Далее готовая продукция поступает на склад.

Наиболее целесообразно при использовании отходов искусственных кож предварительно отделять пленочное полимерное покрытие от текстильной основы. Такие способы существуют, но, как правило, в связи с большой трудоемкостью применяются редко. Один из способов состоит в пропитке отходов искусственных кож водой, что позволяет снизить прочность связи пленочного покрытия с текстильной основой, после чего их измельчают. При измельчении обработанных водой отходов происходит отделение пленки от основы. Затем смесь разделяют, частицы пленочного покрытия сначала обрабатывают 20%-ным раствором серной кислоты для удаления остатков волокон основы, а затем - щелочным раствором для нейтрализации кислоты и сушат. В результате получают практически исходную поливинилхлоридную композицию, которая пригодна для изготовления лицевого слоя искусственной кожи.

Обычно рулонные материалы с использованием отходов искусственной кожи изготавливают многослойными: лицевой слой делают из композиции, содержащей только первичное сырье, а нижний слой - из 30% первичного сырья и 70% отходов. Содержание отходов в нижнем слое зависит от количества текстильных волокон в них. Если отходы изготовлены из материалов, не содержащих текстильной основы (пленок, листовых материалов, безосновного линолеума), то в этом случае их содержание в нижнем слое может достигать 95 - 100%. При переработке отходов ПВХ необходимо помнить о его недостаточной термостабильности. Поэтому в состав полимерной композиции дополнительно вводят стабилизаторы, а также пластификаторы, которые позволят избежать механодеструкционных процессов. Установлено, что при использовании соответствующих стабилизаторов возможна б-кратная повторная переработка отходов ПВХ практически без изменения его физико-механических свойств.

Искусственная кожа, изготовленная с применением в нижнем слое полимерного покрытия отходов, по свойствам практически не отличается от исходного материала.

Хорошими свойствами обладает трехслойный линолеум, изготовленный с применением гранулята, полученного из отходов искусственной кожи. Содержание регенерированной ПВХ-смеси в таком линолеуме составляет 76 - 85%, волокна 24 - 15%. Нижний слой линолеума изготавливается полностью из вторичного материала, средний слой содержит 75% отходов, а тонкий лицевой слой изготавливают из первичного сырья.

Технологический процесс изготовления линолеума из отходов искусственной кожи осуществляется по схеме, приведенной на рис.4., на оборудовании, обычно используемом в производстве линолеума и искусственной кожи.

Рис.4. Схема процесса производства трехслойного линолеума с применением отходов искусственной кожи

При химическом восстановлении отходов ПВХ материалов с последующим разделением на полимер и пластификаторы можно утилизировать любой тип отходов, в том числе различные пленки, листовые материалы, обивочные, галантерейные, обувные и другие искусственные кожи.

Способ включает следующие стадии:

8.      измельчение отходов, обработку их в полярном растворителе в течение времени, достаточного для полного растворения полимера;

9.      фильтрация полученной смеси и отделение фильтрата, содержащего полимер, от твердого осадка, содержащего нерастворимые компоненты отходов;

.        осаждение полимера из раствора добавлением воды, насыщенного углеводорода, имеющего более низкую температуру кипения, чем использованный растворитель, или смеси указанного углеводорода и алифатического спирта;

.        восстановление осажденного полимера или сополимера.

Схема химической переработки отходов искусственных кож с ПВХ покрытием представлена на рис.5.

Рис.5. Схема химической переработки отходов искусственных кож с ПВХ покрытием

Разрезанные отходы измельчают на мелкие кусочки размером около 3 мм. Затем 40 массовых частей отходов обрабатывают в 100 массовых частях растворителя или смеси растворителей при температуре 50 °С. Применяемые растворители должны в неограниченном объеме смешиваться с водой. Для этого могут быть использованы: формамид, диметилформамид, ацетамид, гексаметилтриамид фосфора, диметилсульфоксид.

Полученный раствор фильтруется. Осадок на фильтре, содержащий кусочки текстильной основы и наполнители полимерной композиции, высушивается и сепарируется.

Фильтрат, содержащий растворенные ингредиенты, при быстром перемешивании обрабатывается водой. Осажденные водой ингредиенты, в том числе ПВХ, проходят обжимные валки, обработка на которых повторяется несколько раз, после чего получают продукт, содержащий 95% твердых веществ и 5% воды и растворителя. Его сушат под вакуумом при температуре 50°С и получают ПВХ композицию, включающую первоначальные ингредиенты и сохранившую свойства исходного материала. Все промывные воды очищают в единой емкости, а полярный растворитель дистилляцией отделяют от воды. Описанный способ дает возможность получать ПВХ композицию, близкую по свойствам к исходной.

При модификации способа вместо воды для осаждения ПВХ используют органические жидкости - ненасыщенные углеводороды (например, гексан, октан, нонан, керосин) или циклические углеводороды как сами по себе, так и смешанные с алифатическими спиртами (метиловым, этиловым). При этой обработке отделяются пластификаторы и антиоксиданты. Полученный осадок содержит в основном ПВХ, термостабилизатор, смазки и пигменты. Пластификатор, термостабилизатор и антиоксидант остаются в растворе. Органическая жидкость отгоняется на последней стадии путем дистилляции, после которой остается смесь пластификатора и растворителя. Смесь разделяют перегонкой. Для экстрагирования пластификаторов применяют метанол, этанол, циклогексанол, циклопентан, гексан, гептан, октан, авиационный бензин, низкокипящий керосин.

Так же можно выделить следующие методы переработки отходов поливинилхлорида:

12.    литье под давлением;

13.    прессование;

.        каландрование.

Исследования показали, что изделия из вторичных ПВХ-материалов удовлетворительного качества можно получить по пластизольной технологии. Процесс включает измельчение отходов пленок и листов, приготовление пасты ПВХ в пластикаторе, формование нового изделия методом литья. Изучение реологии пластизолей на основе вторичного ПВХ ротационной вискозиметрией показало, что вязкость «вторичных» паст так же, как и первичных, при относительно низких скоростях сдвига носит ньютоновский характер, но значение вязкости для пластизолей на основе вторичного сырья заметно выше.

Это объясняется тем, что часть вторичного ПВХ, претерпевая при первичной переработке деструкцию подобно наполненным полимерным композициям. Это вызывает также более раннее по скоростям сдвига отклонение течения «вторичного» пластизоля от ньютоновского. С учетом особенностей вязкостных свойств необходимо корректировать режимы литьевого формирования, в первую очередь, повышать температуру и давление литья (приблизительно до 1 атм). В результате процесс литья становится «низконапорным» по сравнению с литьем первичных пласт, которое принято называть «безнапорным». Повышение энергозатрат при этом незначительно и «перекрывается» экономией сырья за счет использования вторичного материала.

Для переработки отходов наполненных ПВХ-пластиков в общем случае предлагается следующая схема.

Предварительно рассортированные отходы измельчают на ножевых дробилках, вводят в них необходимые добавки и в процессе регрануляции гомогенизируют смесь. Регрануляты перерабатывают на литьевых машинах, получая защитные покрытия для педалей, грязезащитные полотна для грузовых автомобилей и т.д. Изделия обладает гладкой поверхностью, которая может быть окрашена, а также достаточной стойкостью к истиранию и образованию трещин.

Рис.6. Схема впрыска при получении сэндвич - изделий по одноканальной технологии: А - начало процесса; Б - конец процесса

Для переработке отходов методом литья под давлением, как правило, применяют машины, работающие по типу интрузии, с постоянно вращающимся шнеком, конструкция которого обеспечивает самопроизвольный захват и гомогенизацию отходов.

Одним из перспективных методов использования отходов пластмасс является многокомпонентное литье. При таком способе переработки изделие имеет наружный и внутренний слои из различных материалов. Наружный слой - это, как правило, товарные пластмассы высокого качества, стабилизированные, окрашенные, имеющие хороший внешний вид.

Метод двойного вспрыска, применяемый при сэндвич-литье основан на различной скорости затвердевания расплава в центре литьевой формы и у сравнительно холодных ее стенок. Процесс литья осуществляют таким образом, что наружная оболочка изделия изготавливается из тонкого сплошного слоя первичного, а сердцевина - из вторичного сырья. Для этого вначале впрыскивают в форму расплав первичного материала в количестве, не достаточном для заполнения всей полости формы, а затем не прерывая процесса литья, производят впрыск расплава вторичного материала. При этом первичный материал образует сплошной наружный слой будущего изделия, а вся полость формы заполняется вторичным материалом. Схема впрыска по одноканальной технологии показана на рис.6.

Два цилиндра с червяками расположены под прямым углом и снабжены общей головкой, где имеются центральный и кольцевой каналы для первичного и вторичного материалов. Для получения качественных изделий и обеспечения экономичности литья важно определить соотношение доз впрыска первичного и вторичного материалов и установить характер их распределения в различных зонах полости формы, а следовательно, и в изделии. Экспериментальные данные свидетельствуют о том, что содержание вторичного материала в виде внутреннего слоя может достигать 60% от массы изделия, при этом толщина сплошного облицовочного слоя из первичного материала составляет 10-15% от толщины готового изделия.

Переработка термопластов данным методом позволяет значительно экономить дефицитное первичное сырье, сокращая его потребление более, чем в 2 раза. Разработчиком метода и производителем соответствующего оборудования является немецкая фирма «Баттенфельд»

Одним из традиционных методов переработки отходов полимерных материалов является прессование. Помол отходов равномерной толщины на транспортерной ленте подают в печь и расплавляют. Пластицированная таким образом масса затем спрессовывается. Предложенным методом перерабатывают смеси пластмасс с содержанием посторонних веществ более 50 %. Размолотые отходы подают в смеситель, куда добавляют 10 % связующего материала, пигменты, антипирены, наполнители (для усиления). Из этой смеси прессуют пластины в двухленточном прессе. Пластины имеют толщину от 8 до 50 мм при плотности около 650 кг/м³. Благодаря пористости пластины обладают тепло- и звукоизоляционными свойствами. Они находят применение в машиностроении и в автомобильной промышленности в качестве конструкционных элементов. Для улучшения внешнего вида изделий полимерные отходы помещают в емкость, например из полиэтилена, которую устанавливают в форму и прессуют в изделия. При этом емкость разрушается и обволакивает куски отходов на поверхности изделия.

Аналогично при внесении расплава в гнездо формы укладывают пленку, выбранную по цвету и структуре поверхности, и прессование ведут обычным способом. В настоящее время разработан и применяется другой технологический способ, основанный на вспенивании в форме. Разработанные варианты отличаются методами введения порообразователей во вторичное сырье и подводом теплоты. Порообразователи могут быть введены в закрытом смесители или экструдере. Однако производительнее метод формового вспенивания, когда процесс порообразования проводят в прессе (рис.7.)

Рис.7. Пресс-форма для вспенивания отходов ПВХ: 1-датчик давления; 2-термоэлемент; 3-датчик массы; 4-терморегулятор

Существенным недостатком метода прессового спекания полимерных отходов является слабое перемешивание компонентов смеси, что приводит к снижению механических показателей получаемых материалов.

Переработка отходов методом каландрования заключается в каландровании материала (рис. 18) и получении плит и листов, которые применяются для производства тары и мебели. Удобство такого процесса для переработки отходов различного состава заключается в легкости его регулировки путем изменения зазора между валками каландра для достижения хорошего сдвигового и дисперсирующего воздействия на материал. Хорошая пластикация и гомогенизация материала при переработке обеспечивает получение изделий с достаточно высокими прочностными показателями.

Рис.8. Схема переработки отходов ПВХ методом каландрования: 1 - бункер для смеси отходов; 2 - каландр; 3 - смесительные вальцы; 4 - прижимное устройство; 5- намоточное устройство.

Способ экономически выгоден для термопластов, пластицируемых при относительно низких температурах, в основном это мягкий ПВХ.

В таблице 3 перечислены типы пленочных изделий, получаемых из отходов ПВХ.

Таблица 3 Типы пленочных изделий, полученных из отходов ПВХ.

Виды изделия

Материал основы

Масса, 1м², г

Искусственная кожа для одежды Искусственная кожа для сумок, обуви, автомобилей Обои, книжные переплеты Настилы для полов Ленточные транспортеры Изделия типа «сэндвич» Вентиляционные трубы Надувные палатки Крыши теплиц Гидроизоляционные материалы для кровли Брезент для грузовиков Палатки, крыши для кемпинга, палубы для лодок Легкие защитные брезенты, свертывающиеся жалюзи Подложки для ковров Облицовка багажника автомобиля

Натуральные и синтетические ткани, трико, нетканые материалы То же Бумага Войлок, джут, стеклохолст Специальные ткани Натуральные и синтетические ткани Решетчатые стеклоткани Стеклоткани Решетчатые стеклоткани Решетчатые стеклоткани Стеклоткани Стеклополиамидные ткани То же Войлочные ковровые покрытия полов Войлочные, игольнопробивные ковры

100-250 250-800 100-200 800-1200 800-1600 600-1000 600-800 850 300 1000-1800 600-700 250-600 350 1000-2000 1000-2000


Для подготовки отходов искусственных кож и линолеума разработан агрегат немецкой фирмы «Фогель», состоящий из ножевой дробилки, смесительного барабана и трехвалковых рафинировочных вальцев. Компоненты смеси в результате большой фрикции, высокого прессующего давления и перемешивания между вращающимися поверхностями еще больше измельчаются, пластицируются и гомогенизируются. Уже за один проход через машину материал приобретает достаточно хорошее качество. Агрегат имеет производите6льность около 250 кг/ч. Дальнейшую переработку материала можно проводить с помощью экструдеров, смесительных вальцев и каландров.

Выбор технологии переработки поливинилхлорида в пленочные изделия.

Поскольку ПВХ широко применяют при изготовлении рулонных материалов на текстильной основе, ниже мы рассмотрим особенности переработки отходов именно таких текстильно-полимерных материалов, которые образуются в значительных количествах и при изготовлении, и при их применении.

Только на автомобильных заводах России при вырубке деталей обивки и облицовки салонов автомобилей ежегодно образуются сотни тонн отходов искусственных кож и пленочных материалов на основе ПВХ. Такие отходы могут быть использованы для получения вторичных материальных ресурсов и для последующего изготовления из них линолеума, упаковочных пленочных материалов и другой продукции.

Технологический процесс изготовления искусственной кожи и пленочных материалов из отходов осуществляется по схеме представленной на рис.9. По такой схеме можно изготавливать различные покрытия для полов (линолеум, линолеумную плитку), искусственные кожи технического назначения и другие материалы.

Рис.9. Схема производства пленочных изделий из отходов ПВХ: 1-узел сортировки отходов; 2-дробилка; 3-моечная машина; 4-центрифуга; 5-сушилка; 6-вальци; 7-экструзионные прессы; 8-гранулятор; 9-смеситель; 10-каландр;11- намоточное устройство

Отходы искусственных кож сначала поступают на узел сортировки отходов 1. Идеальная сортировка отходов должна обеспечить их разделение не только по видам, маркам и цвету, но и по форме, степени загрязненности, содержанию инородных материалов, физико - механических свойств. Далее на измельчение в дробилку 2. Из дробилки получившаяся крошка выталкивается в накопительную емкость.

При переработке отходов сильно загрязненных ПВХ пленок важным процессом подготовки является их очистка и промывка, которые осуществляются в промывочном устройстве 3, включающем мешалку с вертикальными лопастями. Мешалка расположена таким образом, что весь внутренний объем промывочного устройства делится на две зоны: зону турбулентного потока, который образуется ниже лопастей мешалки, и зону ламинарного потока над ними.

Через дозирующее устройство крошка непрерывно поступает в промывочное устройство 3 сначала в турбулентную зону, а затем в зону ламинарного потока. Отходы всплывают на поверхность промывного раствора, плотность которого больше плотности крошки, и отбираются с помощью специального подъемного устройства.

Улавливающие воронки, расположенные в днище промывочного устройства ниже зоны турбулентности, создаваемой мешалкой, собирают включения, отделенные от крошки, и выводят их через трубопровод. Крошка, поднятая вертикальным транспортером, разгружается на желоб, по которому она стекает во входное отверстие, питающее воздуходувку, и из нее выдувается на вихревое сито. После очистки и промывки отходов вода отжимается на центрифуге 4, и сушатся в сушилке 5. Подсушенная в сушилке 5 крошка падает вниз и захватывается поперечным потоком подогретого воздуха, создаваемым подъемной воздуходувкой. Высушенная крошка по трубопроводу через циклоны направляется на гомогенизацию на рифайнер-вальцы 6. Время обработки на вальцах 6 составляет 1-5 мин, что вполне достаточно для разрушения текстильной основы и гомогенизации смеси. В экструзионных прессах 7 смесь плавится и перемешивается. Полученная гомогенная смесь поступает на экструдер-гранулятор 8. С этой целью разработаны специальные машины и установки для получения вторичного сырья, которое по своим свойствам и размерам соответствует первичному сырью. В смесители 9 вторичное сырье смешивается в заданных пропорциях с первичным. На вальцах сырье снова пластицируется. В каландр 10 поступает ткань, на которую уже наносится рисунок. Готовое изделие наматывается на намоточное устройтво 11. После чего происходит отделка и упаковка. Далее готовая продукция поступает на склад.

Предложенная схема переработки отходов ПВХ улучшает состояние окружающей среды, позволяет экономить первичное сырье и электроэнергию.

3. Выбор технологии переработки отходов полимеров переменного состава

В России ежегодно образуется около 6млн тонн отходов пластмасс в виде использованных бутылок, одноразовой посуды, тары различного вида и т.п. Эти отходы утилизируют путем сжигания или закапывают в землю. При сжигании на свалках, на мусоросжигательных заводах в атмосферу выделяются токсичные продукты, в частности диоксины. Повторное использование этих отходов для изготовления различных изделий приводит к постепенной деградации полимеров и снижению потребительских свойств.

Переработку отходов пластмасс целесообразно организовать следующим образом. Во первых, наладить производство различных изделий, главным образом не пищевого назначения, во вторых, считать основным принципом, которым следует руководствоваться при решении проблемы утилизации полимерных отходов, рациональное использование сохранившихся свойств и, прежде всего, высокой стойкости к климатическим факторам и агрессивным средам. Этот принцип требует применения термомеханических методов переработки малочувствительных к разбросу технологических параметров и загрязненности вторичного полимерного материала и накладывает ограничения на номенклатуру изделий из него. В частности, изделия из полимерных отходов должны иметь достаточно большой срок эксплуатации, по крайней мере не менее 10 лет, чтобы ограничить их попадание на третичную переработку.

Попытка найти эффективное решение проблемы утилизации полимеров привела ученых к идеи использовать технологию получения композитных материалов для производства изделий различного назначения. В настоящее время наибольшее распространение получили неорганические композиты, имеющие либо керамическую, либо металлическую матрицу. Такие композиты относительно дорогие материалы, технология их производства достаточно сложна, используются они преимущественно при производстве тяжело нагруженных изделий ответственного назначения.

3.1 Анализ технологий переработки отходов полимеров переменного состава

. Способ переработки полимерных отходов с получением строительного материала

Изобретение относится к области строительства и может быть использовано при производстве на основе полимерных отходов стеновых, отделочных и дорожно-строительных композиционных материалов для гражданского строительства. В изобретении используют несортированные отходы термопластичных полимеров - ПЭНД, ПЭВД в количестве 10-50%. Отходы предварительно измельчают. Смешивают с глиной влажностью 8-12%. Формуют и прессуют изделие при удельном давлении 10 МПа. Далее проводят температурную обработку со скоростью подъема температуры 20°С/мин. Продолжительность выдержки при температуре плавления полимера - 90-180 мин. Технический результат состоит в снижении энергоемкости, упрощении способа и получении материала с высокими технико-эксплуатационными свойствами.

. Композиционные материалы звукоизоляционного назначения на основе некоторых вторичных полимеров

На основании теоретических и экспериментальных исследований предложена комплексная технология переработки вторичных полимеров с получением товарной продукции востребованных высокоэффективных звукоизоляционных композитов.

Результаты теоретических и экспериментальных исследований используются в производстве с существенным экономическим эффектом.

Объектами исследования являются композиционные материалы на основе вторичных полимеров звукоизоляционного назначения. Рассмотрена принципиально новая технологическая схема переработки отходов. Проведены экспериментальные исследования по переработке отходов пластмасс в звукоизоляционный материал, детально охарактеризован технологический процесс переработки; проведен анализ физико-механических характеристик исследуемого композиционного материала на основе стандартов на продукцию и методов контроля.

. Переработка отходов полимеров в Полимерпесчаную черепицу

Вся невероятность и уникальность этой технологии в том, что сырьё, используемое при производстве полимерпесчаной черепицы полимерные отходы в различных видах: упаковка, пластиковая тара, пришедшие в негодность изделия быта. Недостатка в сырье не предвидится, а наоборот, объёмы полимерных отходов будут только расти, а потребность в строительных материалах только увеличится. Конечно, существуют эффективные технологии их переработки, позволяющие использовать полимеры повторно. Как правило, требуется тщательная сортировка отходов пластмасс, их отмывка, сушка. Это дорогие и трудоёмкие процессы. Да и качество переработанного сырья низкое, и не позволяет использовать его на 100% взамен исходного.

Предлагаемая технология производства полимернопесчаной черепицы из полимерных отходов не предполагает очистку и глубокую сортировку сырья. Предлагается лишь придерживаться соотношения 40-50/60-50 так называемых мягких (полиэтилены) и жёстких (полипропилены, полистиролы, АБС пластики, ПЭТ и пр.) полимеров. В таком примерно соотношении отходы и находятся на свалках. не подходят тугоплавкие полимеры (поликарбонаты, фторопласты) и резины. Легкоплавкие, типа ПВХ, могут частично выгорать, но на качество полимерпесчаной черепицы это не влияет. Также выгорают примеси (бумага, пищевые отходы), испаряется влага.

Кроме отходов полимеров в производстве черепицы требуется песок. Он используется как наполнитель и должен быть сухим, просеянным без глинистых и пылевидных включений. Не имеет значения, какого цвета песок и происхождения. Допустимая фракция песка до 3х мм. Может и использоваться другой наполнитель, более доступный в выбранной местности, но прежде промышленного его использования необходимо исследовать его влияние на качество продукции. Таким образом, эта невероятная новая технология получения стройматериалов из бесплатного сырья.

3.2 Предлагаемая технология переработки отходов полимеров переменного состава в строительные материалы

Широкое применение полимерного сырья в различных отраслях народного хозяйства явилось причиной появления большого количества отходов, представляющих угрозу экологической обстановке. В рамках решения этой проблемы предпринимаются попытки их переработки в строительные звукоизоляционные композиты. Сочетание различных полимеров и вспенивающих добавок приводит к созданию вспененного материала, свойства которого количественно и качественно отличаются от свойств каждого отдельного компонента.

Преимущества вспененного полимерного композита - пористого материала, заключается в уникальном сочетании звукоизоляционных и конструктивных свойств, и ставят его в ряд с долговечными строительными звукоизоляционными материалами. Причинами того, что промышленное производство пеноматериалов из вторичных полимеров до сих пор недооценено и не получило широкого применения в практике строительства, являются не эксплуатационные его характеристики, а технологические особенности переработки вторичных полимеров. Технология переработки полимерных отходов всегда была и остается достаточно сложной и дорогостоящей задачей по сравнению с другими материалами.

В качестве вспенивающего агента применяют отходы ПВХ, при разложении которых образуется газ, с повышением температуры приобретающий большую скорость. В результате вспенивания скорость физических и химических процессов может ускориться или замедлится. Молекулы газа, двигаясь, стремятся найти выход, вследствие чего образуются открытые поры, сообщающиеся между собой, что благоприятно влияет на коэффициент звукоизоляции.

Газообразные продукты термической деструкции полимерных компонентов смесей отходов полимерного состава представляют собой тяжелых газов, таких, как углеводороды фракции С3 - С5, СО2 и т.п., молекулярная масса которых значительно превышает молекулярную массу хлористого водорода - основой газообразного агента, выделяющегося при деструкции поливинилхлорида. Кроме того, высокая текучесть расплава смеси отходов пластмасс приводит к образованию преимущественно открытых ячеек сообщающихся между собой.

Таким образом, полученная композиция имеет высокие звукоизоляционные свойства.

Переработка отходов пластмасс по данной технологии позволяет получить звукоизоляционный материал с характерной пористо-ячеистой структурой, применяемой в строительстве, как в жилых, так и не жилых сооружениях.

Динамические свойства звукоизоляционной композиции: предел прочности при сжатии 0,30 МПа, коэффициент звукопоглощения при частоте 2000Гц - 0,42, средняя плотность 36 кг/м3.

Образцы звукоизоляционных плит соответствуют санитарно-гигиеническому нормативу ГН 2.16. 1338-03.

На рис.10. представлена геометрическая зависимость коэффициентов звукоизоляционных материалов от структурообразующих факторов.

Из этого следует, что при увеличении температуры происходит термическое разложение отходов. Необходимо учитывать, что вспенивающим агентом являются ПВХ, при разложении образуется газ, который диспергирует в полимерном полуфабрикате и создает условия для выделения газовой фазы непосредственно в объем отверждаемого продукта. Известно, что скорость реакции зависит от природы реагирующих веществ, их концентрации, температуры и давления.

Рис.10. Зависимость коэффициента звукопоглощения от температуры, вспенивающего агента ПВХ и давления

В результате повышения температуры до верхнего предела, молекулы газа приобретают большую скорость, за счет давления прилагаемого на композицию. С ростом температуры число активных молекул вспенивающего агента увеличивается, что, и приводит к резкому возрастанию процесса вспенивания. Это, связано с тем, что молекулы газа, обладают достаточной энергией, чтобы создать возможность образования открытых пор, сообщающихся между собой.

При понижении температуры до нижнего предела, вспенивающий агент также подвергается деструкции. При поддержании процесса, при такой температуре смесь композиции приобретает вязкотекучее состояние, что ведет преимущественно к образованию закрытых ячеек, наполненных газом. При таком образовании ячеистого материала физические свойства его меняются.

Известно, что при воздействии температуры и давления в интервалах max и min, смесь композиции приобретает вязкотекучее состояние. К наилучшему результату можно прийти, лишь снизив давление до 7 МПа и повысив температуру в пределах 220-240 0С и ПВХ до 30 %.

Разложение ПВХ начинается, как правило, уже на стадии плавления композиции и завершается при окончательном переходе всей массы в вязкотекучее состояние. Для вспенивания композиции необходимо нужное количество вспенивающего агента ПВХ. Из рисунков 1, 2 видно, что содержание ПВХ влияет на исследуемые факторы.

Пористость вспененных материалов составляет 80%. Следовательно, именно пористость материала обуславливает его звукоизоляционные свойства, и чем выше пористость материала, тем лучшей изолирующей способностью он обладает.

Изменение средней плотности вспененных материалов приводит к изменению исходной пористости, которая, в свою очередь, влияет на звукоизоляционные свойства вспененного композита. Так, если увеличить давление, прилагаемое на композицию в момент формования, то происходит уплотнение порообразований и ячеистая структура образуется в соответствии с заданными нами свойствами, при этом увеличивается разрушающее напряжение композиции. При уменьшении давления наблюдается обратная тенденция.

При сжатии вспененного материала, происходит увеличение площади контакта структурных элементов материала, при этом пористость ячеистой структуры уменьшается. Эти факторы приводят к уменьшению звукоизоляции материала, и увеличивают коэффициент звукопоглощения композиции.

Из сравнительного анализа структурообразующих факторов и количественного содержания полимеров в композиционных материалах можно сделать заключение, что увеличение ПВХ, температуры и уменьшение давления должно изменять коэффициент звукопоглощения, при этом происходит уменьшение средней плотности и предела прочности при сжатии композиций. Принципиальная технологическая схема переработки отходов пластмасс с получением звукоизоляционных материалов представлена на (рис.11.)

Рис.11. Принципиальная технологическая схема переработки отходов пластмасс переменного состава в звукоизоляционный материал

Первая и вторая стадии процесса (рис.11.) включают сортировку отходов по внешнему виду и их классификацию. В результате третьей стадии дробления, отходы пластмасс приобретают размеры (d = 15 мм), достаточные для того, чтобы можно было осуществить четвертую стадию.

Четвертая стадия является одной из наиболее ответственных в процессе. В результате полимерные отходы интенсивно смешиваются при температуре 100-130 0С и приобретают однородную массу.

Пятая стадия необходима для измельчения полимерных отходов в крупнозернистую крупку (d = 0,80 мм). Шестой стадией процесса является плавление и вспенивание гомогенизированной массы (t0 = 220-240 0C).

На седьмом этапе вспененная масса при температуре < 100 0С направляется на формовочный узел. Восьмой заключительной стадией процесса является охлаждение готового изделия.

Рис.12. Аппаратурно-технологическая схема по переработке отходов пластмасс в звукоизоляционную плиту: 1 - бункер-накопитель, 2 - конвейер; 3 - классификатор пластмассовых отходов, 4 - дробилка I, 5 - экструдер, 6 - дробилка II, 7 - плавильно-нагревательная печь, 8 - траспортер, 9 - формовочное устройство, 10 - станок для вертикальной обрезки, 11 - скруббер

Установлено, что коэффициент теплопроводности и звукопоглощения уменьшается с уменьшением плотности материала, как показано на рис.13.

Рис.13. Зависимость звукопоглощения от плотности

Как видно из графиков, с увеличением плотности материала коэффициент теплопроводности и звукопоглощения также увеличивается, что объясняется увеличением доли полимера и уменьшением объема газа в структурах полученного материала. По сравнению с широко используемым для теплоизоляции стеклянным штапельным волокном, коэффициент теплопроводности предлагаемого материала составляет 0,041 Вт/(м∙К), по сравнению с 0,047 Вт/(м∙К) у стеклянного волокна при одинаковой плотности - 30 кг/м3. Это говорит о более эффективном использовании предлагаемой композиции для теплоизоляции. Что касается звукопоглощения, то предлагаемый материал соответствует второму классу ГОСТ 23499-79 «Материалы и изделия строительные, звукопоглощающие и звукоизоляционные. Классификация и общие технические требования».

Таблица. Физико-механические свойства композиционных материалов на основе вторичных полимеров.

Полимеры

Состав композиции, % масс.

Поливинилхлорид

15

20

25

30

Полиэтилен

35

25

15

5

Полиэтилентерефталат

40

45

50

55

Каучук

10

10

10

10

Прочность при сжатии, МПа

0,56

0,51

0,46

0,35

Коэффициент звукопоглощения, α

0,68

0,63

0,52

0,42


Переработка отходов полимеров по данной технологии позволяет получить звукоизоляционный материал с характерной пористо-ячеистой структурой, применяемой в строительстве, как в жилых, так и не жилых сооружениях. Соответствует ГОСТ 12.3.030-83 ССБТ. «Переработка пластических масс. Требования безопасности». Предлагаемая технология улучшает состояние окружающей среды, позволяет экономить первичное сырье и электроэнергию.

Заключение

В данной работе я провел анализ основных видов отходов полимеров, способов их сокращения, утилизации и обезвреживания. Изучил методы переработки отходов полимеров в полимерное сырье и повторное его использование для получения изделий. Предложить технологическую схему переработки отходов полимеров переменного состава. Переработка отходов пластмасс по данной технологии позволяет получить звукоизоляционный материал с характерной пористо-ячеистой структурой, применяемой в строительстве, как в жилых, так и не жилых сооружениях. Предлагаемая технология улучшает состояние окружающей среды, позволяет экономить первичное сырье, электроэнергию и перерабатывать отходы полимеров переменного состава, которые не подлежат утилизации известными способами.

Список литературы

.Бобович Б. Б. Переработка промышленных отходов: Учебник для вузов. - М.: "СП Интермет Инжиниринг", 1999. - 445 с.

.Вторичное использование полимерных материалов , Под ред. Е.Г. Любешкиной.- М.: Химия, 1995. -51с.

.Зорин В.П., Лубенская С.А. Использование вторичного полимерного сырья, Химическая промышленность: Обзорная информация.-Сер. Переработка пластмасс. С.17

.Лебедева Т.М., Шалайкая С.А. Переработка вторичного поливинилхлоридного сырья. -Л.: О-во «Знание» РСФСР, ЛО, ЛДНТП,1991.-24с., ил.

.Лукасик В.А. Разработка технологии переработки высокомолекулярных отходов.- Волгоград, 1998.

.Новый способ захоронения отходов: Экспресс-инф. "Ресурсо-сберегающие технологии". - М.: ВИНИТИ, 1996. - № 1. - С. 25 - 26.

.Переработка отходов термопластов / Л. М. Варданян, А. Ф. Пиняев, В. И. Жданова и др. Обзор, инф. - М.: НИИТЭИхимпром, 1985. - 50 с.

.Сметанин В.И. Защита окружающей среды от отходов потребления

.Тороян, Р.А. Технология переработки отходов пластмасс в тепло- и звукоизоляционные материалы / Р.А. Тороян, В.И. Каблуков // Сбор. науч. тр. аспирантов и студентов ЮРГТУ (НПИ) «Студенческая научная весна - 2007» / Юж.-Рос. гос. техн. ун-т. - Новочеркасск: ЮРГТУ (НПИ), 2007. - С. 327-329.

.www.fips.ru Способ переработки полимерных отходов с получением строительного материала.

.Состояние и перспективы развития вторичной переработки и утилизации полимерных материалов. http://www.polimech.com/theory.html

.Полимерпесчаная черепица. http://cherepitza.boom.ru/

.Тороян, Р.А. Способ переработки отходов пластмасс в строительный материал / В.И. Каблуков, Р.А. Тороян // Экология и промышленность России. - № 1. - 2007. - С. 20-21.

.Способ переработки отходов пластмасс в строительный материал: пат. № 2302433 Рос. Федерация, МПК C 08 J 11/04 / В.В. Фомин, В.И. Каблуков, Р.А. Тороян, А.Н. Ожев, патентообладатель Кубанский государственный аграрный университет. - № 2006117965/04; заявл. 24.05.06; опубл. 10.07.2007. Бюл. № 19. - 3 с.

.Способ изготовления строительного материала: пат. №2302434 Рос. Федерация, МПК С08 L 23/06/ В.В. Фомин, В.И. Каблуков, Р.А Тороян, патентообладатель Кубанский государственный аграрный университет. - № 2006117933/04; заявл. - 24.05.06; опубл. 10.07.2007. Бюл. № 19. - 3 с.

Похожие работы на - Переработка отходов полимеров

 

Не нашли материал для своей работы?
Поможем написать уникальную работу
Без плагиата!
Без нейросетей!