|
Признак
|
Тип модели
|
|
I
|
По типу системы снабжения
|
1. эшелонированные
(многоэтапные) 2. децентрализованные
|
|
II
|
По числу хранимого сырья
|
1. многокомпонентные 2.
однокомпонентные
|
|
III
|
По спросу
|
1. детерминированная: · дискретная ·
непрерывная 2. случайная
(вероятностная): · дискретная · непрерывная
|
|
IV
|
По способу поставки сырья
|
1. мгновенная 2. с
фиксированным временем задержки 3. со случайным временем задержки
|
|
V
|
По видам затрат и способам
их отражения в модели
|
1. линейная 2. нелинейная
|
По ограничениям системы
снабжения
|
1. по объему 2. по весу 3.
по площади 4. по себестоимости 5. по числу поставщиков
|
|
VII
|
По принятой стратегии
управления
|
1. периодические (с
периодом контроля Т) 2. по критическим уровням и объему. Н - верхний уровень;
n - нижний уровень запасов; q - объем партии (поставок).
|
. Стратегия управления заготовками.
Оптимальное управление заготовками - выбор таких объемов и моментов
поставок, когда суммарные издержки на функционирование системы снабжения будут
минимальными.
4. Детерминированная модель управления запасами с
фиксированным спросом.
Данная модель называется моделью экономики выгодных размеров поставок.
Начальные условия (ограничения):
1. Известны моменты поступления заявок.
2. Интенсивность расходования ресурсов (скорость).
. Поставки мгновенны. 4. Отсутствие дефицита.
Введем обозначения:
b - интенсивность спроса; k - затраты на оформление;- затраты на хранение
единицы продукции в единицу времени;
q
- объем поставок (размер партии сырья);
- период
времени, в течение которого полностью расходуется сырье.(q) - суммарные затраты
на функционирование системы снабжения
/2
- оптимизация ведется по среднему уровню; * - оптимальный размер заказа.
Для
нахождения F* нужно взять частную производную целевой функции F(q) по
оптимизационному параметру q.
Из
данной формулы находим q*:
формула
Уилсона (оптимального заказа).
Данный
заказ необходимо разместить для выполнения через время
Оптимальные
затраты можно определить по формуле
- это
затраты на единицу продукции.
5. Модель управления заготовками при случайном спросе
В данном случае интенсивность расходования ресурсов b - величина случайная со своим
законом распределения, то есть известно P(b), F(b) ,
тогда в данной ситуации возможны случаи:
1)
q - b > 0
)
- затраты на хранение единицы продукции в единицу времени; - затраты на
размещение (оформление) ресурсов, сырья.
Так как b - величина
случайная, то ( q - b )
и (b - q) будут величины случайные,
поэтому оптимизация и функция цели будут находится как для случайных величин.
Функция цели будет представлять собой математическое ожидание от суммы
слагаемых. Одно из них представляет собой математическое ожидание затрат на
размещение заказа; другое математическое ожидание затрат на хранение ресурсов.
Известно,
что оптимальное размещение запасов можно найти из системы неравенств:
Методом
линейной интерполяции определяется q*.
6. ЭММ управления запасами с ограничениями на складские
помещения
Данная модель многопродуктовая с n-видами сырья.
Введем обозначения для данной модели:
qi
- размер объема заказа на сырье i - вида (
);
А
- максимальный размер складских помещений для сохранения n-видов продукции;
аi
- размер площади, необходимой для хранения продукции i - вида;
bi - интенсивность спроса на сырье i - вида;i
- затраты на размещение заказа на поставку сырья, продукции i - вида;i
- затраты на сохранение единицы сырья (продукции) i - вида.
Данная
модель от вышеизложенной отличается наличием ограничений на складские помещения
и выглядит так:
i
/ 2 - оптимизация по среднему уровню запасов
Данная ЭММ решается с помощью метода множителей Лагранжа. Полученная
функция путем добавления в целевую функцию слагаемого, состоящего из системы
ограничений и множителя l,
называется Лагранжианом.
(*)
Для
того, чтобы найти qi* и оптимальное значение l*, необходимо взять частные производные по qi и l Лагранжиана (*).
(1)
(2)
из
формулы (1) определяем
- оптимальный размер заказа.
Оптимальный размер заказа при
ограничении ai определяется путем последовательного
расчета для разных значений qi и l. Методом линейной интерполяции по значениям, представленным
в промежуточной таблице, находится коэффициент l и оптимальное значение qi*.
Ситуация 1
Определить годовую стоимость перевозки элементов снабжения (ЭСн) от рынка
1 к подсистеме снабжения (ПСн) предприятия, если известно, что:
ко всем точкам есть дороги;
-
используется транспорт сторонней организации, которая «выставила» тариф
долл. США/т-км.;
в
стоимость не входит холостой пробег от АТП до ПСН;
движение
начинается от ПСн;
машины
загружаются до полной грузоподъемности;
в
каждой из точек маршрута А(60,300), Б(60,220), В(100,120) машина забирает 1/3
часть груза;
координаты
ПСн (220,120);
интенсивность
потока 2,8 т/день.
Построить
график оптимальной траектории движения транспорта в декартовой системе
координат (длина маршрута должна быть минимальной).
Решение
Построим
в декартовой системе координат точки А, Б, В и подсистему снабжения ПСн (Рис.
1.1).
Рис. 1.1.
План расположения ПСн и пунктов загрузки
Сначала машина должна отправиться из ПСн в точку А, так как расстояние до
этой точки наибольшее, плата за пустую машину отсутствует.
Закончить загрузку машина должна в точке В, так как эта точка ближайшая к
ПСн.
Таким образом, получаем последовательность движения машины:
.
Рассчитаем
расстояния:
Рассчитываем
годовую стоимость перевозок:
.
Построим
график оптимальной траектории движения машины (рис. 1.2).
Рис.
1.2. График оптимальной траектории движения машины
Ситуация 2
Построить ежемесячный график управления запасами ЭСн в ПСн, если
известно, что:
подсистема производства (ПП) потребляет ежедневно (в рабочие дни) такое
количество ЭСн, которое определяется делением ежемесячного объема потока на 22
рабочих дня;
страховой запас должен соответствовать 3-х дневной норме потребления ЭСн
ПП;
страховой запас был создан ранее, до начала исследования, и в объем
потока, который можно рассчитать, исходя из данных (интенсивность потока равна
2,8 т/день) не входит:
пороговый уровень запаса равен ½ уровня поставок;
время доставки 2 дня;
на графике изобразить одну задержку в пути, равную 0,5 дней.
Решение
Подсистема производства потребляет
ежедневно:
тонн.
Страховой
запас составляет:
тонн.
Пороговый
уровень запаса:
тонн.
Составим
таблицу значений величин запаса в каждый день месяца.
Считаем,
что месяц начинается с понедельника.
логистика перевозка товар запас
Таблица 2.1
Ежедневное
состояние запасов
|
День месяца
|
Запас, тонн
|
|
1
|
7,64
|
|
2
|
3,82
|
|
3
|
2,8
|
|
4
|
1,78
|
|
5
|
0,76
|
|
6
|
3,56
|
|
7
|
6,36
|
|
8
|
5,34
|
|
9
|
4,32
|
|
10
|
3,3
|
|
11
|
2,28
|
|
12
|
1,26
|
|
13
|
4,06
|
|
14
|
6,86
|
|
15
|
5,84
|
|
16
|
4,82
|
|
17
|
3,8
|
|
18
|
2,78
|
|
19
|
|
20
|
4,56
|
|
21
|
7,36
|
|
22
|
6,34
|
|
23
|
5,32
|
|
24
|
4,3
|
|
25
|
3,28
|
|
26
|
2,26
|
|
27
|
5,06
|
|
28
|
7,86
|
|
29
|
6,84
|
|
30
|
5,82
|
Рис. 2.1.
График управления запасами
Ситуация 3
Построить график управления запасами в Пен за год и определить средний
уровень запасов ЭСн по формулам:
среднего арифметического поставок;
трапеций.
Сравнить результаты, сделать вывод.
Известно, что:
время задержки доставки - 2 дня;
задержка в пути 0,5 дней;
пороговый уровень запаса равен ½ поставок.
Решение
Месячная сумма поставок равна: 132,14 тонн.
Вычислим
средний суточный уровень запасов по формуле среднего арифметического:
тонн.
Вычислим
средний суточный уровень запасов по формуле трапеций:
тонн.
Составим
таблицу с помесячными объемами поставок.
Вычисленные
величины немного отличаются, боле точной с точки зрения статистики является
среднее арифметическое значение. Более точным с хронологической точки зрения
является среднее значение, вычисленное по формуле трапеций.
Таблица
3.1. Помесячные объемы поставок
|
Месяц
|
Объем поставок, тонн
|
|
Январь
|
136,54
|
|
Февраль
|
123,33
|
|
Март
|
136,54
|
|
Апрель
|
132,14
|
|
Май
|
136,54
|
|
Июнь
|
132,14
|
|
Июль
|
136,54
|
|
Август
|
136,54
|
|
Сентябрь
|
132,14
|
|
Октябрь
|
136,54
|
|
Ноябрь
|
132,14
|
|
Декабрь
|
136,54
|
Составим годовой график поставок.
Рис. 3.1.
Годовой график поставок
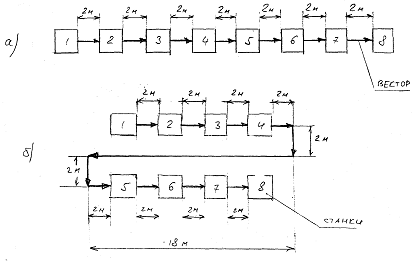
Ситуация 4
Сравнить две схемы перемещения предметов труда в ПП, подсчитав
энергетический аспект логистической системы (без энергии, что идет на
технологические операции), если известно, что:
вес ЭП составляет 28 кг.;
логистические операции выполняются там, где на схеме изображены векторы
перемещений от одного станка к другому;
сила, с которой перемещают ЭП, равна F=28 н.;
- потенциальная энергия определяется, исходя из того, что ЭП поднимает
механизм на высоту h=1,3 м.;
исследования проводить в течение месяца.
А) схема прямоточной технологической линии;
Б) схема технологической линии с 2-мя ветвями.
Решение
Подсчитаем энергию, необходимую для перемещения предметов труда по схеме
прямоточной технологической линии:
кДж.
Подсчитаем
энергию, необходимую для перемещения предметов труда по схеме технологической
линии с двумя ветвями:
кДж.
Сравнивая
полученные результаты, приходим к выводу, что энергетический аспект в случае
схемы прямоточной технологической линии имеет меньшее значение, чем в случае
технологической линии с двумя ветвями.
Таким
образом, необходимо отдать предпочтение прямоточной технологической линии.
Ситуация 5
В ПП между цехами 1…4 существует определенная взаимосвязь. Необходимо
обеспечить одновременную выдачу продукции цехами 2, 3, 4, чтобы во всех цехах
не оставалось запасов.
Работу цехов 2, 3, 4 обеспечивает цех 1.
На какой день работы цехов запасы окончатся во всех цехах, если известно,
что:
запас цех 1 равен 132 шт.;
запасы цехов 2, 3, 4 составляют соответственно 40, 100, 80 шт.;
ежедневно цеха 2, 3, 4 выдают в подсистему сбыта (ПСб) соответственно 20,
80, 25 шт.;
Рис. 5.1.
Схема движения МИЛМП между цехами и подсистемами
Решение
Спланируем потоки таким образом, чтобы тот момент времени, когда запасы
закончатся во всех цехах, настал как можно позже.
Запасов
цеха 2 хватит на:
дня.
Запасов
цеха 3 хватит на:
дня.
Запасов
цеха 4 хватит на:
дня.
Как
видим, критическим местом является цех 3.
Имеющиеся
в наличии 132 детали продлят работу цеха 3 на срок:
дней.
Таким
образом, наибольший срок, через который закончатся запасы, равен 2,9 дней.
Ситуация 6
Построить два месячных графика управления запасами в ПСб:
график с фиксированным объемом выдачи элементов сбыта (ЭСб) - через 7
дней (выдача в понедельник) и со сменной величиной объема заказа;
график с постоянным объемом выдачи, если известно, что:
в месяц выдается 100 % объема потока (2,8*30=84 тонн);
В каждый понедельник выдается 40%, 20%, 20%, 20% потока;
начальный уровень запаса равен ¼ интенсивности потока за месяц, т. е.
84/4=21 тонн;
объем постоянной выдачи равен ¼ месячной выдачи;
периоды выдачи: 10-й, 15-й, 25-й, 30-й дни месяца.
Решение
Составим таблицы, в которых занесены объемы и даты выдачи.
Таблица 6.1
Выдача с
фиксированным интервалом времени
|
День выдачи
|
Объем выдачи
|
|
1
|
84*0,4=33,6
|
|
8
|
84*0,2=16,8
|
|
15
|
84*0,2=16,8
|
|
22
|
84*0,2=16,8
|
Таблица 6.2
Выдача с фиксированным объемом
|
День выдачи
|
Объем выдачи
|
|
10
|
84/4=21
|
|
15
|
84/4=21
|
|
25
|
84/4=21
|
|
30
|
84/4=21
|
Строим графики.
Рис. 6.1. График выдачи с фиксированным интервалом времени

Ситуация 7
Построить эпюры грузопотоков ПСб и в ПС в координатах:
ОХ - расстояние (км); ОУ - количество перевозимого груза (тонн).
Подсчитать грузопотоки из ПСб и в ПСН, после чего определить коэффициент
неравномерности грузопотоков 2-х направлений, если известно, что:
месячный объем потока 84 тонн;
расстояние, где машина разгружается от ПСб (км): 60, 100, 200;
в точках 80, 140, 200 она загружается грузом для ПСн;
в точку 60 км необходимо доставить 40% объема МП и забрать 25% из точки
80 км;
в точку 100 км необходимо доставить 20% и забрать 15% из точки 140 км;
В точку 200 км необходимо доставить 40 % и забрать 20%.
Решение
Строим эпюру грузопотоков
Рис. 7. Эпюры грузопотоков
Рассчитаем коэффициент неравномерности грузопотоков:
Таким
образом, коэффициент грузопотоков является достаточно высоким, что
свидетельствует о несовершенстве логистической системы предприятия.
Выводы
В процессе выполнения курсовой работы были исследованы различные
ситуации, связанные с логистическими операциями на конкретных предприятиях,
цехах, участках.
В ходе изучения этих ситуаций были выявлены сильные и слабее стороны
логистических систем предприятий. В некоторых ситуациях даны количественные
оценки результатов деятельности логистических систем. В некоторых ситуациях был
проведен сравнительный анализ различных вариантов таких систем, даны
рекомендации по оптимальному использованию грузопотоков.
Практическое изучение таких ситуаций позволяет в будущем повысить
эффективность деятельности логистических систем предприятий.
Использованная литература
1. Анікін
Б.А. Логістика. - М.: ИНФРА, 1997.
2. Бернес
В., Хивранек П. Руководство по оценке эффективности инвестиций. - М.: ИНФРА - М, 1995. - 204с.
. Глогусь
О. Логістика. Навчальний посібник для студентів економічних спеціальностей. -
Тернопіль: Економічна думка, 1998.
. Голиков
Е.А. Маркетинг и логистика. - М.: Изд. дом “Дашков и К”, 1999.
5. Економіка
підприємства: Підручник\ за заг. Ред. С. Ф. Покропивного. - Вид. 2 - ге,
перероб. та доп. - К.: ККНЕУ, 2001. - іл.
6. Кальченко
А.Г. Логистика: Учебник для вузов. - К.: Знание, 1999.
. Кальченко
А.Г. Логістика: Навч. посібник. - К.: КДЕУ, 1997
8. Конспект
лекций „Промышленная
логистика» - адаптированный перевод, сокращение и обработка Проскурякова А.В.,
Моисеева Н.К., Саврукова Н.Т., Пилищенко А.Н. - Санкт - Петербург -
«Политехника», 1994, 165 с.
. Ладанов
И.Д. Практический менеджмент. -М. 1995. -491 с.
. Логистика.
Шевалье, Вань, Сер жЛакрамп. М.: Издательство АО „Консалтбанкир”, 1997. - 110с.
. Логістика.
О. Глогусь, Тернопіль, Економічна думка, - 1998. - 106с.
. Майталь
Ш. Экономика для менеджеров Учебник. - пер. с англ. - М.: «Инфра-М», 1993. -
306с.
. Менеджмент
для магистров: Учебное пособие\ Под. ред. д.э.н., проф. Епифанова, д.э.н.,
проф. С.Н. Козьменко. - Сумы: ИТД „Университетская книга”, 2003. - 726с.
14. Тян
Р.Б. Холод Б.І.
Управління проектами: Підручник. - Київ: Центр навчальної літератури, 2003. -
224с.