Производство детали
Введение
Отрасль науки, занимающейся исследованием закономерностей
технологических процессов изготовления машиностроительных изделий, с целью
использования результатов изучения для обеспечения требуемого качества и
количества изделий с наивысшими технико-экономическими показателями, называется
технологией машиностроения.
Объектом технологии машиностроения является технологический
процесс, а предметом установление и исследование внешних и внутренних связей,
закономерностей технологического процесса. Только на основе их глубокого
изучения возможно построение прогрессивных технологических процессов,
обеспечивающих изготовление изделий высокого качества с минимальными затратами.
Современная технология развивается по следующим основным
направлениям: создание новых материалов; разработка новых технологических
принципов, методов, процессов, оборудования; механизация и автоматизация
технических процессов, устраняющая непосредственное участие в них человека.
Технологический процесс и орудия труда тесно взаимосвязаны. Если осуществление
технологического процесса порождает необходимость изготовления орудия труда,
являясь причиной их появлении, то развитие и совершенствование орудий труда в
свою очередь стимулирует совершенствование самого процесса. Формирование технологии
машиностроения как отрасли знания началось с появлением крупного
машиностроения. Большой вклад в её развитие внесли русские умельцы Андрей
Чохов, М.В. Сидоров, Я. Батищев, А.К. Нартов и многие другие. Так, например,
А.К. Нартов (1680-1756 гг.) разработал ряд технологических процессов
изготовления оружия, монет, создал оригинальные станки и инструменты.
1.
Описание детали. Анализ технологичности её конструкции
Деталь втулка представляет собой деталь типа тела вращения,
изготовленная из материала сталь 40Х ГОСТ 4543-71. С одной стороны она имеет
шейку диаметром 40h7, которая крепиться к другой детали при помощи резьбовых
отверстий на базовом торце. С другой - шейку диаметром 61h6, которая так же
крепиться к другой детали при помощи резьбовых отверстий на квадрате. Втулка
имеет ступенчатое сквозное отверстие, с канавками под резину для штока, который
ходит внутри втулки, распределяя жидкость По наружной поверхности втулки
имеются два конических резьбовых отверстия к1/8».
Таблица 1. Характеристика материала Стали 40Х ГОСТ 4543-71
|
Модуль
упругости нормальный, МПа
|
216000
|
|
Относительное
сужение, %
|
45
|
|
Относительное
удлинение послеразрыва, %
|
10
|
|
Плотность, кг/м3
|
7850
|
|
Предел
прочности, МПа
|
9,8е+008
|
|
Предел
текучести, МПа
|
7,8е+008
|
|
Свариваемость
|
Трудносвариваемая
|
|
Содержание
кремний (Si), %
|
0,17 - 0,37
|
|
Содержание
марганца (Mn), %
|
0,5 - 0,8
|
|
Содержание
углерода (C), %
|
0,36 - 0,44
|
|
Содержание
никеля (Ni)
|
0 - 0,3
|
|
Содержание
азота (N)
|
0 - 0,008
|
|
Содержание
фосфора (P)
|
0 - 0,035
|
|
Содержание серы
(S)
|
0 - 0,035
|
|
Содержание
хрома (Cr), %
|
0,8 - 1,1
|
|
Твердость по
Бринеллю (закалка 850оС), НВ
|
552
|
|
Твердость по
Бринеллю (отжиг), НВ
|
217
|
|
Температура
ковки, град С
|
1250 - 800
|
|
Температура
коэффициента линейного расширения (20-200оС), 1/оС
|
1,22е-005
|
|
Температура
коэффициента линейного расширения (20-100оС), 1/оС
|
1,18е-005
|
|
Теплопроводность
(200оС), Вт/м*К
|
43
|
|
Теплопроводность
(100оС), Вт/м*К
|
46
|
Технологичность (ГОСТ 14202-82) - свойство конструкции
удовлетворять требованиям наименьшей трудоемкости и металлоемкости.
деталь
технологичность заготовка станок
Таблица
2. Анализ технологичности конструкции
|
№
поверхности
|
Наименование
|
IT
|
Ra
|
|
13,47
|
Фаска 0,6´45
|
H14
|
10
|
|
54,58
|
Фаска 2´45
|
H14
|
10
|
|
36,55
|
Фаска
|
1Ч45 h11
|
2,5
|
|
1
|
Наружный Æ
|
36 h14
|
10
|
|
2
|
Наружный Æ
|
40 h7
|
1,25
|
|
3
|
Внутренний Æ
|
20,4 H11
|
2,5
|
|
4
|
Наружный Æ
|
55 h14
|
10
|
|
5,9
|
Внутренний Æ
|
41Н11
|
10
|
|
6
|
Наружный Æ
|
60 h14
|
10
|
|
7
|
Наружный Æ
|
56 h14
|
10
|
|
8
|
Внутренний Æ
|
40,41 H11
|
2,5
|
|
9
|
Внутренний Æ
|
41Н14
|
10
|
|
10
|
Внутренний Æ
|
50Н11
|
10
|
|
11
|
Наружный Æ
|
61 h6
|
2,5
|
|
12
|
Наружный Æ
|
89 h14
|
10
|
|
14
|
Расстояние от
торца до начала лыски
|
4 H14
|
10
|
|
15,22
|
Габаритные
размеры
|
59 H14
|
-
|
|
16
|
Расстояние от
торца до лыски
|
40 H14
|
-
|
|
18
|
Длина
|
24 Н11
|
2,5
|
|
19
|
Расстояние от
торца, до оси отверстия
|
35 h14
|
-
|
|
20,30
|
Ширина канавки
|
13 Н14
|
10
|
|
21
|
Расстояние от
базового торца до канавки
|
2 h6
|
2,5
|
|
17,23,34,46,33,49,50,51
|
Отверстия
резьбовые
|
М6-7Н
|
5,0
|
|
24
|
Длина резьбы
|
11 Н7
|
5,0
|
|
25
|
Длина
резьбового отверстия
|
15 Н14
|
5,0
|
|
26
|
Расстояние от
торца до канавки
|
25 h14
|
10
|
|
27
|
Сторона канавки
|
8 h14
|
10
|
|
28
|
Габаритный
размер
|
10 Н12
|
2,5
|
|
29
|
Расстояние от
базового торца, до начала канавки
|
4 Н11
|
2,5
|
|
31
|
Ширина квадрата
|
6 h14
|
10
|
|
32
|
Расстояние от
торца, до квадрата
|
9 h6
|
2,5
|
|
35
|
Линейный
габаритный размер
|
112 Н14
|
10
|
|
37
|
Длина отверстия
от торца до канавки
|
3 H14
|
10
|
|
38,48
|
Конические
резьбовые отверстия
|
К 1/8 «’G7
|
5,0
|
|
39
|
Угол между
плоскостью симметрии и центром отверстия
|
75±0,2
|
-
|
|
40
|
Межосевое
расстояние
|
55±0,2
|
-
|
|
41
|
Угол, между
осью детали и осью отверстий
|
45°
|
-
|
|
42,43
|
Габаритный
размер квадрата
|
70 h14
|
10
|
|
44,45
|
Угол канавки
|
30°
|
-
|
|
52,56,59
|
Ширина внутренней
канавки
|
6,6 Н12
|
2,5
|
|
53
|
Внутренний Æ
|
32 Н12
|
2,5
|
|
57,66
|
Внутренний Æ
|
52 Н12
|
2,5
|
|
60
|
Наружный Æ
|
56,8 h11
|
2,5
|
|
61,62
|
Угол
призматической канавки
|
0…5°
|
2,5
|
|
63
|
Ширина канавки
|
4 Н12
|
2,5
|
|
64,65
|
Лыска
|
1,5 h14
|
10
|
Коэффициент унифицированных элементов
вычисляем по формуле:
(1)
где
- количество унифицированных элементов
детали;
- общее количество элементов
Деталь технологична.
Коэффициент унификации по шероховатости вычисляем по формуле:
(2)
где
- коэффициент шероховатости
= 25·10+19·2,5+12·5+1·1,25 = 358,75 (3)
Деталь технологична.
Коэффициент точности вычисляем по формуле:
(4)
= 27·14+8·12+10·11+14·7+3·6 = 700 (5)
.
Характеристика заданного типа производства
Тип производства - классификационная категория производства,
выделяемая по признакам широты номенклатуры, регулярности, стабильности и
объёма выпуска продукции. В машиностроении различают следующие типы производства:
единичное, мелкосерийное, крупносерийное и массовое.
Приближенно тип производства можно оценить по табл. 1.1, в
которой указывается количество обрабатываемых в год деталей одного наименования
и типоразмера.
Таблица 3
|
Тип
производства
|
Количество обрабатываемых
в год деталей одного наименования и типоразмера, шт.
|
|
крупных
|
средних
|
мелких
|
|
Единичное
Серийное Массовое
|
до 5 5…1000
более 1000
|
до 10 100…5000
более 5000
|
до 100 100…50
000 более 50 000
|
Серийное производство характеризуется изготовлением или
ремонтом изделий, периодически повторяющимися партиями. Различают мелко-,
средне-, и крупносерийное производство.
Серийное производство имеет свои особенности:
· наряду с универсальным станками широко
применяют и высокопроизводительные специальные станки;
· кроме нормализованной и универсальной
оснастки применяют быстродействующие рабочие приспособления и специальный
инструмент и т.д.;
· оборудование располагают не только по
групповому признаку, но и по потоку;
· рабочие специализируются на выполнении
нескольких операций;
· средняя себестоимость изделий.
.
Выбор и технико-экономическое обоснование метода получения заготовки
При разработке технологического процесса одной из первых
решается задача выбора заготовки.
Выбрать заготовку - значит установить способ её получения,
назначить припуски на обработку каждой поверхности, рассчитать размеры
заготовки и указать допуски на неточность её изготовление.
Выбор метода получения заготовки зависит от материала детали,
её конструктивных форм и других факторов. Необходимо стремится к тому, чтобы
форма и размер заготовки были близки к форме и размеру готовой детали, это
уменьшает трудоемкость механической обработки, сокращает расход материала,
режущего инструмента и электроэнергии.
Для данной информации и типа производства вариантов получения
заготовки два:
прокат;
штамповка.
Расчёт проката
Припуск на Æ89 мм - 1,2 (черновая обработка)
[1, стр. 158, таблица 7.1]
Припуск на длину 112 мм - 1,9 ± 0,40 (черновая обработка)
[1, стр. 179, таблица 7.2.8]
Общий припуск на длину 112 мм: 1,9+0,4 = 2,3±0,25
Выбор заготовки:
Æ89 + 1,1 = 90,2 (мм)
Принимаем Æ92 по ГОСТ 2590 [2, стр. 301, таблица 2.71]пр =
112+2,3*2+5 = 121,6 ≈ 122 (мм)
мм - на отрез
С помощью CAD/CAM системы - ЗАО «Аскон» Компас-3D v.11, была
построена 3D модель и рассчитана её масса.
= 6314 г = 6,314 кг
(6)
Расчёт штамповки
Класс точности: Т4 [2, стр. 268, таблица 2.39]
Предварительная масса поковки:
(7)
- расчётный коэффициент
= 1,5
(8)
mп = 1,282*1,5= 1,923 (кг)
Степень сложности: С1 [2, стр. 270]
Группа стали: М1 [1, стр. 100]
Исходный индекс: 10 [2, стр. 273, табл. 2.42]
Основные припуски на механическую обработку поковки (на
сторону) в мм.
Таблица 3
|
Размеры (мм)
|
Припуск (мм)
|
|
Æ89
|
1,5*2 = 3,0
|
|
Æ65
|
1,5*2 = 3,0
|
|
Æ61
|
1,5*2 = 3,0
|
|
Æ40
|
1,4*2 = 2,8
|
|
112
|
1,6*2 = 3,2
|
|
99
|
1,5
|
|
96
|
1,5*2 = 3,0
|
|
70
|
1,5*2 = 3,0
|
|
9
|
1,4
|
|
6
|
1,5
|
С помощью CAD/CAM системы - ЗАО «Аскон» Компас-3D V.11, была построена 3D
модель и рассчитана её масса.
= 3000г = 3,0кг
(9)
Вывод:
сравнив
заготовки из проката и штампованной
заготовки, а так же учитывая серийность производства и себестоимость заготовки.
Выбираем штампованную заготовку, т.к.
штампованной заготовки больше,
проката в два раза.
.
Разработка проектного технологического процесса
Таблица 5. Технические условия на деталь и методы их
обеспечения
|
№
|
Наименование
|
Параметры
|
Метод
обеспечения
|
|
|
IT
|
Ra
|
|
|
1
|
Наружный Æ
|
36 h14
|
10
|
Черновое
точение
|
|
2
|
Наружный Æ
|
40 h7
|
1,25
|
|
3
|
Внутренний Æ
|
20,4 H11
|
2,5
|
Сверлить,
зенкеровать
|
|
4
|
Наружный Æ
|
55 h14
|
10
|
Черновое
точение
|
|
5
|
Внутренний Æ
|
41Н11
|
10
|
Прорезка
канавки
|
|
6
|
Наружный Æ
|
60 h14
|
10
|
Черновое точение
|
|
7
|
Наружный Æ
|
56 h14
|
10
|
Черновое
точение, прорезка канавки
|
|
8
|
Внутренний Æ
|
40,41 H11
|
2,5
|
Черновое
точение, чистовое точение
|
|
9
|
Внутренний Æ
|
41Н14
|
10
|
Черновая
расточка
|
|
10
|
Внутренний Æ
|
50Н11
|
10
|
Черновая
расточка
|
|
11
|
Наружный Æ
|
61 h6
|
2,5
|
Черновое точение,
чистовое точение
|
|
12
|
Наружный Æ
|
89 h14
|
10
|
Фрезерование
|
|
13,47
|
Фаска
|
0,6´45 H14
|
-
|
Точение
|
|
14
|
Расстояние от
торца до начала лыски
|
4 H14
|
10
|
Черновое
точение
|
|
15
|
Расстояние от
одного отверстия до другого
|
59 H14
|
-
|
Черновое
точение
|
|
16
|
Расстояние от
торца до лыски
|
40 H14
|
-
|
Черновое
точение
|
|
18
|
Длина
|
24 Н11
|
2,5
|
Обеспечивается
инструментом
|
|
19
|
Расстояние от
торца, до оси отверстия
|
35 h14
|
-
|
Сверление по
кондуктору
|
|
20
|
Длина
внутреннего цилиндра
|
13 Н14
|
10
|
Черновая
расточка
|
|
21
|
Расстояние от
базового торца до канавки
|
2 h6
|
2,5
|
Настройка
станка ЧПУ
|
|
22
|
Длина между
осями конических отверстий
|
59
|
-
|
Сверление по
кондуктору
|
|
17,23,34,46
|
Отверстия
резьбовые
|
М6-7Н
|
5,0
|
Сверление по
кондуктору
|
|
24
|
Длина резьбы
|
11 Н7
|
5,0
|
Зависит от
инструмента
|
|
25
|
Длина
резьбового отверстия
|
15 h14
|
5,0
|
Поднастройка
станка на размер
|
|
26
|
Расстояние от
торца до канавки
|
25 h14
|
10
|
Поднастройка
станка на размер
|
|
27
|
Длина канавки
|
8 h14
|
10
|
Прорезка
канавки
|
|
28
|
Габаритный
размер
|
10 Н12
|
2,5
|
Поднастройка
станка на размер
|
|
29
|
Расстояние от
базового торца, до начала канавки
|
4 Н11
|
2,5
|
Обеспечивается
инструментом
|
|
30
|
Длина канавки
|
13 h14
|
10
|
Черновое
точение, прорезка канавки
|
|
31
|
Сторона
квадрата
|
6 h14
|
10
|
Фрезерование
|
|
32
|
Расстояние от
торца, до квадрата
|
9 h6
|
2,5
|
Черновое
точение, чистовое точение
|
|
33,49,50,51
|
Отверстие
резьбовые
|
М6-7Н
|
5,0
|
Сверление по
кондуктору
|
|
35
|
Линейный
габаритный размер
|
112 Н14
|
10
|
Подрезка торца
|
|
36,55
|
Фаска
|
1Ч45 h11
|
2,5
|
Точить
|
|
37
|
Длина отверстия
от торца до канавки
|
3 H14
|
10
|
Сверлить,
зенкеровать
|
|
38,48
|
Конические
отверстия
|
К 1/8 «’ G7
|
5,0
|
Сверлить,
зенкеровать
|
|
39
|
Угол между
плоскостью симметрии и центром отверстия
|
75±0,2
|
-
|
Обеспечивается
приспособлением
|
|
40
|
Межосевое
расстояние
|
55±0,2
|
-
|
Обеспечивается
приспособлением
|
|
41
|
Угол, между
осью детали и осью отверстий
|
45°
|
-
|
Обеспечивается
приспособлением
|
|
42,43
|
Габаритный
размер квадрата
|
70 h14
|
10
|
Фрезерование
|
|
44,45
|
Угол канавки
|
30°
|
-
|
Точение
|
|
52
|
Ширина
внутренней канавки
|
6,6 Н12
|
2,5
|
Обеспечивается
инструментом
|
|
53
|
Внутренний Æ
|
32 Н12
|
2,5
|
Прорезка
канавки
|
|
54
|
Фаска
|
2´45 Н11
|
2,5
|
Точить
|
|
56,59
|
Ширина
внутренней канавки
|
6,6 Н12
|
2,5
|
Обеспечивается
инструментом
|
|
57,66
|
Внутренний Æ
|
52 Н12
|
2,5
|
Обеспечивается
инструментом
|
|
58
|
Фаска
|
2´45 Н11
|
2,5
|
Точить
|
|
60
|
Наружный Æ
|
56,8 h11
|
2,5
|
Прорезание
канавки
|
|
61,62
|
Угол
призматической канавки
|
0…5°
|
2,5
|
Обеспечивается
инструментом
|
|
63
|
Ширина канавки
|
4 Н12
|
|
Обеспечивается
инструментом
|
|
64,65
|
Лыска
|
1,5 h 14
|
10
|
Фрезерование
|
Составление маршрута технологического процесса в двух
вариантах (с ЧПУ и с РУ)
На универсальных станках:
005 Отрезная
Отрезать заготовку
010 Транспортная
Штамповочная
Штамповать согласно эскизу
020 Контрольная
Транспортная
Термообработка
Отжиг
035 Контрольная
Контроль твердости (НВ)
040 Транспортная
Токарная
Подрезать торец, точить Æ61
Проточить канавку
Точить Æ89
Сверлить отверстие Æ20
050 Контрольная
Предъявить контролеру ОТК
055 Токарная
Расточить отверстие Æ40,4 Н11
060 Токарная
Расточить отверстие Æ41 мм
065 Токарная
Расточить отверстие Æ50
Точить фаску 2´45°
070 Контрольная
075
Токарная
Расточить две канавки Æ52 Н12
Переустановить.
080 Контрольная
085Токарная
Подрезать в размер 112 мм + припуск
Точить Æ65
090 Контрольная
095
Токарная
Точить Æ60
100
Токарная
Прорезать канавку шириной 13 мм, и Æ56
105 Контрольная
110
Токарная
Прорезать канавку длиной 8 мм, и Æ55
115 Токарная
Уклоны на канавке
120 Токарная
Точить под Æ40 h7 (-0,025)
125 Токарная
Подрезать торец в размер 112 мм
Точить фаску 2´45°
130
Токарная
Расточить отверстие Æ20,4 Н11
135 Токарная
Расточить канавку Æ32 Н12 в отверстии Æ20,4 Н11
Точить фаску 1´45°
Переустановить
140 Контрольная
Транспортная
150
Фрезерная
Фрезеровать квадрат
155 Фрезерная
Фрезеровать лыски
160 Слесарная
Разметка двух отверстий на лысках
165 Сверлильная
Сверлить 2 отверстия
Зенкеровать коническим зенкером
Нарезать резьбу к1/8’’
170 Контрольная
175
Слесарная
Разметить четыре отверстия Æ5 мм
Разметить четыре отверстия Æ5 мм
180 Сверлильная
Просверлить четыре отверстия Æ5 мм
185 Слесарная
Нарезать резьбу М6-7Н
190 Контрольная
195Сверлильная
Просверлить четыре отверстия Æ5 мм
200 Слесарная
Нарезать резьбу М6-7Н
205 Контрольная
210
Транспортная
215 Термообработка
Закалка
Высокий отпуск
220 Контрольная
225
Транспортная
230 Круглошлифовальная
Шлифовать Æ61 h6
235 Круглошлифовальная
Шлифовать Æ40 h7
240 Пескоструй
Моечная
Контрольная
Упаковочная
Транспортная
На станках с ЧПУ:
005 Отрезная
Отрезать заготовку
010 Транспортная
Штамповка
Штамповать согласно эскизу
020 Контрольная
025
Транспортная
Отжиг
035 Контрольная
Контроль твердости (НВ)
040
Транспортная
045 Токарная
Подрезать торец, точить Æ61
Точить Æ89
Проточить канавку
Просверлить отверстие Æ20 мм
Проточить внутренний контур вместе с канавками
Расточить канавки Æ52Н12
Переустановить
050 Контрольная
Предъявить контролеру ОТК
055 Токарная
Подрезка торца в размер 112 мм + припуск
Точить контур детали
Расточить отверстие 20,4Н11
Расточить канавку 32Н12
Точить фаски 2´45°
Переустановить
060 Контрольная
065
Транспортная
070 Фрезерная
Фрезеровать квадрат
Переустановить
075 Контрольная
Фрезерная
Фрезеровать лыски
Переустановить
085 Сверлильная
просверлить 4 отверстия Æ 5
Нарезать резьбу М6-7Н
Переустановить
090 Сверлильная
просверлить 4 отверстия Æ 5
Нарезать резьбу М6-7Н
Переустановить
095 Контрольная
Сверлильная
Просверлить 2 отверстия
Зенкеровать коническим зенкером
Нарезать резьбу к1/8»
Переустановить
105 Контрольная
110
Транспортная
115 Термообработка
Закалка
Высокий отпуск
120 Контрольная
125
Транспортная
130 Круглошлифовальная
Шлифовать Æ61 h6
Шлифовать Æ40 h7
135 Пескоструй
Моечная
Контрольная
Упаковочная
Транспортная
Обоснование выбора баз
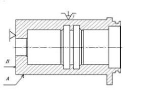
045 Токарная
Установ 1

Рисунок 1
В соответствии с рисунком 1 за главную базу принимаем
поверхность А, которая лишает деталь четырёх степеней свободы:
перемещения и поворота по оси y;
перемещения и поворота по оси x.
За дополнительную базу принимаем торец В, который лишает
деталь одной степени свободы:
перемещения по оси z.
Базирование неполное, последней степени свободы деталь лишает
зажим. Поверхность А - двойная направляющая база,
Поверхность В - опорная база.
055 Токарная

Рисунок 2
В соответствии с рисунком 2 за главную базу принимаем
поверхность С, которая лишает деталь четырёх степеней свободы:
перемещения и поворота по оси y;
перемещения и поворота по оси x.
За дополнительную базу принимаем торец В, который лишает
деталь одной степени свободы:
перемещения по оси z.
Базирование неполное, последней степени свободы деталь лишает
зажим.
Поверхность А - двойная направляющая база,
Поверхность С - опорная база.
070 Фрезерная

Рисунок 3
В соответствии с рисунком 3 за главную базу принимаем
поверхность А, которая лишает деталь четырёх степеней свободы:
перемещения и поворота по оси y;
перемещения и поворота по оси x.
За дополнительную базу принимаем торец В, который лишает
деталь одной степени свободы:
перемещения по оси z.
Базирование неполное, последней степени свободы деталь лишает
зажим.
Поверхность А - двойная направляющая база,
Поверхность В - опорная база.
Фрезерная

Рисунок 4
В соответствии с рисунком 4 за главную базу принимаем
поверхность А, которая лишает деталь четырёх степеней свободы:
перемещения и поворота по оси y;
перемещения и поворота по оси x.
За дополнительную базу принимаем торец В, который лишает
деталь одной степени свободы:
перемещения по оси z.
Базирование неполное, последней степени свободы деталь лишает
зажим.
Поверхность А - двойная направляющая база,
Поверхность В - опорная база.
085 Сверлильная

Рисунок 5
В соответствии с рисунком 5 за главную базу принимаем
поверхность А, которая лишает деталь четырёх степеней свободы:
перемещения и поворота по оси y;
перемещения и поворота по оси x.
За дополнительную базу принимаем торец B, который лишает деталь
одной степени свободы:
перемещения по оси z.
Базирование неполное, последней степени свободы деталь лишает
зажим.
Поверхность А - двойная направляющая база;
Поверхность B - опорная база.
090 Сверлильная

Рисунок 6
В соответствии с рисунком 6 за главную базу принимаем
поверхность С, которая лишает деталь четырёх степеней свободы:
перемещения и поворота по оси y;
перемещения и поворота по оси x.
За дополнительную базу принимаем торец D, который лишает деталь
одной степени свободы:
перемещения по оси z.
Базирование неполное, последней степени свободы деталь лишает
зажим.
Поверхность C - двойная направляющая база;
Поверхность D - опорная база.
100 Сверлильная

Рисунок 7
В соответствии с рисунком 3 за главную базу принимаем
поверхность А, которая лишает деталь четырёх степеней свободы:
перемещения и поворота по оси y;
перемещения и поворота по оси x.
За дополнительную базу принимаем торец В, который лишает
деталь одной степени свободы:
перемещения по оси z.
Базирование неполное, последней степени свободы деталь лишает
зажим.
Поверхность А - двойная направляющая база,
Поверхность В - опорная база.
130 Круглошлофовальная

Рисунок 8
В соответствии с рисунком 8 за базы принимаем отверстия А и
В, которые лишают деталь пяти степеней свободы:
- перемещение по трем осям x, y, z
- поворота вокруг осей х, у.
Базирование не полное. Последней степени свободы деталь
лишается при зажиме.
Выбор технологического оборудования и технологической
оснастки
Токарно-винторезный станок
Модель 16К20
Технические характеристики:
Пределы чисел оборотов шпинделя, об/мин: 12,5 - 1600
Габариты станка в мм 2505 Ч 1190 Ч 1500
Коническое отверстие в пиноли задней бабки - Морзе №5
Наибольшее перемещение пиноли задней бабки, мм - 150
Пределы подач, мм/об:
- продольных 0,05 - 2,8
- поперечных 0,025 - 1,4
Настольно-сверлильный станок
Модель 2М112
Технические характеристики:
Вылет шпинделя (расстояние от оси шпинделя до образующей
колонны), мм - 190
Размер конуса шпинделя наружный по ГОСТ 9953-82 B18
Наибольшее перемещение шпинделя, мм - 100
Цена деления лимбам - 1
Расстояние от торца шпинделя до рабочей поверхности столам 50¸400
Размеры рабочей поверхности столам 200´250
Количество Т-образных пазов, шт. - 3
Расстояние между пазами, мм - 50
Ширина пазов, мм - 14
Число скоростей шпинделя, шт. - 5
Число оборотов, об/мин - 450 ч 4500
Частота вращения, об/мин - 1500
Габаритные размеры станка, мм - 770´370 Ч950
Вертикально-фрезерный станок 6Н12ПБ
Модель 6Н12ПБ
Рабочая поверхность стола, мм 320´1250
Перемещение стола, мм наибольшее:
- продольное 700
- поперечное 260
- вертикальное 370
Пределы поворота шпиндельной головки в град ±45
Максимальное перемещение гильзы шпинделя в мм 70
Количество скоростей шпинделя - 18
Пределы чисел оборотов шпинделя в минуту 63 - 3150
Подача, мм/мин:
- продольная и поперечная 40 - 2000
- вертикальная 13 - 665
Скорость быстрого продольного перемещения стола в мм/мин 4000
Мощность электродвигателя в кВт 1,7
Масса обрабатываемой детали (вместе с приспособлением), кг -
400
Токарно-фрезерный станок с ЧПУ
Модель Index G30/150;
Паспортные данные
Максимальная частота вращения шпинделя n=6300 мин-1;
Мощность главного привода, 23 кВт;
Число шпинделей - 1;
Максимальный диаметр обработки заготовки - 150 мм;
Вместимость инструментального магазина - 12;
Число суппортов - 1;
Наибольшее продольное перемещение суппорта - 200;
Наибольшее поперечное перемещение суппорта - 110;
Масса станка - 4000 кг.
Круглошлифовальный станок
Модель 3151
Наибольший диаметр шлифуемой детали в мм - 200
Наибольшее расстояние между центрами в мм - 750
Наибольшее перемещение стола в мм - 780
Наибольший угол поворота стола в град - ±6
Наибольшее поперечное перемещение шлифовальной бабки в мм -
200
Число оборотов шлифуемого круга в минуту - 1050
Число скоростей вращения патрона бабки изделия - 3
Пределы чисел оборотов патрона бабки изделия в минуту -
15-300
Скорость продольного перемещения стола м/мин:
наибольшая - 10
наименьшая - 0,1
Величина радиальной подачи шлифовальной бабки на ход стола,
мм - 0,01-0,03
Мощность главного двигателя в КВт - 7
Измерительные средства:
Микрометр, штангенциркуль, калибр-скоба.
Приспособления:
Трехкулачковый патрон, специально приспособление,
кондукторная плита, центра.
.
Разработка операционного технологического процесса
Определение
операционных припусков и межоперационных размеров
Таблица 6. Определение операционных припусков и межоперационных
размеров на Æ65 мм
|
Тех. Процесс
|
Элементы
припуска
|
Расчёт припуска
|
Размеры,
допуски и предельные отклонения
|
|
Rz(мм)
|
H
|
Д
|
о
|
Zmin
|
Zmax
|
Zi
|
Ai
|
Ti
|
Es(es) i
|
EI(ei) i
|
|
Поковка
(заготовка)
|
0,16
|
0,2
|
0,632
|
0
|
|
|
|
68
|
1,6
|
1,1
|
-, 05
|
|
Черновое
точение
|
0,05
|
0,05
|
|
|
0,992
|
3,332
|
1,732
|
65
|
0,74
|
0
|
-0,74
|
Таблица 7. Определение операционных припусков и
межоперационных размеров на Æ40h7 мм
|
Тех. Процесс
|
Элементы
припуска
|
Расчёт припуска
|
Размеры,
допуски и предельные отклонения
|
|
Rz(мм)
|
H
|
Д
|
о
|
Zmin
|
Zmax
|
Zi
|
Ai
|
Ti
|
Es(es) i
|
EI(ei) i
|
|
Черновое
точение
|
0,05
|
0,05
|
0
|
0
|
|
|
|
65
|
0,74
|
-0,74
|
0
|
|
Чистовое
точение
|
0,025
|
0,025
|
|
|
0,1
|
0,94
|
0,2
|
40,08
|
0,1
|
-0,1
|
0
|
|
Тонкое точение
|
0,025
|
0,025
|
|
|
0,05
|
0,175
|
0,075
|
40
|
0,025
|
0
|
-, 0025
|
Таблица 8. Определение операционных припусков и
межоперационных размеров на Æ60 мм
|
Тех. Процесс
|
Элементы
припуска
|
Расчёт припуска
|
Размеры,
допуски и предельные отклонения
|
|
Rz(мм)
|
H
|
Д
|
о
|
Zmin
|
Zmax
|
Zi
|
Ai
|
Ti
|
Es(es) i
|
EI(ei) i
|
|
Черновое
точение
|
0,05
|
0,05
|
0
|
0
|
|
|
|
65
|
0,74
|
0
|
-0,74
|
|
Черновое
точение
|
|
|
|
|
0,1
|
1,58
|
0,84
|
60
|
0,74
|
0
|
-0,74
|
Таблица 9. Определение операционных припусков и
межоперационных размеров на Æ89 мм
|
Тех. Процесс
|
Элементы
припуска
|
Расчёт припуска
|
Размеры,
допуски и предельные отклонения
|
|
Rz(мм)
|
H
|
Д
|
о
|
Zmin
|
Zmax
|
Zi
|
Ai
|
Ti
|
Es(es) i
|
EI(ei) i
|
|
Поковка
(заготовка)
|
0,016
|
0,632
|
0
|
|
|
|
92
|
2,0
|
0
|
2,0
|
|
Черновое
точение
|
|
|
|
|
0,992
|
2,732
|
1,862
|
89
|
0,87
|
-, 087
|
0
|
Таблица 10. Определение операционных припусков и
межоперационных размеров на 70´70 мм
|
Тех. Процесс
|
Элементы
припуска
|
Расчёт припуска
|
Размеры,
допуски и предельные отклонения
|
|
Rz(мм)
|
H
|
Д
|
о
|
Zmin
|
Zmax
|
Zi
|
Ai
|
Ti
|
Es(es) i
|
EI(ei) i
|
|
Поковка
(заготовка)
|
0,016
|
0,2
|
0,632
|
0
|
|
|
|
73
|
2,0
|
0
|
-2,0
|
|
Фрезерование
|
|
|
|
|
0,992
|
1,232
|
1,112
|
70
|
0,12
|
-0,12
|
0
|
Таблица 11. Определение операционных припусков и
межоперационных размеров на Æ61h6 мм
|
Тех. Процесс
|
Элементы
припуска
|
Расчёт припуска
|
Размеры,
допуски и предельные отклонения
|
|
Rz(мм)
|
H
|
Д
|
о
|
Zmin
|
Zmax
|
Zi
|
Ai
|
Ti
|
Es(es) i
|
EI(ei) i
|
|
Поковка
(заготовка)
|
0,016
|
0,2
|
0,632
|
0
|
|
|
|
64
|
1,6
|
0
|
-1,6
|
|
Черновое
точение
|
0,05
|
0,05
|
|
|
0,992
|
2,472
|
1,732
|
61,63
|
0,74
|
-0,074
|
0
|
|
Чистовое
точение
|
0,025
|
0,025
|
|
|
0,1
|
1,3
|
0,56
|
61,07
|
0,46
|
-, 046
|
0
|
|
Шлифование
|
|
|
|
|
0,05
|
0,629
|
-, - 69
|
61
|
0,019
|
0
|
-0,019
|
Таблица 12. Определение операционных припусков и
межоперационных размеров при сверлении Æ5 мм
|
Тех. Процесс
|
Элементы припуска
|
Расчёт припуска
|
Размеры,
допуски и предельные отклонения
|
|
Rz(мм)
|
H
|
Д
|
о
|
Zmin
|
Zmax
|
Zi
|
Ai
|
Ti
|
Es(es) i
|
EI(ei) i
|
|
Сплошной
материал
|
0
|
0
|
0
|
0
|
|
|
|
0
|
0
|
0
|
0
|
|
Сверление
|
|
|
|
|
2,5
|
2,575
|
2,5
|
5
|
0,075
|
0,075
|
0
|
Таблица 13. Определение операционных припусков и межоперационных
размеров при растачивании Æ20,4 Н11
|
Тех. Процесс
|
Элементы
припуска
|
Расчёт припуска
|
Размеры,
допуски и предельные отклонения
|
|
Rz(мм)
|
H
|
Д
|
о
|
Zmin
|
Zmax
|
Zi
|
Ai
|
Ti
|
Es(es) i
|
EI(ei) i
|
|
Сплошной
материал
|
0
|
0
|
0
|
0
|
|
|
|
0
|
0
|
0
|
0
|
|
Сверление
|
0,06
|
0,06
|
|
|
10,075
|
10,4
|
10,075
|
20,15
|
0,33
|
0,33
|
0
|
|
Растачивание
|
|
|
|
|
0,12
|
0,58
|
0,25
|
20,4
|
0,13
|
0,13
|
0
|
Таблица 14. Определение операционных припусков и
межоперационных размеров при растачивании Æ32 Н12
|
Тех. Процесс
|
Элементы
припуска
|
Расчёт припуска
|
Размеры,
допуски и предельные отклонения
|
|
Rz(мм)
|
H
|
Д
|
о
|
Zmin
|
Zmax
|
Zi
|
Ai
|
Ti
|
Es(es) i
|
EI(ei) i
|
|
Растачивание
|
0,04
|
0,04
|
0
|
0
|
|
|
|
20,4
|
0,13
|
0,13
|
0
|
|
Растачивание
|
|
|
|
|
0,08
|
0,235
|
0,105
|
32
|
0,025
|
0,025
|
0
|
Таблица 15. Определение операционных припусков и
межоперационных размеров при растачивании Æ41 мм
|
Тех. Процесс
|
Элементы
припуска
|
Расчёт припуска
|
Размеры,
допуски и предельные отклонения
|
|
Rz(мм)
|
H
|
Д
|
о
|
Zmin
|
Zmax
|
Zi
|
Ai
|
Ti
|
Es(es) i
|
EI(ei) i
|
|
Поковка
(заготовка)
|
0,016
|
0,2
|
0,632
|
0
|
|
|
|
40
|
1,6
|
1,6
|
0
|
|
Растачивание
|
|
|
|
|
0,992
|
1,772
|
1,382
|
41
|
0,39
|
0,39
|
0
|
Таблица 16. Определение операционных припусков и
межоперационных размеров на длине 112 мм
|
Тех. Процесс
|
Элементы
припуска
|
Расчёт припуска
|
Размеры,
допуски и предельные отклонения
|
|
Rz(мм)
|
H
|
Д
|
о
|
Zmin
|
Zmax
|
Zi
|
Ai
|
Ti
|
Es(es) i
|
EI(ei) i
|
|
Поковка
(заготовка)
|
0,016
|
0,2
|
0,632
|
0
|
|
|
|
115,3
|
2,0
|
1,3
|
-0,7
|
|
Черновое
точение
|
|
|
|
|
0,992
|
2,602
|
1,732
|
112
|
0,74
|
0,74
|
0
|
Таблица 17. Определение операционных припусков и
межоперационных размеров на длине 9 мм
|
Тех. Процесс
|
Элементы
припуска
|
Расчёт припуска
|
Размеры,
допуски и предельные отклонения
|
|
Rz(мм)
|
H
|
Д
|
о
|
Zmin
|
Zmax
|
Zi
|
Ai
|
Ti
|
Es(es) i
|
EI(ei) i
|
|
Поковка
(заготовка)
|
0,016
|
0,2
|
0,632
|
0
|
|
|
|
10,4
|
1,4
|
0,9
|
-0,5
|
|
Черновое
точение
|
|
|
|
|
0,992
|
1,782
|
1,352
|
9
|
0,36
|
|
|
Таблица 18. Определение операционных припусков и
межоперационных размеров на длине 13 мм
|
Тех. Процесс
|
Элементы
припуска
|
Расчёт припуска
|
Размеры,
допуски и предельные отклонения
|
|
Rz(мм)
|
H
|
Д
|
о
|
Zmin
|
Zmax
|
Zi
|
Ai
|
Ti
|
Es(es) i
|
EI(ei) i
|
|
Черновое
точение
|
0
|
0
|
0
|
0
|
|
|
|
0
|
0
|
0
|
0
|
|
Растачивание
|
|
|
|
|
0
|
0,43
|
0,4
|
13
|
0,43
|
|
|
Таблица 19. Определение операционных припусков и
межоперационных размеров на длину 18 мм
|
Тех. Процесс
|
Элементы
припуска
|
Расчёт припуска
|
Размеры,
допуски и предельные отклонения
|
|
Rz(мм)
|
H
|
Д
|
о
|
Zmin
|
Zmax
|
Zi
|
Ai
|
Es(es) i
|
EI(ei) i
|
|
Черновое
точение
|
0
|
0
|
0
|
0
|
|
|
|
0
|
0
|
0
|
0
|
|
Черновое
точение
|
|
|
|
|
0
|
0,43
|
0,43
|
8
|
0,43
|
|
|
Таблица 20. Определение операционных припусков и
межоперационных размеров на Æ40,4 Н11
|
Тех. Процесс
|
Элементы
припуска
|
Расчёт припуска
|
Размеры,
допуски и предельные отклонения
|
|
Rz(мм)
|
H
|
Д
|
о
|
Zmin
|
Zmax
|
Zi
|
Ai
|
Ti
|
Es(es) i
|
EI(ei) i
|
|
Поковка
(заготовка)
|
0,016
|
0,2
|
0,632
|
0
|
|
|
|
40
|
1,6
|
0
|
-1,6
|
|
Растачивание
|
|
|
|
|
0,992
|
1,392
|
0,4
|
40,4
|
0,81
|
0,39
|
-, 042
|
(10)
(11)
о = 0, [1, Стр. 40, Таблица 2.34]
где
Zmin = Rz(i-1) +h(i-1) + о +Д(i-1)
Zi = Zmin + Ti= Zi + Ti + Ti(i-1)
где, Rz - шероховатость поверхности- дефектный слой
Д - кривизна поверхности
о - отклонение от расположения поверхности (ошибка
базирования)- минимальный припуск- максимальный припуск- минимальный припуск на
данном проходе- межоперационный номинальный размер- допуск на размер(es) i,
EI(ei) i - допустимые отклонения
5. Разработка операций, которые производятся на
станках с ЧПУ
Определение зон обработки
Рисунок 9
Составление циклограмм перемещения инструментов с расчетом
опорных точек
Таблица 21
|
Время
обработки на CNC
станке
|
|
Пользователь
|
Давлятова
|
Общее время
обработки
|
|
Модель станка
|
Модель Index G30/150
|
Время резания
|
33,2
|
|
Деталь
|
Втулка
|
Время простоя
|
15
|
|
Номер операции
|
025
|
Индекс времени
инструмента
|
16
|
|
Номер чертежа
|
ПКСЭ ТМ ИЗ01
001
|
Загрузка
шпинделя, время в сек
|
10
|
|
Материал
|
Сталь 40Х
|
Загрузка/разгрузка,
время в сек
|
8
|
|
Приспособления
|
Главный
шпиндель
|
3-х кулачковый
патрон
|
-
|
-
|
|
Контр-шпиндель
|
патрон
|
-
|
-
|
|
Дата
|
14.04.10
|
ВРЕМЯ
|
82,2
|
Рисунок 10
Таблица
22. Расчет режима резания и норм времени для станков с ЧПУ
|
Инстр.
|
№ Инстр.
|
Процесс
|
Название
операции
|
Скорость
Резания (м/мин)
|
Диаметр (мм)
|
Част. вращ (мин-1)
|
Глубина
|
Длина
|
Подача (мм/об)
|
Подача (мм/мин)
|
Время
|
|
|
|
|
|
|
|
|
|
|
|
Основ.
|
Вспом.
|
|
-
|
-
|
-
|
045 3-х
кулачковый патрон
|
-
|
-
|
-
|
-
|
-
|
-
|
-
|
-
|
-
|
|
1
|
DOMA-120402L
|
3
|
Подрезка торца
|
112
|
61
|
938 - 546
|
-
|
176
|
0.250
|
-
|
1,804
|
2
|
|
3
|
DPMR-180304R
|
8
|
Чистовая
обработка торца
|
150
|
61
|
1247 - 720
|
-
|
88
|
0.180
|
-
|
1,2
|
2
|
|
3
|
DPMR-180304R
|
9
|
Черновое
точение шейки
|
150
|
61-89
|
809 - 508
|
1,5
|
210
|
0.180
|
-
|
2,568
|
2
|
|
2
|
WNMG-160404L
|
11
|
Чистовое
точение шейки
|
135
|
61-89
|
407
|
0,5
|
184
|
0.120
|
-
|
1,45
|
2
|
|
1
|
Slot 12-4
|
12
|
Канавка
|
150
|
56,8
|
742
|
0,74
|
162
|
0.200
|
-
|
2,46
|
2
|
|
3
|
Drill20
|
20
|
Сверление
|
150
|
20
|
500
|
10
|
734
|
200.000
|
-
|
3,528
|
2
|
|
2
|
VCMT-100302N
|
21
|
Черновое
точение
|
200
|
40-50
|
742
|
1,6
|
1377
|
0.200
|
-
|
5,8
|
2
|
|
2
|
RCMT-1003XN
|
25
|
Чистовое
точение
|
200
|
40 - 50
|
457
|
0,39
|
419
|
0.200
|
-
|
3
|
2
|
|
-
|
-
|
-
|
Время загрузки
шпинделя
|
-
|
-
|
-
|
-
|
-
|
-
|
-
|
-
|
10
|
|
-
|
-
|
-
|
Разжим шпинделя
|
-
|
-
|
-
|
-
|
-
|
-
|
-
|
-
|
2
|
|
-
|
-
|
-
|
Отход шпинделя
|
-
|
-
|
-
|
-
|
-
|
-
|
-
|
-
|
3
|
|
-
|
-
|
-
|
055 патрон
|
-
|
-
|
-
|
-
|
-
|
-
|
-
|
-
|
-
|
|
1
|
WNMG-80408L
|
13
|
Черновое
точение
|
150
|
65-55
|
22 - 5
|
1,5
|
201
|
0.250
|
-
|
3,5
|
2
|
|
3
|
DPMR-180304R
|
14
|
Чистовое
точение
|
150
|
65-55
|
1500 - 682
|
0,5
|
196
|
0.180
|
-
|
1,45
|
2
|
|
2
|
VPMM-160304R
|
15
|
Черновое
точение
|
150
|
40
|
1201 - 525
|
12,5
|
1290
|
0.180
|
-
|
2,6
|
2
|
|
2
|
VCMT-100302N
|
16
|
Чистовое
точение
|
200
|
40
|
9 - 3
|
0,5
|
357
|
0.200
|
-
|
1,784
|
2
|
|
1
|
Finish vert 06
|
26
|
Черновое
точение
|
150
|
20-32
|
18 - 10
|
0,4
|
237
|
0.200
|
-
|
2
|
6. Расчет режимов резания и норм времени для станков с РУ
Поверхности обработки смотреть на чертеже с позициями.
Для расчёта режимов резания используем «Режимы резания для
универсальных токарных станков»
Исходные данные:
Деталь:
Наименование - втулка
Материал - сталь 40 Х (200-240 НВ).
точность обработки поверхности - IT14 и IT7
Параметры шероховатости обработанных поверхностей, мкм: Ra10, Ra1,25, Ra2,5
Заготовка:
Заготовка - штамповка (обычной точности - IT 16).
Состояние поверхности - без корки
Масса 6,314 кг
Расчёт режимов резания для операции токарная (черновая и
чистовая)
Базирование - в трехкулачковом патроне.
Содержание операции при установе 1 - точить поверхности 11 и
12, просверлить отверстие 3, точить внутренний контур 8, 9, 10, 5, 57, 66
Содержание операции при установе 2 - точить поверхности 1, 6,
7, 4, 2 расточить отверстие 3, расточить канавку 53.
Выбор стадии обработки
По карте 1, лист 3 определяем необходимые стадии обработки.
Для получения размеров детали, соответствующих 14-му квалитету и 7 квалитету из
заготовки 16-го квалитета необходимо вести обработку за две стадии: черновую и
чистовую.
Выбор глубины резания
По карте 2 стр. 37 определяем минимально необходимую глубину
резания для чистовой стадии обработки:
для поверхности 11 t = 0,8 мм
для поверхности 12 t = 0,7 мм
Глубина резания для черновой стадии обработки определяют
исходя из общего припуска на обработку и суммы глубин резания на чистовой и
получистовой стадий обработки:
для поверхности 11 t = 1,5мм;
для поверхности 12 t = 1,5мм;
для поверхности 1 t = 1,5 мм;
для поверхности 6 t = 2,5 мм;
для поверхности 7 t = 2 мм;
для поверхности 4 t = 5 мм;
для поверхности 2 t = 12,5 мм.
Выбранные значения заносим в таблицу
Выбор инструмента
Резец с сечением державки 16´16 мм, толщина пластины
4,8 мм
По приложениям 1 стр. 263 и 5 стр. 266 и исходя из условий
обработки, принимаем ромбическую форму пластины с углом при вершине е = из
твердого сплава Т15К6 - для черновой и чистовой стадий обработки.
По приложению 6 стр. 267 выбираем способ крепления пластины -
клин-прихватом для черновой и двуплечим прихватом для чистовой стадий обработки
По приложению 7 стр. 268 и исходя из условий обработки
выбираем углы в плане:
Главный угол в плане ц = 90°
Вспомогательный угол в плане ц1 = 5°
По приложению 8 стр. 269 определяем остальные геометрические
параметры режущей части:
Для черновой стадии обработки:
задний угол б = 6°
передний угол г = 10°
форма передней поверхности резца: II (плоская с фаской)
ширина фаски вдоль главного режущего лезвия f = 0,5мм;
радиус скругления режущей кромки с = 0,03мм;
радиус вершины резца
= 1,0мм.
Для чистовой стадии обработки:
б = 8°
г = 15°
форма передней поверхности резца: II (плоская с фаской)
ширина фаски вдоль главного режущего лезвия f = 0,3мм;
радиус скругления режущей кромки с = 0,003мм;
радиус вершины резца
= 1,0мм.
Нормативный период стойкости необходим по приложению 13 стр.
279 Tн = 30 мин.
Выбор подач
Для черновой стадии обработки подачу выбираем по карте 3 стр.
38.
Для поверхностей 11, 12, 1, 6:
= 0,84мм/об;
Для поверхности 7:
= 0,175мм/об;
Для поверхности 4:
= 0,084мм/об;
Для поверхности 2:
= 0,49мм/об.
По карте 5 стр. 42 определяем поправочные коэффициенты на
подачу для черновой стадии обработки для изменённых условий обработки в
зависимости от:
Поправочный коэффициент на подачу:
= 1,10;
сечения державки резца
= 1,0;
прочности режущей части
= 1,05;
механических свойств обрабатываемого материала
= 0,90;
схемы установки заготовки
= 0,8;
состояния поверхности заготовки
=1,0;
геометрических параметров резца
= 1,0;
жёсткости станка
= 0,7.
Окончательная подача для черновой стадии обработки определяют
по формуле:
Для поверхностей 11, 12, 1, 6
= 0,84∙1,10∙1,0∙1,05∙0,90∙0,80∙1,0∙1,0∙0,7
= 0,49 мм/об;
Для поверхности 4
= 0,084∙1,10∙1,0∙1,05∙0,90∙0,80∙1,0∙1,0∙0,7
= 0,048 мм/об;
Для поверхности 7
= 0,175∙1,10∙1,0∙1,05∙0,90∙0,80∙1,0∙1,0∙0,7
= 0,103 мм/об;
Для поверхности 2
= 0,49∙1,10∙1,0∙1,05∙0,90∙0,80∙1,0∙1,0∙0,7
= 0,28 мм/об.
Рассчитанные подачи для черновой стадии обработки проверяем
по осевой Рх и радиальной Ру составляющим силы резания,
допустимым прочностью механизма подач станка.
По карте 32 стр. 98 определяем табличные значения
составляющих сил резания:
для поверхности 11, 12, 1
= 750 Н,
= 270 Н;
для поверхности 6
= 1050 Н,
= 280 Н;
для поверхности 7
= 530 Н,
= 160 Н;
для поверхности 4
= 1120 Н,
= 230 Н;
для поверхности 2
= 4400 Н,
= 880 Н.
По карте 33 стр. 99 определяем поправочные коэффициенты на
силы резания для измененных условий в зависимости от:
Механических свойств обрабатываемого материала:
=
= 1,10;
главного угла в плане: ц = 0,70;
для поверхности
;
;
главного переднего угла
;
угла наклона режущей кромки
.
Окончательно составляющие силы резания определяют по формулам
; (12)
; (13)
для поверхностей 11, 12, 1
= 750∙1,10∙0,7∙0,9∙1,0 =
520 Н,
= 270∙1,10∙2,0∙0,9∙1,0 =
535 Н;
для поверхности 6
= 1050∙1,10∙0,7∙0,9∙1,0
= 728 Н,
= 280∙1,10∙2,0∙0,9∙1,0 =
555 Н;
для поверхности 7
= 530∙1,10∙0,7∙0,9∙1,0 =
367 Н,
= 160∙1,10∙2,0∙0,9∙1,0 =
317 Н;
= 530∙1,10∙2,0∙0,9∙1,0 =
1050 Н;
для поверхности 4
= 1120∙1,10∙0,7∙0,9∙1,0
= 776 Н,
= 230∙1,10∙2,0∙0,9∙1,0=455
Н;
для поверхности 2
= 4400∙1,10∙0,7∙0,9∙1,0
= 3050 Н,
= 880∙1,10∙2,0∙0,9∙1,0=1740
Н.
Для чистовой стадии обработки значения подач определяем по
карте 6 стр. 46.
Для поверхности 11
= 0,245мм/об;
Для поверхности 2
= 0,175мм/об.
По карте 8 стр. 48 определяем поправочные коэффициенты на
подачу чистовой стадии обработки для измененных условий в зависимости от:
механических свойств обрабатываемого материала
= 0,90;
схемы установки заготовки
= 0,80;
радиуса вершины резца
= 1,00;
квалитета размера обрабатываемой детали
= 0,85.
Окончательно подачу чистовой стадии обработки определяют:
Для поверхности 11
= 0,245∙0,90∙0,80∙1,0∙0,85
= 0,150 мм/об;
Для поверхности 2:
= 0,175∙0,90∙0,80∙1,0∙0,85
= 0,107 мм/об;
Выбор скорости резания
Рекомендуемые значения скорости резания для черновой и
получистовой стадии обработки выбираем по карте 21 стр. 73.
Для черновой стадии обработки легированной стали без корки:
для поверхностей 11, 12, 1, 6
= 185 м/мин;
для поверхности 7
= 241 м/мин;
для поверхности 4
= 208 м/мин;
для поверхности 2
= 134 м/мин;
По карте 21 стр. 73 выбираем поправочные коэффициенты для
черновой стадии обработки в зависимости от инструментального материала:
для поверхностей 11, 12, 1, 6, 7, 4
, а для поверхности 2
.
По карте 23стр.82 выбираем остальные поправочные коэффициенты
на скорость резания при черновой стадии обработки для измененных условий в
зависимости от:
группы обрабатываемости материала:
вида обработки:
жесткости станка
механических свойств обрабатываемого материала
геометрических параметров резца:
период стойкости режущей части
наличия охлаждения
Общий поправочный коэффициент на скорость резания вычисляют
по формуле:
(14)
для поверхностей 11, 12, 1, 6, 7, 4
= 0,35·1,00·1,00·0,70·0,80·1,00·1,10·1,0 =
0,215;
для поверхности 2
= 0,45·1,00·1,00·0,70·0,80·1,00·1,10·1,0 =
0,277.
Окончательно скорость при черновой стадии обработки
определяют по формуле:
; (15)
для поверхностей 11, 12, 1, 6
V = 185´0,215 = 40 м/мин;
для поверхности 7
V = 241´0,215 = 52 м/мин;
для поверхности 4
V = 208´0,215 = 45 м/мин;
для поверхности 2
V = 134´0,277 = 37 м/мин.
Скорость резания для чистовой стадии обработки определяем по
карте 22 стр. 81:
для поверхности 11
= 348 м/мин;
для поверхности 2
= 395 м/мин
По карте 22 стр. 81 выбираем поправочные коэффициенты для
чистовой стадии обработки в зависимости от инструментального материала:
= 0,20.
Поправочные коэффициенты для чистовой стадии, определяемые по
карте 23 стр. 82 численно совпадают с коэффициентами для черновой стадии.
Общий поправочный коэффициент на скорость резания при
чистовой стадии обработки:
для поверхности 11 и 2
= 0,20··1,00·1,00·0,70·0,80·1,00·1,10·1,0 =
0,123;
Окончательная скорость резания на чистовой стадии:
для поверхности 11
V = 348´0,123 = 43 м/мин;
для поверхности 2
V = 395´0,123 = 49 м/мин.
Частота вращения шпинделя определяем по формуле:
(16)
для черновой стадии обработки:

= 209 мин-1;

= 143 мин-1;

= 196 мин-1;

= 296 мин-1;
= 301 мин-1;

= 261 мин-1;

= 296 мин-1.
Для чистовой стадии обработки:
225 мин-1;
390 мин-1.
Принимаем частоту вращения, имеющуюся у станка, nф = 355 мин-1, nф =800 мин-1, nф =400 мин-1, nф =240 мин-1, nф =150 мин-1, nф =670 мин-1.
Тогда фактическая скорость резания:
(17)
Черновая:
чистовая:
Проверка выбранных режимов по мощности привода главного движения
Для черновой стадии обработки табличную мощность определяем по
карте 21 стр. 73.
= 8,2кВт - для поверхностей 11, 12, 1, 6;
= 5,7кВт - для поверхности 7;
= 9,1кВт - для поверхности 4;
= 21кВт - для поверхности 2.
Для чистовой и отделочной стадии обработки проверку по мощности не
проводят.
По карте 24 стр. 85 определяем поправочный коэффициент на мощность
в зависимости от твёрдости обрабатываемого материала:
= 1,05
Табличную мощность резания корректируют по формуле
. (18)
При черновой стадии обработки:

= 2,2 кВт;
=1,96 кВт;

= 2,3 кВт;

= 2,1 кВт;

= 1,54 кВт;

= 1,9 кВт;

= 7,24 кВт.
Таблица 23. Рекомендуемые режимы резания
|
Параметры
режима резания
|
Стадия
обработки
|
|
Черновая
|
Чистовая
|
|
№ поверхности
|
|
11
|
12
|
1
|
6
|
7
|
4
|
2
|
11
|
2
|
|
Глубина резания
t, мм
|
1,5
|
1,5
|
1,5
|
2,5
|
2
|
5
|
12,5
|
0,8
|
0,7
|
|
Табличная
подача , мм/об
|
0,84
|
0,84
|
0,84
|
0,84
|
0,175
|
0,084
|
0,084
|
0,245
|
0,175
|
|
Принятая подача
, мм/об
|
0,49
|
0,49
|
0,49
|
0,49
|
0,103
|
0,048
|
0,28
|
0,150
|
0,107
|
|
Табличная
скорость резания , м/мин
|
185
|
185
|
185
|
185
|
241
|
208
|
134
|
348
|
395
|
|
Скорректированная
скорость резания V, м/мин
|
40
|
40
|
40
|
40
|
52
|
45
|
37
|
43
|
49
|
|
Фактическая
частота вращения шпинделя , мин-1
|
209
|
143
|
196
|
228
|
296
|
261
|
296
|
225
|
390
|
|
Фактическая
скорость резания , м/мин
|
46
|
42
|
49
|
45
|
62
|
41
|
44
|
68
|
50
|
|
Табличная
мощность резания , кВт
|
8,2
|
8,2
|
8,2
|
8,2
|
5,7
|
9,1
|
21
|
|
|
|
Фактическая
мощность резания N, кВт
|
2,2
|
1,96
|
2,3
|
2,1
|
1,54
|
1,9
|
7,24
|
|
|
|
Минутная подача
Sм, мм/мин
|
102,4
|
70,07
|
96,04
|
111,7
|
30,5
|
21,92
|
24,86
|
33,75
|
41,73
|
Определение минутной подачи
Минутную подачу рассчитываем по формуле:
При черновой стадии обработки:
= 0,49·209 = 102,41 мм/мин - для поверхности 11
Значения минутной подачи для остальных поверхностей и стадий
обработки рассчитываем аналогично и заносим в таблицы.
Выбор глубины резания
для поверхности 8 t = 0,2 мм;
для поверхностей 5,9 t = 0,5 мм;
для поверхности 10 t = 4,5 мм;
для поверхностей 57,66 t = 5,8 мм;
для поверхности 3 t = 0,125 мм;
для поверхности 53 t = 5,8 мм.
Выбор инструмента
Резцы (оправки) следует применять наименьшей технологически
возможной длины и наибольшего технологически допустимого сечения. Принимаем
резец с диаметром d = 20 мм и вылетом l = 100 мм.
В соответствии с рекомендациями приложения 1 стр. 263
обработку проводим пластинами из твердого сплава Т15К6.
По приложению 5 стр. 265 выбираем твердосплавную пластину
ромбической формы.
По приложению 7 стр. 268 и, исходя из условий обработки,
выбираем углы в плане:
Главный угол в плане ц = 45°
Вспомогательный угол в плане ц1 = 10°
По приложению 8 стр. 269 определяем остальные геометрические
параметры режущей части:
Для черновой стадии обработки:
задний угол б = 6°
передний угол г = 10°
форма передней поверхности резца: II (плоская с фаской)
ширина фаски вдоль главного режущего лезвия f= 0,5мм;
радиус скругление режущей кромки с = 0,03мм;
радиус вершины резца
= 1,0мм.
Для чистовой стадии обработки:
б = 8°
г = 15°
форма передней поверхности резца: II (плоская с фаской)
ширина фаски вдоль главного режущего лезвия f = 0,3мм;
радиус скругления режущей кромки с = 0,003мм;
радиус вершины резца
= 1,0мм.
Нормативный период стойкости необходим по приложению 13 стр.
279 Tн = 30 мин.
Выбор подач
Для черновой обработке по карте 9 стр. 50, выбираем подачу:
Для 8, 9, 5, 3 поверхностей
= 0,57 мм/об;
Для поверхностей 10, 57, 66, 53
= 0,46 мм/об;
По карте 11 стр. 52 определяем поправочные коэффициенты на
подачу для черновой стадии обработки для изменённых условий обработки в
зависимости от:
инструментального материала
= 1,10;
состояния поверхности заготовки:
= 1,0;
диаметра детали
= 0,80;
механических свойств обрабатываемого материала
= 0,90;
геометрических параметров резца
= 1,40;
вылет резца
= 1,0
Окончательно подача для черновой стадии обработки определяем
по формуле:
(21)
С учетом поправочных коэффициентов подачи принимаем следующие
значения:
Для поверхностей 8, 9, 5, 3
= 0,57·1,10·1,0·0,80·0,90·1,4·1,0 = 0,63 мм/об;
Для поверхностей 10, 57, 66, 53
= 0,46·1,10·1,0·0,80·0,90·1,4·1,0 = 0,51 мм/об.
Рассчитанные подачи для черновой стадии обработки проверяем
по осевой Рх и радиальной Ру составляющим силы резания,
допустимым прочностью механизма подач станка.
По карте 32 стр. 98 определяем табличные значения
составляющих сил резания:
для поверхностей 8, 9, 5, 3
= 530 Н,
= 160 Н;
для поверхности 10
= 1120 Н,
= 230 Н;
для поверхностей 57, 66, 53
= 1950 Н,
= 370 Н;
= 4400 Н,
= 880 Н.
По карте 33 стр. 99 определяем поправочные коэффициенты на
силы резания для измененных условий в зависимости от:
Механических свойств обрабатываемого материала:
=
= 1,10;
главного угла в плане: ц = 0,70;
для поверхности
;
;
главного переднего угла
;
угла наклона режущей кромки
.
Окончательно составляющие силы резания определяют по формулам
; (22)
; (23)
для поверхностей 8, 9, 5, 3
= 530∙1,10∙0,7∙0,9∙1,0 =
367 Н,
= 160∙1,10∙2,0∙0,9∙1,0 =
317 Н;
для поверхности 10
= 1120∙1,10∙0,7∙0,9∙1,0
= 776 Н,
= 230∙1,10∙2,0∙0,9∙1,0 =
455 Н;
для поверхностей 57, 66, 53
= 1950∙1,10∙0,7∙0,9∙1,0
= 1350 Н,
= 370∙1,10∙2,0∙0,9∙1,0 =
733 Н;
Выбор скорости резания
Рекомендуемые значения скорости резания для черновой стадий
обработки выбираем по карте 21 стр. 73
для поверхностей 8, 9, 5, 3
= 241 м/мин;
для поверхности 10
= 208 м/мин;
для поверхностей 57, 66, 53
= 162 м/мин;
По карте 21 стр. 73 выбираем поправочные коэффициенты для
черновой стадии обработки в зависимости от инструментального материала:
.
По карте 23стр.82 выбираем поправочные коэффициенты на
скорость резания при черновой стадии обработки для измененных условий в
зависимости от:
группы обрабатываемости материала:
;
вида обработки:
;
жесткости станка
;
механических свойств обрабатываемого материала
;
геометрических параметров резца:
;
период стойкости режущей части
;
наличия охлаждения
.
Общий поправочный коэффициент на скорость резания вычисляют
по формуле:
(24)
= 0,35·1,00·1,00·0,70·0,80·1,00·1,10·1,0 =
0,215.
Окончательно скорость при черновой стадии обработки
определяют по формуле:
; (25)
для поверхностей 8, 9, 5, 3
V = 241´0,215 = 52 м/мин;
для поверхности 10
V = 208´0,215 = 45 м/мин;
для поверхностей 57,66, 53
V = 162´0,215 = 35 м/мин.
Частота вращения шпинделя определяем по формуле:
(26)
для черновой стадии обработки:
=410 мин-1;
=404 мин-1;
=287 мин-1;
=214 мин-1;
=812 мин-1;
=348 мин-1.
Принимаем частоту вращения, имеющуюся у станка, nф = 355 мин-1, nф = 800 мин-1, nф = 400 мин-1, nф = 240 мин-1, nф = 150 мин-1, nф = 670 мин-1.
Тогда фактическая скорость резания:
(27)
Черновая:

;

;

;

.
Проверка выбранных режимов по мощности привода главного движения
Для черновой стадии обработки табличную мощность определяем по
карте 21 стр. 73.
для поверхностей 8, 9, 5, 3
= 5,7 кВт
для поверхности 10
= 7,3 кВт
для поверхностей 57, 66, 53
= 9,1 кВт
По карте 24 стр. 85 определяем поправочный коэффициент на мощность
в зависимости от твёрдости обрабатываемого материала:
= 1,05
Табличную мощность резания корректируют по формуле
. (28)
При черновой стадии обработки:

= 1,3 кВт;

= 1,4 кВт;

= 2,3 кВт;

= 2,1 кВт.
Таблица 24. Рекомендуемые режимы резания
|
Параметры
режимов резания
|
Черновая стадия
обработки
|
|
№ поверхности
|
|
8
|
9
|
5
|
10
|
57,66
|
3
|
53
|
|
Глубина резания
t, мм
|
0,2
|
0,5
|
0,5
|
4,5
|
5,8
|
0,125
|
5,8
|
|
Табличная
подача , мм/об
|
0,57
|
0,57
|
0,57
|
0,46
|
0,46
|
0,57
|
0,46
|
|
Принятая подача
, мм/об
|
0,63
|
0,63
|
0,63
|
0,51
|
0,51
|
0,63
|
0,51
|
|
Табличная
скорость резания , м/мин
|
241
|
241
|
241
|
208
|
162
|
241
|
162
|
|
Скорректированная
скорость резания V, м/мин
|
52
|
52
|
52
|
45
|
35
|
52
|
35
|
|
Фактическая
частота вращения шпинделя , мин-1
|
410
|
410
|
410
|
287
|
214
|
812
|
348
|
|
Фактическая
скорость резания , м/мин
|
51
|
51
|
51
|
38
|
39
|
51
|
36
|
|
Табличная
мощность резания , кВт
|
5,7
|
5,7
|
5,7
|
7,3
|
9,1
|
5,7
|
9,1
|
|
Фактическая
мощность резания N, кВт
|
1,3
|
1,3
|
1,3
|
1,4
|
2,3
|
1,3
|
2,1
|
|
Минутная подача
Sм, мм/мин
|
258,3
|
258,3
|
258,3
|
146,4
|
109,1
|
511,6
|
177,5
|
Расчёт режимов резания для операции сверление
3 поверхность - отверстие 20,15 мм.
, 48 поверхности - отверстие k1/8’’;
, 23, 34, 46, 33, 49, 50, 51 поверхности - отверстие 5 мм.
Выбор глубины резания
Глубину резания на переходах развертывания и зенкерования
определяем по карте 45 стр. 126 и корректируем с учетом последовательности
переходов маршрута (поправочный коэффициент
).
при зенкеровании глубина резания t = 0,44 мм,
поправочный коэффициент
= 1,1,
окончательная глубина резания при зенкеровании: t = 0,44·1,1 = 0,484 мм.
Глубину резания на переходах «сверление» принимается равной
половине диаметра сверла;
Выбор подачи, скорости, мощности и осевой силы резания
осуществляем по картам 46-51, стр. 127-140
Таблица 25. Значения параметров режимов резания
|
Выполняемый
переход
|
S0т, мм/об
|
vт, м/мин
|
Nт, кВт
|
Pт, Н
|
nт, мин-1
|
|
Сверление
|
3
|
0,30
|
20,0
|
1,45
|
6218
|
316
|
|
17,23,34,46,33,49,50,51
|
0,39
|
19,4
|
1,64
|
6124
|
1236
|
|
38,48
|
0,29
|
21,0
|
1,10
|
4866
|
1910
|
|
Зенкерование
|
38,48
|
0,19
|
41,0
|
1,10
|
95,5
|
3264
|
|
Выполняемый
переход
|
vт, м/мин
|
Pт, Н
|
Nт, кВт
|
|
|
|
Нарезание
резьбы
|
17,23,34,46,33,49,50,51
|
8,7
|
0,13
|
6
|
0,4
|
0,9
|
Значения частоты вращения шпинделя
для табличных значениях
скорости резания
определяем по формуле:
(29)
Сверление:
для поверхности 3
316 мин-1;
для поверхностей 17, 23, 34, 46, 33, 49, 50, 51
1236мин-1;
для поверхностей 38, 48
1910 мин-1;
зенкерование:
для поверхностей 38, 48
= 3264 мин-1.
Табличные значения режимов резания корректируем в зависимости
от измененных условий работы по формулам корректировки, приведенным в карте 52
стр. 141. Значения поправочных коэффициентов выбираем из карты 53 стр. 142.
Для сверления, зенкерования подача:
(30)
коэффициент
= 0,85.
С учётом коэффициента подача для сверления:
S = 0,30·0,85 = 0,255 мм/об - для 3 поверхности;
S = 0,39·0,85 = 0,33 мм/об - для 18-25 поверхностей;
S = 0,29·0,85 = 0,34 мм/об - для 16,17 поверхностей.
С учетом коэффициента подача для зенкерования:
S = 0,19·0,85 = 0,16 мм/об - для 16,17 поверхностей
Скорость корректируют по формуле
. (31)
=
= 0,85;
= 1,00 (нормальная заточка инструмента);
= 1,00 (обработка с охлаждением);
= 1,32 (
;
= 1,00 (инструментальный материал без покрытия);
= 1,00 (материал инструмента - быстрорежущая
сталь);
= 1,00 (для чернового развертывания
предшествующий переход - сверление);
= 1,00 (обрабатываемая поверхность без корки).
для сверления:
для 3 поверхности
V = 20,0·0,85·1,00·1,00·1,32·1,00·1,00·1,00·1,00 = 23 м/мин
для 17, 23, 34, 46, 33, 49, 50, 51 поверхностей
V = 19,4·0,85·1,00·0,80·1,32·1,00·1,00·1,00·1,00 = 22,3 м/мин
для 38, 48 поверхностей
V = 21,0·0,85·1,00·0,80·1,32·1,00·1,00·1,00·1,00 = 23,2 м/мин
для зенкерования:
для 38, 48 поверхностей
V = 41,0·0,85·1,00·0,80·1,32·1,00·1,00·1,00·1,00 = 46 м/мин.
Скорректированную частоту вращения шпинделя рассчитываем по
формуле:
. (32)
для сверления:
для поверхности 3
= 363,5 мин-1;
для поверхностей 17, 23, 34, 46, 33, 49, 50, 51
= 1420 мин-1;
для поверхностей 38, 4
:
= 2111 мин-1.
для зенкерования:
для поверхностей 38,48
= 3662 мин-1.
Скорость резания
определяем по формуле:
. (33)
для сверления:
для 3 поверхности
= 0,3·316 = 95 мм/мин;
для 17, 23, 34, 46, 33, 49, 50, 51 поверхностей
= 0,39·1236 = 482 мм/мин;
для 38, 48 поверхностей
= 0,29·1910 = 554 мм/мин.
для зенкерования:
для 38, 48 поверхностей
С учетом паспортных данных станка фактические режимы резания
выбираем:
= 400 мин-1;
= 1250 мин-1;
= 2000 мин-1;
Фактическую скорость резания определяем по формуле:
. (34)
для сверления:
для поверхности 3
= 25,3 м/мин;
для поверхностей 17, 23, 34, 46, 33, 49, 50, 51
= 19,6 м/мин;
для поверхностей 38, 4
:
= 22 м/мин.
для зенкерования:
для поверхностей 38, 48
= 25,12 м/мин.
Корректировка табличных значений мощности резания и осевой
силы
По карте 52 стр. 141 формулы для корректировки мощности
резания и осевой силы имеют вид:
;
; (35)
По карте 53 стр. 142 выбираем поправочные коэффициенты:
= 0,85.
для сверления:
для поверхности 3
= 1,7 кВт,
= 7315 Н;
для поверхностей 17,23,34,46,33,49,50,51
= 1,93 кВт,
= 7204 Н;
для поверхностей 38, 48
= 1,3 кВт,
= 5724 Н.
для зенкерования:
для поверхности 38, 48
= 1,3 кВт,
= 3840 Н.
Согласно паспорту станка мощность его двигателя
= 19 кВт, коэффициент
полезного действия з = 0,81, допустимая сила подачи
= 15000 Н. Из всех
спроектированных переходов наибольшая мощность резания N соответствует сверлению
отверстий 17, 23, 34, 46, 33, 49, 50, 51 N = 1,93 кВт.
Проверяем условие
:1,93<15,4 - условие
выполняется.
Максимальная осевая сила для перехода сверления составляет Р
= 7204 Н, что меньше допустимого значения по станку. Следовательно,
установленные режимы резания осуществимы на данном станке.
Таблица 27. Рекомендуемые режимы резания
|
Параметр режима
резания
|
Вид обработки
отверстия
|
|
|
сверление
|
зенкерование
|
|
|
№ поверхности
|
|
3
|
18-25
|
16,17
|
16,17
|
|
Осевая сила Pт, Н
|
6218
|
6124
|
4866
|
95,5
|
|
Табличная
подача S0т, мм/об
|
0,30
|
0,39
|
0,29
|
0,19
|
|
Принятая подача
So, мм/об
|
0,255
|
0,33
|
0,34
|
0,16
|
|
Табличная
скорость резания vт, м/мин
|
20
|
19,4
|
21
|
41
|
|
Скорректированная
скорость резания v, м/мин
|
23
|
22,3
|
23,2
|
46
|
|
Фактическая
частота вращения шпинделя nф, мин
|
400
|
1250
|
2000
|
2000
|
|
Фактическая
скорость резания vф, м/мин
|
25,3
|
19,6
|
22
|
25,12
|
|
Табличная
мощность резания Nт, кВт
|
1,45
|
1,64
|
1,10
|
1,10
|
|
Фактическая мощность
резания N, кВт
|
1,7
|
1,93
|
1,7
|
1,3
|
|
Минутная подача
Sм, мм/мин
|
102
|
412,5
|
680
|
320
|
Расчёт режимов резания для операции фрезерование
Выбор инструмента
По приложениям 4, 12 выбраны следующие параметры инструмента:
Для обработки поверхностей 64, 65 - фреза концевая диаметром
25 мм, материал - Р6М5, число зубьев z = 6;
Для обработки поверхностей 42, 43 - фреза концевая, диаметром
75 мм, материал - Р6М5, число зубьев z = 6.
Передний угол г = 15˚;
Задний угол б = 20˚ - для диаметра 16 мм;
Задний угол б = 16° - для диаметра 63 мм;
Передний угол на торцевой части фрезы
= 0˚;
Задний угол на торцевой части фрезы
= 6˚.
Поверхность 64, 65 - лыски, шириной 14 мм;
Поверхность 42, 43 - квадрат 70´70 мм
Выбор стадии обработки
Показатель числа стадий обработки равен допуску выполняемого
размера, умноженному на составляющие показатели числа стадий обработки по карте
72 лист1 стр. в зависимости от:
Твердости обрабатываемого материала
= 0,70;
Числа зубьев фрезы:
= 0,65;
Отношения вылета фрезы к диаметру:
= 1,00;
Отношения ширины фрезерования к диаметру фрезы:
= 1,00
Исходя из допуска на выполняемый размер определяем показатель
числа стадий обработки:
для поверхности 64, 65
. (36)
.
для поверхности 42, 43
. (37)
.
Полученное значение показателя числа стадий обработки
является критерием для выбора необходимого количества стадий обработки:
для поверхности 64, 65
;
= 0,28 > 0,09 - Требуемая
точность может быть достигнута за одну (черновую) стадию обработки.
для поверхности 42, 43
;
= 0,32 > 0,15 - Требуемая
точность может быть достигнута за одну (черновую) стадию обработки
Выбор глубины резания
Для поверхностей 64, 65 по карте 73 стр. 207 для
= 1,5·14 = 21 мм2,
т.е. достаточно обработки за один рабочий ход
= 1,5·1 = 1,5 мм;
для поверхностей 42, 43 по карте 73 стр. 207 для
= 9,5·60 = 570 мм2,
т.е. достаточно обработки за два рабочих хода
= 9,5·0,65 = 6,17 мм;
= 9,5·0,35 = 3,32 мм.
Выбор подачи
Подачу на зуб для обработки поверхности выбираем по карте 79
стр. 213
для поверхности 64, 65
= 0,09 мм/зуб;
для поверхности 42, 43
= 0,08 мм/зуб.
Выбранные значения подачи корректируем с учетом поправочных
коэффициентов по формуле:
. (38)
По карте 82 стр. 218 выбираем поправочные коэффициенты для
измененных условий работы в зависимости от:
твердости обрабатываемого материала
= 0,80;
материала режущей части фрезы
= 0,80;
отношения фактического числа зубьев к нормальному
= 0,60 - для
поверхностей 64, 65;
отношения фактического числа зубьев к нормальному
= 0,70 - для
поверхностей 42, 43;
отношение вылета фрезы к диаметру
= 1,00;
для поверхностей 64, 65
= 0,09·0,80·0,80·0,60·1,00 = 0,034 мм/зуб;
для поверхностей 42,43
= 0,08·0,80·0,80·0,70·1,00 = 0,036 мм/зуб.
Подача, допустимая по шероховатости обработанной поверхности
по карте 83 стр. 219:
для поверхностей 64,65
= 0,17;
для поверхностей 42,43
= 0,16
Окончательно принимаем минимальные значения подачи на зуб.
Выбор скорости и мощности резания
Скорость и мощность резания выбираем по картам 84 стр. 222 и
87 стр. 229 с учетом поправочных коэффициентов в зависимости от:
Группы обрабатываемого материала
1,00;
твердости обрабатываемого материала
;
1,40;
материала режущей части фрезы
1,00;
периода стойкости режущей части фрезы
1,00;
отношения фактической ширины фрезерования к нормативной
1,00;
состояния поверхности заготовки
1,00;
наличия охлаждения
1,00.
Проверку выбранных режимов резания по мощности привода
главного движения станка приводят только для первого рабочего хода.
Табличные значения скорости и мощности резания:
для поверхности 64,65
= 17 м/мин;
= 1,61 кВТ;
для поверхности 42, 43
= 19 м/мин;
= 9,83 кВТ;
для поверхностей 42,43
= 19·1,00·0,70·1,00·1,00·1,00·1,00·1,00 = 13,3
м/мин
= 9,83·1,00·1,40·1,00·1,00·1,00·1,00·1,00 = 13,8
м/мин
для поверхностей 64, 65
= 17·1,00·0,70·1,00·1,00·1,00·1,00·1,00 = 12
м/мин
= 1,61·1,00·1,40·1,00·1,00·1,00·1,00·1,00 = 2,25
м/мин
Скорость резания назначаем по лимитирующему по стойкости
рабочему ходу: V=39 м/мин.
Частота вращения шпинделя:
(39)
для поверхностей 64, 65
;
для поверхностей 42,43
.
По паспорту станка принимаем ближайшее значение
= 800 мин-1,
= 200 мин-1.
С учетом этого фактическая скорость резания:
(40)
для поверхностей 64,65
;
для поверхностей 42,43
Фактическую мощность резания определяем по формуле:
(41)
для поверхностей 64,65
;
для поверхностей 3,4
.
Таблица 28. Рекомендуемые режимы резания
|
Параметр режима
резания
|
Фрезерование
|
|
|
поверхности
|
|
|
42,43
|
64,65
|
|
Табличная
подача на зуб Szт, мм/об
|
0,08
|
0,09
|
|
Принятая подача
на зуб So, мм/об
|
0,036
|
0,034
|
|
Табличная
скорость резания vт, м/мин
|
39
|
39
|
|
Скорректированная
скорость резания v, м/мин
|
39
|
40
|
|
Фактическая
частота вращения шпинделя nф, мин
|
200
|
800
|
|
Табличная
мощность резания Nт, кВт
|
9,83
|
1,61
|
|
Фактическая
мощность резания N, кВт
|
20
|
3,8
|
Расчёт режимов резания для операции шлифования
. Расчет скорости шлифовального круга
(42)
. Выбор характеристики шлифовального круга:
Характер обработки: шлифование гладких шеек;
Класс чистоты поверхности: 6 - 7;
Точность обработки д ≥ 0,03 мм;
Обрабатываемый материал: Сталь 40Х, HRC 30-50;
Круг - Э5 40 С2 - СТ1 5 К;
Скорость круга
= 45 м/сек.
. Расчет скорости V в м/мин и числа оборотов
n в минуту детали:
а) Определение рекомендуемой нормативами скорости
вращения детали: v=35м/мин;
б) Расчет числа оборотов шпинделя, соответствующего
рекомендуемой скорости, и уточнение его по паспорту станка:
(43)
для поверхности 11
для поверхности 2
в) Уточнение скорости вращения детали по принятым
оборотам шпинделя:
(44)
для поверхности 11
м/мин
для поверхности 2
м/мин
. Выбор минутной поперечной подачи
в мм/мин:
Автоматизированный цикл:
предварительная обработка:
; (45)
окончательная обработка:
. (46)
Ручной цикл:
, (47)
где
,
,
- минутные подачи по таблице на стр. 173;
Ширина шлифовального круга b = 40 мм;
- коэффициент, зависящий от обрабатываемого
материала и скорости круга;
- от припуска и точности;
- от диаметра круга, количество кругов и
характера поверхности.
= 1,5 мм/мин;
= 0,4 мм/мин;
= 0,65 мм/мин;
= 1,0;
= 1,5;
= 0,8.
= 1,5·1,0·1,5·0,8 = 1,8 мм/мин;
= 0,4·1,0·1,5·0,8 = 0,48 мм/мин;
= 0,65·1,0·1,5·0,8 = 0,78 мм/мин.
. Определение времени выхаживания:
= 0,09 мин.
. Определение величины слоя, снимаемого при
выхаживании
= 0,03 мм.
. Расчет машинного времени:
а) При автоматическом цикле шлифования:
б)
(48)
в) При ручном цикле:
, (49)
где a - общий припуск на сторону;
Припуск на сторону, снимаемый на этапе предварительной подачи
; (50)
Припуск на сторону, снимаемый на этапе окончательной подачи
; (51)
a = 0,07, тогда
= -0,007 мм;
= 0,047, тогда:
при автоматическом цикле
= 0,18 мин;
при ручном цикле
= 0,16 мин.
Таблица 29
|
Параметр режима
резания
|
Шлифование
|
|
|
поверхности
|
|
|
11
|
2
|
|
Минутная подача
на предварительной обработке Sм, мм/мин
|
1,8
|
1,8
|
|
Минутная подача
на окончательной обработке Sм, мм/мин
|
0,48
|
0,48
|
|
Минутная подача
при ручном цикле Sм, мм/мин
|
0,78
|
0,78
|
|
Табличная скорость
резания vт, м/мин
|
35
|
35
|
|
Скорректированная
скорость резания v, м/мин
|
35
|
35
|
|
Фактическая
частота вращения шпинделя nф, мин
|
183
|
287
|
|
Скорость
шлифовального круга vкр, м/мин
|
45
|
45
|
Расчет норм времени
Режимы резания норм времени определяем по справочнику
«Общемашиностроительные нормативы времени». Вспомогательное время заносим в
таблицу 28.
Таблица 30. Вспомогательное время для универсальных станков
|
№
|
Процессы
|
Установка,
снятие детали
|
Связанное с
основным переходом
|
Подготовит.
заготовит время
|
Смена инструмента
|
Изменение
подачи
|
Изменение числа
оборотов
|
Контроль
измерения
|
Всего (мин)
|
|
045
|
Подрезка торца
Точить Æ61 Точить канавку Точить Æ89 Сверлить Æ20
|
1,85
|
0,77
|
24
|
0,25
|
0,06
|
0,07
|
0,1
|
27,1
|
|
055
|
Расточка Æ40,4 Н11
|
-
|
0,62
|
-
|
0,5
|
0,06
|
0,07
|
0,18
|
1,43
|
|
060
|
Расточка Æ41
|
0,62
|
-
|
-
|
0,06
|
0,07
|
0,1
|
0,85
|
|
065
|
Расточка Æ50 Фаска 2´45°
|
-
|
0,62
|
-
|
-
|
0,06
|
0,07
|
0,1
|
0,85
|
|
075
|
Расточка 2 Æ52Н12
|
-
|
0,162
|
-
|
0,5
|
0,06
|
0,07
|
-
|
0,792
|
|
085
|
Подрезка торца
Точить Æ65
|
1,85
|
0,4
|
19
|
0,07
|
0,06
|
0,07
|
0,27
|
21,72
|
|
095
|
Точить Æ60
|
-
|
0,23
|
-
|
-
|
-
|
0,07
|
0,29
|
0,59
|
|
100
|
Канавка 13 мм
|
-
|
0,23
|
-
|
0,07
|
0,06
|
0,07
|
0,1
|
0,53
|
|
110
|
Канавка 8 мм
|
-
|
0,23
|
-
|
0,15
|
-
|
0,07
|
0,1
|
0,55
|
|
115
|
Уклоны на
канавке
|
-
|
0,14
|
-
|
0,07
|
0,06
|
0.07
|
-
|
0,34
|
|
120
|
Точить Æ40
|
-
|
0,09
|
-
|
0,07
|
0,06
|
0,07
|
0,29
|
0,58
|
|
125
|
Подрезка торца
Фаска 2´45°
|
-
|
0,31
|
-
|
0,07
|
0,06
|
0,07
|
0,29
|
0,8
|
|
130
|
Расточка Æ20,4 Н11
|
-
|
0,38
|
-
|
0,5
|
0,06
|
0,07
|
0,18
|
1,19
|
|
135
|
Канавка Æ32 Фаска 1´45°
|
-
|
0,3
|
-
|
0,07
|
0,06
|
0,07
|
-
|
0,5
|
|
150
|
Фрезеровать
квадрат
|
0,7
|
0,24
|
14
|
0,07
|
0,06
|
0,07
|
0,1
|
15,24
|
|
155
|
Фрезеровать
лыски
|
1,05
|
0,14
|
14
|
0,07
|
0,06
|
0,07
|
0,1
|
15,49
|
|
165
|
Сверлить
Зенкеровать Резьба
|
0,7
|
0,12
|
8
|
0,07
|
-
|
-
|
0,06
|
8,95
|
|
180
|
Сверлить 4 отв Æ 5 мм
|
1,2
|
0,12
|
13
|
0,07
|
-
|
-
|
0,06
|
14,45
|
|
195
|
Сверлить 4 отв Æ 5 мм
|
1,2
|
0,12
|
13
|
-
|
-
|
-
|
0,06
|
14,38
|
|
230
|
Шлифовать Æ 61 h6
|
1,85
|
0,55
|
10
|
-
|
-
|
-
|
0,33
|
12,73
|
|
235
|
Шлифовать Æ 40h7
|
1,85
|
0,39
|
10
|
-
|
-
|
-
|
0,33
|
12,57
|
|
Всего
|
132,1
|
Основное (технологическое) время определяется по формуле:
где l - длина обрабатываемой поверхности (определяется по чертежу)
l1 - время врезания и перебега
l2 - дополнительная длина на взятие пробной стружки
n - число оборотов шпинделя, в мин
S - подача на один оборот шпинделя
i - число проходов
Согласно приложениям 1 и 3 устанавливаются величины врезания
и перебега инструмента
и величины врезания
. Для каждой
обрабатываемой поверхности в соответствии с условиями работы они равны:
Для операции 045:
для поверхности 11:
= 3 мм
= 0 мм
для поверхности 12:
= 3 мм
= 0 мм
Тогда для поверхности 11
Для поверхности 12
Основное (технологическое) время на операцию равно
мин.
Для остальных операций основное (технологическое) время
рассчитываем аналогично, и данные заносим в таблицу 29.
Таблица 29. Основное время для универсальных станков
|
№ операции
|
процесс
|
Длина
обработки, мм
|
Врезание и
перебег, мм
|
На пробную
стружку, мм
|
Расчетная
длина, мм
|
Время, мин
|
Общее время,
мин
|
|
045
|
Подрезка торца
Точить Æ61 Точить канавку Точить Æ89 Сверлить Æ20
|
115 9 4 6 80
|
3 3 2 3 3
|
5 0 0 0 5
|
123 12 6 9 88
|
1,025 0,14 0,12
0,14 4,3
|
5,47
|
|
055
|
Расточка Æ40,4 Н11
|
28
|
3
|
5
|
36
|
1,5
|
1,5
|
|
060
|
Расточка Æ41
|
35 27
|
3 3
|
5 5
|
43 35
|
0,36 0,30
|
0,66
|
|
065
|
Расточка Æ50 Фаска 2´45°
|
13 2
|
3 0,5
|
0 0
|
16 2,5
|
0,48 0,02
|
0,50
|
|
075
|
Расточка 2
канавок
|
6,6 6,6
|
2 2
|
0 0
|
8,2 8,2
|
0,45 0,45
|
0,9
|
|
085
|
Подрезка торца
Точить Æ65
|
112 97
|
3 3
|
5 5
|
120 105
|
1,0 1,274
|
2,274
|
|
095
|
Точить Æ60
|
57
|
3
|
5
|
65
|
1,02
|
1,02
|
|
100
|
Канавка 13 мм
|
13
|
3
|
0
|
16
|
0,9
|
0,9
|
|
110
|
Канавка 8 мм
|
8
|
3
|
0
|
11
|
0,3
|
1,5
|
|
115
|
Уклоны на
канавке
|
3 3
|
3 3
|
0 0
|
6 6
|
0,1 0,1
|
0,2
|
|
120
|
Точить Æ40
|
7
|
3
|
0
|
10
|
0,52
|
0,52
|
|
125
|
Подрезка торца
Фаска 2´45°
|
112 2
|
3 0,5
|
5 0
|
120 2,5
|
0,98 0,02
|
1,0
|
|
130
|
Расточка Æ20,4Н11
|
13
|
3
|
5
|
21
|
0,15
|
0,13
|
|
135
|
Канавка Æ32 Фаска 1´45°
|
6,6 1
|
2 0,3
|
0 0
|
8,6 1,03
|
0,3 0,015
|
0,315
|
|
150
|
Фрезеровать
квадрат
|
6 6
|
18 18
|
10 10
|
34 34
|
13,91 13,91
|
2,16
|
|
155
|
Фрезеровать
лыски
|
12 15
|
7,5 7,5
|
5 5
|
24,5 27,5
|
0,9 1,02
|
1,92
|
|
165
|
Сверлить
Зенкеровать Резьба
|
12 12 12 12 12
12
|
2 2 3 3 2 2
|
0 0 0 0 0 0
|
0,13 0,13 0,04
0,04 0,04 0,04
|
0,42
|
|
180
|
Сверлить 4 отв Æ 5 мм
|
15 15 15 15
|
2 2 2 2
|
0 0 0 0
|
17 17 17 17
|
0,04 0,04 0,04
0,04
|
0,16
|
|
195
|
Сверлить 4 отв Æ 5 мм
|
15 15 15 15
|
2 2 2 2
|
0 0 0 0
|
17 17 17 17
|
0,04 0,04 0,04
0,04
|
0,16
|
|
230
|
Шлифовать Æ 61 h6
|
9
|
20
|
0
|
29
|
0,2
|
0,2
|
|
235
|
Шлифовать Æ 40h7
|
7
|
20
|
0
|
27
|
0,12
|
0,12
|
|
Всего
|
22,03
|
7. Сравнительная характеристика проектного и
базового варианта техпроцесса (таблица времен)
Таблица 30
|
Операция
|
Процесс
|
ЧПУ
|
РУ
|
|
Токарная
Установ 1
|
Подрезка торца
Точить Æ61 Точить канавку Точить Æ89 Сверлить Æ20 Расточка Æ40,4 Н11 Расточка Æ41 Расточка Æ50 Фаска 2´45° Расточка 2
канавок
|
41,81
|
35,782
|
|
Токарная
Установ 2
|
Подрезка торца
Точить Æ65 Точить Æ60 Канавка 13 мм Канавка 8 мм Уклоны на канавке Точить Æ40 Подрезка торца Фаска 2´45° Расточка Æ20,4Н11
Канавка Æ32 Фаска 1´45°
|
33,39
|
33,459
|
|
Фрезерная
|
Фрезеровать
квадрат
|
|
17,4
|
|
Фрезерная
|
Фрезеровать
лыски
|
|
17,41
|
|
Сверлильная
|
Сверлить
Зенкеровать Резьба
|
9,37
|
9,37
|
|
Сверлильная
Установ 1
|
Сверлить 4 отв Æ 5 мм
|
|
14,61
|
|
Сверлильная
Установ 2
|
Сверлить 4 отв Æ 5 мм
|
|
14,61
|
|
Шлифовальная
|
Шлифовать Æ 61 h6 Шлифовать Æ
40h7
|
|
25,62
|
8. Проектирование оснастки
Описание работы приспособления для одной из операций,
выполняемой на станке с ЧПУ
В приспособление заготовка опирается установочной базой на
опорную пластину, двойной опорной базой - на цилиндрическую оправку 1.
Закрепляем заготовку силами Р, осуществляемая помимо съемной разрезной шайбы 3
и ручного винтового привода.
Заготовка устанавливается отверстием на цилиндрическую
оправку 1 и доводит до контакта с торцевой поверхностью оправки, играющую роль
установочной поверхности опорной пластины. На шток 2 устанавливаем съемную
шайбу 3 и поворотом маховика 4 с помощью винта 5 закрепляющего заготовку. Для
этого поворотом рукоятки 6 отводим стопор 7 и вращающийся диск 8 с помощью
рукояток 9. Диск вращается до тех пор, пока стопор 7 под действием пружины 10
не войдет в новое делительное отверстие, зафиксировав диск и заготовку в
требуемом положении.
Расчет точности базирования детали
где у - погрешность базирования;
ап - допуск на диаметр отверстия;
а - допуск на диаметр базы;
Д - гарантированный диаметральный зазор;
D - диаметр отверстия;
d - диаметр базы
мм
мм
мм
Погрешность базирования равна максимальному диаметральному
зазору
Расчет усилия зажима
Расчет требуемого усилия зажима
где Q - требуемое усилие зажима на винте;
K - коэффициент запаса, К=2,5;
Pz - составляющая сила
резания Pz = 500 Н;
D - диаметр обрабатываемой поверхности D = 70 мм;
D1 - диаметр быстросменной шайбы D1 = 61 мм;
d - диаметр базового отверстия d = 20,4 мм;
f - коэффициент трения на рабочих поверхностях f = 0,4
Расчет фактического усилия зажима
где Q - фактическое усилие на винте;
F - Сила действующая на рукоятку F = 26 Н;
дсм - дополнительное напряжение растяжения
материала винта дсм = 98МПа;
dв - диаметр винта
l - длина рукоятки l = 150 мм;
rср - средний радиус винта rср= dв·0,45 = 4,7 мм;
б = 2°30’
ц = 6°30’
Вывод: приспособление обеспечивает надежный зажим детали
Технические требования
1. Отклонение от перпендикулярности поверхности А
относительно Б не более T1 на длине l1.
. Отклонение от параллельности поверхности А
относительно поверхности В не более T2 на длине l2.
. Отклонение от параллельности оси кондукторной
втулки относительно поверхности А не более T3 на длине l3.
. Отклонение от перпендикулярности оси поверхности Г
относительно поверхности А не более T4 на длине l4.
Список
литературы
деталь
технологичность заготовка станок
1. Расчёт припусков и межоперационных размеров в
машиностроении: Учеб. пособ. для машиностроит. спец. вузов/ Я.М. Радкевич, В.А.
Тимирязев, А.Г. Схиртладзе, М.С; под ред. В.А. Тимирязева. - М.: Высш. шк.,
2004 - 272 с.: ил.
. Кондаков А.И., Васильев А.С. Выбор заготовок в
машиностроении: справочник. - М.: Машиностроение, 2007. - 560 с.: ил.
. Дунаев П.Ф., Лёликов О.П. Конструирование узлов
и деталей машин: Учеб. пособие для машиностроит. спец. вузов. - 4-е изд.,
перераб. И доп. - М.: Высш. шк., 1985. - 416 с.: ил.