Проектирование участка машиностроительного производства

  • Вид работы:
    Реферат
  • Предмет:
    Другое
  • Язык:
    Русский
    ,
    Формат файла:
    MS Word
    394,58 Кб
  • Опубликовано:
    2013-08-28
Вы можете узнать стоимость помощи в написании студенческой работы.
Помощь в написании работы, которую точно примут!

Проектирование участка машиностроительного производства

Содержание

Введение

1. Технологический процесс изготовления детали "Кольцо наружное"

2. Производственная программа

3. Расчет трудоемкости электроэрозионной операции

4. Оборудование производственного участка

5. Состав рабочих участка

6. Состав работающих участка

7. Расчет производственных и вспомогательных площадей

8. Расчет проходов и проездов

9. Проектирование вспомогательных отделений участка

10. Проектирование системы контроля качества изделий

11. Проектирование транспортной системы

12. Проектирование складской системы

13. Разработка производственных маршрутов изготовления изделий

14. Компановка участка

15. Схема энергетических потоков

16. Производственная и организационная структура

17. Техническое задание на проектирование участка. Требования к условиям работы производственного участка

Заключение

Введение

Весь производственный процесс машиностроительного завода делится на три основные фазы: заготовительную, обрабатывающую, сборочную.

Цехом называется часть предприятия, обособленная в административно-хозяйственном отношении, имеющая своё управление и выполняющая на основе производственного плана определенные функции.

Главное влияние на характеристики цеха, т.е. на его величину, состав, уровень технологии и структуру управления, оказывают характер выпускаемой продукции, тип производства. Тип производства определяет уровень специализации цеха.

В данной работе был спроектирован участок электроэрозионной обработки деталей - представителя "Кольцо наружное". Деталь "Кольцо наружное" располагается в сопловом аппарате. Сопловой аппарат - элемент турбины, состоит из расположенных по окружности спрофилированных сопловых (направляющих) лопаток, в каналах между которыми происходит расширение пара (газа) и превращение его потенциальной энергии в кинетическую. Пар в сопловом аппарате приобретает значительную скорость, после чего поступает на рабочие лопатки турбины, где кинетическая энергия струи пара превращается в механическую энергию вращающегося ротора. Направляющие лопатки вставляются в профильные просечки наружного кольца и закрепляются. На наружных кольцах и оболочке турбины предусмотрены "лючки" для осмотра лопаток ротора и для выхода воздуха. "Лючки" сложной формы используются для совмещения с блоком, состоящего из трех лопаток.

Основой для проектирования является заводской ТП обработки деталей. В проекте проведены расчеты производственной программы, потребного количества оборудования, определена численность работающих, рассчитаны площади необходимые для размещения оборудования, разработана планировка участка. Все расчеты приведены для среднесерийного производства.

Целью курсовой работы является закрепление, углубление и обобщение знаний, полученных во время обучения и их применение к решению конкретных задач технологического проектирования предприятий. В процессе выполнения задания:

)        получили твердые знания и навыки работы по основным разделам дисциплины " Проектирование специального оборудования ";

) научили определять пути и способы совершенствования технологических процессов и комплексной автоматизации;

) приобрели навыки разработки чертежей технологических планировок, разработки другой проектной документации;

1. Технологический процесс изготовления детали "Кольцо наружное"

технологический деталь электроэрозионный производственный

Таблица 1

№ операции

Наименование операции

Оборудование (модель)

Шероховатость Ra, мкм

000

 Карта ТУ на сварку

 


010

 Токарная

МК-163

6,3

015

 Токарная с ЧПУ

АТ600В1

3,2

020

 Токарная

МК-163

3,2

025

 Слесарная

Верстак слесарный

3,2

030

 Токарная

МК-163

3,2

035

 Сверлильная

2А56

6,3

040

 Слесарная

Верстак слесарный

3,2

045

 Сверлильная

2А56

3,2

050

 Слесарная

Верстак слесарный

3,2

055

 Сверлильная

2А56

3,2

060

 Слесарная

Верстак слесарный

3,2

065

 Слесарная

Верстак слесарный

3,2

070

 Сверлильная

2М112

1,6

075

 Фрезерная

2620Б

6,3

080

 Слесарная

Верстак слесарный

3,2

085

 Промывка

Т-309


090

 Карта ТУ на

 


 

 рентгенконтроль

 


095

 Контроль

Стол контрольный


100

 Слесарная

Верстак слесарный

3,2

105

 Электроэрозионная

4Е724

0,8

110

 Электроэрозионная

4Е724

0,8

115

 Промывка

Т-309


120

 Слесарная

Верстак слесарный

3,2

125

 Контроль

Стол контрольный


130

 Слесарная

Верстак слесарный

3,2

135

 Промывка

Т-309


140

 Контроль ЦМ-15В

 


145

 Контроль

Стол контрольный


150

 Сдача на сборку в

 


 

 группу 2

 



2. Производственная программа

Под производственной программой понимают перечень изделий, которые должны быть в заданном количестве изготовлены цехом за плановый период (год, квартал, месяц). Программа является основной для определения общей трудоемкости изготовления изделий в цехе и всех последующих расчетов мощностей цеха.

Для нахождения производственной программы необходимо всю номенклатуру изготовляемых деталей расклассифицировать, получая группу или типы изделий, сходные по конструкции и технологии изготовления. В каждой группе выделяют изделие представитель, по которому все последующие расчеты. В качестве изделий-представителей принимают наиболее характерные изделия данной группы и к ним предъявляют следующие требования:

число изделий-представителей должно быть преобладающим в годовой программе;

общая годовая трудоемкость изделий-представителей должна составлять значительную величину от общей годовой трудоемкости, данной группу;

наличие в группе изделий близких аналогов, сходных по конструктивным признакам, габаритным размерам и массе.

В практике проектирования, принято приводимые изделия данной группы приравнивать к изделию - представителю с учетом соотношений по массе, серийности программы, сложности механической обработки и других параметров.

Приведенная программа выпуска деталей:

,

где Ni - годовой объем выпуска i-го изделия

kпр - коэффициент приведения

,

1 - коэффициент приведения по массе,

,

k2 - коэффициент приведения по серийности

.

Деталь

Вес G, кг

Nгод, шт

К1

К2

Кпр

Nпр

Qзаг.

ti

Кольцо1

7,95

4000

1

1

1

1100

9,54

30,1

Кольцо2

7,31

3700

0,94532

1,015715

0,960175

3552,647

8,772

24

Кольцо3

8

3800

1,004209

1,010311

1,014564

3855,344

9,6

20

Кольцо4

8,05

3850

1,00841

1,007674

1,016148

3912,171

9,66

40

Кольцо5

8,1

3920

1,012602

1,004049

1,016702

3985,473

9,72

5,6

Кольцо6

8,2

3960

1,020961

1,002012

1,023016

4051,142

9,84

15,6

Кольцо7

8,22

3970

1,022629

1,001507

1,02417

4065,955

9,864

20

Кольцо8

8,36

4200

1,034266

0,990289

1,024223

4301,735

10,032

25

Кольцо9

8,49

4220

1,045014

0,989349

1,033884

4362,989

10,188

36,5


72,68

35620





87,216



3. Расчет трудоемкости электроэрозионной операции

Определим основное машинное время:

Тосн.маш.=z/Vи,

где z - размер припуска (z=2,1 мм ),

Vи - скорость подачи по глубине обработки,

и=Q/S,

где Q - производительность,

S - площадь проекции обрабатываемой поверхности на плоскость, перпендикулярную направлению подачи,

=16*16=256 мм2,

Q=kAи/qτи,

где k - коэффициент, который зависит от вида и состояния рабочей среды, ее прокачки, материалов и размеров электродов, характеристики импульсов, k =1,

Аи - энергия импульса,

Аи=Iи Uи τ и=45*1250*10-6*18=1,01 Дж,

Q=1*1,01/3*1250*10-6=266,7,

Vи=266,7/256=1,04 мм/мин,

Тосн.маш.=2,1/1,04=2,02 мин.,

Для 14 "окон" требуется:

Тосн.маш=14* Тосн.маш’=14*2,02=28,3 мин.

Вспомогательное время для прожига одного "окна" складывается из:

1.      Установить/снять деталь в приспособление 0,5 мин;

2.      закрыть/открыть ванну станка 0,08 мин;

.        заполнить ванну рабочей жидкостью 0,3 мин;

.        включить/выключить станок 0,04 мин;

.        подвести электрод 0,1 мин;

.        включить/выключить обработку 0,04 мин;

.        спустить рабочую жидкость 0,3 мин;

.        время на измерение калибром 0,11 мин;

.        время на измерение щупом 0,2 мин.

Твсп = 1,67 мин.

Для прожига 14 "окон" Твсп = 7,52 мин.

Штучное время:

Для прожига 14 "окон":

Тшт.=28,3+1,67+7,52=37,49 мин.

4. Оборудование производственного участка

При разработке технического проекта число станков подсчитывают отдельно по номенклатуре и каждому типу и размеру. Наиболее точные результаты получаются, когда в основу расчета положены технологические процессы с соответствующим определением затрат времени по отдельным элементам путем технического нормирования.

 Количество единиц основного оборудования на каждом из четырех участков и число рабочих обслуживающих данное оборудование рассчитывают технологи-проектировщики.

Определение потребного количества оборудования:

 ,

где ti - трудоемкость,

Ni - количество i-го изделия,

Fдо - годовой действительный фонд времени работы оборудования,

ηз - планированный коэффициент загрузки оборудования.

до=3904;

ηз=0,85;

==3,32;

Принимаем Sj=4 шт.

В данной курсовой работе ЭЭО выполняется на электроэрозионном копировально-прошивочном станке 4Е724. Станок комплектуется генераторами технологического тока типа ШГИ. Генераторы имеют широкий диапазон задаваемых электрических параметров обработки и возможность ручного и автоматического управления процессом ЭЭО.

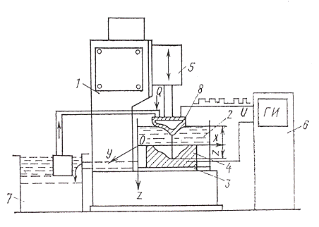
Электроэрозионная установка (рис.1) состоит из следующих типичных элементов: собственно станка 1 с рабочей ванной 2, в которой находится стол 3 для установки электрода-изделия 4; регулятора подачи 5; источника питания 6 - генератора импульсов (ГИ); системы снабжения 7 диэлектрической жидкостью, состоящей из насосов, фильтров, бака и т.п.; электрода-инструмента 8.

Рис. 1. Электроэрозионный станок со вспомогательными устройствами энергопитания и снабжения рабочей жидкостью

Технологические характеристики станка:

Таблица 1.

Размеры рабочей поверхности стола, мм

 630х1120

Наибольший размер обрабатываемой заготовки, мм

 550х800х400

Установочные перемещения инстр. головки, мм

 

продольное

800

поперечное

400

вертикальное

250

Габариты станка, мм

 3630х3850х3203

Масса станка, кг

5000

Тип комплектующего генератора

 ШГИ-125-100

 

 ШГИ-40-440


Перечень основных составных частей станка:

станина;

механизм подъема ванны;

защита направляющей скалки;

траверса;

механизм подачи инструмента;

комплект коробов;

генератор;

шкаф управления;

подставка;

баки для рабочей жидкости;

подставка.

. Состав рабочих участка

Для осуществления производственных процессов машиностроительном производстве предусмотрен определенный штат персонала, который делят на следующие категории: основные(производственные) и вспомогательные рабочие, инженерно-технические работники(ИТР), служащие, младший обслуживающий персонал (МОП). Основные рабочие - это рабочие производства, непосредственно выполняющие операции технологического процесса по изготовлению продукции.

Численность рабочих на участке:

а) Количество станочников


где Ксм - коэффициент сменности,

Sпр=4,

Fдр - действительный годовой фонд времени рабочего,

Квн - коэффициент выполнения норм ,

Кмо - коэффициент многостаночного обслуживания,

Квн=1,1;

Кмо=1,2;

Fдр=245 раб.дн.∙8ч.=1960ч.;


Принимаем Rст.=11 чел.

б) Количество слесарей

сл=Rст∙0,05,

Rсл.=11*0,05=0,55.

Принимаем Rсл.=1 чел.

в) Количество простых рабочих

пр.раб.=Rст+Rсл,

Rпр.раб.=11+1=12 чел.

. Состав работающих участка

Вспомогательные рабочие в машиностроительном производстве - это рабочие, не принимающие непосредственного участия в выполнении операций по изготовлению производственной программы выпуска продукции, а занятые обслуживанием технологических процессов. К служащим относят работников, выполняющих в соответствии с занимаемой должностью административно - хозяйственные функции, ведущих финансирование, учет и статический учет, решающих социально - бытовые и подобные вопросы. Младший обслуживающий персонал составляют сторожа, гардеробщики и уборщики бытовых и конторских помещений.

а) Количество вспомогательных рабочих

вс.раб=Rпр.раб∙0,2,

Rвс.раб.=12*0,2=2,4,

Принимаем Rвс.раб.=3 чел.

б) Численность служащих

служ=(Rпр.раб.+Rвс.раб)∙0,12,

Rслуж.=(12+3)*0,12=3,

Принимаем Rслуж.=3 чел.

в) Младший обслуживающий персонал

моп=(Rпр.раб.+Rвс.раб)∙0,02,

Rмоп.=(12+3)*0,02=0,3,

Принимаем Rмоп.=1 чел.

. Расчет производственных и вспомогательных площадей

За общую площадь цеха в технологических расчетах принимают сумму производственной и вспомогательной площадей (без служебно-бытовой площади). В состав производственной площади включают площади, занимаемые рабочими позициями (местами), вспомогательным оборудованием, находящимся на производственных участках, проходами и проездами между оборудованием внутри производственных участков. На вспомогательных площадях размещают все оборудование и устройства вспомогательных систем.

а) Производственная площадь

ст.уч.=fуд∙Sпр.,

уд. - коэффициент удельной производственной площади,

уд.=25 м2,

Fст.уч.=25*5=125 м2.

б) Площадь слесарного участка

сл.уч.=fуд.∙В,

Fуд.=5м2,

где В - фактическое число верстаков,

В=Rсл./2=1/2=0,5,

Принимаем В=1,

сл.уч.=5*1=5 м2.

в) Общая площадь производственного участка

пр=Fст.уч.+Fсл.уч.,

Fпр.=125+5=130 м2.

г) Площадь склада заготовок

,

где Qзаг. - вес заготовки,

з.=NB(1+α+β),

 - программа выпуска, α - коэффициент запасных частей (α=1), β - коэффициент брака (β=0,05), Т - страховой запас заготовок на складе (Т=2 дн.), М - число рабочих дней в году (М=245 дн.), q - грузонапряженность площади склада (q=25 т/м2), Кn1 - коэффициент использования площади склада заготовок (Кn1=0,5),

з.=35620(1+1+0,05)=73021,

м2.

Принимаем Fскл.заг.=5 м2.

д) Площадь промежуточного склада

,

Кn2 - коэффициент использования площади промежуточного склада (Кn2=0,8),

 м2.

Принимаем Fпром.скл. = 3 м2.

8. Расчет проходов и проездов

Схема размещения основного и вспомогательного оборудования на площадях цехов и участков - важный этап проектирования нового и реконструкции существующего производства. При размещении основного оборудования должны быть соблюдены нормы технологического проектирования, регламентирующие ширину проходов и проездов, расстояние между станками и станков от стен и колонн.

Ширина проездов и проходов между станками:

В =αН+b(z+D),

α - число рабочих зон (α=1),

Н - ширина рабочих зон (Н=800 мм),

b - число направлений движения (b=1),

z - гарантированный зазор между транспортным средством и рабочей зоной (z=200 мм),

D - ширина транспортного средства (В=1500 мм),

получаем:

В = 1*800+1(200+1500)=2500 мм.

Принимаем ширину проходов и проездов между станками - 2500 мм.

9. Проектирование вспомогательных отделений участка

На вспомогательных площадях размещают все оборудование и устройства вспомогательных систем. К вспомогательным отделениям нашего участка отнесем:

помещение для приготовления рабочих сред. Площадь помещения S = 12 м2.

помещение для изготовления электрод - инструментов. Площадь помещения S = 12 м2.

помещение для промывки деталей и заготовок. Площадь помещения S = 8м2.

слесарный участок. Площадь помещения S = 6 м2.

помещение для контроля деталей. Площадь помещения S = 6 м2.

Во всех вспомогательных отделениях участка предусматриваем наличие: столов, по необходимости стеллажей, освещение, огнетушителей. В помещение для приготовлении рабочих сред обязательно предусматриваем наличие вентиляции, т.к.

работа ведется с использованием рабочих жидкостей, где используются индустриальные масла. В помещение для промывки деталей и инструментов также

обязательно предусматриваем наличие вентиляции, т.к. промывка деталей ведется ацетоном. Во всех помещениях предусматриваем окна для хорошего освещения и наличия дневного света.

. Проектирование системы контроля качества изделий

Основные параметры элементов системы контроля качества изделий выбирают исходя из технических условий на приемку материалов, полуфабрикатов, готовых деталей, собранных сборочных единиц, а также требований к производительности контрольных операций.

Помещения для контрольно - поверочных пунктов располагаем около окон, а полы в них выполняем из паркетной доски, покрытой лаком, или резинового линолеума для облегчения удаления пыли. Облицовочные материалы должны быть полуматовой фактуры, не допускающей бликов, светлых нейтральных тонов, окрашенные пылеотталкивающей алкидностирольной эмалью. Температура в помещении должна составлять около 20°С, общая освещенность должна быть не меньше 500 лк. В качестве искусственного освещения следует использовать люминесцентные лампы белого света.

. Проектирование транспортной системы

За основу проектирования транспортной системы принимают схему материальных связей машиностроительного производства, на которой указывают грузопотоки между основным оборудованием, накопителями, производственными подразделениями.

Оптимальная транспортно - технологическая схема обеспечивает:

минимальное число действительно необходимых операций;

минимальные расстояния транспортирования и число транспортных перемещений грузов;

малое число пересечений и разветвлений;

требования охраны труда;

экономическую эффективность и ремонтопригодность.

Основной задачей при проектировании транспортной системы является сокращение объема подъемно - транспортных операций и снижение трудозатрат при заданном объеме работ.

Выбираем наиболее удобный вид транспортной системы для перемещения детали "кольцо наружное" -тележка. На участке показываем все возможные пути перемещения транспортной системы.

12. Проектирование складской системы

Складская система предназначена для обеспечения своевременного снабжения основного оборудования полуфабрикатами в подготовленном для транспортирования виде и хранения готовых изделий.

Производственный процесс начинается и заканчивается на складах, причем склад выполняет роль демпфирующего элемента при нестабильных дискретных входных и выходных грузопотоках.

Технологический процесс складирования состоит из следующих этапов: приемка грузов, размещение и хранение их, отпуск груза со склада.

В процессе размещения и организации хранения грузов предусматриваются следующие технологические операции: определение свободных мест хранения, перемещение транспортной партии к соответствующей ячейке на складе, укладка на постоянные места хранения, хранение, введение информации в ЭВМ о расположении каждого груза.

В общем случае складская система с учетом технологического процесса выполнения складских работ имеет следующую структуру: склад для хранения полуфабрикатов, промежуточный склад, которые оснащены приемно - сдаточными секциями, стеллажами, столами, установкой установки и съема полуфабрикатов.

. Разработка производственных маршрутов изготовления изделий

Операция 000 - Заготовительная. Деталь из цеха 43 в цех 3а1 поступает термообработанной с проверенными сварными швами.

Операция 010 - Токарная. Приспособление выверяется по базовым поверхностям. Деталь устанавливается в приспособление и закрепляется, подрезается торец, точится деталь, выдерживая размеры, деталь снимается.

Оборудование: МК-163. Шероховатость поверхности Ra = 6,3 мкм.

Операция 015 - Токарная с ЧПУ. Приспособление выверяется по базовым поверхностям. Деталь устанавливается в приспособление и закрепляется, обрабатывается по программе, предварительно, оставляя припуск на окончательную обработку, выдерживая размеры.

Оборудование: АТ600В1. Шероховатость поверхности Ra = 3,2 мкм.

Операция 020 - Токарная. Приспособление выверяется по базовым поверхностям. Деталь устанавливается в приспособление и закрепляется, подрезается торец, точится диаметр, выдерживая размеры, притупляются острые кромки фаской или радиусом, размеры предъявляются контролеру на станке, деталь снимается.

Оборудование: МК-163. Шероховатость поверхности Ra = 3,2 мкм.

Операция 025 - Слесарная. Деталь устанавливается на слесарный верстак, переносится маркировка обозначения детали, порядкового номера детали электрохимическим методом, предъявляется контролеру, деталь снимается.

Оборудование: верстак слесарный. Шероховатость поверхности Ra = 3,2 мкм.

Операция 030 - Токарная. Приспособление выверяется по базовым поверхностям. Деталь устанавливается в приспособление и закрепляется, подрезается торец, точится диаметр, выдерживая размеры, притупляются острые кромки фаской или радиусом, размеры предъявляются контролеру на станке, деталь снимается.

Оборудование: МК-163. Шероховатость поверхности Ra = 3,2 мкм.

Операция 035 - Сверлильная. Деталь устанавливается на подставку, на деталь устанавливается кондукторная плита и закрепляется, сверлятся 180 отверстий d = 6,2 мм, 36 отверстий d = 1,5 мм, деталь снимается.

Оборудование: 2А56. Шероховатость поверхности Ra = 6,3 мкм.

Операция 040 - Слесарная. Деталь устанавливается на слесарный верстак, зачищаются заусенцы и притупляются острые кромки фаской, зенкеруются 72 фаски, выдерживая размеры, отверстия калибруются (при необходимости), деталь снимается.

Оборудование: верстак слесарный. Шероховатость поверхности Ra = 3,2 мкм.

Операция 045 - Сверлильная. Деталь устанавливается в кондуктор и закрепляется, сверлится 28 отверстий d = 7 мм, выдерживая размер, деталь снимается.

Оборудование: 2А56. Шероховатость поверхности Ra = 3,2 мкм.

Операция 050 - Слесарная. Деталь устанавливается на слесарный верстак, зачищаются заусенцы и притупляются острые кромки фаской, отверстия калибруются (при необходимости), деталь снимается.

Оборудование: верстак слесарный. Шероховатость поверхности Ra = 3,2 мкм.

Операция 055 - Сверлильная. Деталь устанавливается на подставку кондуктора, фиксируется, устанавливается съемное кольцо кондуктора и деталь закрепляется крестовиной кондуктора, проверяется отсутствие зазора между упорным торцем детали и упорным торцем кондуктора, крестовина кондуктора снимается и устанавливается кондукторная рубашка на подставку кондуктора, деталь закрепляется крестовиной кондуктора, сверлятся 14 отверстий d = 2 мм, зенкеруются, завертываются, деталь снимается.

Оборудование: 2А56. Шероховатость поверхности Ra = 3,2 мкм.

Операция 060 - Слесарная. Деталь устанавливается на слесарный верстак, зачищаются заусенцы и притупляются острые кромки фаской, отверстия калибруются (при необходимости), деталь снимается.

Оборудование: верстак слесарный. Шероховатость поверхности Ra = 3,2 мкм.

Операция 065 - Слесарная. Деталь устанавливается на слесарный верстак, фаски зенкеруются, отверстия калибруются (при необходимости), деталь снимается.

Оборудование: верстак слесарный. Шероховатость поверхности Ra = 3,2 мкм.

Операция 070 - Сверлильная. Деталь устанавливается в кондуктор и закрепляется, сверлится 36 отверстий d = 5 мм, развертываются, деталь снимается.

Оборудование: 2М112. Шероховатость поверхности Ra = 1,6 мкм.

Операция 075 - Фрезерная. Деталь устанавливается в приспособление и закрепляется, фреза настраивается по габаритной площадке, фрезеруется 1 паз, выдерживая размеры, деталь снимается.

Оборудование: 2620Б. Шероховатость поверхности Ra = 6,3 мкм.

Операция 080 - Слесарная. Деталь устанавливается на слесарный верстак, зачищаются заусенцы и притупляются острые кромки фаской, фаски зенкеруются, выдерживая размер, и принимаются по контрольному образцу, отверстия калибруются (при необходимости), деталь снимается.

Оборудование: верстак слесарный. Шероховатость поверхности Ra = 3,2 мкм.

Операция 085 - Промывка. Деталь промывается в моечной машине в содохромпиковом растворе согласно инструкции, деталь обдувается сухим сжатым воздухом и протирается чистой салфеткой.

Оборудование: Т-309.

Операция 090 - Карта ТУ на рентгенконтроль. Производится контроль качества кольцевых сварных швов рентгенконтролем по технологии ЦЗЛ.

Операция 095 - Контроль. Наружным осмотром проверяется: шероховатость поверхностей согласно эскизу, отсутствие острых кромок, заусенцев, рисок, трещин, забоин и других дефектов материала, наличие маркировки обозначения и порядкового номера детали, наличие росписи контролера за оп. 090, качество сварных швов при помощи лупы 4-х кратного увеличения, наличие и правильность оформления сопроводительной карты.; проверяются размеры.

Оборудование: стол контрольный.

Операция 100 - Слесарная. Деталь устанавливается на слесарный верстак, производится доделка (недоборы размеров, забоин, царапин) по указанию мастера или контролера, выполненная работа предъявляется контролеру, деталь снимается.

Оборудование: верстак слесарный. Шероховатость поверхности Ra = 3,2 мкм.

Операция 105 - Электроэрозионная. Деталь устанавливается в приспособление, фиксируется и закрепляется, электрод настраивается по кондукторной планке "К", прожигается окно "К", деталь перезафиксируется, все переходы повторяются, сменяется электрод и кондукторная планка, прожигается окно "М", деталь перезафиксируется, все переходы повторяются деталь снимается.

Оборудование: 4Е724. Шероховатость поверхности Ra = 0,8 мкм.

Операция 110 - Электроэрозионная. Деталь устанавливается в приспособление, фиксируется и закрепляется, электрод настраивается по кондукторной планке с маркировкой "Ю", прожигается окно "Ю" и координаты согласно таблицы, деталь перезафиксируется, все переходы повторяются, деталь снимается.

Оборудование: 4Е724. Шероховатость поверхности Ra = 0,8 мкм.

Операция 115 - Промывка. Деталь промывается в моечной машине в содохромпиковом растворе согласно инструкции, деталь обдувается сухим сжатым воздухом и протирается чистой салфеткой.

Оборудование: Т-309.

Операция 120 - Слесарная. Деталь устанавливается на слесарный верстак, зачищаются заусенцы и притупляются острые кромки, оставшиеся после прожига 14 окон "М", 28 окн "К" и 42 окон "Ю" фаской, деталь снимается.

Оборудование: верстак слесарный. Шероховатость поверхности Ra = 3,2 мкм.

Операция 125 - Контроль. Наружным осмотром проверяется шероховатость поверхностей окон "К", "М", "Ю", отсутствие механических повреждений и металлургических дефектов (трещин, раковин), наличие маркировки обозначения и порядкового номера детали, наличие росписи контролера за оп. 095 в сопроводительной карте, наличие и правильность оформления сопроводительной карты; проверяются размеры.

Оборудование: стол контрольный.

Операция 130 - Слесарная. Деталь устанавливается на слесарный верстак, скругляются кромки на 42 окнах согласно эскизу, деталь снимается.

Оборудование: верстак слесарный. Шероховатость поверхности Ra = 3,2 мкм.

Операция 135 - Промывка. Деталь промывается в моечной машине в содохромпиковом растворе согласно инструкции, деталь обдувается сухим сжатым воздухом и протирается чистой салфеткой.

Оборудование: Т-309.

Операция 140 - Контроль ЦМ-15В. Капиллярный метод контроля детали.

Операция 145 - Контроль. Наружным осмотром проверяется шероховатость скругления кромок окон "М" и "К", отсутствие механических повреждений и металлургических дефектов (трещин, раковин), отсутствие острых кромок, забоин, наличие маркировки обозначения и порядкового номера детали, наличие росписи контролера за оп. 120 и оп. 90 в сопроводительной карте.

Оборудование: стол контрольный.

Операция 150 - Сдача на сборку в группу 2.

14. Компановка участка

Окончательное формирование производственной системы с завершением работ по организации материальных, информационных и энергетических потоков происходит на последней стадии проектирования - планировочном этапе, где производится взаимное размещение всех элементов производственной системы и конструкции здания. Формирование производственной системы в пространстве, когда устанавливают размерные связи между элементами, оказывает влияние на первоначально образованную систему материальных, информационных и энергетических потоков.

Формирование производственной системы в пространстве производится в три этапа. На первом - компоновочном этапе происходит размещение производственных подразделений, на втором - построение схемы размещения оборудования в производственных подразделениях и на третьем производится размещение всего производственного оборудования в заданном пространстве.

Для движения транспортных средств создаем цеховые проезды шириной 1,4 м…4,0 м. На планировке изображаем и указываем: сечение колонн с фундаментами; стены; основное и вспомогательное оборудование; месторасположение персонала; расстояния от оборудования до колонн, между оборудованием и рабочими местами, габаритные размеры крупного оборудования; нумерацию оборудования с ее расшифровкой в спецификации; названия всех производственных подразделений.

. Схема энергетических потоков

Задание по теплоэнергетической части выдают для разработки проекта по снабжению цеха сжатым воздухом, технологическим паром и другими энергоносителями. Для этого в его состав включают расчетные данные о потребностях в сжатом воздухе, технологическом паре и т.п.

В состав задания по электрической части входят: данные для разработки проекта электроснабжения цеха, включающие указания по предполагаемым местам расположения источников питания; указываем силовые шины, спецификация принятого оборудования с указанием его мощности. В данном случаем принимаем источник питания с мощностью 1500 Вт.

. Производственная и организационная структура

Известно, что существуют две формы специализации основных цехов машиностроительного производства - технологическая и предметная. В первом случае цехи специализируют по признаку выполняемых технологических процессов, во втором по признаку изготовляемых изделий (деталей), при этом в одном цехе сосредотачивается все оборудование, необходимое для полного изготовления сборочной единицы (детали).

Структура этих цехов может быть различной. При проектировании нового цеха, а также при реконструкции и технологичном перевооружении существующих цехов важным этапом является синтез его структуры, т.е. обоснованный выбор состава его отделений и участков. Это очень сложный вопрос, требующий тщательного анализа номенклатуры и объемов выпускаемой продукции, технологии их изготовления и организационных форм их выполнения.

Относительно просто решается этот вопрос для цехов массового и крупносерийного производства, где естественной является целевая предметная специализация цехов (цехи по производству двигателей, шасси и т.д.) и участков.

Сложнее решить задачу структуризации для цехов средней и мелкосерийного производства, где обширная номенклатура деталей и изделий, изготовляемых последовательно на одних и тех же рабочих местах, на первый взгляд предопределяет технологическую специализацию участков, выполняющих однотипные операции. Однако современная теория организации производства, базирующая на системном подходе к анализу и синтезу структур производственных процессов, в большинстве случаев отвергает подобную структуру.

При использовании системного подхода для анализа каждой производственной системы и ее составной части выделяют три единые части: функциональную, элементную и организационную.

При подходе к определению структуры и организации работы цеха основное внимание уделялось расчленению общего объёма работ на отдельные операции изготовления деталей или сборки узлов. Указанные операции особенно в условиях серийного производства, концентрировались на соответствующих участках, сформированных по технологическому, т.е. функциональному признаку. При этом рекомендации о структуре строились в основном на основе анализа и не затрагивали вопросов взаимодействия операции как системы в целом.

Производственная система, включающая комплекс производственных участков и вспомогательных подразделений, предназначена для изготовления продукции требуемого качества и заданной программы выпуска с наименьшими затратами. Структуру и параметры производственной системы выбираем в зависимости от сложности и разнообразия конструкций изготовляемых изделий, объема их выпуска и условий производства. В данном случае разрабатывался участок электроэрозионной обработки, где производилось обработка деталей - кольцо наружное, объем выпуска составил 35620 штук в год, т.е. среднесерийное производство. На участке предусматриваем наличие складской системы, где протекают технологические процессы хранения заготовок, полуфабрикатов и готовых изделий. Имеются помещения для приготовления рабочих сред, помещения для изготовления электрод - инструментов, промывки деталей, слесарный участок. Выпуск продукции с требуемыми параметрами качества невозможен без использования систем контроля качества изделий. Даже современное автоматизированное производство в настоящее время нуждается в обслуживающем персонале, что приводит к необходимости создания специальных устройств и проведения определенных мероприятий, обеспечивающих безопасную работу и санитарные условия труда персонала, а также специальные виды его обслуживания. Эти функции возлагаются на систему охраны труда персонала. Перемещение полуфабрикатов в пространстве осуществляется транспортной системой, обеспечивающей своевременную их доставку к соответствующему производственному оборудованию. Система технического обслуживания создается для постоянного поддержания требуемого состояния и условий работы производственного оборудования. Основная задача системы управления и подготовки производства заключается в осуществлении контроля за состоянием производственного процесса.

. Техническое задание на проектирование участка, требования к условиям работы производственного участка

Электроэрозионная обработка основана на тепловом действии импульсных электрических разрядов, возбуждаемых электродом-инструментом и обрабатываемой деталью, помещенных в жидкую рабочую среду. Поэтому следует выполнять следующие основные мероприятия по технике безопасности:

размещать электроэрозионное оборудование в зданиях без аттестованного освещения и вентиляции не допускается. Присоединение вытяжной вентиляции электроэрозионного оборудования к общей производственной не допускается;

искусственное освещение должно быть общим или комбинированным;

полы в производственных помещениях должны быть ровными, прочными, нескользкими и иметь уклон (1:200). Для стока и отвода жидкости в сторону сливных трапов углубления в полу должны быть закрыты прочными перекрытиями;

участки пола на рабочих местах должны быть покрыты диэлектрическими ковриками из маслобензостойких материалов;

станки должны иметь устройства для автоматического отключения напряжения на электродах для разрядки конденсаторов, срабатывающие при случайном прикосновении оператора к токоведущим частям;

во время работы электроэрозионного оборудования в помещении должно находиться не мене 2-х человек;

все металлические части электроэрозионных станков, отдельно стоящие шкафы и пульты управления, корпуса генераторов, металлические оболочки проводов, металлические трубы электропроводки должны быть надежно заземлены;

электрод-инструмент и электрод-изделие должны быть надежно изолированы от корпуса станка;

все вращающиеся части станка должны иметь защитные устройства в виде кожухов, исключающие возможность случайного соприкосновения с вращающимися деталями;

в станках, где в качестве рабочей жидкости применяются горючие материалы (керосин, масло и др.), токоподводы к электроду-инструменту, электроду-детали, приспособлениям и сборочным единицам, расположенным в рабочей зоне, должны иметь исполнение, исключающее искрообразование в легковоспламеняющихся парах и газах, выделяющихся при электроэрозионном процессе;

рабочие должны быть обеспечены спецодеждой и средствами индивидуальной защиты согласно отраслевых норм.

Перед началом работы необходимо привести в порядок рабочую одежду, проверить исправность станка, инструмента, навести порядок на участке, отрегулировать местное освещение, надежно закрепить обрабатываемые изделия и электроды, включить вытяжную вентиляцию. Запрещается курение, принятие пищи и присутствие в помещении посторонних лиц. По окончании смены оператор обязан обесточить станок, привести в порядок рабочее место, слить жидкость и очистить рабочую ванну от металлических отходов и грязи, снять спецодежду, вымыть лицо и руки теплой водой с мылом.

Заключение

В процессе выполнения задания:

получили твердые знания и навыки практической работы по основным разделом дисциплины "Проектирование специального оборудования";

научились определять пути и способы совершенствования технологических процессов, их комплексной автоматизации;

пробрели навыки разработки чертежей технологических планировок, разработки другой проектной документации;

приобрели навыки составления алгоритмов и программ решения на ЭВМ специальных задач технологического проектирования;

разработали чертеж технологической планировки участка, а также спроектировали вспомогательные отделения;

Список литературы

.        Вороненко В.П., Соломенцев Ю.М., Схиртладзе А.Г. Проектирование машиностроительного производства. Учебник для вузов.-М.: "Дрофа", 2006.-382с.

.        Проект технического перевооружения цеха. Методические рекомендации к курсовому проекту по дисциплине "Проектирование машиностроительного производства" /С.Г. Селиванов - Уфа.: УГАТУ, 2006. - 44с.

.        Селиванов С.Г., Иванова М.В. Теоретические основы реконструкции машиностроительного производства. - Уфа.: "Гилем". 2001.-321 с.

.        Селиванов С.Г. Технологическая инноватика. - М.: Наука. 2004. - 284с.

Похожие работы на - Проектирование участка машиностроительного производства

 

Не нашли материал для своей работы?
Поможем написать уникальную работу
Без плагиата!
Без нейросетей!