Параметры посадки, виды отклонений размеров на конструкторских и рабочих чертежах
Аннотация
В процессе выполнения курсовой работы были рассчитаны параметры посадки,
написаны все виды отклонений размеров на конструкторских и рабочих чертежах,
рассчитаны калибры для проверки отверстия и вала. Также произведены расчеты
размерной цепи, в процессе которых решается задача достижения заданной точности
замыкающего размера. Эти расчеты были произведены методом полной. В третьей
части курсовой работы были рассчитаны допуски и посадки резьбовых соединений.
Часть I
Задание 1
Рассчитать параметры посадки Æ55 Н8/e7;
написать все виды обозначения предельных отклонений размеров на конструкторских
и рабочих чертежах.
Для расчета дана посадка с зазором в системе отверстия.
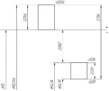
1. Отклонения
отверстия и вала по ГОСТ 25347-82
ЕS=+46 мкм еs= -60 мкм
ЕI= 0 мкм еi= -90 мкм
Схема расположения полей допусков
2. Предельные
размеры:
Dmax = N+ ES = 55 + 0,046 = 55,046 мм
Dmin =
N + EI = 55 + 0 = 55 ммmax = N + еs = 55 +(-0,06) = 54,94 ммmin = N + ei = 55 + (-0,09) = 54,91 мм
3. Допуски отверстия и вала:
ТD
= Dmax - Dmin = 55,046 - 55 = 0,046 мм
Тd
= dmax - dmin = 54,94 - 54,91 = 0,03 мм
Или
ТD
= ES - EI = +0,046 - 0 = 0,046 мм
Тd = еs - ei =
-0,06 - (-0,09) = 0,03 мм
. Зазоры:
Smax = Dmax - dmin = 55,046
- 54,91= 0,136 ммmin = Dmin - dmax
= 55 - 54,94 = 0,06 мм
5. Средний зазор:
Sc = (Smax + Smin)/2 = (0,136 + 0,06)/2= 0,098 мм.
. Допуск зазора (посадки):
Тs = Smax - Smin = 0,136 - 0,06 = 0,076 мм
Или
Тs = ТD + Тd = 0,046+ 0,03 = 0,076 мм
7. Обозначение предельных отклонений размеров на конструкторских
чертежах:
а) условное обозначение полей допусков:
б)
числовые значения предельных отклонений:
в)
условное обозначение полей допусков и числовых значений предельных отклонений:
3. Обозначение размеров на рабочих чертежах:
Задание 2
Рассчитать параметры посадки Æ55 Н8/js7;
написать все виды обозначения предельных отклонений размеров на конструкторских
и рабочих чертежах.
Для расчета дана переходная посадка в системе отверстия.
1. Отклонения
отверстия и вала по ГОСТ 25347-82
ЕS=+46 мкм еs= +15 мкм
ЕI= 0 мкм еi= -15 мкм
Схема расположения полей допусков
. Предельные размеры:
Dmax = N+ ES = 55 + 0,046 = 55,046 мм
Dmin = N + EI = 55 + 0 = 55 мм
dmax = N + еs = 55 +0,015 = 55,015 мм
dmin = N + ei = 55 + (-0,015) = 54,985 мм
3. Допуски отверстия и вала:
ТD = Dmax - Dmin = 55,046 - 55 = 0,046 мм
Тd = dmax - dmin = 55,015 - 54,985 = 0,03 мм
Или
ТD = ES - EI =
+0,046 - 0 = 0,046 мм
Тd = еs - ei =
0,015 - (-0,015) = 0,03 мм
4. Переходные посадки:
imax = dmax - Dmin = 55,015 - 55 = 0,015 мм
imin = dmin - Dmax = 54,985 - 55,046 = - 0,061 мм
5. Средние натяги:
ic = (imax + imin)/2 = (0,015 +(- 0,061)/2 = - 0,023 мм.
. Допуск зазора (посадки):
Тi = imax - imin = 0,015 - (-0,061) = 0,076 мм
Или
Тi = ТD + Тd = 0,046+ 0,03 = 0,076 мм
. Обозначение предельных отклонений размеров на конструкторских чертежах:
а) условное обозначение полей допусков:
б) числовые значения предельных отклонений:
в) условное обозначение полей допусков и числовых значений предельных
отклонений:
2.
Обозначение размеров на рабочих чертежах:
Задание 3
Рассчитать параметры посадки Æ55 U8/h7; написать все виды обозначения
предельных отклонений размеров на конструкторских и рабочих чертежах.
Для расчета дана посадка с натягом в системе вала.
1. Отклонения
отверстия и вала по ГОСТ 25347-82
ЕS = -87 мкм еs= 0 мкм
ЕI = -133 мкм еi= -30 мкм
Схема расположения полей допусков
2.
Предельные размеры:
Dmax = N+ ES = 55 + (-0,087) = 54,913 мм
Dmin = N + EI = 55 + (-0,133) = 54,867 мм
dmax = N + еs = 55 + 0 = 55 мм
dmin = N + ei = 55 + (-0,03) = 54,97 мм
. Допуски отверстия и вала:
ТD = Dmax - Dmin = 54,913 - 54,867 = 0,046 мм
Тd = dmax - dmin = 55 - 54,97 = 0,03 мм
Или
ТD = ES - EI =
(-0,087) - (-0,133) = 0,046 мм
Тd = еs - ei = 0
- (-0,03) = 0,03 мм
. Натяги:
imax = dmax - Dmin = 55 -
54,867 = 0,133 ммmin = dmin - Dmax
= 54,97 - 55,913 = 0,057 мм
5. Средние натяги:
ic = (imax + imin)/2 = (0,133 + 0,057)/2 =0,095 мм.
. Допуск зазора (посадки):
Тi = imax - imin = 0,133 - 0,057 = 0,076 мм
Или
Тi = ТD + Тd = 0,046+ 0,03 = 0,076 мм
. Обозначение предельных отклонений размеров на конструкторских
чертежах:
а) условное обозначение полей допусков:
б) числовые значения предельных отклонений:
в) условное обозначение полей допусков и числовых значений предельных
отклонений:
8. Обозначение размеров на рабочих чертежах:
Часть II
Размерные цепи
Размерной цепью называют совокупность геометрических размеров,
расположенных по замкнутому контуру, определяющих взаимоположение поверхностей
(или осей) одной или нескольких деталей и непосредственно участвующих в решении
поставленной задачи.
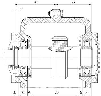
Рисунок 1
Вал сборочного комплекта, изображенный на рисунке 1, уложен 2 подшипника
качения. Узлу требуется, чтобы между левым подшипником и крышкой был выдержан
зазор АΔ. Установить допуски и отклонения составляющих размеров с
таким расчетом, чтобы обеспечить значение замыкающего размера, равное:
Расчет производим методом полной взаимозаменяемости.
На детали, входящие в сборочный комплект, назначены следующие значения
номинальных размеров:
N1 = 4 мм; N2 = 129 мм; N3 = 100 мм; N4 = 17 мм; N5 = 4 мм;
N6 = 178 мм; N7 = 4 мм; N4 = 21 мм;
1. Согласно заданию имеем:
NΔ = 1мм;;
ТΔ = +0,1 - (-0,7) = 0,8 мм;
мм;
мм;
мм.
2.
Составим график размерной цепи:
. Составим уравнение размерной цепи:
AD=
;
Значение
передаточных отношений.
|
Обозначение передаточных
отношений
|
x1
|
x2
|
x3
|
x4
|
x5
|
x6
|
x7
|
x8
|
|
Численные значения xi
|
-1
|
+1
|
-1
|
-1
|
-1
|
-1
|
-1
|
4. Проводим проверку правильности назначения номинальных значений
составляющих размеров.
ND=
ND = - 4 + 129 + 100 - 17 -
4 - 178 - 4 - 21 = 1.
Так
как по условию задачи ND=1, следовательно, номинальные размеры назначены
правильно.
. Осуществим увязку допусков, для чего исходя из
величины Тr рассчитаем допуски составляющих размеров.
Так
как в узел входят подшипники качения, допуски которых являются заданными, то
для определения величины ас воспользуемся следующей зависимостью.
Допуск
ширины подшипников равен 0,12 мм, то есть
Т4
= 0,12 мм; Т8 = 0,12 мм.
Следовательно
,
где
Тсm - допуски стандартных деталей, мкм;
m - число
стандартных деталей с заданным допуском.
Значения
ij берутся из табл. 3 методических указаний.
ас
= (800 - 2×120)/(0,73+2,52+2,17+0,73+2,52+0,73) » 60;
.
По приложению А (МУ) устанавливаем, что такому значению ас
соответствует точность, лежащая между 9 и 10 квалитетами.
Примем
для всех размеров 10 квалитет, тогда
T1 = 0,048 мм; T2 = 0,16 мм; T3 = 0,14 мм;
T5 = 0,048 мм; T6 = 0,16 мм; T7 = 0,048 мм.
.
Произведем проверку правильности назначения допусков составляющих размеров по
уравнению:
,
=
0,048+0,16+0,14+0,048+0,16+0,048+0,12+0,12 = 0,844 мм.
Полученная
сумма допусков превышает на величину равную 0,044, что составляет = 5,5% от Тr .
Следовательно, допуски можно оставить без изменения.
.
Осуществим увязку средних отклонений, для чего примем следующий характер
расположения полей допусков составляющих размеров.
A1 = 4JS10 (±0,048) мм, A2 = 129h10 (±0,16) мм, A3 = 100JS10 (±0,14) мм,4 = 17-0,12 мм, A5
= 4h10 (-0,03) мм, A6 = 178h10 (-0,16)
мм, A7 = 4h10 (-0,03) мм,8 = 21-0,12
мм.
Сведем данные для расчета в таблицу:
Таблица расчета данных
|
Обозначение размера
|
Размер
|
xi
|
Eci
|
xiEci
|
|
А1
|
4JS10 (±0,048)
|
-1
|
0
|
0
|
|
А2
|
129JS10 (±0,16)
|
+1
|
0
|
0
|
|
А3
|
100JS10 (±0,14)
|
+1
|
0
|
0
|
|
А4
|
17-0,12
|
-1
|
-0,06
|
+0,06
|
|
А5
|
4h10 (-0,03)
|
-1
|
-0,015
|
+0,015
|
|
А6
|
178h10 (-0,16)
|
-1
|
-0,08
|
+0,08
|
|
А7
|
4h10 (-0,03)
|
-1
|
-0,015
|
|
А8
|
21-0,12
|
-1
|
-0,06
|
+0,06
|
Из
уравнения
, найдем среднее отклонение замыкающего размера и
сравним его с заданным.
Ecr = 0 +
0 + 0 + 0,06 + 0,015 + 0,08 + 0,015 + 0,06 = 0,23 мм.
Так
как полученное значение не совпадает с заданным, то произведем увязку средних
отклонений за счет среднего отклонения размера А6, принятого в
качестве увязочного.
Величину
среднего отклонения размера А6 найдем из уравнения:
+0,3
= +0,06 + 0,015 - Еc`6 + 0,015 + 0,06.
Откуда
Еc`6= -0,15 мм.
Предельные
отклонения размера А5:
ЕS`5
= Еc`5 + 0,5×Т6
= -0,31+ 0,5×0,19= - 0,215 мм,
ЕI`5
= Еc`5 - 0,5×Т6
= -0,31 - 0,5×0,19= - 0,405 мм.
Таким
образом А`6 =
мм.
Часть
III
Допуски
и посадки резьбовых соединений
1. Согласно полученному заданию резьба имеет условное обозначение
М42х3 - 7Н/8h.
Необходимо:
Определить номинальное значение диаметров:
наружного диаметра D(d),
внутреннего диаметра D1(d1),
среднего диаметра D2(d2);
Определить предельные отклонения указанных диаметров. Построить схему
расположения полей допусков болта и гайки.
. Номинальные диаметры болта и гайки:
d = D = 42 мм;
d2 = D2 = 40,051мм;
d1 = D1 = 38,752 мм;
d3 = 38,319 мм;
P = 3
мм (шаг);
R = 0,433013 мм.
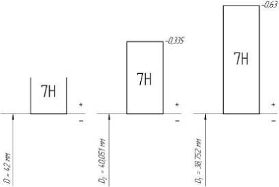
3.
Предельные отклонения диаметров резьбы и допуски по среднему диаметру и
диаметру выступов для болта:
esd = esd2 = esd1 = 0 мм;d = -0,6 мм;d2 = -0,315 мм;
eid1
не нормируется.
Td = esd - eid = 0 - (-0,6)
= 0,6 мм;d2 = esd2
- eid2 = 0 -(-0,315) = 0,315 мм.
для гайки:
EID = EID2
= EID1 = 0;
ESD не нормируется;
ESD2
= +0,335 мм;
ESD1 = +0,63 мм;D1 = ESD1 - EID1 = 0,63 - 0 = 0,63 мм;D2 = ESD2 - EID2 = 0,335 - 0 = 0,335 мм.
4. Схема расположения полей допуска
Болта
Гайки
. Номинальные размеры резьбы с предельными отклонениями рабочие
размеры по всем диаметрам.
|
Болт
|
Гайка
|
|
Размеры с предельными
отклонениями, мм
|
Рабочие размеры, мм
|
Размеры с предельными
отклонениями, мм
|
Рабочие размеры, мм
|
|
|
42
|
|
|
|
|
|
|
|
|
|
|
|
|
Чертежи профилей резьбы и гайки
Профиль болта (М 20:1)
Профиль гайки (М 20:1)
