Вивчення особливостей та розрахунок гідроциліндрів
Зміст
1.
Пневматичний двигун
.
Гідроциліндри (пневмоциліндри)
.1
Механізми з гнучкими роздільниками
.2
Гідроциліндри прямолінійної дії
.
Розрахунок гідроциліндрів (пневмоциліндрів)
Список
використаних джерел
1.
Пневматичний двигун
Винахід відноситься до машинобудування і може бути
використаний в різних галузях промисловості, у тому числі для приводу міксерів.
Відомий пневматичний роторний двигун, що містить статор з
вихлопними отворами і ротор з радіальними лопатками і валом.
Недоліком вказаного двигуна є відсутність інформації про
частоту обертання валу двигуна.
Технічний результат винаходу - розширення технологічних
можливостей за рахунок отримання безперервної інформації про частоту обертання
валу двигуна.
Поставлений технічний результат досягається тим, що
пневматичний роторний двигун, що містить статор з вихлопними отворами і ротор з
радіальними лопатками і валом, забезпечений електричним генератором, що
встановлений на валу двигуна та електронним частотоміром.

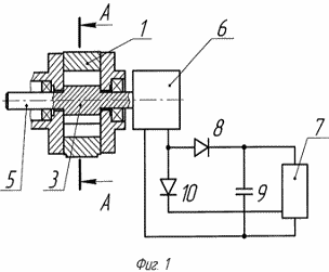
Рис. 1. Пневмодвигун: поздовжній розріз та розріз А-А
Пневматичний роторний двигун містить статор 1 з вихлопними отворами 2,
ротор 3 з радіальними лопатками 4 і валом 5, електричний генератор 6,
встановлений на валу 5 двигуна і електронний частотомір 7 перший вихід
генератора 6 через перший елемент 8 підключений до першого конденсатора 9 і
першого входу живлення електронного частотоміра 7, а через другий розв'язують
елемент 10 - до інформаційного входу частотоміра 7, причому другий висновок
виходу генератора 7 підключений до другого конденсатора і другого входу
живлення електронного частотоміра 7.
Пневматичний ротаційний двигун
працює таким чином. При подачі повітря ротор 3 отримує обертання через тиск
повітря на лопатки 4. При цьому генератор 6 і починає обертатися, на
його виході з'являються електричні імпульси, частота яких пропорційна частоті
обертання валу 5 двигуна. Ці імпульси з виходу генератора 6 надходять на
висновки конденсатора 9, на якому формується постійна напруга, яка поступає та
живить вхід електронного частотоміра 7. Електронний частотомір 7
починає працювати, вимірюючи частоту надходять на інформаційний вхід імпульсів
з виходу генератора 6 і відображаючи значення частоти обертання на цифровому
індикаторі частотоміра 7. При зміні частоти обертання валу 5 двигуна
змінюється частота електричних імпульсів з виходу генератора 6, тому на
цифровому індикаторі змінюються покази та індикується значення нової частоти
обертання валу 5 двигуна. Використання в пневматичному двигуні, що
містить статор з вихлопними отворами і ротор з радіальними лопатками і валом
електричного генератора, встановленого на валу двигуна і електронного
частотоміра, перший вихід генератора розв'язує елемент підключений до першого
конденсатора і першого входу живлення електронного частотоміра, а через другий
елемент - до інформаційного входу електронного частотоміра, причому генератор
підключений до конденсатора і другого входу живлення електронного частотоміра.
Пневматичний роторний двигун, що містить статор з вихлопними отворами і
ротор з радіальними лопатками і валом, який відрізняється тим, що двигун
забезпечений електричним генератором, що встановлений на валу двигуна, і
електронним частотоміром, що забезпечує безперервну інформацію про частоту
обертання валу двигуна.
2. Гідроциліндри (пневмоциліндри)
Гідроциліндр (Пневмоциліндр) - об'ємний гідродвигун
(пневмодвигун) зі зворотно-поступальним рухом вихідної ланки. Основним видом
гідроциліндра є гідроциліндр (пневмоциліндр) поршневого типу. Часто до групи
гідроциліндрів відносять, також, плунжерні, мембранні і сильфонні гідро-
(пневмо-) двигуни.
2.1
Механізми з гнучкими роздільниками
До механізмів з гнучкими роздільниками відносяться мембрани,
мембранні гідроциліндри і сильфоні.
Мембрани (рис. 2, а) застосовують в основному при невеликих
переміщеннях і невеликих тисках (до 1 МПа). Мембранний виконавчий механізм є
затисненим по периферії корпусу еластичне кільце 1. При збільшенні тиску в
камері, що підводить, 2 еластичне кільце притискається до верхньої частини
корпусу 3, і шток 4, пов'язаний з еластичним кільцем висувається. Зворотний хід
штока забезпечує пружина 5.


У гідропневмоавтоматиці поширені також гофровані металеві
мембрани (рис. 2, б). Деформація таких мембран відбувається за рахунок різниці
тисків P = P1 - P2 і зовнішнього навантаження R.
Мембранні гідроциліндри (рис.2) допускають значні переміщення
вихідної ланки - штока. При переміщенні поршня 1 у напрямі дії тиску рідини
(рис. 3, а) мембрана 3 перегинається, перекочуючись із стінок поршня 1 на
стінки циліндра 2, до яких вона щільно підтискається тиском рідини (рис. 3, б).
Зворотний хід поршня відбувається за рахунок пружини.
Рис. 3. Схеми роботи мембранного гідроциліндра
пневматичний роторний двигун сильфон
Сильфони (рис. 3, а) призначені для роботи при невеликих
тисках (до 3 МПа). Їх виготовляють з металів і неметалічних матеріалів (гуми
або пластиків). Металеві сильфони бувають одно- і багатошарові (до п'яти
шарів). Вживання сильфонів виправдане в умовах високих і низьких температур,
значення яких лімітується матеріалом, з якого виготовлений сильфон. Сильфони
можуть бути цілісні або зварні. Цілісні виготовляють розвальцьовуванням
тонкостінної безшовної труби.
Рис. 4. Схема металевого сильфона: а - сильфон; б - цілісна
стінка; у - зварна стінка
2.2 Гідроциліндри прямолінійної дії
Для приводу робочих органів мобільних машин найширше
застосовують поршневі гідроциліндри двосторонньої дії з однобічним штоком (рис.
5).
Основою конструкції є гільза 2, що є трубою з ретельно
обробленою внутрішньою поверхнею. Усередині гільзи переміщається поршень 6, що
має гумові ущільнення манжетів 5, які запобігають перетіканню рідини з порожнин
циліндра, розділених поршнем. Зусилля від поршня передає шток 3, що має
поліровану поверхню. Для його напряму служить грундбукс 8. З двох сторін гільзи
укріплені кришками з отворами для підведення і відведення робочої рідини.
Ущільнення між штоком і кришкою складається з двох манжет, одна з яких
запобігає витокам рідини з циліндра. Провушина 7 служить для рухливого
закріплення гідроциліндра. На нарізану частину штока кріпиться провушина або
деталь, що сполучає гідроциліндр з рухливим механізмом.
Рис. 5. Гідроциліндр: 1 - брудосприймач; 2 - гільза; 3 -
шток; 4 - стопорне кільце; 5 - манжета; 6 - поршень; 7 - провушина; 8 -
грундбукса.
В нормалізованих циліндрів, що застосовуються в будівельних
машинах, діаметр штока складає в середньому 0,5 D, хід поршня не перевершує
10D. При більшій величині ходу і тисках, що перевищують 20 МПа, шток слід
перевіряти на стійкість від дії подовжньої сили. Для зменшення втрат тиску діаметри
прохідних отворів в кришках циліндра для підведення робочої рідини призначають
з розрахунку, аби швидкість рідини складала в середньому 5 м/с, але не вище 8
м/с.
Хід поршня обмежується кришками циліндра. У деяких випадках
вона досягає 0,5 м/с. Жорстким ударам поршня об кришку в гідроциліндрах
будівельних машинах запобігають демпферам (гальмівні пристрої). Принцип з дії
більшості з них заснований на замиканні невеликого об'єму рідини і перетворення
енергії рухомих мас в механічну енергію рідини. Із замкнутого об'єму рідина
витісняється через канали малого перетину.
На рис. 6 представлені типові схеми демпферних пристроїв.
Пружинний демпфер (рис. 6, а) є пружиною 1, що встановлена на внутрішній
стороні кришки циліндра 2, гальмівний поршень 3 в кінці ходу.
Демпфер з помилковим штоком (рис. 6, б) є коротким помилковим
штоком 1 і виточкою 2 в кришці циліндра. Помилковий шток може мати конічну або
циліндрову форму. В кінці ходу поршня рідина закривається помилковим штоком у
виточці кришки циліндра і витісняється звідти через вузьку кільцеву щілину.
Якщо помилковий шток виконаний у вигляді конуса, то ця щілина зменшується у
міру досягнення поршнем кінця свого ходу. При цьому опір руху рідини зростає, а
інерція, прискорення і швидкість руху поршня зменшуються.
Регульований демпфер з отвором (рис.5, в) за принципом дії
аналогічний демпферу з помилковим штоком. Конструктивна відмінність полягає в
тому, що замикається у виточці кришки циліндра рідина витісняється через канал
1 малого перетину, в якому встановлена голка 2 для регулювання прохідного
перетину отвору.
Гідравлічний демпфер (рис. 6, г) застосовується у тому
випадку, коли конструкцією гідроциліндра не може бути передбачений пристрій
виточки. У гідравлічному демпфері в кінці ходу поршня стакан 1 впирається в
кришку циліндра, а рідина витісняється з порожнини 2 через кільцевий зазор між
стаканом 1 і поршнем 3. Пружина 4 повертає стакан у вихідне положення при
холостому ході поршня.


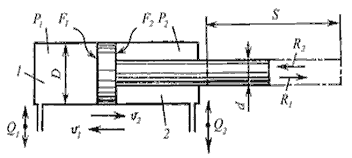
3. Розрахунок гідроциліндрів (пневмоциліндрів)
Основними параметрами поршневого гідроциліндра є: діаметри
поршня D і штока d, робочий тиск P, і хід поршня S.
Розглянемо поршневий гідроциліндр з однобічним штоком (рис.
8). По основних параметрах можна визначити наступні залежності:
площа поршня в поршневій порожнині 1 і в штоковій порожнині 2
відповідно:
зусилля, що розвивається штоком гідроциліндра при його
висуненні і втягуванні відповідно:
де kтр = 0,98 - коефіцієнт, що враховує втрати на тертя,
швидкості переміщення поршня:

Рис.
8. Основні і розрахункові параметри гідроциліндра
Розрахунками на міцність визначають товщину стінок циліндра,
товщину кришок (голівок) циліндра, діаметр штока, діаметр шпильок або болтів
для кріплення кришок.
Залежно від співвідношення зовнішнього DН і внутрішнього D
діаметрів циліндри поділяють на товстостінні і тонкостінні. Товстостінними
називають циліндри, в яких DН/D > 1,2, а тонкостінними - циліндри, в яких
DН/D < 1,2.
Товщину стінки одношарового товстостінного циліндра
визначають по формулі:
де Pу - умовний тиск;
[σ] - напруга, що допускається, на
розтягування;
µ - коефіцієнт поперечної деформації (коефіцієнт Пуассона),
рівний для чавуну 0, для сталі 0,29; для алюмінієвих сплавів 0,26.0,33; для
латуні 0,35.
Товщину стінки тонкостінного циліндра визначають по формулі:

Товщину кришки циліндра визначають по формулі:
де δк - діаметр кришки.
Діаметр штока, що працює на розтягування і стискування
відповідно:
де [σр] і [σс] - допустима напруга на
розтягування і стискування штоку.
Штоки, довжина яких більше 10 діаметрів ("довгі"
штоки), працюють на стискування, розраховують на подовжній вигин по формулі
Ейлера:

де σкр - критична напруга при подовжньому
вигині; f - площа поперечного перетину штока.
Діаметр болтів для кріплення кришок циліндрів:

де n - число болтів.
Список використаних джерел
1.
Мала гірнича енциклопедія. В 3-х т. / За ред. В.С. Білецького. - Донецьк:
Донбас, 2008.
.
Гiдроприводи та гiдропневмоавтоматика: Пiдручник / В.О. Федорець, М.Н.
Педченко, В.Б. Струтинський та iн. За ред. В.О. Федорця. - К: Вища школа, -
1995. - 463 с.