Бытовой двухкамерный компрессионный холодильник
Задание
на
курсовое проектирование по дисциплине
«Тепломассообменное
оборудование промышленных предприятий»
ТЕМА:
Бытовой
двухкамерный компрессионный холодильник
студенту группы ПТЭ-41
Исмагилову Р.Р.
Содержание
Введение
. Описание конструкции бытового холодильника
. Расчёт теплопритоков в шкаф бытового холодильника
. Тепловой расчет холодильной машины
. Расчёт поршневого компрессора
. Расчёт теплообменных аппаратов
. Расчёт капиллярной трубки
. Обоснование выбора основных материалов
Список литературы
Введение
Бытовые холодильники предназначены
для кратковременного хранения скоропортящихся пищевых продуктов, пищевых
полуфабрикатов и готовых блюд в охлажденном виде, а при наличии морозильного
отделения - также замороженных продуктов. Однако не менее успешно обычные
бытовые холодильники используют еще и во многих медицинских учреждениях для
хранения различных медикаментов и многого другого. Использование бытовых
холодильников не по назначению происходит в результате малого финансирования, а
также по причине незнания о существовании специальных холодильников.
Номенклатура выпускаемых
холодильников разнообразна. Общие технические условия на бытовые холодильники
определены в ГОСТ 16317-76.
По типу охлаждающего устройства
домашние холодильники бывают:
Компрессионные (охлаждаемые
компрессионными холодильными машинами)
Абсорбционные (охлаждаемые
абсорбционными машинами непрерывного действия)
Термоэлектрические (охлаждаемые
термоэлектрическими батареями)
В соответствии с ГОСТ 16317-76,
компрессионные холодильники обозначаются буквой - К, абсорбционные - А,
абсорбционные с газовым подогревом генератора - АГ.
Наибольшее распространение на
сегодняшний день имеют бытовые компрессорные холодильники. Практически все
холодильники выпускаются компрессионного типа. Холодильники этого типа дешевы в
изготовлении, безопасны в эксплуатации, просты в ремонте. В качестве хладагента
в бытовых компрессионных холодильниках применяются газы в большинстве случаев -
фреоны, и в последнее время - изобутаны.
По конструктивному исполнению, два
последних типа холодильников могут быть одно-, двух- и многокамерными.
Холодильники классифицируются также
по конструкции системы охлаждения:
с естественной циркуляцией воздуха
с принудительной циркуляцией
с комбинированной системой
Оттаивание испарителя может
осуществляться за счёт естественного отепления воздуха, полуавтоматически или
автоматически.
Холодильники выпускаются на
номинальное напряжение 127 или 220 В. Уровень звука на расстоянии 1 м от
наружного контура холодильника не должен превышать 42 дБА.
На дверках низкотемпературного
отделения холодильника наносится маркировка: при температуре - 6°С- *
при температуре - 12 °С - * *
при температуре - 18 °С - * * *
Для холодильников с металлической
камерой допускается увеличение расхода электроэнергии до 10 % от указанных выше
значений. Допускается также увеличение нормы расхода электроэнергии для
холодильников с номинальной температурой в низкотемпературном отделении: -12 °С
- на 5%, -18°С- на 10%.
1. Описание конструкции бытового
холодильника
Холодильник выполнен в виде шкафа,
на задней стенке которого расположен холодильный агрегат. В верхней части шкафа
холодильника расположены низкотемпературное отделение, в нижней - холодильное
соответственно с теплоизоляциями из пенополиуретана и пенополистирола.
Низкотемпературная камера выполнена
в виде отдельного металлического шкафа и крепится к нижнему шкафу четырьмя
болтами. Холодильная камера состоит из корпуса, облицованного снаружи
металлическими панелями, а изнутри - пластмассой.
В холодильной и низкотемпературной
камерах имеются съемные решетчатые полки 4 и 7 (рис. 1). Холодильный агрегат
имеет два испарителя 5 и 9, обеспечивающих температуру в низкотемпературной
камере не выше минус 18°С, а в холодильной камере от 0 до 5°С.
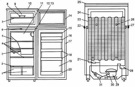
Рис. 1.Холодильник «Смоленск-6»: 1 -
сосуды для овощей и фруктов; 2 - стеклянная полка; 3 - лоток для слива талой
воды; 4, 7 - решетчатые полки; 5 - испаритель холодильной камеры; 6 - пробка
сливной трубки; 8 - ванночка для льда; 9 - испаритель низкотемпературной
камеры; 10 - сервировочная плоскость; 11 - решетка; 12, 13 - терморегулятор и
электролампочка; 14 - уплотнитель двери низкотемпературной камеры; 15 - крышка;
16 - уплотнитель двери холодильной камеры; 17 - магнитный уплотнитель; 20 -
барьер; 18 - переставные полки; 19 - панель двери; 21 - фильтр-осушитель; 22 -
прокладка; 23 - конденсатор; 24 - задняя стенка; 25 - задний упор; 26 - винт
крепления конденсатора; 27 - болт; 28 - ванночка для сбора и испарения талой
воды; 29 - герметичный компрессор; 30 - клеммная колодка; 31 - пускозащитное
реле.
Обе камеры имеют индивидуальные
двери. Плотность прилегания дверей обеспечивается уплотнителями 14 и 16,с
магнитной вставкой, которые являются одновременно и запирающим устройством дверей.
Охлаждение воздуха и хранящихся
продуктов в камерах холодильника осуществляется закрепленным на задней стенке
холодильным агрегатом, представляющим собой герметичную систему, внутри которой
циркулирует хладагент - хладон-12. Охлаждение испарителя достигается
дросселированием циркулирующего в системе холодильного агрегата хладона при
помощи капиллярной трубки и кипением его в каналах испарителей при низком
давлении. Поддержание необходимой температуры в холодильной камере
обеспечивается периодическим включением мотор-компрессора 29, осуществляемым
терморегулятором 12, датчик которого реагирует на изменение температуры стенки
испарителя и холодильной камеры.
Оттаивание испарителя 5 холодильной
камеры осуществляется автоматически в цикле (во время останова
мотор-компрессора) с отводом талой воды в ванночку 8 на задней стенке
холодильника и с последующим ее испарением. Оттаивание испарителя
низкотемпературной камеры естественное (по мере надобности).
Режим работы холодильника задается
установкой соответствующего деления шкалы на ручке терморегулятора против
указателя. Для предотвращения засорения капиллярной трубки и замерзания в ней
влаги, случайно попавшей в систему холодильного агрегата перед капиллярной
трубкой установлен фильтр-осушитель 21.
. Расчёт теплопритоков в шкаф
бытового холодильника
Проводим расчёт теплопередающих
поверхностей холодильного шкафа.
Внешние размеры: 1250×600×570
Толщина панелей: толщина двери 30
мм;
толщина потолка и пола 40 мм;
толщина задней стенки 40 мм.
а) Площадь боковой
стенки:
м2
м2
б) Площадь дна:
м2
в) Площадь потолка:
м2
г) Площадь задней
стенки:
м2
м2
д) Площадь задней накл.
стенки:
м2
е) Площадь двери:
м2
м2
Расчёт перепада
температур.о.с.=32 оС.х.к.=4 оС.м.к.=-18 оС.
∆tх.к.= tо.с.-
tх.к.=32-4=28 оС.
∆tм.к.= tо.с.-
tм.к.=32-(-18)=50 оС.
Определяем коэффициенты
теплопередачи окружающих конструкций холодильника.

- коэффициент
теплоотдачи охлаждаемой среды к внутренней поверхности.

- коэффициент
теплоотдачи от наружной поверхности к окружающей среде.

= 1,7 Вт/м2·К 
= 6 Вт/м2·К

= 2,1 Вт/м2·К 
= 10 Вт/м2·К

= 45,4 Вт/м·К -
коэффициент теплопроводности стали

= 0,0465 Вт/м·К -
коэффициент теплопроводности полистирола

= 0,021 Вт/м·К -
коэффициент теплопроводности ППУ

= 1 мм 
= 4 мм 
= 25 и 35 мм
Вт/м2·К. - коэффициент
теплоотдачи боковой стенки.
Вт/м2·К.- коэффициент
теплоотдачи дна.
Вт/м2·К.- коэффициент
теплоотдачи потолка.

Вт/м2·К. - коэффициент
теплоотдачи задней стенки.

Вт/м2·К.- коэффициент
теплоотдачи двери.
Проверка поверхностей на
условие конденсации.
tо.с.= оС, φ
≈ 80÷85%·(tо.с.- tх) =
·
(tо.с.-
tр).

,
гдер - температура точки
росы.х - температура холодильника.
По диаграмме при tо.с.=
32оС tр= 27 оС.
Стенка:
Вт/м2·К.
Вт/м2·К.
Дно:
Вт/м2·К.
Потолок:
Вт/м2·К.
Задняя стенка:
Вт/м2·К.
Вт/м2·К.
Дверь:
Вт/м2·К.
Вт/м2·К.
Во всех пяти случаях 
max, следовательно,
конденсация не происходит.
Определяем теплопритоки
через отдельные элементы ограждения холодильника.
= ki·∆t·Fi, Bт.
Боковая стенка:
Вт
Вт
где ∆tм.к=tо.с.-tм.к.
= 32 оС - (-18) оС.
∆tх.к=tо.с.-tх.к.
= 32 оС - 2 оС.
Дно
Вт
Потолок:
Вт
Задняя стенка:
Вт
Вт
Дверь:
Вт
Вт
суммарная величина
теплопритоков ограждения:
Определяем теплопритоки
от термической обработки продуктов.

.
Мсут - суточное хранение
продуктов, кг.
При максимальном
коэффициенте эксплуатации морозильная камера заполняется говядиной на 50%,
холодильная камера заполняется говядиной на 20%.
|
t
|
-18
|
-12
|
-6
|
0
|
1
|
2
|
3
|
4
|
5
|
6
|
7
|
8
|
9
|
10
|
32
|
|
iгов
|
4,6
|
22,2
|
50,7
|
232,5
|
235,9
|
238,8
|
242,2
|
245,5
|
251,8
|
255,2
|
258,5
|
261,5
|
264,8
|
329
|
Вт
Вт
Вт
Определяем теплоприток
при открывании двери.
Число открываний в
сутки: nх.к=25; nм.к=4.
Вт
Вт
Вт
Теплоприток от
электроприборов.
Вт
где Nэл - мощность
лампочки, Вт
τ- время
открывания, с
Суммарные потери
. Тепловой расчет
холодильной машины
холодильник бытовой
двухкамерный компрессионный
В данном холодильнике
рабочим хладагентом является фреон.
Принимается в
холодильнике с естественной циркуляцией:

- температура кипения
фреона.


- температура
конденсации.

.
По 
и 
определяем давление
кипения 
и конденсации 
.
По таблице свойств
фреона:

Схема холодильника
Строим рабочий цикл
холодильной машины с учётом следующего:

.

.
Процесс 1-1’ - подогрев
паров хладагента в мотор-компрессоре. Давление в точке 1 есть давление кипения
Р0.
ав - нагревание ХА за
счёт теплообмена со стенками цилиндра.
вс - сжатие ХА с отдачей
теплоты стенками цилиндра.

,
где
-
потеря давления на всасывающих клапанах.

,
где 
- потеря давления на
нагнетательных клапанах.
Определяем положение
точки 4
Для определения
положения точки 4 используем уравнение теплового баланса.

,
где 
- коэффициент,
учитывающий долю при регенерации в процессе перегрева.
.
кДж/кг
Заполняем таблицу
основных параметров рабочих точек цикла.
|
№ точки
|
Р, МПа
|
t, 0С
|
h, кДж/кг
|
υ, м3/кг
|
|
а
|
0,85
|
-30
|
380
|
0,225
|
|
1
|
0,816
|
32
|
430
|
|
1’
|
0,816
|
40
|
437
|
0,3
|
|
2
|
1,221
|
129
|
514
|
0,024
|
|
3
|
1,221
|
47
|
265
|
0,0127
|
|
4
|
1,221
|
-
|
225
|
0,0127
|
|
5
|
0,85
|
-30
|
225
|
0,07
|
Рассчитываем следующие параметры:
. удельную массовую
холодопроизводительность.
кДж/кг
. удельную объёмную
холодопроизводительность.
кДж/м3
. удельную теплоту
отводимую в конденсаторе.
кДж/кг.
. удельную изотропную
работу цикла.
кДж/кг.
5. массовый расход
рабочего тела ХА.
кг/с
где
Вт
.
. теплоту, отводимую от
конденсатора.
Вт
7. изотропную мощность
компрессора.
Вт
8. холодильный
коэффициент цикла.
. Расчёт поршневого
компрессора
Определяем объёмный
расход ХА в компрессоре.
м3/с.
Определяем составляющие
коэффициента подачи и рассчитываем коэффициент подачи λ.

,
где

- объёмный коэффициент.
р = 0.9 ÷
1.05 - политропа расширения конечных параметров; mр=1,05.= 0,02 ÷
0,05 - относительный мёртвый объём; Gm = 0,02.

- коэффициент
дросселирования; 
.

- индикаторный
коэффициент.


- коэффициент
плотности; 
.

- коэффициент
подогрева.

Теоретическая объёмная
производительность компрессора.
м3/с.
По объёмной
производительности подбирается марка холодильного компрессора (компрессор -
ХКВ8-1ЛМТ)
Вычисляем диаметр и ход
поршня.

,
где- ход поршня;-
частота вращения (n=48с-1);- диаметр поршня;ср - средняя скорость движения
поршня (Cср =1,8м/с).

Энергетические потери и
мощность компрессора- индикаторная мощность, затрачиваемая на сжатие паров ХА в
действительном компрессоре.
Вт
ηi =0,7 ÷
0,85 - индикаторный КПД для малых холодильных компрессоров.
ηi =0,8.тр
- мощность на преодоление сил трения.
Вт
где 
- удельное давление
трения;
Определяем эффективную
мощность или мощность на валу компрессора.
Вт
Потери, связанные с
трением учитываются механическим КПД:
Эффективный КПД.
Для того, чтобы перейти
от эффективной мощности Nе компрессора к мощности, потребляемой
электродвигателем из сети Nэ необходимо учесть КПД электродвигателя.
Вт,
где
.
Электрический КПД.
При сопоставлении
различных компрессоров и их технических характеристик используют их эффективный
холодильный коэффициент εе и общий или электрический коэффициент
.
. Расчёт теплообменных
аппаратов
Расчёт производится на
основе известной рассчитанной нагрузки на аппарат. (Q0 и Qк).
Расчёт и подбор
конденсатора.
Определяем
среднелогарифмическую разность температур между воздухом и ХА и коэффициент
теплопередачи от ХА к воздуху.
∆tн, ∆tк -
разность температур потоков на входе и выходе из ТО аппарата.


.
К - коэффициент
теплопередачи от воздуха к ХА.
К=9 ÷
12 Вт/м2К (для конденсатора) Кк=11.
К=3,5 ÷
7 Вт/м2К (для испарителя) Ки = 5.
Среднелогарифмический
перепад температур.

оС.
Определяем площадь
поверхности конденсатора.
м2
Действительная площадь
конденсатора.
Площадь трубки:
Диаметр трубки d = 6 мм
= 0,006 м
Длина трубки:
Площадь прутков:
Длина прутков
Радиус прутков

.
Подбор и расчёт
испарителя.

, м2,
где
Среднелогарифмический
перепад температур:
6. Расчёт капиллярной
трубки
Обычно это медная
трубка.

. Принимаем 
При заданном внутреннем
диаметре вычисляем длину.

µ - динамическая
вязкость ХА. (Па·с).
µ = 0,204·10-3 -
динамическая вязкость ХА. (Па·с). При t=32оC
.
. Обоснование выбора
основных материалов
Ограждение холодильника
- трёхслойное. Наружный слой выполняется из металла - Ст 10, толщиной 1 мм;
промежуточный - пенополиуретан ППУ-309М ТУ 2226-214-00244147-2001, толщиной от
35 до 45 мм; внутренний слой - ударопрочный полистирол УПС-0803Л, толщиной 4 мм
ГОСТ 28250-89;
Трубки конденсатора
выполняются из меди диаметром 6 мм. К змеевику под прямым углом к трубам
приварены прутки из стальной проволоки диаметром 1,5 мм ГОСТ 2246-70;
Испаритель О-образный
изготавливается из нержавеющей стали;
Капиллярная трубка и
фильтр-осушитель выполняются из меди. На капиллярные трубки существует ГОСТ
2624-77 «Трубки капиллярные медные и латунные»;
Уплотнители для дверей
поливинилхлоридные ТУ 6-55-12-88;
Герметичность шкафа
холодильника обеспечивается пастой ПВ-3 на основе хлорвиниловой смолы.
Поверхность шкафа фосфарируют, затем грунтуют и дважды покрывают эмалью
МЛ-12-01;
Список литературы
1. Бабакин Б.С., Выгодин В.А. Бытовые холодильники и
морозильники: Справ.: Учеб.пособие для вузов.-2-е изд. испр. и доп. - М.:
Колос, 2000.-656, [1]с.:ил.
. Лепаев Д.А. Ремонт бытовых холодильников: Справочник -2-е
изд. испр. и доп. - М.: Легпромиздат, 1989.-304,[1]с.:ил.
. Мааке В. И др. Польманн:Учебник по холодильной технике.
Основы - комплектующие - расчёты. Монтаж, эксплуатация и техническое
обслуживание холодильных установок / В. Мааке, Г.-Ю. Эккерт, Жан-Луи
Коршен-М.:Изд-во Моск. ун-та, 1998.-1142с.:ил.