Разработка холодильного агрегата
Содержание
Введение
1. История развития
2. Физический принцип действия компрессионного холодильника
3. Классификация бытовых холодильников
4. Анализ основных технических решений
5. Разработка конструкции
6. Расчет основных элементов конструкции холодильника
7. Основные направления совершенствования
Заключение
Список литературы
Введение
Среди многочисленных бытовых приборов, облегчающих труд и
повышающих культуру домашнего хозяйства, особо большое значение имеют
холодильники. Только при наличии в доме холодильника может быть обеспечено
полноценное, сбалансированное питание свежими и быстрозамороженными продуктами,
а также их сохранность. Обязательным условием сохранности является создание
непрерывного охлаждения, которое обеспечивает воздействие на продукты низкими
температурами на протяжении всего времени нахождении их в холодильнике.
Как у любого бытового прибора, у холодильников имеются свои
параметры, характеристики и критерии, которые отражают уровень их
технологичности. Среди них выделяются: оптимальные уровни температур,
обеспечивающих одновременное хранение различных видов продуктов; емкости
холодильной и морозильной камер; габаритные размеры, мощность и т.д.
Наиболее часто встречающееся на сегодняшний день двухкамерные
камерные холодильники компрессионного типа являются наиболее практичными и
доступными. Поэтому, именно они пользуются большим спросом. Однако, существуют
также двухагрегатные, двухкамерные холодильники, которые имеют свои
преимущества и недостатки.
Целью данной работы является рассмотрение физического
принципа действия холодильной установки и основных ее показателей, а также
примеров конструкций двухагрегатного двухкамерного холодильника.
1. История
развития
Еще за 400 лет до нашей эры персидские инженеры умели
сохранять летом в раскаленной зноем пустыне лед, привезенный зимой с
близлежащих гор. Стены подземного хранилища под названием "якшаль"
имели толщину до двух метров и были сложены из блоков, в состав которых входили
смешанные в определенной пропорции песок, глина, известь, зола и козлиная
шерсть. Состав был абсолютно водонепроницаем и отличался великолепными
теплоизолирующими свойствами. Внушительными были и хранилища льда
"сеогбингго" в средневековой Корее, сооруженные из более чем тысячи
каменных блоков. Древние индусы добивались сбережения продуктов, выставляя на
ветер обернутую влажной тканью емкость.
Исследования абсорбционных холодильных
машин непрерывного действия для бытовых холодильников проводили также в ЛТИХПе.
С 1936 г., после того как был создан первый агрегат ХАНИТ-25-2-36, за пять
довоенных лет были разработаны четыре модели агрегата, одна из которых
(ХАНИТ-30-6-38) изготовлена в количестве 250 шт. Большая часть этих машин,
заполненных водо-аммиачным раствором с антикоррозийной добавкой, работала
бесперебойно свыше 10 лет.
Эта работа также была прервана Великой
Отечественной войной. Почти сразу после окончания войны на отечественных
заводах начали создавать цеха ширпотреба для изготовления небольших
холодильников абсорбционного типа. Первый бытовой абсорбционный холодильник
полезным объемом 45 дм³ был изготовлен по
проекту Н.В. Лихаревой в 1950 г. на Московском заводе "Газоаппарат".
Холодильники могли работать на электроэнергии, природном газе и керосине. В
1954 г. завод перешел на изготовление более совершенного холодильника
"Север" полезным объемом 65 дм³, имеющим электрический
обогрев. В последующие годы завод "Газоаппарат" был переименован в
"Московский завод холодильников", выпускавший вплоть до перестройки
лучшие в стране абсорбционные холодильники под марками "Север" и
"Иней". Холодильники "Север" и "Иней" могли
работать только на электрической энергии, поскольку конструкторы не смогли
получить подтверждение пожарной безопасности в органах госнадзора. Последние
"всеядные" опытные модели, разработанные с участием зарубежных фирм,
не вышли на рынок из-за начавшейся перестройки в стране.
Опыт завода "Газоаппарат" лег в
основу организации производства абсорбционных бытовых холодильников на
Оренбургском ("Оренбург"), Великолукском ("Морозко"),
Пензенском ("Пенза") и других заводах. В этих холодильниках
низкотемпературное отделение занимал небольшой объем (до 5 % общего), что не
удовлетворяло потребности в хранении замороженных продуктов и готовых блюд.
Существенный недостаток абсорбционных холодильников - вдвое больший по
сравнению с компрессорными расход электроэнергии.
Большой популярностью пользуется
миниатюрный абсорбционный бытовой холодильник "Морозко" объемом 27 дм³ и общей массой всего 20 кг. Крупным заводом-изготовителем
абсорбционных бытовых холодильников по лицензии швейцарской фирмы
"Сибир" стал Васильковский завод. Им был освоен выпуск бытового
абсорбционного холодильника "Кристалл-9" общим объемом 213 дм³. Объем низкотемпературного отделения 31 дм³, что составляет 15 % общего. При этом в нем поддерживается температура
воздуха - 18°С. Эти преимущества получены за счет трехкратного (по сравнению с
компрессионными холодильниками) перерасхода электроэнергии.
Кроме упомянутых марок на территории РСФСР
в ХХ веке выпускали абсорбционные холодильники: "Дон",
"КУЗБАСС", "Ладога", "Ленинград",
"Морозко", "Оренбург", "Садко",
"Уралец", а в УССР - "Кристалл", "Славутич" и
"Украина".
Основной недостаток абсорбционных
холодильников - повышенный расход электроэнергии в сравнении с компрессионными
аналогами такой же емкости. Преимущества абсорбционных холодильников перед
компрессионными в отсутствии движущихся частей, бесшумности и способности
работать на различных источниках энергии. [2].
2. Физический
принцип действия компрессионного холодильника
Абсорбционная холодильная машина - холодильная
пароконденсационная машина, в которой пары хладагента абсорбируются твердым или
жидким абсорбентом, из которого они впоследствии испаряются при нагреве.
Абсорбционные холодильники получили свое название от процесса
абсорбции, происходящего в них. Применительно к холодильным процессам абсорбция
- это поглощение жидким поглотителем (водой) паров хладагента (аммиака). В
результате цепочки физических процессов, происходящих в агрегате абсорбционного
холодильника, вырабатывается искусственный холод. Согласно второму закону
термодинамики, искусственное охлаждение невозможно без затрат энергии.
Абсорбционные холодильники не исключение - в состав агрегата входит
нагреватель, вырабатываемое им тепло расходуется на изменение агрегатного
состояния хладагента. К достоинствам абсорбционных холодильников относится
бесшумность работы, а также отсутствие движущихся частей в конструкции, что
увеличивает их долговечность по сравнению с компрессионными
<#"864680.files/image001.gif"> <#"864680.files/image002.gif">
0.01 внешней стороны внутренней оболочки,
принадлежащей полости, минимален.
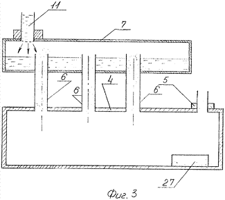
Испаритель 4 с абсорбером 7 показаны на
фиг.3.
Испаритель работает следующим образом.
Поступающий из конденсатора через вводной патрубок 5 в испаритель жидкий
хладагент испаряется, поглощая тепло. По теплоизолированным трубкам 6
газообразный хладагент поступает из испарителя 4 в абсорбер 7. Слабо
концентрированный раствор хладагента поступает из генератора 1 в абсорбер 7,
где поглощает газообразный хладагент, пришедший из испарителя 4. Использование
ряда трубок 6 не накладывает ограничений на пространственное расположение
испарителя и абсорбера относительно друг друга, например, абсорбер может быть
расположен выше испарителя, что невозможно в прототипе и известных схемах
абсорбционных холодильников. Кроме того, испаритель и абсорбер могут
располагаться на значительном расстоянии друг от друга, использование большого
количества трубок 6 сохраняет высокую скорость прокачки газообразного
хладагента из испарителя в абсорбер.
Эффективность устройства повышается, так
как уменьшается расход электроэнергии вследствие непосредственного
использования солнечного излучения и уменьшения тепловых потерь.
Габариты устройства по сравнению с
прототипом уменьшаются вследствие больших возможностей пространственного
взаиморасположения абсорбера и испарителя относительно друг друга.
Для уменьшения тепловых потерь в
генераторе за счет излучения нагреваемого тела часть внутренней оболочки,
принадлежащая полости 15, покрыта материалом с высокой степенью черноты в
видимом и ближнем инфракрасном диапазоне спектра и низкой в диапазоне больших
длин волн, например, выше 5 мкм.
Для более эффективного нагрева жидкости в
резервуаре часть внутренней оболочки, принадлежащей полости 16 и обращенной
внутрь резервуара, выполнена в виде радиатора 21, при этом для более
эффективного нагрева жидкости радиатор 21 снабжен массивным телом 22,
располагающимся у дна резервуара, что формирует в ней конвекционные потоки.
В качестве дополнительного источника
нагрева 2 генератора 1 для повышения эффективности устройства при недостаточном
солнечном излучении используют горячий вывод 23 термического модуля Пельтье
(ТМП) 24, например Frost-73, при этом его холодный вывод 25 вырабатывает
дополнительный холод, который можно непосредственно использовать для
дополнительного охлаждения объекта 26, разместив этот вывод внутри него, или
для охлаждения испарителя 4, приведя с ним в тепловой контакт вывод 25, фиг.4.
АБСОРБЦИОННЫЙ ГЕЛИОХОЛОДИЛЬНИК
Абсорбционный холодильник, содержащий
параболоцилиндрический концентратор солнечной энергии, установленный на
опорно-поворотном устройстве и снабженный механизмом слежения за Солнцем,
контур циркуляции абсорбционно-диффузионного холодильного агрегата, имеющий
генератор с жаровой трубой, выполненной в виде аккумулятора тепла, заполненного
аккумулирующим веществом, и термосифоном, дефлегматор, конденсатор, испаритель,
размещенный в холодильном шкафу, газовый теплообменник, абсорбер со сборником
крепкого раствора и теплообменник-регенератор, и тепловую трубу, испарительная
зона которой размещена вдоль фокальной линии концентратора, а ее конденсационная
зона в жаровой трубе, снаружи на эту зону тепловой трубы навит термосифон, при
этом генератор соединен через полость теплообменника регенератора для
охлаждаемого теплоносителя и второй вход абсорбера с выходом для газообразного
хладагента гидрозатвора, а второй выход сборника крепкого раствора соединен
через полость газового теплообменника для охлаждаемого теплоносителя с входом
испарителя, которым соединен выход для жидкого хладагента гидрозатвора,
отличающийся тем, что в абсорбционный холодильник введены регулирующий вентиль,
ионнообменный фильтр, вспомогательный нагреватель с термодатчиком
автоматического регулирования, установленный перед конденсационной зоной на
тепловой трубе, и терморегулирующий вентиль, установленный между
теплообменником-регенератором и термосифоном, чувствительный элемент которого
размещен на входе дефлегматора, а система слежения за Солнцем выполнена в виде
расположенных симметрично относительно испарительной зоны на ее боковой
поверхности по крайней мере двух баллонов с легкокипящей жидкостью, соединенных
посредством трубопроводов с полостями соответствующих гидроцилиндров по числу
баллонов, закрепленных со стороны полостей на нерабочей поверхности
концентратора с возможностью ориентации на опорно-поворотном устройстве при перемещении
штоков гидроцилиндров, ползуна, установленного с возможностью перемещения вдоль
опоры, на котором жестко закреплены штоки гидроцилиндров, и юстировочного
вентиля, соединяющего посредством трубопроводов баллоны, причем выход для
газообразного хладагента гидрозатвора соединен с вторым входом абсорбера через
ионнообменный фильтр, а выход для жидкого хладагента гидрозатвора с входом
испарителя через первый вход регулируемого вентиля, через второй вход которого
полость газового теплообменника для охлаждаемого теплоносителя соединена с
входом испарителя.
5. Разработка
конструкции
Холодильный агрегат
абсорбционно-диффузионного действия изготовлен из бесшовных труб, соединенных
газовой сваркой. Основные узлы агрегата: генератор - выработка аммиачного пара
и подъем слабого раствора на высоту слива в абсорбер; конденсатор - конденсация
паров аммиака; испаритель - испарение жидкого аммиака с образованием холода;
абсорбер - поглощение пара аммиака водоаммиачным раствором (процесс абсорбции);
электронагреватель - нагрев водоаммиачного раствора в генераторе.
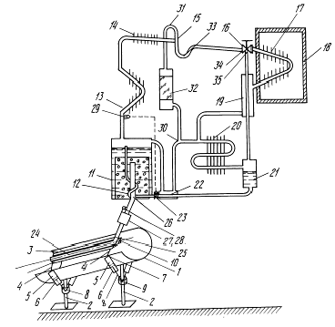
Принцип работы холодильного агрегата
абсорбционного типа заключается в следующем. Концентрированный раствор
постоянно нагревается в кипятильнике 1 (рис. 5) до температуры кипения
каким-либо источником тепла (электрическим, газовым и т.д.).
холодильный агрегат конструкция бытовой
Рисунок 5. Схема холодильного агрегата
абсорбционного типа: 1 - кипятильник; 2 - дефлегматор; 3 - конденсатор; 4 -
испаритель; 5 - абсорбер
Так как температура кипения хладагента
значительно ниже температуры кипения растворителя абсорбента, то в процессе
выпаривания концентрированного раствора из кипятильника выходят
концентрированные пары хладагента с небольшим количеством растворителя. На пути
движения к конденсатору концентрированные пары хладагента проходят специальный
теплообменный аппарат (дефлегматор 2), в котором происходит частичная
конденсация концентрированных паров. При этом образовавшийся конденсат стекает
в слабый раствор, входящий из кипятильника, а более концентрированные пары
хладагента поступают в конденсатор 3. Высококонцентрированный жидкий хладагент
из конденсатора поступает в испаритель 4, где он закипает при отрицательной
температуре, отбирая тепло из холодильной камеры. Слабый раствор из
кипятильника поступает в абсорбер 5 и охлаждается окружающей средой до
температуры начала абсорбции. Выходящие из испарителя пары хладагента также
поступают в абсорбер навстречу движущемуся охлажденному слабому раствору. В
абсорбере происходит процесс поглощения (абсорбции) паров хладагента слабым
раствором. При этом выделяется некоторое количество теплоты абсорбции
(смешения) в окружающую среду Образовавшийся в абсорбере концентрированный
раствор термонасосом передается в кипятильник.
Циркуляция раствора и хладагента
осуществляется непрерывно, пока работают кипятильник и термонасос, обогреваемые
одним источником тепла. Таким образом, в абсорбционном холодильном агрегате
непрерывного действия роль всасывающей части механического компрессора
выполняется абсорбером, а нагнетательной - термонасосом.
Для повышения эффективности холодильного
цикла абсорбционной холодильной машины используют также теплообменники
жидкостные и паровые, которые сокращают непроизводительные потери тепла.
а)
б)
Рисунок 6. Электронагреватель: а -
устройство; 1 - металлическая гильза; 2 - нихромовая спираль; 3 - песок; 4 -
втулка спирали; 5 - фарфоровые бусы; б - схема включения
Электронагреватель холодильного агрегата
изготовлен из нихромовой проволоки сплава Х20Н80-Н-1-0.25, 0 0,25, завитой в
спираль 2 (рис.6, а) с нанизанными на нее фарфоровыми втулками 4. Спираль
вставлена в металлическую гильзу 1, изготовленную из трубы. Свободное
пространство между втулками спирали и внутренней поверхностью гильзы заполнено
песком 3. Длина гильзы 200-250 мм, диаметр 20-25 мм. С одной стороны гильза
наглухо закрыта. В открытую часть гильзы вложен нагревательный элемент,
располагающийся на участке длиной 150 мм, от краев гильзы он находится на
расстоянии 5 мм. Через колпачок с отверстиями концы спирали, изолированные
фарфоровыми бусами 5, выведены из металлической гильзы. Концы спирали
присоединяются к переключателю мощности или к терморегулятору.
В зависимости от объема холодильника
электронагреватели различаются до мощности, количеству ступеней - 1,2 или 3
(рис.6, б), а также по напряжению. Так, одноступенчатый электронагреватель
холодильника "Кристалл-4" имеет мощность 125 Вт; двухступенчатый
электронагреватель в двухкамерном холодильнике "Кристалл-9" имеет две
ступени мощностей - 200 и 70 Вт. В холодильниках старых моделей устанавливались
двух - и трехсекционные нагреватели, рассчитанные соответственно на два или
три, переключения мощности.
Система регулирования температуры в
абсорбционных холодильниках может быть ручной и автоматической. В первом
случае, когда электронагреватель рассчитан на несколько ступеней мощности,
регулировка температуры производится самим владельцем путем включения
нагревателя на большую или меньшую мощность, а в газовых холодильниках - ручкой
регулятора расхода газа.
В холодильниках новых моделей применяется
прерывистый (цикличный) режим работы с постоянной мощностью электронагревателя.
Благодаря использованию инерционной способности холодильного цикла удалось
существенно снизить суточный расход электроэнергии и повысить срок службы
электронагревателя. В электрическую цепь холодильника включен терморегулятор,
отключающий электронагреватель при достижении в камере заданной температуры.
Естественно, что при такой цикличной работе холодильного агрегата температура в
камере постоянной быть не может и определенный средний уровень ее может
поддерживаться только средствами автоматики.
В холодильниках применяют терморегуляторы
АРТ-2А или Т-110 (Т-120) разных модификаций с соответствующей настройкой
температурной характеристики.
Терморегулятор работает следующим образом.
При достижении температуры на испарителе ниже определенной величины в
капиллярной трубке терморегулятора, закрепленной на испарителе, происходит
конденсация хладона, в результате чего давление пара хладона падает и контакты
терморегулятора размыкаются. При этом электронагреватель отключается от сети.
При повышении температуры на испарителе жидкий хладон, находящийся в
капиллярной трубке терморегулятора, начинает испаряться. Давление пара хладона
достигает величины, при которой контакты терморегулятора вновь замыкаются. При
замыкании контактов терморегулятора электронагреватель потребляет
электроэнергию и холодильный агрегат работает. Температура на испарителе вновь
начинает понижаться.
6. Расчет
основных элементов конструкции холодильника
Цель расчета: определить тепловые нагрузки
аппаратов, площади теплообменных поверхностей, произвести компоновку аппаратов.
Условия расчета:
. Конденсация NH3 в
конденсаторе происходит при постоянном давлении в предположении, что количество
водорода при расчетном режиме работы машины в конденсаторе незначительно.
. При наличии вертикально расположенного
газового теплообменника влага, уносимая из абсорбера бедной парогазовой смесью,
почти вся возвращается в абсорбер.
. Растворение H2 в
водоаммиачном растворе относительно небольшое и на процессах, осуществляющих
водоаммиачный цикл, не отражается.
Расчет
Определение параметров парогазовой смеси
ведется с использованием таблиц термодинамических свойств водоаммиачного
раствора и пара.
Дополнительно к уже известным исходным
данным принимаем следующие параметры, при которых осуществляются процессы в
испарителе и абсорбере:
|
Низшая
температура испарения
|
tон=-10°С
|
|
Высшая
температура испарения
|
tон=-2°С
|
|
Средняя
температура испарения
|
tон=-6°С
|
|
Парциальное
давление NH3 в испарителе на границе раздела фаз в соответствии с
принятыми температурами:
|
|
низшее
|
Pи. н. =2,96
ата
|
|
высшее
|
Pи. в. =4,06
ата
|
|
Парциальное
давление NH3 в абсорбере на границе раздела фаз:
|
|
при входе
слабого водоаммиачного раствора
|
Pа. н. =2,36
ата
|
|
при выходе
крепкого раствора
|
Pа. в. =3,46
ата
|
|
Высшая
температура абсорбции
|
t2=50°С
|
Парциальное давление аммиака в потоке парогазовой смеси,
циркулирующей через испаритель и абсорбер, принимаем, исходя из практических
данных лаборатории ВНИИЭМП и ЛТИХП. Принимаем в испарителе по всей длине
контакта парогазовой смеси с аммиаком ΔP=0,3. Тогда парциальное давление NH3
в потоке бедной парогазовой смеси при входе в испаритель
=P0=4,06-0,3=3,76 ата и
парциальное давление NH3 в потоке богатой парогазовой смеси при
выходе из испарителя
=P2=2,96-0,3=2,66 ата. Концентрацию
крепкого водоаммиачного раствора ξr при выходе из абсорбера принимаем равной 0,364 в соответствии с
парциальным давлением на границе раздела фаз, равным 3,46 ата, и температурой
50°С.
Концентрацию слабого водоаммиачного раствора ξа при входе в абсорбер принимаем равной 0,148 в соответствии с
парциальным давлением на границе раздела фаз 2,36 ата и температурой 50°С.
Температуру жидкого хладагента на входе в газовой теплообменник
принимаем равной 35°С, а на выходе - 5°С.
Температурный перепад на теплом конце газового теплообменника
принимаем равным 10°С, тогда температура богатой парогазовой смеси при входе в
сборник абсорбера - 50°С.
Температуру богатой парогазовой смеси на входе в газовый
теплообменник принимаем равной 2°С.
Расчет процессов парогазового кругооборота машины
Объемная доля NH3 в бедной парогазовой смеси
.
Объемная доля NH3 в бедной парогазовой смеси
Весовая концентрация NH3 на 1 кг газовой смеси:
а) в бедной парогазовой смеси, кг/кг
б) в богатой парогазовой смеси, кг/кг
где ma,mв - молекулярный вес NH3
и H2.
Кратность циркуляции парогазовой смеси, кг/кг
Теплоемкость парогазовой смеси, ккал/кг´°С:
а) в бедной парогазовой смеси:
где
- теплоемкость H2 принимаем
равной 0,548;
- теплоемкость NH3
определяется по средней энтальпии при соответствующем давлении, начальной и
конечной температурах (Розенфельд Р.Н., Ткачев Л.Г. "Холодильные машины и
аппараты" - таблицы перегретых паров) и равна 3,41 ккал/кг´°С;
б) в богатой парогазовой смеси:
ккал/кг´°С.
Потери холода на охлаждение бедной парогазовой смеси в испарителе
на 1°С, ккал/кг
Количество тепла, которое может быть подведено к богатой
парогазовой смеси при нагреве на 1°С, ккал/кг
Количество тепла, подводимое к богатой парогазовой смеси в конце
испарителя при перегреве ее с - 2°С до 2°С, ккал/кг
Количество тепла, которое может быть подведено к богатой
парогазовой смеси за испарителем при перегреве ее с 2°С до 40°С, ккал/кг
Количество тепла, отводимое богатой парогазовой смесью при
переохлаждении жидкого NH3 с 35°С до 5°С, ккал/кг
Количество тепла, отводимое от бедной парогазовой смеси в газовом
теплообменнике богатой парогазовой смесью, ккал/кг
Температура бедной парогазовой смеси при входе в испаритель,°С
Количество тепла, подводимое бедной парогазовой смеси в испарителе
при ее охлаждении с температуры 17,2°С до - 10°С, ккал/кг
Количество тепла, которое могло бы быть подведено к парам NH3,
идущим из испарителя в абсорбер при подогреве их с 6 до 40°С, ккал/кг
где
- энтальпия перегретых паров NH3
при t=40°С и P=3,76 ата;
- энтальпия паров NH3 при
средней t0=-6°С. Холодопроизводительность 1 кг хладагента при
отсутствии в машине выравнивающего газа, ккал/кг
Холодопроизводительность 1 кг с учетом потерь холода, вызываемых
присутствием в машине выравнивающего газа, ккал/кг
Кратность циркуляции
Количество тепла, отводимое окружающим воздухом от абсорбера с
учетом циркулирующей в нем парогазовой смеси, ккал/кг
Коэффициент полезного действия парогазового цикла:
Выбор параметров процессов водоаммиачного цикла машины
Для обеспечения концентрации слабого раствора ξ=0,148 высшую температуру в генераторе принимаем
равной 170°С. Температуру конденсации хладагента принимаем равной 45°С. Низшую
температуру ректификации принимаем на 12°С выше температуры конденсации, то
есть 57°С.
Расчет процессов водоаммиачного цикла машины с выравнивающим газом
Количество тепла, отводимое окружающим воздухом от конденсатора,
ккал/кг
Количество тепла, отводимое воздухом от жидкостного трубопровода,
соединяющего конденсатор с газовым теплообменником, ккал/кг
где
при
Количество тепла подводимое слабым раствором к крепкому, ккал/кг
Энтальпия крепкого раствора на выходе из жидкостного
теплообменника, ккал/кг
Удельное количество флегмы, стекающей из воздушного ректификатора
в генератор, кг/кг
Количество тепла, отводимое от ректификатора воздухом, ккал/кг
Количество тепла, затрачиваемое на выпаривание 1 кг хладагента в
генераторе, ккал/кг
Тепловой баланс
Тепло, подводимое:
|
к генератору
|
qhR=549,90
ккал/кг
|
|
к испарителю
|
q0и=221,65
ккал/кг
|
|
Итого:
|
771,55 ккал/кг
|
Тепло, отводимое:
|
от абсорбера
|
qа=319,65
ккал/кг
|
|
к испарителю
|
qk=263,67
ккал/кг
|
|
от ректификатора
|
qR=190,10
ккал/кг
|
|
Итого:
|
773,42 ккал/кг
|
Значения параметров точек, необходимых для
расчета рабочих процессов парогазового кругооборота, сведены в таблицу 1.
Значения параметров точек, необходимых для
расчета рабочих процессов водоаммиачного цикла машины, сведены в таблицу 2.
Таблица 1
Параметры точек для расчета рабочих процессов
парогазового кругооборота
|
Состояние
вещества
|
Обозначение
|
Температура
|
Давление
|
Концентрация
|
Энтальпия
|
|
|
|
общее
|
парциальное
|
пара
|
жидкости
|
пара
|
жидкости
|
|
1
|
2
|
3
|
4
|
5
|
6
|
7
|
8
|
9
|
|
Жидкий
хладагент при входе до теплового контакта с трубкой ответвленного потока
|
6'
|
35
|
20
|
20
|
|
0,998
|
307,9
|
39
|
|
Жидкий
хладагент перед входом в испаритель
|
6''
|
5
|
20
|
|
|
0,998
|
|
-51
|
|
Хладагент в
начале испарителя
|
7-10
|
-10
|
20
|
2,96
|
|
299,05
|
|
-10,68
|
|
Хладагент в
конце испарителя
|
7-2
|
-2
|
20
|
4,06
|
|
300,98
|
|
|
|
Богатая
парогазовая смесь при выходе из испарителя
|
8
|
2
|
20
|
3,76
|
|
|
|
|
|
Богатая
парогазовая смесь при входе в абсорбер
|
10
|
40
|
20
|
3,76
|
|
328,9
|
|
-18,6
|
|
Бедная
парогазовая смесь при выходе из теплообменника
|
12
|
|
20
|
2,66
|
|
|
|
|
|
Слабый раствор
при входе в абсорбер
|
3
|
50
|
20
|
2,36
|
0,954
|
0,148
|
348,15
|
0,785
|
|
Крепкий раствор
при выходе из абсорбера
|
4
|
50
|
20
|
3,46
|
0,977
|
0,364
|
333,18
|
-5
|
|
Пар при входе в
конденсатор
|
5
|
55
|
20
|
20
|
0,998
|
0,862
|
315,07
|
38,8
|
|
Бедная
парогазовая смесь при выходе из абсорбера
|
11
|
45
|
20
|
2,66
|
|
|
335,03
|
-10,6
|
Таблица 2
Параметры точек, необходимых для расчета рабочих
процессов водоаммиачного цикла
|
Состояние
вещества
|
Обозначение
|
Температура
|
Давление
|
Концентрация
|
Энтальпия
|
|
|
|
общее
|
парциальное
|
пара
|
жидкости
|
пара
|
жидкости
|
|
1
|
2
|
3
|
4
|
5
|
6
|
7
|
8
|
9
|
|
Слабый раствор
при выходе из генератора
|
2
|
170
|
20
|
20
|
|
0,148
|
501,33
|
150
|
|
Слабый раствор
на выходе из жидкостного теплообменника
|
3
|
85
|
20
|
2,36
|
|
0,148
|
|
6,43
|
|
Пар и
равновесный ему раствор при выходе из генератора
|
d
|
140
|
20
|
20
|
0,836
|
0,264
|
418,8
|
105,4
|
|
Пар и
равновесный ему раствор при выходе из ректификатора
|
b
|
57
|
20
|
|
0,998
|
0,862
|
316,9
|
34,5
|
|
Жидкий
хладагент при выходе из конденсатора
|
6
|
45
|
20
|
20
|
|
0,988
|
|
51,4
|
Коэффициенты холодильной
машины.
Теоретический тепловой коэффициент общего
практического цикла без учета потерь, вызываемых присутствием инертного газа:
Расчетный тепловой коэффициент общего практического цикла машины с
учетом присутствия выравнивающего газа, но без учета внешних потерь:
Действительный тепловой коэффициент машины будет несколько
отличаться от расчетного вследствие потерь "горячим" узлом машины
(генератор - жидкостной теплообменник) и холода и газовым теплообменником. На
основе опытных данных принимаем потери тепла "горячим" узлом равными ≈15
% от тепла, подводимого к генератору; потери холода газовым теплообменником
равными ≈10 % от тепла, подводимого к генератору; потери холода газовым
теплообменником равными ≈10 % от тепла, подводимого к испарителю.
Действительный расход тепла в генераторе на 1 кг хладагента
составит, ккал/кг
Действительная холодопроизводительность 1 кг хладагента составит,
ккал/кг
Действительный тепловой коэффициент машины при принятых расчетных
данных:
Действительный КПД машины:
Определение тепловых нагрузок или производительности аппаратов
Для определения тепловых нагрузок аппаратов машины определим
количество циркулирующего (испаряющегося) хладагента через испаритель в час при
холодопроизводительности машины Q0=14 ккал/час и
холодопроизводительности 1 кг хладагента q0д=ккал/час, кг/час
Производительность отдельных аппаратов, ккал/час
где q - холодопроизводительность отельных аппаратов на 1 кг
хладагента
|
Абсорбер
|
|
|
Газовый
теплообменник
|
|
|
Жидкостный
теплообменник
|
|
|
Конденсатор
|
|
|
Воздушный
ректификатор
|
|
|
Генератор
|
|
Тепловой расчет и
конструирование аппаратов абсорбционно-диффузионной холодильной машины
Принятая конструкция испарителя
представляет собой оребренную трубку (ребра прямые): Ш16´1,6; 4 трубки l=140 мм; Hр=25
мм; bр=48,5 мм; Sр=10.
Холодопроизводительность испарителя Q0=14
ккал/час.
Определение поверхности испарителя
производим по средним и средневзвешенным параметрам и величинам,
характеризующим теплоотдачу от воздуха в камере к поверхности испарителя,
теплоотдачу от внутренней поверхности испарителя к потокам хладагента и
парогазовой смеси, а так же процесс испарения.
Теплопередающая поверхность испарителя, м2
где
- разность температур между
средневзвешенной температурой в холодильной камере и средней температурой
испарителя, °С.
=tk-t0=7- (-6) =13.
Коэффициент теплопередачи, ккал/м2´час´°С
где a1 - коэффициент теплоотдачи от воздуха к
поверхности испарителя принимаем равным 10 ккал/м2´час´°С a1=10 ккал/м2´час´°С.
Термическое сопротивление δ/λ не учитывается ввиду очень незначительной
толщины трубки; a2 - коэффициент теплоотдачи от внутренней
поверхности стенки канала и испаряющегося хладагента к движущейся парогазовой
смеси, ккал/м2´час´°С. a2=0,75´aх; aх - 200 ккал/м2´час´°С (принимаем по приближенным значениям).
Коэффициент 0,75 учитывает то, что поверхность, смачиваемая жидким
хладагентом, составит около 75% внутренней поверхности испарителя.
a2=0,75´200=150.
1 -
внутренняя поверхность испарителя, м2;
1=3,14´16´140´4´10-6=2,8´10-2.
2 -
оребренная поверхность испарителя, м2.
2=3,14´16´140´4´10-6+25´48´5´2´16´4´10-6=17,8´10-2.
Коэффициент оребрения поверхности испарителя
Коэффициент теплопередачи испарителя, ккал/м2´час´°С
Теплопередающая поверхность испарителя, м2
Холодопроизводительность конструктивно принятой поверхности
испарителя, ккал/час Q0=6,55´0,17´13=15,2,то
есть отвечает потребной холодопроизводительности.
Конденсатор
Конструкция конденсатора принимаем в виде оребренной трубки Ш11´1,0. Ребра прямые hр=45 мм; bр=33
мм; δр=0,6 мм.
Расстояние между ребрами 6,5 мм, Zр=36.
Производительность конденсатора 18,5 ккал/час.
Теплопередающая поверхность конденсатора подсчитывается по
формуле, м2
где
- производительность конденсатора;k
- коэффициент теплопередачи конденсатора;
Δt - температурный перепад между основной
поверхностью (трубой) конденсатора и окружающим воздухом.
Ввиду незначительных сопротивлений со стороны стенки трубы,
последние при определении коэффициента теплопередачи не учитываются
где a1 - коэффициент теплоотдачи от
конденсируемого агента к стенке трубы; a2 -
коэффициент теплоотдачи от ребристой поверхности к воздуху; 0,9 - коэффициент
ухудшения теплоотдачи в связи с ребрами насаженными, а не монолитными.
Коэффициент теплоотдачи от холодильного агента к стенке трубы рассчитывается по
формуле для конвективного теплообменника при изменении агрегатного состояния
a1=1,26´M´g0,5´l0,35´d-0,25.
(Розенфельд Л.М., Ткачев А.Т. Холодильные машины и аппараты,
с.338).
Расчетный коэффициент M принимаем по графику Городинской для NH3
M=5,6.
Тепловой поток подсчитываем ориентировочно, задавшись К=60 и длину
трубы приняв 1,5 м, ккал/м2
=k´Θm,
где te - температура агента при входе в оребренную
часть конденсатора, принимаем равной 52°С;в - температура воздуха,
поступающего в конденсатор, равная 32°С;
- температура нагретого воздуха, уходящего из конденсатора,
равная 36°С;
- температура наружной стенки трубы, принимаем равной 48°С.
Средняя температура воздуха, омывающего конденсатор
в=
(32+36) /2=34°С;
°С; =60´15,3=918
ккал/час;
a1=1,26´5,6´9180,5´1,50,35´0,011-0,25=757 ккал/м2´час´°С.
Коэффициент теплоотдачи от ребристой поверхности принимаем a2=10 ккал/м2´час´°С.
Поверхность гладкой трубы конденсатора, м2
1=3,14´11´240´2´10-6=1,65´10-2.
Поверхность оребренной трубы конденсатора, м2
2=3,14´11´240´2´10-6+45´36´2´38´10-6=12,25´10-2.
Коэффициент теплопередачи конденсатора, ккал/м2´час´°С
Теплопередающая поверхность конденсатора, м2
Расчетная длина оребренной трубы конденсатора, м
Конструктивно принятая длина оребренной части конденсатора l=0,48
м.
Абсорбер
Принятая конструкция абсорбера представляет собой трубу Ш16´1,6, l=3500 мм.
Производительность абсорбера 22,4 ккал/час.
Теплопередающую поверхность абсорбера определяем по формуле, м2
где Θm - разность температур окружающего воздуха
и поверхности абсорбера.
Коэффициент теплопередачи абсорбера определяем по формуле, м2
где a1 - коэффициент теплоотдачи со стороны
парогазовой смеси и раствора к стенке канала;
a2 -
коэффициент теплоотдачи от внешней поверхности абсорбера к воздуху.
Так как толщина стенки трубки незначительна, применяем формулу
коэффициента теплопередачи для плоской стенки.
Коэффициент теплопередачи со стороны раствора и парогазовой смеси
к стенке канала
a1=0,9´aсм+0,1´aр,
где 0,1 - доля смачивания периметра канала раствором при
заполнении объема абсорбера в расчете 5 %, причем толщина слоя раствора по оси
канала будет около 2 мм.
Для водоамммиачного раствора коэффициент теплоотдачи принимаем 150
ккал/м2´час´°С.
Коэффициент теплоотдачи от парогазовой смеси принимаем 60 ккал/м2´час´°С.
Коэффициент теплоотдачи от потоков парогазовой смеси и раствора к
внутренней поверхности абсорбера, ккал/м2´час´°С
a1=0,9´aсм+0,1´aр=0,9´60+0,1´150=69.
Коэффициент теплоотдачи от внешней поверхности абсорбера к
окружающему воздуху принимаем a2=10 ккал/м2´час´°С.
Коэффициент теплопередачи абсорбера, ккал/м2´час´°С
Средняя логарифмическая разность температур между температурами
абсорбции и охлаждаемого воздуха,°С
Теплопередающая поверхность абсорбера, м2
Поверхность абсорбера, принятая конструктивно, равна 0,175 м2.
Эта поверхность обеспечивает необходимые условия процессов как теплообмена, так
и массообмена.
Расчет абсорбционно-диффузионного агрегата "Морозко-2"
проведен по нормали завода без изменений принятых в ней обозначении и системы
единиц.
Абсорбционная холодильная машина периодического действия
Целью расчета является определение тепловых нагрузок, теплового
коэффициента
Исходные данные:
|
Холодопроизводительность
|
Q0,
кВт (кДж/цикл)
|
|
Температура
кипения
|
t0,°С
|
|
Температура
греющего источника
|
th,°С
|
|
Температура
охлаждающей воды
|
tw,°С
|
Температура конденсации,°С
tk=tw+Δt.
Давление конденсации и кипения
определяется при условии ξd=1.
С учетом сопротивления гидравлического
затвора в расчетах принимается превышение давления конденсации, МПа
Температура раствора в конце процесса
выпаривания,°С
Температура раствора в конце процесса
абсорбции,°С
В начале процесса зарядки крепкий раствор нагревается до состояния
насыщения при давлении
.
Процесс кипения происходит практический при постоянном давлении до
момента поступления пара в конденсатор. Далее давление в генераторе постепенно
снижается до Pk.
В начале процесса разрядки слабый раствор начинает охлаждаться,
одновременно поглощая часть пара, выделяющегося в испарителе при изменении
давления от Pk до P0.
Промежуточное состояние определяется из уравнения материального
баланса процесса смешения.
Масса пара, выделившегося из 1 кг жидкого агента при падении
давления от Pk до P0, кг/кг
Кратность циркуляции в цикле
Уравнение теплового баланса
Далее предполагается, что процесс абсорбции идет с отводом тепла
при постоянном давлении. Для получения пара концентрации близкой к единице в
схему включается дефлегматор. Особенностью работы дефлегматора является то, что
в него в процессе выпаривания раствора поступает пар переменной концентрации.
Расчет тепловой нагрузки дефлегматора ведется приближенно. Интервал дегазации
условно делится на i участков, и дефлегматор рассматривается в работе с каждым
участком генератора.
Кратность циркуляции раствора для каждого участка



Масса пара, образовавшегося на каждом участке, определяется из
уравнения материального баланса элементов генератора
участок:
участок:
участок:
ый участок:
Средняя концентрация на i-ом участке
Средняя концентрация флегмы - ξфmi, средняя концентрация пара, образовавшегося на i - ом
участке - ξдmi определяется из условия
дmi
- tфmi= (2÷5)°С.
Масса флегмы определяется из уравнения материального баланса
дефлегматора
Удельная тепловая нагрузка дефлегматора определяется из уравнения
теплового баланса дефлегматора, кДж/кг
.
Суммарная удельная тепловая нагрузка дефлегматора, кДж/кг
Расход тепла на подогрев раствора, кДж/кг
Расход тепла на выпаривание раствора, кДж/кг
где 2m - состояние слабого раствора при среднем давлении Pk;
Суммарная удельная тепловая нагрузка генератора, кДж/кг
Удельная тепловая нагрузка конденсатора,
кДж/кг
Удельная холодопроизводительность, кДж/кг
Количество тепла абсорбции, отведенное при понижении давления с Pk
до P0, кДж/кг
Количество тепла абсорбции, отведенное в процессе получения
холодильного действия, кДж/кг
Суммарная удельная тепловая нагрузка абсорбера, кДж/кг
Тепловой баланс цикла холодильной машины
Тепловой коэффициент
На основании теплового расчета цикла ведется расчет холодильной
машины, в котором определяются полные тепловые нагрузки аппаратов, величины
теплообменных поверхностей в зависимости от предполагаемых конструкций
элементов.
Особенности данного расчета заключаются в следующем:
· при определении массы
отгоняемого холодильного агента вводится коэффициент, учитывающий
дополнительную массу холодильного агента, необходимую для повышения давления в
паровом пространстве системы и для покрытия потерь вследствие теплопритока в
процессе разрядки через изоляцию ресивера испарителя, µ=1,03÷1,06;
· в расчете полного
количества раствора в генераторе-абсорбере необходимо учитывать количество
жидкого холодильного агента, поступающего в него из испарительной части,
которое зависит от конструкции испарителя;
· определение полных
тепловых нагрузок аппаратов ведется с учетом времени зарядки и разрядки,
которые принимаются по условиям работы машины с учетом ее назначения
7. Основные
направления совершенствования
Внедрение электронной диагностики для
контроля работы сложных систем явилось шагом к созданию компьютеризированных
холодильников. Компьютеризированное управление позволяет задавать и
контролировать условия хранения продуктов и работу БХМП, проводить электронную
самодиагностику неисправностей и оперативно решать, как проблемы устранения
неисправностей, так и задачи повседневной эксплуатации.
Компьютеризированный холодильник
становится составной частью компьютеризированной кухни, в которой приготовление
пищи перестает быть обременительной обузой для хозяйки и превращается в
развлекательное мероприятие.
Итальянская фирма Ariston разработала
проект компьютеризированной кухни, предусматривающий возможность
автоматического приготовления блюд по 80 рецептам из Интернет-сайта. Рецепты
приготовления блюд можно заложить в память компьютера и использовать по мере
надобности.
Американские и японские концепции домов
будущего предусматривают возможность автоматизированного приготовления пищи по
запрограммированному меню. При выборе соответствующей программы автоматически
устанавливаются все параметры приготовления пищи. На дисплее высвечиваются
меню, программа и текущее время.
Тенденции развития холодильной техники
позволяют с достаточно высокой степенью достоверности прогнозировать ближайшие
перспективы массовых БХМП разных типов. Места массовых БХМП займут модели
повышенной комфортности, в наше время находящиеся в нишах престижных и элитных
БХМП.
Холодильники с повышенной комфортностью
имеют устройство для полуавтоматического или автоматического оттаивания
испарителя ХК с удалением талой воды плюс хотя бы еще одно из следующих
устройств:
поддержания определенной влажности в ХК;
охлаждения напитков с выдачей их без
открывания двери;
сигнализации режимов работы;
ограничения угла открывания двери;
принудительного закрывания двери при
открывании на угол менее 10°;
перестановок полок по высоте с интервалом
менее 5 см;
выдвигания загруженной полки на расстояние
не менее 50 % от ее глубины.
В современных холодильниках используются и
другие устройства, улучшающие потребительские качества прибора:
звуковая сигнализация о слишком долго
открытой двери;
вынос регулятора температуры на наружную
панель управления;
установка на этой панели механического или
цифрового индикатора температуры в камере и др.
Также предлагается применять встроенные
СВЧ - размораживатели и сублиматоры, а также камеры для длительного хранения
продуктов в газовой среде.
Некоторые зарубежные фирмы (Samsung, LG
Electronics) устанавливают внутри холодильника воздухоочистители и покрытые
специальной керамикой лампы для замедления процесса порчи продуктов, излучающие
в инфракрасном диапазоне.
В современных зарубежных моделях
рассматриваются перспективы микропроцессорных систем управления в бытовых
приборах. Внедрение электронной диагностики для контроля работы сложных систем
явилось шагом к созданию компьютеризированных холодильников.
Компьютеризированное управление позволяет задавать и контролировать условия
хранения продуктов и работу холодильника, проводить электронную самодиагностику
неисправностей и оперативно решать, как проблемы устранения неисправностей, так
и задачи повседневной эксплуатации.
Совершенствование конструкций элементов
электронной техники открывает дорогу компьютеризированным холодильникам. Такие
модели уже присутствуют на рынках Америки и Европы. Встроенный микрокомпьютер с
выходом в Интернет позволяет не только контролировать содержимое холодильника,
но и делать заказы на продукты, не выходя из дома.
Было бы абсолютно неверным полагать, что
передовые технические решения, применяемые сегодня в лучших моделях
холодильников, являются прерогативой только далеких зарубежных производителей.
Во-первых, в последнее время география производства холодильников приблизилась
к российскому потребителю (в нашей стране открылись заводы фирм Vestel, BEKO,
LG и др.), а во-вторых, производители России и ближнего зарубежья успешно
осваивают новые технологии.
Заключение
В данной курсовой работе содержатся основные сведения для
разработки абсорбционного бытового холодильника.
В аналитической части произведено исследование современного
уровня развития техники в области бытового холодильникостроения. Рассмотрены
основные направления развития данного вида техники. В конструктивной части
произведены расчет холодильного цикла, расчет и выбор основных компонентов
холодильника.
Все необходимые расчёты холодильника произведены, задание
курсовой работы выполнено.
Список
литературы
1.
Богословский В. Строительная теплофизика. - М.: Высшая школа, 1970. - 376 с.
.
А.М. Петров, Б.Е. Фишман. Бытовые машины и приборы. - М.: Легкая индустрия,
1973 - 295 с.
.
Тепловые и конструктивные расчеты холодильных машин Под ред.Н. Н. Кошкина. -
Л.: Машиностроение, 1976. - 463 с.
.
Балакший В.И., Парыгин В.Н., Чирков Л.Е. Физические основы акустооптики. - М.:
Радио и связь, 1985. - 266 с.
.
Патент № 2443948 Российской Федерации, МПК F25B15/00 F25B29/00. Абсорбционный
холодильник/ Леонтьев Игорь Анатольевич, Яшнов Юрий Михайлович -
опубл.27.02.2012.
.
Патент № 2036395 Российской Федерации, МПК F25B27/00. Абсорбционный
гелиохолодильник / Ашурлы З.И., Гаджиев М.Г., Филин С.А. - опубл.27.05.2010
.
П.И. Дячек Холодильные машины и установки. С.: Феникс, 1970,424с.16.
.
http://www.rusklimat.ru
9. http://airbridge. narod.ru
. http://www.5ballov.ru
. http://www1. fips.ru
. http://www.rusklimat.ru
13.
Н.Н. Кошкин, И.А. Сапун. Холодильные машины. М.: Машиностроение, 1985 год