|
Тм,
с
|
Тя,
с
|
К0,
рад/вс
|
Т1,
с
|
К1,
в/в
|
Кт.г.,
вс/рад
|
Кэу
|
Кf, рад/снм
|
Мос,
Нм
|
∆ωост,
рад/с
|
|
0,066
|
0,00545
|
1,37
|
0,12
|
4
|
0,5
|
10
|
14,4
|
3,33
|
1,2
|
На рисунке 2 представлена корректирующая цепь с её
параметрами.
а С б
Рисунок 2 - Корректирующая цепь
C = 10-5 Ф; R2 = 106 Ом.
Введение
Угловая скорость ω ДПТ (без автоматического
регулятора) изменяется с изменением нагрузки. При увеличении нагрузки ω уменьшается, а при уменьшении нагрузки ω увеличивается. Количественно эти изменения оцениваются так
называемым возмущающим воздействием f(t), которое пропорционально моменту сопротивления MC, прикладываемому к валу
двигателя.
где Kf - передаточный коэффициент ДПТ по возмущающему
воздействию.
Если по условиям технологии изменение угловой скорости
недопустимо, то нужно использовать замкнутую систему управления - систему
стабилизации. Стабилизация частоты вращения за счёт того, что при изменении
нагрузки автоматически изменяется напряжение Uд, подаваемое на якорь
двигателя. При увеличении нагрузки напряжения Uд увеличивается, а при
уменьшении - уменьшается.
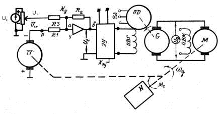
Система, схема которой приведена на Рисунок 1 является
статической, т.е. они имеют статическую ошибку. Это означает, что поставленная
задача обеспечивает постоянства угловой скорости при различных нагрузках,
решается не полностью. В статических САУ при изменении нагрузки угловая
скорость тоже изменяется и в установившихся режимах принимает различные
значения, зависящие от возмущающего воздействия. Но при наличии автоматического
регулятора угловая скорость будет изменяться в значительно меньших пределах,
чем без регулятора. Статическая ошибка Δωст меньше возмущающего
воздействия в I+Kр.с. раз:
Здесь 
Мс0 - постоянный момент сопротивления на
валу двигателя.
Статическую ошибку можно уменьшить путем увеличения
передаточного коэффициента какого-либо звена системы (следовательно, и передаточного
коэффициента разомкнутой системы Кр.с.). Однако, чрезмерное
увеличение Кр.с. приводит к ухудшению динамики системы и даже может
привести к портере устойчивости.
Задачей курсовой работы является расчет системы стабилизации
угловой скорости ДПТ, которая обеспечивала бы требуемую точность (статическая
ошибка не должна превышать заданную), а устойчивость системы достигается
включением специального корректирующего звена. Работа завершается оценкой
качества процесса регулирования по графику переходного процесса, полученному
путем моделирования САУ на ЭВМ.
1.
Устройство и описание системы стабилизации
На рисунке 1 изображена система стабилизации частоты вращения
двигателя.
Принцип работы системы стабилизации. При изменении нагрузки
на валу двигателя изменяется его угловая частота вращения, т.е. реальная
частота вращения отличается от заданного значения задатчика.
Тахогенератор изменяет реальную угловую частоту двигателя и
подаёт электрический сигнал на элемент сравнения. Элементом сравнения является
операционный усилитель (ОУ), имеющий два входа. ОУ вычисляет сигнал ошибки Uε. Сигнал ошибки регулирования поступает на электронный усилитель
(ЭУ), на котором усиливается по мощности.
Усиленный сигнал поступает на обмотку возбуждения генератора
(ОВГ) - статорная обмотка полюсов. Генератор приводится в движения трёхфазным
двигателем, который с постоянной частотой вращает ротор генератора.
Генератор выполняет функцию усилителя мощности. С его якорной
обмотки сигнал Ud подаётся на якорную обмотку двигателя. Статорная обмотка
двигателя записывается от отдельного источника питания.
Благодаря контуру обратной отрицательной связи формируется
сигнал рассогласования (ошибки регулирования), который после трёхкратного
усиления изменяет обороты двигателя, компенсируя тем самым отрицательное
влияние нагрузки. Ошибка рассогласования стремится к нулю.
2.
Исследование системы стабилизации частоты двигателя без корректирующего звена
На рисунке 3 составлена функциональная схема системы
стабилизации частоты двигателя без корректирующего звена.
-
Рисунок 3 - Функциональная схема
На рисунке 4 составлена структурная схема.
-
Рисунок 4 - Структурная схема
Составляем передаточные функции отдельных звеньев:
Wоу(p)= Kоу=
=1.43;
Wэу(p) = kэу=10;
Wтг(p) = 
;
Wд(p) = 
;
Wтг(p) = Knu=0.5.
Так как величина R1 не задана, то передаточная функция усилителя
находится через заданную статическую ошибку, статическая ошибка ∆ωост меньше возмущающего воздействия в 1+Kpc раз:
∆ωост =

; fо = Kf*Moc = 47,95.
Moc-постоянный момент сопротивления на валу
двигателя.
Ko y = 
;
Kpc = 
-1 = 
-1 = 38,96;
Kраз = Kэу*K1*K0*Kтг=4*1.37*0.5*10=27,4;

;
Kоу = 
.
Составляем передаточную функцию разомкнутой системы:
Wраз =
1.43*10*
;
Wраз = 
.
2.1
Исследование устойчивости системы с использованием алгебраического критерия
Гурвица
Из передаточной функции составляем характеристическое
уравнение:
D(s) = 
+39.2= 0;
D(s) = 
.
Для характеристического уравнения составим
квадратную матрицу коэффициентов, содержащую 3 строк и 3 столбцов. Эта матрица
составляется следующим образом. Вписываются коэффициенты характеристического
уравнения от а1 до an. Столбцы матрицы заполняются вверх
последующими, вниз предыдущими, отсутствующие коэффициенты заменяют нулем.
Все определители Гурвица, получаемых из
квадратной матрицы коэффициентов должны быть больше нуля.
Определители Гурвица составляются по
следующему правилу:
Находим определители:
∆1 = 
;
∆2 = 0.00165-0.0017= -0.0005.
Так как ∆2 < 0, то система является не
устойчивой.
2.2
Оценка устойчивости, с использованием критерия Михайлова
Составим годограф функции:
j0.0000431ω3-0.0086ω2+j0.19145ω+40.2 = 0;
Действительная часть уравнения:
U(ω) = 40.2-0.0086ω2;
Мнимая часть уравнения:
V(ω) = j (0.19145ω-0.0000431ω3);
Корни уравнения:
ω1 = 66.65;
ω2 = 68.37;
Таблица 2 - Данные для построения годографа Михайлова
|
ω
|
V(ω)
|
U(ω)
|
|
0
|
0
|
40,20
|
|
10
|
1,87
|
39,34
|
|
20
|
3,48
|
36,76
|
|
30
|
4,58
|
32,46
|
|
40
|
4,90
|
26,44
|
|
50
|
4,19
|
18,70
|
|
60
|
2,18
|
9,24
|
|
66,65
|
0
|
2,00
|
|
68,37
|
-0,69
|
0
|
|
70
|
-1,38
|
-1,94
|
|
∞
|
−∞
|
−∞
|
На рисунке 5 построен годограф Михайлова.
Рисунок 5 - Годограф Михайлова
Система устойчива только тогда, когда годограф начинается на
действительной оси комплексной плоскости и при изменении частоты от нуля до
бесконечности последовательно проходит против часовой стрелке n квадрантов, где
n - степень характеристического полинома. В данном случае n=3.
Система не устойчива, так как кривая не проходит через три
квадранта комплексной оси против часовой стрелки.
2.3
Оценка устойчивости системы по логарифмическому критерию
Суть критерия сводится к построению ЛАХ и ЛФХ разомкнутой
системы и на основе этих построений делается вывод об устойчивости системы в
замкнутом состоянии. Результирующая ЛАХ системы представляет собой сумму ЛАХ
отдельных звеньев системы: 3 апериодических звена первого порядка и
усилительное звено. У апериодических звеньев горизонтальный участок ЛАХ пройдет
по оси абсцисс, ЛАХ усилительного звена - это прямая проходящая на уровне:
L = 20lg(K) = 20lg (39.2) = 31.9 дб.
При любом значении φ на ЛФХ значение L в ЛФХ будет
положительна, значит система не устойчива в замкнутом состоянии.
Формулировка критерия. Система устойчива в разомкнутом
состоянии или нейтральная будет устойчивая в замкнутом состоянии, если ее АФЧХ
при изменении частоты от 0 до +∞ не охватывает точку с координатами (-1; j0).
Составляем передаточную функцию:
Wраз(jω) = 
;
Wраз(jω) = 
;
Находим фазу сигнала:
φ(jω) = arctg(jω) = arctg(0o+φ1+φ2+φ3);
φ1 = - tg(ωT1) = - tg (0.12ω);
φ2 = - tg(ωTм) = - tg (0.066ω);
φ3 = - tg(ωTя) = - tg (0.00545ω).
Таблица 3 - Данные для построения годографа Найквиста
|
ω
|
A(ω)
|
φ1
|
φ2
|
φ3
|
φ
|
|
0
|
39,20
|
0
|
0
|
0
|
0
|
|
2
|
37,78
|
-0,0041
|
-0,0023
|
-0,00019
|
-0,62
|
|
10
|
20,88
|
-0,021
|
-0,011
|
-0,00095
|
-1,89
|
|
50
|
1,79
|
-0,105
|
-0,058
|
-0,0048
|
-9,5
|
|
60
|
1,25
|
-0,126
|
-0,069
|
-0,0057
|
-11,3
|
|
70
|
0,91
|
-0,148
|
-0,081
|
-0,0066
|
-13,3
|
|
80
|
0,69
|
-0,169
|
-0,092
|
-0,0076
|
-15
|
|
90
|
0,54
|
-0,19
|
-0,104
|
-0,0085
|
-16,8
|
|
100
|
0,43
|
-0,21
|
-0,116
|
-0,0095
|
-18,6
|
0
|
−
|
−
|
−
|
−
|
На рисунке 6 построен годограф Найквиста.
Рисунок 6 - Годограф Найквиста
Система неустойчива, так как годограф Найквиста охватывает
точку (-1; 0).
3.
Исследование системы стабилизации частоты вращения двигателя с введением
корректирующей цепи
На рисунке 7 составлена структурная схема системы с
корректирующим звеном.
Рисунок 7 - Структурная схема
Составляем передаточную функцию корректирующего звена:
Wкз(p) = 
;вх = R1 +
;кз(p) =
;
Составляем передаточную функцию разомкнутой системы с
корректирующим звеном:
Wраз =
.
3.1
Исследование устойчивости системы, с использованием критерия Гурвица
Из передаточной функции составим характеристическое
уравнение:
D(s) =
+39.2=0;
D(s)= 0.0003p4+0.0603p3+1.349p2+274.591p+1=0.
Составляем матрицу:
Находим определители:
∆1 = 0.0603;
∆2 = 0.001;
∆3 = 0.271.
Так как все определители Гурвица больше нуля, то система с
корректирующим звеном устойчива.
3.2
Оценка устойчивости, с использованием критерия Михайлова
Составим годограф функции:
0,0003ω4-j0.0603ω3-1.349ω2+j274.591ω+1 = 0;
Действительная часть уравнения:
U(ω) = 0.0003ω4-1.349ω2+1;
Мнимая часть уравнения:
V(ω) = j (274.59ω-0,0603ω3);
Корни уравнения:
ω1 = 0.82;
ω2 = 67.05;
ω3 = 66.48;
Таблица 4 - Данные для построения годографа Михайлова
|
ω
|
V(ω)
|
U(ω)
|
|
0
|
0
|
1
|
|
0,82
|
225,13
|
0
|
|
10
|
2685,61
|
-130,9
|
|
30
|
6609,63
|
-970,1
|
|
50
|
6192,05
|
-1496,5
|
|
60
|
3450,66
|
-967,4
|
|
66,48
|
0
|
-101,19
|
|
67,05
|
-321,24
|
0
|
|
70
|
-612,78
|
187,86
|
|
∞
|
−∞
|
∞
Рисунок 8 - Годограф Михайлова
Система устойчива, так как годограф проходит через четыре
квадранта комплексной плоскости против часовой стрелки.
3.3
Оценка устойчивости системы по логарифмическому критерию
При исследовании САР широко используют логарифмические
частотные характеристики.
Зависимость L(w)=20lgA(w), построенную
графически в логарифмическом масштабе, называют логарифмической
амплитудно-частотной характеристикой (ЛАЧХ). При построении этой характеристики
по оси ординат откладывают величину L(w) в логарифмических единицах -
децибелах, а по оси абсцисс - частоту w в логарифмических единицах (октавах или декадах).
L = 20lg
(A(ω)) = 32;
ωопр =
lg(ωопр)= lg (8.33) = 0.92;(
lg( ;
lg( .
Зависимость j(w), построенная в
полулогарифмическом масштабе (по оси ординат - величина угла j в
градусах или радианах, по оси абсцисс - частота в логарифмических единицах),
называется логарифмической фазочастотной характеристикой (ЛФЧХ) (рисунок 9).
φ1 = arctg(2ω) = -86.6;
φТм = -88;
φТя = -89;
φТкз = -86.
Система устойчива, так как φм > 60о, Ам
= 32, а 32 > 12, значит система устойчива.
Рисунок 9 - Логарифмические частотные характеристики
3.4 Оценка устойчивости системы по критерию
Найквиста
Составим передаточную функцию:
Wраз(jω) = ;
Находим угл:
φ(jω) = arctg(jω) = arctg(0o+φ1+φ2+φ3);
φ1 = - tg(ωT1) = - tg (0.12ω);
φ2 = - tg(ωTм) = - tg (0,066ω);
φ3 = - tg(ωTя) = - tg (0,00545ω);
φ4 = - tg(ωTкз) = - tg( ).
Таблица 5 - Данные для построения годографа Найквиста
|
ω
|
A(ω)
|
φ1
|
φ2
|
φ3
|
φ4
|
φ
|
|
2
|
37,69
|
-0,0041
|
-0,0023
|
-0,00019
|
-0,0002
|
-1,06
|
|
10
|
20,88
|
-0,021
|
-0,011
|
-0,00095
|
-0,000035
|
-2
|
|
50
|
1,79
|
-0,105
|
-0,058
|
-0,0048
|
-0,000007
|
-9,5
|
|
60
|
1,25
|
-0,126
|
-0,069
|
-0,0057
|
-0,0000058
|
-11,4
|
|
70
|
0,91
|
-0,148
|
-0,081
|
-0,0066
|
-0,000005
|
-13,3
|
0,69
|
-0,169
|
-0,092
|
-0,0076
|
-0,0000044
|
-15
|
|
90
|
0,54
|
-0,19
|
-0,104
|
-0,0085
|
-0,0000039
|
-16,8
|
|
100
|
0,43
|
-0,21
|
-0,116
|
-0,0095
|
-0,0000035
|
-18,6
|
|
∞
|
0
|
−
|
−
|
−
|
−
|
−
|
Система устойчива, так как годограф Найквиста не охватывает
точку (-1; 0).
На рисунке 10 построен годограф Найквиста.
Рисунок 10 - Годограф Найквиста
4.
Исследование заданной системы стабилизации частоты вращения двигателя в
программной среде Simulink
На рисунке 11 составлена схема до введения корректирующего
звена.
Рисунок 11 - Схема до введения корректирующего звена
На рисунке 12 приведен переходный процесс по показаниям со Scope.
Рисунок 12 - Переходная характеристика системы без
корректирующего звена
На рисунке 13 показана логарифмическая характеристика.
Рисунок 13 - Логарифмическая характеристика
Функция φм не проходит через угол
-180о, значит система не устойчива.
На рисунке 14 построен годограф Найквиста.
Рисунок 14 - Годограф Найквиста
Годограф Найквиста охватывает точку (-1; 0), значит система
не устойчива.
На рисунке 15 составлена схема после введения корректирующего
звена.
Рисунок 15 - Схема после введения корректирующего звена
На рисунке 16 приведен переходный процесс по показаниям со Scope.
Рисунок 16 - Переходная характеристика системы с корректирующим
звеном
На рисунке 17 приведена логарифмическая характеристика.
Рисунок 17 - Логарифмическая характеристика
При φм = -180о Ам
< 0, значит система устойчива.
На рисунке 18 приведен годограф Найквиста.
Рисунок 18 - Годограф Найквиста
Годограф Найквиста не охватывает точку (-1; 0), значит
система устойчива.
Заключение
Выполнено структурное преобразование системы стабилизации
частоты вращения двигателя путем введения корректирующего звена. Исследуя
систему без корректирующего звена и с корректирующим звеном по критериям
Гурвица, Михайлова, логарифмическому и Найквиста определили устойчивость
системы. Без корректирующего звена система была не устойчивой, после введения
корректирующего звена система стала устойчивой. Проверив в программной среде MathLab с использованием
компонента Simulink устойчивость системы, делаем выводы о достоверности результатов,
полученных путем математического расчета.
Список
литературы
двигатель стабилизация гурвиц цепь
1. Попов
Е.П. Теория линейных систем автоматического регулирования и управления. М.
Наука, 1978.
2. Попов
Е.П. Теория нелинейных систем автоматического регулирования и управления. М.
Наука, 1988.
. Власов
В.Г. Программа, методические указания и задания на курсовую работу. Н. 1992.
. Зайцев
Г.Ф. Теория автоматического управления и регулирования. 1989.
. Теория
автоматического управления. Ч. 1 и ч. 2 под редакцией Воронова А.А. 2-е изд. М.
Высшая школа, 1986.
. Юрьевич
Е.И. Теория автоматического управления. Л. Энергия, 1975.
Похожие работы на - Стабилизация частоты вращения двигателя
|