Способы получения конических деталей

  • Вид работы:
    Курсовая работа (т)
  • Предмет:
    Другое
  • Язык:
    Русский
    ,
    Формат файла:
    MS Word
    829,06 Кб
  • Опубликовано:
    2013-06-20
Вы можете узнать стоимость помощи в написании студенческой работы.
Помощь в написании работы, которую точно примут!

Способы получения конических деталей















Способы получения конических деталей

1. Анализ способов получения конический деталей


Широкое применение в различных отраслях машиностроения, в том числе и аэрокосмической, нашли конические осесимметричные детали, для изготовления которых широко используются методы обработки металлов давлением.

Зачастую использование существующих технологических процессов приводит к неоправданно большим затратам средств на изготовление.

Существующее многообразие конических деталей изготавливается с помощью следующих основных технологический решений [8,9]:

1.  механическая обработка;

2.      ротационная вытяжка;

.        сварка из листового металла;

.        штамповка взрывом

.        штамповка импульсным магнитным полем;

.        штамповка эластичной средой;

.        штамповка пластичной средой;

.        инструментальная штамповка.

 

1.1 Механическая обработка


Механическая обработка применяется, как правило, для изготовления небольших деталей с относительной толщиной стенки (отношение средней толщины детали к большему диаметру основания детали) больше 0,1, что в первую очередь объясняется широким распространением универсального токарного оборудования.

Отличительной особенностью механической обработки является низкий коэффициент использования материала (может быть меньше 5%). В связи, с чем заготовку под механическую обработку получают с помощью других технологических решений (например, инструментальной штамповкой).

 

1.2 Ротационная вытяжка


Ротационное выдавливание (ротационная вытяжка) применяется в мелкосерийном производстве, в случае, когда изготовление штамповой оснастки экономически не выгодно, а также при изготовлении деталей с выпукло-вогнутой формой образующей, съем которых с пуансона затруднен. Как правило, поверхность деталей полученных ротационным выдавливанием является волнистой и соответствует 6-7 классу чистоты [8].

Различают прямое и обратное ротационное выдавливание. В первом случае направление течения металла совпадает с направлением перемещения ролика, во-втором - не совпадает. Для изготовления конических деталей применяют прямое ротационное выдавливание.

За один переход возможно изготовление детали с отношением большего к меньшему диаметру 0,2 -0,3. Для получения деталей с большим отношением осуществляется несколько последовательных операций на разных оправках, но при одном и том же наименьшем диаметре оправки.

В ходе обработки металл детали значительно утоняется и наклепывается, чем при вытяжке на прессах, поэтому детали, выдавливаемые за несколько операций, обычно подвергают промежуточному отжигу.

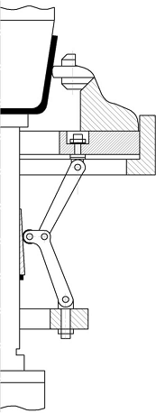
Наряду с простотой оснастки, универсальностью давильного инструмента и оборудования процесс ротационного выдавливания характеризуется невысокой (по отношению к инструментальной штамповке) производительностью и требует большого опыта и затраты больших физических усилий от рабочего. В случае изготовления деталей без ЧПУ для автоматизации процесса широкое применение нашли специальные приспособления (рисунок 1) [1] и станки с ЧПУ (рисунок 2).

Рисунок 1 - Схема устройства для ротационной вытяжки с копиром в виде усеченного конуса смонтированного на осевом прижиме

Рисунок 2 - Схема ротационного выдавливания полых деталей на станке с ЧПУ

 


1.3 Сварка из листового металла


Сваркой из листового металла можно получить простые по форме детали с прямолинейной образующей. Крупногабаритные детали с криволинейной образующей, как правило, получают за счет последующего формоизменения сварной заготовки, динамическим деформированием, не большие - штамповкой эластичной средой и инструментальной штамповкой. Типовой технологический процесс в этом случае включает операции раскроя заготовки, раскатку на роликовой гибочной машине, сварку и калибровку (в случае изготовления деталей с криволинейной образующей - штамповку). Для повышения точности формы детали применяют термофиксацию. Термофиксация широко используется при получении упрочненных волокон и пленок, а также улучшает их формоустойчивость и приводит к увеличению размеров подвижных структурных элементов, однако многократные стирки или длительное нагревание волокон обычно приводят к усадке и изменению заданной формы изделий. Термофиксация проводится в горизонтальных автоклавах, в которые устанавливаются транспортные тележки с волокном. Фиксация проводится при температуре 120 - 130 С в атмосфере пара. Для лучшего проникновения пара в толщу намотки волокна попеременно проводятся операции вакуумирования и пуска пара через каждые 20 мин.

Существенным недостатком изготовления деталей сваркой из листа является наличие сварного соединения с сильно отличающимися механическими свойствами. Недостатком технологического решения может также являться низкая производительность и сложность осуществления автоматизации сварки детали встык. В случае изготовления тонкостенных деталей также возникает проблема прожигания металла. Вместе с тем решение является универсальным и доступным.

 


1.4 Штамповка взрывом


Различают несколько видов штамповки в зависимости от типа взрывчатого вещества (рисунок 3). Штамповка с применением:

бризантного взрывчатого вещества (контактная и бесконтактная),

с применением пороховых зарядов,

газовых смесей или сжиженных газов.

При бесконтактной взрывной штамповке заряд с заготовкой и матрицей погружается в специальную емкость с жидкостью (рисунок. 3, а).

Между заготовкой и полостью матрицы создается вакуум. Заряд размещается на некотором расстоянии от поверхности заготовки. При его подрыве возникает импульс давления высокой интенсивности, который распространяется в жидкости со скоростью 1450 м/сек. В результате в районе расположения заряда образуется газовый пузырь, который, пульсируя (расширяясь и сжимаясь), вызывает дополнительные импульсы давления, величина которых меньше основного импульса давления. В ходе колебаний пузырь перемещается к поверхности жидкости, а оставшаяся энергия вместе с частью жидкости выплескивается в атмосферу.

Рисунок 3 - Схема процесса взрывной штамповки

Примерно 60% выделившейся энергии приходится на основной импульс давления, 25% - на первые колебания газового пузыря и остальные 1-5% - на последующие. Энергия, преобразуемая в механическую работу деформации, зависит от взаиморасположения заготовки, заряда и поверхности жидкости, так как газовый пузырь для каждого заряда имеет вполне определенные размеры. Для получения взрывной волны нужной формы часто заряд, необходимый для деформирования заготовки, разбивают на отдельные части, располагая их так, чтобы можно было получить наибольший эффект. Глубина погружения заряда должна быть больше максимального радиуса газового пузыря, который соответствует первому периоду колебаний. Для бесконтактной взрывной штамповки используют тринитротолуол, тетрил, пентолит, динамиты и жидкие взрывчатые вещества.

Как правило, штамповку производят в открытых емкостях - естественных (озеро, река) или искусственных (железобетонных и земляных бассейнах). Иногда используются закрытые емкости и бассейны одноразового действия. В последнем случае стенки бассейнов при взрыве либо полностью разрушаются, либо откидываются (стенки крепятся легкосъемными элементами и гибкими связями).

При контактных операциях взрывной штамповки (рисунок 3, б) заряд расположен непосредственно на заготовке.

Штамповка порохами и газами осуществляется в закрытых емкостях. Энергия взрывчатого вещества передается заготовке либо непосредственно, либо через промежуточную среду. На рисунке 3 представлены схемы деформирования заготовки с помощью энергии пороха (рисунок 3, в) и газовой смеси (рисунок 3, г).

Важными преимуществами штамповки газовыми смесями является равномерность нагружений поверхности заготовки при взрыве, возможность автоматизации процесса. Существенным недостатком штамповки газовыми смесями является повышенные требования к технике безопасности.

1.5 Штамповка импульсным магнитным полем


Сущность процесса штамповки импульсным магнитным полем (ИМП) заключается в следующем. При импульсном разряде электрического тока высокого потенциала на катушку в ней образуется мощное магнитное поле, которое, распространяясь, встречает на своем пути заготовку. Возникающие на поверхности заготовки вихревые токи образуют свое магнитное поле, которое, взаимодействуя с первичным полем, вызывает эффект «отталкивания» заготовки от витков катушки. Если на пути движения заготовки установить матрицу или оправку, то заготовка соответствующим образом будет деформироваться [2]

Существует и другая схема создания формующей силы, когда через катушку-индуктор и заготовку пропускают противоположные токи обратной полярности. Однако в этом случае сложно осуществить надежный контакт между заготовкой и оправкой, нарушение которого приводит к возникновению дуги разряда.

Вытяжка деталей с помощью ИМП по схеме напряженно-деформированного состояния представляет собой штамповку заготовок эластичным пуансоном по жесткой матрице. В данном случае можно создать вполне определенное неравномерное силовое поле, в результате чего достигаются в заготовке различные степени деформации, отличные от обычной схемы. Например, в центре заготовки, где обычно наблюдается большое утонение, можно создать «провал» напряженности магнитного поля, т.е. усилие деформирования в этом районе заготовки будет значительно меньше, чем в других, что очень важно для повышения предельных степеней деформации. Неравномерность магнитного поля достигается путем разработки индукторов с неравномерным распределением витков или применения обычных, универсальных индукторов с концентраторами поля. Концентраторы представляют собой металлические вставки различной формы, изготовленные из материала с хорошими электрическими свойствами (например, из сплава меди с бериллием). Их принцип работы основан на использовании эффекта увеличения плотности тока, а, следовательно, и напряженности магнитного поля, на участках концентратора, наиболее близко расположенных к поверхности заготовки.

Применяя описываемый способ, можно штамповать малопластичные и высокопрочные материалы, а также достигать более высоких степеней деформации за один переход и точности выполнения контуров деталей. Другими достоинствами являются универсальность оборудования, минимальное время на переналадку, простота оснастки по конструкции. Сравнительная безопасность процесса позволяет производить разнообразную расстановку оборудования на участке, непосредственно в цехе, легко осуществлять механизацию и автоматизацию процесса.

Вместе с этим деформирование ИМП имеет и свои недостатки: зависимость силы электромагнитного воздействия от электропроводности материала заготовки затрудняет штамповку относительно плохо проводящих материалов, а сложность реализации больших запасов энергии ограничивает возможность деформирования заготовок больших габаритов.

 

1.6 Штамповка эластичными средами


При штамповке эластичным пуансоном по жесткой матрице в качестве пуансона применяется обычно резина или жидкость. При этом удельное давление жидкости или резины, необходимое для деформации, создается или давлением ползуна пресса, на контейнер с резиной, или гидростатическим давлением жидкости, подаваемой насосами в полость контейнера, или давлением, созданным электрогидроударом и взрывом.

Рассмотрим схему такой вытяжки (рисунок 5). Усилие Р, необходимое для формоизменения, может быть определено по формуле:

q = qS, (1.1)

где q - гидростатическое давление резины или жидкости;- площадь проекции свободной поверхности заготовки на горизонтальную плоскость.

Со стороны заготовки формоизменению будут противодействовать следующие силы:1 - сила трения на вытяжном ребре матрицы;q - сила трения от дополнительного прижима заготовки давлением резины к закруглению матрицы и внутренней ее полости;2 - сила трения от прижима фланца заготовки к матрице;д - сила сопротивления фланца заготовки объемно-пластическому деформированию;г - усилие, вызванное изгибом заготовки вокруг ребра матрицы.

Вытяжка с пластическим деформированием фланца становится возможной, если усилие Pq не приводит к разрушению не защемленной (центральной) части заготовки и превосходит сумму всех противодействующих сил:

Pq>Pд+Pг+F1+F2+F3 (1.2)

Если Pq меньше суммы всех сил, то вытяжке будет подвергаться только не зажатая часть заготовки, особенно центральная, за счет двухосного растяжения. Это будет вытяжка без перемещения фланца, сопровождающаяся значительным утонением в результате растяжения. В приведенном неравенстве величина слагаемых зависит от соотношения диаметров заготовки и матрицы. Данный метод можно применять для вытяжки сравнительно неглубоких деталей, имеющих следующее соотношение геометрических размеров.  

L70t,

где L - наименьший линейный размер детали в плане.

Недостатком этого процесса является то, что при вытяжке эластичным пуансоном отсутствуют силы, удерживающие заготовку от смещения под действием несимметричных сил, возникающих в процессе вытяжки. Неравномерность сопротивления деформированию фланца вызывает неодинаковое прижатие заготовки фланца, неравномерное действие сил трения на вытяжном ребре матрицы, различные толщины заготовки и различные механические свойства на отдельных участках заготовки. При вытяжке жестким пуансоном вредное влияние указанных факторов легко устраняется противодействием трения, возникающего между пуансоном и заготовкой. Смещение и утяжка заготовки понижают качество детали, увеличивают припуск на обрезку, а в результате уменьшается степень деформации.

Второй особенностью описываемой вытяжки является неравномерность толщины стенки штампуемой детали. Утонение достигает 40-50%, что приводит к браку при более глубокой вытяжке. Это объясняется отсутствием трения между заготовкой и пуансоном, вследствие чего силы, которые воспрепятствовали бы растяжению центральной части заготовки, не возникают и основная деформация происходит за счет ее растяжения.

Штамповка - вытяжка представляет большой интерес для промышленности, и поэтому исследователи стремятся устранить присущие этому процессу недостатки.

Установка для ступенчатой вытяжки эластичным пуансоном (рисунок 4) состоит из контейнера 1, в котором заключена резина или жидкость, корпуса 3, сменной матрицы 4, перемещающегося поршня 2 и штока 6. Если вытяжка осуществляется жидкостным пуансоном, то в контейнер 1 (рисунок 4, а) заливается жидкость, а если резиновым пуансоном, то в него заключается резина (рисунок 4, б).

Рисунок 4 - Схема ступенчатой вытяжки эластичным пуансоном

Рассмотрим принцип действия установки. На съемную матрицу 4 укладывается заготовка 5, которая прижимается нижней плоскостью контейнера 1 к матрице 4. Если полость контейнера 1 заполнена резиной, удельное давление резины, необходимое для формообразования, будет создаваться плунжером 7, передающим давление ползуна пресса верхней открытой части контейнера (рисунок 4, а, б). Перемещающийся поршень 2 занимает положение, когда его верхняя плоскость отстоит от заготовки на расстояние h. В это время жидкость под поршнем перекрыта. Положение поршня регулируется объемом жидкости V1, нагнетаемой или стравливаемой из цилиндра, находящегося в корпусе 3. Величина h1 выбирается такой, чтобы центральная часть заготовки под действием гидростатического давления q успела соприкоснуться своим дном с плоскостью поршня, не получив утонения. До соприкосновения с плоскостью поршня заготовка под действием гидростатического давления жидкости изменяет форму по сфере так же, как и при обычной штамповке эластичным пуансоном. Встречая на своем пути плоскость поршня, центральная часть заготовки вступает с нею в контакт. Деформация центральной части прекращается, и гидростатическое давление жидкости сосредоточивается на угловых частях не зажатой части заготовки, вследствие чего происходит вытяжка на глубину h1 за счет деформации фланцевой части заготовки. Эта часть заготовки прижата к плоскости поршня, поэтому не происходит утяжки и смещения фланца, а также сильного утонения. Таким образом, произведена вытяжка 1-й ступени на глубину h1 (рисунок 4, б).

Рассмотрим второй этап вытяжки. Открывается сливной кран, жидкость стравливается до объема V2 поршень перемещается вниз на расстояние hГ. Между дном заготовки и плоскостью поршня образуется новая ступень. Под действием гидростатического давления жидкости вновь повторяется деформация заготовки по той же схеме (рисунок 4, д).

Таким образом, за определенное количество ступеней можно вытянуть деталь со степенью деформации, соответствующей вытяжке в инструментальном штампе. В настоящее время еще нет точных данных для определения величины ступеней h1, h2, h3 поэтому глубину каждой ступени необходимо определять опытным путем на двух-трех первых деталях.

Рассмотренный метод может быть с успехом внедрен в производство, особенно мелкосерийное. Установка носит универсальный характер. Сменным инструментом является лишь матрица, а сокращение средств и времени на изготовление оснастки ускорит подготовку производства.

 

1.7 Штамповка-вытяжка деталей пластичной средой


При штамповке деталей пластичной средой (свинец, олово, алюминий и др.) пуансон и складкодержатель являются универсальными, а меняется только матрица. В качестве пластичной среды применение нашли следующие металлы: свинец, олово, алюминий. Применяя данный метод, можно производить резку, формовку, гибку и вытяжку. Особый интерес этот метод представляет для операции глубокой вытяжки деталей сложной формы, например ожевальной. Процесс вытяжки пластичным металлом производится по схеме представленной на рисунке 5.

Рисунок 5 - Схема процесса вытяжки металла пластичным пуансоном

Универсальный штамп для вытяжки полых деталей пластичным металлом состоит из трех основных частей: корпуса, или контейнера 1, сменной матрицы 2 и обжимной плиты 6. Корпус 1 заполняется расплавленным свинцом (или другим пластичным металлом) до уровня, при котором возможна фиксация матрицы. После того как пластичный металл застыл, корпус устанавливается на стол пресса. Заготовка 3 укладывается на пластичный металл 4, на заготовку ставится матрица 2. Положение матрицы фиксируется цилиндрической поверхностью корпуса 1, не залитой пластичным металлом. Матрица 2 прижимает заготовку к пластичному металлу (рисунок 5, а), который при рабочем ходе пресса выдавливается в форму матрицы 2. Вместе с ним свертывается и заготовка 3. В этом случае центральная часть пластичного металла, выдавливаемая в рабочую часть матрицы, имеющую форму детали, играет роль универсального пуансона, а периферийная часть пластичного металла роль складкодержателя.

На рисунке 5 б, в показано начало и окончание процесса вытяжки полой конической детали методом штамповки пластичным металлом в универсальном контейнере.

По окончании вытяжки ползун пресса перемещается в верхнее положение вместе с закрепленной к нему матрицей 2. Полученная деталь съемником выталкивается из матрицы и удаляется из полости штампа пинцетом (рисунок 5, г). Деформируемый металл, принявший форму матрицы (рисунок 5, д, г) в таком виде не готов к штамповке последующей детали. Для того чтобы произвести штамповку следующей детали, необходимо придать пластичному металлу первоначальное положение (рисунок 5, а). Для этого в контейнер 1 вставляется обжимная плита, положение которой фиксируется цилиндрической поверхностью корпуса. При давлении ползуна на плиту пластичный металл обжимается, и штамп подготавливается к последующей вытяжке. Технологическая возможность этого процесса при формообразовании сложных полых деталей (конических, сферических, параболических, прямоугольных и др.) значительно шире, чем при вытяжке в инструментальных вытяжных штампах, а также в штампах с использованием резины и жидкости. При штамповке-вытяжке пластичным металлом развиваются очень высокие удельные давления на заготовку (1000-1500 кг/см2). Это происходит по той причине, что для осуществления вытяжки детали необходимо пластически деформировать не только заготовку, но и сам пластичный металл, на что затрачиваются значительные усилия. С одной стороны, это обстоятельство положительно, так как большие удельные давления на заготовку являются благоприятными для формообразования, особенно при деформировании высокопрочных материалов. Высокое удельное давление предупреждает складкообразование, блокирует в продолжение всего процесса вытяжки опасное сечение и тем создает благоприятную схему напряженно-деформированного состояния. В результате можно получать глубокие и сложные по форме детали. С другой стороны, мощность потребного оборудования при удельных давлениях 1000-1500 кг/см2 и достаточно больших площадях зеркала контейнера оказывается очень высокой. Это является существенным недостатком данного процесса.

Способ вытяжки деталей пластичным металлом может быть применен для изготовления с нагревом деталей из таких трудно-деформируемых материалов, как сплавы на основе титана, молибдена и др., которые при комнатной температуре практически не деформируются. При такой штамповке заготовка устанавливается на нагретую матрицу, в результате чего заготовка, а также пластичный металл деформируются и приобретают форму матрицы. В качестве пластичного металла в этом случае может быть использован алюминиевый сплав Д16.

Кроме того, для моделирования технологических процессов обработки металлов давлением также применяются и специализированные программы.

2.1 ANSYS

- универсальная программная система конечно-элементного (МКЭ) анализа, существующая и развивающаяся на протяжении последних 30 лет, является довольно популярной у специалистов в сфере автоматических инженерных расчётов (CAE, Computer-Aided Engineering) и КЭ решения линейных и нелинейных, стационарных и нестационарных пространственных задач механики деформируемого твёрдого тела и механики конструкций (включая нестационарные геометрически и физически нелинейные задачи контактного взаимодействия элементов конструкций), задач механики жидкости и газа, теплопередачи и теплообмена, электродинамики, акустики, а также механики связанных полей. Моделирование и анализ в некоторых областях промышленности позволяет избежать дорогостоящих и длительных циклов разработки типа «проектирование - изготовление - испытания». Система работает на основе геометрического ядра Parasolid.

Программная система КЭ анализа ANSYS разрабатывается американской компанией ANSYS Inc. Компания также выпустила другие системы КЭ моделирования, в том числе DesignSpace, AI Solutions (NASTRAN, ICEM CFD); предназначенные для использования в более специфических отраслях производства.

В качестве стратегического партнёра фирма сотрудничает со многими компаниями, помогая им провести необходимые изменения. Предлагаемые фирмой ANSYS Inc. средства численного моделирования и анализа совместимы с некоторыми другими пакетами, работают на различных ОС. Программная система ANSYS сопрягается с известными CAD-системами Unigraphics, CATIA, Pro/ENGINEER, SolidEdge, SolidWorks, Autodesk Inventor и некоторыми другими.

Программная система ANSYS является довольно известной CAE-системой, которая используется на таких известных предприятиях, как ABB, BMW, Boeing, Caterpillar, Daimler-Chrysler, Exxon, FIAT, Ford, БелАЗ, General Electric, Lockheed Martin, MeyerWerft, Mitsubishi, Siemens, Shell, Volkswagen-Audi и др., а также применяется на многих ведущих предприятиях промышленности РФ, пример, ГУП НИИМосстрой и т.д.

2.2 Nastran

- инструмент для проведения компьютерного инженерного анализа (CAE) проектируемых изделий методом конечных элементов (МКЭ) от компании Siemens PLM Software. NX Nastran вместе с дополнительными решателями предназначен для решения как статических, так и динамических линейных и нелинейных задач инженерного анализа. Решатель NX Nastran обеспечивает выполнение полного набора инженерных расчетов, включая расчет напряженно-деформированного состояния, собственных частот и форм колебаний, анализ устойчивости, решение задач теплопередачи, исследование установившихся и неустановившихся процессов, нелинейных статических процессов, нелинейных динамических переходных процессов, анализ частотных характеристик, отклика на динамические и случайные воздействия.

Решатель NX Nastran доступен совместно с инженерными системами для подготовки расчетных моделей NX и Femap или в виде самостоятельного приложения, используемого на специально выделенных CAE серверах или высокопроизводительных вычислительных кластерах с любыми совместимыми инструментами пре-/постпроцессорной обработки NX Nastran.

Система NX Nastran распространена в таких областях промышленности, как аэрокосмическая, автомобильная, судостроение, тяжелое машиностроение, медицина и товары народного потребления, обеспечивая анализ напряжений, вибраций, долговечности, передачи тепла, шума / акустики и аэроупругости. Система обеспечивает высокую степень интеграции с большим числом CAE приложений.

Пакет средств разработки NX Nastran SDK предоставляет пользователям программы инструменты разработки, предназначенные для упрощения использования возможностей NX Nastran в собственных клиентских и отраслевых инструментах.

В декабре 2008 г. Siemens PLM Software сообщила о том, что с помощью NX Nastran специалистам компании удалось решить сложнейшую статическую линейную пространственную задачу механики деформируемого твердого тела (МДТТ) для крыла самолета, находящегося под действием изгибающих нагрузок. Для КЭ решения задачи была разработана полномасштабная пространственная КЭ модель, которая содержала ~ 98 млн оболочечных и ~ 49 млн пространственных конечных элементов. Общее число уравнений - ~ 500 млн уравнений. Время КЭ расчета составило менее 18-ти часов на 8-ми ядерном сервере IBM Power 570.

2.3 Abaqus

- программный комплекс мирового уровня в области конечно-элементных расчетов на прочность, с помощью которого можно получать точные и достоверные решения для самых сложных линейных и нелинейных инженерных проблем. Семейство продуктов Abaqus разрабатывается и поддерживается компанией Abaqus, Inc. (USA) с 1978 года.2005 года Abaqus, Inc. входит в компанию Dassault Systemes (разработчик всемирно известной CAD системы CATIA и систем управления жизненным циклом изделий PLM SmarTeam и Enovia). В качестве стратегии дальнейшего развития компанией Abaqus было анонсировано создание совершенно новой универсальной среды моделирования SIMULIA, которая будет обобщать не только все решения компаний Dassault Systemes и Abaqus, Inc. в области прочностных расчетов, но и объединять лучшие решения третьих фирм для создания мощного инструментария для реалистичного проектирования и многодисциплинарного анализа конструкции.будет позволять проводить реальное моделирование конструкций, находясь в общем жизненном цикле создания изделий, что позволит значительно улучшать потребительские качества создаваемого изделия, уменьшать число необходимых натурных экспериментов и способствовать внедрению инноваций.

2.4 QForm 2D/3D

2D/3D - программный комплекс для моделирования и оптимизации процессов обработки металлов давлением. Программа основана на методе конечных элементов, разрабатывается фирмой «КванторФорм» (Россия). Разработка комплекса началась в 1991 году с выпуска программы FORM-2D Производится расчет холодной, теплой и горячей объемной штамповки. Количество инструментов может быть задано до 20 с произвольным направлением движения. Высокая точность расчета течения металла. Предсказывается возникновение различных штамповочных дефектов, таких как незаполнение гравюры, зажимы и прострелы. Характер течения металла может быть оценен по рассчитываемым Лагранжевым линиям в заготовке. Предусмотрена также трассировка расчетной информации в любой материальной точке заготовки в процессе формоизменения. Геометрия инструмента и заготовки в процессе расчета течения металла аппроксимируется квадратичными поверхностными конечными элементами. Сетка внутри заготовки и инструментов создается на основе линейных тетраэдров. Для 3D расчёта исходные геометрические данные импортируются в QShape - трёхмерный графический модуль QForm, из CAD систем пользователя в формате STEP/IGES. Для 2D расчёта плоские геометрические данные импортируются в QDraft - двумерный графический модуль QForm, из CAD систем пользователя в формате DXF. Полностью автоматическое создание первоначальной адаптированной конечно-элементной сетки. В процессе расчета сетка перестраивается автоматически без вмешательства пользователя. Процесс пошагового расчета производится с полной автоматической настройкой шага и приращения. Заготовка рассматривается как жестко-пластическое тело, деформируемое в неизотермических условиях. Возможен расчет порошковых (пористых) материалов в 3D. Охлаждение/нагрев может быть рассчитан как термо-упругая задача. Например, после горячей штамповки можно рассчитать изменение формы и посчитать возникшие напряжение в теле после охлаждения. Инструмент рассчитывается как упруго-пластическое тело в изотермических условиях. Возможен расчет перемещения заготовки под действием гравитации с учетом влияния трения и инерции, а также определение ее положения перед штамповкой в инструменте со сложной поверхностью. Сопротивление деформации материала заготовки зависит от деформации, температуры и скорости деформации. Другие свойства материала, такие как плотность, теплопроводность, теплоемкость, модуль Юнга, предел текучести, зависят от температуры. В Базе Данных QForm содержатся более 1000 марок сталей, а также другие сплавы на основе цветных металлов. Технологический процесс штамповки рассматривается как технологическая цепочка, которая может состоять из 2D и 3D операций, между которыми заготовка передается автоматически. На заготовке возможно задание до 3-х плоскостей симметрии. Между вертикальными плоскостями симметрии может быть любой угол. Возможен расчет с ротационной симметрией, например штамповка валетом. Программа обеспечивает расчет вариантов в пакетном режиме. Заготовка может быть восстановлена из части до целого при расчете технологической цепочки. Производится оценка износа инструмента в процессе штамповки. Учитывается влияние бандажных колец при расчете напряжений и деформаций в 3D инструменте. При расчете 2D инструмента может рассматриваться составной инструмент с зазорами и натягами. Деформация заготовки может быть посчитана на механическом, эксцентриковом или кривошипном прессах, молотах, как шаботных, так и бесшаботных, винтовых и гидравлических прессах. Параметры процесса (время, конечное положение инструментов, температура и т.д.) задаются с помощью интуитивно-понятного Помощника задания исходных данных, обеспечивающего полноту данных и предохраняющего от ошибок. Количество инструментов может быть задано до 20 с произвольным направлением движения.

2.5 DEFORM

 - специализированный инженерный программный комплекс, предназначенный для анализа процессов обработки металлов давлением, термической и механической обработки. DEFORM позволяет проверить, отработать и оптимизировать технологические процессы непосредственно за компьютером, а не в ходе экспериментов на производстве методом проб и ошибок. Благодаря этому существенно сокращаются сроки выпуска продукции, повышается ее качество и снижается себестоимость. Разработан американской компанией Scientific Forming Technologies Corporation (SFTC), являющейся лидером в области моделирования процессов обработки металлов давлением.позволяет моделировать практически все процессы, применяемые в обработке металлов давлением (ковка, штамповка, прокатка, прессование и др.), а также операции термической обработки (закалка, старение, отпуск и др.) и механообработки (фрезерование, сверление и др.).применяется по всему миру, как на промышленных предприятиях, так и в научно-исследовательских институтах и технических университетах, является самым распространенным программным комплексом для моделирования процессов обработки металлов давлением.

2.6 Многоцелевой конечно-элементный комплекс LS-DYNA


Программа DYNA3D была создана в Ливерморской национальной лаборатории имени Лоренса. Самые первые ее приложения преимущественно относились к анализу напряженного состояния конструкций, подвергаемых разного рода ударным нагрузкам. Эти приложения требовали значительных для того времени компьютерных ресурсов, поэтому сразу же стала очевидной потребность в существенно более производительной версии программы. Одна из причин низкого быстродействия была обусловлена неэффективной реализацией конечно-элементной технологии и тем фактом, что суперкомпьютеры в 1976 году были значительно медленнее, чем современные персональные компьютеры. Кроме того, простой способ моделирования скользящих при контактном взаимодействии поверхностей оказался непротиворечивым только в случае регулярных поверхностей раздела, которые нетипичны для большей части конечно-элементных отображений объектов сложной трехмерной геометрии; в результате часто было очень трудно получить нужную сетку для моделирования контакта. Первая версия включала стержневые, мембранные элементы и набор объемных элементов. Перечень объемных элементов начинался 8-узловым элементом с одной точкой интегрирования и контролем искажений формы элемента по типу песочных часов и заканчивался 20-узловым элементом с восемью точками интегрирования. Из-за высоких издержек использования 20-узлового элемента, наличия режимов нулевой энергии, связанных с редуцированным 8-точечным интегрированием, и высоких частот колебаний объема элемента, уменьшающих шаг решения по времени, в поздних версиях программы DYNA3D отказались от элементов высокого порядка. Одновременно разрабатывалась двумерная версия программы - DYNA2D.

Новая версия программы DYNA3D появилась в 1979 году и обеспечивала почти оптимальное быстродействие на базе суперкомпьютера CRAY-1, включала улучшенный вариант контактного взаимодействия поверхностей раздела, который допускал наличие сегментов из элементов треугольной формы и работал на порядок быстрее, чем предшествующий обработчик контактов. Из версии 1979 года были исключены строительные стержневые элементы и объемные элементы высокого порядка, а также некоторые модели материалов первой версии. В новой версии была представлена реализация элементов с опцией интегро-дифференциального метода, разработанного Уилкинсом и др.

Версия 1981 года [13] представляет собой развитие версии 1979 года. Для расширения круга решаемых задач, включающих взаимодействие конструкций с грунтом и взрывной волной, были добавлены девять моделей материалов. Для случая действия угловых скоростей и ускорений системы отсчета, с которой связана расчетная модель, были введены инерционные нагрузки. Также была разработана процедура обмена данными с трехмерным эйлеровским кодом JOY [14] для изучения отклика конструкций на действие импульса пробивающего тела. Была предусмотрена опция для накопления в дисковой памяти данных, относящихся к элементу, что удвоило возможности программы DYNA3D.

Следующая версия программы DYNA3D унаследовала непосредственный ввод характеристик материала, реализованный в программе DYNA2D [16]. Эта новая возможность позволяла легко добавлять уравнения состояния и определяющие соотношения любой сложности. Полная векторизация данных, относящихся к материалу модели, была почти завершена, что дало примерно 10 процентов приращения скорости выполнения программы по сравнению с версией 1981 года. Много новых особенностей было добавлено в появившуюся в 1986 году версию программы DYNA3D. Среди них балочные, оболочечные конечные элементы и жесткие тела, контактные элементы для поверхностей, элементы трения между поверхностями, дискретные пружины и демпферы, опция контроля формоизменения элемента по типу песочных часов, опция точного интегрирования по объему, совместимость с операционными системами VAX/VMS, IBM, UNIX, COS, что значительно расширило область приложений. Соответственно программа DYNA3D стала первым кодом, в котором был реализован общий алгоритм единой поверхности контакта.

В следующей версии программы DYNA3D реальностью стал анализ процессов формовки листового металла и расчет композитных материалов. Эта версия включала учет изменений толщины оболочки, конечный оболочечный элемент Белычко-Цая и динамическую релаксацию. Были также включены не отражающие границы, правила интегрирования, написанные пользователем для оболочечных и балочных элементов, модели многослойных композитных материалов с повреждениями и одноточечные условия-ограничения.

Возможности, появившиеся в 1988 году в новой версии программы DYNA3D, включали следующее: эффективно работающий балочный элемент на основе гипотезы плоских сечений, стержневой элемент, треугольный оболочечный элемент с функциями формы класса C0, треугольный оболочечный элемент BCIZ, смешанную формулировку элементов при вычислениях, модель разрушения композита для объемных элементов, конечные соотношения пластичности для плоского напряженного состояния, поверхности контакта при наличии точечной сварки, скольжение поверхностей с разрывами связей, балочные поверхности контакта, элемент каменной кладки конечных размеров, усилия взаимодействия с каменной кладкой, энергетические расчеты для всех элементов, модель разрушаемого пеноматериала, карты-комментарии при вводе данных и одномерные линии скольжения контактов.

К концу 1988 года стало очевидным, что для успешного решения проблемы моделирования отклика конструкций на ударные нагрузки в разработку этого программного продукта требуется вложить значительно более концентрированные усилия. Было основано акционерное общество Livermore Software Technology Corporation для продолжения разработки программы DYNA3D в качестве коммерческой версии, названной LS-DYNA3D; позднее это название было сокращено до LS-DYNA. Версия 1989 года предоставляла новые расширенные возможности: «одностороннюю» обработку контактных поверхностей скольжения при наличии разрывов и трения; расчет усилий в поперечном сечении элемента конструкции; выбор пользователем минимального шага по времени для оболочечных элементов, использующих упругую и упругопластическую модель поведения материала; сохранение узловых ускорений в базе данных истории нагружения; модель сжимаемого материала Муни-Ривлина; модель пластического поведения оболочечных элементов в замкнутой форме; общую модель материала из резины; уникальный штрафной метод для каждой скользящей поверхности; отслеживание внешней работы, опцию выбора критерия для шага решения по времени для 4-узлового оболочечного элемента; внутреннюю сортировку для элемента с целью полной векторизации силовых факторов в правосторонней системе координат.

На данный момент последней версией программы является ls971, которая является лучшей коммерческой программой для решения задач соударения, взрыва, обработки металлов давлением и ряда других задач. В ней реализованы эффективные методы решения перечисленных задач, в том числе явным и неявным методом конечных элементов, многокомпонентная гидродинамика (Multimaterial Eulerian Hydrodynamics), бессеточный метод, основанный на методе Галеркина (EFG - Element Free Galerkin method). В ls971 реализованы процедуры автоматической перестройки и сглаживания конечно-элементной сетки при вырождении элементов - произвольные лагранжево-эйлеровые сетки (ALE - Arbitrary Lagrangian-Euleran), высокоэффективные алгоритмы решения контактных задач, широкий набор моделей материалов, возможности пользовательского программирования, а также процедуры лагранжево-эйлерового связывания и расчета многокомпонентных течений сжимаемых сред на подвижных эйлеровых сетках. Программный код оптимизирован под основные платформы и операционные системы, векторизован, распараллелен для систем с общей (SMP) и распределенной памятью (MPP).

2.6.1 Описание электромагнитного модуля LS-DYNA

Одной из основной областью применения LS-DYNA является моделирование различных процессов обработки металлов давлением, например, прокатки, прессования, ковки, вытяжки, в том числе глубокой, волочения, листовой штамповки, гидроформовки и др.

Однако программа постоянно совершенствуется и в настоящее время в LS-DYNA разрабатывается электромагнитный модуль, позволяющий выполнять связанные расчеты с учетом явлений электромагнетизма, тепла и механики [11]. Основное назначение этого модуля - моделирование процессов магнитно-импульсной обработки металлов. Этот модуль позволяет представить некий электрический источник в виде сплошного проводника и рассчитать связанные с ним электромагнитное поле, а также вихревые токи. Эти расчеты выполняются путем решения уравнений Максвелла при аппроксимации вихревых токов. Уравнения Максвелла решаются с использованием метода конечных элементов для проводников в сочетании с методом граничных элементов для окружающего воздуха или диэлектриков. После того как расчет электромагнитных полей закончен, в узлах оценивается возникающая сила Лоренца и добавляется в механический решатель программы. Механический и электромагнитный решатели имеют разный временной шаг. Для моделирования стандартных задач, временной шаг механического решателя примерно в 10 раз меньше, чем временной шаг электромагнитного решателя. Далее механический решатель рассчитывает деформацию проводников.

На данный момент электромагнитный модуль LS-DYNA уже работает со всеми доступными моделями материалов, а их на сегодняшний день более 130. Контакт между различными частями только механический и тепловой, электромагнитный отсутствует, то есть ток во время моделирования не может перетекать от одного проводника к другому при их соприкосновении. Однако разработчики обещают в скором времени это ограничение снять.

В тепловой решатель LS-DYNA была добавлена возможность учета продолжительности нагрева заготовки и индуктора джоулевым теплом, что позволяет получить более точное значение температуры их разогрева. Уже доступны различные тепловые модели.

Таким образом, для создания расчетного файла (k.file) к стандартному набору карт LS-DYNA были добавлены карты для учета явлений электромагнетизма, что позволяет решать сложные связанные задачи. Кроме того, было усовершенствовано и программное обеспечение LS-PREPOST, который сочетает в себе возможно пре- и постпроцессора. Его можно использовать для визуализации электромагнитных полей - плотности тока, напряженности электрического поля, плотности магнитного потока, силы Лоренца, нагрева джоулевым теплом и т.д.

3. Наиболее подходящая программа

МИОМ относится к высокоэнергетическим импульсным методам обработки металлов, в связи с этим для компьютерного моделирования таким процессов к программам предъявляются особые требования. Главными из которых является возможность решения быстропротекающих нелинейных динамических задач, а также связанных задач, а именно с учетом электромагнитных явлений, тепла и механики. Причем надо иметь ввиду параметры импульсного магнитного поля высокой напряженности, которое используется в процессах МИОМ.

На данный момент наиболее подходящим для таких задач является многоцелевой конечно-элементный комплекс LS-DYNA.

Как было показано выше, настоящие способы получения конических деталей не позволяют наиболее эффективно управлять деформациями и утонением у готовой детали, поэтому необходимо более детальная и глубокая проработка процесса формообразования конических деталей. Наиболее перспективным направлением, в изучении процессов вытяжки в коническую матрицу с последующим обжимом заготовки, является применение процесса МИОМ. В связи с этим были поставлены цели и задачи исследования.

Цели исследования: - Оценить возможности многоцелевого конечно-элементного комплекса LS-DYNA для комплексного моделирования процессов МИОМ на примере формовки конуса.

Для реализации данной цели в работе поставлены следующие основные задачи исследований:

1.       Рассмотреть физику процессов МИОМ

2.      Рассмотреть способы получения конических деталей из плоских заготовок

.        Провести анализ существующих программных комплексов для моделирования процессов МИОМ;

.        Разработать методику компьютерного моделирования тестовой задачи;

.        Разработать методику экспериментальных исследований;

.        Проанализировать и сопоставить результаты компьютерного моделирования и экспериментальных исследований.

 


Заключение


При выполнении данной курсовой работы были проанализированы наиболее часто встречающиеся методы получения конических осесимметричные деталей, а так же были проанализированы доступные на данное время программные продукты для комплексного моделирования процессов ОМД. Так как данная тема широко изучена, также произведен патентный обзор на тему исследования и выявлено, что наиболее перспективный метод получения конических осесимметричные деталей является МИОМ. Поскольку преимуществом магнитно-импульсной формовки по сравнению с другими методами является упрощение оснастки, так как используется только один инструмент (матрица или оправка), а роль второго инструмента выполняет импульсное магнитное поле. Использование импульсного нагружения и сопровождающий его нагрев заготовки позволяет увеличить допустимую степень деформации обрабатываемого материала, что обеспечивает сокращение количества переходов. При этом часто практикуется совмещение различных операций МИОМ, используются разнообразные конструкции индукторных систем. Магнитно-импульсная калибровка позволяет повысить точность изготовления деталей за счет силового и термического воздействия на обрабатываемую деталь. Процесс калибровки может совмещаться с процессом формовки или выполняться отдельно. Точность деталей после магнитно-импульсной калибровки соответствует 7…8 квалитетам.

Список источников


1    Попов Е.А., Ковалёв Е.Г., Шубин И.Н. Технология и автоматизация листовой штамповки [Текст]: Учебник для вузов / Е.А. Попов, Е.Г. Ковалёв, И.Н. Шубин - М.: Изд-во МГТУ им. Баумана, 2000. - 480 с.

2       Шофман Л.А. Основы расчёта процессов штамповки и прессования [Текст]: Учебник / Л.А. Шофман - М.: Машгиз, 1961. - 340 с.

         Романовский В.П. Справочник по холодной штамповке [Текст]: Учебник - 6-е изд., перераб. и доп / В.П. Романовский - Л.: Машиностроение. Ленингр. отделение, 1979. - 520 с.

         Попов Е.А. Основы теории листовой штамповки [Текст]: Учебное пособие для вузов - 2-е изд., перераб. и доп. / Е.А. Попов - М.: Машиностроение, 1977. - 278 с.

5    Глущенков, В.А. Расчет процессов магнитно-импульсной обработки [Текст]: учебное пособие для вузов / В.А. Глущенков, В.Ф. Карпухин. - Самара: СГАУ, 2010 - 35 с.

6    Романовский В.П. Исследование начальной стадии процесса глубокой вытяжки [Текст]/ В.П. Романовский - (Труды ЛПИ, 1968; №299).

7       Романовский В.П. Анализ напряжённо-деформированного состояния в начальной стадии процесса глубокой вытяжки [Текст]/ В.П. Романовский - (Кузнечно-штамповочное производство, 1967; №2).

         Мельников Э.Л. Справочник по холодной штамповке оболочковых деталей [Текст]: Учебник для вузов - 3-е изд., перераб. и доп./ Э.Л. Мельников - М.: Машиностроение, 2003. - 288 с.

         Губкин С.И. Основы теории обработки металлов давлением [Текст]: Учебник/ С.И. Губкин - М.: Машиностроение, 1959. - 234 с.

         Шофман Л.А. Теория и расчёты процессов холодной штамповки [Текст]: Учебник/ Л.А. Шофман - М.: Машиностроение, 1964. - 374 с.

         Способ изготовления конических деталей: пат. 1183248 Союз Советских Социалистических Республик: МПК В 21 D 41/04 / Фомин М.З., Задурний В.П., Асвобудинов Б.А., Кальнишевским Г.К.; заявлено 13.05.83; опубликовано 07.10.85

         Попов Е.А., Сторожев М.В. Теория обработки металлов давлением [Текст]: Учебник для вузов- - 2-е изд., перераб. Е.А. Попов, М.В. Сторожев - М.: Машиностроение, 1963.-213 с.

         Попов И.П., Нестеренко Е.С. Особенности вытяжки тонколистового материала в штампе с упругим элементом / И.П. Попов, Е.С. Нестеренко - (Заготовительные производства в машиностроении, 2005; №6).

         Штамп для глубокой вытяжки / Попов И.П., Нестеренко Е.С. // Прогрессивные методы и технологическое оснащение процессов обработки металлов давлением: Сборник тезисов международной научно-технической конференции. БГТУ «Военмех» Санкт-Петербург. - Изд-во «ИВА», 2005 г. - 224 с.

         Моделирование последующих операций изотермической вытяжки цилиндрических деталей из анизотропного материала в режиме ползучести / Логвинова С.В. [и др.]. - (Механика и процессы управления: Труды 33-го Уральского семинара; Серия Технология и машины обработки металлов давлением, 2003).

         Анализ способов получения трубных приварных бесшовных переходников / Горелова И.А., Погорелов Ю.М. - (Механика и процессы управления: Труды 33-го Уральского семинара; Серия Технология и машины обработки металлов давлением, 2003).

         Способ изготовления полых деталей типа тел вращения с отверстием в донной части: пат. 959872 Российская Федерация: МПК В 21 D 22/02, D 35/00 / Потекушин Н.В.; заявлено 13.09.82; опубликовано 23.09.82.

         Способ получения переходников с наружным цилиндрическим пояском: пат. 2087234 Российская Федерация: МПК В 21 D 41/00 / Евсюков С.А.; заявлено 17.03.94; опубликовано. 20.08.97.

         Способ получения переходников с внутренней горловиной: пат. 2087232 Российская Федерация: МПК В 21 D 41/00 / Евсюков С.А.; заявлено 17.03.94; опубликовано 20.08.97.

         Способ получения переходников с внутренним цилиндрическим пояском: пат. 2060086 Российская Федерация: МПК В 21 D 41/00 / Евсюков С.А.; заявлено 25.02.94; опубликовано 20.05.96.

         Последующая вытяжка тонкостенных цилиндрических стаканов / Овчинников А.Г. - (Машины и технология обработки металлов давлением // Труды МВТУ, 1968; №128, с. 218-220).

         Малов, А.Н. Технология холодной штамповки / А.Н. Малов - М.: Машиностроение, 1969. - 568 с.

         Повышение равномерности толщины стенки штампованных конических оболочек / В.Д. Маслов, В.П. Чистяков, И.П. Попов. - (Кузнечно-штамповочное производство, 1986; №6, с. 14).

         Снижение металлоемкости штампованных конических оболочек / В.Д. Маслов, И.П. Попов, А.И. Гостев. - (Вестник машиностроения, 1988; №1, с. 48-50).

25  А.С. Илларионова Е.В. Слепченко CAD/CAM/CAE-системы компьютерного моделирования

деталь машиностроение программный моделирование

Похожие работы на - Способы получения конических деталей

 

Не нашли материал для своей работы?
Поможем написать уникальную работу
Без плагиата!
Без нейросетей!