Система автоматического регулирования теплового режима парового котла
СОДЕРЖАНИЕ
Введение
. Общая часть
.1 Описание технологического
процесса
.2 Описание конструкции объекта
.3 Обоснование необходимости
контроля, регулирования и сигнализации технологических параметров
. Специальная часть
.1 Выбор средств автоматизации
.2 Описание схемы автоматизации
объекта
.3 Описание щита КИПиА
.4 Описание схемы внешних соединений
.5 Описание схемы принципиальной
.6 Описание монтажа и наладки
системы автоматического регулирования
.7 Заказная спецификация на
оборудование
.8 Спецификация на монтажные изделия
и материалы
. Исследовательская часть
.1 Объект исследования
.2 Расчет чувствительности системы
управления подачей пара
.3 Расчет системы автоматического
регулирования температуры
. Экономическая часть
.1 Смета стоимости средств автоматизации
.2 Расчет амортизационных отчислений
.3 Расчет численности рабочих
.4 Расчет годового фонда заработной
платы специалистов
.5 Расчет заработной платы
.6 Смета эксплуатационных затрат
.7 Расчет экономической
эффективности САР
. Безопасность жизнедеятельности и
экология
.1 Охрана труда
.2 Меры защиты работников от
воздействий вредных факторов
.3 Мероприятия по охране окружающей
среды
.4 Расчет выбросов от котельной,
работающей на природном газе
.5 Безопасность в чрезвычайных
ситуациях
Список использованных источников
ВВЕДЕНИЕ
паровой
котел автоматизация
По уровню автоматизации теплоэнергетика занимает
одно из ведущих мест среди других отраслей промышленности. Теплоэнергетические
установки характеризуются непрерывностью протекающих в них процессов. При этом
выработка тепловой и электрической энергии в любой момент времени должна
соответствовать потреблению (нагрузке). Почти все операции на
теплоэнергетических установках механизированы, а переходные процессы в них
развиваются сравнительно быстро. Этим объясняется высокое развитие
автоматизации в тепловой энергетике.
Автоматизация параметров дает значительные
преимущества:
1 обеспечивает
уменьшение численности рабочего персонала, т.е. повышение производительности
его труда,
2 приводит
к изменению характера труда обслуживающего персонала,
3 увеличивает
точность поддержания параметров вырабатываемого пара,
4 повышает
безопасность труда и надежность работы оборудования,
5 увеличивает
экономичность работы парогенератора.
Автоматизация парогенераторов включает в себя
автоматическое регулирование, дистанционное управление, технологическую защиту,
теплотехнический контроль, технологические блокировки и сигнализацию.
Автоматическое регулирование обеспечивает ход
непрерывно протекающих процессов в парогенераторе (питание водой, горение,
перегрев пара и др.)
Дистанционное управление позволяет дежурному
персоналу пускать и останавливать парогенераторную установку, а так же
переключать и регулировать ее механизмы на расстоянии, с пульта, где
сосредоточены устройства управления.
Теплотехнический контроль за работой
парогенератора и оборудования осуществляется с помощью показывающих и
самопишущих приборов, действующих автоматически. Приборы ведут непрерывный
контроль процессов, протекающих в парогенераторной установке, или же подключаются
к объекту измерения обслуживающим персоналом или информационно-вычислительной
машиной. Приборы теплотехнического контроля размещают на панелях, щитах
управления по возможности удобно для наблюдения и обслуживания.
Технологические блокировки выполняют в заданной
последовательности ряд операций при пусках и остановках механизмов
парогенераторной установки, а так же в случаях срабатывания технологической
защиты. Блокировки исключают неправильные операции при обслуживании
парогенераторной установки, обеспечивают отключение в необходимой
последовательности оборудования при возникновении аварии.
Устройства технологической сигнализации
информируют дежурный персонал о состоянии оборудования (в работе, остановлено и
т.п.), предупреждают о приближении параметра к опасному значению, сообщают о
возникновении аварийного состояния парогенератора и его оборудования.
Применяются звуковая и световая сигнализация.
Эксплуатация котлов должна обеспечивать надежную
и эффективную выработку пара требуемых параметров и безопасные условия труда
персонала. Для выполнения этих требований эксплуатация должна вестись в точном
соответствии с законоположениями, правилами, нормами и руководящими указаниями,
в частности, в соответствии с «Правилами устройства и безопасной эксплуатации
паровых котлов» Госгортехнадзора, «Правилами технической эксплуатации
электрических станций и сетей», «Правилами технической эксплуатации
теплоиспользующих установок и тепловых сетей» и др.
На основе указанных материалов для каждой
котельной установки должны быть составлены должностные и технологические
инструкции по обслуживанию оборудования, ремонту, технике безопасности,
предупреждению и ликвидации аварий и т.п. Должны быть составлены технические
паспорта на оборудование, исполнительные, оперативные и технологические схемы
трубопроводов различного назначения. Знание инструкций, режимных карт работы
котла и указанных материалов является обязательным для персонала. Знания
обслуживающего персонала должны систематически проверяться.
Эксплуатация котлов производится по
производственным заданиям, составляемым по планам и графикам выработки пара,
расхода топлива, расхода электроэнергии на собственные нужды, обязательно
ведется оперативный журнал, в который заносятся распоряжения руководителя и
записи дежурного персонала о работе оборудования, а так же ремонтную книгу, в
которую записывают сведения о замеченных дефектах и мероприятиях по их
устранению.
Должны вестись первичная отчетность, состоящая
из суточных ведомостей по работе агрегатов и записей регистрирующих приборов и
вторичная отчетность, включающая обобщенные данные по котлам за определенный
период. Каждому котлу присваивается свой номер, все коммуникации окрашиваются в
определенный условный цвет, установленный ГОСТом. Установка котлов в помещении должна
соответствовать правилам Госгортехнадзора, требованиям техники безопасности,
санитарно-техническим нормам, требованиям пожарной безопасности.
1. ОБЩАЯ ЧАСТЬ
.1 Описание технологического процесса
Паровым котлом называется комплекс агрегатов,
предназначенных для получения водяного пара. Этот комплекс состоит из ряда
теплообменных устройств, связанных между собой и служащих для передачи тепла от
продуктов сгорания топлива к воде и пару. Исходным носителем энергии, наличие
которого необходимо для образования пар из воды, служит топливо.
Основными элементами рабочего процесса,
осуществляемого в котельной установке, являются:
)процесс горения топлива,
)процесс теплообмена между продуктами сгорания
или самим горящим топливом с водой,
)процесс парообразования, состоящий из нагрева
воды, ее испарения и нагрева полученного пара.
Во время работы в котлоагрегатах образуются два
взаимодействующих друг с другом потока: поток рабочего тела и поток
образующегося в топке теплоносителя.
В результате этого взаимодействия на выходе
объекта получается пар заданного давления и температуры.
Одной из основных задач, возникающей при
эксплуатации котельного агрегата, является обеспечение равенства между
производимой и потребляемой энергией. В свою очередь процессы парообразования и
передачи энергии в котлоагрегате однозначно связаны с количеством вещества в
потоках рабочего тела и теплоносителя.
Горение топлива является сплошным
физико-химическим процессом. Химическая сторона горения представляет собой
процесс окисления его горючих элементов кислородом, проходящий при определенной
температуре и сопровождающийся выделением тепла. Интенсивность горения, а так
же экономичность и устойчивость процесса горения топлива зависят от способа
подвода и распределения воздуха между частицами топлива. Условно принято
процесс сжигания топлива делить на три стадии: зажигание, горение и дожигание.
Эти стадии в основном протекают последовательно во времени, частично
накладываются одна на другую.
Расчет процесса горения обычно сводится к
определению количества воздуха в м3,необходимого для сгорания единицы массы или
объема топлива количества и состава теплового баланса и определению температуры
горения.
Значение теплоотдачи заключается в теплопередаче
тепловой энергии, выделяющейся при сжигании топлива, воде, из которой
необходимо получить пар, или пару, если необходимо повысить его температуру
выше температуры насыщения. Процесс теплообмена в котле идет через
водогазонепроницаемые теплопроводные стенки, называющиеся поверхностью нагрева.
Поверхности нагрева выполняются в виде труб. Внутри труб происходит непрерывная
циркуляция воды, а снаружи они омываются горячими топочными газами или
воспринимают тепловую энергию лучеиспусканием. Таким образом, в котлоагрегате
имеют место все виды теплопередачи: теплопроводность, конвекция и
лучеиспускание. Соответственно поверхность нагрева подразделяется на
конвективные и радиационные. Количество тепла, передаваемое через единицу
площади нагрева в единицу времени носит название теплового напряжения
поверхности нагрева. Величина напряжения ограничена, во-первых, свойствами
материала поверхности нагрева, во-вторых, максимально возможной интенсивностью
теплопередачи от горячего теплоносителя к поверхности, от поверхности нагрева к
холодному теплоносителю.
Интенсивность коэффициента теплопередачи тем
выше, чем выше разности температур теплоносителей, скорость их перемещения
относительно поверхности нагрева и чем выше чистота поверхности.
Образование пара в котлоагрегатах протекает с
определенной последовательностью. Уже в экранных трубах начинается образование
пара. Этот процесс протекает при больших температуре и давлении. Явление
испарения заключается в том, что отдельные молекулы жидкости, находящиеся у ее
поверхности и обладающие высокими скоростями а, следовательно, и большей по
сравнению с другими молекулами кинетической энергией, преодолевая силовые
воздействия соседних молекул, создающее поверхностное натяжение, вылетают в
окружающее пространство. С увеличением температуры интенсивность испарения
возрастает. Процесс обратный парообразованию называют конденсацией. Жидкость,
образующуюся при конденсации, называют конденсатом. Она используется для
охлаждения поверхностей металла в пароперегревателях.
Пар, образуемый в котлоагрегате, подразделяется
на насыщенный и перегретый. Насыщенный пар в свою очередь делится на сухой и
влажный. Так как на теплоэлектростанциях требуется перегретый пар, то для его
перегрева устанавливается пароперегреватель, в данном случае ширмовой и
конъюнктивный, в которых для перегрева пара используется тепло, полученное в
результате сгорания топлива и отходящих газов. Полученный перегретый пар при
температуре Т=540 С и давлении Р=100 атм. идет на технологические нужды.
.2 Описание конструкции объекта
Паровые котлы типа ДЕ паропроизводительностью 10
т/ч, с абсолютным давлением 1,4 МПа (14 кгс/см2) предназначены для выработки
насыщенного или перегретого пара, используемого для технологических нужд
промышленных предприятий, на теплоснабжение систем отопления и горячего
водоснабжения.
Котлы двухбарабанные вертикально-водотрубные
выполнены по конструктивной схеме “Д”, характерной особенностью которой
является боковое расположение конвективной части котла относительно топочной
камеры.
Основными составными частями котлов являются
верхний и нижний барабаны 1,конвективный пучок и образующие топочную камеру 2
левый топочный экран (газоплотная перегородка), правый топочный экран, трубы
экранирования фронтальной стенки топки и задний экран.
Снизу в топку подается нужный для сгорания
топлива воздух посредством дутьевых вентиляторов 3.Процесс горения топлива
протекает при высоких температурах, поэтому экранные трубы котла воспринимают
значительное количество тепла путем излучения.
Продукты сгорания топлива, называемые иначе
газами , поступают в котельные газоходы , при этом обогревается поверхность
пароперегревателя 4, омывают трубы экономайзера 6, в котором происходит
подогрев питательной воды до температуры, близкой к 200° С, поступающей в
барабаны котла 1.Далее дымовые газы проходят в дымоход 5 и поступают в воздухоподогреватель7.Из
него газы через дымовую трубу выходят в атмосферу. Вода в котел подается по
трубопроводу 9, газ-трубопроводу10.Пар из барабана котла, минуя
пароперегреватель 4, поступает на паропровод 11.
Одним из важнейших показателей конструкции
котлоагрегата является его циркуляционная способность. Равномерная и
интенсивная циркуляция воды и паровой смеси способствует смыванию со стены
пузырьков пара и газа, выделяющихся из воды, а так же препятствует отложению на
стенках накипи, что в свою очередь обеспечивает невысокую температуру
стенок(200-400 С), ненамного превышающую температуру насыщения и еще не опасную
для прочности котельной стали. Паровой котел ДЕ -10-14 Г принадлежит к котлам
естественной циркуляцией.
Схема конструкции объекта
- экранные трубы; 2- верхний барабан; 3-
манометр; 4- предохранительные клапаны; 5- трубы питательной воды; 6- сепаратор
пара; 7- предохранительная пробка; 8- камера догорания; 9- перегородки; 10-
конвективные трубки; 11- обдувочное устройство; 12- нижний барабан; 13-
продувочный трубопровод.
.3 Обоснование необходимости автоматизации
технологических параметров
Регулирование питания котельных агрегатов и регулирование
давления в барабане котла главным образом сводится к поддержанию материального
баланса между отводом пара и подачей воды. Параметром, характеризующим баланс,
является уровень воды в барабане котла. Надежность работы котельного агрегата
во многом определяется качеством регулирования уровня. При повышении давления,
снижение уровня ниже допустимых пределов, может привести к нарушению циркуляции
в экранных трубах, в результате чего произойдет повышение температуры стенок
обогреваемых труб, и их пережег.
Повышение уровня также ведет к аварийным
последствиям, так как возможен заброс воды в пароперегреватель, что вызовет
выход его из строя. В связи с этим, к точности поддержания заданного уровня
предъявляются очень высокие требования. Качество регулирования питания также
определяется равенством подачи питательной воды. Необходимо обеспечить
равномерное питание котла водой, так как частые и глубокие изменения расхода
питательной воды могут вызвать значительные температурные напряжения в металле
экономайзера.
Барабанам котла с естественной циркуляцией
присуща значительная аккумулирующая способность, которая проявляется в
переходных режимах. Если в стационарном режиме положение уровня воды в барабане
котла определяется состоянием материального баланса, то в переходных режимах на
положение уровня влияет большое количество возмущений. Основными из них
являются изменение расхода питательной воды, изменение паросъема котла при
изменении нагрузки потребителя, изменение паропроизводительности при изменении
при изменении нагрузки топки, изменение температуры питательной воды.
Регулирование соотношения газ-воздух необходимо
как чисто физически, так и экономически. Известно, что одним из важнейших
процессов, происходящих в котельной установке, является процесс горения топлива.
Химическая сторона горения топлива представляет собой реакцию окисления горючих
элементов молекулами кислорода. Для горения используется кислород, находящийся
в атмосфере. Воздух в топку подается в определенном соотношении с газом
посредством дутьевого вентилятора. Соотношение газ-воздух примерно составляет
1.10. При недостатке воздуха в топочной камере происходит неполное сгорание
топлива. Не сгоревший газ будет выбрасываться в атмосферу, что экономически и
экологически не допустимо. При избытке воздуха в топочной камере будет
происходить охлаждение топки, хотя газ будет сгорать полностью, но в этом
случае остатки воздуха будут образовывать двуокись азота, что экологически
недопустимо, так как это соединение вредно для человека и окружающей среды.
Система автоматического регулирования разряжения
в топке котла сделана для поддержания топки под наддувом, то есть чтобы
поддерживать постоянство разряжения (примерно 4мм. вод. ст.). При отсутствии
разряжения пламя факела будет прижиматься, что приведет к обгоранию горелок и
нижней части топки. Дымовые газы при этом пойдут в помещение цеха, что делает
невозможным работу обслуживающего персонала.
В питательной воде растворены соли, допустимое
количество которых определяется нормами. В процессе парообразования эти соли
остаются в котловой воде и постепенно накапливаются. Некоторые соли образуют
шлам - твердое вещество, кристаллизующееся в котловой воде. Более тяжелая часть
шлама скапливается в нижних частях барабана и коллекторов.
Повышение концентрации солей в котловой воде
выше допустимых величин может привести к уносу их в пароперегреватель. Поэтому
соли, скопившиеся в котловой воде, удаляются непрерывной продувкой, которая в
данном случае автоматически не регулируется. Расчетное значение продувки
парогенераторов при установившемся режиме определяется из уравнений баланса
примесей к воде в парогенераторе. Таким образом, доля продувки зависит от
отношения концентрации примесей в воде продувочной и питательной. Чем лучше
качество питательной воды и выше допустимая концентрация примесей в воде, тем
доля продувки меньше. А концентрация примесей в свою очередь зависит от доли
добавочной воды, в которую входит, в частности, доля теряемой продувочной воды.
Сигнализация параметров и защиты, действующие на
останов котла, физически необходимы, так как оператор или машинист котла не в
силах уследить за всеми параметрами функционирующего котла. Вследствие этого
может возникнуть аварийная ситуация. Например, при упуске воды из барабана,
уровень воды в нем понижается, вследствие этого может быть нарушена циркуляция
и вызван, пережег труб донных экранов. Сработавшая без промедления защита,
предотвратит выход из строя парогенератора. При уменьшении нагрузки
парогенератора, интенсивность горения в топке снижается. Горение становится
неустойчивым и может прекратиться. В связи с этим предусматривается защита по
погашению факела.
Надежность защиты в значительной мере
определяется количеством, схемой включения и надежностью используемых в ней
приборов. По своему действию защиты подразделяются на действующие, на останов
парогенератора; снижение нагрузки парогенератора; выполняющие локальные
операции.
Технологические параметры
Таблица 1.1
|
Параметр
|
ед. изм.
|
min
|
норма
|
max.
|
|
Производительность
|
т/ч
|
9,5
|
10,0
|
10,5
|
|
Температура
перегретого пара
|
С
|
535
|
540
|
545
|
|
Давление
в барабане котла
|
МПа
|
1,33
|
1,40
|
1,47
|
|
Температура
питательной воды после экономайзера
|
С
|
190
|
200
|
210
|
|
Расход
природного газа
|
м/ч
|
237,5
|
250,0
|
262,5
|
|
Содержание
О в отходящих газах
|
%
|
1,33
|
1,40
|
1,47
|
|
Температура
отходящих газов
|
С
|
180,5
|
190,0
|
199,5
|
|
Давление
газа перед горелками
|
МПа
|
0,0475
|
0,0500
|
0,0525
|
|
Разрежение
в топке
|
мм. вод. ст.
|
4,75
|
5,00
|
5,25
|
|
Уровень
в барабане
|
мм
|
-100
|
0
|
+100
|
|
Расход
питательной воды
|
м/ч
|
|
17
|
|
|
Давление
питательной воды
|
МПа
|
1,805
|
1,900
|
1,995
|
Основные данные теплового расчёта котла ДЕ
Таблица 1.2
|
НАИМЕНОВАНИЕ
|
ДЕ-10-14ГМ
|
|
Мазут
|
Газ
|
|
КПД
котла, %
|
93,8
|
82,7
|
|
Расчётный
расход топлива Вр, кг/ч, м /ч
|
750
|
800
|
|
Объём
топочной камеры, м3
|
17,14
|
|
Лучевоспринимающая
поверхность нагрева Нл, м
|
38,96
|
|
Полная
поверхность стен топки Не,., м2
|
41,47
|
|
Коэффициент
избытка воздуха на выходе из топки ат
|
1,58
|
1,55
|
|
Температура
газов на выходе из топки t ,°С
|
1170
|
1110
|
|
Тепловая
нагрузка экранов qE, кВт/ м2
|
946,1
|
888,9
|
|
Видимое
тепловое напряжение топочного объёма, qv кВт/м3
|
441,1
|
436,4
|
|
Расположение
труб котельного пучка
|
Коридорное
|
|
Расчётная
поверхность нагрева Нр, м
|
117,69
|
|
Сечение
для прохода газов F, м2
|
0,41
|
|
Средняя
скорость газов со, м/с
|
18,0
|
16,9
|
|
Коэффициент
теплопередачи К, Вт/(м хК)
|
233,6
|
287,9
|
|
Температура
газов за пучками t, °С
|
306
|
264
|
|
Тип
чугунного экономайзера ВТИ
|
ВЭ-Х11-16п-2м
|
|
Поверхность
нагрева Нэк, м2
|
236
|
|
Средняя
скорость газов сог, м/с
|
8,0
|
7,37
|
|
Коэффициент
теплопередачи К, Вт/(м хК)
|
57,7
|
73,8
|
|
Температура
воды на выходе из экономайзера t,°C
|
133
|
130
|
|
Температура
газов за экономайзером t эк ,°С
|
172
|
143
|
2. СПЕЦИАЛЬНАЯ ЧАСТЬ
.1 Выбор средств автоматизации
Комплекс приборов и устройств типа “Контур Г”
предназначен для построения локальных систем автоматического регулирования
теплотехнических процессов в энергетике, промышленном комплексе, системах
теплоснабжения и отопления. Комплекс включает в себя четырнадцать исполнений
многофункциональных регулирующих приборов с импульсным выходом типа РС 29 и два
исполнения трехпозиционного усилителя типа У29.
Комплекс “Контур 2” построен по модельному
принципу на современной микроэлектронной элементной базе. Характеризуется
расширенными функциональными возможностями, более широким использованием
сигналов постоянного тока, повышенной точностью и надежностью, существенно
меньшими габаритами и массой по сравнению с комплексом приборов “Контур “
Регулирующие приборы типа РС29 обеспечивают
усиление, демпфирование и индикацию сигнала рассогласования. Совместно с
исполнительным механизмом постоянной скорости регуляторы формируют ПИ - или ПИД
- законы регулирования и позволяют осуществлять ручное управление
исполнительным механизмом. В них предусмотрена индикация положения
исполнительного механизма, оснащенного реостатными или индуктивными датчиками
положения, а также аналого-релейное преобразование по двум каналам с
индексацией срабатывания.
В зависимости от модификации приборы могут
выполнять дополнительные функции: дифференцирование сигналов по апериодическому
закону, нелинейное преобразование сигналов, цифровую индикацию одного из четырех
сигналов по вызову. Конструкция регулирующих приборов отличается унификацией.
Функциональная структура большинства исполнений приборов может легко изменятся
путем перестановки перемычек на специальном коммутационном поле, доступном
потребителю, что дает возможность осуществлять аналого-релейное преобразование
с демпфированием, вводить сигналы по производной, осуществлять динамическую
связь между регуляторами.
.2 Описание схемы автоматизации
Функциональная схема систем автоматизации
технологических процессов является основным техническим документом,
определяющим структуру и характер систем автоматизации технологических
процессов, а также оснащения их приборами и средствами автоматизации. На
функциональной схеме дано упрощенное изображение агрегатов, подлежащих
автоматизации, а также приборов, средств автоматизации и управления,
изображаемых условными обозначениями по действующим стандартам, а также линии
связи между ними.
Схема автоматизации регулирования и контроля
парового котлоагрегата предусматривают следующие системы:
система автоматического регулирования и контроля
тепловой нагрузки котла
система автоматического регулирования и контроля
питания котла
система автоматического регулирования и контроля
соотношения газ-воздух
система автоматического регулирования и контроля
разрежения в топке котла
система автоматического контроля давления
система автоматического контроля температуры
система автоматической отсечки газа
2.2.1 Система автоматического регулирования и
контроля тепловой нагрузки
Регулятор тепловой нагрузки работает от двух
параметров:
. Перепад давления, пропорциональный расходу
пара создается на диафрагме ДКС 10-200-А/Г (поз.1-2), установленной на
паропроводе, преобразуется измерительным преобразователем САПФИР-22ДД-2420
(поз.1-3) в унифицированный токовый сигнал 0-5 мА и подается на блок извлечения
корня БИК-1 (поз.1-4), предназначенный для линеаризации статической
характеристики преобразователя САПФИР-22ДД, с выхода которого поступает на
регулятор РС 29.0.12 (поз.1-7). И на вторичный прибор ДИСК-250-2121 (поз.1-6).
. Сигнал по изменению давления в барабане котла.
Давление в барабане котла измеряется при помощи преобразователя
САПФИР-22ДИ-2150 (поз.1-1). Унифицированный токовый сигнал 0-5 мА с
преобразователя поступает на регулятор РС 29.0.12 (поз.1-7) и на вторичный
прибор ДИСК-250-2121 (ПОЗ.1-5).
В регуляторе происходит суммирование сигналов с
преобразователей с заданным значением. Если эти величины равны, то регулятор не
оказывает воздействия на объект. Если регулируемый параметр отклоняется от
заданного значения, то на выходе регулятора вырабатывается импульсный сигнал,
который в усилителе У29.3 (поз.7-8) преобразуется в изменение состояния
бесконтактных ключей. Усилитель У29.3 имеет три бесконтактных ключа для
управления исполнительным механизмом МЭО 40/25-0,25Р (поз.1-9), вал которого
через систему тяг и рычагов сочленен с регулирующим органом КРП 100,изменяющим
подачу газа в топку котла.
2.2.2 Система автоматического регулирования и
контроля питания котла
Регулятор питания котла работает по
трехимпульсной схеме, используется три приема: расход питательной воды; расход
пара; уровень в барабане котла.
Расход питательной воды и расход пара измеряются
методом переменного перепада. Перепад давления пропорциональный расходу
питательной воды, создаваемый на диафрагме ДКС 10-100-А/Г-1 (поз.2-1), и
перепад давления пропорциональный расходу пара, создаваемый на диафрагме ДКС
10-200-А/Г-1 (поз.1-2) измеряются и преобразуются преобразователями
САПФИР-22ДД-2420 (поз.1-3;2-2) в унифицированные токовые сигналы 0-5 мА., с
выхода измерительных преобразователей САПФИР-22ДД-2420 сигналы подаются на
блоки извлечения корня БИК-1 (поз.1-4; 2-3), предназначенные для линеаризации
статической характеристики преобразователей САПФИР-22ДД
Сигналы 0-5 мА с блоков БИК -1 поступают на
вторичные приборы ДИСК -250-2121 (поз.1-6, 2-5) и на выход регулятора РС
29.0.12 (поз.2-7).
Уровень в барабане котла измеряется
преобразователем САПФИР-22ДИ-2150 (поз.2-4) и преобразуется в унифицированный
токовый сигнал 0-5 мА, который подается на вторичный прибор ДИСК -250-2121
(поз.2-6) и на вход регулятора РС 29.0.12 (поз.2-7).
В случае отклонения одного из указанных
параметров регулятор РС 29 воздействует с помощью усилителя У 29.3 (поз.2-8) на
механизм МЭО 40/25-0,25 (поз.2-9), который приводит в действие регулирующий
орган КРП 100 (поз.2-10), установленный на трубопроводе питательной воды.
.2.3 Система автоматического регулирования и
контроля соотношения газ-воздух
Измерение расхода газа и воздуха производится
методом переменного перепада. Перепад давления на диафрагме ДКС 0,6-100-А/Г-1
(поз.3-2) и диафрагме ДКС 0,6-400- А/Г-1 (поз.3-1) измеряется преобразователем
САПФИР-22ДД -2420 (поз.3-3;3-4).Сигнал 0-5мА с преобразователя поступает на
блок извлечения корня БИК -1 (поз.3-5; 3-6) предназначенной для линеаризации
статической характеристики преобразователя САПФИР-22ДД. Сигнал 0-5 мА с блока
извлечения корня БИК -1 поступает на вторичный прибор ДИСК -250-2121
(поз.3-8;3-9) и на регулятор РС 29.0.12 (поз. 3-7).
В регуляторе РС 29 происходит суммирование двух
поступающих сигналов, а затем сравнение их с заданным значением. Если
регулируемый параметр отклоняется от заданного значения, то на входе
электронного блока регулятора появляется сигнал рассогласования. При этом на
выходе регулятора вырабатывается импульсный сигнал (24В), который подается на
усилитель У29.3. (поз.3-13).Усилитель У29.3 управляет исполнительным механизмом
МЭО 40/10-0,25 (поз.3-11), который с помощью регулирующего органа изменяет
подачу воздуха. В данной системе ведется коррекция по кислороду (О2) в
отходящих газах. Сигнал с индикатора на кислород “Альфа» (поз.3-12) через
вторичный прибор ДИСК -250-2121 (поз.3-10) поступает на регулятор РС 29.0.42
(поз.3-14), на его выходе образуется сигнал, который является корректирующим для
регулятора РС 29.0.12 (поз.3-7).
.2.4 Система автоматического регулирования и
контроля в топке котла
Давление в топке котла измеряется при помощи
преобразователя САПФИР -22 ДИВ -2310 (поз.4-1). Сигнал с преобразователя
поступает на вторичный прибор ДИСК -250-2121 (поз.4-3) и на регулятор РС
29.0.12 (поз.4-2). В случае отклонения регулируемого параметра регулятор РС
29,который с помощью усилителя У 29.3 (поз.4-4) запитывает электродвигатель
механизма исполнительного МЭО 40/10-0.25Р (поз.4-5), изменяющего положения
направляющих аппаратов дымососа.
2.2.5 Система автоматического контроля давления
Давление газа, воздуха, а также воды измеряется
манометрами ОБМ (поз.5-1; 5-2; 5-3).
.2.6 Система автоматического контроля
температуры
Измерение температуры производится с помощью
термоэлектрических термометров ТХА -0179 (поз.6-1; 6-2; 6-3). Сигнал с
термоэлектрических термометров поступает на вторичный регистрирующий и
показывающий прибор КСП -023 (поз.6-4).
.2.7 Система автоматической отсечки газа
Отсечка газа производится:
.при повышении давления пара на выходе из
парогенератора, а так же при отключении давления газа или воздуха перед
горелками, для чего проектом предусмотрены датчики давления типа ДД (поз.7-1;
7-2; 7-3);
.по наличии пламени в топке котла с помощью
прибора контроля пламени Ф.34.2 (поз. 7-4);
.при снижении температуры пара на выходе из
парогенератора с помощью термоэлектрического термометра ТХА-0179 (поз.7-6) и
регистрирующего прибора ДИСК-250-2121 (поз.7-7);
.при перепитке парогенератора водой и упуске
воды из барабана с помощью сигнализатора уровня ЭРСУ-3 (поз.7-8;7-9).
Для оповещения используется световая
сигнализация АС-220 (поз.HL1-HL9)
и звуковая СС1 (поз.HL10).
Для опробования и снятия звуковой сигнализации предназначены кнопки КЕ(SB1;SB2).
.3 Описание компоновки и коммутации щита КИПиА
Описание компоновки панели щита.
Компоновкой называется общий вид щита и
размещенные на нем приборы и средства автоматизации.
Компоновка аппаратуры должна обеспечить удобство
пользования ими. На рисунке приведен общий вид щитов, разработанный на основе
функциональной схемы.
Щиты выполнены в соответствии с типовыми
проектами котельных и предназначены для автоматизации котлов серии ДЕ,
сжигающих природный газ или мазут, производительностью 10 тонн пара в час. Щит
и комплект аппаратуры, предназначенный для работы с ним, обеспечивают:
1 автоматическое
регулирование давления пара и уровня воды в барабане котла, расхода воздуха к
горелкам, разрежения в топке;
2 оперативный
контроль разрежения в топке, напора воздуха за дутьевым вентилятором,
температуры дымовых газов по тракту и силы тока электродвигателя дымососа,
установленными на щите приборами;
3 светозвуковую
сигнализацию при отклонении давления топлива давления воздуха, давления пара,
разрежения в дымоходе, отклонении уровня в барабане котла, погасании факела и
аварийная остановка котла.
Щиты устанавливаются в производственных и
специальных щитовых помещениях с температурой окружающего воздуха от -35 до +50
С. При компоновке необходимо обращать внимание на эстетику внешнего вида
проектируемого щита. Средства автоматизации и аппаратуры управления компонуются
функциональными группами в порядке хода технологического процесса.
Аппаратуру на панелях располагают так, чтобы
дежурному персоналу было удобно наблюдать по показаниям приборов за
технологическим процессом. Показывающие приборы и сигнальные средства
устанавливают на высоте 800-2100мм, самопишущие приборы на высоте 1000-1600мм,
ключи и кнопки на высоте 700-1600мм.
Под каждым прибором помещены рамки с надписями о
назначении прибора или измеряемом параметре.
Коммутации единичного щита.
Схема коммутации щита представляет собой
обратную сторону передней стенки щита с точным расположением на ней аппаратуры
с упрощенным изображением проводки. В щиты и пульты разрешается ввод
электрического тока напряжением, не превышающем 400В. При вводе в щиты со
средствами автоматизации направленными свыше 250В постоянного и переменного
тока рекомендуется тока ведущей части закрывать контуром.
Питающие провода, кабели и импульсные трубки
рекомендуется подводить непосредственно к вводному выключателю щита.
Индивидуальные цепи питания средств
автоматизации схем управления, сигнализации и т.д. рекомендуется подводить от
вводного выключателя к соответствующим выключателям и предохранителям.
Разводка индивидуальных цепей питания должна
выполняться согласно принятым решениям в принципиальной схеме.
Для пневматической проводки в щитах и пультах
должны применять импульсные трубки, изготовленные из пластмассы, полиэтилена
или каких либо сплавов, прокладываются открытым способом или в пластмассовых
коробках.
Пневматические линии связи должны быть
герметизированы, не иметь утечек воздуха в атмосферу.
Компенсационные провода или кабели, поставленные
комплексно с отдельными видами приборов и средств автоматизации, присоединяются
непосредственно к их зажимам.
Концы проводов, подключенные к приборам,
аппаратам и сборкам зажимов, должны иметь маркировку, соответствующую монтажным
схемам щита.
2.4 Описание монтажной схемы
В данном проекте представлен монтаж
измерительного преобразователя Сапфир 22 ДД-2420, выполненный для удобства
чтения в двух видах: спереди и справа
Измерительный прибор предназначается для
измерения и преобразования его в электрический сигнал.
.5 Описание принципиальной электрической схемы
Принципиальные электрические схемы автоматизации
являются проектными документами, расшифровывающими принцип действия и работы
узлов, устройств и систем автоматизации, работающих от источника электрической
энергии.
Принципиальные электрические схемы автоматизации
при помощи показанных на схемах условных графических, буквенных и цифровых
изображений и обозначений, дают представление о последовательности работы
применяемой электрической аппаратуры и элементов для достижения поставленных
задач для упомянутых узлов, устройств и систем.
Принципиальные электрические схемы автоматизации
разрабатываются для управления агрегатами, для регулирования технологических
процессов, блокировок по технологическим параметрам, аварийной защиты
производственных и технологических процессов и предупредительной и аварийной
сигнализации.
Данные схемы являются основными чертежами для
разработки рабочих монтажных чертежей и проведения пусконаладочных работ и
квалифицированной эксплуатации этих узлов, устройств и систем электрического
принципа действия. Названия принципиальным электрическим схемам присваиваются в
соответствии с функциональным принципам действия запроектированной системы.
При выполнении принципиальных электрических схем
используются развернутые изображения элементов.
Принципиальные электрические схемы должны
содержать:
1 цепи
силовые;
2 элементные
схемы управления, регулирования, измерения, защитно-блокировочных зависимостей
и сигнализации;
3 контакты
аппаратов, приборов и ключей данной схемы, занятые в других схемах и такие же
контакты из других схем;
4 линии
связи между приборами, аппаратами или устройствами и их частями, включенными в
эту схему;
5 необходимые
пояснения и примечания;
6 перечень
элементов;
Расположение графического текстового материала
на каждом чертеже должно быть таким, чтобы оно облегчало чтение этого чертежа.
Принципиальные электрические схемы составляются
и вычерчиваются с применением условных графических изображений.
.6 Описание монтажа и наладки системы
автоматического регулирования (САР)
Наладка систем автоматического регулирования
включает в себя три стадии:
Работы первой стадии включают изучение проекта
автоматизации и подготовку наладочных работ, предмонтажную проверку приборов и
средств автоматизации;
Работы второй стадии предусматривают проверку
выполнения монтажа; опробование и настройка звеньев систем автоматического
регулирования;
Работы третьей стадии состоят из включения и
наладки САР, испытаний и сдачи САР в эксплуатацию.
.6.1 Работы первой стадии
Изучение проекта автоматизации и подготовка
наладочных работ.
При изучении проектной документации особое
внимание следует обратить на:
характеристики параметров и каналов контроля,
регулирования, управления, метрологические требования по этим каналам;
предельные значения параметров контроля и
регулирования;
соответствие приборов и средств автоматизации
условиям работы на объекте и требованиям метрологии;
соответствие условиям техники безопасности при
выполнении наладочных работ на объекте автоматизации.
По результатам проверки и изучения документации
составляется:
пояснительная записка;
перечень мероприятий по подготовке наладки, с
указанием сроков и путей выполнения работ;
рабочие журналы по отдельным элементам
технологического объекта (составляется при необходимости).
.6.2 Пояснительная записка
Система автоматического регулирования,
подлежащая наладке показана на рис. 1. При помощи этой системы регулируется
тепловая нагрузка котла, что очень важно при технологическом процессе.
Регулятор тепловой нагрузки работает от двух
параметров: 1. Перепад давления, пропорциональный расходу пара создается на
диафрагме ДКС 10-200-А/Г (поз.1-2), установленной на паропроводе, преобразуется
измерительным преобразователем САПФИР-22ДД-2420 (поз.1-3) в унифицированный
токовый сигнал 0-5 мА. и подается на блок извлечения корня БИК-1 (поз.1-4),
предназначенный для линеаризации статической характеристики преобразователя
САПФИР-22ДД, с выхода которого поступает на регулятор РС 29.0.12 (поз.1-7). И
на вторичный прибор ДИСК -250-2121 (поз.1-6). 2. Сигнал по изменению давления в
барабане котла. Давление в барабане котла измеряется при помощи преобразователя
САПФИР-22ДИ-2150 (поз.1-1). Унифицированный токовый сигнал 0-5 мА с
преобразователя поступает на регулятор РС 29.0.12 (поз.1-7) и на вторичный
прибор ДИСК -250 -2121 (ПОЗ.1-5).
В регуляторе происходит суммирование сигналов с
преобразователей с заданным значением. Если эти величины равны, то регулятор не
оказывает воздействия на объект. Если регулируемый параметр отклоняется от
заданного значения, то на выходе регулятора вырабатывается импульсный сигнал,
который в усилителе У29.3 (поз.7-8) преобразуется в изменение состояния
бесконтактных ключей. Усилитель У29.3 имеет три бесконтактных ключа для
управления исполнительным механизмом МЭО 40/25-0,25Р (поз.1-9), вал которого
через систему тяг и рычагов сочленен с регулирующим органом КРП 100,изменяющим
подачу газа в топку котла.
.6.3 Перечень мероприятий по подготовке наладки
В перечень мероприятий по подготовке наладки
может быть включено:
изготовление необходимой оснастки;
приобретение образцовых средств измерения,
вспомогательных материалов и оборудования;
составление графиков обеспечения работ
квалифицированными специалистами;
выпуск организационно-распорядительной
документации;
подготовка помещения для производственной базы
наладочных работ.
2.6.4 Производственная база наладочных работ
Производственной базой является помещение,
оборудованное всеми необходимыми, для наладочных работ, стендами, приборами,
оснасткой. Помещения должны быть приспособлены для работы с проектной
документацией, временного складирования, комплектацией поступающего
оборудования, проведения инструментальной проверки, настройки приборов и
средств автоматизации, хранения инструмента и оборудования, необходимого для
наладочных работ. Помещения должны соответствовать требованиям техники
безопасности и производственной санитарии.
.6.5 Предмонтажная проверка приборов и средств
автоматизации
Цель проверки: установление исправности,
поступающих на монтаж, приборов и средств автоматизации.
Предмонтажная проверка приборов и средств
автоматизации предусматривает проведение внешнего осмотра, подготовительных
работ и проверку основных характеристик аппаратуры.
)Внешний осмотр включает в себя:
проверка комплектности по сопроводительным
документам;
проверка соответствия приборов (тип, исполнение
и т п.) требованиям проекта;
проверка наличия клейм и пломб завода
изготовителя;
проверка внешних повреждений.
)Подготовительные работы:
удаление или ослабление элементов крепления
применённых на время транспортировки;
проверка состояния электроконтактных
поверхностей;
установка проверяемого прибора в рабочее
положение;
подбор аппаратуры для проверки характеристик
прибора;
сборка проверочной схемы;
подготовка к работе различных механизмов и
приборов;
обеспечение нормальных условий в месте
проведения работ;
проверка сопротивления изоляции герметичности и
т.д.
)Проверка основных характеристик аппаратуры,
например: для измерительного преобразователя - установка начального значения
выходного сигнала, проверка основной погрешности выходного сигнала; для
регулирующего прибора - лабораторная проверка технического состояния и
измерение параметров, статическая и динамическая настройка и т.д. и т.п.
Проверке не подлежат основные характеристики
термоэлектрических термометров, термометров сопротивления, пирометров,
ротаметров, индукционных преобразователей расхода, датчиков состава и свойств
среды, пускорегулирующей аппаратуры
Для проверки характеристик приборов и средств
автоматизации необходимо иметь, например: источник питания, образцовую
измерительную аппаратуру, имитатор значений измеряемого параметра, устройство
для проверки дополнительных устройств приборов (позиционно-регулирующих
сигнализирующих и т.п.), оснастку для установки крепления приборов
Образцовая измерительная аппаратура должна
удовлетворять требованиям:
предельный допуск абсолютной погрешности
образцового прибора при максимальных знаниях входного сигнала
диапазон измерения входного сигнала (нормирующее
значение)
предельный допуск абсолютной погрешности
поверяемого прибора
Для измерительных преобразователей образцовые
средства измерения должны отвечать техническим условиям.
Основную погрешность прибора определяют по
наибольшей абсолютной погрешности измеряемой в шести точках, соответствующих
0,20,40,60,80,100% диапазона измерения, одновременно определяют вариацию.
2.6.6 Предмонтажная проверка измерительного
преобразователя САПФИР 22-ДИ
Перед проведением проверки необходимо выполнить
подготовительные работы:
дифманометр установить в рабочее положение
проверить герметичность системы (состоящей из
соединительных линий и образцового прибора).
При проведении проверки должны выполнятся
следующие операции:
установка начального значения выходного сигнала
измерительного преобразователя
проверка герметичности между плюсовой и
минусовой камерами измерительного блока
определение основной погрешности и вариации
выходного сигнала.
Предел допускаемой основной погрешности
САПФИР-22 , выраженный в процентах нормирующего значения или диапазона
измерения выходного сигнала, численно равен классу точности поверяемого
измерительного преобразователя.
Нормирующее значение равно предельному
номинальному перепаду давления (для измерительных преобразователей с линейной
зависимостью выходного сигнала от измеряемого перепада давления)
Расчетное значение выходных сигналов, в заданном
номинальном перепаде давлений для преобразователей с линейной зависимостью
выходного сигнала от измеряемого перепада давлений определяют по формуле
начальное значение выходного сигнала.
верхнее значение (предельное номинальное)
выходного сигнала
предельный номинальный перепад давлений.
На рисунке рассмотрена схема предмонтажной
проверки измерительного преобразователя САПФИР-22ДИ.
Схема предмонтажной проверки преобразователя
САПФИР-22ДИ
измерительный преобразователь САПФИР-22ДИ
источник питания постоянного тока(22БП-36)
вольтметр цифровой (Щ 1516)или
потенциометр(Р-333)
магазин сопротивлений МТЛ
образцовая катушка или магазин сопротивлений
Проверка измерительного преобразователя
САПФИР-22ДД производится так же, как и преобразователя САПФИР-22ДИ
.6.7 Предмонтажная проверка ДИСК-250
Предмонтажная проверка прибора ДИСК-250 включает
в себя
внешний осмотр
испытание изоляции на электрическую прочность
измерение электрического сопротивления изоляции
проверка индикации о включении прибора в сеть
проверка заходов указателя
определение быстродействия
проверка допустимого числа полуколебания
определение основной погрешности
определение вариации
проверка индикации о выходе параметра за пределы
установок регулирующего и сигнализирующего устройств
проверка индикации обрыва датчика
проверка отклонения скорости вращения
диаграмного диска от номинальной.
Схема электрическая проверки ДИСК-250.
проверяемый прибор ДИСК-250
образцовая катушка сопротивлений
образцовый лабораторный потенциометр
регулировочное сопротивление
Порядок поверки основной приведенной
погрешности, плавно изменяя с помощью реостата величину тока, установить
указатель прибора на числовых отметках шкалы последовательно от начала к концу,
а затем в обратном порядке, записывая при этом в таблицу величины тока.
Действительную величину измеряемого тока
определить по падению напряжения на образцовой катушке сопротивления с помощью
образцового потенциометра класса не хуже 0,05.
Вариацию показаний прибора определяют на всех
числовых отметках шкалы как разность отсчетов при возрастающих и убывающих
значениях измеряемой величины. Определение вариации проводят одновременно с
определением основной погрешности прибора.
Величину выброса пишущего устройства проверяют
путем измерения наибольшего отклонения линии записи при скачкообразном
изменении входного сигнала, соответствующего 30,60,90% диапазона измерения как
в сторону возрастающих, так и убывающих значений входного сигнала.
Для определения времени прохождения указателем
прибора всей шкалы на образцовом приборе скачкообразно изменяют входной сигнал
от значения соответствующего начальной отметке шкалы до значения,
соответствующего конечной отметке шкалы. Секундомером измеряют время, за
которое указатель прибора достигнет начала отметки шкалы. Таким же образом
измеряют время прохождения указателем всей шкалы в направлении от конца к
началу шкалы. Время прохождения указателем всей шкалы определяют как среднее
арифметическое из четырех измерений.
.6.8 Проверка технического состояния и измерение
параметров регулирующего прибора РС29.0.12
Обобщая материал технического описания и
справочного пособия, можно составить схему и методические рекомендации для проверки
и измерения параметров регулирующего прибора РС29.0.12, у которого
измерительное и регулирующее устройства совмещены в одном модуле ИР029.
Работы по проверке технического состояния и
измерению параметров приборов включают следующие операции.
внешний осмотр
проверку сопротивления изоляции
проверку общей работоспособности прибора
проверку предельных значений диапазона изменения
задания порогов срабатывания, зоны возврата и выходных сигналов при
аналого-релейном преобразовании
проверку выходных напряжений
проверку зоны нечувствительности
проверку коэффициента передачи
проверку постоянной времени интегрирования
проверку длительности импульсов
проверку времени демпфирования
Внешний осмотр
При внешнем осмотре проверяют комплектность
регулятора по сопроводительным документам, устанавливают наличие пломб
завода-изготовителя, отсутствие внешних повреждений, соответствие приборов
(тип, исполнение и т.п.) требованиям проекта.
Проверка сопротивления изоляции.
Измерение электрического сопротивления изоляции
производится мегомметром с напряжением постоянного тока 100-200В. при
отключенных от прибора всех внешних проводок.
При проверке соединяют между собой по группам
входные и выходные контакты, а за тем определяют сопротивление изоляции между
каждой из групп контактов и корпусом прибора. Измеренное сопротивление должно
составлять не менее 100 Ом.
Проверка общей работоспособности прибора.
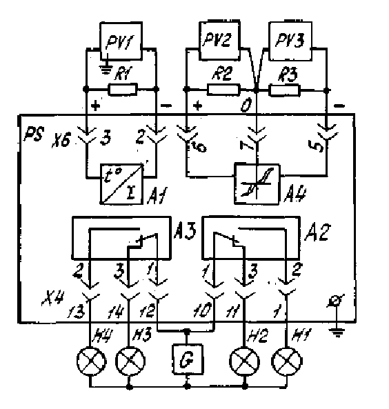
Для проверки прибора РС 29.0.12 собирают схему
согласно рисунку
Обозначения элементов схемы:,PV2,PV3-вольтметры
постоянного тока класса точности не ниже 0,1(диапазоны измерения
0...1,0...10,0...100 В)-регулируемый источник напряжения (ИН) постоянного тока,
диапазон выходного сигнала от 0 до 13 В,R2-резисторы (360 Ом),R4-резисторы (180
Ом),R6-резисторы (300 Ом)-резистор (100 Ом)-резистор (20 Ом)
С1,С2-конденсаторы (4 мкФ)
Р1,Р2-электросекундомеры (0...1,0...30
с)...S6-переключатели
В1-переключатель дифтрансформаторный (ДТП)
Исходное положение органов настройки регулятора
перед проверкой :
переключатель рода работы - (автоматическое)
оперативный задатчик - среднее
потенциометры - 100%
коэффициент передачи широкодиапазонного
задатчика К - крайнее левое
потенциометры - крайнее левое
потенциометры - крайнее правое
потенциометр - среднее
переключатель режима работы - ПИ
замыкатель множителя - 1
замыкатель знака корректора + (плюс)
Исходное состояние элементов схемы:
сигнал источника напряжения ИН равен 0
положение плунжера дифтрансформаторного
преобразователя ДТП - среднее
положение переключателей, как показано на рис.
Перед проверкой работоспособности всего прибора
целесообразно проверить баланс регулирующего устройства (РУ) модуля ИР 029.
Переводят переключатель 2 в положение 0.
Остальные элементы схемы и органы настроек должны быть в исходном положении.
Подают напряжение питания 220 В на клеммы 1,2
прибора. Если индикаторы не включаются, то начинают проверку общей
работоспособности. Если же оба, или один включен, то следует произвести
балансировку регулирующего устройства, воспользовавшись для этой цели
рекомендациями справочного пособия.
Возвращают ключ 2 в положение 1. Выключают
питание. Проверяют работу измерительной схемы прибора. Контроль сигнала
рассогласования осуществляют по индикатору и вольтметру 1, подключенному к
выходным гнездам.
Проверку целесообразно проводить по тем входам
прибора, которые предполагается использовать.
Для прибора РС 29.0.12 замыкатель знака
корректора устанавливают в положение +, корректор К - 100%, орган - в крайнее
правое положение. Изменяя сигнал от ДТП устанавливают сигнал равным -10В. При
этом индикатор должен отклонятся влево на всю шкалу и включаться индикаторы и
при исходных положениях органов настройки органам К и оперативным задатчиком
балансирует регулятор, моменту баланса соответствует выключение индикаторов,
при этом индикатор должен остановиться на отметке 0 шкалы.
Оперативный задатчик поворачивают вправо на 0,5%
относительно положения баланса, при этом должен включиться индикатор.
Оперативным задатчиком балансируют регулятор.
Орган поворачивают в крайнее правое положение. В
этом случае индикаторы должны включиться при повороте оперативного задатчика
вправо и влево приблизительно на 2,5 % относительно положения баланса.
Орган поворачивают в крайнее левое положение.
Балансируют регулятором оперативным задатчиком. Орган - на отметку 0,8 шкалы.
Переключатель режима - ПИ.
Оперативный задатчик резко поворачивают в
крайнее правое положение. Индикатор должен включиться на 1-3с, затем
выключиться и в дальнейшем включаться периодически, и длительностью примерно
0,1с, время между импульсами должно быть примерно 1,5-4с. При этом если
замыкатель множителя установить в положение 10, то время между импульсами
должно увеличиться примерно в 10 раз, если же установить на отметку 3 шкалы и
повернуть вправо орган, то длительность импульсов должна увеличиваться и при
крайнем правом положении, длительность включения индикатора должна быть
примерно 0,7-1,5с.
Переключатель рода управления - (ручное).
Измеряют напряжение на клеммах 7,13 и 9,13 при нажатии органа ручного
управления нагрузкой в сторону и соответственно.
Клемму 25 переключают (переключателем S3) к
клемме 23 прибора и органом устанавливают показания индикатора на нулевую
отметку, затем кл.25 подключают к кл.23, показания индикатора должны установится
на нулевой отметке шкалы.
Органы настройки регулятора и элементы схемы
проверки возвращают в исходное положение и балансируют регулятор.
Проверка предельных значений диапазона изменения
задания порогов срабатывания, зоны возврата и выходных сигналов при
аналого-релейном преобразовании.
К гнездам «И» ОТ регулятора подключают
вольтметр. Для проверки верхнего предельного значения порогов срабатывания
плавно создают сигнал рассогласования до момента включения индикатора и
замечают напряжение срабатывания по вольтметру. Затем изменяют сигнал
рассогласования в обратном направлении до момента погасания индикатора и
загорания индикатора. Включение индикаторов должно происходить при напряжении
по вольтметру, равном +9,7...+10,3В. При включении индикаторов и измеряют
напряжение на клеммах 27,11 и 29,11 соответственно. Оно должно быть в пределах
20...27В постоянного тока.
Для проверки нижнего предельного значения
устанавливают орган настройки в крайнее левое положение. Изменяют сигнал
до погасания индикатора и включения индикатора.
При этом по вольтметру допускается иметь напряжение в пределах -300...+300мВ.
Изменяют напряжение до момента погасания
индикатора
(возможно включение индикатора). При этом по
вольтметру фиксируют напряжение. Допускается зона возврата, равная 60<160мВ.
Переводят орган в правое положение, - в левое.
Изменяют напряжение до погасания индикатора, а затем до его включения. При этом
по вольтметру допускается напряжение
в пределах -300...+300мВ.
Изменяют напряжение до момента погасания индикатора
и фиксируют напряжение по вольтметру.
Допускается зона возврата, равная 60<160мВ.
Органы настройки регулятора и элементы схемы
проверки возвращают в исходное положение. Регулятор балансируют.
Проверка выходных напряжений.
При сбалансированном регуляторе по показаниям
вольтметров, подключаемым к клеммам 7 и 13 (выход Меньше) 9 и 13 (выход
Больше), 5 и 13 (выход 0;10В), напряжение не должно превышать 0,18 В.
Переключатель переводят в положение; переключатель в положение. При помощи
источника ИН на вход РУ подают напряжение +0,5В, при этом напряжение на выходе
Меньше должно быть +22...+26В, а на выходе 0;+10В напряжение должно быть
+9...+11В.
Затем задают напряжение -0,5В. На выходе Больше
должно быть +22...+26В, на выходе 0;10В напряжение должно быть -9...-11В.
устанавливают сигнал от ИН равным 0. Положение
переключателей остается прежним.
Проверка минимального значения зоны
нечувствительности.
Органы настройки - в крайнее левое положение. На
выходе ИН плавно изменяют напряжение положительной полярности от 0 до момента
включения индикатора со скоростью не более 2мВ/с и замечают напряжение, при
котором произошло включение индикатора.
Таким же образом действуют при отрицательной
полярности напряжения на выходе ИН. Затем суммируют отмеченные напряжения.
Переводят органы настройки и элементы схемы в исходное положение, за
исключением переключателя множителя.
Проверка коэффициента передачи.
При проверке определяют три коэффициента
передачи - максимальный, средний или промежуточный, и минимальный.
При нахождении максимального значения органы
настройки
в крайнее правое, переключатель режима работы -
ПИ,
замыкатель множителя остается в положении 1. При
помощи ИН создают напряжение +5В. Переводят в положение 1 и одновременно
включают мех. Секундомер, замечают длительность первого импульса. Аналогично
измеряют длительность первого импульса при подаче напряжения +0,2 .
Длительность первого включения на первом этапе
должна составлять 32...68с, а на втором 26...54с. При нахождении промежуточного
значения коэффициента передачи орган устанавливают в положение 4, а орган в
крайнее правое при ПИ-режиме работы, после чего соблюдают тот же порядок
работы, что и при определении максимального коэффициента передачи.
Длительность первого импульса на первом этапе
должна составлять 13...27с, а на втором 10,5...21,5с.
При нахождении минимального значения
коэффициента передачи на первом этапе подают напряжение +1,0В и переводят ключ
в положение 1, а на втором этапе подают напряжение -1,0В, и переводят ключ в
положение 1. Орган - в крайнее левое, а
в крайнее правое положение при ПИ - режиме
работы. После чего создает порядок работы тот же, что и в предыдущих случаях.
Длительность первого импульса на первом и втором
этапах должна составлять 1,4...2,6с, разность абсолютных значений импульсов на
каждом из этапов не должна превышать 0,2с.
Органы настройки и элементы схемы - в исходное
положение, в положение 0.
Проверка постоянной времени интегрирования.
Различают максимальное, промежуточное и
минимальное значения.
Проверку максимального значения производят в два
этапа. В положение 0. При помощи ИН создают напряжение +1,0В, в положение 1,
орган настройки - в крайнее правое положение при ПИ - режиме работы, а
замыкатель множителя - в положение 10.
Переключатель переводят в положение 1 и
электросекундомером фиксируют продолжительность первого импульса, в момент
возникновения интегрального импульса включают мех.секундомер, и фиксируют
время, где эточисло учтенных интегральных импульсов, - промежуток времени между
появлением первого и второго интегральных импульсов.
Для регуляторов РС29.0.12 допускается равной
(2000+720)с. С помощью ИН задают на входе РУ напряжение -1,0В, орган настройки
- в крайнее правое положение при ПИ-режиме работы, замыкатель - в положение
«1», действия такие же как на первом этапе.
Абсолютная разность измеренных значений на
втором и первом этапах не должна превышать 100с. Если это условие не
выполняется, то производят балансировку РУ модуля ИР029.
Проверку промежуточного значения производят в
такой последовательности. Напряжение по вольтметру задают равным 1,0В, в
положение 0, в положение 1, орган настройки в крайнее правое положение при ПИ -
режиме работы, замыкатель в положение, а за тем действуют как на первом этапе.
Постоянную времени интегрирования вычисляют по
уравнению
Для регуляторов РС29.0.12 допускается равной
(200+72)с.
Проверку минимального значения производят в
такой же последовательности. Напряжение задают равным +0,5В, а затем действуют
так же как при проверке промежуточного значения. Отличие заключается лишь в
том, что электросекундомером фиксируют время при соблюдении условия
Для регуляторов РС29.0.12 допускается равной
(20+7,2)с. По окончании проверки все элементы схемы, органы настройки - в
исходное положение, в положение 0.
Проверка максимального значения зоны нечувствительности
и постоянной времени демпфирования
Орган настройки - крайнее правое положение,
после чего изменяют напряжение ИН положительной полярности со скоростью не
более 20 мВ/с до момента включения индикатора «меньше». Фиксируют среднюю
скорость изменения напряжения (в положении 0).
Органы настройки устанавливают в крайнее правое
положение, напряжение на выходе ИН задают равным 1,6 от значения
зафиксированного при средней скорости изменения напряжения, и одновременно
включают мех. секундомер. фиксируют постоянную времени демпфирования как
промежуток времени, прошедшего с момента включения до момента срабатывания
регулятора.
Для регулятора РС29.0.12. допускается значение,
равное (10+3,6)с., орган настройки в исходное положение.
Задают полярность напряжения «-», после чего
изменяют сигнал со скоростью не более 20мВ/с. до момента включения индикатора
«Больше». Фиксируют среднюю скорость изменения напряжения.
Абсолютная сумма напряжений средних скоростей
изменения напряжений на первом и третьем этапах для регулятора РС29.0.12 должна
составлять 330...470мВ.
Проверка длительности импульсов.
Для проверки минимальной длительности переводят
в положение 0, задают напряжение ИН равным +0,5В, орган настройки устанавливают
в крайнее правое положение, замыкатель множителя в положение 1 при ПИ - режиме,
в положение 1. Орган - в положение 1 и электросекундомером фиксирует сумму
продолжительности не менее 10 импульсов.
Средняя продолжительность одного импульса должна
составлять не менее 0,08с.
Затем переключатель переводят в положение 1 и
электросекундомером фиксируют суммарную продолжительность не менее 10
импульсов. Средняя продолжительность одного импульса должна составлять не менее
0,08с.
Для проверки максимальной длительности импульсов
устанавливают орган настройки в крайнее левое положение, переключатель - в
положение 1. Задают напряжение ИН равным +0,5 В, орган настройки перемещают в
крайнее правое положение при ПИ - режиме работы, замыкатель множителя переводят
в положение 1, и одновременно плавно перемещают орган настройки из левого
положения в правое, после чего по электросекундомеру фиксируют длительность
трех импульсов.
Допускается максимальная средняя
продолжительность одного импульса 0,65с.
Статическая настройка регулятора.
Под статической настройкой понимают:
настройку измерительной схемы на заданное
значение регулируемого параметра
выбор требуемых диапазонов действия и цены
деления задатчика (градуировка)
выбор зоны нечувствительности.
Органы статической настройки: масштабатор,
корректор, задатчик, зоны нечувствительности.
Настройка масштабатора.
Положение ручки выбирается исходя из требуемого
значения точности поддержания регулируемой величины. Для выбора положения
органов масштабатора сменяется зависимость выходного сигнала измерительной
схемы от регулируемой величины при разных положениях ручки.
Настройка задатчика.
Для настройки задатчика к выходным клеммам
регулятора подключают имитатор, и на нем выставляют значение измеряемого
параметра. Баланс схемы устанавливают корректором. Положением ручки корректора
замечают в делениях корректора при наладке САР. При смещении движка
оперативного задатчика в крайнее положение сигнал рассогласования поступает на
микросхему и имитатором подгоняют значение так, чтобы сигнал рассогласования
исчез. Затем такую же операцию повторяют при смещении движка в другое
положение. По этим данным находят диапазон действия задатчика и, разделив его
на количество делений, узнают цену деления.
Нечувствительность ½
допускаемого
отклонения желательно выбирать минимальную зону нечувствительности, но при этом
увеличивается частота срабатывания регулятора, что в свою очередь приводит к
ускоренному износу пускового устройства с исполнительным механизмом. Кроме
этого при малой зоне нечувствительности и больших длительностях импульсов может
иметь место автоколебание (переброска), что также не допустимо. Автоколебания
могут отсутствовать, если величина зоны, выраженной в процентах, будет не более
чем 0,5.
На практике выбирают значение зоны
нечувствительности равное ½
отклонения регулируемой величины, которое можно считать допустимым по условию
эксплуатации. При этом выражается в процентах от номинального диапазона
изменения регулируемого параметра, указанного на первичном приборе или от
номинального диапазона входного сигнала.
Динамическая настройка регулятора.
Основными параметрами динамической настройки
являются: коэффициент передачи Кп, время демпфирования tд,
время интегрирования tинт,
время импульса tимп.
Настройки предварительно должны быть рассчитаны
(например, графоаналитическим методом) на основании расчета определяется:
коэффициент передачи всего регулятора,
выраженный в безразмерной форме
- время полного хода исполнительного механизма
Для уменьшения колебаний уменьшают, а затем
увеличивают длительность импульсов.
Настройку подбирают после установки основных
органов при дальнейшей наладке системы регулирования, при чем рекомендуется
выбирать максимально возможным. Не следует сильно укорачивать импульсы, это
ведет к снижению устойчивости процесса регулирования и повторному возникновению
переброски.
Время демпфирования.
Установка постоянного времени демпфирования
2...5с. исключением является случай очень малой постоянной времени
регулирования (порядка нескольких секунд). В этом случае допустимая величина
определяется экспериментально.
.6.9 Проверка выполнения монтажа схемы
автоматизации
Выбор места установки САПФИР-22ДИ
Соединительные линии от места отбора давления к
прибору должны быть положены по кратчайшему расстоянию.
Площадка, на которой устанавливается прибор,
должна быть строго горизонтальной; место установки должно обеспечивать быстрый
и удобный демонтаж.
Проверка монтажа регулирующего прибора
РС29.0.12:
проверка монтажа регулятора согласно проекту;
проверка крепления прибора на щите;
проверка электрических соединений;
проверка заземления.
проверка выполнения монтажа вторичного прибора
ДИСК-250:
проверка соответствия места монтажа вторичных
приборов на щите проектному;
проверка крепления прибора на щите;
проверка заземления;
проверка электрических соединений.
Проверка выполнения монтажа пусковой аппаратуры:
проверка соответствия места монтажа проектному;
проверка надежности крепления;
проверка электрических линий;
проверка заземления.
Проверка монтажа исполнительного механизма:
проверка электрических линий;
проверка заземления.
Выходной вал исполнительного механизма должен
быть установлен горизонтально с углом наклона не более 15;
сочленение исполнительного механизма с
регулирующим органом не должно иметь люфтов и не должно вызывать осевых усилий.
На последнем этапе наладки и монтажа системы автоматического
регулирования производится:
наладка каждого звена системы автоматического
регулирования в отдельности;
наладка разомкнутой САР;
подготовка к включению САР в работу на процессе;
сдача САР в эксплуатацию.
.6.10 Наладка регулирующих органов (РО)
РО выбирают и рассчитывают при проектировании
систем автоматического регулирования. Однако при разработке проекта не всегда
удается учесть ряд особенностей потоков вещества или элементов, изменение
которых служит управляющим воздействием на объект, что приводит к появлению
существенной нелинейности статической характеристики САР.
Нелинейность РО при линейном объекте
регулирования, даже при правильно выбранных настройках регулятора, существенно
ухудшает качество автоматического регулирования, в связи с этим наладку САР
начинают с ревизии и чтения статических характеристик РО.
Статическую характеристику РО определяют при
прямом и обратном ходе 2-3 раза при наиболее вероятных по технологии режимах.
При экспериментальном определении статической
характеристики РО весь диапазон перемещения разбивают на 6-10 участков и
устанавливают соответствие шкалы в случае наличия нелинейности, участок
диапазона перемещения РО, который соответствует нелинейному участку
характеристики, его, разбивают дополнительно на ряд более мелких отрезков. Если
в начальной зоне имеются нелинейности типа нечувствительность, а в конечной
зоне типа насыщение, и каждая из этих зон не превышает 5% от полного хода, то
рабочий диапазон по перемещению ограничивают линейной частью расходной характеристики,
т.е. они от 5 до 95%. Перемещение РО, связанное с электрическим исполнительным
механизмом ограничивается при помощи конечных выключателей. Если нелинейность
типа насыщение в конце диапазона перемещения регулирующей заслонки или шибера
составляет более 5%, то выбирают такое соотношение рычагов, устанавливаемое на
выходных валах РО и исполнительного механизма, при котором перемещение РО
ограничено линейной частью характеристики при полном ходе ИМ.
Если линейная часть расходной характеристики
находится между 0-25%, то целесообразно заменить РО с другим меньшим сечением.
В этом случае требуемого перемещения РО при полном ходе ИМ можно добиться
подбором определенных соотношений.
Если расходная характеристика, профилируемая РО
не удовлетворяет предъявляемым требованиям, то РО заменяют, предварительно
пересчитав характеристику.
При экспериментальном определении характеристики
РО дроссельного типа, необходимо убедиться в том, что постоянный поток
жидкости, положение РО - закрыт, не превышает 5-10% номинального расхода, при
40-60% раскрытом РО, обеспечит поток соответственно полной нагрузке объекта.
.6.11 Наладка сочленения исполнительного
механизма с регулирующим органом
Основные требования к электрическим ИМ:
момент на выходном валу должен обеспечить
перемещение РО без перегрева двигателя;
время перемещения выходного вала ИМ от положения
закрыто до положения открыто (постоянная времени ИМ) должно обеспечивать
необходимые качества процесса регулирования при максимально возможной скорости
изменения регулируемого параметра;
выбег ИМ должен быть незначителен (2% макс.
хода).
ИМ выбирают в зависимости от величины усилия,
необходимого для перемещения РО.
Определение момента необходимого для вращения
поворотных заслонок:
М=К(Мр+Мт) Н/м(кгс.м)
где Мр - момент реактивный, обусловленный
стремлением закрыть заслонку.
Мт - момент трения в опорах.
К - коэффициент, учитывающий затяжку сальников и
загрязнений трубопровода, К=2-3
Мр=0,07 Рро*Dy
Н/м(кгс*м)
при расчете Рро=Р
Рро - перепад давлений на заслонке ,Па (кгс.м).
Dy - диаметр
заслонки , м.
Нт=0,785 Dy*Р
Н/м(кгс*м)
Гдеρ
- радиус шейки вала заслонки, м.
γ - коэффициент
трения в опоре (=0,15)
На валах исполнительного механизма и РО
устанавливают рычаги, длины которых предварительно рассчитываются. В этих
рычагах до их установки для удобства наладки высверливают ряд отверстий.
Соединение ИМ с РО следует выполнять таким образом, чтобы при повороте штурвала
ручной перестановки ИМ против часовой стрелки РО перемещался в сторону
открытия, а по часовой - в сторону закрытия.
Соединив ИМ с РО проверяют наличие люфтов в
соединении. Обнаружив наличие люфтов, их устраняют (например заменой пальцев в
местах соединений).
При наладке ИМ с РО проверяют работу
дистанционного управления.
.6.12 Наладка дистанционного указателя положения
и ИМ
Установить ИМ в крайнее положение
соответствующее закрытому состоянию РО. Настроить один соответствующий конечный
выключатель и установить стрелку указателя положения против отметки 0 при
помощи переменного сопротивления нулевой настройки.
Установить в другое крайнее положение ИМ
обеспечивающий открытое состояние РО. Настроить второй конечный выключатель и
установить стрелку указателя положения на отметку 100% с помощью другого
настроечного резистора. Все наладочные работы до пуска системы на процесс должны
проводиться при расчлененных ИМ и РО.
.6.13 Наладка первичного датчика
К выходным клеммам измерительного
преобразователя САПФИР-22ДИ подключается вторичный прибор с токовым входом
(например ДИСК-250). При наладке необходимо проверить 0. Для этого закрывают
подводящие вентили и открывают уравнительный вентиль. Убедиться, что вторичный
прибор показывает 0. Если стрелка вторичного прибора не совпадает с 0 , то
первичный датчик отстраивается с помощью переменного резистора.
После наладки первичного датчика на вход
регулирующего прибора нужно подать сигнал пропорциональный заданному значению
регулируемого параметра. Для этого нужно отсоединить первичный датчик от
объекта, минусовую камеру соединить с атмосферой, а в плюсовую подавать
давление воздуха, предварительно подсчитав перепад давления.
.6.14 Наладка регулирующего прибора
Наладка заключается в балансировке регулирующего
прибора. Балансировка производится следующим образом:
переключатели выбора рода работы должен стоять в
положении ручное и во время балансировки обратная связь должна быть отключена -
в положении 0), переключатель положения должен быть в положении
трехпозиционное, балансировка РС29.0.12 производится прибором сигнала задатчик.
2.6.15 Наладка разомкнутой системы
Наладка разомкнутой системы заключается в том,
чтобы согласовать направление работы ИМ в соответствии со знаком сигнала
рассогласования, возникшего в результате отклонения сигнала пропорционального
сигнала регулируемому параметру и еще согласовать направление работы ИМ со знаком
сигнала рассогласования, возникшего в результате изменения задания.
Наладка выполняется в следующем порядке:
управляя ИМ дистанционно устанавливают его в среднее положение и переводят
переключатель выбора рода работ в положение автомат. Имитируют отклонение
регулируемого параметра в сторону больше (изменяя давление в плюсовой камере
САПФИРа-22) при этом ИМ должен работать в сторону меньше. Далее аналогично при
имитации отклонения регулируемого параметра в сторону меньше, ИМ должен
работать в сторону больше. Если направление работы ИМ не соответствует
указанному, то необходимо поменять провода на выходных клеммах регулирующего
устройства.
Имитировать изменение задания в сторону больше,
при этом регулятор должен работать также в сторону больше. При имитации изменения
задания в сторону меньше регулятор должен также работать в сторону меньше. При
невыполнении этих условий необходимо поменять местами провода, идущие от
задатчика к регулирующему устройству. После всего этого первичный датчик
подключить к объекту, и наблюдают некоторое время за работой разомкнутой САР.
.6.16 Подготовка и включение САР в работу на
процесс
Управляя дистанционно ИМ, одновременно наблюдая
за показаниями вторичного прибора, регулируют технологический параметр до
заданного значения и переключают переключатель выбора рода работы в положение
автомат. Убедившись, что система работает устойчиво, время интегрирования
устанавливают в соответствии с расчетом и проверяют качество процесса
регулирования. Для чего к объекту регулирования прикладывают возмущение при
условии стабилизации всех остальных параметров.
В связи с тем, что динамические характеристики
объекта изменяются во времени, необходима корректировка параметров настройки
регулятора. Корректировку параметров настройки необходимо осуществлять его по
принципу последовательного приближения - малыми изменениями параметров
настройки и строго по заранее разработанному графику.
Каждое изменение параметров настройки регулятора
должно сопровождаться поверкой полученных показателей качества процесса
регулирования.
Корректировку параметров настройки приходится
всегда осуществлять при изменении режимов работы агрегатов, так как при
переходе на другой режим или при изменении сырья изменяются статические и
динамические свойства объекта.
.6.17 Сдача САР в эксплуатацию
После окончания всех наладочный работ САР
включают в опытную эксплуатацию. В процессе опытной эксплуатации все устройства
и системы в целом должны работать без неполадок не менее чем трое суток. После
этого система считается принятой в постоянную промышленную эксплуатацию, о чем
составляется акт.
2.7 Заказная спецификация на приборы и
оборудование
|
Позиция
по схеме
|
Техническая
хар-ка основного и комплектующего оборудования приборов, арматуры, кабельных
и других изделий
|
Марка
оборудования
|
Изготовитель
|
|
1
|
2
|
3
|
4
|
|
1-1
|
Преобразователь
измерительный разности давлений. Верхний предел измерения 2,5МПа. Питание
36В, выходной сигнал 0-5 мА
|
Сапфир22ДИ
2150-А-01-УХЛ-3,1-0,25/2,5МПа-0,5-В-К-1/2 ТУ 25-2472-0049
|
Завод
Манометр г. Москва
|
|
1-2
|
Диафрагма
камерная, Dy-200мм, Py-10МПа.
Способ отбора у плоскостей диска через кольцевые камеры.
|
ДКС
10-200-А/Г-1 ГОСТ 26-969-86
|
Рязань
ПО Теплоприбор
|
|
1-3
|
Преобразователь
измерительный разности давлений. Верхний предел измерения 2,5МПа. Питание
36В, выходной сигнал 0-5 мА
|
Сапфир22ДД
2450-А-01-УХЛ-3,1-0,25/2,5МПа-0,5-В-К-1/2 ТУ 25-2472-0049
|
Завод
Манометр г. Москва
|
|
1-4
|
Блок
извлечения корня. Выходной сигнал 0-5мА. Напряжение питания 220В. Частота
50Гц.
|
БИК-1
ТУ 25-02720132-86
|
Ивано-Франковске
ПО Геофизприбор
|
|
1-5
|
Прибор
регистрирующий. Напряжение питания 220В. Частота 50Гц, Р-25В/А, Шкала 0-2,5.
|
Диск-250-2121
ТУ 25-0521.104-85
|
Челябинское
ПО Электроприбор
|
|
1-6
|
Прибор
регистрирующий. Напряжение питания 220В. Частота 50Гц, Р-25В/А, Шкала 0-15.
|
Диск-250-2121
ТУ 25-0521.104-85
|
Челябинское
ПО Электроприбор
|
|
1-7
|
Прибор
регулирующий. Выходной сигнал 24В. Напряжение питания 220В. Частота 50Гц.
|
РС29.0.12
ГОСТ 05138-85
|
МЗТА
|
|
1-8
|
Усилитель
мощности. Выходной сигнал 220В. Напряжение питания 220В. Частота 50Гц.
|
У29.3
ТУ25-02.05138-85
|
МЗТА
|
|
1-9
|
Механизм
исполнительный однооборотный, номинальный крутящий момент 40кгс/м,
номинальный ход выходного органа 0,25 оборота за 25с, Напряжение питания
220В. Частота 50Гц.
|
МЭО
40/25-0,25 ТУ25-02120123-81
|
Чебоксарское
ПО Электроприбор
|
|
1-10
|
Клапан
регулирующий
|
КРП-100
ТУ25-091207-78
|
|
|
2-1
|
Диафрагма
камерная, Dy-100мм, Py-10МПа.
Способ отбора у плоскостей диска через кольцевые камеры.
|
ДКС
10-100-А/Г-1 ГОСТ 26-969-86
|
Рязань
ПО Теплоприбор
|
|
2-2
|
Преобразователь
измерительный разности давлений. Верхний предел измерения 2,5МПа. Питание
36В, выходной сигнал 0-5 мА
|
Сапфир22ДД
2450-А-01-УХЛ-3,1-0,25/2,5МПа-0,5-В-К-1/2 ТУ 25-2472-0049
|
Завод
Манометр г. Москва
|
|
2-3
|
Блок
извлечения корня. Выходной сигнал 0-5мА. Напряжение питания 220В. Частота
50Гц.
|
БИК-1
ТУ 25-02720132-86
|
Ивано-франковское
ПО Геофиз-прибор
|
|
2-4
|
Преобразователь
измерительный разности давлений. Верхний предел измерения 2,5МПа. Питание
36В, выходной сигнал 0-5 мА
|
Сапфир22ДИ
2150-А-01-УХЛ-3,1-0,25/2,5Па-0,5-В-К-1/2 ТУ 25-2472-0049
|
Завод
Манометр г. Москва
|
|
2-5
|
Прибор
регистрирующий. Напряжение питания 220В. Частота 50Гц, Р-25В/А, Шкала 0-25.
|
Диск-250-2121
ТУ 25-0521.104-85
|
Челябинское
ПО Электроприбор
|
|
2-6
|
Прибор
регистрирующий. Напряжение питания 220В. Частота 50Гц, Р-25В/А, Шкала от -100
до +100.
|
Диск-250-2121
ТУ 25-0521.104-85
|
Челябинское
ПО Электроприбор
|
|
2-7
|
Прибор
регулирующий. Выходной сигнал 24В. Напряжение питания 220В. Частота 50Гц.
|
РС29.0.12
ГОСТ 05138-85
|
МЗТА
|
|
2-8
|
Усилитель
мощности. Выходной сигнал 220В. Напряжение питания 220В. Частота 50Гц.
|
У29.3
ТУ25-02.05138-85
|
МЗТА
|
|
2-9
|
Механизм
исполнительный однооборотный, номинальный крутящий момент 40кгс/м,
номинальный ход выходного органа 0,25 оборота за 25с, Напряжение питания
220В. Частота 50Гц.
|
МЭО
40/25-0,25 ТУ25-02120123-81
|
Чебоксарское
ПО Электроприбор
|
|
2-10
|
Клапан
регулирующий
|
КРП-100
ТУ25-091207-78
|
|
|
3-1
|
Диафрагма
камерная, Dy-400мм, Py-0,6МПа.
Способ отбора у плоскостей диска через кольцевые камеры.
|
ДКС
0,6-400-А/Г-1 ГОСТ 26-969-86
|
Рязань
ПО Теплоприбор
|
|
3-2
|
Диафрагма
камерная, Dy-100мм, Py-0,6МПа.
Способ отбора у плоскостей диска через кольцевые камеры.
|
ДКС
0,6-100-А/Г-1 ГОСТ 26-969-86
|
|
3-3;
3-4
|
Преобразователь
измерительный разности давлений. Верхний предел измерения 2,5КПа. Питание
36В, выходной сигнал 0-5 мА
|
Сапфир22ДД
2420-А-01-УХЛ-3,1-0,25/2,5КПа-0,5-В-К-1/2 ТУ 25-2472-0049
|
Завод
Манометр г. Москва
|
|
3-5;
3-6
|
Блок
извлечения корня. Выходной сигнал 0-5мА. Напряжение питания 220В. Частота
50Гц.
|
БИК-1
ТУ 25-02720132-86
|
Ивано-Франковске
ПО Геофизприбор
|
|
3-7
|
Прибор
регулирующий. Выходной сигнал 24В. Напряжение питания 220В. Частота 50Гц.
|
РС29.0.12
ГОСТ 05138-85
|
МЗТА
|
|
3-8
|
Прибор
регистрирующий. Напряжение питания 220В. Частота 50Гц, Р-25В/А, Шкала 0-400.
|
Диск-250-2121
ТУ 25-0521.104-85
|
Челябинское
ПО Электроприбор
|
|
3-9
|
Прибор
регистрирующий. Напряжение питания 220В. Частота 50Гц, Р-25В/А, Шкала 0-4000.
|
Диск-250-2121
ТУ 25-0521.104-85
|
Челябинское
ПО Электроприбор
|
|
3-10
|
Прибор
регистрирующий. Напряжение питания 220В. Частота 50Гц, Р-25В/А, Шкала 0-2,5.
|
Диск-250-2121
ТУ 25-0521.104-85
|
Челябинское
ПО Электроприбор
|
|
3-11
|
Механизм
исполнительный однооборотный, номинальный крутящий момент 40кгс/м,
номинальный ход выходного органа 0,25 оборота за 25с, Напряжение питания
220В. Частота 50Гц.
|
МЭО
40/25-0,25 ТУ25-02120123-81
|
Чебоксарское
ПО Электроприбор
|
|
3-12
|
Газоанализатор
|
Альфа
|
СГМТ
|
|
3-13
|
Усилитель
мощности. Выходной сигнал 220В. Напряжение питания 220В. Частота 50Гц.
|
У29.3
ТУ25-02.05138-85
|
МЗТА
|
|
3-14
|
Прибор
регулирующий. Выходной сигнал 24В. Напряжение питания 220В. Частота 50Гц.
|
РС29.0.42
ГОСТ 05138-85
|
МЗТА
|
|
4-1
|
Преобразователь
измерительный разности давлений. Верхний предел измерения 0,125КПа. Питание
36В, выходной сигнал 0-5 мА.
|
Сапфир22ДИВ
2310-А-01-УХЛ-3,1-0,25/0,125КПа-0,5-В-К-1/2 ТУ 25-2472-0049
|
Завод
Манометр г. Москва
|
|
4-2
|
Прибор
регулирующий. Выходной сигнал 24В. Напряжение питания 220В. Частота 50Гц.
|
РС29.0.12
ГОСТ 05138-85
|
МЗТА
|
|
4-3
|
Прибор
регистрирующий. Напряжение питания 220В. Частота 50Гц, Р-25В/А, Шкала 0-0,1.
|
Диск-250-2121
ТУ 25-0521.104-85
|
Челябинское
ПО Электроприбор
|
|
4-4
|
Усилитель
мощности. Выходной сигнал 220В. Напряжение питания 220В. Частота 50Гц.
|
У29.3
ТУ25-02.05138-85
|
МЗТА
|
|
4-5
|
Механизм
исполнительный однооборотный, номинальный крутящий момент 40кгс/м,
номинальный ход выходного органа 0,25 оборота за 25с, Напряжение питания
220В. Частота 50Гц.
|
МЭО
40/25-0,25 ТУ25-02120123-81
|
Чебоксарское
ПО Электроприбор
|
|
5-1;
5-2
|
Манометр
предел измерения 0-1МПа, класс точности 0,5.
|
МТП-4
|
Казанское
ПО Теплоконтроль
|
|
5-3
|
Манометр
предел измерения 0-14МПа, класс точности 0,5.
|
МТП-4
|
Казанское
ПО Теплоконтроль
|
|
6-1;
6-2; 6-3
|
Термометр
термоэлектрический
|
ТХА-0179
|
Луцкий
при-боростроительный завод
|
|
6-4
|
Прибор
регистрирующий. Напряжение питания 220В. Частота 50Гц, Р-25В/А, Шкала 0-300.
|
КСП2-023
ТУ25-0510.001-82
|
Чебоксарское
ПО Электроприбор
|
|
7-1;
7-2; 7-3
|
Датчик-реле
давления
|
ДД
|
г.
Улан-Удэ Теплоприбор
|
|
7-4
|
Прибор
контроля пламени
|
ф.34.2
ТУ25-02050214-82
|
|
|
7-5
|
Устройство
защитно-запальное
|
ЗЗУ-1
ТУ25-010208-82
|
|
|
7-6
|
Термометр
термоэлектрический
|
ТХА-0179
|
Луцкий
приборостроительный завод
|
|
7-7
|
Прибор
регистрирующий. Напряжение питания 220В. Частота 50Гц, Р-25В/А, Шкала 0-900.
|
Диск-250-2121
ТУ 25-0521.104-85
|
Челябинское
ПО Электроприбор
|
|
7-8;
7-9
|
Сигнализатор
уровня
|
ЭРСУ-3
|
Рязань
ПО Теплоприбор
|
|
7-10
|
Соленоид
|
ЭД-07101
|
«УПП»
г. Харьков
|
|
7-11
|
Клапан
отсечной
|
ПКН-100
ТУ25-1718-86
|
|
|
7-12
|
Датчик-реле
давления
|
ДД
|
г.
Улан-Удэ Теплоприбор
|
|
Блок
питания. Выходной сигнал 36В. Напряжение питания 220В. Частота 50Гц.
|
22БП-36
|
|
|
HL1-HL9
|
Арматура
сигнальная
|
АС-220
ТУ16-535452-70
|
|
|
HL10
|
Сирена
сигнальная
|
СС-1
ТУ16-535426-70
|
|
|
SB1; SB2
|
Кнопка
управления
|
КЕ-011
ТУ16-526407-79
|
|
.8 Спецификация на монтажные изделия и материалы
Таблица 2.4
|
№
|
Наименование
и тех. Характеристика
|
ед.изм
|
потребность
|
|
1
|
Маркировочная
бирка БМН6-0 ТУ36.1117-75
|
шт.
|
100
|
|
2
|
Рамка
для надписей
|
шт.
|
40
|
|
3
|
Скобы
СО-8 ТУ36.1086-76
|
шт.
|
50
|
|
4
|
Скобы
СО-16 ТУ36.1086-76
|
шт.
|
20
|
|
5
|
Щит
ЩПК-600 Х 2200
|
шт.
|
5
|
|
6
|
Оконцеватели
маркировочные ОКМ ТУ36.1100-74
|
шт.
|
45
|
|
7
|
Коробка
протяжная КП160 Х 120
|
шт.
|
20
|
|
8
|
Блок
зажимов БЗ-10 ТУ36-1750-74
|
шт.
|
10
|
|
9
|
Уголок
перфорированный УП35 Х 35 ТУ36.1113-75
|
м
|
10
|
|
10
|
Щиток
электропитания ЭЩП-2 ТУ36.1270-73
|
шт.
|
1
|
|
11
|
Розетка
штепсельная РШ-Ц-2-0
|
шт.
|
2
|
Надписи на табло и в рамках
Таблица 2.1.
|
Номер
надп.
|
Текст
надписи в рамке
|
кол
|
|
Номер
надп.
|
Текст
надписи в рамке
|
кол
|
|
Табло
ТСМ
|
|
|
13
|
Вода
|
|
|
1
|
1-ый
предел
|
|
|
14
|
Уровень
|
|
|
2
|
Давление
газа
|
|
|
15
|
Питание
котла
|
|
|
3
|
Давление
воздуха
|
|
|
16
|
Газ
|
|
|
4
|
Разрежение
в газоходе
|
|
|
17
|
Воздух
|
|
|
5
|
Факел
|
|
|
18
|
Газ-воздух
|
|
|
6
|
Температура
пара
|
|
|
19
|
Концентрация
О
|
|
|
7
|
Упуск
воды
|
|
|
20
|
Разрежение
в топке
|
|
|
8
|
Второй
предел
|
|
|
21
|
Концентрация
О
|
|
|
9
|
Давление
пара
|
|
|
22
|
Разрежение
в топке
|
|
|
Рамка
66Х26
|
|
|
23
|
Температура
|
|
|
10
|
Давление
в барабане
|
|
|
24
|
Температура
пара
|
|
|
11
|
Пар
|
|
|
25
|
Проверка
сигнализации
|
|
|
12
|
Тепловая
нагрузка
|
|
|
26
|
Снятие
пара
|
|
3. ИССЛЕДОВАТЕЛЬСКАЯ ЧАСТЬ
.1 Объект исследования
Автоматические системы регулирования топлива
предназначены для обеспечения потребителя требуемым количеством пара заданного
качества (давления). Нарушение теплового баланса котла происходит за счет
внутренних и внешних возмущений. К внутренним относятся возмущения, связанные с
самопроизвольными изменениями характеристик топлива (теплоты сгорания) и его
расхода, связанных с колебаниями давления газа, изменением характеристик
регулирующей трубопроводной арматуры (гистерезис, «залипание» штока
регулирующего клапана, люфты). К внешним возмущениям относятся возмущения,
связанные с количеством потребляемого пара. В этом случае
паропроизводительность котла не будет соответствовать количеству потребляемого
пара. Показателем этого несоответствия является изменение давления пара в
какой-либо точке парового тракта. Таким образом, САР (система автоматического
регулирования) топлива должна выполнять две функции: компенсировать внутренние
и внешние возмущения с помощью одного управляющего воздействия - расхода
топлива.
САР должна обеспечить:
устойчивую работу системы (отсутствие
автоколебаний) и ограниченную частоту включения регулирующего органа, которая
при постоянной нагрузке не должна превышать шести включений в минуту;
поддержание в базовом режиме работы котла
давления пара с отклонением не более ±3% заданного.
3.2 Расчет чувствительности системы управления
подачи пара
Входные параметры: давление в трубопроводе р,
характеристика открытия заслонки а.- количество пара,
р - давление в трубопроводе,
а - откр. заслонки,- эффективность системы.
Q = p + a.(2.1)
Чувствительность системы определяется по
соотношению:
(2.2)
Начальные параметры равны: рн = 0.8; ан = 0.5;
Qн = 1.2; Wн = 0.71
Коэффициенты чувствительности составляют: а11=1;
а12=1
Находим абсолютные коэффициенты
чувствительности:
Значения аij и bij для всех выходных
параметров составляют матрицы чувствительности:
Находим относительные коэффициенты
чувствительности:
Матрица чувствительности равна:
.03 < 0.66 X ΔWmax;
ΔWmax= 0,66 Δzmax
ΔWmax< 3% =0,03
0.03< 0,66 =ΔWmax
Таким образом, чтобы
чувствительность системы W была < 3% , нужен датчик с точностью не более
4,5% .
3.3 Расчет системы автоматического регулирования
температуры
Структурная схема котла как объекта управления
имеет следующий вид (рис.2.1).
Рис. 2.1
Объект регулирования имеет следующие параметры:
Коб = 1,2˚С/с; T1 = 8с; Т2 = 11с.
Объект регулирования можно описать следующим
дифференциальным уравнением:
(2.3)
Подставив в это выражение известные
нам Т1, Т2 и Ko6, получим уравнение следующего вида:
(2.4)
Решая это квадратное уравнение,
получим:
р1 = -0.0909; р2 = -0.125. Далее
находим Xвых(t):
Проверка:
Далее на основании полученного
уравнения строим график зависимости Xвых(t) таблица 2.1 и рисунок 2.2
Таблица 2.1
|
Т
|
|
|
1
|
0,012
|
|
2
|
0,084
|
|
3
|
0,145
|
|
4
|
0,276
|
|
5
|
0,389
|
|
10
|
0,567
|
|
15
|
0,765
|
|
20
|
0,812
|
Далее определяем настройки регулятора с помощью
кривой разгона:
Рис.2.2
Проводим касательную к графику
функции и находим точку пересечения с линией 1.
Из графика находим
= 1,2; Т2 =
9,9. Описываем объект как апериодическое звено первого порядка и соединенное с
ним звено чистого запаздывания:
Далее рассчитываем настройки ПИ регулятора:

;`(2.7)
Передаточная функция замкнутой системы
(возмущение по нагрузке):
Дальнейший расчёт производится с
использованием амплитудно-фазовых характеристик. Для этого надо построить
амплитудно-фазовую характеристику замкнутой системы:
(2.8)часть:
Im часть:
Расчёт данных для построения годографа замкнутой
системы (критерий Михайлова)
Таблица 2.2
|
Re
|
Im
|
|
|
0.00000
|
11.73000
|
0.00000
|
|
1.00000
|
218.04258
|
145.53326
|
|
2.00000
|
306.86261
|
-197.32447
|
|
3.00000
|
-295.59782
|
-396.39833
|
|
4.00000
|
-887.76368
|
357.83268
|
|
5.00000
|
-302.30067
|
1422.83946
|
|
6.00000
|
1079.58738
|
1227.79263
|
|
7.00000
|
1348.27711
|
|
8.00000
|
-311.08265
|
-1219.90947
|
|
9.00000
|
-1977.22042
|
229.28306
|
|
10.00000
|
-1194.37690
|
2584.27908
|
Рис. 2.3
Для построения переходного процесса необходимо
построить график действительной частотной характеристики, на основании которого
находится трапецеидальная форма характеристики (рис. 2.4).
Рис. 2.4
Таблица 2.3
|
ω
|
Re
|
|
0.00000
|
0.69264
|
|
1.00000
|
3.25847
|
|
2.00000
|
3.27032
|
|
3.00000
|
3.27253
|
|
4.00000
|
3.27330
|
|
5.00000
|
3.27366
|
|
6.00000
|
3.27386
|
|
7.00000
|
3.27398
|
|
8.00000
|
3.27405
|
|
9.00000
|
3.27410
|
|
10.00000
|
3.27414
|
Затем определяем высоты трапеций:
1-я трапеция:
-я трапеция:
-я трапеция:
Таблица 2.4
|
Параметры
трапеций
|
Номера
трапеций
|
|
|
1
|
2
|
3
|
|
-0.1780.25-0.072
|
|
|
|
|
00.661.1
|
|
|
|
|
0.430.925
|
|
|
|
|
00.7170.22
|
|
|
|
Для построения переходных процессов
трапецеидальных характеристик составляется таблица данных на основании таблицы
h - функций
Таблица 2.5
|
τ
|
h1
|
h2
|
|
0.00000
|
0.00000
|
-0.50069
|
|
1.00000
|
4.51938
|
8.86483
|
|
2.00000
|
-27.84986
|
14.11156
|
|
3.00000
|
-81.22874
|
-12.24610
|
|
4.00000
|
9.87518
|
-39.53562
|
|
5.00000
|
236.24507
|
-14.79124
|
|
6.00000
|
221.57842
|
46.53552
|
|
7.00000
|
-245.92473
|
59.74299
|
|
8.00000
|
-625.29284
|
-12.82199
|
|
9.00000
|
-164.66158
|
-87.20709
|
|
10.00000
|
830.04969
|
-53.96457
|
Далее строим таблицу экспериментально найденных
значений для строения общего переходного процесса:
Таблица 2.6
|
t
|
y(t)
|
e(t)
|
u(t)
|
|
0
|
0.00000
|
1.00000
|
324.84848
|
|
1
|
0.00000
|
1.00000
|
0.69264
|
|
2
|
3.07485
|
-2.07485
|
6.36296
|
|
3
|
-7.05514
|
8.05514
|
-38.97197
|
|
4
|
27.68405
|
-26.68405
|
205.38669
|
|
5
|
21.44396
|
-20.44396
|
171.37380
|
|
6
|
-69.09764
|
70.09764
|
-770.41106
|
|
7
|
247.33395
|
-246.33395
|
3335.80335
|
|
8
|
-911.77282
|
912.77282
|
-14159.69883
|
|
9
|
-525.88635
|
526.88635
|
-10422.99688
|
|
10
|
1916.47259
|
-1915.47259
|
42442.70019
|
Вывод. Система автоматического управления
устойчива, так как годограф Михайлова начинается на вещественной положительной
полуоси обходит только против часовой стрелки последовательно 4 квадранта
координатной плоскости.
Все параметры переходного процесса находятся в
заданных пределах, выбор и расчет настроек регулятора проведены правильно.
4. ЭКОНОМИЧЕСКАЯ ЧАСТЬ
.1 Смета стоимости средств автоматизации
|
Наименование
и характеристика оборудования и монтажных работ.
|
Единица
измерения
|
Кол-во
|
Масса
|
|
1
|
2
|
3
|
4
|
|
Диафрагма
ДКС
|
шт.
|
4
|
|
|
Преобразователь
САПФИР-22
|
шт.
|
7
|
|
|
Блок
БИК-1
|
шт.
|
4
|
|
|
Прибор
регулирующий РС29
|
шт.
|
5
|
|
|
Прибор
регистрирующий ДИСК-250
|
шт.
|
9
|
|
|
Усилитель
мощности У29.3
|
шт.
|
5
|
|
|
Механизм
МЭО
|
шт.
|
5
|
|
|
Прибор
регистрирующий КСП2
|
шт.
|
1
|
|
|
Термометр
ТХА
|
шт.
|
4
|
|
|
Блок
питания 22БП-36
|
шт.
|
1
|
|
|
Прибор
контроля пламени Ф.34
|
шт.
|
1
|
|
|
Клапан
КРП
|
шт.
|
3
|
|
|
Устройство
ЗЗУ-1
|
шт.
|
1
|
|
|
Кнопка
управления КЕ 011
|
шт.
|
2
|
|
|
Манометр
МТП-4
|
шт.
|
3
|
|
|
Арматура
сигнальная АС-220
|
шт.
|
3
|
|
|
Сирена
сигнальная СС1
|
шт.
|
1
|
|
|
Датчик
давления ДД
|
шт.
|
3
|
|
Общая стоимость оборудования и монтажных работ с
учетом транспортно-заготовительных (4%), заготовительно-складских (2%),расходов
и расходов на запчасти(1%).
|
Единицы
измерения
|
Код
оборудования, материалов
|
Цена
единицы тыс.руб
|
Потребность
по проекту
|
Наличие
на складе
|
Заявочная
потребность
|
Стоимость
всего, тыс.руб
|
|
5
|
6
|
7
|
8
|
10
|
11
|
12
|
|
шт.
|
|
700
|
1
|
1
|
1
|
700
|
|
шт.
|
|
180
|
1
|
1
|
1
|
180
|
|
шт.
|
|
700
|
1
|
1
|
1
|
700
|
|
шт.
|
|
600
|
1
|
1
|
1
|
600
|
|
шт.
|
|
1800
|
1
|
1
|
1
|
1800
|
|
шт.
|
|
1800
|
1
|
1
|
1
|
1800
|
|
шт.
|
|
2200
|
1
|
1
|
1
|
2200
|
|
шт.
|
|
570
|
1
|
1
|
1
|
750
|
|
шт.
|
|
1050
|
1
|
1
|
1
|
1050
|
|
шт.
|
|
260
|
1
|
1
|
1
|
260
|
|
шт.
|
|
180
|
1
|
1
|
1
|
180
|
|
шт.
|
|
700
|
1
|
1
|
1
|
700
|
|
шт.
|
|
600
|
1
|
1
|
1
|
600
|
|
шт.
|
|
700
|
1
|
1
|
1
|
700
|
|
шт.
|
|
1800
|
1
|
1
|
1
|
1800
|
|
шт.
|
|
1800
|
1
|
1
|
1
|
1800
|
|
шт.
|
|
2200
|
1
|
1
|
1
|
2200
|
|
шт.
|
|
570
|
1
|
1
|
1
|
570
|
|
шт.
|
|
1050
|
1
|
1
|
1
|
1050
|
|
шт.
|
|
260
|
1
|
1
|
1
|
260
|
|
шт.
|
|
180
|
1
|
1
|
1
|
180
|
|
180
|
1
|
1
|
1
|
180
|
|
шт.
|
|
700
|
2
|
2
|
2
|
1400
|
|
шт.
|
|
600
|
2
|
2
|
2
|
1200
|
|
шт.
|
|
2200
|
1
|
1
|
1
|
2200
|
|
шт.
|
|
1800
|
1
|
1
|
1
|
1800
|
|
шт.
|
|
1800
|
1
|
1
|
1
|
1800
|
|
шт.
|
|
1800
|
1
|
1
|
1
|
1800
|
|
шт.
|
|
1050
|
1
|
1
|
1
|
1050
|
|
шт.
|
|
|
1
|
1
|
1
|
|
|
шт.
|
|
570
|
1
|
1
|
1
|
570
|
|
шт.
|
|
2200
|
1
|
1
|
1
|
2200
|
|
шт.
|
|
700
|
1
|
1
|
1
|
700
|
|
шт.
|
|
2200
|
1
|
1
|
1
|
2200
|
|
шт.
|
|
1800
|
1
|
1
|
1
|
1800
|
|
шт.
|
|
570
|
1
|
1
|
1
|
570
|
|
шт.
|
|
1050
|
1
|
1
|
1
|
1050
|
|
шт.
|
|
80
|
2
|
2
|
2
|
160
|
|
шт.
|
|
80
|
1
|
1
|
1
|
80
|
|
шт.
|
|
70
|
3
|
3
|
3
|
210
|
|
шт.
|
|
2200
|
1
|
1
|
1
|
2200
|
|
шт.
|
|
50
|
3
|
3
|
3
|
150
|
|
шт.
|
|
250
|
1
|
1
|
1
|
250
|
|
шт.
|
|
700
|
1
|
1
|
1
|
700
|
|
шт.
|
|
70
|
1
|
1
|
1
|
70
|
|
шт.
|
|
1800
|
1
|
1
|
1
|
1800
|
|
шт.
|
|
|
2
|
2
|
2
|
|
|
шт.
|
|
|
1
|
1
|
1
|
|
|
шт.
|
|
260
|
1
|
1
|
1
|
260
|
|
шт.
|
|
50
|
1
|
1
|
1
|
50
|
|
шт.
|
|
100
|
1
|
1
|
1
|
100
|
|
шт.
|
|
20
|
9
|
9
|
9
|
180
|
|
шт.
|
|
10
|
1
|
1
|
1
|
10
|
|
шт.
|
|
5
|
2
|
2
|
2
|
10
|
Таблица 4.2.
|
Сметная
стоимость, тыс. руб.
|
|
Единицы
|
Общая
|
|
оборудования
тыс.руб
|
монтажных
работ тыс.руб
|
в
т.ч. зарплата тыс.руб
|
оборудования
тыс.руб
|
монтажных
работ тыс.руб
|
в
т.ч. зарплат тыс.руб
|
|
5
|
6
|
7
|
8
|
9
|
10
|
|
180
|
12,6
|
8,82
|
720
|
50,4
|
35,28
|
|
700
|
49
|
34,3
|
4900
|
343
|
240,1
|
|
600
|
42
|
29,4
|
2400
|
168
|
117,6
|
|
2200
|
154
|
107,8
|
11000
|
770
|
539
|
|
1800
|
126
|
88,2
|
16200
|
1134
|
793,8
|
|
570
|
39,9
|
27,93
|
2850
|
199,5
|
139,65
|
|
1050
|
73,5
|
51,45
|
5250
|
367,5
|
257,25
|
|
2200
|
154
|
107,8
|
2200
|
154
|
107,8
|
|
70
|
4,9
|
3,43
|
280
|
19,6
|
13,72
|
|
100
|
7
|
4,9
|
250
|
17,5
|
12,25
|
|
250
|
17,5
|
12,25
|
250
|
17,5
|
12,25
|
|
260
|
18,2
|
12,74
|
780
|
54,6
|
38,22
|
|
700
|
49
|
34,3
|
700
|
49
|
34,3
|
|
5
|
0,35
|
0,245
|
10
|
0,7
|
0,49
|
|
80
|
5,6
|
3,92
|
240
|
16,8
|
11,76
|
|
20
|
1,4
|
0,98
|
60
|
4,2
|
2,94
|
|
10
|
0,7
|
0,49
|
10
|
0,7
|
0,49
|
|
50
|
3,5
|
2,45
|
150
|
10,5
|
7,35
|
|
|
|
48100
|
3367
|
2356,9
|
Итого:57591,573
.2 Расчет амортизационных отчислений
Амортизация - это планомерный процесс погашения
стоимости основных фондов путем перенесения ее на себестоимость готовой
продукции.
Расчет осуществляется с помощью норм
амортизации. Норма амортизации рассчитывается в процентах и показывает, какая
часть от стоимости основных фондов должна погашаться ежегодно.
На=(Пс+Д-Ло)/(Тсл*Пс)*100%
где На - норма амортизации;
Пс - первоначальная стоимость основных фондов;
Д - затраты на демонтаж;
Ло - ликвидационный остаток (стоимость лома
годных зап.частей);
Тсл - срок службы в годах.
Зная нормы амортизации в %, можно рассчитать
годовую сумму амортизации в тыс.руб.
Аг=Пс*На/100
где Аг - годовая сумма амортизации в тыс. руб.
Таблица 4.2
|
Наименование
приборов и оборудования
|
Сметная
стоимость, тыс.руб.
|
Расчет
амортизации
|
|
|
|
Норма
амортизации в %
|
Годовая
сумма, тыс.руб
|
|
Приборы
и оборудование КИП
|
57591,573
|
15
|
8638,735
|
4.3 Расчет численности рабочих
Таблица 4.3.
|
Наименование
штатных единиц
|
Количество
смен в сутки
|
Тарифный
разряд
|
Явочная
численность человек
|
Коэффициент
списочного состава
|
Положено
отработать списочному составу
|
|
|
|
на
смену
|
на
сутки
|
|
|
смен
|
часов
|
в
т.ч. ночн. и праздн
|
|
1
|
2
|
3
|
4
|
5
|
6
|
7
|
8
|
9
|
10
|
|
слесарь
КИП
|
1
|
5
|
1
|
1
|
1,14
|
1,14
|
264,48
|
2115,8
|
-
|
|
слесарь
КИП
|
1
|
4
|
1
|
1
|
1,14
|
1,14
|
264,48
|
2115,8
|
-
|
4.4 Расчет годового фонда заработной платы
специалистов
Таблица 4.4
|
Наименование
штатных единиц
|
Месячный
оклад по штатному расписанию тыс.руб.
|
Годовой
фонд зарплаты
|
Коэффициент
занятости на данном участке
|
Сумма
заработной платы с учетом коэф. в месяц тыс.руб.
|
|
Мастер
участка
|
900
|
10200
|
0,4
|
1260
|
|
Начальник
КИП
|
1400
|
16800
|
0,1
|
1540
|
Итого:27000
.5 Расчет заработной платы
|
Наименование
штатных единиц
|
Тариф
тыс. руб. в час
|
Зарплата
по тарифу тыс. руб.
|
Премия
из фонда зарплаты
|
Доплата
тыс.руб.
|
|
|
|
%
|
сумма
тыс. руб.
|
ночн.
|
праздн.
|
|
1
|
2
|
3
|
4
|
5
|
6
|
7
|
|
слесарь
КИП
|
2,316
|
4891,392
|
20
|
978,278
|
-
|
-
|
|
слесарь
КИП
|
2,093
|
4420,416
|
20
|
884,083
|
-
|
-
|
.6 Смета эксплуатационных затрат
Таблица 4.6
|
№
|
Статьи
затрат
|
Сумма
млн. руб.
|
Метод
расчета
|
|
|
1
|
2
|
3
|
|
1
|
Основная
и дополнительная зарплата обслуживающего персонала
|
41,205162
|
Таблицы
4.4;4.5
|
|
2
|
Отчисления
в пользу соц. страхования
|
16,482064
|
40%
от зарплаты
|
|
3
|
Амортизация
|
8,638735
|
Таблица
4.2
|
|
4
|
Запасные
части
|
3,535494
|
40%
от суммы амортизации
|
|
5
|
Износ
и ремонт МПБ
|
1,151831
|
2%
от сметной стоимости приборов
|
|
6
|
Расходы
на текущий ремонт
|
2,015705
|
3%
от сметной стоимости приборов
|
|
8
|
Итого
затрат
|
73,028991
|
|
Из рассчитанных расходов дополнительно будут
затраты по 3,4,5 статьям. Сумма этих расходов вычитается из полученной экономии
(13,326065)
Таблица 4.5.
|
районная
надбавка 15% тыс. руб.
|
итого
основная зарплата тыс.руб
|
дополнительная
зарплата тыс.руб
|
итого
годовой фонд зарплаты тыс.руб
|
средняя
зарплата одного рабочего в месяц тыс.руб
|
|
8
|
9
|
10
|
11
|
12
|
|
733,709
|
6603,379
|
858,439
|
7461,818
|
621,818
|
|
663,062
|
5967,562
|
775,783
|
6743,344
|
561,945
|
.7.Технико-экономические показатели результатов
автоматизации.
Таблица 4.7.
|
№
|
Показатели
|
Ед.изм.
|
Сумма
|
|
1
|
Годовая
производительность
|
т/год
|
87600
|
|
2
|
Общий
годовой экономический эффект
|
млн.
руб.
|
278,4
|
|
3
|
Сумма
эксплуатационных затрат
|
млн.
руб.
|
73,028991
|
|
4
|
Чистый
годовой экономический эффект
|
млн.
руб.
|
265,07394
|
|
5
|
Капитальные
вложения на автоматизацию
|
млн.
руб.
|
57,591573
|
|
6
|
Коэффициент
экономической эффективности
|
|
4,5
|
|
7
|
Срок
окупаемости
|
лет
|
0,22
|
Автоматизация парового котла позволяет снизить
расход газа на 1 м/ч, т.е. на 5568 н. газа в год, что позволяет получить
годовую экономию 278,4 млн. руб.
Из полученной экономии вычитаем дополнительные
эксплуатационные затраты, составляющие 13,32606 млн. руб., тогда чистая
экономия составит 265,07394 млн. руб. в год.
Срок окупаемости 0,22 года. Коэффициент
экономической эффективности равен 4,5 , что значительно выше нормативного 0,15,
следовательно, автоматизация парового котла экономически и технически выгодна.
5. Безопасность
жизнедеятельности
.1 Охрана труда
Охраной труда называют систему законодательных
актов, социально-экономических, организационных, технических, гигиенических и
лечебно-профилактических мероприятий и средств, обеспечивающих безопасность,
сохранение здоровья работоспособности человека в процессе труда.
Одна из основных задач охраны труда заключается
в обеспечении безопасности труда человека, т.е. создание таких условий труда,
при которых исключается воздействие на работников вредных производственных
факторов.
.1.1 Производственная санитария
Помещения, их размеры (площадь, объем) должны в
первую очередь соответствовать количеству работающих и размещаемому в них
комплекту технических средств. В них предусматриваются соответствующие
параметры температуры, освещения, чистоты воздуха, обеспечивают изоляцию, от
производственных шумов и т.п. для обеспечения нормальных условий труда
санитарные нормы СН 245-71 устанавливают на одного работающего, объем
производственного помещения не менее 15м3, площадь помещения выгороженного
стенами или глухими перегородками не менее 4,5м3.
.1.2 Вентиляция и отопление
В результате жизнедеятельности человека, работы
производственного оборудования, аварий и других факторов в воздух помещений поступают
различные вредности в виде газов, паров, пыли и избыточного тепла. Эти
вредности отрицательно влияют на здоровье человека.
Вентиляция является эффективным средством
обеспечения нужных гигиенических качеств воздуха, соответствующих требованиям
Санитарных норм проектирования промышленных предприятий (СН 245-71)
для создания нормальных санитарно-гигиенических
параметров воздуха в помещениях предусмотрены системы приточно-вытяжной
вентиляции. В зависимости от способов воздухообмена различают естественную
вентиляцию (аэрация) и механическую. При естественной вентиляции приток и
вытяжка воздуха из помещения, происходят вследствие разности давлений и
плотностей воздуха внутри и снаружи здания. При механической вентиляции подача
и удаление воздуха из помещений осуществляется побудителем тяги, которым в
большинстве случаев является вентилятор, приводимый в действие
электродвигателем.
Вентиляция бывает обще-обменной и местной.
Обще-обменную вентиляцию применяют тогда, когда вредности распространяются по
всему объему помещения или большей его части. Если же вредности локализуются по
технологическим признакам и места их выделения четко определены, то устраивают
местную вентиляцию. Во многих случаях наиболее целесообразным является
сочетание местной и обще-обменной вентиляции. Местную вентиляцию применяют
также для распределения воздуха на рабочие места.
Здесь применяют обще-обменную вентиляцию, так
как система не требует дополнительных местных вытяжек с рабочих мест.
Вентиляционная установка состоит из вентилятора,
воздуховодов, а также устройств для очистки воздуха и организованного выброса
его в атмосферу. Совокупность вентиляционных установок называется
вентиляционной системой.
Параметры воздушной среды для рабочей зоны
обосновываются, исходя из категорий выполняемых с учетом периодов года (теплый,
холодный, переходный) в проекте в соответствии с требованиями СН245-7 1.
Принимают при температуре наружного воздуха ниже 10°С:
температура-16-18°С; относительная
влажность-40-60%; скорость
движения воздуха-0,5 м/с. Для самого жаркого
месяца года принимают:
температура-26°С; относительная влажность-75 %;
скорость движения воздуха-0,5-1,0 м/с.
Отопление.
Нормализация метеорологических условий в
производственных помещениях непосредственно связана с необходимостью поддержания
определенных температур воздуха путем отопления.
В зависимости от климатических условий и
назначение здания могут применяться различные системы отопления.
В городе для отопления жилых и общественных
зданий наиболее распространенными являются системы центрального водяного
отопления с водой, имеющей параметры 105 - 70°С.
Так как в данном случае промышленное предприятие
то применяются система отопления с перегретой водой; парового отопления низкого
давления (до 157 КПа) и высокого давления, совмещенные с системами приточной
вентиляции и кондиционирования.
В системах водяного и парового отопления
теплоноситель циркулирует от котельной или теплоцентралей по трубам к
нагревательным приборам и обратно замкнутым циклом к котлам для повторного
нагрева.
.1.3 Освещение
В создания благоприятных условий труда важное
значение имеет рациональное освещение и цветовое оформление.
Неудовлетворительное освещение и цветовое оформление затрудняет проведение
работ, ведет к снижению производительности труда и работоспособности глаз и
может являться причиной несчастных случаев и заболеваний их.
Освещенность в помещении должна быть такой,
чтобы работающий длительное время мог вести наблюдение за всеми операциями без
напряжения и утомления зрения, и при этом сохранялась нормальная работоспособность
глаз.
В основном в рабочих помещениях, применяется
боковое естественное освещение. Рабочие комнаты и кабинеты имеют естественное
освещение.
Но для максимального использования рабочего
времени, чтобы не зависеть от времени года и погодных условий, в помещениях
установлено совмещенное освещение. При этом дополнительное искусственное
освещение применяется не только в темное, но и в светлое время суток.
В пределах России в ясный день полуденная
освещенность колеблется от 4000 (в декабре) до 40000лк (в июле).
Зрение Е (%) при естественном освещении:
• верхнем и комбинированном -0,7;
• боковом -0,2.
Естественное освещение нормируется СНиП 2-А.
8-72.
Расчет искусственного освещения помещения.
Рассчитываем количество ламп дневного света (N),
необходимое для достижения нормы искусственной освещенности (Ен).
Формула для расчета количество ламп дневного
света:
где: Ен(б)=450лк (для бойлерной);и
Ен(кип)=600лк (для помещения КИПиА).площадь освещаемого помещения,
S(б) =
5м*3м=15м2 S(кип) =
5м*4м = 20м2поправочный коэффициент,=1,17;
КZ-коэффициент запаса,
КZ=1,6;коэффициент использования светового потока;
Ел- световой поток одной лампы
дневного света,
Р=65лм.
для приближенных расчетов Y
используем зависимость от индекса помещения:
= А*В/(А+В)*hпс
где; А, В - длина и ширина
освещаемого помещения,
А-5м, В(б)=3м, В(кип)=4мпс - высота
подвески светильников,
hпс
=3,10 м.(б)
= 3*5/(3+5)*3, 10=0,6 ; i(кип) = 4*51(4+5)*З,
10= 0,7;
т.о. Y=0,2 , тогда
По данным ГОСТ 16354-70 подходящий
тип ламп для освещения
Бойлерной - ЛД65- 4 лампы мощностью
65Вт
Помещения КИПиА - ЛДЦ65- 12 ламп
мощностью-65Вт.
.1.4 Санитарно-бытовые помещения
К числу бытовых относятся помещения
для удовлетворения санитарных и бытовых нужд трудящихся во время пребывания их
на работе: помещения для приема пищи, гардеробные, курительные, комнаты для
личной гигиены и т.п. Состав, оборудование и устройство бытовых помещений
зависит от санитарной характеристики производственных процессов (СН 245-71;
СНиП 2-М.6-68).
Около помещений в соответствии с
СНиП предусмотрены; уборные, курительные. Бытовые помещения располагают как
можно ближе к производственным помещениям.
5.2 Меры защиты работников от
воздействий опасных и вредных факторов
Меры безопасности при эксплуатации и
ремонте оборудования.
Основным нормативным документом
является ГОСТ 12.3.002-75, устанавливающий общие требования безопасности к
технологическим процессам, производственным помещениям, исходным материалам,
производственному оборудованию и т.п.
Работы без снятия напряжения на
токоведущих частях и вблизи них, работы проводимые непосредственно на этих
частях или при приближении к ним на расстояние менее установленного ПЭУ. К этим
работам можно отнести работы по наладке отдельных узлов, блоков. При выполнении
такого рода работ в электроустановках до 1000В необходимо применение
определенных технических и организационных мер, таких как: ограждения расположенные
вблизи рабочего места и других токоведущих частей, к которым возможно случайное
прикосновение; работа в диэлектрических перчатках или стоя на диэлектрическом
коврике; применение инструмента с изолирующими рукоятками, при отсутствии
такого инструмента следует пользоваться диэлектрическими перчатками. Работы
этого вида должны выполнятся не менее чем двумя работниками.
В соответствии с ПТЭ и ПТБ
пользователям и обслуживающему персоналу электроустановок предъявляются
следующие требования: лица, не достигшие 18-летнего возраста, не могут быть
допущены к работам в электроустановках; лица не должны иметь увечий и болезней,
мешающих производственной работе; лица должны после соответствующей
теоретической и практической подготовки пройти проверку знаний и иметь
удостоверение на допуск к работам в электроустановках. В операторских
помещениях разрядные токи статического электричества чаще всего возникают при
прикосновении к любому из элементов КИПиА. Такие разряды опасности для человека
не представляют, но кроме неприятных ощущений они могут привести к выходу из
строя электронных блоков. Для снижения величины возникающих зарядов
статического электричества в помещениях покрытие технологических полов следует
выполнять из однослойного поливинилхлоридного антистатического линолеума.
Ремонт и наладку оборудования должен
проводить специально выделенный, обученный и проинструктированный персонал.
Оборудование во время ремонта должно быть надежно отключено, и должны быть
вывешены плакаты о том, что оно находится в ремонте и пуск его запрещен.
.2.1Электробезопасность
Электрические установки, к которым
относится практически все оборудование КИПиА, представляют для человека большую
потенциальную опасность, так как в процессе эксплуатации или проведении
профилактических работ человек может коснуться частей, находящихся под
напряжением. Специфическая опасность электроустановок: токоведущие проводники,
корпуса стоек и прочего оборудования, оказавшегося под напряжением в результате
повреждения (пробоя) изоляции, не подают каких-либо сигналов, которые
предупреждают человека об опасности. Реакция человека на электрический ток
возникает лишь при протекании последнего через тело человека. Исключительно
важное значение для предотвращения электротравматизма имеет правильная
организация обслуживания действующих электроустановок системы, проведения
ремонтных, монтажных и профилактических работ.
При этом под правильной организацией
понимается строгое выполнение ряда организационных и технических мероприятий и
средств, установленных действующими “Правилами технической эксплуатации
электроустановок потребителей и правила техники безопасности при эксплуатации
электроустановок потребителей” (ПТЭ и ПТБ потребителей) и “Правила установки
электроустановок” (ПУЭ) В зависимости от категории помещения необходимо принять
определенные меры, обеспечивающие достаточную электробезопасность при
эксплуатации и ремонте электрооборудования. Так, в помещениях с повышенной
опасностью электроинструменты, переносные светильники должны быть выполнены с
двойной изоляцией или напряжение питания их не должно превышать 42 В. К таким
помещениям могут быть отнесены помещения бойлерной и щитовая. В особо опасных
же помещениях напряжение питания переносных светильников не должно превышать 12
В, а работа с напряжением не выше 42 В разрешается только с применением СИЗ
(диэлектрических перчаток, ковриков и т.п.)
.2.2 Пожарная безопасность
Пожары в котельных представляют
особую опасность, так как сопряжены с возможностью возгорания топлива. Как
известно пожар может возникнуть при взаимодействии горючих веществ, окисления и
источников зажигания. В этих помещениях присутствуют все три основных условия,
необходимые для возникновения пожара. Горючими компонентами являются:
строительные материалы для отделки помещений, перегородки, двери, полы и
изоляция кабелей и др.
Противопожарная защита - это
комплекс организационных и технических мероприятий, направленных на обеспечение
безопасности людей, на предотвращение пожара, ограничение его распространения,
а также на создание условий для немедленной ликвидации возгорания.
К средствам тушения пожара,
предназначенных для локализации небольших загораний, относятся пожарные стволы,
внутренние пожарные водопроводы, огнетушители, сухой песок, асбестовые одеяла и
т п.
Применение воды в операторских,
щитовых и КИПиА ввиду опасности повреждения или полного выхода из строя
оборудования недопустимо.
для тушения пожаров на начальных
стадиях широко применяются огнетушители. По виду используемого огнетушащего
вещества огнетушители подразделяются на следующие основные группы.
Пенные огнетушители, применяются для
тушения горящих жидкостей, различных материалов, конструктивных элементов и
оборудования, кроме электрооборудования, находящегося под напряжением.
Газовые огнетушители применяются для
тушения жидких и твердых веществ, а также электроустановок, находящихся под
напряжением.
В производственных помещениях
применяются главным образом углекислотные огнетушители, достоинством которых
является высокая эффективность тушения пожара, сохранность электронного оборудования,
диэлектрические свойства углекислого газа, что позволяет использовать эти
огнетушители даже в том случае, когда не удается обесточить электроустановку
сразу. Для обнаружения начальной стадии загорания и оповещения службы пожарной
охраны используют системы автоматической пожарной сигнализации (АПС). Кроме
того, они могут самостоятельно приводить в действие установки пожаротушения,
когда пожар еще не достиг больших размеров. Системы АПС состоят из пожарных
извещателей, линий связи и приемных пультов (станций).
В соответствии с “Типовыми правилами
пожарной безопасности для промышленных предприятий” помещения с электронным
оборудованием необходимо оборудовать дымовыми пожарными извещателями. В этих
помещениях в начале пожара при горении различных пластмассовых, изоляционных
материалов выделяется значительное количество дыма и мало теплоты.
При занимаемых больших площадях
кроме АПС необходимо оборудовать установками стационарного автоматического
пожаротушения. Наиболее целесообразно применять в операторских помещениях
установки газового тушения пожара, действие которых основано на быстром
заполнении помещения огнетушащим газовым веществом с резким снижением
содержания в воздухе кислорода.
5.2.3 Инструкция по технике
безопасности для обслуживающего персонала КИП и А.
Общие положения:
На должность слесаря, занятого на
эксплуатации приборов КИП и А, допускаются лица прошедшие соответствующее
обучение, сдавшие экзамен и имеющие удостоверение на право выполнения работ по
эксплуатации КИП и А, а также прошедшие инструктаж на рабочем месте по
безопасным методам работы.
Периодическая проверка знаний
рабочих правил техники безопасности и технической эксплуатации должна
проводиться ежегодно. Повтор инструктажа по технике безопасности - ежегодно.
Проведение экзаменов по проверке знаний оформляется протоколом и другой
документацией, осуществляется в строгом соответствии с правилами технической
эксплуатацией на производстве.
На самостоятельную работу слесарь
занятый на эксплуатации приборов может быть допущен только после двух недельной
работы в качестве дублера слесаря.
Перед началом работы:
. Проверить исправность средств
индивидуальной защиты, комплектность и исправность инструмента, приспособлений
и приборов. При работе применять их только в исправном состоянии.
. Заступая на смену, необходимо
ознакомиться с записями начальника смены за прошедшие сутки.
. Для переноски инструмента к месту
работы использовать специальную сумку.
. Проверить, чтобы освещение
рабочего места было достаточным, и свет не слепил глаза. Пользоваться местным
освещением напряжением свыше 36В запрещается.
. Если необходимо пользоваться
переносной лампой в обычных условиях, ее напряжение должно быть не более 36В.
При выполнении газоопасных работ применять переносные светильники во
взрывозащищенном исполнении или аккумуляторные лампы.
. Внимательно осмотреть место
работы, привести его в порядок, убрать все мешающие работе посторонние
предметы. Содержать в чистоте и порядке рабочее место и закрепленное за
работником оборудование и КИП.
. Перед началом ремонтных работ
непосредственно в производственном цехе, где установлены приборы, согласовывать
с допускающим ( зам.нач.цеха, энергетиком или начальником смены) разрешение
работ в данном цехе.
. Отключение и подключение приборов
и оборудования от питания электротоком первичной сети (от распределительного
пункта, щита и др.) разрешается производить только электромонтером этого цеха.
. Для предупреждения случайного
включения приборов в электросеть потребовать от электромонтера цеха удаления
предохранителя сети электропитания приборов и оборудования, а при капитальном
ремонте отсоединения и изоляции концов проводов, питающих данное оборудование.
На месте, где произведено отключение, необходимо вывесить предупредительный
плакат « НЕ ВКЛЮЧАТЬ - РАБОТАЮТ ЛЮДИ! »
. Перед началом работы вблизи
работающего агрегата и оборудования (котла) убедись в безопасности и предупреди
мастера о своем местонахождении и содержании работы.
Во время работы:
. Перед установкой или снятием
приборов и оборудования необходимо перекрыть импульсные линии с помощью крана
или вентиля. Открытые концы металлических трубок должны быть заглушены пробкой,
а резиновые - специальными зажимами.
. Перед осмотром, чисткой и ремонтом
приборов, находящихся в эксплуатации, принимать меры, исключающие возможность
попадания под напряжение.
. При выполнении работы нужно быть
внимательным, не отвлекаться на посторонние дела и разговоры, не отвлекать
других.
. Работая в бригаде, согласовывать
свои действия с действиями других членов бригады.
. Разборку приборов и оборудования
производить последовательно. Открепляя узел, деталь, следить за тем, чтобы не
упали сопрягаемые узлы и детали.
. При работе и ремонте вставать на
случайные предметы запрещается.
. При ремонте на высоте пользоваться
только исправными лестницами и стремянками.
. После каждого ремонта, ревизии,
связанных с газовым оборудованием, необходимо поверить все соединения на
плотность (на утечку газа) с помощью мыльного раствора. Применять для этого
огонь запрещается.
. Для поверки наличия напряжения
пользоваться исправным вольтметром или специальной контрольной лампой,
оборудованной в соответствии с требованием правил электробезопасности.
. Производить чистку, ремонт
приборов и оборудования под напряжением запрещается.
. Щиты и шкафы КИП закрывать на
замок.
. Систематически следить за
исправностью манометров и напоромеров; не допускать случаев их эксплуатации в
неисправном состоянии или с просроченным сроком освидетельствования.
. Производить какие либо работы под
давлением газа, пара, сжатого воздуха и др. (снятия манометров, разъединения
импульсов, набивка сальников и др.) запрещается.
. При продувке газовых импульсных
линий соединенную с импульсом резиновую трубку вывести из помещения. Продувка
импульсов с выбросом газа в помещение запрещается.
. При проверке расходомеров
необходимо вначале открыть уравнительный вентиль, а затем закрыть плюсовой и
минусовой вентили, чтобы предотвратить выбивание ртути или порыв мембраны в
датчике.
. Производить обход, или какие либо
работы в помещении ГРУ только с разрешения мастера газового участка и с
участием выделенного им слесаря. Находиться и работать одному в помещении ГРУ
запрещается.
. В целях выявления и устранения
неисправности, вызывающих утечку газа, производить не реже раза в смену,
поверку на плотность приборов и оборудования производить с помощью мыльного
раствора.
. Ежедневно в первую смену совместно
со слесарем газового участка производить проверку автоматики безопасности на
срабатывание по всем параметрам. Результаты проверки заносить в вахтенный журнал.
. Один раз в 15 дней согласно
графику, утвержденного главным инженером завода, в присутствии начальника смены
или энергетика цеха производить проверку и настройку автоматики безопасности и
блокировки. Результаты проверки заносить в журнал проверяемого цеха.
. При работе в загазованной среде
должны применяться молотки и кувалды из цветного металла, а рабочая часть
инструмента и приспособлений из черного металла должна обильно смазываться
тавотом, солидолом или другой смазкой. Применение электродрели и других
инструментов, делающих искрения, запрещается.
. Промывку деталей керосином,
бензином производить на специально оборудованном для этой цели месте с
соблюдением правил пожарной безопасности.
. В течение смены необходимо
производить запись в вахтенном журнале обо всех неполадках и выполненных
работах с росписью дежурного.
. Во время смены выполнять только ту
работу, которая поручена администрацией, и при условии, что безопасные методы
ее выполнения хорошо известны. В сомнительных случаях нужно обращаться к
мастеру за разъяснением.
По окончании работы:
. Произвести уборку рабочего места,
убрать детали, инструмент и материалы на отведенное для этого место.
. В аварийной ситуации ремонтный
персонал КИПиА уходит после окончания смены только после устранения неисправностей,
вызвавших данную ситуацию.
.3 Мероприятия по охране окружающей
среды
При сжигании топлива образуется
большое количество окиси азота. Образование окиси азота увеличивается с ростом
температуры и избытка воздуха в топке. Образовавшаяся окись азота в
конвективных газах частично окисляется до двуокиси азота (1-2%). В атмосфере
распадается на окись азота и атмосферный кислород. Затем в результате
реагирования с углеводородами (выхлопным газом) вновь образуется двуокись
азота. Это соединение является не только токсичным, но и влияет на дыхательные
пути человека.
Количество оксидов азота,
образующихся при горении, зависит от уровня и распределения температур, т.е. от
соотношения скорости горения и скорости отвода теплоты от факела.
Наибольший выход оксидов азота
образуется при горении высококалорийного топлива в форсированных топках. В воде
окись азота практически не растворяется. Очистка продуктов питания от него
технически сложна и в большинстве случаев экономически не рентабельна.
Образование оксидов азота в процессе
горения топлива значительно уменьшается при снижении температуры горения, при
сокращении времени пребывания азота и кислорода высокотемпературной части
факела, а так же при уменьшении свободного кислорода в факеле. Радикальным качеством
снижения образования оксидов азота является организация двухступенчатого
сжигания топлива.
По этому методу в первичную зону
горения подается 50-70% необходимого для горения воздуха, 50-30% поступает во
вторую зону, где происходит дожигание топлива. Отвод тепла из первичной зоны
горения делается достаточно большим, чтобы заключительная стадия процесса
горения происходила при более низких температурах.
Одним из основных средств уменьшения
загрязнения атмосферы вредными примесями, выбрасываемыми через дымовые трубы,
является уменьшение рассеивания дымовых газов посредством увеличения количества
труб и их высоты.
При большой высоте труб дымовые
газы, вынесенные в высокие слои атмосферы продолжают распространяться в них,
вследствие чего резко снижается концентрация вредных примесей в приземном
воздухе. При этом в неблагоприятных атмосферных условиях дымовой факел может
прорваться в верхние слои инверсионной зоны атмосферы и, таким же образом,
окажется изолированным от контакта с нижними слоями атмосферы.
.4 Расчет выбросов от котельной,
работающей на природном газе
Рассчитываемая газовая котельная
оснащенная четырьмя котлами ДЕ-10-14, высота трубы 30м. Выбросы при сжигании
природного газа следующие: СО, NOx, Hg и парниковые газы.
Показатели эмиссии при этом:
г/Гдж;
г/Гдж;
г/Гдж.
г/Гдж;
г/Гдж;
г/Гдж.
Пересчитываем расход газа,
эквивалентный по тепловой производительности заданному количеству угля:
Bг= Ву ∙Qу/Qг=1,05∙25,95/33,8=0,806
м3/с = 16713216 м3/год
Ву - расход угля, кг/с.
Валовый выброс вредных веществ
Зная показатели эмиссии можно
определить валовый выброс вредного вещества
т/год, по формуле
где
расход топлива м3/год;
теплота сгорания, МДж/кг.
Для оксида углерода:
г/с.
Для диоксида азота:
г/с.
Для ртути:
г/с.
Для парниковых газов:
г/с;
г/с;
г/с.
Максимальная концентрация вещества при его
рассеивании
Максимальная концентрация вещества при его
рассеивании С, мг/м3, определяется по формуле
где
показатель стратификации атмосферы,
принимаем
= 200;
выброс вредного вещества, г/с;
коэффициент, учитывающий скорость
осаждения вредных веществ, принимается для газов
, для твердых частиц
;
n, m,
коэффициенты,
принимаемые n = m =
;
Н
высота трубы, м;
разность температур газа и
окружающей среды,
132−8=124 оС;
V - объем
газов, м3/с, определяется по формуле
где Vо
- объем дымовых газов, Vо=11
м3/ м3;
коэффициент избытка воздуха;
,1 -коэффициент запаса по дымовому
тракту;
tГ =
132 оС;
расход топлива, м3.
Для оксида углерода:
мг/м3.
Для диоксида азота:
мг/м3.
Для ртути:
мг/м3.
Расчет ПДВ
Предельно-допустимый выброс
определяем по формуле
г/с,
где
фоновая концентрация вещества,
принимаем
предельно-допустимая концентрация
вредного вещества, мг/м3;
Для оксида углерода:
г/с;
Для диоксида азота:
г/с;
Для ртути:
г/с.
Расчет степени очистки
Необходимая степень очистки от
вредных веществ определяется по формуле
Выбросы оксида углерода, ртути,
диоксида азота меньше ПДВ, следовательно, очистка от этих вредных веществ не
нужна.
5.5 Безопасность в чрезвычайных ситуациях
.5.1 Чрезвычайные ситуации (ЧС)
Чрезвычайными ситуациями называются
обстоятельства, возникают е в результате природных стихийных бедствий, аварий и
катастроф техногенного, экологического происхождения, военного, социального и
политического характера, вызывающие резкое отклонение от нормы
жизнедеятельности людей, экономики, социальной сферы или природной среды.
Основные причины возникновения ЧС:
Внутренние: сложность технологий, недостаточная
классификация персонала, проектно-конструкторские недоработки, физический и
моральный износ оборудования, низкая трудовая и технологическая дисциплина;
Внешние:
Основными причинами возникновения ЧС природного
и техногенного
характера в последнее время являются:
§ увеличение антропогенного воздействия на
окружающую среду;
§ аномальные изменения некоторых параметров
биосферы, атмосферы, гидросферы и литосферы;
§ повышение урбанизации территорий и размещение
промышленных объектов хозяйственной деятельности, а также населенных пунктов в
зонах потенциальной природной опасности;
§ неразвитость или отсутствие систем мониторинга
природной среды;
§ недостаточная достоверность прогнозирования
опасных природных явлений;
§ повышение технологической сложности производств;
§ увеличение оборота опасных материалов
(продолжающийся рост объемов транспортировки, концентрации и масштабов
использования опасных и вредных веществ, материалов и изделий);
§ экстенсивный рост промышленности и техносферы;
§ накопление отходов производства, представляющих
угрозу окружающей среде, а также ряд причин субъективного характера.
Обеспечение защиты населения и территорий от
чрезвычайных ситуаций природного и техногенного характера является одной из
важнейших области обеспечения национальной безопасности.
ЧС могут произойти при следующих
обстоятельствах:
§ наличие источника риска (давление, взрывчатые
вещества);
§ действия факторов риска (выброс газа, взрыв,
возгорание);
§ нахождение в очагах поражения людей.
.5.2 Устойчивость функционирования промышленных
объектов в ЧС
Под устойчивостью работы объекта понимается
способность объекта выпускать установленные виды продукции в объемах и
номенклатурах, предусмотренных соответствующими планами (для объектов, не
производящих материальные ценности, - транспорт, связь и др. - выполнять свои
функции) в условиях ЧС, а так же приспособленность этого объекта к
восстановлению в случае повреждения.
К факторам, влияющим на устойчивость работы
объектов относят:
район расположения объекта; внутренняя планировка
и застройка территории объекта; системы энергоснабжения; производственные связи
с объектом; системы управления; подготовленность объектов к восстановлению
производства и д.р.
Мероприятия по обеспечению устойчивости работы
объекта, прежде всего, должны быть направлены на защиту рабочих и служащих от
оружия массового поражения и других факторов ЧС; они тесно связаны с
мероприятиями по подготовке и проведению спасательных и неотложных аварийно -
восстановительных работ в очаге поражения, т.к. без людских резервов успешной
ликвидации последствий практически невозможно.
Для исследования подготовки объекта к защите от
ЧС, оценки физической устойчивости и разработки мероприятий привлекаются
работники инженерно-исследовательских и проектных организаций, связанных с
работой предприятия.
Общее руководство исследованиями осуществляет
начальник ГО (директор) предприятия. Его приказом определяются рабочие группы
для исследований и разработки мероприятий по повышению устойчивости работы
объекта в ЧС. Одновременно разрабатывается и утверждается план проведения
исследований. Руководство рабочими группами возлагается на главного инженера
объекта, при котором создается группа руководства исследованиями. Рабочие
группы обычно соответствуют основным производственно-техническим службам
объекта.
На промышленных объектах обычно создаются
рабочие группы по исследованию устойчивости:
Зданий и сооружений;
Коммунально-энергетических сетей;
Станочного и технологического оборудования;
Технологического процесса;
Управления производством;
Материально-технологического снабжения
транспорта.
Эти группы проводят всю расчетную работу по
исследованию устойчивости объекта.
.5.3 Принципы организации и содержании
спасательных и других неотложных работ по ликвидации последствий ЧС
Ликвидация чрезвычайной ситуации осуществляется
силами и средствами предприятий, учреждений и организаций независимо от их
организационно- правовой формы, органов местного самоуправления, органов
исполнительной власти субъектов РФ, на территории которых сложилась чрезвычайная
ситуация, под руководством соответствующих комиссий по чрезвычайным ситуациям.
К ликвидации ЧС могут привлекаться Вооруженные
силы РФ, Войска гражданской обороны РФ, другие войска и воинские формирования в
соответствии с законодательством РФ.
Ликвидация ЧС считается завершенной по окончании
проведения аварийно - спасательных работ и других неотложных мероприятий.
Спасательные работы. Спасательные и другие
неотложные работы в очагах поражения включают:
Разведку очага поражения, в результате которой получают
истинную информацию о сложившейся обстановке;
Локализацию и тушение пожаров, спасение людей из
горящих зданий;
Розыск и вскрытие заваленных защитных
сооружений, розыск и извлечение из завалов пострадавших;
Оказание пострадавшим медицинской помощи,
эвакуация населения из зон возможного катастрофического воздействия
(затопления, радиационного и другого заражения);
Санитарная обработка людей, обеззараживание
транспорта, технических систем, зданий, сооружений и промышленных объектов;
Неотложные аварийно-восстановительные работы на
промышленных объектах.
Определение материального ущерба, который
складывается из прямых (разрушение промышленных объектов) и косвенных ущербов
(недополученный доход, товары, материальные ценности).
План ремонтно-восстановительных работ.
Готовность предприятия к выполнению восстановительных работ оценивается
наличием проектно- технической документации по вариантам восстановления,
обеспеченностью
рабочей силой и материальными ресурсами.
Планирование восстановления работоспособности
предприятия может предусматривать как первоочередное восстановление, так и
капитальное.
Методика определения сроков проведения
восстановительных работ изложена в СН 440-72.
.5.4 Действия персонала в условиях ЧС
Пожары и взрывы. Из чрезвычайных ситуаций
наиболее распространены пожары и взрывы. Чаще всего они происходят на пожаро -
и взрывоопасных объектах Возникают пожары в результате разрядов молний, само
загорания и других причин. При аварии на объектах, имеющих технические
установки, емкости и трубопроводы со взрыво- и пожароопасными, газообразными
или сжиженными углеводородными продуктами, может образоваться очаг взрыва.
Защитными мероприятиями в условия пожара является:
тушение пожара, оповещение персонала,
использование средств индивидуальной и коллективной защиты, экстренный вызов
людей из зоны пожара, медицинская помощь пострадавшим. Профилактика
возникновения взрывов нужно считать: противопожарная безопасность, соблюдение
правил обращения и хранения взрыва и пожароопасных веществ.
Аварии с выбросом ядовитых сильнодействующих
веществ. Химическоопасным объектом считают объект, при аварии или разрушении
которого могут произойти массовые поражения людей, животных и растений. В целом
основными способами проведения спасательных работ является: подача сигнала
“Химическая тревога” при угрозе или непосредственном обнаружении химического
или бактериологического нападения (заражения). По этому сигналу необходимо
быстро надеть противогаз, а в случае необходимости укрыться в защитном
сооружении. Если защитного сооружения по близости не оказалось, то от поражения
аэрозолями отравляющих веществ и бактериальных средств можно укрыться в жилых,
производственных или подсобных помещениях.
Радиоактивное заражение местности
(радиационно-опасные объекты). При радиоактивном заражении местности по сигналу
“Радиационная опасность” необходимо надеть респиратор, противопульную тканевую
маску или ватно-марлевую повязку, а при их отсутствии - противогаза, взять
подготовленный запас продуктов, индивидуальные средства медицинской защиты,
предметы первой необходимости и уйти в убежище, противорадиационное или
простейшее укрытие.
Гидродинамические аварии. К ним относятся такие
аварии как: прорывы плотин с образованием волн; прорывы и катастрофических
затоплений; прорывы платин с образованием прорывного паводка; прорывы платин,
повлекших смыв плодородных почв или отложение наносов на обширных территориях.
При этих авариях следует немедленная эвакуация населения в ближайшие населенные
пункты в не зоны аварии.
Условия угрозы и развития наводнений,
землетрясений и других стихийных бедствий и катастроф.
Землетрясения могут быть как на суше, так и под
водой. В случае оповещения об угрозе землетрясения или появления признаков его,
необходимо действовать быстро, но спокойно, уверенно и без паники. На
предприятиях и учреждениях во время землетрясения все работы прекращаются.
Производственное и технологическое оборудование останавливается, принимаются
меры по отключению тока, кислорода, пара, воды, газа, снижению давления воздуха
и т.д. Рабочие и служащие, состоящие в формировании гражданской обороны,
немедленно направляются в район их сбора, остальные рабочие и служащие занимаю
безопасные места. И если по условиям производства остановить агрегат или печь в
короткое время нельзя или не возможно, то осуществляется перевод их на щадящий
режим работы.
СПИСОК ЛИТЕРАТУРЫ
1. Теплотехника.
Под общ. ред. Баскакова А.П. - М.: Энергоатомиздат,1991 г.- 412с.
. Промышленная
теплоэнергетика и теплотехника. Под общ. ред. Григорьева В.А. и Зорина В.М.
Книга 4 - М.: Энергоатомиздат, 1991 г.- 548с.
3. Зах
Р.Г. Котельные установки. М.: Энергия, 1968. -385с.
4. Сидельсковский
Л.И., Юренев В.И. Котельные установки промышленных предприятий. М.:
Энергоиздат, 1998. - 425с.
5. Будников
Е.Ф. и др. Производственные и отопительные котельные. М.: Энергоиздат, 1984.-
287с.
6. Р.
И. Эстеркин. Котельные установки. Курсовое и дипломное проектирование. Л.:
Энергоатомиздат, 1989 г.- 368с.
7. К.
Ф. Роддатис, А. Н. Полтарецкий. Справочник по котельным установкам малой
производительности. М.: Энергоатомиздат, 1991 г.- 612с.
8. Правила
устройства электроустановок.- М.:Энергоагомиздат, 1986.-546с.
. Идельчик
В.И. Электрические системы и сети. - М.: Энергоатомиздат, 1989.-592с.
. Электрическая
часть станций и подстанций/А.А.Васильев, И.П., Крючков, Е.Ф. Каяшкова и др.;
Под. ред. А.А.Васильева.- М.: Энергоатомиздат,1990-с-576с.
11. Баркан
Я.Д. Эксплуатация электрических систем. -М.: Высшая школа,1990.-304с.