Технико-экономическое обоснование проекта
тема: Технико-экономическое
обоснование проекта
(на примере ООО «ПЕТРО-ВИД»).
ОГЛАВЛЕНИЕ
ВВЕДЕНИЕ. 3
ГЛАВА 1. РОЛЬ МАЛОГО БИЗНЕСА В ЭКОНОМИКЕ РОССИИ.. 5
1.1. Состояние экономической ситуации в России и ее
развитие. 5
1.2.Краткая экономическая характеристика Ленинградской
области. 6
1.3. Малые предприятия, их значение и задачи. 7
1.4. Развитие малого бизнеса в г. Всеволожск. 9
1.5. Этапы технико-экономического обоснования. 10
ГЛАВА 2. ТЕХНИКО-ЭКОНОМИЧЕСКОЕ ОБОСНОВАНИЕ СОЗДАНИЯ
ПРЕДПРИЯТИЯ ПО ПРОИЗВОДСТВУ ПЛАСТИКОВЫХ ОКОН.. 12
2.1 Анализ рынка пластиковой оконной продукции в г. Всеволожск. 12
2.2 Технические характеристики пластиковых окон «Proplex». 25
2.3 Технология производства и монтажа окон из ПВХ.. 31
2.4 Обоснование выбора организационной структуры.. 48
2.5 Обоснование потребности в производственных ресурсах. 49
ГЛАВА 3. ОЦЕНКА ФИНАНСОВО-ЭКОНОМИЧЕСКОЙ ЭФФЕКТИВНОСТИ
ПРОЕКТА.. 69
3.1. Обоснование объемов производства и реализации
продукции. 69
3.2 Оценка денежных потоков. 73
3.3. Показатели финансово-экономической эффективности
проекта. 77
ЗАКЛЮЧЕНИЕ. 81
СПИСОК
ЛИТЕРАТУРЫ............................................................................83
ПРИЛОЖЕНИЕ 1..........................................................................................86
Тема данного дипломного
проекта является актуальной, так как при создании данного предприятия будет
удовлетворяться спрос населения на оконную продукцию, также будут созданы
дополнительные рабочие места. Для государства это дополнительные доходы в
бюджет в виде уплачиваемых налогов.
Целью
проекта является разработка технико-экономического обоснования за счет
построения производства пластиковых окон и выхода на рынок пластиковой
оконной и дверной продукции.
Рынок пластиковых окон на сегодняшний
день является одним из быстро растущих на рынке строительных материалов.
Впервые в мире пластиковые окна появились в 1946 году, из производимых в
настоящее время окон 29 процентов составляют алюминиевые, 33 процентов -
деревянные и 38 процентов - пластиковые .
В качестве материала для изготовления
оконных профилей в традиционных окнах, применявшихся в России до настоящего
времени, использовалось дерево, в современных системах – поливинилхлорид(ПВХ).
Основными преимуществами пластиковых
окон, перед обычными являются: долговечность, устойчивость ко всем видам
метеорологических воздействий (особенно важно в условиях повышенной влажности),
герметичность всех швов и стыков, высокие показатели по тепло- и звукоизоляции,
окна не требуют специального ухода, окраски.
Покупателями пластиковых окон будут
как физические, так и юридические лица.
Реализация
проекта позволит фирме получить прибыль, за счет построения производства
пластиковых окон и выхода на рынок пластиковой оконной и дверной продукции.
В
процессе выполнения дипломного проекта были решены следующие задачи:
-
оценена социально-экономическая ситуация в Российской Федерации;
-
рассмотрена роль малого бизнеса в экономике и основные проблемы его развития;
-
выполнен анализ рынка;
-
изучена технология производства пластиковых окон;
-выполнены
расчеты позволяющие оценить экономическую эффективность предлагаемого проекта;
-охарактеризовать
малые предприятия в системе предпринимательства;
-
рассмотреть организацию деятельности малого предприятия;
-
дать оценку организации и функционирования малого предприятия на примере ООО
«ПЕТРО-ВИД».
Работа
состоит из введения, трех глав, заключения, а также содержит список литературы
и приложение.
В
2010 году отмечалось продолжительное возрождение Российской экономики, однако
во втором полугодии темпы экономического роста замедлились из-за ослабления
тенденции восстановления в главных экономических субъектах мира и
беспрецедентной засухи в стране. В грядущем году России предстоит решить такие
задачи, как сдерживание инфляции, сокращение финансового дефицита, расширение
внутреннего спроса и др. При этом во внешней экономической среде существует
большая неопределенность, в этой связи возможности российского правительства в
сфере контроля за экономикой и принятия решений столкнутся с вызовами.
Благодаря росту мировых цен на сырую нефть, в нынешнем году в экономике России
наблюдались благоприятные тенденции восстановления.
Аналитики
выделяют следующие причины замедления темпов экономического роста в России во
втором полугодии: во-первых, в 2010 году рост российской экономики был сначала
низким, а потом высоким, поэтому под воздействием исходного показателя во
втором полугодии темпы экономического роста стали замедляться; во-вторых, летом
на Россию обрушилась беспрецедентная засуха, в результате которой значительно
снизилось сельскохозяйственное производство, что сдержало экономический рост;
в-третьих, ослабление тенденции экономического восстановления в европейских
странах, США и экономических субъектах с нарождающимися рынками во втором
полугодии также с казалось на экономическом возрождении России. Кроме того,
российское правительство продолжит увеличивать пенсии и социальные расходы.
Ленинградская область входит в состав
Северо-Западного федерального округа (СЗФО), граничит с пятью регионами
Российской Федерации - Новгородской, Псковской, Вологодской областями,
Республикой Карелия и Санкт-Петербургом, имеет государственную границу России с
Финляндией и Эстонией.
Промышленность является основой
экономики области, развитие получили различные области. Электроэнергетика
представлена всеми основными её типами. Машиностроительные предприятия находятся
в различных городах области. Алюминиевая промышленность располагает рудниками в
Бокситогорске и заводом в Волхове. Предприятиями химической промышленности
являются комбинат «Фосфорит» в Кингисеппе, завод «Henkel» в Тосно. Центром
нефтехимической промышленности области является город Кириши. Лесная и
деревообрабатывающая промышленность развита во многих районах. Крупные
леспромхозы расположены в основном на востоке области.
Промышленность
строительных материалов представлена цементными заводами в Сланцах и Пикалево,
кирпичными заводами в Гатчинском, Тосненском, стекольными заводами в Лужском
районе.
Пищевая промышленность в
основном имеет местное значение, представлена х/б комбинатами, молочными
заводами в различных городах области.
Ленинградская область отличается
развитой промышленностью, на долю которой приходится большая часть общего
объема прибыли, получаемой от всех видов хозяйственной деятельности. Основными
отраслями являются топливная промышленность, электроэнергетика, машиностроение,
лесная , деревообрабатывающая и целлюлозно-бумажная промышленность. Свыше 85%
продукции, выпускаемой предприятиями Ленинградской области, приходится на
продукцию производственно-технического назначения.
Область с населением 1631,9 тыс. чел.
(2009 год), что составляет 1,15% населения России. По этому показателю область
занимает 27-е место в стране. По плотности населения 19,5 человек на км². Два
крупнейших города области Гатчина (90,1 тыс. чел.) и Выборг (77,8 тыс. чел.).
Важным политическим событием в
области обозначено срок окончания полномочий действующего губернатора области
В.П. Сердюкова, выборы назначены на 2012 год.
1.3. Малые предприятия, их значение и задачи
Малый бизнес – важный сектор
экономики. Предприятия малого бизнеса более устойчивы к внешним изменениям. В
период общего экономического спада России в начале 90-х годов именно малый
бизнес поддержал российскую экономику и вовремя адаптировался под новые
рыночные условия. Государственные предприятия же не выдержали конкуренции, были
разрушены или приватизированы. Таким образом малый бизнес демонстрирует свою
гибкость, «живучесть», укрепляя и поддерживая рыночную экономику.
Малый бизнес - один из основных
источников налоговых поступлений. Малый бизнес участвует в формировании
бюджетов всех уровней. Помимо непосредственных отчислений в бюджет от доходов
компаний, предприятия малого бизнеса, создавая рабочие места и являясь
источником доходов населения, помогает сбору налогов непосредственно с
физических лиц. Малые предприятия исправно и своевременно платят налоги по
сравнению с представителями среднего и крупного бизнесом. Малый бизнес
выполняет важную функцию в развитии инновационной экономики государства,
инвестируя средства в наукоемкие высокотехнологичные направления производства.
К малому бизнесу России это относится в малой степени (около 6%), поскольку
основное направление деятельности – торговля. Однако есть малые предприятия,
которые занимаются разработкой новых научно-технических изобретений.
В основном они пользуются поддержкой
со стороны государства в виде дотаций, дополнительного субсидирования и т.д.
Перестройка малого бизнеса в инновационную направленность позволит подготовить
базис для развития больших технических предприятий, которые поспособствуют
подъем и развитию всей национальной экономики.
Малый бизнес способствует созданию
новых рабочих мест, обеспечивает занятость населения, в итоге уменьшается
безработица. Относительно небольшой персонал предприятий малого бизнеса
способствует большему сплочению трудового коллектива по сравнению с крупными
предприятиями. Это еще более усиливает трудовую мотивацию и положительно
сказывается на результатах труда компании. Необходимо отметить тот факт, что
предприятия малого бизнеса обеспечивают трудоустройство социально нестабильных
слоев населения, в частности, молодежи, женщин, иммигрантов и т.д. Именно на
этих предприятиях они набираются опыта, знаний, добиваются карьерного роста и
самореализации. Несмотря на более высокие темпы производительности труда малого
бизнеса, необходимо отметить, что средний уровень заработной платы на малых
предприятиях меньше по сравнению с крупными. Это связано с чрезмерной экономией
предпринимателей, а также сравнительно меньшими доходами.
Подводя итог вышеизложенному, следует
сказать, что малое предпринимательство является неотъемлемой частью рыночной
экономики.
Проведем анализ развития малого
бизнеса в г. Всеволожск на основании статистических данных. Данные о составе
малых предприятий приведем в табл. 1.1.
Таблица 1.1
Структура
малых предприятий в г. Всеволожск.
|
Отрасль
народного хозяйства
|
За 2008г.
|
За 2009г.
|
За 2010г.
|
|
Количество предприятий
|
Общая численность работающих,
чел.
|
Количество предприятий
|
Общая численность работающих,
чел.
|
Количество предприятий
|
Общая числен ность работающих,
чел.
|
|
Промышленность
|
88
|
6320
|
93
|
6980
|
98
|
7200
|
|
Сельское
хозяйство
|
5
|
500
|
3
|
300
|
3
|
300
|
|
Транспорт
|
15
|
860
|
19
|
257
|
24
|
275
|
|
Связь
|
5
|
640
|
4
|
360
|
5
|
410
|
|
Строительство
|
125
|
7170
|
129
|
10850
|
132
|
12100
|
|
Торговля
|
365
|
9750
|
415
|
10500
|
450
|
11000
|
|
Информационно-
вычислительное обслуживание
|
7
|
190
|
8
|
260
|
10
|
300
|
|
Операции с
недвижимостью
|
6
|
570
|
8
|
530
|
11
|
600
|
|
Производственные
виды материального производства
|
10
|
460
|
12
|
590
|
13
|
720
|
|
ЖКХ
|
3
|
400
|
3
|
430
|
3
|
430
|
|
Непроизводственные
виды бытового обслуживания
|
9
|
340
|
9
|
340
|
9
|
340
|
|
Здравоохранение
|
10
|
230
|
8
|
280
|
8
|
280
|
|
Образование
|
3
|
170
|
2
|
130
|
3
|
150
|
|
Культура и
искусство
|
3
|
30
|
5
|
54
|
6
|
57
|
|
Итого
|
654
|
27630
|
718
|
31861
|
775
|
34162
|
Наибольшую долю среди малых
предприятий занимают следующие отрасли: промышленность, строительство и
торговля.
Наименьшую долю занимают такие
отрасли как сельское хозяйство, образование и культура.
Увеличение регистрации малых
предприятий в г. Всеволожск в 2009г к 2008г. составило 9,8 процентов, прирост
2010г. к 2009г составил 8 процентов и прирост 2010г к 2008г составил 18,7
процентов.
Исходя из приведенных данных, можно
сделать вывод, что наблюдается общая тенденция роста образования и регистрации
малых предприятий.
Одним из важнейших показателей
развития малых предприятий является показатель прироста средней численности
рабочих. Так в 2009г к 2008г он составил 29,6 процентов, 2010 к 2009г.г. 12,5
процентов и 2010 к 2008г.г. 45,8 процентов.
Отличие технико-экономического
обоснования от бизнес – плана заключается в следующем: это возможные формы
документального оформления деловой идеи, каждая из которых предназначена для
обоснования целесообразности принятия деловой идеи и разработанного на ее
основе делового проекта к реализации или же отказа от них. Эти формы отличаются
одна от другой только от степени подробности, а значит и по глубине осмысления
описания процесса реализации идеи, а также качественных характеристик делового
проекта и возможного эффекта от реализации такого проекта.
В данном дипломном проекте
выполняется технико-экономическое обоснование, включающее в себя следующие
этапы:
1.
анализ рынка
выпускаемой продукции;
2.
технические
характеристики и технология производства продукции;
3.
обоснование
выбора организационной структуры;
4.
обоснование
потребности в производственных ресурсах;
5.
оценка
финансово-экономической эффективности проекта.
Определение ёмкости рынка
пластиковой продукции в г. Всеволожск.
Для
определения емкости рынка пластиковой оконной продукции среди населения города Всеволожск,
разделим потребителей на две группы: физические и юридические лица. Выделим
всех возможных потребителей пластиковых окон из группы физических лиц и
разделим их на следующие целевые группы:
- жители типовых жилых
домов, не нуждающихся в капитальном ремонте (в возрасте до 25 лет);
- жители типовых жилых
домов, нуждающихся в капитальном ремонте;
- жители коттеджей.
В табл. 2.1 представим
общее количество жилых домов и окон из расчета одно окно на 12 м2
и распределим их согласно статистическим данным.
Таблица
2.1
Распределение жилых домов
|
Наименование
жилой площади
|
Процентное
соотношение количества домов, %
|
Кол-во
домов, шт.
|
Общая
площадь, тыс.м2
|
Кол-во
окон в домах, шт.
|
|
Общая
жилая площадь
|
100
|
6389
|
2322,5
|
193542
|
|
Типовое
жилье, в том числе
|
9
|
556
|
1992,25
|
166021
|
|
-
нуждающееся в капитальном ремонте
-
не нуждающееся в капитальном ремонте
|
6
3
|
379
177
|
1355,25
637,0
|
112937
53084
|
|
Частный
сектор
|
91
|
5833
|
330,25
|
27520
|
Из группы юридических лиц
выделяют следующих потребителей:
- офисы,
- домостроительные организации,
- предприятия торговли (магазины).
Для определения возможного спроса
каждой целевой группы физических и юридических лиц, определим количество
квартир находящихся в этих группах. Данные представим в табл. 2.2.
Таблица
2.2
Количество квартир находящихся в разных целевых группах
|
Разновидность
жилья
|
Количество
квартир (домов, магазинов) на 2009 г.
|
Количество
квартир (домов, магазинов) на 2010 г.
|
|
Квартиры в
типовых жилых домах нуждающиеся в капитальном ремонте
|
20350
|
20850
|
|
Квартиры в
типовых жилых домах не нуждающиеся в капитальном ремонте
|
10300
|
9800
|
|
Строительство
типовых жилых домов
|
15,5 тыс.м2,
что составило 280 квартир
|
15,6тыс.м2,
что составило 290 квартир
|
|
Коттеджи
|
Прирост 8
домов
|
Прирост 16
домов
|
|
Офисы,
магазины
|
Прирост 10
штук
|
Прирост
19штук
|
Для определения количества
потребителей проживающих в типовом жилье воспользуемся двумя способами
определения: статистическим и расчетным.
1.
На основании
статистических данных проведем классификацию потребителей по их доходу. Данные
приведем в табл. 2.3.
Таблица
2.3
Классификация
потребителей по доходу
|
Доход потребителей
|
Количество
работающих, с данной заработной платой, %
|
Количество
работающих, с данной заработной платой, чел.
|
|
10-15 тыс. руб.
|
10
|
1314
|
|
15-20тыс. руб.
|
20
|
6570
|
|
20- 30 тыс. руб.
|
20
|
13140
|
|
30-40 тыс. руб.
|
25
|
16420
|
|
50 тыс. руб.
|
23
|
1511
|
|
100 тыс. руб.
|
2
|
1314
|
|
Итого
|
100
|
37317
|
Из приведенных данных выявляется, что
количество потребителей с доходом свыше 30 тысяч рублей составляет 19245
человек, то есть около 9620 семей. Из них около 5 процентов уже имеют установленные
пластиковые окна в домах. Следовательно, потенциальный спрос на оконную
продукцию будет составлять около 46740 окон.
2. Общее количество
потребителей работающих на наиболее крупных предприятиях города, где средняя
заработная плата не меньше 30000 тысяч рублей, составляет около 22 тысяч
работающих, то есть 10-11 тысяч семей. Потенциальная емкость рынка будет равна
в среднем 31500 окон.
Расхождения между
статистическим и расчетным методом составляет 15240 окон, следовательно,
потенциальная емкость рынка в среднем составляет 39120 окон.
Для определения ежегодной
потребности в установке пластиковых окон в квартирах, проведем анкетирование
населения. Итоги анкетирования представим в табл. 2.4.
Таблица
2.4
Итоги
анкетирования
|
Основные
вопросы анкеты
|
Количество
положительных ответов, %
|
|
Желают поставить окна в
этом году
|
8
|
|
Поставят в ближайшее
время
|
7
|
|
Установят в следующем
году
|
15
|
|
Хотели бы поставить
сейчас, но планируют позже
|
35
|
|
Уже установили
пластиковые окна
|
35
|
|
Итого
|
100
|
На основании проведенного
анкетирования можно рассчитать годовую емкость рынка, она будет составлять 12,8
процентов, а именно 5007 окон.
В городе за год сдается 280-290
квартир, из них больше 70 процентов это типовое жилье – одно, двух, трех,
четырехкомнатные квартиры стандартной планировки. При их строительстве
используются недорогие материалы, в частности – деревянные окна, для снижения
себестоимости. И около 30 процентов так называемых «элитных» домов, отделка
которых производится с использованием дорогих материалов, в частности взамен
деревянных окон ставятся пластиковые окна.
Основываясь на статистических данных,
мы видим, что наблюдается тенденция увеличения открытия новых магазинов и
офисов. Если тенденция роста будет сохраняться, мы можем спрогнозировать объем
реализации пластиковых окон в этой группе на уровне до 1000 штук в год.
В группе строительства коттеджей
наблюдается тенденция его увеличения, так в 2009г. потребность пластиковых окон
в этом рыночном сегменте составила 550 окон, а в 2010 г. она составила 1120
окон. Исходя, из этих данных можно спрогнозировать спрос на оконную продукцию
на 2011 год в размере 1000- 1500 окон.
Проанализировав спрос на рынке
оконной продукции, мы можем сделать вывод, что общая потребность на рынке в
пластиковых окнах составляет 39120 окон для домашних хозяйств и 530 для
юридических лиц.
Анализ конкуренции на рынке
пластиковой продукции.
Сегодня предложение в секторе
«пластиковых изделий» необычайно разнообразно и широко. Если хорошо
присмотреться, то здесь можно увидеть разнообразие торговых марок: есть тут и германское
оборудование, и есть из России. Однако по-настоящему на сетевом рынке России присутствуют
все-таки несколько популярных брендов. Как правило, эта популярность добыта
многолетней работой на рынке, четкой системой дистрибьюции, разветвленной
партнерской сетью, стабильностью поставщиков.
На рынке оконной
продукции из ПВХ г. Всеволожск насчитывается 8 крупных фирм, доля которых на
рынке составляет 95
процентов от общего объема продаж, остальные 5
процентов приходятся на долю иногородних представителей.
Для выявления наиболее сильной позиции одной из конкурентных фирм, проведем
анкетирование возможных потребителей пластиковой продукции по пятибалльной
системе, чем выше мнения эксперта о фирме, предлагаемой ею продукцией и характеристиках
продукции, тем выше ее оценка. Основных конкурентов и продолжительность
их работы на рынке ПВХ окон приведем в табл. 2.5.
Таблица 2.5
Перечень
конкурентов и продолжительность их работы
|
Наименование
фирмы
|
Количество отработанных лет на рынке
|
Балльная
оценка
|
|
«Окносервис»
|
5
|
4
|
|
«ВЕКОН»
|
6
|
5
|
|
«Sпласт»
|
3
|
3
|
|
«Дом'ОК»
|
3
|
3
|
|
«Кронос»
|
2,5
|
2
|
|
«Краоль»
|
3
|
3
|
|
«Алокс»
|
1
|
1
|
|
«ФОРТА»
|
3
месяца
|
1
|
|
«ПЕТРО-ВИД»
|
0
|
0
|
Из табл. 2.5 можно сделать вывод, что
дольше всех на рынке пластиковых окон работают фирмы «ВЕКОН»
и «Окносервис», у них самые высокие балльные оценки.
Анализируя характеристики
предлагаемой оконной продукции можно выявить два основных критерия оценки окна
- количество камер в профиле и количество камер в стеклопакете. Профиль, из
которого выполнены рама и створки окна отвечает за теплоизоляцию. Чем больше
камер в профиле, тем выше его теплоизоляционные характеристики. Однокамерный
стеклопакет состоит из двух стекол, двухкамерный состоит из трех стекол.
Стеклопакет также отвечает за тепло и шумоизоляцию, чем больше камер в
стеклопакете, тем выше его шумоизоляционные характеристики.
Продукция фирм предлагающих на рынке
окна из четырех, пятикамерного профиля и двухкамерного стеклопакета наиболее
подходит для местного климата, но как правило окна с такими характеристиками
стоят на рынке намного дороже, чем окна из трехкамерного профиля и
однокамерного стеклопакета.
Одним из важнейших критериев оценки
конкурентов является оценка характеристик предлагаемой ими продукции. Основные
характеристики пластиковых окон, оцененные по пятибалльной системы, представим
в табл. 2.6.
Таблица 2.6
Основные
характеристики пластиковых окон
|
Наименова-ние
фирмы
|
Марка
используемого профиля
|
Бал-льная
оцен-ка прес-тиж-ности
|
Количест-во
камер в профиле
|
Количество
камер в стеклопакете
|
Бал-льная
оценка шумо-изоля-ции
|
Марка
исполь-зуемой фурниту-ры
|
Балльная
оценка надежности (по 5-бал-льной системе)
|
|
1
|
2
|
3
|
4
|
5
|
6
|
7
|
8
|
9
|
|
«Окно сервис»
|
«Artek»
|
4
|
5
|
5
|
2
|
5
|
«Roto»
|
5
|
|
«ВЕКОН »
|
«Aluplast», «Gealan», «Salamander»
|
4
|
3
3
4
|
4
|
1
2
|
5
|
«Galaksiv»
|
4
|
|
«Sпласт »
|
«Gealan»
|
3
|
3
|
3
|
1
2
|
5
|
«Galaksiv»
|
4
|
|
«Дом'ОК »
|
«Rehau»
|
5
|
4-5
|
5
|
2
|
5
|
«Roto»
|
5
|
Продолжение таблицы 2.6
|
1
|
2
|
3
|
4
|
5
|
6
|
7
|
8
|
9
|
|
«Кронос»
|
«Gealan»
|
3
|
3
|
3
|
2
|
5
|
«Hoppe»
|
4
|
|
«Краоль »
|
«Aluplast», «Gealan», «Salaman.»
|
4
|
3
3
4
|
4
|
1
2
|
5
|
«Roto»
|
5
|
|
«Алокс»
|
«Rehau»
|
5
|
4
|
4
|
2
|
5
|
«Roto»
|
5
|
|
«ФОРТА»
|
«Veko»
|
4
|
3
|
3
|
2
|
5
|
«Hoppe»
|
4
|
|
«ПЕТРО-ВИД»
|
«
Proplex»
|
4
|
3
4
5
|
5
|
1
2
|
5
|
«Roto»
|
5
|
Анализ ценовой политики в
г. Всеволожск, фирм занимающихся продажей пластиковых окон начнем с
рассмотрения цен на предлагаемые конфигурации оконной продукции. Цены на
различные виды пластиковых окон приведем в табл. 2.7.
Таблица 2.7
Цены на различные виды оконной продукции
|
Наименование фирмы
|
Стоимость окна, руб. и балльная оценка (по 5-балльной системе)
|
|
двустворчатое поворотно-откидное окно
|
балльная оценка стоимости окна
|
трехстворчатое поворотно-откидное окно
|
балльная оценка стоимости окна
|
балконный блок
|
балльная оценка стоимости окна
|
|
1
|
2
|
3
|
4
|
5
|
6
|
7
|
|
«Окносервис»
|
от 10000
|
2
|
от 12500
|
2
|
от 15000
|
2
|
|
«ВЕКОН»
|
от 6500
от 8000
|
4
|
от 8500
от 9500
|
4
|
от 12000
от 13000
|
4
|
|
«Sпласт»
|
от 7900
|
3
|
от 10000
|
3
|
от 13000
|
3
|
|
«Дом'ОК»
|
от 9500
|
2
|
от 12500
|
2
|
от 15000
|
2
|
|
«Кронос»
|
от 7500
|
3
|
от 9800
|
3
|
от 12500
|
4
|
Продолжение
таблицы 2.7
|
1
|
2
|
3
|
4
|
5
|
6
|
7
|
|
«Краоль»
|
от 7500
|
3
|
от 9500
от 11500
|
3
|
от 12000
от 14500
|
3
|
|
«Алокс»
|
от 10000
|
2
|
от 13000
|
1
|
от 15500
|
2
|
|
«ФОРТА»
|
от 8500
|
3
|
от 12000
|
2
|
от 14000
|
2
|
|
«ПЕТРО-ВИД»
|
от 6200
от 7000
от 7600
|
4
|
от 9800
от 10900
от 12000
|
3
|
от 11500
от 12500
от 13500
|
5
|
Анализируя ценовую
политику фирм работающих на данном рынке можно сделать вывод, что в фирмах «Окносервис»
и «Алокс» самые высокие цены на оконную продукцию это связано с тем, что они
придерживаются политики максимизации прибыли.
Фирмы «Краоль», «ФОРТА»,
«Sпласт» и «Дом'ОК» сформировали «среднюю» цену на рынке пластиковых окон.
Самые низкие цены на окна предлагает фирма «ВЕКОН» и «ПЕТРО-ВИД»,
в связи с этим их ценовую политику на рынке можно обозначить как политику
максимального расширения оборота.
Одним из главных факторов
влияющих на формирование цен на рынке, является фактор предлагаемых
дополнительных услуг, которые входят в цену товара. Этот фактор оказывает
существенное влияние на потребителя при покупке окна, так как в дополнительные
услуги входит монтаж окна, материалы, используемые при монтаже и сопутствующие
аксессуары. Если фирма не предлагает комплекта дополнительных услуг, то ее
обязательства перед покупателем заканчиваются непосредственно после доставки
товара.
Комплект дополнительных
услуг входящих в стоимость окна приведем в приложении 1.
Полный комплект
дополнительных услуг на рынке пластиковых окон не предлагает ни одна фирма.
Фирмы при среднерыночной цене пластикового окна от 7500 рублей предлагают
только монтаж и установку слива. Гарантийные обязательства входят в комплект
только у фирм «Окносервис», «Алокс» и «ВЕКОН». ООО «ПЕТРО-ВИД»
кроме минимального пакета дополнительных услуг предлагает своим потребителям
гарантийное обслуживание в течение 3 лет и постгарантийное обслуживание.
Для определения
значимости качественных характеристик продукции, проведем анкетирование
потребителя. На основании проведенного анкетирования и балльных оценок,
отраженных в табл. 2.6 и 2.7 приведем сводную ведомость оценок в табл. 2.8.
Таблица
2.8
Сводная ведомость балльных оценок
|
Наименование фирмы
|
Имидж
фирмы
|
Качество
используемых материалов
|
Стоимость
окна
|
Комплект
дополнительных услуг
|
|
«Окносервис»
|
4
|
5
|
5
|
5
|
4
|
2
|
2
|
2
|
5
|
5
|
5
|
2
|
3
|
0
|
|
«ВЕКОН»
|
4
|
4
|
5
|
4
|
5
|
4
|
4
|
4
|
5
|
5
|
5
|
2
|
4
|
0
|
|
«Sпласт»
|
3
|
3
|
3
|
5
|
4
|
3
|
3
|
3
|
5
|
2
|
5
|
2
|
0
|
0
|
|
«Дом'ОК»
|
3
|
5
|
5
|
5
|
5
|
2
|
2
|
2
|
5
|
5
|
5
|
2
|
0
|
0
|
|
«Кронос»
|
2
|
3
|
3
|
5
|
4
|
3
|
3
|
4
|
5
|
5
|
5
|
2
|
0
|
0
|
|
«Краоль»
|
2
|
4
|
4
|
5
|
5
|
3
|
3
|
3
|
5
|
2
|
5
|
2
|
0
|
0
|
|
«Алокс»
|
1
|
5
|
4
|
5
|
5
|
2
|
1
|
2
|
5
|
5
|
5
|
2
|
0
|
0
|
|
«ФОРТА»
|
1
|
4
|
3
|
5
|
4
|
3
|
2
|
2
|
5
|
2
|
5
|
2
|
3
|
0
|
|
«ПЕТРО-ВИД»
|
0
|
4
|
5
|
5
|
4
|
3
|
5
|
5
|
5
|
5
|
2
|
3
|
5
|
Для определения наиболее
важного критерия оценки качественных характеристик пластиковых окон из
рассмотренных, проведем анкетирование потребителя. Результатом анкетирования
стало следующее расположение качественных характеристик:
- имидж фирмы – 5
процентов;
- цена – 30 процентов;
- качество – 50
процентов;
- сервис – 15 процентов.
В табл. 2.9 приведем
расчеты среднего балла (итоговой оценки), на основе проведенного анкетирования,
для выявления наиболее конкурентоспособной фирмы.
Таблица
2.9
Расчет
итоговой оценки конкурирующих фирм
|
Наименование фирмы
|
Имидж
фирмы
|
Качество
используемых материалов
|
Стоимость
окна
|
Комплект
дополнительных услуг
|
Итоговая
оценка
|
|
«Окносервис»
|
20
|
950
|
180
|
300
|
1450
|
|
«ВЕКОН»
|
20
|
900
|
360
|
315
|
1595
|
|
«Sпласт»
|
15
|
750
|
270
|
210
|
1245
|
|
«Дом'ОК»
|
15
|
1000
|
180
|
255
|
1450
|
|
«Кронос»
|
10
|
750
|
300
|
255
|
1315
|
|
«Краоль»
|
10
|
900
|
270
|
210
|
1390
|
|
«Алокс»
|
5
|
950
|
150
|
255
|
1360
|
|
«ФОРТА»
|
5
|
800
|
210
|
255
|
1270
|
|
«ПЕТРО-ВИД»
|
0
|
950
|
360
|
375
|
1685
|
На основании проведенного
анкетирования, выявляется, что наиболее высокий средний балл (итоговую оценку)
получила фирма «ПЕТРО-ВИД», следовательно, она является наиболее
конкурентоспособной. Далее отдано предпочтение таким фирмам, как «Окносервис»,
«ВЕКОН» и «Дом'ОК». На основании проведенного анализа конкуренции можно
предположить, что фирма «ПЕТРО-ВИД» будет использовать 50 процентов от общей емкости рынка,
что составляет 2510 окон.
Разработка рекламной
кампании.
В большинстве случаев цель рекламы
заключается в том, чтобы способствовать увеличению объемов реализации
рекламируемых товаров и услуг потребителям.
Для достижения целей формирования у
потребителей определенного уровня знаний о пластиковой оконной продукции,
побуждения потребителей обратиться к нашему предприятию, побуждения к
приобретению пластиковой оконной продукции в фирме «ПЕТРО-ВИД», ускорению
товарооборота, более всего соответствует стимулирующая реклама. Она направлена
в основном на стимулирование, поощрение потребностей покупателей. Именно
поэтому действие этого вида рекламы ограничено, она должна быть адресована как
можно точнее пользователям или конечным потребителям именно нашего продукта. В
ней нужно подчеркнуть сколько возможных конфигураций пластиковой продукции
может предложить фирма «ПЕТРО-ВИД», насколько ниже цена на продукцию по
сравнению с другими фирмами, наличие гарантийного и постгарантийного
обслуживания.
На данный момент точное представление
о пластиковой оконной продукции имеется, только у ее производителя, частичное
у потребителей уже поставивших пластиковые окна и неполное и часто ошибочное у
возможных потребителей. Для формирования более полного представления у
потребителя о пластиковой оконной продукции и создания имиджа, рекламная
информация фирмы «ПЕТРО-ВИД» должна содержать информацию по следующим вопросам:
- что влияет на шумо и теплоизоляцию;
- что такое пластиковый профиль;
- какое количество камер в профиле
предлагает фирма;
- что такое стеклопакет;
- какова цена на предлагаемую
продукцию;
- предлагается ли гарантийное и
постгарантийное обслуживание.
Следовательно, направляя рекламную деятельность
на информированность покупателя, фирма «ПЕТРО-ВИД» не только создаст представление
потребителя о продукции, но и будет единственной, кто обратит на это внимание,
то есть привлечет внимание потребителей к себе, а именно создаст себе имидж.
При выходе на рынок фирма «ПЕТРО-ВИД»
будет проводить политику информативной рекламы. Она обеспечит продвижение
товара на начальной стадии и создаст первичный спрос на продукцию. На этой
стадии предполагается использовать наиболее эффективные средства, которые
позволят охватить наибольшую аудиторию потенциальных потребителей: прокат
рекламных роликов, наружная реклама, реклама на радио.
В табл. 2.10 представим затраты на
рекламную компанию фирмы за год.
Таблица
2.10
Затраты на рекламную компанию в год
|
Наименование
|
Цена за единицу
руб/мес
|
Продолжительность
проката в год, месяцев
|
Стоимость, рубли
|
|
Наружная
реклама (щит)
|
2500
|
3
|
7500
|
|
Реклама на
телевидении, в том числе
Ролик, за
месяц проката
|
8000
|
2
|
16000
|
|
Бегущая
строка
|
4500
|
2
|
9000
|
|
Реклама на
радио
|
2100
|
1
|
2100
|
|
Реклама в
печатных изданиях
|
1500
|
2
|
3000
|
|
Итого
|
|
|
37600
|
Целью рекламной стратегии будет
являться формирование избирательного спроса на нашу марку товара. Реклама фирмы
будет направлена на убеждение потребителей в том, что именно качественные
характеристики нашей продукции выше, чем у конкурирующих фирм. Рекламная
стратегия на последующие периоды работы должна напоминать и поддерживать у
потребителя мнение о правильности сделанного выбора в пользу покупки окон нашей
марки.
Стандартная конструкция оконного блока включает стационарную
контурную обвязку – коробку
(в ряде источников – раму), подвижно закрепленные на ней элементы – переплеты (в зарубежной технической
документации – створки),
а также элементы остекления
(обычно в виде стеклопакета) и фурнитуру.
В зависимости от площади проема и действующей ветровой нагрузки, в конструкцию
коробки (рамы) для обеспечения жесткости, вводят промежуточные вертикальные
элементы – импосты и
горизонтальные – поперечины.
Дополнительно в оконном блоке могут быть установлены устройства для вентиляции
и различные защитные экраны.
По типу открывания окна подразделяются на поворотные,
поворотно-откидные, откидные, распашные, раздвижные и глухие; по конструкции переплетов на одинарные,
спаренные, раздельные и раздельно-спаренные.
Кроме того, все светопрозрачные
конструкции подразделяются по материалу используемых в них профилей.
Оконные и витражные светопрозрачные
конструкции в зависимости от материала и типа сечения оконных коробок и створок
относятся к той или иной системе
оконных профилей. Под системой оконных профилей будем понимать совокупность
профилей различного назначения, подразделяемых на основные и дополнительные и
выпускаемых определенным производителем.
В качестве материала для изготовления
оконных профилей в традиционных окнах, применявшихся в России до настоящего
времени, использовалось дерево, в современных системах – поливинилхлорид
(ПВХ). ПВХ – профиль производится из безвредных исходных материалов – это
этилен и поваренная соль. Различные добавки в небольшом количестве к основным
материалам необходимы для придания конечному продукту высоких эксплутационных качеств:
долговечность, устойчивость цвета, пластичность при низких температурах,
изменение линейных размеров, ударная вязкость и т.д.
В связи с тем, что показатель модуля
упругости твердых ПВХ – профилей низкий, во внутренние полости их вводится
усиливающий стальной профиль с антикоррозийными свойствами.
ПВХ – профили, использующиеся для
производства окон, дверей, фасадных ограждений в российских условиях имеют от
3-х и более камер, разделяющих профиль в сечении. Пластиковое окно в разрезе
представлено на рисунке 2.1
Рис. 2.1.
Пластиковое окно в разрезе.
Составные части пластикового окна.
1. Уплотнитель. Проходит по всему
периметру рам и створок. Обеспечивают надежную воздухо и водонепроницаемость. В
основном бывают черного или серого цвета.
2.Штапик. Прижимная планка
стеклопакета, съемная. Надежно защелкивается в специальный паз. Бывает разной
конфигурации, в зависимости от толщины стеклопакета.
3. Профиль створки. Открывающийся
элемент окна. Бывает белым и ламинированным под дерево или в цвет по таблице
Renolit. Имеет три или более воздушных камер. Средняя камера предназначена для
армирующего профиля.
4. Армирующий стальной профиль.
Вставляется во внутреннюю камеру профилей (створки, рамы, импоста). Придает
конструкции окна жесткость.
5. Профиль рамы. Фактически образует
периметр окна или двери (коробку). Бывает белым и ламинированным под дерево или
в цвет по таблице Renolit. Имеет три или более воздушных камер. Средняя камера
предназначена для армирующего профиля. В зависимости от количества камер имеет
различную ширину.
6. Специальные пазы на профиле рамы
для дополнительных профилей (соединителей, расширителей) а также для монтажа
отлива и подоконного профиля.
7. Стеклопакет. Герметичное
соединение двух или трех стекол с воздушными или газонаполненными прослойками
между ними (камерами). Стеклопакеты из двух стекол – однокамерные, из трех
стекол – двухкамерные.
8. Фальц подкладки и выравнивающие
мостики стеклопакета. Служат для надежной посадки стеклопакета в окне и для его
расклинки.
9. Паз для установки фурнитуры
(запорные механизмы).
10. Наклонный фальц рамы. Служит
для оттока влаги с внутренней полки коробки окна.
11. Путь отвода влаги наружу или
вниз( на наружный металлический отлив).
Форма основных профилей выдержана в
«классическом» стиле, со скошенными кромками внешних поверхностей. Комбинации
профилей имеют современный внешний вид и отличаются строгостью и экономностью
очертаний. Профили коробки, створки и импоста имеют 4 внутренние камеры,
причем внешняя и две внутренние камеры разделены поперечными перегородками на
отдельные подкамеры. Основная камера, где располагается стальной армирующий
профиль (вкладыш), отличается от аналогов тем, что ее боковые стенки имеют
дугообразную форму.
Благодаря такой форме, а также
наличию упоров в основной камере стальной вкладыш имеет минимальную поверхность
контакта с внутренними перегородками, что увеличивает теплоизоляционные
свойства ПВХ профиля.
Дополнительная четвертая камера
способствует сохранению тепла в направлении перпендикулярно плоскости окна.
Дополнительная воздушная прослойка уменьшает локальное понижение температуры
внутренней поверхности профиля, из-за стока тепла по металлу армирующего
вкладыша. Это обеспечивает более высокие теплозащитные свойства окон и более
равномерное распределение температуры на их внутренней поверхности.
Высота наружной лицевой части профиля
коробки составляет 68 мм, на рис. 2.2 представим комбинацию профилей коробки и
створки.
Рис. 2.2. Комбинация профилей
коробки и створки.
Учитывая, что высота «четвертей»
оконных проемов в российских стенах, как правило, 60-65, это обеспечивает
оптимальные условия для монтажа окон, так как одновременно позволяет
реализовать установку окна с «тонкими» очертаниями коробки при оптимальной
ширине монтажных швов (10-20 мм).
Наличие на нижней части коробки
специальных пазов-зацепов позволяет использование, при необходимости,
подставочных, расширительных и прочих дополнительных профилей других систем.
Новая система,
объединяет новые технические решения, с уже опробованными, и хорошо себя
зарекомендовавшими: два контура уплотнения по упорным поверхностям, штапики на
одной ножке, гладкий скошенный фальц и др..Благодаря высоте наплава коробки 20
мм, достигается оптимальная ширина прилегания наружного уплотнения (не менее 7
мм), что в сочетании с эффективным прилеганием внутреннего уплотнения
обеспечивает высокую степень воздухо- и водонепроницаемости притвора и
конструкции в целом.
Основными чертами конструкций из
ПВХ-профилей являются:
Долговечность, устойчивость ко всем
видам метеорологических воздействий (особенно важно в условиях повышенной
влажности), герметичность всех швов и стыков, высокие показатели по тепло- и
звукоизоляции, окна не требуют специального ухода, окраски.
Остекление для повышения
теплоизоляции выполняется теплозащитным стеклом в 2-х камерном стеклопакете.
Фурнитурная техника находится в боковой сухой зоне, куда влага не проникает.
Воспрепятствовать неконтролируемому обмену воздуха или сквознякам, прежде
всего, помогают уплотнения в притворе. Трехкамерные профили являются
гарантированной защитой от проникновения холода. Сочетание таких рамных и
створочных конструкций, дополняемое высококачественным стеклопакетом, создает
эффективную теплоизоляцию окон. Однако, для максимального использования их
преимуществ, окончательную косметическую отделку в примыканиях необходимо
проводить с использованием высококачественных материалов и по специальной
технологии .
Производство изделий из ПВХ разбито
на несколько основных производственных участков:
- участок заготовки
- участок сварки изделий из ПВХ
- участок зачистки углов изделий из
ПВХ
- участок установки импостов
- участок установки уплотнительной
резины
- участок установки фурнитуры
- участок сборки створки и рамы
- участок установки готовых
стеклопакетов и общий контроль сборки окна.
Участок заготовки.
На этом участке производятся
следующие операции:
1. Операция раскроя профильных групп.
Армирующий профиль раскраивается на заготовки согласно бланка заказа, которые
маркируются и устанавливаются в специальную пирамиду таким образом, чтобы
обеспечить к ним свободный доступ. Раскрой производится на столе специальным
маркером. Ручная операция, продолжительность 0,083 часа, трудоемкость 0,167
чел.-час.
2.Операция нарезки заготовок ПВХ
производится согласно, бланка заказа с учетом запаса на сварку 5-6 мм, (припуск
на сварку является параметром, зависящим от настройки сварочного станка и может
находиться в пределах от 2,5 до 3 мм на сторону). Рамный и створочный профили
нарезаются под углом 45°. Нарезка производится на пиле для ПВХ профиля
«METEOR». Машинно-ручная операция, продолжительность 15 станко-мин.,
трудоёмкость 0,25 чел.-час.
3. Операция нарезки армирующего
профиля. Импост нарезается под углом 90° с учетом запаса на выступы с каждой
стороны, по 2,5 – 6 мм на сторону. Нарезка армирующего профиля производится на
пиле для нарезки металлического профиля «SPARK». Машинно -ручная операция,
продолжительность 10 станко-минут, трудоемкость 0,167 чел.-час.
4. Операция нарезки штапика.
Производится на пиле для резки штапика «ORCA». Операция машинно-ручная,
продолжительность 5станко-минуты, трудоемкость 0,083 чел.-час.
5. Операция фрезеровки всех
необходимых отверстий в заготовках ПВХ, а именно дренажных и вентиляционных
отверстий, отверстий под установку основного запора, отверстий под личинку
замка на входных дверях. Фрезеровка производится на дренажно-фрезерном станке
«OMEGA». Операция продолжительностью 5 станко-минут, трудоемкость 0,083
чел.-час. Машинно -ручная операция.
6. Операция установки необходимого по
длине армирующего профиля в заготовки ПВХ, согласно маркировке на профиле и
закрепления армирующего профиля саморезами с бурголовкой 3,9 х 16 (3,9 х 19)
мм. Продолжительность 5 станко-минут, трудоемкость 0,25 чел.-час. Производится
на пневмобормашине «OSAKA». Машинно -ручная операция.
7. Операция продувки заготовок
профилей сжатым воздухом. Производится на компрессоре и продолжительность 1
станко-минута, трудоемкость 0,034 чел.-час. Машинно -ручная операция.
Качество выпускаемых изделий
закладывается уже на участке заготовки. Профили, используемые для нарезки
заготовок, не должны иметь повреждений. Защитная пленка не должна иметь
повреждений. Габаритные размеры сечения профиля должны полностью
соответствовать табл. допустимых отклонений профилей. Применять в производстве
изделий из ПВХ профили, имеющие отклонения в сечениях недопустимо.
Участок сварки изделий из ПВХ.
Сварка профилей производится при
помощи специальных станков. Сварочные станки могут иметь одну, две, или четыре
сварные головки. Наиболее производительным является станок с четырьмя
сварочными головками, т.к. процесс сварки изделия происходит за один цикл. На двухголовочном
станке сварка происходит за два цикла, а на одноголовочном соответственно за
четыре цикла. В процессе сварки необходимо строго выдерживать необходимые условия
сварки:
- температура сварного ножа 230 –
250 °С;
- поверхность ножа должна быть
чистой;
- тефлоновое покрытие ножа протирают
чистым хлопком или бумажным полотенцем каждый час, на «горячую», без
использования растворителей;
- время разогрева шва – 25 – 40
сек.;
- время сварки шва – 25 – 40 сек.;
1. Операция зачистки поверхности профиля.
Перед установкой заготовок на сварочный станок необходимо убедиться в чистоте
свариваемых поверхностей, так как смазка, пыль, стружка ПВХ или металла резко
ухудшают качество сварки угла. Ручная операция ,продолжительность 8 минут,
трудоемкость 0,27 чел.-час.
2. Операция сварки рамного профиля,
производится на станке для сварки ПВХ профиля «ORION» и продолжительность 4
станко-минут, трудоемкость 0,134 чел.-час. Операция машинно-ручная.
3. Операция сварки створочного
профиля, производится на станке для сварки ПВХ профиля «ORION» и
продолжительность 4 станко-минут, трудоемкость 0,134 чел.-час. Операция
машинно-ручная.
4. Операция контроля соответствия
габаритных размеров изделий на столе, согласно бланка заказа. Ручная операция,
продолжительность 2 минуты, трудоемкость 0,07чел.-час.
Участок зачистки углов изделий из
ПВХ.
1. Операция зачистки углов изделий.
Зачистку углов изделий проводят вручную или на специальном станке. При зачистке
вручную применяют стамеску с узким лезвием и специальный нож серповидной формы.
При зачистке углов зачистными автоматами необходимо обращать внимание на
лицевые поверхности профиля, чтобы не происходило их повреждение фрезами.
Зачистка происходит на углозачистном фрезерном станке «ORBIT-I» и продолжительность
8 станко-минут, трудоемкость 0,27 чел.-час. Машинно -ручная операция.
После окончания зачистных работ и
контроля качества зачистки, изделия устанавливаются на специальные стойки
промежуточного хранения.
Участок установки импостов.
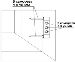
1. Операция установки соединителя импоста
и разметки мест установки импоста. Производится разметка мест установки
импоста. Разметку проводят от одного края рамы и затем контролируют расстояние
с другой стороны рамы. По специальному кондуктору сверлится отверстие под
саморез 5 х 70 мм. В системе Proplex импост присоединяется при помощи
металлических системных соединителей рис. 2.3.
В профиле импоста имеются специальные
отверстия, к которым при помощи двух шурупов 5 х 40 (4 х 40) мм присоединяются
соединитель импоста. Иногда при монтаже применяют саморезы 4 х 25 мм, что
ослабляет крепление соединителя к импосту. Операция машинно-ручная,
продолжительность 3 станко-минут, трудоемкость 0,1 чел.- час.
Рис. 2.3. Присоединение импоста.
2. Операция присоединения импоста к
профилю. Импост с соединителем заводится внутрь рамы и устанавливается строго
по разметке.
Соединитель импоста прикрепляется к
рамному профилю при помощи 4-х саморезов 4 х 25 мм. В заранее просверленное
отверстие в рамном профиле заворачивается саморез 5 х 70 мм. При установке
импостов в рамный профиль с армирующим, четыре крепежных самореза будут
вворачиваться только в пластик. Для надежности крепления применяется
дополнительный крепеж соединителя импоста саморезом 5 х 70 мм. В случае
установки импоста в створку или на импост четыре крепежных самореза 4 х 25 мм
вкручиваются в металлический армирующий профиль. В этом случае дополнительный
крепеж 5 х 70 мм не требуется.Если импост установлен правильно, то следует
переходить к установке уплотнительной резины. Операция машинно-ручная,
продолжительность 3 станко-мин, трудоемкость 0,1 чел.-час.
Участок установки уплотнительной
резины
Установка уплотнительной резины
показана на рис. 2.4
Рис. 2.4 . Установка уплотнительной
резины.
1. Операция установки уплотнительной
резины в паз профиля и фиксация концов резины при помощи клея. Уплотнитель на
створках дополнительно подклеивается по углам. Уплотнение в створочной
конструкции на столе производится единым куском уплотнительной резины.
Погружение уплотнения в паз должно начинаться в середине верхней перекладины
конструкции. Уплотнительная резина вручную заводится в приемный паз таким образом,
чтобы не происходило его растяжения. Стыкуется уплотнитель при помощи специального
клея (А,С). Ручная операция, продолжительность 5 минут, трудоемкость 0,083
чел.-час.
2.Операция сверления отверстий для
выравнивания давления и отвода воды в рамном и створочном профиле. В
конструкции окна с импостом в случае створки в раме необходимо дополнительно
профрезеровать отверстие (можно применить стамеску или ручную фрезерную
машинку) в месте примыкания импоста (В). Здесь же производят сверление
отверстий для выравнивания давления. Отверстия сверлятся по кондуктору в
верхней горизонтальной части рамы в торце наплава и боковой части притвора с
внутренней стороны. Фрезеровка отверстий производится на торцефрезерном станке
«POLAR-III». Операция машинно-ручная продолжительность 5 станко.мин,
трудоемкость 0,083 чел.-час.
Отверстия для компенсации ветрового
давления и отвода воды в глухих окнах покажем на рис. 2.5, 2.6 и 2.7.
Рис.2.5. Отверстия для компенсации
ветрового давления и отвода воды в глухих окнах.
Отверстия для осушения полости между
кромками стеклопакета и фальцами профилей в створке покажем на рис. 2.6.
Рис. 2.6. Отверстия для осушения
полости между кромками стеклопакета и фальцами профилей в створке.
Отверстия для компенсации ветрового
давления и отвода воды в коробке представим на рис.2.7.
Рис.2.7. Отверстия для компенсации
ветрового давления и отвода воды в коробке.
Участок установки фурнитуры.
1. Операция установки угловых
переключателей, соединители запоров, с закреплением саморезами. На створку
устанавливаются угловые переключатели, соединители запоров и средние запоры,
которые закрепляются саморезами 4 х 25 мм. Основной запор обрубается под
необходимый размер с помощью пневматической гильотины. Операция машинно-ручная,
продолжительность 5 станко-минут, трудоемкость 0,17 чел.-час., производится на
пневмошуруповёрте «OSAKA».
2. Операция замера створки по фальцу
и рубки тяги и пробоя отверстия под крепежный саморез. Перед обрубкой рабочий
должен точно отмерить размер створки по фальцу и установить этот размер на
масштабной линейке с помощью шибера. Рубка тяги фурнитуры производится в разных
плоскостях со смещением нижней направляющей относительно верхней. Одновременно
с рубкой происходит пробой отверстия под крепежный саморез в верхней направляющей.
Производится на пневмогильотине, операция машинно-ручная, продолжительность 1
станко-минут, трудоемкость 0,034 чел.-час.
3. Операция установки основного
запора. Основной запор устанавливается на створку и закрепляется саморезами 4 х
25 мм. Все виды фурнитуры изначально имеют специальные фиксаторы, удерживающие
положение фурнитуры в нейтральном положении. Это необходимо для того, чтобы во
время монтажа все составные части фурнитуры правильно стыковались между собой.
Фиксаторы срываются при первом повороте ручки. Производится на пневмошуруповёрте
«OSAKA». Продолжительность 3 станко.мин, трудоемкость 0,1 чел.-час. Операция
машинно-ручная.
Ножницы на створке обрубаются под
необходимый размер, с помощью пневматической гильотины, устанавливаются на
створку и закрепляются саморезами 4 х 25 мм.
4. Операция установки специальных
направляющих. Для правильного позиционирования положения створки относительно
рамы применяются специальные направляющие. Направляющие защелкиваются внутрь
рамы по 2 штуке в каждом углу и затем створку вставляют в раму. Применение
направляющих позволяет грубо оценить правильность изготовления створки и рамы.
Если створка болтается, то, скорее всего, она сделана меньше необходимого
размера или рама сделана больше необходимого размера. Если створку невозможно
вставить в раму, то это говорит об обратном явлении: рама меньше или створка
больше. Операция ручная, трудоемкость 0,017 чел.-час.
5. Операция установки нижней петли.
На створку поворотно-откидного окна, при помощи шаблона, устанавливается часть
нижней петли и закрепляется длинными саморезами 3.9 х 40 мм (при поворотной
створке – части поворотных створок) рис.2.8. Более длинные саморезы применяются
из-за того, что они вкручиваются только в пластик. Саморезы должны как минимум
пройти через две перегородки пластика. Длины самореза 3.9 х 25 мм в данном
случае не хватает. Операция машинно-ручная, продолжительность 5 станко-минут,
трудоемкость 0,083 чел.-час. Производится на пневмошуруповёрте «OSAKA».
Рис.2.8. Установка нижней петли на
створку поворотно-откидного окна.
Участок сборки створки и рамы.
1. Операция установки нижней и
верхней петли на раму. На раму устанавливаются верхняя и нижняя петли, которые
закрепляются саморезами 4 х 25 мм. Операция машинно-ручная, продолжительность 5
станко-минут, трудоемкость 0,083 чел.-час., производится на пневмошуруповёрте
«OSAKA».
2. Операция сборки рамы и створки.
Створка и рама соединяются в единую конструкцию. На раму устанавливаются все
необходимые ответные части.
Визуальная проверка качества установки
фурнитуры. Операция ручная. Про-должительность 10 минут, трудоёмкость 0,334
чел.-час.
3. Операция функциональной проверки
фурнитуры. Функциональная проверка фурнитуры – она должна работать без заеданий
и рывков. Проверяется расстояние между лицевой поверхностью рамы и створки
равное 16,5 мм. Зажатый между створкой и рамой лист бумаги не должен легко
выниматься. Операция ручная, трудоемкость 0,05 чел.-час.
Участок установки готовых
стеклопакетов и общий контроль сборки окна.
1.
Операция
установки стеклопакетов. Установка стеклопакетов в изделия из ПВХ производится
согласно техническим указаниям с помощью подкладок под стеклопакеты. Подкладки
под стеклопакеты предназначены для следующего: распределять вес стеклопакета,
выравнивать таким образом нагрузку на раму, и дополнительно исключать
нежелательные напряжения, возникающие из-за перепада температур, условий
эксплуатации и так далее. Предотвратить возможность отжима створки при ее
взломе. Исключить нежелательный контакт стеклопакета с фальцем рамы или
створки.
Технологию регулировки створок при
установке стеклопакетов представим ниже. В створку устанавливаются подкладки
для выравнивания фальца в те места, где будут установлены подкладки под
стеклопакет, на расстоянии 5 см от углов стеклопакета. Установка подкладок под
стеклопакет покажем на рис. 2.9.
Рис. 2.9 Установка подкладок под
стеклопакет.
Стеклопакет устанавливается в створку
окна на две подкладки толщиной по 5 мм. номер 1 и номер 2. Выравниваем
положение стеклопакета в проеме окна при помощи монтажной лопатки и
устанавливаем подкладки номер 3 и номер 4 толщиной по 5 мм каждая. Вынимаем
подкладку номер 2, при этом весь вес стеклопакета перейдет на подкладку номер
1. Разблокируем ручку и проверяем работоспособность створки.
При провисании створки необходимо:
- вставить монтажную лопатку между
фальцем рамы и верхом стеклопакета;
- нажимая на стеклопакет переместить
верх рамы вверх и установить подкладку номер 6 необходимой толщины;
- проверить работу створки и при
необходимости изменить толщину подкладки номер 6.
При высоте створки более 1,3 м
необходимо установить дополнительные дистанционные подкладки номер 7 и номер 8.
При их установке толщина подкладок подбирается такой, чтобы не происходило
изгиба вертикальных частей створки.
Все подкладки фиксируются небольшим
количеством силиконового герметика. Это необходимо для того, чтобы не
происходило смещения подкладок при установке штапиков и транспортировке.
После установки штапиков в
обязательном порядке необходимо «осадить» капроновым молотком части створки.
Все операции по регулировке створок производят в вертикальном положении на
стенде, на объекте – после монтажа изделия в проеме. Подкладки устанавливаются
на 50 – 70 мм от внутреннего угла по фальцу, при ширине створки более одного
метра можно смещать подкладки до 250 мм от внутреннего угла по фальцу.
- на места установки несущих и
дистанционных подкладок устанавливаются подкладки для выравнивания фальца;
- стеклопакет устанавливают на
несущие подкладки номер 1 и номер 2 толщиной 5 мм;
- монтажной лопаткой выравнивают
положение стеклопакета в проеме рамы;
- подбирают необходимой толщины
дистанционные подкладки номер 3 и номер 4;
- при остеклении глухих конструкций с
горизонтальным импостом необходимо вес верхнего стеклопакета передать на каркас
здания через подкладки и нижний стеклопакет. Для этого сверху нижнего
стеклопакета необходимо поставить дополнительные подкладки номер 5 и номер 6.
После окончательной регулировки
створок и проведения общего контроля качества изготовления изделия контролером
ОТК, изделие отправляется на склад готовой продукции. В случае изготовления
изделия из цветного или ламинированного пластика оно обязательно упаковывается
в картон. Операция ручная, трудоемкость 0,17 чел.-час., продолжительность 10
мин.
2. Операция общего контроля сборки
окна. Окончательная регулировка створок производится на специальном стенде.
Стенд позволяет имитировать условия реальной установки окна в проем. На этом же
этапе необходимо проводить общий контроль качества изготовления изделий.
Операция ручная, трудоемкость 0,083 чел.-час.
Технология монтажа окна в проем.
1. Операция подготовки оконной рамы к
предварительной установке в проем: - перед монтажом защитная пленка должна быть
удалена с внешней стороны изделия;
- с рамы снимаются створки;
- в месте глухого остекления с нее
снимается штапик и вынимается стеклопакет. Операция ручная, продолжительность
10 мин.
2. Операция установки рамы в проем.
Раму с прищелкнутым снизу соединительным профилем вставить в проем. Сдвигая
раму по горизонтали добиться равного зазора по бокам. По уровню и с помощью
технологических клиньев выставить раму в вертикальной плоскости. Подобрать
толщину несущих подкладок – можно использовать подкладки под стеклопакеты.
Изделия устанавливаются строго по уровню, без перекосов и искривлений коробки.
В панельном доме окно сдвигается внутрь помещения, в зону утеплителя, в
кирпичном – в зону второй нитки старой оконной рамы. Операция ручная,
продолжительность 10 мин.
3. Операция разметки рамы для
сверлений отверстий под дюбель. Сделать на раме отметки для сверления отверстий
под дюбель в местах закладных деревянных пробок. С внешней стороны отметить на
раме границу четверти. Операция ручная, продолжительность 5 мин.
4. Операция сверления отверстий под
дюбель. Вынуть раму. По отметкам просверлить отверстия под дюбеля, причем,
чтобы не разбивать отверстия – сверлить снаружи во внутрь рамы. Операция
машинно-ручная, производится на электродрели «Osaka», продолжительность 5 станко-минут
5. Операция установки уплотнительной
ленты. По бокам и сверху на раму со стороны улицы по отметкам наклеить
предварительно сжатую уплотнительную ленту. Ленту наклеить и на нижнюю часть
присоединительного профиля. Если уплотнительная лента не используется, то:
- предусмотреть между рамой и
четвертью зазор 5-7 мм, который в дальнейшем запенивается и силиконится
снаружи;
- в нижней части щель между
присоединительным профилем и проемом также необходимо закрыть силиконом.
Операция ручная, продолжительность 10
мин.
6. Операция выравнивания горизонтального
положения рамы. Оконную раму вставить в проем. Проверить уровнем горизонтальное
положение и закрепить в проеме клиньями. Операция ручная, продолжительность 10
мин.
7. Операция установки дюбелей. По
имеющимся отверстиям засверлить стену под дюбеля. Установить дюбеля. При
затяжке использовать шуруповерты с тарированным моментом и, во избежание
искривления рамы, с противоположной шуруповерту стороны упирать лопатку или
клин. Операция машинно-ручная, производится на электродрели «Osaka», продолжительность 5 станко-мин.
8. Операция запенивания рамы в окне.
Запенить по бокам и сверху шов между рамой и стеной. Учитывать свойство пены
расширяться.
По бокам и сверху вставить бутовочный
шнур. Заглубить его на половину ширины шва между рамой и стеной и это
заглубление просиликонить. Несущие и дистанционные подкладки должны оставаться
на месте после монтажа и иметь такой размер, чтобы после запенивания их не было
видно. Операция ручная, продолжительность 15 мин.
9. Операция установки подоконника.
Подоконник устанавливается на пену. В районе контакта с рамой перед установкой
наносится полоска силикона. Затем подоконник заводится под раму по уровню и
подбивается клиньями снизу и при необходимости распирается сверху. Если
расстояние между подоконником и нижней частью проема велико его можно сократить
до 5-10 мм цементным раствором. Пена закрывается силиконом. Подоконники
устанавливаются под раму с глубиной захода не более 1-го см; в исключительных
случаях допускается установка подоконников впритык к раме; во всех случаях
производится герметизация стыка подоконника с рамой белым силиконовым герметиком;
подоконник устанавливается с минимальным уклоном от окна таким образом, чтобы
пузырек уровня был смещен, но не выходил за центральные риски уровня; края
подоконника в обязательном порядке должны заходить в стену. Операция ручная,
продолжительность 15 мин.
10. Операция установки отлива. Отлив
крепится шурупами к присоединительному профилю через уплотнительную ленту,
мастику или силикон. Желательно применение пены снизу отлива. Операция
машинно-ручная , производится на электродрели «Osaka», продолжительность 5 станко-минут
11. Операция сборки готовой рамы.
Вставить глухое остекление, навесить створки. После отделки откосов изнутри
можно использовать самоклеящиеся нащельники. При соединении рам при помощи
соединительных профилей пленка должна быть удалена с двух сторон изделия в
месте соединения. По окончании монтажных работ производится: обязательная
регулировка створок перепакетчиванием (створки не должны цепляться за ответные
части); проверяется перехлест створок (8 ± 1 мм); регулируется прижим створок –
расстояние от лицевой поверхности створки до лицевой поверхности рамы должно
составлять 16-17 мм. (прижим проверяется зажимом листа бумаги между створкой и
рамой – он не должен легко вытягиваться); в случае не схождения уплотнительной
резины в углах штапиков, производят заделку щели бесцветным силиконовым
герметиком; удаляются остатки защитной пленки с внутренней стороны (чтобы
убедиться в том, что нет трещин на профиле под пленкой); проверяется работа
фурнитуры (фурнитура должна работать плавно, все зацепы должны
функционировать). Операция ручная, продолжительность 15 мин .
На рис. 2.10 покажем подсоединение
окна снизу к проему. На рис.2.11покажем присоединение окна к проему сверху и
сбоку.
Рис. 2.10. Подсоединение окна снизу
к проему.
Рис.
2.11. Подсоединение окна к проему сбоку и сверху.
С началом
производственно-коммерческой деятельности предприятие «ПЕТРО-ВИД» будет
зарегистрировано как ООО «ПЕТРО-ВИД» в ИМНС номер 4 по г. Всеволожск, Ленинградской области. Будет подано
заявление о постановке на учет в налоговый орган, и заявление на применение
упрощенной системы налогообложения, основание: п.2 статья 346.13 НК РФ. Структура
предприятия будет строится по принципу распределения задач подразделений в
зависимости от направления, характера и объема работ.
ООО
«ПЕТРО-ВИД», объектом налогообложения выбирает – доходы, уменьшенные на
величину расходов, налоговая ставка при этом составляет 15 процентов (статья
346.20 НК РФ).
На
рис.2.12. представим организационную структуру ООО «ПЕТРО-ВИД».
Рис.
2.12. Организационная структура ООО «ПЕТРО-ВИД».
Общество
с ограниченной ответственностью «ПЕТРО-ВИД» будет работать на основе Устава и
Учредительного договора. Учредительное собрание состоит из 3 участников. Доля
каждого участника общества в уставном капитале составляет 100000 рублей.
Учредительное собрание является высшим органом управления.
Деятельностью
ООО «ПЕТРО-ВИД» руководит Генеральный директор, представляющий интересы
общества в отношениях с третьими лицами, от имени Общества распоряжается
имуществом, заключает договора, открывает расчетные и иные счета, решает другие
вопросы, не отнесенные к исключительной компетенции Учредительного собрания.
Генеральному
директору подчиняется инженер-технолог и бухгалтер-экономист.
Бухгалтер-экономист
ведет всю финансовую документацию ООО «ПЕТРО-ВИД».
Инженер-технолог
является непосредственным руководителем технологического процесса. Он производит
необходимые расчеты, ведет техническую документацию, занимается планированием
производственного здания, отслеживает состояние склада, осуществляет закупку
комплектующих.
Начальник
участка сборки контролирует исполнение заказов и следит за качеством выполнения
работ.
Функцией
рабочих является качественное выполнение вверенной им задачи.
Расчет
потребности в оборудовании приведем из расчета сменной производительности
оборудования равной 10 3-камерных окон в смену, расчет оборудования приведем в
табл. 2.11.
Таблица 2.11
Расчет потребности в оборудовании
|
Название
|
Единица измерения
|
Количество
|
Стоимость
руб.
|
Годовые
амортизационные отчисления,
20%
|
|
1
|
2
|
3
|
4
|
5
|
|
Автомобиль
|
шт.
|
1
|
140000
|
28000
|
|
Автономный
дренажно-фрезерный станок OMEGA
|
шт.
|
1
|
115200
|
23040
|
|
Компрессор
( Россия)
|
шт.
|
1
|
21600
|
4320
|
|
Компьютер
|
шт.
|
1
|
20000
|
4000
|
|
Копировально-фрезерный
станок GALAXY-II
|
шт.
|
1
|
94400
|
18880
|
|
Осушитель
воздуха DRAY-II
|
шт.
|
1
|
18000
|
3600
|
|
Пила для
нарезки металл. Профиля SPARK
|
шт.
|
1
|
43200
|
8640
|
|
Пила для
ПВХ профиля METEOR
|
шт.
|
1
|
105600
|
21120
|
|
Пила для
резки штапика ORCA
|
шт.
|
1
|
105600
|
21120
|
|
Рольганг
|
шт.
|
6
|
6720
|
1344
|
|
Станок для
сварки ПВХ профиля ORION
|
шт.
|
1
|
182400
|
36480
|
|
Торцефрезерный
станок POLAR-III
|
шт.
|
59200
|
11840
|
|
Углозачистной
фрезерный станок ORBIT-I
|
шт.
|
1
|
200640
|
40128
|
|
Узел
подготовки воздуха
|
шт.
|
1
|
4800
|
960
|
|
Электробормашина
OSAKA
|
шт.
|
1
|
3200
|
640
|
|
Электродрель
OSAKA
|
шт.
|
1
|
4800
|
960
|
|
Электрошуруповёрт
OSAKA
|
шт.
|
1
|
5440
|
1088
|
|
Итого
|
|
|
1130800
|
226160
|
Расчет
объема выпуска приведен на основании проведенного анализа рынка, выявившего
максимальную емкость рынка и с учетом загрузки производственных мощностей к
концу первого года 57,8 процентов эффективного фонда работы оборудования.
Динамику выпуска пластиковой оконной продукции представим в табл. 2.12. и
2.13.
Таблица 2.12
Выпуск пластиковых окон в 2012 году
|
Месяц
Вид
продукции
|
1
|
2
|
3
|
4
|
5
|
6
|
7
|
8
|
9
|
10
|
11
|
12
|
Итого
2012 г.
|
|
Окно из
3-х камерного профиля
|
0
|
0
|
119
|
140
|
175
|
189
|
210
|
245
|
280
|
294
|
315
|
290
|
2257
|
|
Окно из 4-х
камерного профиля
|
0
|
0
|
8,7
|
10
|
12,5
|
13,5
|
15,6
|
17,5
|
20
|
21,5
|
22,2
|
22,5
|
164
|
|
Окно из 5 камерного
профиля
|
0
|
0
|
17
|
20
|
25,1
|
27,3
|
29,8
|
34,5
|
40,3
|
40,3
|
46,2
|
43,5
|
324
|
|
Балконный
блок
|
0
|
0
|
25,5
|
30,2
|
37,5
|
40,5
|
43,8
|
52,5
|
57,9
|
63,7
|
65,2
|
63,2
|
480
|
|
Итого
|
3225
|
Таблица 2.13
Выпуск пластиковых окон с 2013-2016
год, м2
|
Вид
продукции
|
с 2013-2016 год.
|
|
Окно из 3х камерного профиля
Окно из 4х камерного профиля
Окно из 5 камерного профиля
Балконный блок
|
3780
270
540
810
|
|
Итого
|
5400
|
Пластиковое
окно из 3 камерного профиля и 1 камерного стеклопакета занимает 70 процентов производственных
мощностей, окно из 4 камерного профиля и 2 камерного стеклопакета занимает 5
процентов мощностей, доля окон из 5 камерного профиля и 2 камерного
стеклопакета составляет 10 процентов от общей мощности и производство балконных
блоков соответственно 15 процентов.
Временные
параметры работы оборудования составят:
Число
рабочих дней в году 249, режим работы в одну смену, продолжительность смены 8
часов, плановые простои оборудования в ремонте 11%. Эффективный фонд времени
работы оборудования составляет:
-
режимный фонд – это календарный фонд за вычетом потерь, связанных с режимом
работы предприятия (нерабочих дней, смен, перерывов на обед):
F
реж=tраб×n×tсм,
Fреж
- режимный фонд времени,
t
раб - количество рабочих дней в год = 249
n
- количество смен за день = 1
t
см - продолжительность смены, час = 8
Fреж=249×1×8=1992
часа;
-
эффективный фонд – это режимный фонд за вычетом потерь на проведение плановых
ремонтов:
F
эф=Fреж×(1-Крем),
где
Fэф - эффективный фонд времени,
К
рем - доля режимного фонда времени работы оборудования, затрачиваемая на
технические осмотры и ремонты оборудования.
Fэф=1992×(1-0,11)=1773
часа.
Известно, что производственная
мощность оборудования в смену равна 25 м2, что в год составляет 5425
м2.
Коэффициент использования мощности
равен:
2012год: 0,59 (59 процентов)
с 2013-2016год: 0,99 (99 процентов).
Приведем расчет годового фонда
рабочего времени в табл. 2.14.
Таблица 2.14
Расчёт
годового фонда рабочего времени
|
Годовой
фонд рабочего времени
|
Количество
дней
|
|
Календарный фонд
Невыходы по режиму (выходные, праздники)
Фактический фонд рабочего времени
Невыходы
В том числе:
отпуск
Эффективный фонд рабочего времени
|
365
116
249
28
28
221
|
Приведем расчет материальных затрат,
необходимых для производства окон в табл. 2.15.-2.18.
Таблица 2.15
Расчет
потребности в материалах на поворотно-откидное окно из 3-х камерного профиля и
однокамерного стеклопакета в 2012-2016 году
|
Наименование
|
Ед. изм.
|
Норма расхода
на 1 м2
|
Цена, руб.
за ед. изм.
|
Сумма, руб.
|
Стоимость
годовая на 2012 г., руб.
|
Стоимость
годовая с 2013-2016г.
|
|
Данный профиль
|
м
|
1
|
42,5
|
42,5
|
95922,5
|
160650,0
|
|
Заглушка
для водоотвода
|
шт.
|
1
|
7,5
|
7,5
|
16927,5
|
28350,0
|
|
Импост
|
м
|
0,88
|
131,6
|
115,8
|
261378,7
|
437754,2
|
|
Отлив
пластиковый
|
м
|
1
|
96,2
|
96,2
|
217123,4
|
363636,0
|
|
Подкладка под
стеклопакет
|
шт.
|
8
|
0,9
|
6,9
|
15528,2
|
26006,4
|
|
Подоконник
(шир. 20см)
|
м
|
1
|
300,0
|
300,0
|
677100,0
|
1134000,0
|
|
Профиль армирующий
|
м
|
5,52
|
54,1
|
298,6
|
674012,4
|
1128829,0
|
|
Профиль
рамный
|
м
|
4
|
100,0
|
399,8
|
902438,9
|
1511395,2
|
|
Профиль створочный
|
М
|
2,56
|
106,8
|
273,3
|
616850,7
|
1033095,2
|
|
Силиконовый
герметик
|
шт.
|
1
|
170,0
|
170,0
|
383690,0
|
642600,0
|
|
Соединитель
импоста
|
шт.
|
2
|
41,0
|
81,9
|
184893,4
|
309657,6
|
|
Стеклопакет
|
м2
|
0,7
|
600,0
|
420,0
|
947940,0
|
1587600,0
|
|
Уплотнительная
резина
|
м
|
4
|
8,6
|
34,4
|
77640,8
|
130032,0
|
|
Фурнитура
|
комп.
|
1
|
300,0
|
300,0
|
677100,0
|
1134000,0
|
|
Шпатик с
уплотнителем
|
м
|
2,56
|
27,5
|
70,4
|
158892,8
|
266112,0
|
|
Шуруп саморез
|
шт.
|
50
|
0,4
|
17,5
|
39497,5
|
66150,0
|
|
Всего
|
|
|
|
2634,9
|
5946936,8
|
9959867,6
|
Таблица 2.16
Расчет
потребности в материалах на поворотно-откидное окно из 4-х камерного профиля и
двухкамерного стеклопакета в 2012-2016 году
|
Наименование
|
Ед.изм.
|
Норма расхода
на 1 м2
|
Цена, руб.
за ед.изм.
|
Сумма, руб.
|
Стоимость
годовая на 2012 г., руб.
|
Стоимость
годовая с 2013-2016г.
|
|
1
|
2
|
3
|
4
|
5
|
6
|
7
|
|
Данный профиль
|
м
|
1
|
42,5
|
42,5
|
6970,0
|
11475,0
|
|
Заглушка
для водоотвода
|
шт.
|
1
|
7,5
|
7,5
|
1230,0
|
2025,0
|
|
Импост
|
м
|
0,88
|
131,6
|
115,8
|
18992,5
|
31268,2
|
|
Отлив
пластиковый
|
м
|
1
|
96,2
|
96,2
|
15776,8
|
25974,0
|
|
Подкладка
под стеклопакет
|
шт.
|
8
|
0,9
|
6,9
|
1128,3
|
1857,6
|
|
Подоконник
(шир. 20см)
|
м
|
1
|
300,0
|
300,0
|
49200,0
|
81000,0
|
|
Профиль армирующий
|
м
|
5,52
|
54,1
|
298,6
|
48975,6
|
80630,6
|
м
|
4
|
120,4
|
481,6
|
78982,4
|
130032,0
|
|
Профиль створочный
|
м
|
2,56
|
134,5
|
344,3
|
56468,5
|
92966,4
|
|
Силиконовый
герметик
|
шт.
|
1
|
170,0
|
170,0
|
27880,0
|
45900,0
|
|
Соединитель
импоста
|
шт.
|
2
|
41,0
|
81,9
|
13434,9
|
22118,4
|
|
Стеклопакет
|
м2
|
0,7
|
900,0
|
630,0
|
103320,0
|
170100,0
|
|
Уплотнительная
резина
|
м
|
4
|
8,6
|
34,4
|
5641,6
|
9288,0
|
|
Фурнитура
|
комп.
|
1
|
300,0
|
300,0
|
49200,0
|
81000,0
|
|
Шпатик с
уплотнителем
|
м
|
2,56
|
27,5
|
70,4
|
11545,6
|
19008,0
|
|
Шуруп саморез
|
шт.
|
50
|
0,4
|
17,5
|
2870,0
|
4725,0
|
|
Всего
|
|
|
|
2997,7
|
491616,2
|
809368,2
|
Таблица 2.17
Расчет потребности в материалах на
поворотно-откидное окно из 5 камерного профиля и двухкамерного стеклопакета
2012-2016году
|
Наименование
|
Ед.изм.
|
Норма расхода
на 1 м2
|
Цена, руб.
за ед.изм.
|
Сумма, руб.
|
Стоимость
годовая на 2012 г., руб.
|
Стоимость
годовая с 2013-2016г.
|
|
1
|
2
|
3
|
4
|
5
|
6
|
7
|
|
Данный профиль
|
м
|
1
|
42,5
|
42,5
|
13770,0
|
22950,0
|
|
Заглушка
для водоотвода
|
шт.
|
1
|
7,5
|
7,5
|
2430,0
|
4050,0
|
|
Импост
|
м
|
0,88
|
131,6
|
115,8
|
37521,8
|
62536,3
|
|
Отлив
пластиковый
|
м
|
1
|
96,2
|
96,2
|
31168,8
|
51948,0
|
|
Подкладка
под стеклопакет
|
шт.
|
8
|
0,9
|
6,9
|
2229,1
|
3715,2
|
|
Подоконник
(шир. 20см)
|
м
|
1
|
300,0
|
300,0
|
97200,0
|
162000,0
|
|
Профиль армирующий
|
м
|
5,52
|
54,1
|
298,6
|
96756,8
|
161261,3
|
|
Профиль
рамный
|
м
|
4
|
165,3
|
661,2
|
214228,8
|
357048,0
|
|
Профиль створочный
|
м
|
2,56
|
178,6
|
457,2
|
148138,0
|
246896,6
|
|
Силиконовый
герметик
|
шт.
|
1
|
170,0
|
170,0
|
55080,0
|
91800,0
|
|
Соединитель
импоста
|
шт.
|
2
|
40,9
|
81,8
|
26503,2
|
44172,0
|
|
Стеклопакет
|
м2
|
0,7
|
900,0
|
630,0
|
204120,0
|
340200,0
|
|
Уплотнительная
резина
|
м
|
4
|
8,6
|
34,4
|
11145,6
|
18576,0
|
|
Фурнитура
|
шт.
|
1
|
300,0
|
300,0
|
97200,0
|
162000,0
|
|
Шпатик с
уплотнителем
|
м
|
2,56
|
27,5
|
70,4
|
22809,6
|
38016,0
|
|
Шуруп саморез
|
шт.
|
50
|
0,4
|
17,5
|
5670,0
|
9450,0
|
|
Всего
|
|
|
|
3290,0
|
1065971,7
|
1776619,4
|
Таблица 2.18
Расчет
потребности материалов и комплектующих на балконный блок в 2012-2016 году
|
Наименование
|
Ед.изм.
|
Норма расхода
на 1 м2
|
Цена, руб.
за ед.изм.
|
Сумма, руб.
|
Стоимость
годовая на 2012 г., руб.
|
Стоимость
годовая с 2013-2016г.
|
|
Данный профиль
|
м
|
1
|
42,5
|
42,5
|
20400,0
|
34425,0
|
|
Заглушка
для водоотвода
|
шт.
|
1
|
7,5
|
7,5
|
3600,0
|
6075,0
|
|
Поперечина
|
м
|
0,75
|
131,6
|
98,7
|
47376,0
|
79947,0
|
|
Подкладка
под стеклопакет
|
шт.
|
8
|
0,9
|
6,9
|
3302,4
|
5572,8
|
|
Профиль армирующий
|
м
|
7,36
|
54,1
|
398,2
|
191124,5
|
322522,6
|
|
Профиль
рамный
|
м
|
4
|
120,4
|
481,6
|
231168,0
|
390096,0
|
|
Профиль створочный
|
м
|
3,36
|
207,7
|
697,9
|
334978,6
|
565276,3
|
|
Селиконовый
герметик
|
шт.
|
1
|
170,0
|
170,0
|
81600,0
|
137700,0
|
|
Соединитель
поперечины
|
шт.
|
2
|
40,9
|
81,8
|
39264,0
|
66258,0
|
|
Стеклопакет
|
м2
|
0,4
|
600,0
|
240,0
|
115200,0
|
194400,0
|
|
Уплотнительная
резина
|
м
|
4
|
8,6
|
34,4
|
16512,0
|
27864,0
|
|
Фурнитура
|
комп.
|
1
|
300,0
|
300,0
|
144000,0
|
243000,0
|
|
Шпатик с
уплотнителем
|
м
|
2,9
|
27,5
|
79,8
|
38280,0
|
64597,5
|
|
Шуруп саморез
|
шт.
|
50
|
0,4
|
17,5
|
8400,0
|
14175,0
|
|
Заглушка
для двери
|
м
|
0,11
|
250,0
|
27,5
|
13200,0
|
22275,0
|
|
Итого
|
|
|
|
2684,2
|
1288405,4
|
2174184,2
|
|
Итого
полная потребность
|
|
|
|
|
8792930,1
|
14720039,4
|
Основными материалами при
производстве пластиковой оконной продукции являются пластиковый профиль для
изготовления рам и створок, стеклопакет, оконная фурнитура и импост.
Расчет потребности в
административно-управленческом персонале и фонд заработной платы приведем в
табл. 2.19.
Таблица 2.19
Расчет
потребности в административно-управленческом персонале и годовой фонд
заработной платы, руб.
|
Должность
|
Количество,
чел.
|
Оклад, руб.
|
Годовой
фонд з/платы в 2012г руб./год
|
Годовой
фонд зарплаты с 2013-2016г руб./год
|
|
1
|
2
|
3
|
4
|
5
|
|
Директор
|
1
|
30000
|
360000
|
360000
|
|
Бухгалтер
|
1
|
25000
|
300000
|
300000
|
|
Инженер-технолог
|
1
|
25000
|
300000
|
300000
|
|
Итого:
|
3
|
960000
|
960000
|
Рассчитаем годовой фонд заработной
платы основных и вспомогательных рабочих в табл. 2.20.
Таблица 2.20
Расчет годового
фонда заработной платы основных и вспомогательных рабочих, руб.
|
Категория рабочих
|
Кол-во чел.
|
Оклад, руб.
|
Годовой
фонд з/платы
|
|
2012г
руб./год
|
С 2013 - 2016г.
руб./год
|
|
1
|
2
|
3
|
4
|
5
|
|
Основные рабочие,
в том числе:
|
6
|
92000
|
979800
|
1071800
|
|
Рабочие
|
4
|
15000
|
639000
|
699000
|
|
Рабочие,
занимающиеся монтажом окон
|
2
|
16000
|
340800
|
372800
|
|
Вспомогательные
рабочие, в том числе:
|
1
|
17000
|
198050
|
198050
|
|
Водитель
|
1
|
17000
|
198050
|
198050
|
|
Итого
|
|
157000
|
2355700
|
2539700
|
Годовой фонд заработной платы основных
и вспомогательных рабочих составил в 2012 году 1177850 рублей, а с 2013 года
по 2016 год 1269850 рублей.
В табл. 2.21. рассчитаем сводный план
по труду и заработной плате.
Таблица 2.21
Сводный план
по труду и заработной плате
|
Категория
рабочих
|
чел.
|
Общий фонд
з/платы
|
|
2012г.
|
С 2013 по 2016г.
|
|
1
|
2
|
3
|
4
|
|
1.Административно-управленческий
персонал
|
3
|
960000
|
960000
|
|
2. Основные рабочие
|
6
|
979800
|
1071800
|
|
3. Вспомогательные рабочие
|
1
|
198050
|
198050
|
|
Итого
|
10
|
2137850
|
2229850
|
В табл. 2.22. приведем расходы на
содержание и эксплуатацию оборудования.
Таблица 2.22
Расходы на
содержание и эксплуатацию оборудования
|
Расходы на
содержание и эксплуатацию оборудования
|
Сумма на 2012 г., руб.
|
Сумма с 2013-2016 гг.
|
|
Расходы на ГСМ
|
30000
|
33000
|
|
Амортизация оборудования
|
188466
|
207312
|
|
Ремонт оборудования
|
40000
|
44000
|
|
Итого
|
258466
|
284312
|
Из табличных значений мы видим, что Расход
электроэнергии на технологические цели, в сравнении с сопоставимым
оборудованием производящим аналогичную продукцию фирмы «ВЕКОН», составляет в среднем 14 квт/ч; за 8 часов (один рабочий
день) 112 Квт. Цена 1Квт равна 2 рубль 69 копеек. Плата за аренду
производственных и складских помещений будет начисляться, по арендному
договору, с 01.12 года, то есть с момента ввода в эксплуатацию оборудования и
выпуска первой пробной партии продукции. Площадь арендуемых производственно
складских помещений составит 200м2. Что позволяет разместить необходимое
оборудование и складировать запасы и готовую продукцию. Цена за м2
производственно складских помещений составляет 60 руб./м2 в месяц. В
табл. 2.23 представим все расходы, связанные с выпуском пластиковых окон.
Таблица 2.23
Годовые расходы на планируемый выпуск оконной
продукции, руб.
|
Наименование
расходов
|
2012
|
2013
|
2014
|
2015
|
2016
|
|
1
|
2
|
|
3
|
|
|
|
Материалы и
комплектующие
|
8792930,1
|
14720039
|
14720039,39
|
14720039,39
|
14720039,4
|
|
ГСМ
|
30000
|
33000
|
33000
|
33000
|
33000
|
|
Энергия на
технологические нужды
|
28000
|
30800
|
30800
|
30800
|
30800
|
|
Зарплата
производственных рабочих и административно-управленческого персонала
|
3315700
|
3499700
|
3499700
|
3499700
|
3499700
|
|
Отчисления
на обязательное пенсионное страхование 20%
|
663140
|
699940
|
699940
|
699940
|
699940
|
|
Аренда
|
144000
|
164000
|
164000
|
164000
|
164000
|
|
Амортизация
оборудования
|
188466
|
207312
|
207312
|
207312
|
207312
|
|
Ремонт
|
40000
|
44000
|
44000
|
44000
|
44000
|
|
Доставка
материалов
|
100000
|
120000
|
120000
|
120000
|
120000
|
|
Процент
банку по кредиту (15,4%)
|
248260
|
198636
|
145071
|
91506
|
37941
|
|
Итого
|
13550496
|
19717427
|
19663862,39
|
19610297,39
|
19556732,4
|
Сгруппируем расходы по статьям
калькуляции и представим в смете затрат на планируемый выпуск оконной продукции
в табл. 2.24.
Таблица 2.24
Смета затрат
на планируемый выпуск оконной продукции, руб.
|
Статьи затрат
|
Годовая сумма затрат, руб.
|
|
2012
|
2013
|
2014
|
2015
|
2016
|
|
1
|
2
|
3
|
4
|
5
|
6
|
|
Материалы и комплектующие
|
8792930,1
|
14720039,39
|
14720039,39
|
14720039,39
|
14720039,4
|
|
Вспомогательные материалы
|
30000
|
33000
|
33000
|
33000
|
33000
|
|
Электроэнегрия на технологические цели
|
28000
|
30800
|
30800
|
30800
|
30800
|
|
Зарплата производственных рабочих
|
2355700
|
2539700
|
2539700
|
2539700
|
2539700
|
|
Отчисления на обязательное социально-пенсионной страхование
(20%)
|
471140
|
507940
|
507940
|
507940
|
507940
|
|
Общепроизводственные расходы
|
472466
|
535312
|
535312
|
535312
|
535312
|
|
Общехозяйственные расходы
|
1400260
|
1350636
|
1297071
|
1243506
|
1189941
|
|
Итого производственная себестоимость
|
13550496
|
19717427,39
|
19663862,39
|
19610297,39
|
19556732,4
|
К общепроизводственным расходам
относим заработную плату административно-управленческого персонала и
вспомогательных рабочих с отчислениями на обязательное пенсионное страхование,
расходы на содержание и эксплуатацию оборудования, аренды помещений.
К общехозяйственным расходам:
процент банку по кредиту в размере ставки рефинансирования умноженной на 1,1
(14·1,1 равно 15,4 процентов).
Сгруппируем элементы затрат по видам
выпускаемой продукции в калькуляции и представим в табл. 2.25, 2.26, 2.27,
2.28.
Таблица 2.25
Калькуляция
на поворотно-откидное окно из 3-х камерного профиля и однокамерного
стеклопакета, рубли
|
2012г.
|
2013г.
|
2014г.
|
2015г.
|
2016г.
|
|
Наименование
|
На 1м2
|
Всего
|
На 1м2
|
Всего
|
На
1м2
|
Всего
|
На 1м2
|
Всего
|
На 1м2
|
Всего
|
|
Материалы
и комплектующие
|
2634,9
|
5946969
|
2634,9
|
9959922
|
2634,9
|
9959922
|
2634,9
|
9959922
|
2634,9
|
9959922
|
|
Вспомогательные
материалы
|
1,55
|
3498,35
|
1,86
|
7030,8
|
1,86
|
7030,8
|
1,86
|
7030,8
|
1,86
|
7030,8
|
|
Электроэнергия
на технологические цели
|
8,68
|
19590,76
|
6,2
|
23436
|
6,2
|
23436
|
6,2
|
23436
|
6,2
|
23436
|
|
Зарплата
производственных рабочих
|
149,4
|
337195,8
|
107
|
404460
|
107
|
404460
|
107
|
404460
|
107
|
404460
|
|
Отчисления
на обязательное социально-пенсионной страхование (14%)
|
21
|
47397
|
15
|
56700
|
15
|
56700
|
15
|
56700
|
15
|
56700
|
|
Общепроизводственные
расходы
|
267
|
602619
|
187,6
|
709128
|
187,6
|
709128
|
187,6
|
709128
|
187,6
|
709128
|
|
Общехозяйственные
расходы
|
110,3
|
248947,1
|
59,5
|
224910
|
49,4
|
186732
|
39,4
|
148932
|
29,6
|
111888
|
|
Итого
производственная себестоимость
|
3192,83
|
7206217
|
3012,06
|
11385586,8
|
3001,96
|
11347408,8
|
2992
|
11309608,8
|
2982,2
|
11272564,8
|
|
Коммерческие
расходы
|
55,8
|
125940
|
28,9
|
27
|
102060
|
27
|
102060
|
27
|
102060
|
|
Итого:
полная себестоимость
|
3248,63
|
7332157
|
3040,96
|
11494828,8
|
3028,96
|
11449468,8
|
3019
|
11411668,8
|
3009,2
|
11374624,8
|
|
Темпы
изменения себестоимости относительно 2012г.,%
|
100
|
100
|
93,6
|
156,8
|
99,6
|
99,6
|
99,7
|
99,7
|
99,7
|
99,7
|
Таблица 2.26
Калькуляция на
поворотно-откидное окно из 4-камерного профиля и двух камерного стеклопакета,
руб.
|
2012г.
|
2013г.
|
2014г.
|
2015г.
|
2016г.
|
|
Наименование
|
На 1м2
|
Всего
|
На 1м2
|
Всего
|
На1м2
|
Всего
|
На 1м2
|
Всего
|
На 1м2
|
Всего
|
|
Материалы
и комплектующие
|
2997,7
|
491622,8
|
2997,7
|
809379
|
2997,7
|
809379
|
2997,7
|
809379
|
2997,7
|
809379
|
|
Вспомогательные
материалы
|
1,52
|
249,28
|
1,11
|
299,7
|
1,11
|
299,7
|
1,11
|
299,7
|
1,11
|
299,7
|
|
Электроэнегрия
на технологические цели
|
8,5
|
1394
|
6,2
|
1674
|
6,2
|
1674
|
6,2
|
1674
|
6,2
|
1674
|
|
Зарплата
производственных рабочих
|
147
|
24108
|
107
|
28890
|
107
|
28890
|
107
|
28890
|
107
|
28890
|
|
Отчисления
на обязательное социально-пенсионной страхование (14%)
|
20,6
|
3378,4
|
15
|
4050
|
15
|
4050
|
15
|
4050
|
15
|
4050
|
|
Общепроизводственные
расходы
|
262
|
42968
|
188
|
50760
|
188
|
50760
|
188
|
50760
|
188
|
50760
|
|
Общехозяйственные
расходы
|
108
|
17712
|
59,5
|
16065
|
49,5
|
13365
|
39,5
|
10665
|
29,5
|
7965
|
|
Итого
производственная себестоимость
|
3545,32
|
581432,5
|
3374,51
|
911117,7
|
3364,51
|
908417,7
|
3354,5
|
905717,7
|
3344,5
|
903017,7
|
|
Коммерческие
расходы
|
54,9
|
9004
|
28,9
|
7803
|
26,7
|
7209
|
26,7
|
7209
|
26,7
|
7209
|
|
Итого:
полная себестоимость
|
3600,22
|
590436,5
|
3403,41
|
918920,7
|
3391,21
|
915626,7
|
3381,2
|
912926,7
|
3371,2
|
910226,7
|
|
Темпы
изменения себестоимости относительно 2012г.,%
|
100
|
100
|
94,5
|
155,6
|
99,6
|
99,6
|
99,7
|
99,7
|
99,7
|
99,7
|
Таблица 2.27
Калькуляция
на поворотно-откидное окно из 5-камерного профиля и двухкамерного стеклопакета,
рубли
|
2012г.
|
2013г.
|
2014г.
|
2015г.
|
2016г.
|
|
Наименование
|
На 1м2
|
Всего
|
На 1м2
|
Всего
|
На1м2
|
Всего
|
На 1м2
|
Всего
|
На 1м2
|
Всего
|
|
Материалы
и комплектующие
|
3290
|
1065960
|
3290
|
1776600
|
3290
|
1776600
|
3290
|
1776600
|
3290
|
1776600
|
|
Вспомогательные
материалы
|
1,54
|
498,96
|
1,11
|
599,4
|
1,11
|
599,4
|
1,11
|
599,4
|
1,11
|
599,4
|
|
Электроэнегрия
на технологические цели
|
8,64
|
2799,36
|
6,2
|
3348
|
6,2
|
3348
|
6,2
|
3348
|
6,2
|
3348
|
|
Зарплатапроизводственных
рабочих
|
148,7
|
48178,8
|
107
|
57780
|
107
|
57780
|
107
|
57780
|
107
|
57780
|
|
Отчисления
обязательное социально-пенсионной страхование (14%)
|
20,8
|
6739,2
|
15
|
8100
|
15
|
8100
|
15
|
8100
|
15
|
8100
|
|
Общепроизводственные
расходы
|
266
|
86184
|
188
|
101520
|
188
|
101520
|
188
|
101520
|
188
|
101520
|
|
Общехозяйственные
расходы
|
110
|
35640
|
59,5
|
32130
|
49,4
|
26676
|
39,5
|
21330
|
29,5
|
15930
|
|
Итого
производственная себестоимость
|
3845,68
|
1246000
|
3666,81
|
1980077,4
|
3656,71
|
1974623,4
|
3646,8
|
1969277,4
|
3636,8
|
1963877,4
|
|
Коммерческие
расходы
|
55,5
|
17982
|
28,9
|
15606
|
26,7
|
14418
|
26,7
|
14418
|
26,7
|
14418
|
|
Итого:
полная себестоимость
|
3901,18
|
1263982
|
3695,71
|
1995683,4
|
3683,41
|
1989041,4
|
3673,5
|
1983695,4
|
3663,5
|
1978295,4
|
|
Темпы
изменения себестоимости относительно 2012г.,%
|
100
|
100
|
94,7
|
157,9
|
99,7
|
99,7
|
99,7
|
99,7
|
99,7
|
99,7
|
|
|
|
|
|
|
|
|
|
|
|
|
|
Таблица 2.28
Калькуляция
на балконный блок, рубли
|
2012г.
|
2013г.
|
2014г.
|
2015г.
|
2016г.
|
|
Наименование
|
На 1м2
|
Всего
|
На 1м2
|
Всего
|
На1м2
|
Всего
|
На 1м2
|
Всего
|
На 1м2
|
Всего
|
|
Материалы
и комплектующие
|
2684,2
|
1288416
|
2684,2
|
2174202
|
2684,2
|
2174202
|
2684,2
|
2174202
|
2684,2
|
2174202
|
|
Вспомогательные
материалы
|
1,56
|
748,8
|
1,11
|
899,1
|
1,11
|
899,1
|
1,11
|
899,1
|
1,11
|
899,1
|
|
Электроэнегрия
на технологические цели
|
8,75
|
4200
|
6,2
|
6,2
|
5022
|
6,2
|
5022
|
6,2
|
5022
|
|
Зарплата
производственных рабочих
|
150,56
|
72268,8
|
107,02
|
86686,2
|
107,02
|
86686,2
|
107,02
|
86686,2
|
107,02
|
86686,2
|
|
Отчисления
на обязательное социально-пенсионной страхование (14%)
|
21,1
|
10128
|
15
|
12150
|
15
|
12150
|
15
|
12150
|
15
|
12150
|
|
Общепроизводственные
расходы
|
269,1
|
129168
|
188
|
152280
|
188
|
152280
|
188
|
152280
|
188
|
152280
|
|
Общехозяйственные
расходы
|
111,2
|
53376
|
59,5
|
48195
|
49,4
|
40014
|
39,5
|
31995
|
29,5
|
23895
|
|
Итого:
производственная себестоимость
|
3246,47
|
1558306
|
3061,03
|
2479434,3
|
3050,93
|
2471253,3
|
3041
|
2463234,3
|
3031
|
2455134,3
|
|
Коммерческие
расходы
|
56,3
|
27024
|
28,9
|
23409
|
26,7
|
21627
|
26,7
|
21627
|
26,7
|
21627
|
|
Итого:
полная себестоимость
|
3302,77
|
1585330
|
3089,93
|
2502843,3
|
3077,63
|
2492880,3
|
3067,7
|
2484861,3
|
3057,7
|
2476761,3
|
|
Темпы
изменения себестоимости относительно 2012г.,%
|
100
|
100
|
93,6
|
157,9
|
99,6
|
99,6
|
99,7
|
99,7
|
99,7
|
99,7
|
Из табл. 2.25.-2.28. видно, что
наблюдается тенденция снижения себестоимости на пластиковую оконную продукцию,
это связано со снижением части постоянных затрат, а именно сокращение затрат на
рекламу, уменьшение процентных выплат по банковскому кредиту, а также с
увеличение объема выпуска продукции.
В табл. 2.29. приведем расчет
оборотных средств предприятия в производственных запасах основных материалов.
Таблица 2.29
Расчет стоимости производственных
запасов
|
Наименование
|
Ед.изм.
|
Среднесуточная
потребность
|
Цена
р/ед.изм.
|
Интервал
поставки, дни
|
Запас текущий
|
Производственный
запас
|
|
Ед.изм.
|
Руб.
|
|
1
|
2
|
3
|
4
|
5
|
6
|
7
|
8
|
|
Для окон
из 3-х камерного профиля
|
|
Данный профиль
|
м
|
10,5
|
42,5
|
20
|
210
|
210
|
8925,0
|
|
Заглушка для водоотвода
|
шт.
|
10
|
7,5
|
20
|
200
|
200
|
1500,0
|
|
Импост
|
м
|
5,51
|
131,6
|
20
|
110,2
|
110,2
|
14502,3
|
|
Отлив пластиковый
|
м
|
10,5
|
96,2
|
20
|
210
|
210
|
20202,0
|
|
Подкладка под стеклопакет
|
шт.
|
84
|
0,86
|
1
|
84
|
84
|
72,2
|
|
Подоконник
|
м
|
10,5
|
300
|
20
|
210
|
210
|
63000,0
|
|
Профиль армирующий
|
м
|
58
|
54,1
|
20
|
1160
|
1160
|
62756,0
|
|
Профиль рамный
|
м
|
42
|
99,96
|
20
|
840
|
840
|
83966,4
|
|
Профиль створочный
|
м
|
26,88
|
106,76
|
20
|
537,6
|
537.6
|
57394,2
|
|
Герметик
|
шт.
|
10
|
170
|
1
|
10
|
10
|
1700,0
|
|
Соединитель импоста
|
шт.
|
21
|
40,96
|
20
|
420
|
420
|
17203,2
|
|
Стеклопакет
|
шт.
|
8
|
600
|
1
|
8
|
8
|
4800,0
|
|
Уплотнительная резина
|
м
|
42
|
8,6
|
1
|
42
|
42
|
361,2
|
|
Фурнитура
|
комп.
|
10
|
300
|
20
|
200
|
200
|
60000,0
|
|
Шпатик с уплотнителем
|
м
|
26,8
|
27,5
|
20
|
536
|
536
|
14740,0
|
|
Шуруп саморез
|
шт.
|
525
|
0,35
|
1
|
525
|
525
|
183,8
|
|
Всего:
|
|
|
|
|
|
|
411306,3
|
|
для окон из
4-х камерного профиля
|
|
Донный профиль
|
м
|
0,75
|
42,5
|
20
|
15
|
15
|
637,5
|
|
Заглушка для водоотвода
|
шт.
|
0,75
|
7,5
|
20
|
15
|
15
|
112,5
|
|
Импост
|
м
|
0,7
|
131,6
|
20
|
14
|
14
|
1842,4
|
|
Отлив пластиковый
|
м
|
0,75
|
96,2
|
20
|
15
|
15
|
1443,0
|
|
Подкладка под стеклопакет
|
шт.
|
6
|
0,86
|
1
|
6
|
6
|
5,2
|
|
Подоконник
|
м
|
0,75
|
300
|
20
|
15
|
15
|
4500,0
|
|
Профиль армирующий
|
м
|
4,14
|
54,1
|
20
|
82,8
|
82,8
|
4479,5
|
|
Профиль рамный
|
м
|
3
|
120,4
|
20
|
60
|
60
|
7224,0
|
|
Профиль створочный
|
м
|
1,92
|
134,5
|
20
|
38,4
|
38,4
|
5164,8
|
|
Герметик
|
шт.
|
0,75
|
170
|
1
|
0,75
|
0,75
|
127,5
|
|
Соединитель импоста
|
шт.
|
1,5
|
40,96
|
20
|
30
|
30
|
1228,8
|
|
Стеклопакет
|
шт.
|
0,5
|
900
|
1
|
0,5
|
0,5
|
450,0
|
|
Уплотнительная резина
|
м
|
3
|
8,6
|
1
|
3
|
3
|
|
Фурнитура
|
комп.
|
0,75
|
300
|
20
|
15
|
15
|
4500,0
|
|
Шпатик с уплотнителем
|
м
|
1,92
|
27,5
|
20
|
38,4
|
38,4
|
1056,0
|
|
Шуруп саморез
|
шт.
|
37
|
0,35
|
1
|
37
|
37
|
13,0
|
|
Всего:
|
|
|
|
|
|
|
32809,9
|
|
Для окон
из 5 камерного профиля
|
|
Донный профиль
|
м
|
1,5
|
42,5
|
20
|
30
|
30
|
1275,0
|
|
Заглушка для водоотвода
|
шт.
|
1
|
7,5
|
20
|
20
|
20
|
150,0
|
|
Импост
|
м
|
1,32
|
131,6
|
20
|
26,4
|
26,4
|
3474,2
|
|
Отлив пластиковый
|
м
|
1,5
|
96,2
|
20
|
30
|
30
|
2886,0
|
|
Подкладка под стеклопакет
|
шт.
|
12
|
0,86
|
1
|
12
|
12
|
10,3
|
|
Подоконник
|
м
|
1,5
|
300
|
20
|
30
|
30
|
9000,0
|
|
Профиль армирующий
|
м
|
8,28
|
54,1
|
20
|
165,6
|
165,6
|
8959,0
|
|
Профиль рамный
|
м
|
6
|
165,3
|
20
|
120
|
120
|
19836,0
|
|
Профиль створочный
|
м
|
3,84
|
178,6
|
20
|
76,8
|
76,8
|
13716,5
|
|
Герметик
|
шт.
|
1
|
170
|
1
|
1
|
1
|
170,0
|
|
Соединитель импоста
|
шт.
|
3
|
40,9
|
20
|
60
|
60
|
2454,0
|
|
Стеклопакет
|
шт.
|
1
|
900
|
1
|
1
|
1
|
900,0
|
|
Уплотнительная резина
|
м
|
6
|
8,6
|
1
|
6
|
6
|
51,6
|
|
Фурнитура
|
комп.
|
1
|
300
|
20
|
20
|
20
|
6000,0
|
|
Шпатик с уплотнителем
|
м
|
3,86
|
27,5
|
20
|
77,2
|
77,2
|
2123,0
|
|
Шуруп саморез
|
шт.
|
75
|
0,35
|
1
|
75
|
75
|
26,3
|
|
Всего
|
|
|
|
|
|
|
71031,9
|
|
Для
балконного блока
|
|
Донный профиль
|
м
|
2,25
|
42,5
|
20
|
45
|
45
|
1912,5
|
|
Заглушка для водоотвода
|
шт.
|
2
|
7,5
|
20
|
40
|
40
|
300,0
|
|
Поперечина
|
м
|
1,68
|
131,6
|
20
|
33,6
|
33,6
|
4421,8
|
|
Подкладка под стеклопакет
|
шт.
|
18
|
0,86
|
1
|
18
|
18
|
15,5
|
|
Профиль армирующий
|
м
|
16,56
|
54,1
|
20
|
331,2
|
331,2
|
17917,9
|
|
Профиль рамный
|
м
|
9
|
120,4
|
20
|
180
|
180
|
21672,0
|
|
Профиль створочный
|
м
|
7,56
|
207,7
|
20
|
151,2
|
151,2
|
31404,2
|
|
Герметик
|
шт.
|
2
|
170
|
1
|
2
|
2
|
340,0
|
|
Соединитель поперечины
|
шт.
|
4
|
40,9
|
20
|
80
|
80
|
3272,0
|
|
Стеклопакет
|
шт.
|
1
|
600
|
1
|
1
|
1
|
600,0
|
|
Уплотнительная резина
|
м
|
9
|
8,6
|
1
|
9
|
9
|
77,4
|
|
Фурнитура
|
комп.
|
2
|
300
|
20
|
40
|
40
|
12000,0
|
|
Шпатик с уплотнителем
|
м
|
6,5
|
27,5
|
20
|
130
|
130
|
3575,0
|
|
Шуруп саморез
|
шт.
|
112
|
0,35
|
1
|
112
|
112
|
39,2
|
|
Заглушка для двери
|
м
|
0,2
|
250
|
1
|
0,2
|
0,2
|
50,0
|
|
Всего
|
|
|
|
|
|
|
97597,5
|
|
|
|
|
|
|
|
|
|
|
|
|
|
|
|
|
|
|
|
Общая сумма оборотных средств в
производственных запасах составляет 411306,3 + 32809,9 + 71031,9 + 97597,5 = 612745,6
рубля.
Инвестиционный проект планируется
сроком на 5 лет, с 01.01.2012 по 31.12.2016г. Финансирование проекта будет
осуществляться за счет привлечения средств вносимых пайщиками в качестве долей
уставного капитала, который составляет 300000 рублей и за счет заемных средств
составляющих 1742785 рублей.
В табл. 3.1. представим расчет
объемов производства и реализации продукции.
Таблица 3.1
Расчет объемов производства и
реализации продукции на 2012-2016гг.
|
Показатели
|
Вид
продукции
|
|
из 3-х
камерного профиля
|
из 4-х камерного
профиля
|
из 5-ти
камерного профиля
|
балконный
блок
|
итого
|
|
2012 год
|
|
Объем производства, м2/год
|
2257
|
164
|
324
|
480
|
3225
|
|
Цена реализации, руб.
|
3400
|
3800
|
4200
|
4000
|
-
|
|
Выручка от реализации, руб.
|
7673800
|
623200
|
1360800
|
1920000
|
11577800
|
|
2013-2016гг.
|
|
Объем производства,м2
|
3780
|
270
|
540
|
810
|
5400
|
|
Цена реализации, руб.
|
3400
|
3800
|
4200
|
4000
|
-
|
|
Выручка от реализации, руб.
|
12852000
|
1026000
|
2268000
|
3240000
|
19386000
|
На рис. 3.1 представлены расценки на
оконную продукцию.
Рис. 3.1 Расценки на оконную
продукцию.
В таблице 3.2 и таблице 3.3 приведем
расчет точки безубыточности по всем видам выпускаемой продукции за 2012 и
2013-2016 год.
Из таблицы 3.2 и таблицы 3.3 видно,
что годовой выпуск продукции превышает безубыточный объем, следовательно
производство является рентабельным.
Таблица 3.2
Расчет точки
безубыточности
|
Показатель
|
2012 год
|
|
Вид
продукции
|
|
3к
|
4к
|
5к
|
Бб
|
|
1.Годовой
выпуск продукции, м2/год
|
2257
|
164
|
324
|
480
|
|
2.Общая
величина постоянных расходов по видам, руб.
|
26716
|
53622
|
80400
|
|
3.Переменные
расходы , руб.
|
6957270
|
563720,48
|
1210360,32
|
1504929,6
|
|
4.Полная
себестоимость, руб.
|
7332157
|
590436,48
|
1263982,32
|
1585329,6
|
|
5. Цена
руб.
|
3400
|
3800
|
4200
|
4000
|
|
6.Доля
переменных расходов в цене изделия
|
0,91
|
0,90
|
0,89
|
0,78
|
|
7.Безубыточный
объем производства:
в
стоимостном выражении, руб.
в натуральном,
м2/год
|
375037,8
1181
|
26864,2
74
|
53769,6
115
|
80531,5
93
|
Таблица 3.3
Расчет
точки безубыточности
|
Показатель
|
2013-2016
год
|
|
Вид
продукции
|
|
3к
|
4к
|
5к
|
Бб
|
|
1.Годовой
выпуск продукции, м2/год
|
3780
|
270
|
540
|
810
|
|
2.Общая
величина постоянных расходов по видам, руб
|
334152
|
23868
|
47736
|
71604
|
|
3.Переменные
расходы , руб.
|
11160677
|
895052,7
|
1947947,4
|
2431239,3
|
|
4.Полная
себестоимость,руб.
|
11494829
|
918920,7
|
1995683,4
|
2502843,3
|
|
5. Цена
руб.
|
3400
|
3800
|
4200
|
4000
|
|
6.Доля
переменных расходов в цене изделия
|
0,87
|
0,87
|
0,86
|
0,75
|
|
7.Безубыточный
объем производства:
в
стоимостном выражении, руб.
в натуральном,
м2/год
|
334228,8
747
|
23945,4
49
|
47812,0
81
|
71670,4
72
|
В табл. 3.4 представим график
погашения банковского кредита.
Таблица 3.4
График
погашения кредита
|
Месяц года
|
Сумма кредита,
руб.
|
(1,9% в месяц
на 2012г.) (1,58% в месяц с 2013-2016г)
|
Средства
направляемые на погашение кредита, руб.
|
Остаток не
возвращенного кредита
|
|
1
|
2
|
3
|
4
|
5
|
|
2012 год
|
|
01
|
1742785,0
|
33112,9
|
29046,4
|
1713738,6
|
|
02
|
1713738,6
|
32561,0
|
29046,4
|
1684692,2
|
|
03
|
1684692,2
|
32009,2
|
29046,4
|
1655645,8
|
|
04
|
1655645,8
|
31457,3
|
29046,4
|
1626599,4
|
|
05
|
1626599,4
|
30905,4
|
29046,4
|
1597553,0
|
|
06
|
1597553,0
|
30353,5
|
29046,4
|
1568506,6
|
|
07
|
1568506,6
|
29801,6
|
29046,4
|
1539460,2
|
|
08
|
1539460,2
|
29249,7
|
29046,4
|
1510413,8
|
|
09
|
1510413,8
|
28697,9
|
29046,4
|
1481367,4
|
|
10
|
1481367,4
|
28146,0
|
29046,4
|
1452321,0
|
|
11
|
1452321,0
|
27594,1
|
29046,4
|
1423274,6
|
|
12
|
1423274,6
|
27042,2
|
29046,4
|
1394228,2
|
|
2013 год
|
|
01
|
1394228,2
|
22028,8
|
29046,4
|
1365181,8
|
|
02
|
1365181,8
|
21569,9
|
29046,4
|
1336135,4
|
|
03
|
1336135,4
|
21110,9
|
29046,4
|
1307089,0
|
|
04
|
1307089,0
|
20652,0
|
29046,4
|
1278042,6
|
|
05
|
1278042,6
|
20193,1
|
29046,4
|
1248996,2
|
|
06
|
1248996,2
|
19734,1
|
29046,4
|
1219949,8
|
|
07
|
1219949,8
|
19275,2
|
29046,4
|
1190903,4
|
|
08
|
1190903,4
|
18816,3
|
29046,4
|
1161857,0
|
Продолжение
таблицы 3.4
|
1
|
2
|
3
|
4
|
5
|
|
09
|
1161857,0
|
18357,3
|
29046,4
|
1132810,6
|
|
10
|
1132810,6
|
17898,4
|
29046,4
|
1103764,2
|
|
11
|
1103764,2
|
17439,5
|
29046,4
|
1074717,8
|
|
12
|
1074717,8
|
16980,5
|
29046,4
|
1045671,4
|
|
2014 год
|
|
01
|
1045671,4
|
16521,6
|
29046,4
|
1016625,0
|
|
02
|
1016625,0
|
16062,7
|
29046,4
|
987578,6
|
|
03
|
987578,6
|
15603,7
|
29046,4
|
958532,2
|
|
04
|
958532,2
|
15144,8
|
29046,4
|
929485,8
|
|
05
|
929485,8
|
14685,9
|
29046,4
|
900439,4
|
|
06
|
900439,4
|
14226,9
|
29046,4
|
871393,0
|
|
07
|
871393,0
|
13768,0
|
29046,4
|
842346,6
|
|
08
|
842346,6
|
13309,1
|
29046,4
|
813300,2
|
|
09
|
813300,2
|
12850,1
|
29046,4
|
784253,8
|
|
10
|
784253,8
|
12391,2
|
29046,4
|
755207,4
|
|
11
|
755207,4
|
11932,3
|
29046,4
|
726161,0
|
|
12
|
726161,0
|
11473,3
|
29046,4
|
697114,6
|
|
2015 год
|
|
01
|
697114,6
|
11014,4
|
29046,4
|
668068,2
|
|
02
|
668068,2
|
10555,5
|
29046,4
|
639021,8
|
|
03
|
639021,8
|
10096,5
|
29046,4
|
609975,4
|
|
04
|
609975,4
|
9637,6
|
29046,4
|
580929,0
|
|
05
|
580929,0
|
9178,7
|
29046,4
|
551882,6
|
|
06
|
551882,6
|
8719,7
|
29046,4
|
522836,2
|
|
07
|
522836,2
|
8260,8
|
29046,4
|
493789,8
|
|
08
|
493789,8
|
7801,9
|
29046,4
|
464743,4
|
|
09
|
464743,4
|
7342,9
|
29046,4
|
435697,0
|
|
10
|
435697,0
|
6884,0
|
29046,4
|
406650,6
|
|
11
|
406650,6
|
6425,1
|
29046,4
|
377604,2
|
|
12
|
377604,2
|
5966,1
|
29046,4
|
348557,8
|
Продолжение
таблицы 3.4
|
1
|
3
|
4
|
5
|
|
2016 год
|
|
01
|
348557,8
|
5507,2
|
29046,4
|
319511,4
|
|
02
|
319511,4
|
5048,3
|
29046,4
|
290465,0
|
|
03
|
290465,0
|
4589,3
|
29046,4
|
261418,6
|
|
04
|
261418,6
|
4130,4
|
29046,4
|
232372,2
|
|
05
|
232372,2
|
3671,5
|
29046,4
|
203325,8
|
|
06
|
203325,8
|
3212,5
|
29046,4
|
174279,4
|
|
07
|
174279,4
|
2753,6
|
29046,4
|
145233,0
|
|
08
|
145233,0
|
2294,7
|
29046,4
|
116186,6
|
|
09
|
116186,6
|
1835,7
|
29046,4
|
87140,2
|
|
10
|
87140,2
|
1376,8
|
29046,4
|
58093,8
|
|
11
|
58093,8
|
917,9
|
29046,4
|
29047,4
|
|
12
|
29047,4
|
458,9
|
29047,4
|
0,0
|
Представим денежные потоки в табл.
3.5.
Таблица 3.5
Таблица денежных потоков
|
Показатель
|
Значение
показателя по периодам
|
|
2012
|
2013
|
2014
|
2015
|
2016
|
|
1
|
2
|
3
|
4
|
5
|
6
|
|
1. Выручка
|
11577800
|
19386000
|
19386000
|
19386000
|
19386000
|
|
2.
Себестоимость, в том числе
возвратные
суммы:
|
10771906
|
16912276
|
16847017
|
16793152
|
16739908
|
|
Амортизация(п2а)
|
188466
|
207312
|
207312
|
207312
|
207312
|
|
погашение
процентов
|
360931
|
234056
|
167970
|
101883
|
35797
|
Продолжение
таблицы 3.5
|
1
|
2
|
3
|
4
|
5
|
6
|
|
3. Прибыль
от реализации. Налогооблагаемая база(п1-п2)
|
805894
|
2473724
|
2538983
|
2592848
|
2646092
|
|
4. Налог на
прибыль (0,20*п3)
|
161179
|
494745
|
507797
|
518570
|
529218
|
|
5.
Проектируемый чистый доход от обычного вида деятельности
|
644715
|
1978979
|
2031186
|
2074278
|
2116873
|
|
6. Чистый
проектируемый финансовый результат(п2а+п5)
|
833181
|
2186291
|
2238498
|
2281590
|
2324185
|
|
7.
Погашение процентов (3,6%)
|
360931
|
234056
|
167970
|
101883
|
35797
|
|
8.
Погашение кредита
|
348557
|
348557
|
348557
|
348557
|
348558
|
|
9. Сальдо
денежных средств (п6-(п7+п8))
|
123694
|
1603678
|
1721972
|
1831150
|
1939831
|
|
10. Инвестиции
|
1742785
|
-
|
-
|
-
|
-
|
|
В том числе
|
|
|
|
|
|
|
долгосрочный
кредит
|
1742785
|
-
|
-
|
-
|
-
|
|
11. Чистый
денежный поток (п9-п10)
|
-1619091
|
1603678
|
1721972
|
1831150
|
1939831
|
|
12.
Коэффициент дисконтирования при ставке дисконта Е=19%
|
1,00
|
0,84
|
0,71
|
0,59
|
0,50
|
|
13. Чистый
дисконтированный поток денежных средств
|
-1619091
|
1347629
|
1215996
|
1086633
|
967333
|
|
14. Чистый
дисконтированный поток с нарастающим итогом
|
-1619091
|
-271462
|
944533
|
2031167
|
2998500
|
Из таблицы 3.5. видно, что сальдо
денежных средств на всех шагах расчета положительное, значит проект рентабелен.
3.3.
Показатели финансово-экономической эффективности проекта
В табл. 3.6 приведем показатели
эффективности проекта.
Таблица 3.6
Показатели
эффективности проекта
|
Показатели
оценки проекта
|
Значение
|
|
1. Период возврата капиталовложений
, мес
|
14
|
|
2. Дисконтированный период окупаемости(PBP), мес
|
33
|
|
3. Индекс дисконтированной доходности(PI)
|
1,72
|
|
4. Внутренняя норма доходности(IRR),
%
|
110,71
|
|
5. Чистый дисконтированный доход(NPV), рубли
|
1255715
|
Из таблицы 3.4. видно, что сальдо
денежных средств на всех шагах расчета положительное, значит проект рентабелен.
Ставку дисконтирования принимаем равной ставке по банковскому кредиту 19
процентов.
Покажем на рис. 3.2 финансовый
профиль проекта.
Чистый дисконтированный доход с
нарастающим итогом, тыс. руб.
Рис. 3.2.
Финансовый профиль проекта.
В табл. 3.7 приведем
расчет показателей рентабельности.
Таблица 3.7.
Показатели рентабельности.
|
Показатели
|
Значение
показателей по периодам
|
|
2012
|
2013
|
2014
|
2015
|
2016
|
|
1. Прибыль от реализации, руб.
|
805894
|
2473724
|
2538983
|
2592848
|
2646092
|
|
2. Чистый проектируемый финансовый
результат, руб.
|
833181
|
2186291
|
2238498
|
2281590
|
2324185
|
|
3. Выручка от реализации, руб.
|
11577800
|
19386000
|
19386000
|
19386000
|
19386000
|
|
4. Себестоимости продукции, руб.
|
10771906
|
16912276
|
16847017
|
16793152
|
16739908
|
|
5. Рентабельность продаж
|
0,07
|
0,13
|
0,13
|
0,13
|
0,14
|
|
6. Рентабельность затрат
|
0,07
|
0,15
|
0,15
|
0,15
|
0,16
|
|
7. Рентабельность собственного
капитала
|
0,74
|
2,32
|
3,05
|
4,32
|
7,25
|
|
8. Рентабельность капитала
|
0,42
|
0,70
|
0,75
|
0,81
|
0,88
|
Из табл. 3.5, 3.6, 3.7 и рис. 3.2
видим, что:
1. Чистый дисконтированный доход
(ЧДД) составляет 1255715 рублей. Эта величина больше нуля, следовательно,
проект можно внедрять.
2. Внутренняя норма доходности равна
110,71 процента. Она больше чем принятая норма дисконта 19 процентов, значит,
проект эффективен.
3. Период возврата капитала равен 14
месяцев.
4. Дисконтированный период
окупаемости равен 33 месяца.
5. Индекс дисконтированной доходности
проекта составляет 1,72 больше 1, следовательно проект является рентабельным.
6. Показатели рентабельности имеют
положительную динамику роста, что говорит о прибыльности проекта.
Все вышеперечисленные показатели
свидетельствуют о высокой эффективности проекта.
В дипломной работе предлагается
создание малого предприятия по производству пластиковых окон, для получения
прибыли и выхода на рынок пластиковой оконной продукции города Всеволожск.
Проведенный анализ рынка пластиковой
оконной продукции в городе Всеволожск показал, что потребителями пластиковой
продукции являются как физические, так и юридические лица, общая емкость рынка
составила 39120 пластиковых окон, из них среднегодовая потребность составила
более 5000 окон. Анализ конкуренции показал, что доля нашего предприятия на
рынке составил 2510 окон в год, что соответствует годовой мощности
предприятия.
Рассмотрена технология производства
пластиковых окон. Работы по установке и наладке оборудования будут проводиться
в течение двух месяцев. Выпуск продукции планируется начать с января 2012 года.
Выход на полную мощность планируется с 2014 года. Проведен расчет численности
основных и вспомогательных рабочих на основании расчета планово-балансового
фонда рабочего времени и трудоемкости на каждую отдельную операцию.
Потребность в административно-управленческом персонале составила 3человека, в
основных и вспомогательных рабочих 7 человек. Потребности в материалах и
оборудовании для производства пластиковых окон приведены из расчета годовой
производительности равной 2510 окон. На основании расчетов потребности в
ресурсах для производства выявлено, что доля материалов в себестоимости
продукции составляет 80 процентов.
Себестоимость поворотно-откидного
окна из 3-хкамерного профиля и однокамерного стеклопакета на 2012 год составила
3248,6 рублей, а на 2016 год она составила
уже 3009 рублей. Тенденция снижения себестоимости на пластиковую оконную
продукцию сохраняется и для других видов выпускаемой продукции, она связана со
снижением части постоянных затрат расходов на рекламную деятельность и с
увеличением объемов выпуска пластиковых окон.
Инвестиционный
проект планируется сроком на 5 лет, с 1.01.2012 по 31.12.2016. Финансирование
проекта планируется с привлечением средств вносимых пайщиками в качестве долей
уставного капитала, который составляет 300000 рублей и за счет заемных средств
составляющих 1742785 рублей. Инвестиционные
издержки на проект составляют 2042785 рублей.
Расчет эффективности проекта показал,
что период окупаемости проекта составляет 33 месяца, чистый дисконтированный
доход от проекта положителен и составляет 1255715 рублей.
В целом проект с экономической точки
зрения является эффективным и подлежит внедрению.
список ЛИТЕРАТУРЫ.
1.
Алексеева М.М.
Планирование деятельности фирмы. – М.: Финансы и статистика, 2004. – 450 с.
2.
Бланк И.А.
Управление активами и капиталом предприятия. - К.: Центр, Эльга, 2003. - 448 с.
3.
Бланк И.А.
Финансовый менеджмент: Учебный курс. - К.: Ника - Центр, Эльга, 2002. - 528 с.
4.
Донцова Л.В.,
Никифорова Н.А. Анализ финансовой отчетности. – М.: Дело и сервис, 2004. – 336
с.
5.
Забелина О.В.,
Толкаченко Г.Л. Финансовый менеджмент. – М.: Экзамен, 2005. – 224 с.
6.
Ильин А.И.
Планирование на предприятии. – М.: Новое знание, 2000. – 340 с.
7.
Ковалев В.В.
Введение финансовый менеджмент. — М.: Финансы и статистика, 2002. — 768 с.:
8.
Колб Р.В.,
Родригес Р. Финансовый менеджмент: Учебник/Пер. 2-го англ, издания; Предисловие
к русск. изд.к. э. н. Драгевой Е.Л. — М.: Издательство «Финпресс», 2001. — 496
с.
9.
Лазарев А.В.
Бизнес-планирование как форма экономического управления. – М., 2000. – 64с.
10. Леонтьев В.Е., Бочаров В.В.
Финансовый менеджмент. – СПб.: ИВЭСЭП, Знание, 2004. – 520с.
11. Лихачева О.Н. Финансовое планирование
на предприятии. - М.: ТК Велби, 2003. - 264с.
12. Менеджмент / Под ред. В.В. Томилова.
– М.: Юрайт-Издат, 2003. – 591 с.
13. Маренго А.К. Финансовый менеджмент.
Экспресс-курс.М.: Братор - Пресс, 2002. - 144 с.
14.
Савчук В. П.
Финансовое планирование и разработка бюджета предприятия. – М.: ИНФРА - М,
2003. – 256 с.
15.
Сергеев
И.В., Шипицын А.В. Оперативное финансовое планирование на предприятии. – М.: Финансы
и статистика, 2002. - 288с.
16. Справочник финансиста предприятия. -
4-е изд., доп. и перераб. - М.: ИНФРА - М. 2002. - 576 с.
17.
Уткин Э.А.
Управление фирмой. М.: Акалис, 2003. – 378с.
18. Финансовый менеджмент: теория и
практика: Учебник / Под ред.Е. С. Стояновой. - 5-е изд., перераб. и доп. - М.:
Изд-во «Перспектива», 2004. -656 с.
19. Пласкова Н. С.
Экономический анализ: учебник. – 2-е изд., перераб. и доп. – М.: Эксмо, 2009. – 704 с. –
(Высшее экономическое образование).
20. Финансовый
менеджмент:
учебное пособие / А.Н. Гаврилова, Е.Ф. Сысоева, А.И. Барабанов, Г.Г. Чигарев,
Л.И. Григорьева, О.В. Долгова, Л.А. Рыжкова. – 5-е изд., стер. – М.: КНОРУС,
2009. – 432 с.
21. Финансовый менеджмент: Учебное
пособие/Под ред. проф.Е. И. Шохина. - М.: ИД ФКБ - ПРЕСС, 2003. - 408 с.
22. Финансы: Учебное пособие / Под ред.
А.М. Ковалевой. – М.: Финансы и статистика, 2004. – 384 с.
23.
Шуляк П.Н.
Финансы предприятия: Учебник для вузов. - 2-е изд., перераб. и доп. - М.:
Финансы и статистика, 2000. -752 с.
24. Экономический анализ: Учебник для
вузов / Под. ред. Л. Т. Гиляровской. – М.: ЮНИТИ-ДАНА, 2001. –527 с.
25. Экономика организаций (предприятий): Учебник
для вузов … Сергеев И.В. Экономика
предприятия.: Финансы и статистика, 2009.-560 c.
26. http://www.tybet.ru
37. http://www.buh.ru
ПРИЛОЖЕНИЕ 1
Комплект предлагаемых дополнительных
услуг.
|
Наименование фирмы
|
Монтаж окна
|
Балльная
оценка
|
Установка
подоконника
|
Балльная
оценка
|
Установка
слива
|
Балльная
оценка
|
Установка
откосов
|
Балльная
оценка
|
Гарантийное
обслуживание
|
Балльная
оценка
|
Постгарантийное
обслуживание
|
Балльная оценка
|
|
«Окносервис»
|
Включен в стоимость окна
|
5
|
Включена в стоимость окна
|
5
|
Включена в стоимость окна
|
5
|
За дополнительную оплату
|
2
|
В течение 1 года
|
3
|
Нет
|
0
|
|
«Векон»
|
Включен в стоимость окна
|
5
|
Включена в стоимость окна
|
5
|
Включена в стоимость окна
|
5
|
За дополнительную оплату
|
2
|
4
|
Нет
|
0
|
|
«Sпласт»
|
Включен в стоимость окна
|
5
|
За дополнительную плату
|
2
|
Включена в стоимость окна
|
5
|
За дополнительную плату
|
2
|
Нет
|
0
|
Нет
|
0
|
|
«Дом'ОК»
|
Включен в стоимость окна
|
5
|
Включена в стоимость окна
|
5
|
Включена в стоимость окна
|
5
|
За дополнительную плату
|
2
|
Нет
|
0
|
Нет
|
0
|
|
«Кронос»
|
Включен в стоимость окна
|
5
|
Включена в стоимость окна
|
5
|
Включена в стоимость окна
|
5
|
За дополнительную плату
|
2
|
Нет
|
0
|
Нет
|
0
|
|
«Краоль»
|
Включен в стоимость окна
|
5
|
За дополнительную оплату
|
2
|
Включена в стоимость окна
|
5
|
За дополнительную оплату
|
2
|
Нет
|
0
|
Нет
|
0
|
|
«Алокс»
|
Включен в стоимость окна
|
5
|
Включена в стоимость окна
|
5
|
Включена в стоимость окна
|
5
|
За дополнительную оплату
|
2
|
В течение 1 года
|
3
|
Нет
|
0
|
|
«ФОРТА»
|
Включен в стоимость окна
|
5
|
За дополнительную плату
|
2
|
Включена в стоимость окна
|
5
|
За дополнительную плату
|
2
|
Нет
|
0
|
Нет
|
0
|
|
«ПЕТРО-ВИД»
|
Включен в стоимость окна
|
5
|
Включена в стоимость окна
|
5
|
Включен в стоимость окна
|
5
|
Задополнительнуюплату
|
2
|
В течение 3 лет
|
3
|
Есть
|
5
|