Техническое обслуживание и ремонт электрооборудования

  • Вид работы:
    Отчет по практике
  • Предмет:
    Физика
  • Язык:
    Русский
    ,
    Формат файла:
    MS Word
    639,8 Кб
  • Опубликовано:
    2013-01-24
Вы можете узнать стоимость помощи в написании студенческой работы.
Помощь в написании работы, которую точно примут!

Техническое обслуживание и ремонт электрооборудования

МИНИСТЕРСТВО ОБРАЗОВАНИЯ И НАУКИ РЕСПУБЛИКИ КАЗАХСТАН

КГКП "ЭЛЕКТРОТЕХНИЧЕСКИЙ КОЛЛЕДЖ"










Отчет

по прохождению профессиональной практики

Специальность: 0911000 " Техническая эксплуатация, обслуживание и ремонт электрического и электромеханического оборудования"













Семей 2012

Содержание

Введение

1. Ознакомление с промышленным предприятием

1.1 Структура предприятия, подразделений, служб электроснабжения

.2 Организация труда на предприятии

.3 Технологические процессы, осуществляемые на предприятии

2. Техническое обслуживание и ремонт электрооборудования (в зависимости от места прохождения технологической практики, от электрооборудования, действующего на конкретном предприятии вопросы 2.3.-2.5. данного раздела уточняются с руководителем практики от предприятия.)

2.1 Виды ремонтных работ, систем планово-предупредительного ремонта

.2 Техника безопасности и противопожарные мероприятия при техобслуживании и ремонте электрооборудования

.3 Организация и технология техобслуживания и ремонта генераторов и двигателей

.4 Организация и технология техобслуживания и ремонта силовых трансформаторов

.5 Организация и технология техобслуживания и ремонта электрических и кабельных линий

.6 Объем после ремонтных испытаний и правила приема электрооборудования после ремонта

3. Экономика и организация производства ремонтно-эксплуатационных работ

. Мероприятия по охране окружающей среды

Введение

Профессиональная практика органической частью учебного процесса и эффективной формой подготовки специалистов квалифицированного труда к трудовой деятельности

Технологическая практика (по профилю специальности) проводится в организациях (предприятиях, учреждениях) с которыми предварительно заключены договора о "производственной практике".

Технологическая практика направлена на закрепление, расширение, углубление и систематизацию знаний, полученных при изучении специальных дисциплин, на основе изучения деятельности конкретной организации, приобретение первоначального практического опыта. При прохождении практики по профилю специальности осуществляется основные виды деятельности которыми должен овладеть специалист в соответствии с ГОСО и требования к качеству их выполнения.

Технологическая практика является неотъемлемой частью образовательного процесса, без нее не возможна подготовка высококвалифицированных специалистов. На технологической практике обучающиеся получают практические навыки, связанные с их дальнейшей трудовой деятельностью.

Я Зенуров Ришат Ринатович проходил технологическую практику на предприятии АО "ВКРЭК". Руководителем моей практики был инженер по технике безопасности Островерхов Виктор Александрович.

Цель практики: полное проявление своих способностей к самостоятельной деятельности, нравственных и деловых качеств, заинтересованности в своей специальности, приобретение навыков, профессиональных умений по специальности; проверка самостоятельной работы в условиях конкретного производства; приобретение умений организаторской работы, а также практических навыков руководства трудовым коллективом подразделения при выполнении конкретных производственных планов и задач, необходимых знаний и подтверждение их на практики.

1. Ознакомление с промышленным предприятием

АО "ВК РЭК" - один из ведущих поставщиков электроэнергии на рынке Восточного Казахстана.

В 1918 году в Семипалатинске появилась первая городская электростанция, что послужило началу существования Семипалатинских городских электросетей.

Распределительные сети Восточного Казахстана, которые начали свое существование в 1949 году, являлись составной частью системы "Алтайэнерго". Но в 1997 году "Алтайэнерго" прекращает свое существованиее, Восточно-Казахстанские сети становятся самостоятельным юридическим лицом.

Так, в пятидесятые годы было создано еще одно предприятие - "Семипалатинскэнерго", которое в 1964 году было реорганизовано и включено в систему "Алтайэнерго".

В 1999 году Восточно-Казахстанские сети преобразовались в Региональную Энергетическую Компанию, и вместе с Семипалатинским Филиалом были переданы под управление компании AES.

год стал годом объединения АО "Восточно-Казахстанская Региональная Энергетическая Компания" и Семипалатинского Филиала АО "Восточно-Казахстанская Региональная Энергетическая Компания".

Сегодня АО "ВК РЭК" - единое предприятие, казахстанская национальная компания, эксплуатирующая распределительные электрические сети регионального значения 110-04 кВ и занимающаяся транспортировкой электроэнергии по своим линиям.

АО "ВК РЭК" - это 283,3 тыс. кв.км. обслуживаемой территории; 33,7 тыс. км электросетей; население области около 1 530,8 тыс. чел; 328 подстанций от 220 до 0,4 кВ; 454 147 точек учета; около 3000 высококвалифицированных работников: электромонтеров и электриков, инженеров и логистов, механиков и слесарей, водителей-профессионалов. Компания АО "ВК РЭК" работает с широким кругом клиентов - от юридических до физических лиц, транспортируя электроэнергию до офисов и квартир.

В своей работе компания использует самые передовые системы автоматизации, что позволяет сложные схемы логистики быстро и качественно адаптировать под нужды клиента.

Свою работу компания строит на трех принципах: профессионализм, гибкая ценовая политика, честность и уважение к клиентам.

.1 Структура предприятия, подразделений, служб электроснабжения

Организационная структура предприятия - это форма разделения труда, закрепляющая определенные функции управления за структурными подразделениями различного уровня иерархии.

Организационная структура управления предприятием адекватна структуре самого предприятия и соответствует масштабам и функциональному назначению управляемых объектов. Создание отделов (подразделений) путем группирования аналогичных производственных функций и служащих позволяет добиться более эффективного управления, необходимой гибкости руководства компанией в период расширения ее хозяйственной деятельности.

Исполнительная власть в АО "ВК РЭК" принадлежит Президенту, который осуществляет текущее руководство деятельностью акционерного общества и подотчетен совету директоров и общему собранию акционеров. Помощник президента отвечает за связи с общественностью, а также планирует график работы президента.

Вице президент - непосредственно руководит предприятием, несет ответственность перед президентом.

Главный инженер - организовывает работу предприятия в части ремонта и надлежащей эксплуатации технических оборотных средств.

Служба подстанций - является самостоятельным производственным структурным подразделением. Служба подстанций подчиняется непосредственно главному инженеру. Назначение службы - обеспечение надежной и экономичной работы оборудования подстанций 35 кВ и выше. Служба выполняет оперативное и ремонтное обслуживание оборудования подстанций, осуществляет внедрение нового оборудования всех подстанций ,закрепленных за службой.

СН и ТБ - основная задача - контроль за обеспечением бесперебойного электроснабжения потребителей, организация безопасных условий труда работников электросетей. Служба осуществляет работу с персоналом на предприятии, контроль за выполнением правил технической эксплуатации, правил и норм по охране труда, правил пожарной безопасности. Участвует в расследовании нарушений в работе эл. сетей, контролирует своевременное оформление результатов расследования.

Диспетчерская служба - Назначение службы - осуществление круглосуточного оперативно-диспетчерского управления сетями с целью обеспечения бесперебойного и надежного снабжения потребителей электрической энергией. Разработка и осуществление мероприятий по повышению надежности электроснабжения потребителей.

Служба осуществляет оперативно-диспетчерское обслуживание основного производственного процесса в электрических сетях - передачу и распределение электрической энергии. Служба осуществляет разработку режимов и мероприятий по снижению расхода электроэнергии на ее транспорт в электрических сетях. Диспетчерская группа осуществляет своевременное обнаружение и оперативное устранение возникающих отклонений режимов от заданных параметров, локализация и оперативное устранение различных повреждений элементов электрических сетей, а также производство плановых оперативных переключений. Обеспечение качества электроэнергии по напряжению электрического тока.

Департамент эксплуатации - выполняет работу по эксплуатации и обслуживанию техники, оборудования, транспортных средств.

Департамент ремонта - выполняет ремонтные работы техники, оборудования и транспортных средств.

Департамент сервиса - Обеспечивает руководство работой сервисных центров по гарантийному обслуживанию и ремонту оборудования, техники, готовит предложения по технически обоснованному планированию и производству запасных частей (по количеству и номенклатуре). Проводит диагностику оборудования и техники. Предоставляет услуги телефонной связи, транспорта.

Департамент инженерной техники - организует деятельность по созданию, обслуживанию, развитию и информационному обеспечению системы средств вычислительной техники, коммуникации и связи для механизированной и автоматизированной обработки информации.

1.2 Организация труда на предприятии

Компания АО "ВКРЭК" ставит безопасность в работе на первое место: безопасность наших сотрудников, сотрудников подрядных организаций, жителей тех регионов, где мы работаем.

. Политика распределительных сетей (АО "ВК РЭК" г. Семей; ТОО "Шыгысэнерготрейд") заключается в том, что первостепенной задачей. Нашей компании при осуществлении своей производственной деятельности является Охрана труда, Здоровье и Техника Безопасности, как наших работников, так и людей окружающих нас.

. Целью данной политики является достижения отсутствия несчастных случаев, повышение культуры техники безопасности, осведомленности и агитации здорового образа жизни, высоких стандартов техники безопасности среди работников AES, подрядчиков и людей с которыми имеем дело.

. Мы стремимся работать в соответствии с международными стандартами в сфере безопасной работы сотрудников, защиты окружающей среды, потребителей, и людей, живущих в области, где осуществляется наша деятельность.

Эти цели достигаются:

Обучением и соблюдением установленных норм техники безопасности при выполнении работы; обеспечением и проверкой использования индивидуальных средств защиты в каждодневной работе; выделением достаточных средств для полного обеспечения и дальнейшего поддержания безопасных и благоприятных условий труда, состояния оборудования и рабочих мест и предоставления свободного доступа к профессиональной информации, обучения и контроля, необходимого для достижения этих целей.

Тем, что каждый работник возьмет на себя ответственность за допущение или разрешение выполнения работ с нарушением техники безопасности не только лично им, но и любым другим работником AES.

Последовательным устранением нестандартных условий труда с целью предотвращения травматизма на производстве.

Регулярным мониторингом степени улучшения выполнения работ безопасно, иметь такой подход, чтобы действовать и предвидеть заранее, при этом искать совета у всех работников компании AES.

Пропагандой личной ответственности за безопасность.

1.3 Технологические процессы, осуществляемые на предприятии

Одним из слагаемых единого технологического комплекса - системы электроснабжения (генерация электроэнергии - ее передача - распределение) является распределительная сеть, представляющая собой совокупность распределительных линий электропередачи, распределительных и потребительских трансформаторных подстанций напряжением 110, 35 и 10 кВ. От работоспособного состояния этого конечного элемента зависит эффективность работы всей системы энергоснабжения - своевременная и полнообъемная выдача потребителям электроэнергии, соответствующей стандарту качества, производимой на электростанциях или поступающей в страну по импорту.

Система электроснабжения является важнейшим элементом производственной и социальной инфраструктур национальной экономики. Она носит глобальный характер, обеспечивая нормальное функционирование и развитие всех сфер экономики, жизнедеятельности населения, социальный прогресс и повышение качества жизни граждан.

Электроснабжение населенных пунктов на территории области обеспечивается региональными энергетическими компаниями: АО "ВК РЭК" и Семипалатинский филиал АО "ВК РЭК". Общая протяженность линий электропередач составляет 33 397 км, подстанций 161 шт., ТП и КТП - 6668 шт.

. Техническое обслуживание и ремонт электрооборудования

Техническое обслуживание представляет совокупность организационных и технических мероприятий, проводимых в межремонтный период, направленных на поддержание и готовности электроустановок.

Техническое обслуживание состоит из повседневного ухода за электроустановками, контроля режимов их работы, наблюдение за исправным состоянием, проведение осмотров, контролем за соблюдением ПТЭ, инструкций заводов-изготовителей и местных инструкций.

Техническое обслуживание предупреждает аварии, выполняется силами оперативного и ремонтного персоналов, который проводится во время смены, перерывов, нерабочих дней.

Процессы старения и износа выводят электродвигатель из строя. Эти процессы зависят от многих факторов: условий и режима работы, технического обслуживания электрооборудования и т. д. Одна из причин выхода электрооборудования из строя - аварийные режимы: перегрузка рабочей машины, попадание в рабочую машину посторонних предметов, неполнофазные режимы работы электрооборудования, значительные колебания напряжения питания и т. п.

Межремонтное обслуживание носит профилактический характер. Оно состоит в проведении регулярной чистки и смазки оборудования, осмотре и проверке работы его механизмов, смене деталей с коротким сроком службы, устранении мелких неисправностей. Эти работы выполняются без останова оборудования, в порядке его текущей эксплуатации

Электрооборудование, вышедшее из строя, восстанавливают, то есть ремонтируют.

Профессионал - водитель

Электромонтер 3 разряда

Допускающий

Наблюдающий

. Условия выполнения работ

• Со снятием напряжения;

• По распоряжению.

. Защитные средства, приборы, инструмент, приспособления и материалы.

. Подготовительные работы и допуск к работе:

• Подготовить инструмент, монтажные приспособления и материалы;

• После выдачи распоряжения производителю работ получить инструктаж у лица, выдавшего распоряжение;

• Оперативному персоналу подготовить рабочее место. Производителю работ проверить выполнение технических мероприятий по подготовке рабочего места;

• Произвести допуск бригады к работе;

• Производителю работ провести инструктаж членам бригады, объяснив ему порядок и условия выполнения работы.

. Составить схему последовательного технологического процесса.

. Окончание работ.

• Собрать приборы, инструмент, материалы, защитные средства;

• Сдать рабочее место допускающему и закрыть распоряжение;

• Результаты занести в журнал.

.1 Виды ремонтных работ, систем планово-предупредительного ремонта

Ремонт - это совокупность мероприятий и работ, которые необходимо выполнить, чтобы электрооборудование и сети оставались в эксплуатации или были приведены в исправное состояние. Это достигается заменой или восстановлением изношенных или разрушенных деталей, наладкой и регулировкой ремонтируемого оборудования и участков сети с доведением их параметров до уровня и требований технических условий.

В народном хозяйстве используется большое количество разнообразного электрооборудования и электрических сетей. В результате эксплуатации, аварий, перегрузок и естественного износа часть электрооборудования и сетей выходит из строя и подлежит ремонту.

Техническое обслуживание является одним из важнейших профилактических мероприятий в системе ППРЭО. Обслуживание выполняется силами эксплуатационного или эксплуатационно-ремонтного персонала.

Надежность, бесперебойность и безопасность работ электрооборудования и сетей может быть обеспечена нормальной эксплуатацией и правильной системой ремонта электрооборудования. Такой системой является планово-предупредительный ремонт (ППР). Он состоит из комплекса организационно-технических мероприятий, к числу которых можно отнести: планирование, подготовку и организацию проведения ремонта, контроль за сроками и качеством, формы ремонтной документации, оплату труда ремонтных бригад, трудоемкость, нормы расхода материалов, запасных частей, покупных изделий и др.

В соответствии с графиком ППР, составляемым в зависимости от технического состояния, условий и продолжительности непрерывной работы оборудования, устанавливают периодичность плановых осмотров и ремонта, составляют перечень необходимых ремонтных работ, планируют месячные и годовые задания по ремонту, составляют спецификации на запасные части и необходимые материалы, ведут учет ремонтных работ, составляют сметы на капитальный ремонт.

Система ППР вводится в действие приказом по предприятию, которым устанавливаются обязанности различных цехов и служб, утверждается график ремонта и другие мероприятия. Например, определяются обязанности производственных цехов и электротехнического персонала по уходу за электрооборудованием и межремонтного технического обслуживания; обязанности электроремонтного цеха (ЭРЦ); положение об изготовлении запасных частей; мероприятия по дальнейшему совершенствованию ремонта, централизация и специализация его.

Планово-предупредительный ремонт (ППР) представляет собой комплекс работ, направленный на поддержание и восстановление работоспособности оборудования.

Системой планово-предупредительного ремонта и обслуживания оборудования включает в себя три вида ремонтов - текущий, средний и капитальный.

Текущий ремонт - основной профилактический вид ремонта -предусматривает замену быстроизнашивающихся деталей (щеток электрических машин, подшипников), масла трансформатора, зачистку подгоревших контактов и другие ремонтные работы, требующие частичной разборки оборудования. В ряде случаев эта разборка может быть произведена без демонтажа всего агрегата. Текущий ремонт требует остановки оборудования и отключения сетей и выполняется, как правило, в нерабочие дни и смены.

При среднем ремонте производится разборка отдельных узлов для осмотра, чистка деталей и устранения обнаруженных неисправностей, ремонт или замена быстроизнашивающихся деталей или узлов, не обеспечивающих нормальной эксплуатации оборудования до очередного капитального ремонта. Средний ремонт проводится с периодичностью не чаще 1 раза в год.

Капитальный ремонт - наиболее сложный и полный ремонт, требующий разборки оборудования и предусматривающий, в частности, частичную или полную смену обмоток, перешихтовку магнитопровода трансформатора, правку вала, заварку подшипниковых щитов, замену поврежденных вентиляторов электродвигателей, ремонт коллекторов, изготовление новых катушек магнитных пускателей, перетяжку проводов воздушных линий, ремонт кабельных муфт и концевых заделок и другие трудоемкие и сложные работы. Сети при капитальном ремонте отключаются, а оборудование доставляется в ремонтный цех.

Оборудование после капитального ремонта должно отвечать тем же паспортным и техническим данным, что и новое. Для проверки этих данных его подвергают испытаниям по определенной программе.

2.2 Техника безопасности и противопожарные мероприятия при техобслуживании и ремонте электрооборудования

Самым опасным производственным фактором является поражение электрическим током.

Поражение человека электрическим током может быть в виде электрического удара, когда нарушается нормальная деятельность органов движения, дыхания и кровообращения; и виде электрических травм, когда механически повреждаются ткани организма.

Поражение людей электрическим током возникают вследствие случайного прикосновения или опасного приближения к частям установки, находящимся под напряжением, а также прикосновения к конструктивным, металлическим частям установок, нормально находящимся без напряжения, оказывается под напряжением вследствие повреждения изоляции.

Электроустановки и электросети в отношении мер безопасности разделяются на следующие виды:

1) Электроустановки и электросети напряжением выше 1000 В с глухо-заземленной нейтралью.

2) Электроустановки в сети напряжением выше 1000 В с изолированной нейтралью.

) Электроустановки и электросети напряжением до 1000 В с глухо-заземленной нейтралью источника питания.

) Электроустановки и электросети напряжением до 1000 В с изолированной нейтралью.

При проектировании электроустановок принимаются меры по обеспечению электробезопасности. По назначению помещения разделяются на электропомещения и помещения других назначений.

Электропомещениями называют помещения, в которых установлено эксплуатируемое электрооборудование и которые доступны только для персонала, имеющего необходимую квалификацию для обслуживания электроустановок. Доступность электропомещений только квалифицированному персоналу обеспечивается наличием замков у помещений, ключи от которых может получить только квалифицированный персонал. Квалифицированным персонал следует считать начиная с III группы.

Защитные мероприятия.

В производственных, служебных, торговых, бытовых и жилых помещениях меры защиты от случайного прикосновения к частям, находящимся под напряжением, в основном состоит: в расположении токоведущих частей электроустановки на недоступной высоте; в ограждении частей, находящихся под напряжением, в вывешивании предупредительных плакатов; в блокировках, снимающих напряжение при снятии ограждения.

В электропомещениях меры защиты от случайного прикосновения или опасного приближения к частям находящимся под напряжением, состоят:

а) в ограждении частей, находящихся под напряжением, или размещении их на определенной высоте;

б) в окраске токоведущих частей, снабжении устройств надписями, предупредительными и другими плакатами;

в) в применении защитных средств;

г) в организационных мероприятиях.

Защитные мероприятия от прикосновения к частям электроустановок, нормально находящимся без напряжения, но оказавшимся под напряжением состоят в следующем: заземление или зануление корпусов электрооборудования и конструктивных металлических частей электроустановок; защитное отключение, обеспечивающее автоматическое отключение поврежденных участков; устройство изолирующих площадок для обслуживания оборудования, если выполнение требуемого заземления, зануления или защитного отключения представляет значительные трудности.

Защитным заземлением, выполняемым для обеспечения электробезопасности, называется преднамеренное металлическое соединение с заземляющим устройством элементов электроустановок, нормально не находящихся под напряжением. Рабочим заземлением называется какой-либо точки электроустановки, находящихся под напряжением, необходимое для обеспечения надлежащей работы установки в нормальных и аварийных условиях. Занулением в электроустановках до 1000 В называется преднамеренное электрическое соединение металлических элементов установки нормально изолированных от частей находящихся под напряжением, с глухозаземленной средней точкой в трехпроводных сетях постоянного тока.

Мероприятия по обеспечению электробезопасности в действующих электроустановках.

Организационные мероприятия по предупреждению поражения электрическим током состоят в регламентации действий дежурного и ремонтного персонала при выполнении им своих обязанностей, в отношении порядка работ и применения защитных средств. Осмотры действующих электроустановок допускаются одним лицом из числа дежурного персонала, имеющего квалификационную группу не ниже III. Оперативные переключения в распределительных устройствах производятся по распоряжению или с ведома вышестоящего дежурного персонала, в ведении которого находится данное электрооборудования в соответствии с установленным на предприятии режимом работы. В распределительных устройствах РУ напряжением выше 1000 В сложные переключения, производимые более чем на одном присоединении, должны выполняться двумя лицами. Для предотвращения ошибочных отключений разъединителей под нагрузкой служит блокировка разъединителей между собой и с выключателями.

Включение электрооборудования, бывшего в ремонте или на испытании, может быть произведено только после приемки его дежурным персоналом от ответственного руководителя работ. После окончания работы рабочее место должно быть убрано ремонтной бригадой и осмотрено ответственным руководителем, после чего он расписывается в наряде об окончании работ. Наряд закрывается после соответствующей записи лицом оперативного персонала после осмотра ремонтируемого электрооборудования и проверки отсутствия на рабочем месте людей и посторонних предметов. При этом временные переносные заземления и плакаты снимаются и устанавливаются постоянные ограждения. Включение установки под напряжение разрешается только после закрытия наряда.

Электрооборудования пожароопасных помещений.

Помещения класса П-I к ним относятся помещения, в которых применяются или хранятся горячие жидкости с температурой вспышки паров выше 450С, в которых выделяются горючие пыль или волокна, переходящие во взвешенное состояние. Помещения класса П-Iiа к ним относятся производственного и складские помещения, содержащие твердые или волокнистые горючие вещества. Установки класса П-III к ним относятся или хранятся горючие жидкости с температурой вспышки паров выше 450С. Определение класса пожароопасных помещений и наружных установок должно производится технологами совместно с электриками проектирующей или эксплуатирующей организацией.

Выбор оборудования для пожароопасных помещений.

Электрооборудование и его элементы по своим физическим свойствам, необходимым для обеспечения надежности их эксплуатации, могут быть: огнестойкими, если они не зажигаются и не обугливаются, а также, если они, будучи зажжены, не продолжают самостоятельно гореть и тлеть; дугостойкими, если они не претерпевают изменений при воздействии электрической дуги, возникающей в нормальных условиях работы; влагостойкими, если они не претерпевают изменений при воздействии влаги; нагревостойкими, если они не претерпевают изменений при воздействии высоких температур; химически стойкими, если они не претерпевают изменений при воздействии реагентов.

Тушение пожаров.

В производственных помещениях должны быть средства огнетушения, которые применяет обслуживающий персонал для ликвидации пожара до прибытия вызванной на пожар пожарной части. Для тушения пожаров можно использовать воду, водяной пар или специальные химические вещества. Воду нельзя применять для тушения легковоспламеняющихся жидкостей и электроустановок, находящихся под напряжением. Из химических средств огнетушения широкое применение получила углекислота; применяется для тушения пожаров в электроустановках под напряжением. Также применяют песок и асбестовую и грубошерстную ткань.

2.3 Организация и технология техобслуживания ремонта генераторов и двигателей

На каждом предприятии для каждого участка и цеха должна быть составлена местная инструкция по эксплуатации.

В местных инструкциях указывают: техническую характеристику двигателя, порядок подготовки к пуску, последовательность запуска, остановки, технического обслуживания во время эксплуатации и аварий, порядок допуска к осмотру, ремонту и испытанию двигателя, требования по технике безопасности, специфические рекомендации.

Контроль за нагрузкой, вибрацией, температуры подшипников, операции по пуску и остановки осуществляет технический персонал цеха.

Дежурный электротехнический персонал периодически в установленные сроки совершает обходы, осмотры электрооборудования в объеме типовой инструкции.

Эксплуатация электрических машин включает содержание их в исправном состоянии, устранение мелких неисправностей и ремонт. Основой правильной эксплуатации электрических машин являются эксплуатационные документы. Они поставляются заводом-изготовителем вместе с машиной. В число эксплуатационных документов входят: техническое описание; инструкция по эксплуатации; инструкция по техническому обслуживанию; инструкция по монтажу, пуску, регулированию и обкатке машин; формуляр для машины, технические данные которой гарантируются заводом; ведомость запасных частей, инструментов и устройств; ведомость эксплуатационных документов.

Техническое обслуживание, ремонт генераторов и двигателей.

Разборка электрических машин на составные части не представляет затруднений. Необходимо только максимально механизировать выполнение отдельных операций, применяя электро- или гидрогайковерты, съемники, тали и т.п.

Наиболее трудоемкая операция при разборке - удалении старой обмотки. Это делают следующими методами: механическим, термомеханическим, термохимическим, химическим и электромагнитным.

Закончив первую операцию, освобождают крепления подшипников, удаляют шпонку, болты и снимают подшипниковые щиты. После этого, если необходимо, вынимают ротор. Это можно делать вручную, если масса ротора меньше 50 кг. Ротор нужно вынимать осторожно, чтобы не повредить сердечники и обмотки электродвигателя. Предварительно на один конец вала надевают отрезок стальной трубы.

Следует помнить, что во время разборки необходим четкий порядок, исключающий потери и поломки деталей (например, крепежные части, мелкие детали и т. п. маркируют и складывают в специальные ящики).

Закончив разборку электродвигателя, тщательно осматривают обмотки и сердечники, обращая внимание на крепления отдельных узлов и лобовых частей обмотки, сохранность изоляции, плотность прессовки, надежность крепления, отсутствие коррозии. Выявленные дефекты устраняются.

После проверки всех частей электродвигателя и устранения обнаруженных дефектов двигатель собирают в последовательности, обратной его разборке: ротор вводят в статор, устанавливают подшипники, закрепляют подшипниковые щиты и убеждаются в плотной их посадке.

Во время сборки проверяют правильность выполняемых работ и соблюдение условий, необходимых для нормальной работы электродвигателя. Прежде всего, убеждаются в том, что ротор от руки вращается легко, в противном случае возможны перекос подшипника или подшипниковых щитов, задевание ротора о статор или вентилятора о корпус, наличие посторонних предметов внутри двигателя. Если конструкция электродвигателя допускает, то измеряют зазоры ротором и статором, которые должны быть одинаковы по всей окружности. Затем в подшипники набивают смазку в количестве 2/3 объема камеры.

После окончания сборки дополнительно убеждаются в отсутствие перекосов и заклинивания вала, которые могут возникнуть при неправильной затяжке крышек подшипников. На вал собранного электродвигателя насаживают шкив, полумуфту или шестерню, нанося молотком удары по алюминиевой или медной подкладке, приложенной к торцу втулки, или используя специальное винтовое приспособление, действующие аналогично съемнику.

К электромеханическим работам относятся: ремонт корпусов машин, подшипниковых щитов, валов, подшипниковых узлов, активного железа статора или ротора, коллекторов, контактных колец, щеточных аппаратов и короткозамкнутых механизмов, полюсов, беличьих клеток и выводных коробок. Кроме того, к этим работам относятся бандажирование роторов и якорей и их балансировка.

Ремонт корпусов и подшипниковых щитов, заключается в устранении изломов и трещин и выполняется при помощи сварки.

В настоящее время практически все электрические машины имеют подшипники качения, обслуживание и ремонт которых значительно проще, чем подшипников скольжения.

Подшипники качения при их износах обычно заменяют. Если нет подшипников необходимых типоразмеров, можно применить подшипники с другими размерами, но при этом новый подшипник должен по своей грузоподъемности соответствовать заменяемому. При этом используют внутренние или наружные вспомогательные (ремонтные) втулки, посадка (сопряжение) которых осуществляется запрессовкой (с натягом), а также применяются вспомогательные упорные кольца под наружное кольцо подшипника.

Роликовые подшипники могут быть заменены шариковыми в случаях, если при работе машины не наблюдаются значительные осевые усилия (разбег вала механизма не превышает разбега электродвигателя).

Ремонт коллектора [П1] можно проводить с разборкой и без нее. Ремонт без разборки заключается в обточке (на токарном станке или в собственных подшипниках), продораживании, шлифовании и полировании. Продораживание коллектора (при помощи фрезы на станке, ножовочного полотна или специального скребка) выполняют при каждом ремонте коллектора, если даже не делали его проточку.

При ремонте или замене изоляции между коллекторными пластинами следует стремиться не разбирать коллектор полностью, а пользоваться разъемным хомутом, что значительно сокращает затраты труда на разборку и особенно на сборку коллектора. У низковольтных машин новые манжеты можно формовать непосредственно при сборке коллектора без применения специальных прессформ.

Отремонтированный полностью собранный коллектор прогревают в печи до температуры 150 - 160°С, испытывают на станке нa механическую прочность при частоте вращения в 1,5 раза выше номинальной и проверяют на отсутствие замыканий между пластинами и между пластинами и втулкой.

Контактные кольца ремонтируют, если их толщина в радиальном направлении достигает 8 - 10 мм (менее 50 % первоначальной). Конструкция узла с контактными кольцами может быть самой разнообразной: разрезная втулка, изоляция из электрокартона, гибкого миканита и кольца; неразрезная втулка, разрезная гильза из листовой стали, изоляция из электрокартон и кольца; неразрезная втулка с изолирующими фигурными кольцами, между которыми располагаются кольца машины. Все конструкции узлов контактных колец, кроме последнего, собирают с натягом в холодном состоянии.

Контактные кольца проверяют на отсутствие замыканий между ними и корпусом и биение (радиальное биение не должно быть более 0,1 мм при частоте вращения до 1000 об/мин и 0,05 мм - при большей, а осевое биение не должно превышать 3...5% толщины кольца).

Ремонт щеточных аппаратов (траверса с пальцами, щеткодержатели с пружинами и обоймами и щетки) чаще всего заключается в восстановлении изоляции пальцев щеткодержателей, надежного контакта между жгутами и щеткой, регулировке пружин щеткодержателя и установке, регулировке и приработке щеток. Изоляцией щеткодержателей являются гетинаксовые торцевые шайбы и бакелизированная бумага на шейке пальца толщиной согласно технологической карте ремонта. Нажатие щеток рекомендуется в пределах от 1500 до 2000 Па.

Ремонт короткозамыкающего механизма заключается в восстановлении изношенных боковых ребер короткозамыкающего кольца, пальцев вилки и пружинных контактов путем сварки и наплавки или же замены изношенной детали новой.

Балансировку машин (совмещение центра тяжести ротора или якоря с осью вращения) выполняют с полностью собранным ротором (якорем). Балансировка делится на статическую и динамическую. Первой подвергают все машины, второй - машины с частотой вращения свыше 1000 об/мин, а тающее машины с удлиненными роторами. Динамической балансировке предшествует статическая. Статическую балансировку выполняют на двух узких шлифованных линейках, уложенных строго горизонтально на массивных опорах. Динамическую балансировку выполняют на специальных балансировочных станках или в отдельно расположенных подшипниковых опорах, смонтированных на упругих (резиновых) прокладках или же в собственных подшипниках. В последнем случае места расположения балансировочных грузов и их массу определяют методом проб.

Осмотр и ремонт активной части.

При ремонте проверяют состояние изоляции обмоток, прессующих деталей обмоток, отводов и болтовых соединений, изоляционных цилиндров, барьеров и перегородок; магнитопровода и его заземления, изоляции стяжных шпилек, прессующих колец ярмовых балок и бандажей, переключателя ответвлений обмоток. Для осмотра обмоток и магнитопровода демонтируют изоляционные перегородки. При снятии перегородок следует проверить, не касаются ли они обмоток и отводов, а также нет ли следов электрических разрядов между ними. Главные изоляции проверяют внешним осмотром, она пригодна если электрокартон не хрупок и при сгибании не ломается. Бакелитовые цилиндры осматривают и проверяют, нет ли на них повреждений. При осмотре изоляции обмоток, не имеет ли она повреждений, разбуханий и определяют ее механическую прочность. При осмотре прессующих деталей (брусьев, шайб, колец) проверяют их состояние и достаточность прессовки обмоток. При необходимости обмотки подрисовывают с помощью изоляционных брусьев и клиньев. При осмотре отводов проверяют состояние их изоляции паек и контактов, крепящих отводы изоляционных деталей. Разъемные контакты отводов разбирают и зачищают. Паяные контакты, имеющие дефекты, переделывают заново. Нарушенную изоляцию заменяют новой. При осмотре магнитопровода проверяют плотность сборки пакетов стали, отсутствие следов нагрева, целость заземления и соединений прессующих колец и ярмовых балок с магнитопроводом. Степень прессовки стали магнитопровода проверяют специальным ключом путем приложения к гайкам прессующих шпилек нормированных усилий. Состояние изоляции листов стали проверяют измерением сопротивления постоянному току лаковой пленки пакетов стали и всего магнитопровода. Сопротивление изоляции стяжных шпилек, прессующих колец и ярмовых балок проверяют мега омметром на 1000-2500 В. Сопротивление изоляции при этом не нормируется, устанавливается лишь отсутствие замыканий. Проверяют состояние охлаждающих каналов в магнитопроводе и обмотках. Минимальная высота каждого канала должна быть не менее 4 мм. В каналах не должно быть отложений шлама. У трансформаторов, снабженных РПН проверяют исправность всех механизмов переключателя: валов, шестерен, кулачков сцепления и пр. Проверяют состояние реакторов, надежность работы и отсутствие нагара на контактах контактора и избирателя. В баке контактора заменяют масло. При ремонте переключающего устройства измеряют переходное сопротивление его контактов и силу контактного нажатия. Переходное сопротивление должно быть 10 - 20 мк Ом. Измерения силы контактного нажатия сравнивают с паспортными данными. После тщательного осмотра, проверки и устранения всех выявленных дефектов и повреждений активная часть трансформатора промывая струей сухого горячего (600С) масла той же марки, которым трансформатор был заполнен до ремонта.

2.4 Организация и технология техобслуживания ремонта силовых трансформаторов

электроснабжение техобслуживание ремонт трансформатор

Осмотр силовых трансформаторов включает в себя: проверка показания термометров и мановакууметров, состояние корпуса трансформатора, отсутствие течи масла, наличие масла в маслонаполненных вводах, соответствие уровня масла в расширителе согласно температурной отметке, состояния изоляторов и охлаждающих устройств, состояние ошиновки кабелей, отсутствие нагрева контактных соединений, исправность предохранителей и сигнализации, состояние сети заземления.

Техническое обслуживание и ремонт силовых трансформаторов состоит в текущем и капитальном ремонте трансформатора. Организация и выполнение этих работ осуществляют исходя из местных условий. Все электрооборудование подстанции ремонтируется летом.

При текущем ремонте трансформаторов производят наружный осмотр трансформатора и всей арматуры: спуск грязи из расширителя; доливку масла (в случае необходимости); проверку маслоуказательных устройств, спускного крана и уплотнений, пробивных предохранителей у трансформаторов с незаземленным нулем с низкой стороны, рабочего и защитного заземления, сопротивление изоляции обмоток, испытание трансформаторного масла, проверку газовой защиты.

При капитальном ремонте трансформаторов производят вскрытие трансформатора; подъем сердечника и осмотр его; ремонт выемной части (стали, обмотки, переключателей, отводов); ремонт очистительных устройств; чистку и окраску кожуха; проверку контрольно-измерительных приборов, сигнальных и защитных устройств; очистку и замену масла; сушку изоляции; сборку магнитопровода трансформатора [П2], проведение установленных измерений и испытаний.

Профилактические испытания включают испытания изоляции трансформаторного масла, проверку воздушного зазора между статором и ротором в электрических машинах, контроль давления контактов отключающих аппаратов и операции, предусмотренные соответствующими нормами и правилами эксплуатации. При наличии технической документации дефектация сводится к осмотру и определения состояния и комплектности трансформатора, уточнению условий и возможностей ремонта трансформатора на месте. При отсутствии технической документации осмотр и дефектацию производят в полном объеме с выполнением необходимых замеров и испытаний. Результаты заносят в специальную ведомость дефектов.

2.5 Организация и технология техобслуживания и ремонта электрических и кабельных линий

Техническое обслуживание кабельных линий включает в себя: контроль за токовыми нагрузками, температурными режимами и напряжением сети, проведение систематических и внеочередных осмотров трасс, проведение профилактических испытаний и измерений, контроль за проведением работ на трассах и проведение разъяснительной работы среди населения.

Различают два вида испытаний кабельной линии: испытания после окончания монтажа перед включением линии в работу и так называемые профилактические испытания линии в процессе эксплуатации. Первое из этих испытаний производится с целью проверки пригодности линии ко включению ее в работу, а также с целью определения основных характеристик линии в момент начала ее работы. Профилактические испытания производимые через определенные промежутки времени, имеют своей основной целью: выяснить состояние линии в момент производства этих испытаний; сравнить состояние линии при производящемся испытании с последним. Это сравнение имеет в свою очередь целью: выяснить, насколько изменились основные характеристики линии; установить следует ли данную линию считать вполне исправной, неполноценной или непригодной для дальнейшей эксплуатации; выяснить характер и местонахождение возможных дефектов в линии и путем устранения их избежать аварии. Достаточно частые профилактические испытания позволяют также судить о быстроте изменения или иных характеристик линии, а следовательно и о быстроте приближения к тому моменту, когда ее следует считать неполноценной, а затем непригодной и отключить во избежании аварии. Для кабельных линий крупных энергообъединений, располагающих достаточным количеством аппаратуры, приборов и квалифицированным персоналом, считается нормальным следующий объем испытаний, измерений и проверок: измерения сопротивления изоляции; испытание повышенным напряжением; измерение величин токов утечки с определением коэффициента асимметрии их; проверка способности линии держать электрический заряд, определение величины tgб.

Периодичность профилактических испытаний устанавливают в зависимости от назначения кабеля, от состояния его изоляции и от наблюдающейся скорости развития дефекта. Для кабелей, имеющих хорошие электрические характеристики и отнесенных к группе полноценных, срок повторных испытаний выбирают больший, чем для кабелей к группе неполноценных. Сроки повторных испытаний для неполноценных кабелей сокращают в зависимости от степени дефектности кабеля. Наиболее распространенным дефектом кабелей является проникновение в них влаги через повреждения свинцовой оболочки, поэтому для кабелей, отнесенных к категории неполноценных, повторные испытания назначают сейчас же после поступления в почву большого количества влаги от дождей или таяния снега. К той же группе следует отнести и кабели, имеющие концевые мачтовые муфты. Профилактические испытания сетевых распределительных и фидерных кабельных линий производят два раза в год. Для кабелей, проложенных на подстанциях в туннелях, каналах блоках принято считать достаточным проведение профилактических испытаний один раз в год. При наличии на кабельной линии дефектов отклонений от норм при испытании, коррозии оболочек, испытания проводят чаще, в зависимости от местных условий. Также проводят измерение сопротивления изоляции, испытание повышенным напряжением выпрямленного тока, испытание повышенным напряжением частоты 50 Гц, определение целости жил кабелей и фазировка кабельных линий, определение активного сопротивления жил кабелей, определение электрической работой емкости жил кабелей, контроль степени осушения вертикальных участков, измерение токораспределения по одножилным кабелям и блуждающих токов, определение химической коррозии и характеристик масла, измерение нагрузки и допустимые перегрузки, пропиточное испытание, измерение сопротивления заземления.

2.6 Объем после ремонтных испытаний и правила приема электрооборудования после ремонта

Тщательная приемка в эксплуатацию вновь смонтированных электроустановок - одно из условий обеспечивающих нормальную работу электрооборудования промышленного предприятия.

Каждое отступление от требований предъявляемые к смонтированной электроустановке может при эксплуатации послужить причиной аварий.

При приемке смонтированного электрооборудования ее необходимо тщательно осмотреть. Сама машина, ее пускозащитная аппаратура и вспомогательное электрооборудование должны быть доступны для осмотра и соответствовать условиям эксплуатации.

Сборка трансформатора после ремонта.

После выполнения ремонтных работ активную часть трансформатора, имеющего верхний разъем, поднимают и опускают в бак. Затем устанавливают резиновые прокладки и крышку бака. У трансформаторов с нижним разъемом устанавливают на поддон съемную часть - колокол. Разъем равномерно стягивают болтами. Активную часть раскрепляют внутри бака. После этого устанавливают вводы и соединяют их с отводами от обмоток. Устанавливают газоотводные трубы. Расширитель и выхлопную трубу пока не устанавливают, их люки и все отверстия в съемной части бака плотно закрывают заглушками. Собранный трансформатор проверяют на герметичность путем создания в баке разряжения. Чтобы не повредилось покрышки вводов при создании вакуума в трансформаторе, их до начала проверки соединяют временными резиновыми шлангами с вакуумным пространством бака. Трансформатор считают герметичным, если не будет выявлено никаких дефектов и значительного изменения первоначального значения разрежение в течение 1 часа. Трансформатор выдерживают под вакуумом от 0 до 10 часов. Затем при работающем вакуумном насосе бак трансформатора заполняют сухим при температуре 50 - 600С маслом до уровня на 150 - 200 мм ниже уровня крышки. Далее проводят окончательную сборку трансформатора: устанавливают расширитель и выхлопную трубу, контрольно-центральные устройства; монтируют систему охлаждения и термосифонные фильтры. Затем в трансформатор доливают масло до уровня, соответствующего температуре окружающего воздуха. На полностью собранном и залитом маслом трансформаторе с регулированием напряжения над нагрузкой проверяют работу переключающего устройства. В заключение для определения плотности всех соединений и сварных швов трансформатор в течении 3 часов испытывают избыточным давлением.

Испытание собранной после ремонта машины должно проводиться по следующей программе:

• Проверка сопротивления изоляции всех обмоток относительно корпуса и между собой.

• Проверка правильности маркировки выводных концов.

• Измерение сопротивлений обмоток.

• Проведение опыта холостого хода.

• Испытание на повышенную скорость вращения (на "разнос").

• Испытание изоляции между витками.

• Проведение опыта короткого замыкания.

• Испытание на нагревание под нагрузкой.

• Испытание электрической прочности изоляции (на "пробой").

Сборка генератора после ремонта.

При осмотре генератора перед пуском после ремонта проверяется, все ли работы закончены и имеется ли об этом запись в журнале ремонта. Обращается внимание на состояние щеток на кольцах ротора и на коллекторе возбудителя, проверяется, не выступает ли слюда и не затянуты ли медью промежутки между коллекторными пластинами, нет ли подгара и рисок-задиров на пластинах, не загрязнена ли изоляция щеточных аппаратов. Сработавшиеся щетки подлежат замене. Пыль и грязь на изоляции щеточных аппаратов удаляются путем протирки. О дефектах, которые сменный персонал своими силами устранить не может, сообщается руководству электроцеха.

При осмотре помещения выводов и ячейки генератора проверяется отсутствие закороток на ошиновке, следов нагрева контактных соединений по термоуказателям или по цветам побежалости. Проверяется, не попадает ли масло на оборудование выводов. Включается вентиляция помещения выводов. Производится опробование автомата гашения поля (АГП) и выключателей включением и отключением.

Проверяется готовность к пуску газомасляной системы генератора и системы водяного охлаждения обмоток. Особенно важно убедиться в том, что все вентили на маслопроводах подачи масла на уплотнения от системы регулирования через инжектор открыты, так как наиболее надеж но производить пуск при поступлении масла на уплотнения от инжектора. Совместно с машинистом турбины проверяется работа АВР маслонасосов турбины и водородного охлаждения, конденсатных, циркуляционных и других насосов. Перед проверкой АВР измеряется сопротивление изоляции всех двигателей, принадлежащих турбоагрегату, если они были в ремонте или длительно находились в резерве. Готовится к включению в работу система возбуждения согласно инструкции.

Измеряется сопротивление изоляции обмотки статора мегаомметром 2500 В и цепи ротора мегаомметром 500 - 1000 В. Результаты измерения сравниваются с данными предыдущих измерений. При уменьшении сопротивления изоляции обмотки статора в 3 - 5 раз, в цепи ротора ниже нормированного значения следует, разделяя цепи, определить участок с пониженной изоляцией и принять меры к восстановлению ее.

Сопротивления изоляции всей цепи возбуждения генераторов и синхронных компенсаторов с газовым охлаждением обмотки ротора и с воздушным охлаждением элементов системы возбуждения должно быть не менее 0,5 МОм, при водяном охлаждении полупроводниковых преобразователей - не менее 100 кОм. Сопротивление изоляции цепи возбуждения с водяным охлаждением обмотки ротора должно быть не менее 10 кОм. Однако при удалении дистиллята из обмотки с продувкой сжатым воздухом сопротивление изоляции обмотки должно быть не менее 0,5 МОм.

При осмотре генератора, находящегося в работе, проверяют:

нет ли искрения на кольцах ротора и коллекторе возбудителя, не загрязнены ли щеточные аппараты, не попадают ли на кольца и коллектор пары масла, нет ли на коллекторе искр, появляющихся при наличии на поверхности щеток металлических или абразивных включений или при срабатывании щеток до такой степени, что их медная армировка начинает задевать за коллекторные пластины;

не усилилась ли вибрация подшипников, не изменился ли шум генератора;

какова температура подшипников и вкладышей уплотнений, холодного и горячего газа и другие параметры охлаждения;

не увеличился ли слив масла из уплотнений в сторону водорода;

нормален ли перепад между давлениями масла на уплотнения и водорода;

вращается ли золотник регулятора, если в схеме масло-снабжения установлен регулятор типа ДРДМ-12М.

При обнаружении ненормальностей в работе следует выяснить причины и по возможности принять меры к их устранению.

3. Экономика и организация производства ремонтно-эксплуатационных работ

Восточно-Казахстанской область является наиболее развитым в экономическом отношении административно-территориальным образованием Республики Казахстан, а ведущие отрасли хозяйства Восточного региона оказывают доминирующее влияние на экономику страны в целом.

Восточно-Казахстанская область производит около 256 млн. т.у.т., имеется огромный неиспользованный потенциал энергосбережения, достигающий 15% ресурсов, в 3 - 4 раза ниже, чем затраты на их альтернативную добычу и производство.

От реализации программы энергосбережения в Восточно-Казахстанской области за период до 2015г. можно добиться экономически оправданной экономии энергоресурсов в 85 млн. т.у.т. Величина энергосбережения в области - это примерно 7 % от запланированного энергосбережения в стране. Необходимость формирования данной региональной целевой программы обусловлена следующими причинами:

экономической целесообразностью проводимых мероприятий и существенным потенциалом энергосбережения:

снижением энергетической эффективности экономики области:

ограниченным количеством невозобновляемых природных ресурсов;

низкой культурой производства.

Данная Концепция по энергосбережению не является директивным документом. Она направлена на решение следующих задач:

оценка энергетического будущего Восточно-Казахстанской области и районов, исходя из складывающихся тенденций, и определение политики энергосбережения области и районов;

определение механизмов реализации Программы в виде законов и других нормативных актов;

разработка мероприятий по практическому воплощению предлагаемых мероприятий.

Региональная программа исходит из того, что регионам предоставлен максимум самостоятельности в проведении энергосберегающей политики. Реализация энергосберегающей стратегии в регионе окажет положительное влияние на развитие экономики области и районов, на совершенствование технологической базы в производственной сфере и социально-бытовом секторе, позволит снизить инфляционные процессы, повысить конкурентоспособность товаропроизводителей, положительно скажется на росте внутреннего регионального продукта и, в конечном итоге, на повышении уровня жизни населения.

Повышение цен на топливно-энергетические ресурсы усиливает инфляционные процессы в экономике, снижает рентабельность энергоемких производств, увеличивает количество банкротств в промышленности и сельском хозяйстве, снижает жизненный уровень населения. Это стимулирует процессы энергосбережения.

Инвестиционная программа АО "ВКРЭК" на период 2009 - 2012 гг.

В октябре 2008 года инвестиционная программа АО ВКРЭК представлена на утверждение в Агентство РК по регулированию естественных монополий.

Суммарные капиталовложения по разработанной инвестиционной программе на период 2009-2011гг. составляют 67 995 млн. тенге, в том числе:

Таблица 1 - Инвестиционная программа АО "ВКРЭК"

Прогнозируемый тариф с учетом соотношения заемных и бюджетных средств (%)

Млн. теге

Объем капитальных вложений

67 995

II.Источники финансирования


1) Плата за ПДМ

8 985,7

2) Заемные средства

57 819,4


В Законе РК "Об электроэнергетике" исключена статья 19, регламентирующая нормы компенсирования затрат на присоединение дополнительных мощностей, в результате потерян основной источник финансирования.

АО "Восточно-Казахстанская региональная энергетическая компания" 100 % акций принадлежат государству в лице Комитета государственного имущества и приватизации Министерства финансов Республики Казахстан.

Таблица 2 - Сметная ведомость АО "ВКРЭК"

Капитальный ремонт (реконструкция) ЛЭП

107 538

Капитальный ремонт (реконструкция) ПС

20 000

Капитальное строительство

0

Капитальный ремонт зданий

15 020

 Модернизация и обновление основных средств

131 208

1.Аппаратура РЗА и ПАА

9 132

2. Диагностическое оборудование

9 660

3. Развитие информационной сети и связи

57 688

4. Спецтехника и автотранспорт

54 294

5. Вспомогательное оборудование

434

АСКУЭ

31 304

Проектирование

7 500


Таблица 3 - Динамика изменения объема инвестиции в основной капитал по источникам финансирования предприятия АО "ВКРЭК"

Годы

2010

% к пред. году

2011

% к пред. году

2012

% к пред. году

Всего по городу, млн. тенге

2781,9

66,9

2461,1

88,5

3168,5

120,5

Республиканский бюджет

2296,0

131,0

1875,4

81,7

1983,5

105,8

Местный бюджет

131,6

148,6

112,9

67,6

45,5

Собственные средства

354,3

26,4

404,9

114,3

916,0

в 2,3 раза

Иностранные инвестиции

0

0

32,2

0

117,7

в 3,7 раз

Заемные средства

0

0

0

0

83,7



Таблица 4 - Динамика максимальных нагрузок АО ВКРЭК

Динамика максимальных нагрузок по годам :

Год

2006

2007

2008

2009

2010

2011

Максимум электрической нагрузки, МВт

650

6 1 9

783

930

920

1120


В целях увеличения располагаемой мощности и надежности работы основного и вспомогательного оборудования станции инвестиционной программой 2008 года был предусмотрен ряд мероприятий, наиболее значимыми из которых за летнюю ремонтную кампанию для подготовки станции к работе в ОЗП 2008/2009г.г. следует отметить такие как: проведение текущего ремонта энергоблока № 1 с заменой холодной и горячей набивок РВП, расширенный текущий ремонт энергоблока № 2 с восстановлением ротора низкого давления, капитальный ремонт энергоблока № 4 с заменой труб соленых отсеков экранов топки котла и холодной набивки РВП, произведена замена вышедшего из строя трансформатора Т-4 (ТДЦ-250000/220), капитальный ремонт блока № 5 с частичной заменой трубок конденсаторов турбины, текущий ремонт энергоблока № 6, выполнен капитальный ремонт автотрансформатора 2АТ-А с заменой масла, завершены работы по реконструкции градирни № 4 с переводом с брызгального типа охлаждения на пленочное орошение, разработана проектная документация и начаты работы по монтажу Автоматизированной системы коммерческого учета электроэнергии с заменой трансформаторов напряжения, произведена замена оборудования внутристанционной и диспетчерской связи, и др.

Рис. 3.1. - Диаграмма мощностей

Затраты, связанные с производством и реализации услуг предприятием, группируются по статьям себестоимости: материалы, электроэнергия , затраты на оплату труда рабочих основного производства, отчисление на социальные нужды, амортизацию, ремонтный фонд, ремонт и техническое обслуживание или резерв расходов на оплату всех видов ремонтов, проведением аварийно-восстановительных работ, покупной продукцией, цеховые расходы, обще эксплуатационные расходы, страхованием, прочих прямых затрат.

Расчет затрат по статьям калькуляции для удобства анализа, сравнения с нормативами-индикаторами и затратами на аналогичных предприятиях целесообразно проводить по техническим этапам.

4. Мероприятия по охране окружающей среды

Охрана окружающей среды экология - комплекс мер, предназначенных для ограничения отрицательного влияния человеческой деятельности на природу.

АО "ВКРЭК" принимает меры по защите окружающей среды:

Ограничение выбросов в атмосферу и гидросферу с целью улучшения общей экологической обстановки.

Ограничение несанкционированного выброса мусора. Использование методов экологической логистики для тотальной очистки от несанкционированного мусора территории региона.

Охрана окружающей среды на предприятии характеризуется комплексом принятых мер, направленных на предупреждение отрицательного воздействия человеческой деятельности предприятия на окружающую природу, что обеспечивает благоприятные и безопасные условия человеческой жизнедеятельности. Учитывая стремительное развитие научно-технического прогресса, перед человечеством встала сложная задача - охрана важнейших составляющих окружающей среды (земля, вода, воздух), подверженных сильнейшему загрязнению техногенными отходами и выбросами, что приводит к окислению почвы и воды, разрушению озонового слоя земли и климатическим изменениям. Промышленная политика всего мира привела к таким необратимым и существенным изменениям в окружающей среде, что этот вопрос (охрана окружающей среды на предприятии) стал общемировой проблемой и принудил государственные аппараты разработать долгосрочную экологическую политику по созданию внутригосударственного контроля за ПДВ.

Основными условиями для улучшения экологии являются: рациональное использование, охрана и трата запасов природного резерва, обеспечение безопасности экологии и противорадиационные меры, повышение и формирование экологического мышления у населения, а также контроль над экологией в промышленности. Охрана окружающей среды на предприятии определила ряд мероприятий для снижения уровня загрязнений, вырабатываемого предприятиями

Все нормы и правила экологической и рабочей безопасности должны быть определены и зафиксированы в определенном документе. Экологический паспорт предприятия - это комплексная статистика данных, отображающих степень пользования данным предприятием природных ресурсов и его уровню загрязнения прилегающих территорий. Экологический паспорт предприятия разрабатывается за счет компании после согласования с соответствующим уполномоченным органом и подвергается постоянной корректировке в связи с перепрофилированием, изменениями в технологии, оборудовании, материалов и т.д.


Приложение 1 - сборка листов стали, при шихтовке коллектора щеточного узла из прямоугольных пластин (а) и из пластин со срезанными углами (б)

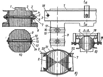
Приложение 2 - Способы сборки магнитопровода трансформатора сквозными шпилисами (а), ярм - внешними шпильками, стержней - бандажами (б), ярм - полубандажами (в):

- ярмо; 2 - картонная изоляция; 3 - ярмовая балка; 4 и 11 - бумажно-бакелитовые трубки; 5 и 10 - изоляционные шайбы; 6 и 12 - сквозные стяжные шпильки; 7 и 1В - гайки; 8 и 14 - стальные шайбы; 9- стержень магнитопровода; 15 - картонная подбандажная изоляция; 16 - стальной бандаж; 17 - замок бандажа (изоляция); 18 - внешняя шпилька; 19 - скоба; 20 - картонная изоляция полубандажа, 21 - стальной полубандаж, 22 - изоляционная прокладка (стеклотекстолит)

Похожие работы на - Техническое обслуживание и ремонт электрооборудования

 

Не нашли материал для своей работы?
Поможем написать уникальную работу
Без плагиата!
Без нейросетей!