Расчет газотурбинной установки
Содержание
Введение
. Выбор оптимальной степени
повышения давления в компрессоре ГТУ
. Расчет тепловой схемы ГТУ с
регенерацией
. Расчёт турбины
. Расчёт компрессора ГТУ
Литература
Введение
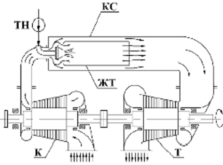
Газотурбинной установкой ГТУ называют тепловой
двигатель, состоящий из трёх основных элементов: воздушного компрессора, камеры
сгорания и газовой турбины. На рисунке 1 представлена схема простой ГТУ.
Принцип действия установки сводится к следующему. Атмосферный воздух сжимается
компрессором К и при повышенном давлении подаётся в камеру сгорания КС, куда
одновременно подают жидкое топливо топливным насосом ТН или газообразное
топливо от газового компрессора. В камере сгорания воздух разделяется на два
потока: один поток в количестве, необходимом для сгорания топлива поступает
внутрь жаровой трубы ЖТ; второй - обтекает жаровую трубу снаружи и
подмешивается к продуктам сгорания для понижения их температуры. Процесс
сгорания в камере происходит при почти постоянном давлении. Получающийся после
смешения потоков газ поступает в газовую турбину Т, в которой, расширяясь,
совершает работу, а затем выбрасывается в атмосферу.
Развиваемая турбиной мощность частично
расходуется на привод компрессора, а оставшаяся часть является полезной
мощностью газотурбинной установки.
Рисунок 1
В цикле простой ГТУ газы покидают температуру
при высокой температурой, что является основной причиной низкой энергетической
эффективности подобных установок. Одним из путей использования теплоты уходящих
газов является применение теплообменных аппаратов - регенераторов, в которых
уходящие газы отдают часть своей теплоты воздуху, сжатому в компрессоре. Схема
ГТУ с регенератором показана на рисунке 2.
Цикл простой ГТУ без учёта потерь в воздушном и
газовом трактах представлен в T,
s - диаграмме на
рисунке 3, а. Точка a
определяется начальными параметрами воздуха перед компрессором. Линия ab
соответствует процессу сжатия воздуха в компрессоре до параметров pb
и Tb, а линия ab'
- изоэнтропийному сжатию до того же конечного давления pb
и температуры Tbt.
Линией bc изображён
процесс изобарического подвода теплоты в камере сгорания. Линия cd
соответствует процессу расширения газа в турбине до давления pd,
cd' - изоэнтропийному
расширению до того же давления pd.
Линия da - условное
замыкание цикла. На самом деле в точке d
продукты сгорания выбрасываются в атмосферу. Следует отметить, что изображение
всего цикла ГТУ на одной диаграмме условно, поскольку построено для одного
неизменного вещества, в то время как процессы, составляющие цикл соответствуют
разным веществам. Так в процессе сжатия в качестве рабочего тела выступает
воздух, в процессе расширения - продукты сгорания, а процесс в камере сгорания
в результате химической реакции протекает при переменном составе рабочей среды.
Не смотря на это, условность изображения цикла позволяет с достаточной
точностью проводить определение характеристик ГТУ.
Рисунок 2
Рисунок 3
Процесс ГТУ с регенерацией в T,
s - диаграмме
изображён на рисунке 3, б. Линия be
соответствует нагреву воздуха, а линия df
- охлаждению продуктов сгорания в регенераторе.
В настоящее время ГТУ применяются для различных
целей. Широкое распространение они получили в авиации и дальнем газоснабжении.
В авиации газотурбинный двигатель занимает ведущее место, почти полностью
вытеснив двигатель внутреннего сгорания. На компрессорных станциях
магистральных газопроводов ГТУ используются в качестве двигателей для привода
газоперекачивающих компрессоров. При этом топливом служит газ, отбираемый из
магистральной линии.
В стационарной энергетике на тепловых
электрических станциях применяются ГТУ в качестве резервных и пиковых
источников энергии, а также в составе парогазотурбинных установок (ПГУ). В ПГУ
отходящие от ГТУ газы подаются в котёл-утилизатор, где вырабатывается водяной
пар, подаваемый в паровую турбину, которая вырабатывает дополнительную
мощность.
ГТУ находят применение также в качестве
теплофикационных установок. В этом случае газы из турбины подаются в
специальный котёл или водяной подогреватель. Уменьшение температуры уходящих
газов вызывает значительное возрастание КПД установки, а сама установка
оказывается проще и дешевле соответствующей паротурбинной установки.
В промышленности ГТУ широко применяются в
доменном производстве для привода воздуходувок, которые подают воздух
повышенного давления в печь. При этом топливом для установки служит доменный
газ - побочный продукт доменного производства.
В качестве двигателя ГТУ наряду с другими типами
двигателей используются на железнодорожном транспорте, в торговом и
военно-морском флоте. Автомобиль с газотурбинным двигателем пока ещё находится
в стадии разработки.
Таким образом, ГТУ является перспективным и
широко распространённым тепловым двигателем.
газотурбинный установка тепловой
компрессор
1. Выбор оптимальной степени повышения давления
в компрессоре ГТУ
Оптимальная степень повышения давления в
компрессоре для выбранной схемы ГТУ определяется из условия обеспечения
максимального КПД на расчётном режиме работы установки. Для газотурбинной
установки с регенерацией КПД определяется по следующей формуле
, (1.1)
где
- КПД камеры сгорания;
;
- средняя
теплоёмкость газов в интервале температур Tc - Td;
- средняя
теплоёмкость процесса подвода тепла в камере сгорания;
- средняя
теплоёмкость воздуха в интервале температур Tb - Ta;
;
- степень
повышения давления в компрессоре;
- отношение давлений в турбине;
-
коэффициент, учитывающий потери давления газа в проточной части установки;
-
коэффициент, учитывающий потери давления в воздушном тракте между компрессором
и турбиной;
-
коэффициент, учитывающий потери давления в системах всасывания воздуха (перед
компрессором) и выхлопа газов (за турбиной);
- КПД турбины;
- КПД
компрессора;
- показатель
изоэнтропы воздуха в процессе сжатия в компрессоре;
- показатель
изоэнтропы газов в процессе расширения в турбине.
Методика определения оптимальной
степени повышения давления состоит в следующем. По формуле 1.1 определяют КПД
установки с определённым интервалом для различных значений степени повышения
давления в компрессоре. При этом допустимо пренебречь влиянием изменения
теплоёмкости в цикле, т.е. принять
. В расчёте принимают
. Результаты
сводят в таблицу 1.1 и используют для построения зависимости
,
представленной на рисунке 1.1.
Таблица 1.1.
|
n(к.с)
|
λ
|
n(т)
|
n(к)
|
С(рв/рг)
|
m(в/г)
|
δ
|
t
|
E
|
η
|
|
0,98
|
0,94
|
0,88
|
0,86
|
1
|
0,275
|
1,88
|
3,88
|
2
|
0,2709119
|
|
|
|
|
|
|
2,82
|
|
3
|
0,335199
|
|
|
|
|
|
|
3,76
|
|
4
|
0,3524986
|
|
|
|
|
|
|
4,7
|
|
5
|
0,3544298
|
|
|
|
|
|
|
5,64
|
|
6
|
0,3498361
|
|
|
|
|
|
|
6,58
|
|
7
|
0,3420878
|
|
|
|
|
|
|
7,52
|
|
8
|
0,3327124
|
|
9
|
0,3224826
|
|
|
|
|
|
|
9,4
|
|
10
|
0,3118196
|
Рисунок 1.1.
По построенному графику определяют
оптимальную степень повышения давления в компрессоре
соответствующую
максимальному значению КПД на расчётном режиме работы ГТУ. Данное значение
степени повышения давления принимается ε=5 для дальнейших расчётов
газотурбинной установки.
. Расчёт тепловой схемы ГТУ с
регенерацией
При расчёте тепловой схемы ГТУ в
качестве топлива принимаем стандартный углеводород (С = 85%, Н = 15%), имеющий
следующие характеристики:
теплота сгорания Кт =
44300 кДж / кг;
минимальное необходимое количество
воздуха для полного сжигания одного килограмма газа L0 = 15 кг /
кг.
Расчёт выполняется в следующем
порядке:
. Определяются параметры процесса
сжатия воздуха в компрессоре.
Рассчитывается температура за
компрессором:
=288
=483,75 К =210,75 С (2.1)
Определяются энтальпии воздуха в начале и конце
процесса сжатия:
=213,28 кДж/кг (2.2)
=15,05 кДж/кг (2.3)
где
,
и
- энтальпии воздуха соответственно
при температуре
,
и
стандартной температуре
, принятой
за начало отчёта энтальпий в расчёте. Энтальпии определяются по таблице
….(приложение)
Вычисляется средняя теплоёмкость
воздуха в процессе сжатия:
=
=1,012 кг/м
(2.4)
Уточняется значение mв:
=
=0,283 (2.5)
температуру за компрессором и значение энтальпии
hb по формулам 2.1. и
2.2 соответственно.
=288
=481,19 К =208,12 С
=210,58 кДж/кг
=
=1,012
. Определяются параметры воздуха
после регенератора
=481,19+0,75
(816,33-481,19)=
=732,54 К=459,54 С (2.6)
где температура газов за турбиной определяется
по формуле
=1120
=816,33 К=
=543,33 С (2.7)
Находится энтальпия воздуха за регенератором
=475,26 кДж/кг (2.8)
. Определяется коэффициент избытка воздуха α
=6,27 (2.9)
где
=911,14 кДж/кг (2.10)
=1005,19 кДж/кг (2.11)
. Находится энтальпия газа перед турбиной:
=
=926,96 кДж/кг (2.12)
. Определяются параметры газа за турбиной
=
=
575,72 кДж/кг (2.13)
где
=566,76 кДж/кг (2.14)
=620,05 кДж/кг (2.15)
Вычисляется средняя теплоёмкость газа в процессе
расширения
=
=1,156 кДж/кг
К (2.16)
Определяется объёмная доля воздуха в продуктах
сгорания
=
0,927;
=
=0,83 (2.17)
где
,
- молекулярные массы воздуха и
чистых продуктов сгорания (см. таблицу ….(приложение))
Молекулярная масса продуктов
сгорания находится по формуле
=28,97
0,83+28,66
(1-0,83)=28,91 (2.18)
Определяется газовая постоянная продуктов
сгорания
=
=0,287; (2.19)
где R
= 8,314 кДж/кг - универсальная газовая постоянная.
Уточненное значение mг рассчитывается по формуле
=0,248 (2.20)
Температура газов за турбиной уточняется по
формуле 2.7.
По уточненному значению температуры определяются
значения энтальпий воздуха, продуктов сгорания и газовой смеси после турбины по
формулам 2.14, 2.15 и 2.13 соответственно.
=1120
=805,86 кДж/кг =
=532,86 С
=555,27 кДж/кг
=607,28 кДж/кг
=
= 564,02 кДж/кг
=926,96-564,02=362,94 кДж/кг (2.21)
. Вычисляется работа, затрачиваемая на сжатие
одного килограмма воздуха в компрессоре:
=210,58-15,05=195,08 кДж/кг (2.22)
. Работа ГТУ на валу агрегата находится по
формуле
=362,,94
0,99-0,999
195,08=164,42
кДж/кг, (2.23)
где
=
=0,999 (2.24)
9. Определяется расход газа через турбину
=23
10
/164,42
0,98
10
=142,74 кг/с (2.25)
. Рассчитывается расход воздуха, подаваемого
компрессором
=0,999
142,74=142,59 кг/с (2.26)
где αу
= 0,005 - 0,02 - коэффициент, характеризующий дополнительные расходы воздуха на
утечки через уплотнения компрессора и турбины.
. Расход топлива находится по формуле
=
=1,5 кг/с (2.27)
. Определяется мощность газовой турбины:
=142,74
362940=51806,05
кВт (2.28)
. Вычисляется мощность, потребляемая
компрессором
=142,59
195080=27816,45
кВт (2.29)
. Коэффициент полезной работы рассчитывается по
формуле
=0,463 (2.30)
15. Определяется коэффициент полезного действия
ГТУ (электрический КПД ГТУ)
=
=0,346 (2.31)
. Расчет турбины
Поскольку ГТУ проектируется для
привода электрогенератора, частота вращения ротора установки принимается равной
50 с -1. Конечное давление по параметрам торможения
принимают
равным 105 Па.
Теплоперепад турбины по параметрам
торможения
=1,156
1120
(1-
)=412,66 кДж/кг (3.1)
Значения скоростей во входном и выходном
патрубках, перед первой и за последней ступенью, а также КПД входного и
выходного патрубка принимают исходя из рекомендуемых значений, приведенных в
таблице 3.1.
Давление торможения перед турбиной
=4,7
10
Па (3.2)
Плотность газа перед турбиной по параметрам
торможения определяется по следующей формуле:
=4,7
10
/(287
1120)=1,46 кг/м
(3.3)
Таблица 3.1.
Параметры при расчёте турбины
|
Параметр
|
Значение
|
|
Скорость
во входном патрубке, ωс
|
37
м/с
|
|
Скорость
перед первой ступенью, с0
|
80
м/с
|
|
Скорость
в выходном патрубке, ωd
|
45
м/с
|
|
Скорость
за последней ступенью, сz
|
115
м/с
|
|
КПД
входного патрубка, ηвх
|
0,92
|
|
КПД
выходного патрубка, ηвых
|
0,55
|
|
Окружной
скорость на диаметре корневых сечений, uк
|
189
м/с
|
|
Отношение
скоростей, 0,46
|
|
|
Угол
выхода лопатки в корневом сечении α1к
|
15°
|
|
Степень
реактивности θк
|
0,11
|
Потери давления торможения во
входном патрубке вычисляют, приняв

:
=
1,46
=319 Па (3.4)
Давление торможения перед первой ступенью
=4,7
10
-319=4,69681
10
Па (3.5)
Определяется температура газа за турбиной
=1120-
=805,86 К (3.6)
=1120-
=763,05 К (3.7)
Вычисляется температура газов за последней
ступенью
=805,86-
=800,13 К (3.8)
Поскольку давление за последней ступенью мало
отличается от давления за турбиной, при определении плотности можно принять
=
=0,44 кг/м
(3.9)
Определяется величина потерь полного давления в
выходном патрубке:
= 0,45
0,44
=1108,8 Па (3.10)
Давление торможения за последней ступенью
турбины
= 1,02108
10
Па (3.11)
=
,156
1120
(1- 4,6
)+
10
=411,36 кДж/кг (3.12)
где
=
=4,6 - отношение давлений в ступенях
турбины. (3.13)
Диаметр корневых сечений dk
определяется из условия обеспечения рекомендуемой окружной скорости uк
(см. таблицу 3.1)
=
=1,2 м (3.14)
Рассчитывается располагаемый теплоперепад одной
ступени:
=
=84407 кДж/кг (3.15)
- рекомендуемое отношение скоростей
(см. таблицу 3.1).
Определяется число ступеней турбины
=
(3.16)
Вычисляется коэффициент возврата тепла αm
=0,0182 (3.17)
Уточняется теплоперепад одной ступени
=
=83,77 кДж/кг (3.18)
Из уравнения неразрывности определяется
ориентировочное значение периферийного диаметра первой ступени турбины
=
=1,74м (3.19)
(принято cosγ0=0,98).
Высота направляющих лопаток на входе в первую
ступень турбины
=
=0,27 (3.20)
Для определения высоты лопаток
последней ступени назначают приемлемое отношение
, тогда
1,2
2=2,4м (3.21)
=
(3.22)
Находится площадь проходного сечения последней
ступени
=
3,39м
(3.23)
Меридиональная скорость за последней ступенью сzs
определяется из уравнения неразрывности:
=
=97,76м/с (3.24)
Найденное значение сzs
вполне приемлемо и может быть принято. Однако в первых ступенях целесообразно
принять меньшее значение меридиональной скорости.
Угол выхода лопатки в корневом сечении α1к
и степень реактивности θк
принимают исходя из рекомендуемых значений (см. табл. 3.1). Коэффициент
скорости φ и ζ=1-φ2
=0,05 принимают по опытным данным, представленным в атласах профилей турбин.
Рассчитывается теоретическая скорость за соплами
первой ступени, соответствующая изоэнтропийному течению в сопловой решётке
=0,97
=384,49м/с (3.25)
Меридиональная скорость определяется по формуле
=384,49
sin15=99,5м/с (3.26)
Если меридиональная скорость в первой ступени
заметно меньше, чем в последней, нецелесообразно выполнять все ступени
однотипными. Можно, например, объединить первые несколько ступеней в одну
группу, а остальные ступени выполнять индивидуальными.
Существует несколько законов распределения
окружных проекций скоростей в ступени турбины. В рамках данного курсового
проекта предлагается выполнить расчёт ступени турбины, воспользовавшись законом
постоянной меридиональной скорости, описываемый уравнением 3.27. Кроме того,
потребуем постоянства работы по высоте лопаток.
(3.27)
Расчет треугольников скоростей производится для
трех сечений - корневого, среднего и периферийного.
Определяется средний диаметр в сечении перед
соплами
=
=1,47м (3.28)
Вычисляется окружная проекция скорости в
корневом сечении
=384,49
cos15=371,39
м/с (3.29)
После преобразования формулы 3.27, определяется
окружная проекцию скорости на среднем диаметре
=371,39
=306,26 м/с (3.30)
Меридиональная проекция
относительной скорости
равна
меридиональной проекции абсолютной скорости
.
Далее вычисляется окружная скорость,
проекция относительной скорости на окружное направление и относительная
скорость на среднем диаметре
=3,14
1,47
50=230,8 м/с (3.31)
=306,26-230,8=75,46 м/с (3.32)
=
=124,91 м/с (3.33)
Меридиональная скорость на среднем диаметре с1sc
в соответствии с принятым законом распределения скоростей постоянна, т.е. равна
с1sк.
Определяется действительное и теоретическое
значения абсолютной скорости на среднем диаметре
=
=322,02 м/с (3.34)
=
330,27 м/с (3.35)
Располагаемый теплоперепад в рабочей решетке
находится по формуле
=83770-
=32,40
кДж/кг (3.36)
Вычисляется степень реактивности
=0,386 (3.37)
Относительная скорость за рабочими лопатками
находится по формуле
=0,97
=275,05 м/с (3.38)
Средняя меридиональная проекция скорости с2s
принимается равной c1s.
Вычисляются
=arcsin
=21,2º (3.39)
=275,05
cos21,2º =256,42 м/с (3.40)
=230,8-256,42=-25,62 м/с (3.41)
=arctg
=75.56º (3.42)
Желательно, чтобы значение угла α2 находилось
в пределах 70 - 80 °, что может быть достигнуто, например, путем небольшого
изменения диаметров (т.е. параметра
).
Определяется температура, давление и
плотность газа перед рабочими лопатками первой ступени:
=1120-
=1075,15 K (3.43)
=1120-
=1072,78 К (3.44)
=4,69681
=394795 Па (3.45)
=
=1,279 кг/м
(3.46)
=
=1,702 м (3.47)
Принято
= 0,98.
Определяются параметры газа за
ступенью
=1075,15-
=1049,18 К (3.48)
=1075,15-
=1047,12 К (3.49)
=394795
=354905 Па (3.50)
=
=1,178 кг/м
(3.51)
Вычисляется диаметр периферийного сечения на
выходе из рабочих лопаток ступени
=
=1,738
1,74 м (3.52)
Принято
= 0,96
Дальнейший расчет газовой турбины
предлагается свести в таблицу 3.2.
Таблица 3.2.
|
Параметры
|
Диаметр
сечения d, м.
|
,2
м
,47
м
|
1,74
м
|
|
|
|
|
Окружная
скорость, м/с 188,4230,79273,18
|
|
|
|
|
Окружные
проекции скорости, м/с:
|
|
371,38306,26260,92
|
|
|
|
|
-35,17-25,62-19,46
|
|
|
|
|
Меридиональные
проекции скорости, м/с:
|
|
с1s (принята
постоянной)
|
99,5
|
99,5
|
99,5
|
,
|
значение
интеграла определяется
численным интегрированием. 98,9599,5100,56
|
|
|
|
|
Угол
15º18º20,9º
|
|
|
|
|
Скорость
за направляющими лопатками, м/с: 384,44322,99278,92
|
|
|
|
|
Теоретическая
скорость за направляющими лопатками, м/с: .394,3331,27286,07
|
|
|
|
|
Располагаемый
теплоперепад направляющих лопаток, кДж/кг: 74,53651,6737,718
|
|
|
|
|
Окружная
проекция относительной скорости, м/с: 182,9875,47-12,26
|
|
|
|
|
Угол
28,53º52,82º97,03º
|
|
|
|
|
Относительная
скорость, м/с: 208,32124,88100,25
|
|
|
|
|
Окружная
проекция относительной скорости, м/с: 223,57256,41292,64
|
|
|
|
|
Угол
23,87º21,2º18,96º
|
|
|
|
|
Относительная
скорость, м/с: 244,52275,15309,5
|
|
|
|
|
Теоретическая
относительная скорость, м/с: 252,08283,66319,07
|
|
|
|
|
Располагаемый
теплоперепад на рабочих лопатках, кДж/кг: 10,07332,43445,878
|
|
|
|
|
Использованный
теплоперепад на рабочих лопатках, кДж/кг: 8,19630,05642,87
|
|
|
|
|
Общий
располагаемый теплоперепад, кДж/кг: 84,60984,10483,596
|
|
|
|
|
Степень
реактивности: 0,1190,3850,549
|
|
|
|
|
Угол
70,43º75,56º79,05º
|
|
|
|
|
Скорость
на выходе из ступени, м/с: 105,7102,74102,42
|
|
|
|
|
Располагаемый
теплоперепад по параметрам торможения, кДж/кг: 82,22282,02681,551
|
|
|
|
|
Температура
газов, К:
|
|
1056,071074,881086,35
|
|
|
|
|
1052,751072,531084,6
|
|
|
|
|
1048,981048,881049,26
|
|
|
|
|
1047,361046,821046,66
|
|
|
|
|
Давление,
Па·105:
|
|
3,659033,944244,12629
|
|
|
|
|
3,538863,545213,55126
|
|
|
|
|
Плотность
газа, кг/м3:
|
|
1,2071,2781,323
|
|
|
|
|
1,1751,1781,179
|
|
|
|
Определяется КПД ступени на расчётных диаметрах:
=
=0,9315 (3.56)
=
=0,9337 (3.57)
=
=0,9392 (3.58)
За КПД ступени допустимо принять
среднеарифметическое значение КПД
=
=0,9348 (3.59)
Определяется величина зазора между корпусом
турбины и рабочими лопатками ступени
=0,01
1,2=0,012 м (3.59)
где
- относительная величина зазора.
Влияние утечек оценивают по формуле
, (3.59)
где
- опытный коэффициент; l - длина
лопатки
. Расчёт компрессора ГТУ
Для определения параметров воздуха
перед первой и за последней ступенями необходимо задаться значениями скоростей
в соответствии с рекомендациями, представленными в таблице 4.1.
Таблица 4.1.
Рекомендуемые параметры при расчёте
компрессора
|
Параметр
|
Рекомендуемое
значение
|
|
Скорость
во входном патрубке, ωa
|
38
м/с
|
|
Скорость
перед первой ступенью, с1
|
95
м/с
|
|
Скорость
в выходном патрубке, ωb
|
43
м/с
|
|
Скорость
за последней ступенью, сz
|
115
м/с
|
|
КПД
входного патрубка, ηвх
|
0,92
|
|
КПД
выходного патрубка, ηвых
|
0,55
|
|
Коэффициент
расхода 0,75
|
|
|
Относительный
диаметр втулки 0,6
|
|
|
Безразмерная
координата 0,4
|
|
|
Улы
атаки на среднем диаметре , 1 °
|
|
|
Окружной
скорость на диаметре корневых сечений, uк
|
157
м/с
|
|
Отношение
скоростей, 0,46
|
|
|
Угол
выхода лопатки в корневом сечении α1к
|
15°
|
|
Степень
реактивности θк
|
0,15
|
Значения с1 и сz
принимаются ориентировочно и в дальнейшем уточняются.
Определяется плотность воздуха перед
компрессором по параметрам торможения
=
=1,22 кг/м
(4.1)
Находится потеря давления торможения во входном
патрубке

=
=401,8 Па (4.2)
Давление торможения перед первой ступенью
=1,01
10
-401,8=100598,2 Па (4.3)
Определяется температура, давление и плотность
воздуха перед первой ступенью
=288-
=283,5 К (4.4)
=
=95153,9 Па (4.5)
=
=1,17 кг/м
(4.6)
Находится объёмный расход воздуха через первую
ступень
=
=118,25 м
/с (4.7)
Задаются значениями относительного
диаметра втулки
и
коэффициента расхода
в
соответствии с рекомендуемыми значениями, представленными в таблице 4.1.
Вычисляется окружная скорость концов
рабочих лопаток
=
=197,8 м/с (4.8)
Определяется значение меридиональной проекции
скорости перед первой ступенью
=0,75
197,8=148,35 м/с (4.9)
Находятся корневой и периферийный диаметры
лопаток первой ступени
=197,8/314
50=1,26 м (4.10)
=0,6
1,26=0,756 м (4.11)
Тогда высота рабочих лопаток первой ступени
=(1,26-0,756)/2=0,252 м (4.12)
Оцениваются параметры воздуха за последней
ступенью и размеры последней ступени.
Вычисляется давление торможения за компрессором
=5
Па (4.13)
Рассчитается располагаемый теплоперепад
=1,012
=168,145
кДж/кг
. (4.14)
Находится температура торможения за компрессором
=288+
=481,2 К (4.15)
Плотность воздуха за компрессором по параметрам
торможения
=
=3,62 кг/см
(4.16)
Потеря полного давления в выходном патрубке
=(1-0,55)
=9265 Па (4.17)
где
- плотность воздуха за последней
ступенью.
Определяется давление торможения за
последней ступенью
=9265+5
=5,09265
Па (4.18)
Вычисляется температура и давление воздуха за
последней ступенью
=481,2-
=475,5 Па (4.19)
=4,8827
10
Па (4.20)
=
=3,578 кг/см
(4.21)
С целью уменьшения числа ступеней предлагается
принять периферийный диаметр рабочих лопаток постоянным. Диаметр корневых
сечений лопаток последней ступени находится с помощью уравнения неразрывности:

=1,07 м (4.22)
Высота лопаток последней ступени
=(1,26-1,07)/2=0,09 м=90 мм (4.23)
Далее оценивается число ступеней. Определяется
действительный теплоперепад в компрессоре
=168,145/0,86=195,517 кДж/кг (4.24)
Рассчитываются значения угловых скоростей для
корневых сечений лопаток первой и последней ступени
=3,14
0,756
50=118,7 м/с (4.25)
=118,7
1,07/0,756=168 м/с (4.26)
Находится теплоперепад первой и последней
ступеней
=0,8
118,7
148,35=14088 кДж/кг (4.28)
=0,8
115
168,9=15539 кДж/кг (4.29)
Подсчитывается средний теплоперепад ступеней
=14813,5 кДж/кг (4.30)
Число ступеней определяется по формуле
=13,2
13 (4.31)
Производится расчёт первой ступени.
Окружные проекции скорости определяются из условия
, что
обеспечит почти постоянную по высоте лопаток меридиональную проекцию скорости c1s. С целью
снижения чисел Маха предлагается ввести предварительную закрутку потока перед
рабочим колесом в сторону вращения. Величина c1uк (в корневом
сечении лопаток) определяется из условия обеспечения требуемого теплоперепада H1. Назначают
максимальное значение c2uк = u1к.

67,3 м/с (4.32)
Определяется степень реактивности
=1-
=0,285 (4.33)
Степень реактивности на периферии рабочих
лопаток
=0,7426 (4.34)
Находится значение среднего квадратичного
диаметра
=
=1,039 м (4.35)
Меридиональная проекция скорости принимается
постоянной, то есть c3s
= c2s
= c1s.
Рассчитываются треугольники скоростей на среднем
диаметре
=67,3
=48,97 м/с (4.36)
=1,039
3,14
50=163,12 м/с (4.37)
=48,97+14088/163,12=135,3 м/с (4.38)
=48,97 м/с (4.39)
= arctg(148.35/(163,12-48,97))=58,25° (4.40)
=arctg(148.35/(163,12-135,3))=88,2° (4.41)
= arctg(148,35/135,3)=52,93° (4.42)
= arctg(148,35/48,97)=79,7° (4.43)
Относительные шаги на среднем
диаметре
и
определяются
из графика (рисунок 4.1) по значениям
и
=29,95° а также
и
=26,77°;
=1,6;
=1,6.
Рисунок 4.1
Для нахождения выходных углов
лопаток принимают безразмерную координату
(см. таблицу 4.1) и находят
значение коэффициента m:
=0,23
=0,1436 (4.44)
=0,23
=0,2378 (4.45)
Исходя из рекомендуемых величин,
назначаются углы атаки на среднем диаметре
и
. Находятся входные углы лопаток:
=59,26° (4.46)
=53,93° (4.47)
Определяются выходные углы лопаток
=
94,66° (4.48)
=
=90,57° (4.49)
Определяется проекция абсолютной скорости на
окружное направление для периферийного сечения
=67,3
0,756/1,26=40,38 м/с (4.50)
Вычисляется относительная скорость в
периферийном сечении
=
=216,3 м/с (4.51)
Находится скорость звука по температуре воздуха
перед первой ступенью
=
=337,5 м/с (4.52)
где k
- показатель адиабаты воздуха.
Определяется число Маха в периферийном сечении
=216,3/337,5=0,64 (4.53)
Полученное число Маха сравнивается с допустимым,
то есть проверяется соответствие следующему условию:
. (4.53)
Литература
1. «Турбины тепловых и атомных
электрических станций»:
Учебник для вузов.-2-е изд.,
перераб. и доп./ А.Г. Костюк, В.В. Фролов, А.Е. Булкин, А.Д. Трухний; Под ред.
А.Г. Костюк, В.В. Фролов. - М.: Издательство МЭИ, 2001.
. «Газотурбинные установки.
Конструкции и расчет»: Справочное пособие/ Под общ. ред. Л.В. Арсеньева и В.Г.
Тырышкина, - Л.: Машиностроение,1978.
. «Газотурбинные установки. Атлас
конструкций и схем»:
Учебное пособие для вузов. Под
редакцией акад. АН УССР Л.А. Шубенко-Шубина. - М.: Машиностроение,1976.
. «Тепловой расчет паровой турбины»,
метод. указания, А.Н. Кудряшов, А.Г. Фролов, 2-изд., дополн. и перераб. -
Иркутск, 1997.
. «Стационарные паровые турбины»,
А.Д. Трухний, 2-е изд., перераб. и доп. - М.: Энергоатомиздат, 1990.