Линия по производству извести

  • Вид работы:
    Курсовая работа (т)
  • Предмет:
    Другое
  • Язык:
    Русский
    ,
    Формат файла:
    MS Word
    625,44 Кб
  • Опубликовано:
    2013-01-14
Вы можете узнать стоимость помощи в написании студенческой работы.
Помощь в написании работы, которую точно примут!

Линия по производству извести

Введение

Большую роль в развитии культуры и технике сыграли строительные материалы. Без них невозможно было бы возведение жилых, промышленных и общественных зданий, дорог, мостов, туннелей, плотин и многих других сооружений.

Одно из первых мест среди строительных материалов занимают вяжущие вещества, главным образом цемент. Основная тенденция технического развития цементной промышленности России - модернизация производства за счет внедрения сухого способа и уменьшения доли мокрого. Эту тенденцию подтверждает также опыт мировой цементной промышленности по внедрению печных систем с реакторами-декарбонизаторами различных типов, которыми оснащаются новые расширяемые и реконструируемые цементные заводы [1].

Необходимость рационального использования и всемерной экономии топливно-энергетических ресурсов указывает на то, что назрела объективная необходимость коренной реконструкции отечественной цементной промышленности на основе производственных фондов с использованием энергосберегающих технологий и вывода из эксплуатации морально и физически изношенного оборудования.

Внедрение энергосберегающих технологий предполагается осуществлять по следующим основным направлениям:

реконструкция действующих предприятий, как правило, за счет строительства новых технологических линий сухого способа производства;

прямая реконструкция мощных печей мокрого способа с переводом их на последующих этапах обновления промышленности при условиях экономической целесообразности;

строительство новых предприятий в остронуждающихся регионах при наличии сырья пригодного для сухого способа производства в исключительных случаях (при крайней необходимости в новом заводе и при наличии влажного сырья) применять мокрый способ производства;

реконструкция действующих технологических линий мокрого способа с увеличением выпуска продукции и внедрением энергосберегающих мероприятий с одновременным выводом из эксплуатации устаревших обветшавших производств с повышенным расходом топливно-энергетических ресурсов, в первую очередь шахтными и вращающимися печами длиной до 100 м;

широкое развитие производства тонкомолотых и смешанных цементов со строительством новых помольных агрегатов замкнутого цикла и оснащения действующих мельниц сепараторами и устройствами для предварительного измельчения материалов;

реконструкция, модернизация и замена обеспыливающих и водосточных устройств с целью достижения санитарных норм;

своевременное развитие сырьевых баз предприятий;

широкое использование отходов других отраслей промышленности.

Серьезное внимание уделяется повышению качества цемента. Необходимо увеличить его среднюю марку, а также повысить выпуск высоко прочного и быстротвердеющего цемента. [3]

1.  
Выбор и описание технологической схемы производства цемента

1.1 Материальный баланс производства

Таблица 1.1. Химический состав смеси

№п/п

Сырьевые компоненты

Влажность

Содержание, %




SiO2

Al2O3

Fe2O3

CaO

MgO

SO3

ППП

Прочие

Сумма

1

Мел

14,2

2,04

0,36

0,31

53,37

0,21

0,28

42,66

0,09

99,32

2

Глина

17,7

67,22

11,64

6,2

4,97

0,91

0,24

6,55

1,44

99,17

3

Огарки

0

16,3

3,79

65,35

-

-

2,88

-

-

88,32

4

Сырьевая смесь

1

15,12

2,67

4,88

42,10

0,33

0,41

34,14


100

5

Клинкер


23,07

4,08

7,45

64,25

0,51

0,63



100


Таблица 1.2. Содержание компонентов

Наименование

Сырьевая смесь

1

Мел

76,53

2

Глина

18,43

3

Огарки

4,70


ВСЕГО

100


Удельный расход сырьевых материалов

.     Теоретический расход, сухого сырья:


.     Действительный расход, сухого сырья:


с - производственные потери сырья при обжиге с безвозвратным пылеуносом = 0,18%

.     Действительный расход отдельных сухих сырьевых компонентов:

;

i - содержание отдельных компонентов в сырьевой смеси. (Таблица 1.2)

.     Расход компонентов с естественной влажностью:

i - влажность отдельных компонентов в%.

5.   Расход сырьевой смеси с естественной влажностью:


.     Естественная влажность сырьевой смеси:


.     Количество воды в сырье при естественной влажности:


.     Расход сырьевой муки:

м - влажность сырьевой муки, поступающей на обжиг при сухом способе производства = 1%;

.     Выход воды из сырьевой муки:



Расчёт выпуска продукции по видам цемента

Ассортимент продукции и выпуск цемента по видам. Мощность проектируемого завода 438000 тонн цемента в год.

Таблица 1.3. Ассортимент продукции

№ п/п

Вид цемента

Выработка, т/год

Расход добавок




%

т/год

1 2

ПЦ 400-Д0 ШПЦ 300

350000 400000

5 50

30000 150000


1.   Выработка цемента цехом помола:

По видам:


Всего:


где: %Пц - потери цемента, %,

2.   Производственные потери цемента:

Пц = Рцп - Рцз, т/год

Пц = 753768,9-750000=3768,9 т/год

3.   Потребность помольного оборудования:

По видам:


где:%Д - процент вводимой добавки, %,

Всего:


4.   Потребность в добавках, вводимых в цемент при помоле:


5.   Потребная выработка клинкера цехом обжига:


где:%Пкл - потери клинкера, %,

6.   Потребное количество печей:


где: Ки - коэффициент использования печей, Ки=0,85,

Вкл - производительность одной печи, Вкл=43 т/час,

Принимаем n = 2 шт.

7.   Выработка клинкера:


8.   Производственные потери клинкера:


9.   Клинкер в составе цемента, поступающий на помол:


10. Производительность завода по видам цемента:




Сумма  должна сходиться с заданной производительностью .

11. Клинкер на каждый вид цемента, поступающий на помол:




12. Суммарное количество добавок, вводимых в отдельные виды цемента при помоле:


13. Раздельное количество добавок, вводимых в отдельные виды цемента при помоле:

ü гипс:


где:%Г - процент вводимого гипса, %,

Итого:


ü шлак:


где: %Шл - процент вводимого шлака, %,

Итого:

14. Производственные потери добавок до помольного цеха:

ü гипс:


где: %Пг - процент потерь гипса, %,

ü шлак:


где: %Пшл - процент потерь шлака, %,

Всего:

Пд = Пг + Пшл = 378,79+1818,18 = 2196,97 т/год

15. Количество сухих добавок, необходимое заводу:

ü гипс:


ü шлак:

 (30)

Всего:

Рдз = Ргз + Ршлз = 219696,97 т/год

16. Количество влажных добавок, поступающих на завод:

ü гипс:


где: Wг - влажность гипса, %,

ü шлак:


где: Wшл - влажность шлака, %,

Всего:

Рдw

= Ргw + Ршлw = 246483,98 т/год

Таблица 1.4. Выработка цемента по видам

Вид цемента

Расход материалов, т/год


Клинкер

Добавки



Гипс

Шлак


обжига

помола

сухие

помола

влажные

сухие

помола

влажные

ПЦ 400-Д0

334170,86

17500

ШПЦ 300

201005,05

20000

181818,18

180000

206611,57

Всего

537865,24

535175,91

37878,79

37500

39872,41

181818,18

180000

206611,57


Расчет производительности цехов

Годовая потребность цеха обжига в сырье

1.   Сухое сырьё:


2.   Сухие сырьевые компоненты:


3.   Сырьё с естественной влажностью:


4.   Компоненты с естественной влажностью:


5.   Вода:


6.   Сырьевая мука:


Годовая потребность сырьевого цеха в сырье

Коэффициент потерь: Пиз - потери при измельчении сырья, %,


1.   Сухое сырьё:


2.   Сухие сырьевые компоненты:


3.   Сырьё с естественной влажностью:


4.   Компоненты с естественной влажностью:


5.   Вода:


6.   Сырьевая мука:


Потребная производительность транспортных средств для перевозки в год с учётом потерь при перевозке

Коэффициент потерь: Пиз - потери при измельчении сырья, %,


.     Сухое сырьё:


.     Сухие сырьевые компоненты:


.     Сырьё с естественной влажностью:


.     Компоненты с естественной влажностью:


.     Вода:


.     Сырьевая мука:



1.2 Выбор основного и специального оборудования

Чтобы выбрать оборудование необходимо воспользоваться (Ки), который должен соответствовать средним значениям по промышленности для определенного типа оборудования. Коэффициент использования оборудования рассчитывается по формуле:


где Ф - количество перерабатываемого материала по статье материального баланса, тонн в год;

Р - часовая производительность агрегата, т/ч.

При несоответствии Ки средним значениям необходимо выбрать другой тип оборудования с большей или меньшей производительностью.

Цех дробления

Мел

Для первичного дробления 791904,44 тонн мела, по соответствующим справочным данным устанавливаем двухвалковую дробилку с производительностью 125 т/ч.

Коэффициент использования дробилки при годовой переработке мела составит:

Нормативный коэффициент: 0,47 - 0,83

Количество устанавливаемых дробилок:


Глина

Для первичного дробления 199442,60 тонн глины, по соответствующим справочным данным устанавливаем двухвалковую дробилку с производительностью 30 т/ч.

Коэффициент использования дробилки при годовой переработке глины составит:

Нормативный коэффициент: 0,47 - 0,83

Количество устанавливаемых дробилок:


Огарки и гипс

В дроблении гипса и огарков нет необходимости он поставляется Ж/Д транспортом уже в измельченном виде, после чего поступает с другими сырьевыми компонентами в объединенный усреднительный сырьевой склад.

Цех помола

Для помола сырья воспользуемся роликовой мельницей фирмы «Полизиус» производительностью 232 т/ч.

Коэффициент использования мельницы при годовой переработке сырьевой смеси составит:

Количество устанавливаемых мельниц:


Цех обжига

Для обжига клинкера предусматривается вращающаяся печь 4,0×60 на трех опорах с производительностью 43 т/ч клинкера. Уклон печи - 3,5%, число оборотов 0,6-3,55 об/мин. Печь с четырьмя циклонными теплообменниками и декарбонизатором.

Коэффициент использования вращающейся печи с учетом расхода сырьевой муки при прохождении циклонных теплообменников и декарбонизатора составит:

Количество устанавливаемых печей:


После каждой вращающейся печи устанавливаем колосниковый холодильник клинкера «Волга 50», соответствующий ее производительности и таких холодильников будет два.

Цех помола

Для помола клинкера устанавливаем две цементные мельницы 4,0 × 12 марки СКЕТ/ЦАБ производитель Германия с производительностью 95 т/ч.

Коэффициент использования мельницы при производстве ПЦ 400-Д0 и ШПЦ 300 составит:

Количество устанавливаемых мельниц:


Для разделения материала на фракции воспользуемся сепаратором центробежного типа марки СМЦ-420А и проводим подобный расчет:



Таблица 1.6. Техническая характеристика основного оборудования

Показатели

Оборудование

1

2

Двухвалковая дробилка (мел)

Диаметр валков, мм

1250

Длина валков, мм

1250

Зазор между валками, мм

100

Частота вращения валков, мин-1

25

Поверхность валков

зубчатая

Наибольший размер загружаемых кусков, мм

500

Производительность, т/ч

125

Мощность электродвигателя, кВт

55

Тип питателя

пластинчатый

Измельчаемый материал

мел

Двухвалковая дробилка (глина)

Диаметр валков, мм

1100

Длина валков, мм

1100

Зазор между валками, мм

100

Частота вращения валков, мин-1

20

Поверхность валков

зубчатая

Наибольший размер загружаемых кусков, мм

600

Производительность, т/ч

30

Мощность электродвигателя, кВт

28

Тип питателя

пластинчатый

Измельчаемый материал

глина

Роликовая мельница фирмы «Полизиус» (сырьевая смесь)

Диаметр помольной чаши, мм

4100

Частота вращения чаши, об/мин

267

Диаметр мелющих роликов, мм

2150

Давление роликов на помольную чашу, т

300

Мощность двигателя, кВт

1250

Тонкость помола по остатку на сите 009, %

43,4

Тонкость помола по остатку на сите 02, %

1,0

Производительность, т/ч

232

Показатели

Оборудование

Вращающаяся печь СМЦ-441 60 с циклонными теплообменниками

Производительность, т/ч

43

Рабочий объем печи по футеровке, м3

610

Расход теплоты, кДж/(кг кл)

3770

Количество опор печи, шт

3

Уклон корпуса печи, %

3,5

Частота вращения печи, мин-1

0,57-1,15

Масса печи без футеровки, т

1020

Мощность электродвигателя главного привода, кВт

99

Мощность электродвигателя вспомогательного привода, кВт

3,24

Колосниковый холодильник СМЦ 408 2,52*16,6

Толщина слоя клинкера, мм

150 - 350

Удельный расход воздуха, м3/(кг кл)

2,5 - 3,5

Температура клинкера на выходе, 0С

90

Шаровая трубная мельница СКЕТ/ЦАБ 4,0-12,0 замкнутого цикла

Производительность, т/ч

95

Мощность привода, кВт

2500

Загрузка мелющих тел, т

108

Частота вращения, об/мин

20

Тип перегородок

секторные

Сепаратор центробежный марки СМЦ-420А

Диаметр сепаратора, м

7,0

Диаметр камеры сепарации, м

5,0

Производительность при 8-10% остатка на сите №008

180

Масса, тонн

57,1

Цех «Карьер» занят добычей мела и глины. Разработка карьера мела ведется при помощи буровзрывных работ. Добыча мела, и его погрузка осуществляется экскаваторами. Для доставки его на завод используется железнодорожный транспорт - думпкары.

Размер поступающих на завод кусков сырьевых материалов колеблется в пределах 100-900 мм.

Вообще мел является мягкой породой и, как правило, проходит одностадийное дробление в валковой дробилке, но в данном случае мел из карьера поступает очень прочным, поэтому целесообразно установить для первичного дробления щековую дробилку, а для вторичного дробления установить уже двухвалковую дробилку.

Мел подается железнодорожными самоопрокидывающимися думпкарами в специальное приемное устройство, под которым расположен колосниковый питатель щековой дробилки. Вторичное дробление материала происходит между двумя валками. После этого мел ленточным транспортером подается на объединенный усреднительный склад.

Глина добывается в карьере при помощи экскаватора и загружается в железнодорожные думпкары. После доставки на завод попадает в приемное устройство, из которого при помощи пластинчатого транспортера-питателя подается в валковую дробилку. Основными рабочими органами валковой дробилки являются валки, вращающиеся навстречу друг другу. Куски глины, втягиваясь в щель между вращающимися валками, сжимаются последними и раздавливаются. Каждый из дробящих валков представляет собой вал с насаженным на него пустотелым барабаном, состоящем из отдельных кольцеобразных дисков, рабочие поверхности которых имеют зубья. Дробилка характеризуется степенью измельчения 16 - 20, на выходе куски глины имеют размер до 30 - 40 мм. Пройдя вальцы, глина попадает на ленточный транспортер и подается на усреднительный склад.

Огарки, которые поступают на завод в железнодорожных вагонах, после разгрузки в приемное устройство, ленточным транспортером подается на объединенный склад. На объединенном усреднительном складе применена технологическая схема поточного приготовления сырьевой смеси заданного состава разработанная Гипроцементом.

Сырье штабелеукладчиком подается на ленточный транспортер, затем в бункер смеси и после дозировки и посредством ленточного транспортера в сырьевую роликовую мельницу. Так как при соприкосновении мелкого порошка, образующегося при помоле, с влагой материала образуется пластичная масса, которая налипает на внутреннюю поверхность агрегата и препятствует дальнейшему помолу, то дробленые сырьевые материалы с естественной влажностью размалывать нельзя. Помол и сушка сырьевой смеси ведется одновременно в одном аппарате - мельнице, в которую подаются отходящие из циклонных теплообменников вращающейся печи горячие газы. [3]

Мельница работает в замкнутом цикле с динамическим сепаратором, в которых отделяется более крупная фракция и возвращается на домол в мельницу. Готовый продукт выносится в систему осадительных циклонов, а пыль которая не осела в циклоне попадает в электрофильтр. Все что осадилось в циклонах и электрофильтре идет в шнековый питатель. В мельнице происходит помол материала и превращение его в порошок, который в основном проходит через сито №008 с размером отверстий 0,08 мм.

Полученная сырьевая мука транспортируется шнековым транспортером в циклоны, которые расположены один над другим. Сырьевая мука движется вниз, последовательно переходя из одного циклона в другой, и поступает в декарбонизатор и далее во вращающуюся печь.

Для охлаждения клинкера применяется колосниковый холодильник. Воздух, подаваемый вентилятором через колосниковую решетку, охлаждает слой клинкера. Нагретый воздух поступает во вращающуюся печь, избыток его используется на горение части топлива в декарбонизаторе и этот воздух называют третичным.

Готовый клинкер из холодильника попадает на ковшовый транспортер, который доставляет его на силосный склад для хранения и вылеживания.

На этот же склад поступает и гипс, и шлак.

Доменный гранулированный шлак, используемый в качестве добавки, поступив на предприятие, подвергается предварительной сушке в сушильном барабане.

Помол цемента осуществляется в шаровой трубной мельнице, работающей по замкнутому циклу, для получения цемента с удельной поверхностью около 400-500 м2/кг.

Замкнутый цикл размола является более эффективным, чем размол по открытому циклу. При замкнутом цикле нет переизмельчения материала, кроме того, из сферы размола более быстро удаляются тонкие фракции, что поддерживает скорость измельчения на более высоком уровне. Отсутствие переизмельчения при замкнутом цикле помола материалов снижает удельный расход энергии и налипание особо тонких частиц на мелющие тела, что повышает эффективность измельчения.

Принцип работы агрегата состоит в следующем: отдозированную шихту (клинкер, гипс, шлак) подают питателем в мельницу, откуда измельченный материал выносится потоком проходящего воздуха при помощи мельничного вентилятора и попадает в воздушно-проходной сепаратор. Выходящий из мельницы воздух, пройдя аспирационную установку, выбрасывается в атмосферу. Из камеры сепаратора крупка (не домолотый материал) вновь поступает в загрузочную горловину машины, а готовый продукт осаждается в циклоне и рукавном фильтре и пневмокамерными насосами направляется в цементные силоса.

Силос представляет собой выполненную из железобетона конструкцию с коническим днищем. Они устанавливаются на фундамент или колонны. Для предотвращения слеживаемости и улучшения текучести цемента во время разгрузки силосов устанавливают аэрирующие устройства, которые представляют собой трубки, установленные вертикально, обернутые бельтитом (пористый материал).

Воздух подается под давлением 0,3 МПа. Аспирация цементных силосов осуществляется с помощью рукавных фильтров, через которые просасывается воздух с помощью вентиляторов, отделенная крупка поступает обратно в силос.

Отгрузка цемента осуществляется в авто- и железнодорожный транспорт, проходя упаковку в упаковочной машине. Или при отгрузке в машины-цементовозы, количество подаваемого цемента из бункера регулируется по разности веса машины до загрузки и после. Взвешивание производится на специальных весах. Железнодорожные вагоны подаются в цех погрузки и с помощью специальных устройств осуществляется их загрузка [1], [3].

2. Специальная часть

известь печь перевозка производительность

2.1 Конструкция и принцип действия вращающейся печи

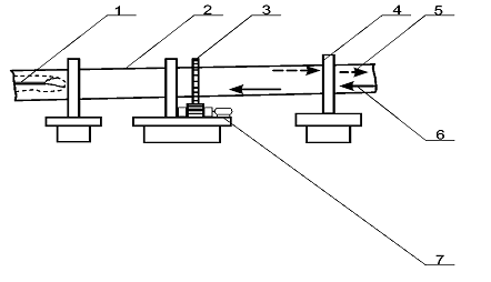
Вращающаяся печь по сухому способу: 1 - горелка; 2 - цилиндр; 3 - венцовая шестерня; 4 - бандаж; 5 - газовый поток; 6 - материальный поток; 7 - привод

Вращающаяся печь сухого способа производства состоит из сварного корпуса, бандажей, роликоопор, зубчатого венца, привода, гидравлических упоров, загрузочного и разгрузочного узлов (концов), горелочных устройств, устройств для контроля температуры корпуса и его охлаждения воздухом, уплотнительных устройств мест контакта вращающегося корпуса печи с неподвижными загрузочными и разгрузочными узлами.

Корпус печи представляет собой цилиндрическую трубу, изготовленную из листовой стали М16С, которая своими бандажами опирается на ролико-опоры. Корпус сваривают на месте монтажа из отдельных обечаек различной толщины в зависимости от местных нагрузок. Их толщина колеблется от 32 мм в обычном сечении, до 50 мм в местах установки бандажей и венцовой шестерни. Барабан установлен с наклоном к горизонту 3,5%.

У разгрузочного конца барабан облицован металлическими башмаками из легированной жаропрочной стали. Внутри барабан футеруется шамотом, а в зоне спекания футеровка магнезитовая и хромомагнезитовая. Бандажи закреплены на подбандажных обечайках упорными кольцами и опираются на роликоопоры, состоящие из подшипников скольжения и сварной рамы. На одной из рам у приводного механизма кроме того установлены контрольные ролики, а на другой предохранительные упоры, с конечными выключателями для выключения главного привода при недопустимом перемещении печи вдоль оси. Регулирование положения печи в осевом положении достигается поворотом осей роликов к оси печи.

Главный привод состоит из электродвигателя, трехступенчатого редуктора, подвенцовой и венцовой шестерни. Тихоходный вал редуктора соединен с подвенцовой шестерней с помощью зубчатых муфт промежуточного вала, это дает возможность регулировать зацепление открытой пары и устранить неточности монтажа.

Вспомогательный привод включает электродвигатель и промежуточный редуктор, соединенный тихоходным валом с быстроходным валом главного редуктора с помощью специальной обгонной муфты. Вспомогательный привод предназначен для медленного проворачивания корпуса печи во время ремонтных работ.

Частота вращения корпуса печи от главного привода составляет 0,01-0,2 с - от вспомогательного привода 0,0012 с-1.

Данная печь работает по принципу противотока, то есть материал движется на встречу газовому потоку.

2.2 Расчёт основных технологических параметров

Расчет производительности печи

Производительность вращающейся печи, как транспортирующего устройства определяем по формуле:

Q = π · R2 · φ · V · p, кг/с

где R - средний внутренний радиус печи, R = 2 м;

φ - коэффициент заполнения печи материалом, φ = 0,11;- насыпная масса материала вдоль корпуса печи, p = 1078 кг/м3;- скорость движения материала вдоль корпуса печи, определяется по формуле:

, м/с

где D - диаметр печи в свету, D = 4 м;- уклон печи, i = 3,5%;- частота вращения барабана, n = 0,019 с-1

 м/с= 3,14 ´ 22 ´ 0,11 ´ 0,008 ´ 1078 = 11,9 кг/с

Часовую производительность печи определяем по формуле:

, т/ч

 т/ч

Расчет мощности электродвигателя

Мощность электродвигателя вращающейся печи определяем по формуле:

, кВт

где N1 - мощность, затрачиваемая на подъем материала, кВт;2 - мощность расходуемая на преодоление скольжения цапф опорных роликов, кВт;3 - мощность расходуемая на преодоление трения качения бандажей по роликам, кВт;

η - коэффициент, учитывающий мощность, которая расходуется на преодоление трения качения в приводном механизме и в уплотнительных устройствах.

Мощность, затрачиваемая на подъем материала, определяем по формуле:

, кВт

, кВт

где М - момент, возникающий при подъеме материала, н·м;м - вес материала находящегося в печи, кН;

Хц - расстояние от вертикальной оси до центра тяжести материала, м;

ω - угловая скорость вращения барабана печи, рад/с.

Вес материала в печи, корпус которой имеет одинаковый диаметр по всей длине, будет равен:


где кз - коэффициент заполнения печи материалом, на основе практических данных, кз = 0,11;- радиус корпуса печи в свету, R = 2 м;

L - длина корпуса печи, L = 60 м;

γ - удельный вес разрыхленного материала, γ = 1,2х103 н/м3

Расстояние Хц определяют по формуле:


где rц - координата центра тяжести кругового сечения, м:

определяется по формуле:


где а - хорда кругового сегмента, м (α - центральный угол, опирающийся на хорду кругового сегмента, для вращающихся печей принимается α = 80-900);м - площадь сегмента заполненного материалом, м2;

β - угол, характеризующий перемещения центра тяжести, β = 450;

При α = 850 длина хорды а = 1,35R; kз = 0,1; β = 450.


После преобразования формула, определяющая вес материала в печи будет иметь вид:


Тогда мощность, затрачиваемая на подъем материала:

, Вт

Мощность, расходуемая на преодоление трения, скольжения цапфы опорных роликов определяется по формуле:


где М2 - момент трения скольжения цапф опорных роликов в подшипниках, кНм;- коэффициент трения скольжения, f = 0,02 - 0,03;общ - вес вращающихся частей корпуса и материала, кН;1 - радиус бандажа, м;1 - радиус цапфы, м;- радиус ролика, м;

ψ - угол между вертикальной осью корпуса и линией центров корпуса и ролика, ψ = 300.

Обычно отношение диаметра опорных роликов к диаметру бандажа принимают:

.

3. Эксплуатация машины и охрана труда

Печь должна быть автоматически сблокирована со вспомогательным оборудованием и механизмами. Управление печью и другими механизмами должно быть сосредоточено у рабочего места машиниста. При отсутствии централизованного управления и автоматической блокировки необходимы двухсторонняя сигнализация и прямая телефонная связь площадки головки печи с площадкой питателей сырьевой смесью, станцией газоснабжения и подстанцией электрофильтров, а также отделение насосов с площадкой питателей.

Каждый печной агрегат должен быть оснащен контрольно-измерительными приборами. Кроме того, печь должна быть оборудована автоматической сигнализацией верхнего и нижнего уровней сырьевой муки в бункерах; сигнализацией о достижении верхнего предела температуры наиболее ответственных подшипников; сигнализацией о прекращении поступления воды в систему охлаждения подшипников дымососа; превращений циркуляцией масла в главном редукторе привода; приборами измерения силы тока, потребляемого электродвигателя главного привода печи и пневмонасоса для транспортирования уловленной пыли.

Розжиг и пуск печи

Пускать печь нужно с соблюдением следующих правил. Перед разжиганием и пуском печи после длительной остановки или ремонта следует:

тщательно осмотреть и проверить состояние футеровки, холодильника, пыльной камеры и корпуса печи, состояние подшипников и привода;

осмотреть запечные теплообменные устройства, системы питания печи сырьевыми материалами и топливом, пылеулавливающие устройства и системы тяговых устройств;

транспортирующие механизмы, контрольно-измерительные и сигнальные приборы, регулирующие приспособления, взрывные клапаны, необходимо выяснить есть ли смазочный материал и исправны ли централизованные смазочные системы;

установить, готовы ли к пуску сырьевые отделения, в порядке ли освещение, ограждения, противопожарный инвентарь.

Затем необходимо провести опробование вхолостую механизмов печного агрегата с целью определения готовности их к работе.

Розжиг печи воспрещается: при неисправности и неочищенных пылеулавливающих устройствах; при наличии вмятин на корпусе печи, отрицательно влияющих на службу футеровки; неисправной футеровки, неисправности любого механизма, связанного с печью, от работы которого зависит нормальная её эксплуатация, неисправности ограждения защитных устройств и средств связи и сигнализации.

Перед розжигом стоит заготовить все необходимые приспособления, материалы и инструменты для розжига печного агрегата и обеспечения бесперебойной его работы в дальнейшем. Пред пуском электрофильтра его следует хорошо прогреть, чтобы не было конденсации водяных паров внутри фильтра, в особенности на изоляторах.

Разжигать печь можно только с разрешением главного инженера завода в присутствии начальника цеха, механика и лица ответственного за газовое хозяйство.

При использовании газообразного топлива перед розжигом печи необходимо: проверить исправность и плотность закрытия газовых задвижек, а так же плотность газового тракта, наличие и достаточное давление газа в газопроводе, продуть участки газопроводов, подводящие газ к форсункам печи и в течение 5-10 минут провентилировать печь. После этого поджигают запальник и подводят его к обрезу форсунки, постепенно открывая рабочую задвижку. Подают газ в форсунку в таком количестве, что бы получить горение газа небольшим светлым пламенем.

Если газ не загорелся или произошёл отрыв газового факела, следует немедленно закрыть рабочую и контрольную задвижки на газопроводе, отвести запальник, поставить заглушку на рабочей задвижке, открыть задвижку «на свечу» и провентилировать тракт вращающаяся печь - дымовая труба, пустив в работу дымосос. Без проведения этих мер поджигать потушенный или не загоревшийся газовый факел воспрещается.

Убедившись в том, что газовое пламя устойчиво загорелось, постепенно увеличивается подачу газа в форсунку. Необходимо по мере прогрева футеровки постепенно поворачивать печь на малых оборотах с не пользованием вспомогательного привода, чтобы не произошел сдвиг футеровки по отношению к корпусу печи.

Через 30-40 минут после того, как будет задвижек факел в печи, печь поворачивают от вспомогательного привода на 1800.

Последующие повороты следует производить на 900 через 20, 15 и 10 минут. После нагрева футеровки до 600-7000С печь переводят на постоянное вращение от вспомогательного привода.

Исходя из заданного графика, ведется планомерный разогрев.

При переводе печи на работу от главного привода включают дымосос и устанавливают необходимое разрешение за обрезом печи путем соответствующего открытия шиберов. Одновременно устанавливают непрерывное питание печи из расчета 70-75 от достигнутой часовой производительности.

После подхода материала к зоне спекания включают в работу колосниковый холодильник. При этом жалюзийные шиберы всех вентиляторов должны быть закрыты: открывают их по мере поступления клинкера в холодильник. После заполнения холодильника клинкером розжиг печи считается завершенным.

Добившись устойчивого режима, при котором производительность печи составляет 70-75% от заданной, следует проработать на этом режиме около 2 часов. За этот период времени окончательно отрабатываются и стабилизируются теплотехнический и аэродинамический режимы работы печи и холодильника, закрепляется обмазка на футеровки в зоне спекания, регулируется положение факела в печи.

В это же время налаживается механическое оборудование. После этого постепенно увеличивают питание печи до 100%, то есть переводят ее на нормальный режим работы.

Остановка печи

При угрозе несчастного случая или аварии печь следует немедленно остановить. Останавливают печь также при прогаре или выпадении футеровки, при отсутствии сырьевой смеси или топлива.

При кратковременных остановках вращающейся печи, чтобы сохранить футеровку, необходимо остановить дымосос, закрыть шиберы и смотровые люки, устранить все не плотности, чтобы корпус печи не деформировался, следует обеспечить равномерное охлаждение. Для этого печь перед остановкой надо вращать от вспомогательного привода непрерывно в течении 4 часов, а затем периодически через 15-20 минут поворачивать ее на 900.

При плановой остановки печь вырабатывают в течении 2-3 часов до остановки с понижением в двое против оптимального питанием печи сырьевой смесью.

При длительной остановки печь останавливают, прекращают подачу топлива, останавливают вентилятор, закрывают шиберы и останавливают дымосос. Затем периодически поворачивают печь на четверть оборота по следующему графику: через 10-15 минут первые 2-3 часа, через каждые 30 минут последующие 4-5 часа. Соответственно через 3 часа после начала поворотов печи следует обеспечить подсос холодного воздуха через головку печи путем постепенного открытия шибера дымососа в течение 4-5 часов до полного его открытия.

Электробезопасность на производстве обеспечивается соответствующей конструкцией электроустановок; применением технических способов и средств защиты; организационными и техническими мероприятиями (ГОСТ 12.1.009-79).

Источниками электрического тока на заводе являются генераторы, электродвигатели, различные электрические установки и аппаратура, работающая под напряжением.

Средствами защиты от поражения электрическим током, используемыми отдельно или в сочетании друг с другом, являются: защитное заземление; зануле-ние; выравнивание потенциалов; малое напряжение; электрическое разделение сетей; защитное отключение; изоляция токоведущих частей (рабочая, дополнительная, усиленная двойная); компенсация токов замыкания на землю; оградительные устройства; предупредительная сигнализация, блокировка, знаки безопасности; изолирующие защитные и предохранительные приспособления.

Мероприятиями по устранению шума являются: уменьшение шума в источнике возникновения, снижение шума на путях его распространения; архитектурно-планировочные мероприятия; совершенствование технологических процессов и машин; акустическая обработка помещений. Шум, распространяющийся по воздуху, снижается посредством устройства на его пути звукоизолирующих преград в виде стен, перегородок, перекрытий, специальных звукоизолирующих кожухов и экранов (звукоизоляция). Звукопоглощение осуществляется облицовкой внутренних поверхностей производственных помещений звукопоглощающими материалами, обеспечивающими снижение шума на 6-8 дБ в зоне отраженного звука и на 2-3 дБ зоне источника шума. Индивидуальными средствами защиты являются противошумные каски, герметично закрывающие как ушную раковину, так и большую часть головы.

Мероприятия по пожарной охране

Строительными нормами и правилами СНиП 11-2-80 требуемые пределы огнестойкости строительных конструкций определяются степенью огнестойкости проектируемого здания. Требуемая степень огнестойкости производственных зданий определяется СНиП 11-90-81 в зависимости от категории взрывопожарной опасности производства, площади и этажности здания. Категория производства Д, допускаемое количество этажей 3, степень огнестойкости 111. Площадь этажа здания между противопожарными стенами: 1-этажных -7800 м2, I - этажных - 6500 м2, 3хэтажных -3500 м2; наибольшая допустимая площадь застройки: с противоположными стенами 1800 м2. СНиП 11-2-80 регламентируются минимальные пределы огнестойкости основных конструкций здания: несущие стены, стены лестничных клеток, колонны-2 ч; наружные стены из подвесных панелей-0,25 ч; плиты, настилы и другие несущие конструкции перекрытий - 0,75 ч; внутренние несущие стены (перегородки) - 0,25 ч; лестничные площадки, ступени и марши-1 ч.

В связи с использованием на предприятии в качестве топлива газа применяют следующие меры безопасности, обусловленные стремлением предотвратить утечки газа и уменьшить вероятность взрыва, а также локализовать и свести к минимуму разрушительный эффект взрыва. Для этого в ограждающих конструкциях зданий, топок и боровов устраивают искусственно ослабленные места (оконные проемы, взрывные клапаны) для восприятия действия взрывной волны, что предотвращает разрушения основных элементов конструкций и обеспечивает сохранность зданий, оборудования и персонала. Взрывоопасными являются помещения, где возможны утечки и скопления газа: газовые компрессорные, газоповысительные станции, газорегуляторные пункты, склад баллонов с горючими газами и т.п.

Защита окружающей среды

Завод сухого способа производства цемента согласно СН-245-71 «Правил техники безопасности и промсанитарии в промышленности строительных материалов» относится к предприятиям 1 класса по производственным вредностям.

Для борьбы с вредными выбросами отходящие газы и аспирационный воздух проходят одно-, двух- или трехступенчатую очистку в аппаратах различных конструкций (циклоны, рукавные фильтры, электрофильтры и др.). Выбор числа ступеней и аппаратов для очистки зависит от количества очищаемых газов, их свойств, а также от характеристики содержащихся в них пыли (токсичность, фракционный и химический состав, электропроводность, способность к налипанию).

Для предупреждения загрязнения пылью воздушной среды в производственных помещениях и защиты работающих от ее вредного воздействия необходимо применение эффективных аспирационных установок. К данному предприятию относятся следующие типы пылеулавливающих аппаратов:

электрические пылеуловители;

фильтры;

Ширина рабочих проходов между оборудованием принята не менее 1 м, все рабочие и обслуживающие площадки ограждены перилами. Переходные лестницы запроектированы в основном с углом наклона 45°, второстепенные не круче 60°. Предусмотрено ограждение движущихся и вращающихся частей оборудования.

Безопасность производственного персонала обеспечивается также путем механизации и автоматизации операций по технологии получения цемента.

Автоматизированы пуск и остановка основного оборудования: мельницы, компрессоров. Их работа блокируется с работой транспортеров, питателей, системой смазки, системой обеспыливания и т.д. [4]

Заключение

В данном курсовом проекте была спроектирована технологическая линия по производству цемента сухим способом с мощностью 750 тыс. тонн в год.

Для обеспечения данной производительности было подобрано следующее основное оборудование: на стадии первичного дробления установлена одна щековая дробилка СМД-118А, производительностью 300 т/ч; вторичное дробление материала осуществляется в валковых дробилках. Измельчение сырьевых материалов происходит в роликовой мельницы фирмы «Полизиус» производительностью 232 тонны в час. Для измельчения клинкера и добавок с одновременным перемешиванием в линию внедрены две шаровые мельницы германского производства СКЕТ/ЦАБ 4,0-12,0 замкнутого цикла, производительность каждой из которых составляет 95 тонн в час. Для удовлетворения заводом такой производительностью в линию производства были вовлечены две печи 4*60 и два колосниковых холодильника марки СМЦ-408. а для сепарирования материала будут использованы два сепаратора центробежного характера работы марки СМЦ-420А.

Список литературы

1. Классен В.К. - Методическое указание к дипломному проектированию. Материальный баланс завода. - 2008 г.

2. Зозуля П.В. - «Проектирование цементных заводов»

3. Севостьянов В.С., Богданов В.С., и др. - Механическое оборудование производства тугоплавких неметаллических и силикатных материалов и изделий. ИНФРА - М, Москва 2005 г.

4. Бауман В.А., Клушанцев Б.В., Мартынов В.Д. «Механическое оборудование предприятий строительных материалов изделий и конструкций»

5. Боганов А.И. «Механическое оборудование цементных заводов» - Москва 1961 г.

6. Ж. «Цемент» 2007-2008 г.

7. Сидоренко П.М. «Измельчение в химической промышленности» 1977 г.

8. Сапожников М.Я., Дроздов Н.Е. «Справочник по оборудованию»

Похожие работы на - Линия по производству извести

 

Не нашли материал для своей работы?
Поможем написать уникальную работу
Без плагиата!
Без нейросетей!