Изготовление деталей на строгальных и фрезерных станках в механическом цехе ОАО 'Измеритель'
Оглавление
Введение
. Выпускаемая продукция
. Структура цеха 102
. Оборудование механического цеха
. Общая часть
. Изучение методов обработки
.1 Обработка фасонных поверхностей
.2 Обработка плоских поверхностей
.3 Обработка плоских поверхностей торцевыми фрезами
.4 Обработка на строгальных и долбёжных станках
.5 Фрезерование плоских поверхностей цилиндрическими и
торцевыми фрезами
.6 Попутное и встречное фрезерование
.7 Пути повышения производительности фрезерных станков
.8 Обработка плоских и фасонных поверхностей протягиванием
.9 Профильная и прогрессивная схема резания
.10 Фрезерование фасонных поверхностей по разметке
.11 Фрезерование по копиру
. Техника безопасности при работе на строгальных и фрезерных
станках
. Электрофизические методы обработки поверхностей
. Процессы разрушения материала заготовки
. Маршрутный технологический процесс изготовления детали
подушка
. Описание универсального токарно-винторезного станка мод.
1К62
Список использованных источников
Введение
ОАО «Измеритель» - это приборостроительное предприятие, ориентированное на
производство сложной радиоэлектронной аппаратуры, в том числе специального
назначения. Завод располагает множеством современных технологий и имеет
высокоэффективную технологическую базу. Предприятие располагает высококвалифицированным
персоналом, имеющим большой опыт по разработке и изготовлению технически
сложных изделий. Система менеджмента качества завода сертифицирована на
соответствие требованиям СТБ ИСО 9001-2009. Испытательный центр завода
соответствуем требованиям Системы аккредитации поверочных и испытательных
лабораторий РБ, аккредитован на техническую компетентность, оснащен уникальным
испытательным оборудованием, не имеющим аналогов в РБ. Завод ориентирован на
выпуск продукции производственно-технического и специального назначения.
Предприятие
предлагает:
• изделия автотракторной электроники (электронные
реле-прерыватели, щитки приборов грузовых автомобилей, преобразователи
напряжения, системы управления навесными устройствами тракторов и другими
мобильными машинами);
• аппаратуру регистрации денежных расчетов (КСАТ, таксометр);
• изделия силовой электроники (преобразователи частоты различной
мощности для управления асинхронными двигателями переменного тока);
• блоки управления шаговыми двигателями БУШД-М;
• электронные узлы для систем телеметрии и управления
географически распределенными объектами энергетики, нефтехимии,
горэлектротранспорта, коммунального хозяйства (аппаратура «Сириус»);
• новогоднюю иллюминацию (гирлянды елки и площади, звезда, устройство
управления);
• комплектующие изделия для мебельной промышленности;
• товары народного потребления (стулья складные, ящики для овощей
и фруктов);
• внутриотраслевую кооперацию по изготовлению деталей
механического производства;
• металлорежущий инструмент, штампы, пресс-формы.
1. Выпускаемая продукция
Электронная педаль предназначена для управления подачей топлива в составе
микропроцессорной системы питания дизельного двигателя Евро-3, Евро-4 и выше.
При этом улучшаются эргономические показатели, компоновочные возможности и
точность управления за счет снижения усилий на органах управления, размещения
педали в удобном месте, исключения кинематических связей, трения в подшипниках,
люфтов и гистерезиса.
Кроме того, появляется возможность реализации сложных алгоритмов
управления и повышается уровень автоматизации при осуществлении впрыска
топлива. В состав электронной педали входят бесконтактные программируемые
датчики угла поворота с независимыми электрическими выходами и переключатель
холостого хода. Педаль может поставляться с различными углами наклона к
поверхности установки: 35, 40 и 45 градусов.
Технические
характеристики
Переключатель холостого хода обеспечивает коммутацию постоянного
электрического тока с номинальным напряжением 12 В по ГОСТ 3940 и максимальным
током коммутации 10 мА для педалей для тракторов “Беларус”, автомобилей БелАЗ и
200 мА для педалей для комбайнов Гомсельмаш.
Напряжение питания педали - (5±0,1) В.
Ток потребления не более 20 мА.
Вид климатического исполнения педали - О1 по ГОСТ 15150-69 (диапазон
рабочих температур от минус 40 до плюс 60 С).
Степень защиты - IP66 по ГОСТ 14254-96.
Масса педали 1 кг. Габаритные размеры 241х96х164 мм.
По своим характеристикам изделие не уступает зарубежным аналогам при
более низкой стоимости.
Сенсор ручного управления предназначен для микропроцессорных систем управления
подачей топлива дизельных двигателей, устанавливаемых на тракторах.
При этом улучшаются эргономические показатели, компоновочные возможности
и точность управления за счет снижения усилий на органах управления, размещения
сенсора в удобном месте, исключения кинематических связей, трения в
подшипниках, люфтов и гистерезиса.
В состав мехатронных компонентов системы управления подачей топлива будут
входить электронная педаль и сенсор ручного управления. В свою очередь,
указанные изделия состоят из двух программируемых датчиков угла поворота с
независимыми электрическими выходами, переключателя холостого хода, механизма
фиксации угла наклона органа управления и присоединительного жгута с разъемами.
Технические
характеристики
В состав изделия могут входить один или два бесконтактных датчика угла
поворота с независимыми электрическими выходами, переключатель холостого хода,
переключатель «Kick down». Педаль может поставляться с различными углами
наклона к поверхности установки: 35, 40 и 45 градусов.
Степень защиты - IP67. Климатическое исполнение О1 по ГОСТ 15150-69.
По своим характеристикам изделие не уступает зарубежным аналогам при
более низкой стоимости.
Преобразователь
напряжения 14/28В 8A

Преобразователь
напряжения 14/28В 8Aпредназначен для заряда дополнительной аккумуляторной
батареи в двухуровневой системе электрооборудования автотранспортных средств с
пуском двигателя стартером с номинальным напряжением 24 В при номинальном
напряжении бортовой сети 12 В. По основным характеристикам и ценовым
показателям не уступает аналогам производства РФ.
Основные
технические характеристики
• Входное напряжение - 13,2...15,2 В
• Выходное напряжение - (14,3±0,2) В
• Ток нагрузки - не менее 8 А.
• Диапазон рабочих температур: от - 40 до + 70 C
• Степень защиты IP67.
• Габаритные размеры 140х140х35 мм
Преобразователь
напряжения 24/12В
Преобразователь напряжения ПН-24/12В предназначен для питания электронного
оборудования и приборов (автомобильный телевизор, автомагнитола, печка,
кипятильник, кофеварка и других) требующих для своей работы напряжения 12В, от
источников с напряжением 24В, в том числе от бортовой сети автомобилей.
Прибор является импульсным стабилизатором напряжения. Он имеет
электронную самовосстанавливающуюся защиту от коротких замыканий, систему
ограничения мощности, защиту от повышения выходного напряжения. Преобразователь
способен работать на «холостом ходу», гарантированно обеспечивает номинальный
ток на выходе в долговременном режиме.
Технические характеристики
• Напряжение, поддерживаемое преобразователем, В: (13 ± 1)
• Ток нагрузки, А: (0…15)
• Ток срабатывания защиты, А - 21
• Номинальное напряжение питания, В - 24
• Диапазон рабочих входных напряжений, В (18...32)
• Типовое значение КПД преобразователя при напряжении питания 24В и токе
нагрузки 10А,% - 90
• Рабочее положение - любое
• Средняя наработка до отказа, не менее, моточасов - 5000
• Габаритные размеры, не более, мм: 180х143х58
• Масса, не более, кг - 1,5
• Исполнение по защите от проникания посторонних тел и воды - IP54
• Режим работы, по ГОСТ 3940-84 - продолжительный S1
Таксометр
автомобильный электронный «BelTAX»
Таксометр автомобильный электронный «BelTAX» предназначен для
автоматического отсчета платы за проезд (пользование автомобилем-такси) и
фиксирования результатов работы автомобиля-такси на линии (по поездкам и
итоговых).
Обеспечивает автоматическую выдачу чека и контрольной ленты, хранение
результатов работы в оперативной (энергонезависимой) и фискальной памяти.
Регистрирует начало и окончание смены, программирование данных, рестарты,
несанкционированные отключения: электропитания, датчика движения, внешней
световой индикации.
Основные
технические характеристики
• габаритные размеры (без чековой ленты), мм - 60х166х53
• масса (без чековой ленты), не более, кг - 0,5
• напряжение электропитания, В : 12 ± 4
• потребляемая мощность в режиме ожидания (печати), не более, Вт - 2 (20)
• диапазон рабочих температур, °С -10 … +60
• диапазон рабочих констант, импульсов движения/км - 500…50 000
• количество тарифов перевозки (дневной, ночной и четыре специальных) - 6
• ёмкость фискальной памяти, записей - 4080
• максимальное количество чеков, формируемых в течение одной смены, штук
- 128
• дискретность отсчета оплаты за проезд (или тарифная единица), руб.:
0,01… 10 000
• абсолютная погрешность отсчета оплаты по километровому тарифу, тарифных
единиц ± 1
• относительная погрешность отсчета оплаты по часовому тарифу, % ±1
• относительная погрешность отсчета посадочного отрезка (интервала),% ± 1
• абсолютная погрешность счетчиков пробега, км ± 0,1
2.
Структура цеха 102
3.
Оборудование механического цеха
|
1.
|
FN-160
|
|
2.
|
МС-5
|
|
3.
|
WF-5A
|
|
4.
|
ИР-320
|
|
5.
|
ИР-500
|
|
6.
|
ИС-500
|
|
7.
|
ИС-800
|
|
8.
|
СФП-250
|
|
9.
|
СФП-500
|
|
10.
|
6520Ф3
|
|
11.
|
WF2SA
|
|
12.
|
FN-32
|
|
13.
|
67К25ПФ20
|
|
14.
|
ЗГ71М
|
|
15.
|
ЗЕ710В
|
|
16.
|
540АР
|
|
17.
|
ЗУ10А
|
|
18.
|
250ИТВ
|
|
19.
|
1ИС611В
|
|
20.
|
16Б16КП
|
|
21.
|
16Б16Т1С1
|
|
22.
|
16К20
|
|
23.
|
|
24.
|
MN-80
|
|
25.
|
УТ16В
|
|
26.
|
SV18RA
|
|
27.
|
2М112
|
|
28.
|
2Н106П
|
|
29.
|
2Н125
|
|
30.
|
2054М
|
|
31.
|
1И611П
|
|
32.
|
6Р81Г
|
|
33.
|
6725В
|
|
34.
|
676П
|
|
35.
|
ВСУ12/400
|
|
36.
|
53А05В
|
|
37. 38.
|
5Т23В 5304В
|
|
39.
|
24К40СФ4
|
|
40.
|
2431
|
|
41.
|
6М76П
|
|
42.
|
6Т10 1
|
4. Общая
часть
. ОПИСАНИЕ
.1. Механический цех 102 является самостоятельным
административно-производственным структурным подразделением предприятия,
действующем на основании внутрихозяйственного расчета, в соответствии с планом
предприятия и находится в непосредственном подчинении первого заместителя
директора.
1.2. Производственный цех возглавляется начальником цеха, который назначается,
перемешается и освобождается от занимаемой должности руководителем предприятия
по представлению первого зам. директора.
.3. В своей практической деятельности начальник цеха руководствуется
установленным планом производства, правилами внутреннего трудового распорядка,
коллективным договором, инструкциями, приказами руководителя предприятия,
распоряжениями и указаниями его заместителей, а также настоящим Положением.
1.4. Начальник цеха является административно-техническим руководителем и
организатором всей производственной и хозяйственной деятельности цеха и
осуществляет руководство на основе принципов единоначалия с привлечением к
участию и управлению производством трудящихся с помощью профсоюзной
организации.
2.ЗАДАЧИ
ЦЕХА.
2.1. Главной целью цеха является своевременный выпуск качественной
продукции, удовлетворяющей требованиям потребителя.
.2. Ритмичное выполнение плана производства по выпуску товарной
продукции или оказанию услуг цехам-смежникам в заданной номенклатуре,
ассортименте и объемах.
2.3. Оперативное выполнение дополнительных заданий
производственно-диспетчерского отдела.
.4. Обеспечение выполнения заданий по себестоимости, производительности
труда и другим технико-экономическим показателям.
.5. Обеспечение высокого качества изготавливаемой продукции на основе
внедрения системы менеджмента качества, соответствующей ИСО 9000.
3.ФУНКЦИИ
ЦЕХА.
3.1. Систематически обеспечивать ритмичное выполнение и перевыполнение
производственной программы в пределах плана года, предусмотренного
финансово-экономическим отделом предприятия в установленной номенклатуре по
всем количественным, качественным и экономическим показателям.
.2. Постоянно совершенствовать организацию производства и труда, улучшать
технологию производства, обеспечивая непрерывный рост производительности труда,
выпуск продукции высокого качества, максимальное использование производственных
мощностей, внедрения новой техники на основе комплексного плана
производственно-хозяйственной деятельности цеха в пределах директивных
показателей, утвержденных руководителем предприятия.
3.3. Совместно с цеховыми службами и специалистами функциональных
подразделений завода на основании директивных показателей и в установленные
сроки разрабатывать технико-экономический план цеха, план организационных тех.
мероприятий, внедрения новой техники и технологий, также НОТ.
3.4. Всемерно поощрять и помогать работникам цеха в выполнении и
использовании резервов производства путем развертывания работы по научной
организации производства и труда.
.5. Осуществлять правильный подбор и расстановку служащих, исходя из их
деловых качеств и индивидуальных способностей.
3.6. Обеспечивать ежемесячный анализ показателей
производственно-хозяйственной деятельности цеха по всем направлениям с
выработкой конкретных решений по их улучшению и совершенствованию, для чего,
обеспечивать наглядный показ трудящимся цеха динамики хода производства по всем
показателям как в течение года по месяцам, так и по годам за время
существования цеха.
3.7. Обеспечивать правильную организацию рабочих, своевременный пересмотр
устаревших и заниженных норм времени более прогрессивными, систематическое
выполнение плана по снижению трудоемкости выпускаемой продукции.
.8. Обеспечивать экономичное использование сырья, материалов, топлива,
электроэнергии, снижение производственных затрат на единицу продукции,
правильное расходование фонда заработной платы, эффективное использование
основных и оборотных средств.
.9. Обеспечивать строгое соблюдение всех положений принятых в обществе,
внутризаводского планирования, учета и регулирования хода производства.
Соблюдать и строго выполнять принятые на предприятии формы отчетности и
обеспечивать полное соответствие планово-экономических, учетных и фактических
показателей.
.10. Обеспечивать выполнение мероприятий и правил по технике безопасности
и промышленной санитарии, а также инструкций по содержанию цеха и закрепленной
территории в надлежащей чистоте и образцовом порядке, правил и требований
пожарного надзора.
.11. Контролировать правильную эксплуатацию и своевременное проведение
планово-предупредительного и текущего ремонта оборудования, правильную
эксплуатацию контрольно-измерительных приборов и своевременную их сдачу на
поверку.
4.ПРАВА ЦЕХА.
4.1. Утверждать месячные плановые задания производственным подразделениям
и службам цеха по выпуску продукции и технико-экономические показатели работы
их в соответствии с установленным планом и производственным графиком.
.2. Принимать непосредственное участие в работах по планированию
производственно-хозяйственной деятельности участков и во всех разборах ее
результатов.
.3. Требовать от начальника участка, старшего мастера и мастера цеха
выполнения производственных заданий и всех своих указаний.
.4. Требовать от различных служб предприятия своевременного и
качественного обслуживания цеха всеми видами услуг, обеспечения заготовками, сырьем, материалами,
комплектующими, деталями, технической документацией и решения возникающих
вопросов.
.5. Принадлежащие цеху права и возложенные на него функции осуществляются
начальником цеха и по установленному им распределению обязанностей его
заместителями и другими должностными лицами.
Инструкция
о мерах пожарной безопасности в цехе 102 ОАО «Измеритель»
1.Общие положения.
.1.Настоящая инструкция разработана на основании «Общих правил пожарной
безопасности Республики Беларусь для промышленных предприятий» (ППБ
РБ.1.01-94).
.2.Каждый работающий в цехе (независимо от занимаемой должности) обязан
четко знать и строго выполнять установленные правила пожарной безопасности, не
допускать действий, которые могут привести к взрыву и пожару.
.Требования пожарной безопасности в производственных помещениях цеха 102.
.1.Помещения цеха должны постоянно содержаться в чистоте и порядке.
.2.В каждом помещении должны быть вывешены таблички с указанием
ответственного за пожарную безопасность, номера телефона вызова пожарной службы
и инструкция о мерах пожарной безопасности.
.3.На входных дверях складских помещений необходимо размещать указатель
категории взрывопожарной и пожарной опасности и класса зоны по ПУЭ в соответствии
с приложением 4ППБ РБ1.01-94.
.4.Проходы, выходы, коридоры, лестницы, подходы к средствам пожаротушения
и сигнализации не разрешается загромождать различными предметами и
оборудованием. Все двери эвакуационных выходов должны свободно и легко
открываться по ходу эвакуации из здания.
.6.Служебно-бытовые и складские помещения цеха должны использоваться
только по целевому назначению, определенному проектно-сметной документацией.
.7.Курение на территории цеха допускается в специально отведенных местах,
определенных приказом по предприятию, оборудованных урнами для окурков и
первичными средствами пожаротушения (ОП-10). В этих местах должны быть помещены
указательные знаки безопасности.
.8.В конце каждой рабочей смены обесточить электрооборудование на
электрощитах ШР-28; ШР-28А; ШР2-1-5; ШР - 23; ШР-16.
.В производственных и административных помещениях участка запрещается:
.1.Делать уборку в помещениях с применением бензина, керосина и других
легковоспламеняющихся и горячих жидкостей.
.2.Оставлять без присмотра включенные в электросеть электронагревательные
приборы, электрические пишущие машины и т.п.
.3.Применять электрообогреватели.
.4.Хранить и применять ЛВЖ, ГЖ, ГГ, твердые легковоспламеняемые материалы
и взрывчатые вещества.
.5.Применять электросети-времянки.
.6.Пользоваться кабелями и проводами с поврежденной изоляцией, а также
потерявшей в процессе эксплуатации защитные электроизоляционные свойства.
.7.Оставлять под напряжением провода и кабели с неизолированными концами,
а также неиспользуемые сети.
.8.Пользоваться поврежденными или неисправными розетками,
распределительными коробками, рубильниками, защитными и другими электроустановочными
изделиями.
.9.Оклеивать и окрашивать электропровода, завязывать их в узлы,
подвешивать непосредственно на провода светильники, установочную
электроаппаратуру и другие предметы.
.10.Включать электроустановки, автоматически отключившиеся при коротком замыкании,
без выяснения и устранения причин отключения.
.11.Перегружать провода и кабели сверх номинальных параметров.
.12.Проводить огневые работы без предварительно подготовленного места
проведения работ с обязательным выполнением требований правил пожарной
безопасности ППБ 1.03-92 и техники безопасности.
.13.Оставлять в ночное время неосвещенными выходы и лестничные клетки.
.14.Устанавливать на окнах помещений глухие металлические решетки.
.15.Пользоваться открытым огнем.
.В случае возникновения пожара необходимо:
.1.Сообщить о пожаре в пожарную службу:
по внутреннему телефону 40-01;
по городскому телефону 6-101;
В сообщении необходимо указать: - адрес объекта, здания, помещения
место возникновения пожара
что горит и чему угрожает пожар
свою фамилию
.2.Принять меры к эвакуации людей и материальных ценностей.
.3.Обесточить при необходимости электроприборы и оборудование, отключить
вентиляцию.
.4.При необходимости обесточить цех от тока, звонить по телефону 40-34
дежурному электрику.
.5.Приступить к тушению очага пожара имеющимися средствами пожаротушения.
.6.Принять меры по вызову к месту пожара руководителя подразделения.
По прибытии пожарных подразделений каждый работник привлекается для
оказания помощи в выполнении вспомогательных работ: прокладка рукавных линий,
разборка конструкций, эвакуация людей и материальных ценностей.
.Порядок применения огнетушителя марки ОП-4(з), ОП-5(з), ОП-8(з):
поднести огнетушитель к очагу пожара с наветренной стороны;
сорвать пломбу;
выдернуть чеку;
нажать рычаг;
направить струю порошка на огонь с безопасного расстояния (начинать с
трех метров);
.Соблюдение данной инструкции о мерах пожарной безопасности к выполнению
всеми служащими и рабочими цеха 102.
.Лица, виновные в нарушении настоящей инструкции, в зависимости от характера
нарушений и их последствий несут ответственность в дисциплинарном,
административном или уголовном порядке в соответствии с действующим
законодательством.
5.
Изучение методов обработки
.1
Обработка фасонных поверхностей
В машиностроении широко применяются детали, имеющие поверхности с
криволинейными образующими (фасонные), отличающиеся от простейших форм
поверхностей (плоской, цилиндрической, конической).
Фасонные поверхности обрабатывают на токарных станках фасонными резцами,
способом сочетания продольной и поперечной подачи и с помощью различных
приспособлений. Короткие фасонные поверхности длиной до 60 мм в серийном
производстве обрабатывают фасонными резцами. Профиль режущей кромки фасонного
резца соответствует профилю обрабатываемой фасонной поверхности.
Стержневые фасонные резцы. Простейшим фасонным резцом является стержневой
с приваренной или напаянной режущей пластинкой. Переточка по задней
поверхности, т. е. по всей профильной режущей кромке сложная и трудоемкая
операц7ия, поэтому, как правило, фасонные резцы перетачивают по передней
поверхности. После переточки по передней поверхности исходный профиль режущей
кромки сохраняется. Однако стержневой резец допускает только две-три переточки
по передней поверхности, так как после каждой переточки, чтобы установить
режущую кромку резца по центру заготовки, резец поднимают выше при помощи
подкладок и он упрется в потолок паза резцедержателя.
Малое число допускаемых переточек является недостатком стержневых резцов,
их применяют главным образом в качестве радиусных и галтельных. Резцы со
сложным профилем режущей кромки в условиях серийного или массового производства
обычно имеют призматическую или дисковую конструкцию. Призматические резцы.
Шлифованный профиль задней поверхности призматического резца соответствует
заданному фасонному профилю детали. Резец крепят в специальной державке
хвостовиком, имеющим форму типа ласточкин хвост, причем для образования заднего
угла резец устанавливают под углом к подошве державки. Переточку резца
осуществляют шлифованием передней поверхности. Дисковый, или круглый, резец
имеет фасонную наружную поверхность, форма которой является зеркальным
отображением заданной фасонной поверхности детали. В резце имеется угловой
вырез. Пересечением плоскости выреза с наружной фасонной поверхностью
образуется фасонная режущая кромка (рис. 220). Если бы передняя поверхность
резца проходила через центр заготовки детали, а центр дискового резца находился
на уровне центра заготовки детали, то резец имел бы нулевые значения переднего
и заднего углов, т. е. практически не работал бы заданный передний угол.
При указанных условиях установки и заточки резца значения переднего и
заднего углов будут положительные. После каждой переточки по передней
поверхности дисковый резец поворачивают на оси державки, вновь устанавливают по
центру и закрепляют. Имеющиеся на торце резца и на торце державки зубцы
предотвращают проворот резца от усилий, возникающих при резании. Призматические
и дисковые резцы изготовляют обычно из быстрорежущей стали, реже применяют
твердосплавные. Работа фасонными резцами. Чтобы уменьшить вибрацию заготовок
при работе фасонным резцом способом поперечной подачи, предварительно
протачивают поверхность проходным резцом, оставляя небольшой припуск на
окончательную обработку фасонным резцом. Обработка шаровой поверхности фасонным
резцом приведена на рис. 222, а г. Фасонный резец подводят к заготовке плавно.
Подача обычно ручная 0,02 0,1 мм/об, причем к концу прохода подачу уменьшают.
Для получения высокой чистоты поверхности скорость резания при точении
фасонными резцами не должна превышать 30 толщин. В качестве
смазочно-охлаждающей жидкости при обработке стали применяют эмульсию или
сульфофрезол. Обточку галтели (радиусных переходов) ступенчатых валов обычно
совмещают с чистовым проходом по шейке вала радиусным.
.2
Обработка плоских поверхностей
Обработка плоских поверхностей в зависимости от расположения относительно
поверхности стола станка подразделяется на горизонтальную, вертикальную и
наклонную. Она может производится цилиндрическими и торцевыми фрезами соответственно
на горизонтально- или вертикально-фрезерных станках.
При обработке плоских поверхностей цилиндрическими фрезами наладка станка
начинается с установки фрезы на оправку. Весьма важным является правильное
сочетание направления винтовой линии зуба фрезы с направлением вращения
шпинделя станка. При определении этого сочетания следует учитывать направление
осевой составляющей силы резания Рх, которая в процессе обработки должна быть
направлена в сторону шпинделя станка (рис. 6.30).
Заготовка при обработке устанавливается непосредственно на столе или в
приспособлении. При установке на столе заготовка должна быть выверена в
горизонтальном или вертикальном положении по разметочным рискам или с помощью
контрольно-измерительных инструментов. Закрепление заготовки осуществляется
только после ее выверки.
Выбор частоты вращения шпинделя и подачи осуществляется по справочным
таблицам для определения режимов фрезерования. Установка фрезы на заданную
глубину резания осуществляется по лимбу станка, после касания фрезой
поверхности заготовки и вывода ее за пределы рабочей зоны.
.3
Обработка плоских поверхностей торцевыми фрезами
Торцевые фрезы по сравнению с цилиндрическими имеют ряд преимуществ:
более жесткое крепление, плавная работа большого числа одновременно работающих
зубьев, а также большие скорости резания и подачи, особенно для фрез,
оснащенных пластинами твердого сплава. Поэтому в большинстве случаев обработку
плоских поверхностей целесообразно выполнять торцевыми фрезами.
При обработке торцевыми фрезами точность обработки увеличивается, а
шероховатость обработанной поверхности уменьшается с увеличением скорости
резания и уменьшением подачи. Установка торцевой фрезы на глубину резания
осуществляется так же, как и при установке цилиндрической фрезы.
Различные плоские поверхности обрабатывают цилиндрической или торцевой
фрезой. При цилиндрическом фрезеровании ось фрезы параллельна обрабатываемой
поверхности; работа производится зубьями, расположенными на цилиндрической
поверхности фрезы. При торцовом фрезеровании ось фрезы перпендикулярна
обрабатываемой поверхности; в работе участвуют зубья, расположенные как на
цилиндрической, так и на торцовой поверхности фрезы, например, при обработке
уступов.
Торцовое фрезерование, как и цилиндрическое, может осуществляться двумя
способами: против подачи, так называемое встречное фрезерование, когда
направление подачи противоположно направлению вращения фрезы, и попутное
фрезерование, когда направление подачи совпадает с направлением вращения фрезы.
При встречном фрезеровании нагрузка на зуб увеличивается постепенно. При
попутном фрезеровании зуб фрезы начинает работать со срезания слоя наибольшей
толщины.
При, черновой обработке заготовок попутное фрезерование применять не
следует, так как при врезании зуба фрезы в твердую корку происходит
преждевременное изнашивание фрезы и выход ее из строя.
При фрезеровании заготовок с предварительно обработанными поверхностями
попутное фрезерование имеет преимущества перед встречным: увеличивается стойкость
инструмента, улучшается качество обработанной поверхности. Попутное
фрезерование следует производить на станках, обладающих достаточной жесткостью
и виброустойчивостью, а также на станках, не имеющих зазора в сопряжении
ходовой винт-гайка. При попутном и встречном фрезеровании можно работать при
движении стола в обоих направлениях, что позволяет выполнять черновое и
чистовое фрезерование за одну операцию. Цилиндрические фрезы широко применяют в
единичном и серийном производстве.
.4
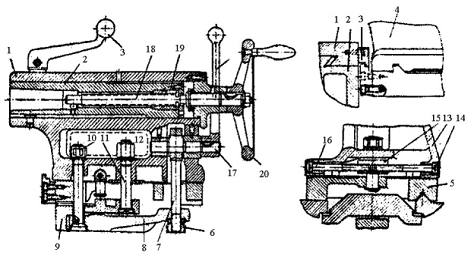
Обработка на строгальных и долбёжных станках
На этих станках (рис.) обрабатывают плоскости, пазы, выемки различных
профилей, фасонные отверстия, шпоночные канавки и др.
Работа на таком станке производится в следующей последовательности.
Вначале разметчик с помощью кернов 2 и разметочных рисок 1 наносит на заготовке
4 контур будущей детали. Затем деталь устанавливается на станок и резец 5,
закрепленный в суппорте, снимает (срезает) припуск 3. С помощью ходовых винтов
- поперечного 6 и вертикального 7 резец можно перемещать в горизонтальном и
вертикальном направлениях.
В зависимости от характера производимой работы строгальные станки подразделяются
на поперечно-строгальные, продольно-строгальные и долбежные. На рис. изображен
поперечно-строгальный станок, предназначенный для строгания горизонтальных,
вертикальных и наклонных поверхностей на заготовках мелких и средних деталей, а
также для прорезания в деталях прямолинейных канавок, выемок и пазов.
Основные узлы станка: основание (фундаментальная плита) 10 и станина 9,
по горизонтальным направляющим которой перемещается ползун 5 с суппортом 2. По
вертикальным направляющим станины перемещается стол 1, который для большей
устойчивости поддерживается опорной стойкой 12.
Обрабатываемая деталь закрепляется на столе, горизонтальная и
вертикальная поверхности которой имеют для этой цели Т-образные пазы. Резец закреплен
в резцедержателе, установленном в суппорте 2, и с помощью рукоятки 1 и
ходового винта 4 может менять свое положение. В рабочее состояние станок
приводится от электродвигателя 8. На станке имеется гидропанель 7 для
управления гидравлическими устройствами, в том числе приводом подач 11.
Перемещение стола ограничивают переставные упоры 6.
На рис. показан пример чертежа типовой детали, фигурный профиль которой
выстрагивается на строгальном станке.
Долбежный станок (рис.) применяется главным образом для обработки
шпоночных пазов и различных фасонных отверстий в условиях единичного и
мелкосерийного производства. При обработке резец 4, закрепленный в суппорте 3,
вместе с ползуном 2 совершает вертикальное возвратно-поступательное движение по
направляющим станины 1. Стол 5 обеспечивает продольную, поперечную и круговую
подачу.
5.5
Фрезерование плоских поверхностей цилиндрическими и торцевыми фрезами
Цилиндрические фрезы применяют для обработки плоскостей. Зубья
цилиндрической фрезы располагают по винтовой линии с определенным углом наклона
винтовой канавки со. Цилиндрические фрезы изготовляют по ГОСТ 3752-71 с мелкими
зубьями и с крупными зубьями, со вставными ножами по ГОСТ 9926-61 и со
вставными нотами составные. Фрезы, оснащенные винтовыми пластинками твердого
сплава, изготовляют по ГОСТ 8721- 69.Основными размерами цилиндрических фрез
являются длина фрезы L, диаметр фрезы Д диаметр отверстия d, число зубьев z.
Цилиндрические фрезы изготовляют из быстрорежущей стали, а также оснащают
пластинками твердых сплавов. Изготовление цилиндрических фрез со вставными
ножами (зубьями) позволяет более экономно использовать дорогостоящий
инструментальный материал. По направлению вращения фрезы делят на право- и
леворежущие. Праворежущими называют такие фрезы, которые при работе должны вращаться
по часовой стрелке, если на фрезу смотреть со стороны заднего конца шпинделя
(или против часовой стрелки, если смотреть со стороны подвески-серьги).
Леворежущими фрезами называют такие фрезы, которые при работе должны вращаться
против часовой стрелки, если смотреть со стороны заднего конца шпинделя (или по
часовой стрелке, если смотреть со стороны подвески). Если смотреть на фрезу со
стороны подвески, то праворежущая фреза отбрасывает стружку вправо, а
леворежущая - влево. Цилиндрические фрезы в зависимости от того, какой стороной
они установлены на оправке, могут быть использованы и как праворежущие. и как
леворежущие. Направление резания можно изменить, перевернув фрезу на оправке.
Выбор типа и размера цилиндрической фрезы. Выбор типа и размера фрезы зависит
от данных конкретных условий обработки (размеры обрабатываемой заготовки, марка
обрабатываемого материала, величины припуска на обработку и др.). Фрезы с
крупным зубом применяют для черновой и получистовой обработки плоскостей, фрезы
с мелким зубом - для получистовой и чистовой обработки.
Торцовые фрезы предназначены для обработки плоскостей на вертикально- и
горизонтально-фрезерных станках. Торцовые фрезы в отличие от цилиндрических
имеют зубья, расположенные на- цилиндрической поверхности и на торце. Торцовые
фрезы делятся на насадные (ГОСТ 9304-69) с мелкими зубьями и с крупными зубьями
и насадные со вставными ножами по ГОСТ 1092-69.Торцовые фрезы по сравнению с
цилиндрическими имеют ряд преимуществ, главными из которых являются: более жесткое
крепление на оправке или шпинделе; более плавная работа из-за большого числа
одновременно работающих зубьев.
Поэтому обработку плоскостей в большинстве случаев целесообразно
проводить торцовыми фрезами. Торцовые фрезы, как и цилиндрические, делятся на
праворежущие и леворежущие.
Праворежущими называют такие фрезы, которые при работе должны вращаться
по часовой стрелке, а леворежущие - против часовой стрелки, если смотреть на
фрезу или фрезерную головку сверху (при работе на вертикально-фрезерном
станке). Широкое распространение получили торцовые фрезы, оснащенные
пластинками твердых сплавов. Фрезерование плоскостей торцовыми твердосплавными
фрезами является более производительным, чем фрезерование цилиндрическими
фрезами. В последнее время большое распространение получили торцовые фрезы с
неперетачиваемыми твердосплавными пластинками.
Наладка и настройка станка для выполнения различных работ. При работе на
вертикально- и горизонтально-фрезерных станках торцовыми фрезами наладка и
настройка принципиально ничем не отличаются от наладки и настройки
горизонтально-фрезерного станка при работе цилиндрическими фрезами. Поэтому
остановимся лишь на отличительных особенностях наладки и настройки при
фрезеровании торцовыми фрезами.
Установка и закрепление торцовых фрез на вертикально-фрезерных станках. В
зависимости от вида применяемой фрезы крепление ее на вертикально-фрезерном
станке может производиться несколькими способами:
Торцовые фрезы, имеющие калиброванное сквозное отверстие, центрируются по
цилиндрической части оправки конусной частью, устанавливаются в конусное
отверстие шпинделя и закрепляются в нем шомполом и гайкой. Базовый торец фрезы
опирается на один из торцов переходного фланца, второй торец которого опирается
на торец оправки. Шипы шпинделя входят в пазы переходного фланца, а выступы
фланца в пазы фрезы, передавая крутящий момент от шпинделя фрезе. Фреза
крепится на оправке винтом с помощью специального ключа.
Торцовые фрезы, имеющие центрирующую выточку, устанавливают
непосредственно на головку шпинделя и закрепляют на нем четырьмя винтами. Шипы
шпинделя входят в пазы корпуса фрезы, передавая крутящий момент от шпинделя
фрезе.
Торцовые фрезы с конусным хвостиком номинальным размером наибольшего
диаметра конуса ф 59,85 мм и конусностью 7:24, выполненным за одно целое с
корпусом фрезы, вставляют в конусное отверстие шпинделя, закрепляют в нем
шомполом и гайкой. Крутящий момент передается шипами, входящими в пазы корпуса
фрезы.
Торцовые фрезы, имеющие сквозное калиброванное отверстие и пазы в
корпусе, по ширине соответствующие размерам шипов шпинделя.
Направление вращения фрез устанавливают на оправке, закрепленной в
шпинделе станка. Фрезу закрепляют на оправке винтом. Крутящий момент передается
шипами, входящими в пазы корпуса фрезы.
Концевые фрезы, имеющие хвостовик с конусом «Морзе» и резьбовым
отверстием, центрируют в переходной втулке /, вставленной в конусное отверстие
шпинделя и крепят шомполом и гайкой. Шипы шпинделя входят в пазы переходной
втулки, передавая крутящий момент от шпинделя фрезе.
Настройка вертикально-фрезерных станков на соответствующие режимы резания
производится так же, как и настройка горизонтально-фрезерных станков.
.6
Попутное и встречное фрезерование
Попутное фрезерование. При попутном фрезеровании направление движения
подачи совпадает с вращением инструмента. Такое движение также называют
фрезерование «по подаче».Толщина среза имеет максимальную величину в момент
входа в заготовку (точка 2) и изменяется до нулевого значения при выходе из нее
(точка 1).
<#"604244.files/image015.gif"> <#"604244.files/image016.gif">
5.9
Профильная и прогрессивная схема резания
Профильная схема резания характеризуется тем, что каждый режущий зуб протяжки
удаляет металл со всего обрабатываемого контура, срезая слой толщиной а за счет
превышения высоты предыдущего зуба по отношению к последующему. Она основана на
резании каждым режущим зубом протяжки относительно тонких и широких слоев
металла, параллельных обработанной поверхности. Режущие кромки также
параллельны этой поверхности и не участвует в ее построении, кроме последнего
режущего зуба, который образует обработанную поверхность. Представлены три
случая использования данной схемы резания при обработке: плоскости, фасонной
поверхности и фасонного отверстия.
При прогрессивной схеме резания, так же как и при генераторной схеме,
профиль зубьев не соответствует профилю обработанной поверхности, и отдельный
зуб полностью срезает слой обрабатываемого периметра на определенном участке. В
результате последовательной работы трех зубьев удаляется припуск по всей
ширине. Для обеспечения точности обработанной поверхности последний зуб
работает по профильной схеме.
При таком распределении работы между зубьями прогрессивной протяжки
снимается короткая, но более толстая стружка, что приводит к снижению сил
резания. Поэтому прогрессивная схема резания получила наибольшее
распространение при обработке деталей с большим припуском, а также при
обработке внутренних поверхностей больших размеров. Кроме того, эту схему
резания целесообразно применять для обработки деталей, обладающих низкой
жесткостью. Недостатком прогрессивной схемы является сложность изготовления
протяжек.
Для внутренних протяжек задние углы режущих зубьев а = - 2 : 4°, для
наружных а = 5 : 10°. Обычно протяжки затачивают по передней поверхности,
поэтому чем больше задний угол, тем быстрее уменьшается диаметр и высота
зубьев. В связи с этим величина заднего угла калибрующих зубьев еще меньше: а =
0,5 : 1°. Для того, чтобы сохранить размеры протяжки на калибрующих зубьях,
оставляется ленточка шириной < 0,2 • 10~3 м.
Прогрессивная схема резания применяется в тех случаях, когда из-за малых
размеров опасного сечения стержня протяжки недостаточно прочны и допускают
ограниченную величину силы резания. Прогрессивная схема резания применяется и в
других случаях. Эта схема резания используется, например, при применении
круглых, наружных и других протяжек.
Профильная схема резания предусматривает срезание припуска протяжкой, все
зубья которой имеют профильный контур, подобный контуру поперечного сечения
окончательно обработанной поверхности детали. Профильная схема резания находит
ограниченное применение из-за трудностей изготовления профильных протяжек. Эта
схема резания в частности используется при применении круглых и наружных
протяжек.
5.10
Фрезерование фасонных поверхностей по разметке
Фасонные поверхности замкнутого контура можно обрабатывать фрезерованием
на вертикально-фрезерных станках с помощью: ручного управления по разметке,
круглого стола по разметке, накладного копира, копировального фрезерования.
Фрезерование с помощью ручного управления
Фрезерование фасонной поверхности замкнутого криволинейного контура по
разметке с помощью ручного управления заключается в том, что предварительно
размеченную заготовку закрепляют либо непосредственно на столе
вертикально-фрезерного станка, либо в тисках, либо в приспособлении.
Фрезерование фасонной поверхности производят концевой фрезой путем
одновременного перемещения стола в продольном и поперечном направлениях так,
чтобы снять лишний слой металла в соответствии с размеченным контуром. Такой
метод фрезерования применяется лишь в условиях единичного или мелкосерийного
производства и требует высокой квалификации рабочего.
.11
Фрезерование по копиру
Для изготовления деталей, имеющих криволинейный контур, криволинейные
канавки и другие сложные очертания, можно фрезеровать заготовку, как мы видели,
либо комбинируя две подачи, либо применяя поворотный круглый стол; в этих
случаях предварительная разметка обязательна.
При изготовлении больших партий одинаковых деталей с
криволинейными контурами пользуются копировальными приспособлениями или
применяют специальные копировально-фрезерные станки.
Принцип работы копировальных приспособлений для фрезерования
основан на использовании продольной, поперечной и круговой подач стола станка
для сообщения заготовке криволинейного движения, точно соответствующего контуру
готовой детали. Для автоматического получения нужного контура применяют копиры,
т. е. шаблоны, которые заменяют разметку.
Фрезерование по копиру - шаблону. Для фрезерования контура
большой головки шатуна двигателя (рис. 164, б) копир 1 накладывают на деталь 2
и надежно с ней скрепляют. Действуя маховичком круговой подачи круглого
поворотного стола и рукоятками продольной и поперечной подач, фрезеровщик
следит за тем, чтобы шейка концевой фрезы 3 все время прижималась к поверхности
копира 1.
Концевая фреза для обработки по копиру показана на рис 164, а.
На рис. 165 дана схема копировального приспособления для фрезерования
контура большой головки шатуна двигателя, подобно изображенной на рис. 164, но
с применением, кроме копира, еще ролика и груза.
На столе 7 станка установлено копировальное приспособление 5, имеющее
круглый поворотный стол с ручной подачей; на планшайбе стола закреплен копир 6.
Под действием груза 1 копир 6 всегда прижат к ролику2. Ходовые винты продольной
и поперечной подач стола станка освобождены и при вращении круглого поворотного
стола приспособление вместе с закрепленной заготовкой 4 будет «следить» под
действием груза за копиром 6, а фреза 3 будет обрабатывать заготовку 4 по
заданному контуру.
Приспособление обладает по сравнению с показанным на рис. 164
тем преимуществом, что фрезеровщик освобожден от необходимости непрерывно
создавать контакт пальца и копира, который осуществляется автоматически под
действием груза В целях дальнейшей автоматизации копировально-фрезерных работ
по контуру применяют специальные контурные копировально-фрезерные станки.
6. Техника
безопасности при работе на строгальных и фрезерных станках
. ОБЩИЕ ТРЕБОВАНИЯ БЕЗОПАСНОСТИ
.1. К самостоятельной работе на строгальных станках допускается обученный
персонал, прошедший медицинский осмотр, инструктаж по охране труда на рабочем
месте, ознакомленный с правилами пожарной безопасности и усвоивший безопасные
приемы работы.
.2. Строгальщику разрешается работать только на станках, к которым он
допущен, и выполнять работу, которая поручена ему руководителем цеха (участка).
.3. Рабочий, обслуживающий строгальные станки, должен иметь: костюм
хлопчатобумажный или полукомбинезон, очки защитные, ботинки юфтевые.
.4. Если пол скользкий (облит маслом, эмульсией), рабочий обязан
потребовать, чтобы его посыпали опилками, или сделать это сам.
.5. Строгальщику запрещается:
работать при отсутствии на полу под ногами деревянной решетки по длине
станка, исключающей попадание обуви между рейками и обеспечивающей свободное
прохождение стружки;
работать на станке с оборванным заземляющим проводом, при отсутствии или
неисправности блокировочных устройств;
стоять и проходить под поднятым грузом;
проходить в местах, не предназначенных для прохода людей;
заходить без разрешения за ограждения технологического оборудования;
снимать ограждения опасных зон работающего оборудования;
мыть руки в эмульсии, масле, керосине и вытирать их обтирочными концами,
загрязненными стружкой.
.6. О каждом несчастном случае шлифовщик обязан немедленно поставить в
известность мастера и обратиться в медицинский пункт.
К работе на фрезерном станке, допускаются рабочие, прошедшие обучение и
инструктаж по утвержденной программе, хорошо знающие назначение всех органов
управления и механизмов станка. Перед началом работы необходимо выполнить
следующие мероприятия:
а) подготовить рабочее место с учетом оптимальных решений по его
организации, включая удобное расположение подстепных мест, удалить от станка
все предметы обслуживания и материалы, не относящиеся к рабочему процессу;
б) проверить общее состояние станка и его элементов, крепление и
правильное положение механизмов; о наличии повреждений сообщить мастеру и
дежурному ремонтнику;
в) проверить состояние режущего инструмента и его крепление на шпинделе;
работать неправильно выставленным, затупившимся инструментом, имеющим
выкрошины, запрещается; гайка крепления инструмента должна иметь гладкую
цилиндрическую поверхность с лысками под ключ; категорически запрещается
применять однорезцовые ножевые головки и зажимные шайбы с фланцами;
г) убедиться в свободном вращении (от руки) инструмента при крайних
положениях направляющих линеек во избежание касания ножей с конструктивными
элементами станка;
д) проверить состояние и работу ограждений, надежность крепления кожухов;
работа с поврежденными или снятыми ограждениями, «закороченными» блокировками
запрещается;
е) проверить наличие смазки и состояние смазочных устройств. Проверить
работоспособность стайка на холостом ходу, подключив станок к электросети: а)
проверить работоспособность механизмов резаная и подачи; при наличии
неисправностей в работе станка его следует остановить и вызвать мастера или
дежурного ремонтника; б) проверить уровень и характер шума, издаваемого
станком; убедиться в отсутствии стука, чрезмерных вибраций; в) убедиться в
надежном срабатывании блокировок и механизма торможения с контролем времени
торможения; г) проверить и при необходимости; отрегулировать освещение рабочего
места.
7.
Электрофизические методы обработки поверхностей
строгальный
фрезерный станок деталь
Электроэрозионная
обработка основана на вырывании частиц материала с поверхности импульсом
электрического разряда. Если задано напряжение (расстояние) между электродами,
погруженными в жидкий диэлектрик, то при их сближении (увеличении напряжения)
происходит пробой диэлектрика - возникает электрический разряд, в канале
которого образуется плазма с высокой температурой.
Т. к.
длительность используемых в данном методе обработки электрических импульсов не
превышает 10-2 сек, выделяющееся тепло не успевает распространиться в глубь
материала и даже незначительной энергии оказывается достаточно, чтобы разогреть,
расплавить и испарить небольшое количество вещества. Кроме того, давление,
развиваемое частицами плазмы при ударе об электрод, способствует выбросу
(эрозии) не только расплавленного, но и просто разогретого вещества. Поскольку
электрический пробой, как правило, происходит по кратчайшему пути, то прежде
всего разрушаются наиболее близко расположенные участки электродов. Т. о., при
приближении одного электрода заданной формы (инструмента) к другому (заготовке)
поверхность последнего примет форму поверхности первого (рис. 2).
Производительность процесса, качество получаемой поверхности в основном
определяются параметрами электрических импульсов (их длительностью, частотой
следования, энергией в импульсе). Электроэрозионный метод обработки объединил
электроискровой и электроимпульсный методы.
Электроискровая
обработка была предложена советскими учёными H.И. и Б.Р. Лазаренко в 1943. Она
основана на использовании искрового разряда (См. Искровой разряд). При этом в
канале разряда температура достигает 10000 °С, развиваются значительные
гидродинамические силы, но сами импульсы относительно короткие и,
следовательно, содержат мало энергии, поэтому воздействие каждого импульса на
поверхность материала невелико. Метод позволяет получить хорошую поверхность,
но не обладает достаточной производительностью. Кроме того, при этом методе
износ инструмента относительно велик (достигает 100% от объёма снятого
материала). Метод используется в основном при прецизионной обработке небольших
деталей, мелких отверстий, вырезке контуров. твердосплавных штампов проволочным
электродом (см. ниже).
Электроимпульсная
обработка основана на использовании импульсов дугового разряда (См. Дуговой
разряд). Предложена советским специалистом М. М. Писаревским в 1948. Этот метод
стал внедряться в промышленность в начале 1950-х гг. В отличие от искрового,
дуговой разряд имеет температуру плазмы ниже (4000-5000°С), что позволяет
увеличивать длительность импульсов, уменьшать промежутки между ними и т. о.
вводить в зону обработки значительные мощности (несколько десятков кВт), т. е.
увеличивать производительность обработки. Характерное для дугового разряда
преимущественно разрушение катода приводит к тому, что износ инструмента (в
этом случае он подключается к аноду) ниже, чем при электроискровой обработке,
составляя 0,05-0,3% от объёма снятого материала (иногда инструмент вообще не
изнашивается). Более экономичный электроимпульсный метод используется в
основном для черновой обработки и для трёхкоординатной обработки фасонных
поверхностей. Оба метода (электроискровой и электроимпульсный) дополняют друг
друга.
Электроэрозионные
методы особенно эффективны при обработке твёрдых материалов и сложных фасонных
изделий. При обработке твёрдых материалов механическими способами большое
значение приобретает износ инструмента. Преимущество электроэрозионных методов
(как и вообще всех Э. и э. м. о.) состоит в том, что для изготовления
инструмента используются более дешёвые, легко обрабатываемые материалы. Часто
при этом износ инструментов незначителен. Например, при изготовлении некоторых
типов штампов механическими способами более 50% технологической стоимости
обработки составляет стоимость используемого инструмента. При обработке этих же
штампов электроэрозионными методами стоимость инструмента не превышает 3,5%. Условно
технологические. приёмы электроэрозионной обработки можно разделить на
прошивание и копирование. Прошиванием удаётся получать отверстия диаметром
менее 0,3 мм, что невозможно сделать механическими методами. В этом случае
инструментом служит тонкая проволочка. Этот приём на 20-70% сократил затраты на
изготовление отверстий в фильерах, в том числе алмазных. Более того,
электроэрозионные методы позволяют изготовлять спиральные отверстия. При
копировании получила распространение обработка ленточным электродом (рис. 3).
Лента, перематываясь с катушки на катушку, огибает копир, повторяющий форму
зуба. На грубых режимах лента «прорезает» заготовку на требуемую глубину, после
чего вращением заготовки щель расширяется на нужную ширину. Более
распространена обработка проволочным электродом (лента заменяется проволокой).
Этим способом, например, можно получать из единого куска материала одновременно
пуансон и матрицу штампа, причём их соответствие практически идеально.
Возможности электроэрозионной обработки при изготовлении деталей сложной формы
видны из рис. 4а, б. Другие её разновидности: размерная обработка, упрочнение
инструмента, получение порошков для порошковой металлургии и др. См. также
Вихрекопировальная обработка.
Первый в мире
советский электроэрозионный (электроискровой) станок был предназначен для
удаления застрявшего в детали сломанного инструмента (1943). С тех пор в СССР и
за рубежом выпущено большое число разнообразных по назначению,
производительности и конструкции электроэрозионных станков. По назначению (как
и металлорежущие станки (См. Металлорежущий станок)) различают станки
универсальные, специализированные (см., напр., рис. 5) и специальные, по
требуемой точности обработки - общего назначения, повышенной точности,
прецизионные. Общими для всех электроэрозионных станков узлами являются
устройство для крепления и перемещения инструмента (заготовки), гидросистема,
устройство для автоматического регулирования межэлектродного промежутка (между
заготовкой и инструментом). Генераторы соответствующих импульсов (искровых или
дуговых) изготовляются, как правило, отдельно и могут работать с различными
станками. Основные отличия устройств для перемещения инструмента (заготовки) в
электроэрозионных станках от таковых в металлорежущих станках - отсутствие значительных
силовых нагрузок и наличие электрической изоляции между электродами.
Гидросистема состоит из ванны с рабочей жидкостью (технического масла, керосин
и т. п.), гидронасоса для прокачивания жидкости через межэлектродный промежуток
и фильтров для очистки жидкости, поступающей в насос, от продуктов эрозии.
Электроимпульсный
станок отличается от электроискрового практически только генератором импульсов.
Советская промышленность выпускает генераторы различного назначения. Развитие
техники полупроводниковых приборов позволило создать генераторы, обеспечивающие
изменение параметров импульсов в широких пределах. Например, у советского
генератора ШГИ-125-100 диапазон частот следования импульсов 0,1-100 кГц,
длительность импульсов 3-9000 мксек, максимальная мощность 7,5 кВт, номинальная
сила тока 125 а. Диапазон рабочих напряжении, вырабатываемых для
электроискровой обработки, - 60-200 в, а для электроимпульсной - 20-60 в.
Современные электроэрозионные станки - высокоавтоматизированные установки,
зачастую работающие в полуавтоматическом режиме.
8.
Процессы разрушения материала заготовки
Слой
материала заготовки, деформированный и отделенный в результате обработки
резанием, называется стружкой. Обработка резанием заключается в срезании с
обрабатываемой заготовки
<#"604244.files/image021.gif"> под резец M6-7H.Точить фаску в отв. под резьбу.
055 Токарная
Нарезать резьбу M6-7H. Снять заусеницы.
Фрезерная
Фрезеровать паз, выдерживая размеры : 31H14(+0.62); 16h14(-0.43)
Слесарная
Опилить заусенцы, притупить острые кромки. Калибровать резьбу.
Промывка
Контроль линейных размеров
Проверить детали:
D118h14(-0.87):D110H14(+0.87);2+-0.2;18h14(-0.43);D40h14(-0.62);
6h14(-0.3);R3+-0.2*45 град ; M6-7H; 31H14(+0.62);16h14(-0.43)
Окрашивание
10.
Описание универсального токарно-винторезного станка мод. 1К62
Техническая характеристика
Наибольший диаметр обрабатываемой детали, мм
над низшей частью суппорта 200
Наибольший диаметр обрабатываемого прутка, мм 45
Расстояние между центрами, мм 710,
1000
Число частот вращения шпинделя, шт. 23
Пределы частот вращения шпинделя, об/мин 12,5-2000
Число подач суппорта 56
Пределы величин подач суппорта, мм/об
продольных 0,070-4,16
поперечных 0,035-2,08
Шаги нарезаемых резьб:
метрической, мм 1...192
дюймовой (число ниток на 1'') 24…2
модульной, модуль 6 мм 0,5…48
питчевой в питчах 96…1
Скорость быстрого продольного перемещения
суппорта, м/мин 3,4
Мощность главного электродвигателя, кВт 7,5 или 10
Габариты
Масса.
Станок 1К62 предназначен для выполнения разнообразных токарнях работ: для
нарезания метрической, дюймовой, модульной, питчевой, правой и левой, с
нормальным и увеличенным шагом, одно- и многозаходной резьб, для нарезания
торцовой резьбы; для точения торцевых, цилиндрических, конических фасонных
поверхностей, растачивания внутренних цилиндрических и конических поверхностей,
сверления, развертывания, а также для копировальных работ (с помощью
прилагаемого к станку гидрокопировального суппорта).
При обработке отверстий задняя бабка при помощи специального замка может
соединяться с суппортом и получать механическую подачу. Имеется отдельный
привод для механизированного быстрого перемещения суппорта. Предусмотрена
возможность оснащения станка гидрофицированными узлами: гидрокопировальным
суппортом, гидравлическим зажимным патроном и гидрофицированной задней бабкой.
Основные узлы станка и орган управления (рис. 1):
А - гитара сменных колес;
Б - передняя бабка с коробкой скоростей;
В - суппорт;
Г - задняя бабка;
Д - шкаф с электрооборудованием;
Ё - привод быстрых перемещений суппорта;
Ж - фартук;
З - станина;
И - коробка подач.
, 4 - рукоятки управления коробкой скоростей;
- рукоятка переключения звена увеличения шага;
- грибок управления реверсом для нарезания правых и левых резьб;
- маховичок ручного продольного перемещения суппорта;
- ползунок с пуговкой для включения и выключения реечной шестерни
фартука;
- рукоятка ручного перемещения суппорта;
- кнопочная станция;
- рукоятка ручного перемещения верхней части суппорта;
- кнопка включения быстрых перемещений суппорта;
- рукоятка включения, выключения и реверсирования продольной подачи;
, 14 - рукоятка включения, выключения и реверсирования вращения шпинделя;
- рукоятка включения маточной гайки фартука;
, 16 - рукоятки управления короткой подач.
При обработке деталей осуществляется 2 движения формообразования:
- главное движение резания (вращение заготовки вместе со
шпинделем);
- движение подачи (продольное движение каретки или
поперечное движение салазок суппорта).
Рисунок 1.
Теоретически число ступеней частот вращения шпинделя может быть равно 30,
но практически, из-за совпадения ряда передаточных отношений, имеется 23
расточных ступени частот вращения.
От электродвигателя мощностью N = 10 кВт с частотой вращения n = 1450
об/мин через клиноременную передачу Ж 143/ Ж 264 передается вращение на вал 1
коробки скоростей. На валу I свободно сидят двойной блок зубчатых колес 56-61 и
зубчатое колесо 50, которые могут поочередно соединяться с валом I при помощи
пластинчатой фрикционной муфты М1. При прямом ходе вал II получает две
различные скорости вращения через двойной подвижный блок Б1. При обратном, ходе
валу II сообщается вращение с одной скоростью колесами 50-24 и 36-38. Наличие
тройного блока шестерен Б2 позволяем получить при прямом ходе на валу Ш шесть
различных частот вращения. Последние могут быть переданы шпинделю, либо
непосредственно через шестерни 65-43, когда двойной блок шестерен Б5 включен
влево, либо через перебор, когда блок Б5 включен вправо. В этом случае вращение
шпинделю VI от вала III передается двумя двойными блоками Б3 и Б4, позволяющими
получить три различных передаточных отношения: 1; 1/4; 1/16 (четвертое
передаточное отношение совпадает со вторым), и зубчатой передачей 26-52. Через
перебор шпиндель получает 18 различных частот вращения, а всего он имеет 23
различные частоты вращения от 12,5 до 2000 об/мин.
Для передачи шпинделю обратного (левого) вращения с валом I при помощи
муфты М1 соединяется зубчатое колесо 50 и движение на вал II передается через
зубчатые колеса 50-24, 36-38. При этом вал II получает одну частоту вращения. С
вала II движение к шпинделю передается по тем же передачам, что и при прямом
вращении, в этом случае шпиндель получает 12 различных частот вращения.
Рисунок 2
Рисунок 3
ОСНОВНЫЕ У3ЛЫ
Станина является основанием станка, на котором монтируют его основные
узлы, Передняя направляющая станины призматическая, задняя - плоская. По
направляющим перемещается каретка суппорта и задняя бабка. Станина
устанавливается на две пустотелые тумбы, к которым прикреплено корыто для сбора
стружки и охлаждающей жидкости. Левой тумбе расположен главный
электродвигатель, правой - резервуар и насос для подачи СОЖ.
Передняя бабка представляет собой литой чугунный корпус, внутри которого
размещается коробка скоростей шпинделя. Передний конец шпинделя имеет
внутреннюю расточку с конусом Морзе №6, в которую вставляются передний центр и
различные приспособления для закрепления заготовок. На переднем конце шпинделя
имеется посадочный конус, по которому базируются патроны для закрепления
заготовок.
Коробка подач закреплена на станине ниже передней бабки. Внутри коробки
находится механизм передачи вращения от шпинделя к ходовому валу и ходовому
винту, а также механизм для регулирования частот вращения ходового винта и
ходового вала.
В коробке подач находится обгонная муфта, позволяющая включать ускоренный
ход суппорта от отдельного электродвигателя без выключения цепи нормальных
подач.
Фартук. Впереди каретки к суппорту прикреплен фартук - коробка, внутри
которой находится механизм для преобразования вращательного движения ходового
валика и ходового винта в поступательное движение суппорта.
Ходовой винт станка имеет трапецеидальную резьбу с шагом 12 мм. Винт сопрягается
с разъемной гайкой, которая состоит из двух половин, расположенных в фартуке
станка.
Задняя бабка расположена на правой части станины и может перемещаться по
направляющим. Корпус бабки имеет возможность поперечного смещения винтом
относительно опорной плиты, что необходимо для обработки длинных конусов.
Задняя бабка токарно-винторезного станка предназначена главным образом для
поддержания длинных заготовок во время обработки; она используется также для
закрепления инструментов, предназначенных для обработки отверстий и для
нарезания резьб. Главными частями задней бабки (рис. 4) являются: пиноль 2,
корпус 1, основная плита 5, и прихват 9. Пиноль 2 с помощью винта 18, гайки 19
и маховичка 20 можно перемещать в корпусе и фиксировать сухарем, затягивая рукоятку
3. Корпус 1 установочным винтом 16 можно смещать относительно плиты 5 вдоль ее
направляющего выступа. На станине задняя бабка закрепляется прихватом 9, на
который нажимает планка 8, перемещаемая рукояткой 4 эксцентриком 17, и тягой 7.
Рисунок 4.
Рисунок 5.
Рисунок 6.
Суппорт является конечным звеном цепи подач станка. Он служит для
закрепления резца и сообщения ему движения подачи относительно вращающейся
заготовки.
Шпиндель (рис. 6) станка размещается в передней бабке стайка на двух
опорах. Передняя конусная шейка шпинделя вращается в специальном регулируемом,
двухрядном, рожковом подшипнике 2, а задняя шейка в двух радиально упорных
шариковых подшипниках 3. 0севая нагрузка на шпиндель воспринимается
радиальноупорными подшипниками задней опоры. Регулировка радиального зазора в
передней опоре производится с помощью гайки 4, которая через втулку 6 сдвигает
внутреннее кольцо радиального подшипника 2 на конусную шейку шпинделя, что
приводит и увеличению диаметра внутреннего кольца за счет упругой деформации и
ликвидация радиального зазора между внутренним кольцом, роликами и наружным
кольцом подшипника 2. После регулировки гайка 4 стопориться винтов 6 и медной
прокладкой 7.
Регулировка осевого зазора в задней опоре шпинделя производится гайкой 8,
которая сжимает внутренние кольца обоих радиальноупорных подшипников и тем
самым уменьшает возможность осевого биения шпинделя.
Рисунок 7. Кинематическая схема
Рисунок 8. График частот вращения шпинделя станка 1К62
Рисунок 9. Схема тормозной установки
Наименование передач К.П.Д.
Ременная передача:
без ременного ролика 0,98
с ременным роликом 0,97
Клиноременная передача 0,96
Передача зубчатым ремнем 0,97
Цилиндрическая зубчатая передача с жидкой смазкой:
со шлифованными зубьями 6 и 7 степени точности 0,98
степени точности 0,97
Коническая зубчатая передача с жидкой смазкой
с нарезанными зубьями 7 степени точности 0,96
Червячная передача с опорами:
заходная 0,72
заходная 0,83
заходная 0,85
Цепная передача с хорошей смазкой 0,97
Подшипники скольжения при нормальной смазке 0,98
Подшипники качения (один вал) 0,995
Список
использованных источников
1. Основы
технологии машиностроения. Под ред. В.С. Корсакова. М.: Машиностроение, - 416
с.
. Справочник
технолога-машиностроителя. В 2-х т. / Под ред. А.Г. Косиловой и Р.К.
Мещерякова. - 4-е изд., перераб. и доп. - М.: Машиностроение, 1985. - Т.1. -656
с. - Т.2. - 498 с.
. Ансеров
Ю.М. и др. Машины и оборудование машиностроительных предприятий. - Л.:
Политехника, 1991. - З65 с.
. Данилевский
В.В., Гельфгат Ю.И. Лабораторные работы и практические занятия по технологии
машиностроения. - М.: Высшая школа,1988. - 222 с.
.
http://zxshader.narod2.ru/D13/V116/.
.
http://www.metizm.ru/rejimi.html
.
http://www.lifttruck.ru/useful/safety/58/