Анализ детали на предмет возможности обработки на автоматическом комплексе
Введение
Автоматизация производственных процессов является важным средством
повышения производительности труда.
Автоматизация станков позволяет резко повысить их производительность за
счет сокращения времени холостых ходов. Лишь по загрузке и выгрузке деталей оно
в ряде случаев составляет 40% от общего времени, требуемого на обработку
деталей.
Автоматизация загрузки и разгрузки оборудования, находящегося в
эксплуатации, позволяет изменить процесс труда, повысить безопасность и
коэффициент использования оборудования, а в некоторых случаях интенсифицировать
режимы его работы; полуавтоматические станки и станки с ручным управлением
можно превратить в автоматы, снизив там самым штучное время обработки и широко
использовать многостаночное обслуживание.
Автоматизацию холостых ходов, связанных с загрузкой и выгрузкой
обрабатываемых деталей, производят по средствам механизма питания. При
применении автоматических механизмов питания подаются поштучные заготовки,
предварительно обработанные или необработанные.
Загрузочно-разгрузочные устройства для штучных заготовок выполняют в виде
самостоятельных механизмов станка, механизмов, связанных со станком. Устройство
имеет емкость, в которой сосредоточен запас заготовок, механизмы ориентации,
накопитель, отсекатель, питатель, заталкиватель, ворошитель, выталкиватель,
разгружатель, приемный лоток и привод.
Целесообразность применения автоматических механизмов питания
определяется, прежде всего, экономической эффективностью, а также и другими
факторами: облегчением труда, безопасностью работы, соблюдением гигиенических
требований производства.
Ручная загрузка не обеспечивает необходимое для работы
высокопроизводительного полуавтомата количества заготовок, что снижает его
производительность.
Загрузочные устройства для штучных заготовок позволяют создавать большой
запас заготовок на станке и обеспечивают большую продолжительность непрерывной
работы станка, повышать его производительность, так как темп работы станка не
ограничен темпом ручной загрузки, значительно сокращая время необходимое на
обслуживание и возможности применения автоматических линий для мелких
заготовок.
Задание
ВАРИАНТ №21
Цель работы: разработать автоматическое транспортно-загрузочное
устройство для фрезерной обработки.
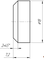
Рисунок 1 - Чертеж детали «Шайба»
Исходные данные:
. Наименование заготовки - штучные заготовки.
. Производительность - 100 шт./мин.
. Размеры заготовки - Ø18х8
. Коэффициент загрузки комплекса - не менее 0,7.
. Материал - Сталь 45 ГОСТ 1050-88.
1. Анализ
конструкции заготовки на предмет автоматической транспортировки и загрузки
Данная деталь «Шайба» представляет собой тело вращения. По классификации
заготовок - относится к четвертой группе [1, с.36]. К этой группе относятся
штучные заготовки тел вращения с несимметричными элементами. Малая
продолжительность их обработки, форма и прочность позволяют осуществлять
автоматическое ориентирование.
Габаритные размеры детали Ø18х8 мм. Масса 0,01 кг. Материал
Сталь 45 ГОСТ 1050-88.
Конструкция детали имеет простую форму без сложных фасонных поверхностей
и обеспечивает свободный доступ инструмента к обрабатываемым поверхностям.
Простота конструкции и небольшие габаритные размеры детали позволяют
производить обработку на станках автоматах. В целом конструкция детали обеспечивает
применение типовых технологических процессов и ее можно считать технологичной.
Для изготовления детали лучше использовать штучные заготовки, это
позволит применять автоматизированные загрузочные устройства бункерного типа, и
конвеерные транспортные линии, которые обеспечивают высокую производительность
при транспортировке и подаче заготовок на станки. Так как плановая
производительность обработки детали Q=100 шт./мин, невозможна подача заготовки на станок посредством РТК.
Таблица 1.1 - Состав стали 45
|
C,%
|
Cr,%
|
Mn,%
|
Si,%
|
Ni,%
|
P,%
|
S,%
|
|
0,42…0,5
|
0…0,25
|
0,5…0,8
|
0,17…0,37
|
0,4…0,6
|
0…0,035
|
0…0,035
|
Таблица 1.2 - Физико-механические свойства стали 45
|
Материал
|
σв, МПа
|
σт, МПа
|
δc, %
|
ψ, %
|
НВ
|
|
Сталь 45
|
780
|
640
|
40
|
60
|
180
|
2. Маршрут
обработки детали «Шайба»
А Автоматная-токарная
Б Токарно-револьверный автомат модели 11Ф25
О Точить Ø18 мм окончательно, точить фаску 2х45°, отрезать
деталь в размер 7,5 мм.
Т Патрон цанговый Ø20 мм. Резец токарный проходной упорный Sandvik
Coromant: державка DCLNR 2525 P19, пластина CNMG 190616, сплав 4225. Резец
отрезной Sandvik Coromant: державка 570-25L123 D12B, пластина N123G1-400-RM,
сплав 4225. Штангенциркуль ШЦ-1-125-01 ГОСТ 166-89.
А Вертикально-фрезерная
Б Вертикально-фрезерный станок 6Р11
О Фрезеровать торец в размер 7,2 мм окончательно.
Т Приспособление специальное. Фреза концевая Ø25 Sandvik Coromant: корпус
R390-25A25-11M, пластины R390-11T312M-MTW. Штангенциркуль ШЦ-1-125-01 ГОСТ
166-89.
3. Расчет
режимов резания и нормирование
Вертикально-фрезерная 6Р11
. Время основное: Фрезеровать торец t=0,3мм; B=18мм:
t=0,3мм;
Sz=0.09; z=6; V=80
м/мин;
n =
=
= 1028 об/мин;кор = 1000 об/мин.
Sмин
= Sz * z * nкор = 540 мм/мин;
Sмин
ст=500мм/мин.
То. =
=
= 0,044 мин.
. Время вспомогательное:
Тв = Туст. + Тз. + Тупр. + Тизм.,
где Туст = 0,02 мин. - время на установку и снятие детали;
Тз = 0,01 мин. - время на закрепление и раскрепление детали;
Тизм = 0,05 мин. - время на измерение и контроль;
Тупр = 0,01 мин - время на управление станком.
Тв = 0,02 + 0,01 +0,05+ 0,01 = 0,09 мин.
. Время штучное:
Тш. = То. + Тв.
Тш. = 0,044 + 0,09 = 0,134 мин.
4. Выбор
механизма захвата и ориентации
Механизмы захвата и ориентации состоят из бункера и механизма ориентации.
Бункер обеспечивает: а) запас заготовок в количестве, необходимом для
непрерывной работы механизма ориентации в течение заданного промежутка времени
без пополнения; б) подготовку заготовок к захвату, а значит, и ориентации. Форма
и размеры бункера влияют на производительность, затраты времени на
обслуживание, число обслуживаемых станков и состояние поверхности подаваемых
заготовок.
Конструкцию ориентирующего механизма выбирают исходя из того, к какой
группе по конструкции относится заготовка. Заданная в курсовой работе деталь
относится к четвертой группе [1, с.36].
4.1
Дисковый карманчиковый механизм ориентации
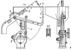
В механизме ориентации, изображенном на рисунке 4.1 [1, с.43], заготовки
ориентируются в один прием. Неподвижный диск 1 механизма смонтирован на
корпусе, а подвижный (захватный) диск 2 на валу 3 червячного редуктора. По
окружности диска 2 имеются карманы Б, а на его поверхности расположены лопасти
5, способствующие лучшему заполнению пазов заготовками; бункер 4 из листовой
стали укреплен на неподвижном диске 1; механизм ориентации устанавливают под
углом 45°. Заготовки загружаются в бункер на диск 2. При вращении диска
заготовки в нижней части бункера, западают в карманы Б. Попавшие в карманы
заготовки, выдаются в накопитель через приемное окно в неподвижном диске.
Рисунок 4.1 - Дисковый карманчиковый механизм ориентации.
4.2
Вибробункер
Вибробункер с вертикальным электромагнитным вибратором показан на рисунке
4.2 [2, с.80].
Рисунок 4.2 - Вибробункер с вертикальным электромагнитным вибратором.
Чаша 1 вибробункера представляет собой цилиндрический резервуар, на
внутренней поверхности которого имеется спиральный лоток, а на наружной
поверхности смонтирован выходной лоток. Дно 2 чаши укреплено на трех наклонных
цилиндрических стержнях (пружинах) 3 или на трех рессорах. Стержни расположены
таким образом, что проекция их на горизонтальную плоскость перпендикулярна
радиусу в точках крепления к дну 2 чаши. В центре дна укреплен якорь 4
электромагнита 5, установленного на массивном основании 6 (в 60 раз больше, чем
масса чаши с заготовками). Зазор между якорем и электромагнитом регулируют
подъемом или опусканием последнего с помощью винтов 7. Величина зазора влияет
на скорость перемещения заготовок по лотку. Колебания от вибропривода к
обслуживаемому технологическому оборудованию передаваться не должны.
Амортизаторы вибробункера обеспечивают более низкую частоту собственных
колебаний по сравнению с частотой возмущающих сил. В качестве амортизаторов обычно
используют резиновые столбики (ножки) 8 небольшой жесткости или амортизаторы,
состоящие из нескольких винтовых пружин. Привод вибробункера закрыт кожухом 9.
4.3
Секторное устройство
Секторное устройство, изображенное на рисунке 4.3 [2, с.80], содержит
следующие элементы: привод 1, сбрасыватель 5, бункер 7 сектор 6, ось сектора 9
и др. фрезерная обработка автоматический заготовка
Профиль сектора зависит от формы захватываемых заготовок. Если заготовки
имеют форму диска или шайбы, то в секторе делается канавка, ширина которой
несколько больше ширины заготовки, а глубина равна 0,5 диаметра подаваемой
заготовки.
В данном секторном устройстве применен бункер, который способствует
снижению уровня заготовок в зоне выборки. Заготовки загружают в бункер несимметричной
формы, что способствует снижению уровня в зоне выборки (за счет регулирования
потока заготовок заслонкой 8). Это также уменьшает нагрузку на сектор и
обеспечивает более спокойную работу привода.
При выборке заготовок сектор совершает колебательные движения,
передаваемые от кулисного привода (поз. 1, 2, 3). Кулисный привод позволяет
осуществлять верхний ход сектора медленно, а ход вниз быстрее. Это способствует
лучшему западанию заготовок в щель и уменьшает выброс заготовок из бункера.
Из сектора ориентированные заготовки под действием силы тяжести
перемещаются по лотку 4 к питателю. Вследствие интенсивного износа поверхностей
лотка и сектора от скольжения заготовок, верхние части щек лотка и сектора
делают съемными. Для предотвращения защемления заготовок между передней стенкой
бункера и сектором предусматривают сбрасыватели 5.
Рисунок 4.3 - Секторное устройство
В качестве механизма загрузки и ориентации заготовок принимаем щелевой
дисковый механизм ориентации, так как он обеспечивает ориентацию заготовки,
имеет не сложную конструкцию и относительно не дорог в изготовлении.
5. Выбор
загрузочного устройства
Для загрузки фрезерного станка воспользуемся загрузочным устройством,
схемы которого показаны на рисунке 5.3 [1, с.155]. Загрузочное устройство,
схема которого показана на рисунке 5.1 а), характеризуется прямолинейным
прерывистым движением заготовки, в процессе которого и происходит ее
фрезерование. Заготовки из магазина механизмом поштучной выдачи поступают под
толкатель, который, совершая возвратно-поступательное движение, проталкивает
заготовку по направляющим в зону резания. С каждым двойным ходом толкателя
подается очередная заготовка и выталкивается обработанная деталь; ход толкателя
соответствует диаметру заготовки.
Рисунок 5.1 - Схемы захвата питателей без зажима подаваемых заготовок
6. Расчет
конструктивных параметров бункерно-загрузочного устройства
Расчет конструктивных параметров бункерного загрузочного устройства
выполним по методике приведенной в [1, с. 42].
Определим расстояние между осями гнезд бункера:
,
где
d = 18 мм - максимальный диаметр детали;
Δd - величина
зазора между деталью и стенками гнезда, принимаем равной 2 мм;
δ - толщина перемычки, принимаем равной 4 мм.
Принимаем
m=35 мм конструктивно, так как стенки расположены под
углом 45°.
Определим
ширину гнезда:
,
где
a = 8 мм - длина детали;
с
- величина зазора между торцами детали и стенками гнезда, принимаем равным 1
мм.
Диаметр
подвижного диска бункера определяем конструктивно и принимаем равным 200 мм.
Определим
количество гнезд для ориентации деталей в подвижном диске бункера:
Принимаем
количество гнезд в подвижном диске 18 штук. Скорректируем диаметр подвижного
диска.
Угол
наклона бункера к горизонтальной плоскости принимаем равным 45°. Коэффициент
вероятности захвата принимаем равным 0,65.
7.
Описание принципа работы комплекса
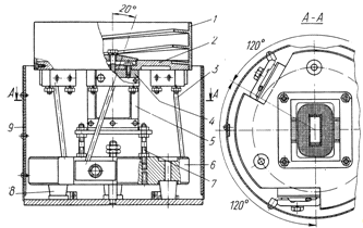
Рисунок 7.1 - Схема технологического комплекса
В начале смены заготовки, в необходимом объеме, загружаются в предбункер
3, который установлен на стойке 1. При открытии заслонки 2 заготовки порциями
попадают в основной бункер загрузочно-ориентирующего карманчикового устройства.
В нижней позиции кармана через специальное окно заготовки попадают в
направляющие 6 подающего устройства, которые установлены на стойках 7, 8.
Посредством толкателя 5 заготовки проходят по направляющим, происходит
фрезерование. Продвигаясь далее, они падают в лоток 9 с готовыми деталями.
8.
Анализ параметров автоматического комплекса
8.1
Построение циклограммы работы комплекса
Автоматическое управление технологическим объектом производится по
предварительно разработанной циклограмме его работы. Циклограмма показывает,
как согласованы во времени элементы обработки детали. Циклограмма
автоматического комплекса представлена в таблице 9.1.
Таблица 8.1 - Циклограмма работы комплекса
8.2
Анализ циклограммы автоматического станочного комплекса
Исходя из приведенной выше циклограммы работы технологического комплекса
определяем время цикла Тц = 10 с. = 0,17 мин.
Определим фактическую производительность
Определим
потребное количество комплексов:

Принимаем
17 комплексов.
Определим
коэффициент загрузки оборудования:
Определим
необходимый объем предбункера:
где
VЗ = 1,7 см3
- объем заготовки, поступающей в предбункер;
Т
= 4 ч - период времени непрерывной работы загрузочного устройства;
q - коэффициент
объемного заполнения, принимаем 0,5.
Определим
необходимый объем предбункера для каждого автоматического комплекса
8.3
Блок-схема системы управления автоматическим комплексом
Блок-схема управляющей системы комплекса изображена на рисунке 9.1.
Рисунок 8.1 - Блок-схема системы управления
Выводы
В ходе выполнения курсовой работы был выполнен анализ детали на предмет
возможности обработки на автоматическом комплексе. Составлен технологический
процесс обработки. Для условий крупносерийного производства было подобрано
соответствующее оборудование и инструмент. Проведено технологическое
нормирование режимов и времени обработки.
Для детали данной конфигурации были рассмотрены варианты
загрузочно-ориентирующих устройств и выбрано наиболее оптимальное устройство.
Был спроектирован автоматический обрабатывающий комплекс, состоящий из
предбункера, загрузочно-ориентирующего устройства карманчикового типа,
подающего устройства, фрезерного станка и лотка для готовых деталей.
По работе комплекса была составлена циклограмма и рассчитана фактическая
производительность и коэффициент загрузки. Так же выполнена блок-схема системы
управления комплексом.
Перечень
ссылок
1. Малов А. Н. Загрузочные устройства для металлорежущих станков.
Изд. 2-е перераб. И доп. -: Машиностроение, 1972. 400 с.
2. Камышный Н. И. Автоматизация загрузки станков. -
М.: Машиностроение, 1977, 288 с.
. Методические указания к курсовой работе по дисциплине
«Автоматизация производственных процессов машиностроении» (7.090202)
Сост.: В. Т. Саункин, А. Г. Косенко - Краматорск: ДГМА, 1998, 36
с.
4. Справочник технолога-машиностроителя. Под ред. А.
Г. Косиловой, Ф. 1С Мещерякова М. :Машиностроение, 1985.
5. Общемашиностроительные нормативы режимов резания
для технологического нормирования работ на металлорежущих станках.