Производство на вагоноремонтном заводе

  • Вид работы:
    Дипломная (ВКР)
  • Предмет:
    Транспорт, грузоперевозки
  • Язык:
    Русский
    ,
    Формат файла:
    MS Word
    871,73 Кб
  • Опубликовано:
    2013-04-24
Вы можете узнать стоимость помощи в написании студенческой работы.
Помощь в написании работы, которую точно примут!

Производство на вагоноремонтном заводе

1. Назначение и структура управления вагоноремонтного завода

Аппарат управления - это система взаимосвязанных и, наделённых соответствующими взаимодействующих звеньев и отдельных работников полномочиями. Общие функции управления присущи любой управленческой системе. Можно выделить 5 функций управления: планирование, организация, мотивация, контроль, координация. Все эти функции взаимосвязаны.

На вагоноремонтном заводе - функциональная структура управления. Сущность этой структуры заключается в том, что руководитель предприятия передаёт часть своих полномочий функциональным заместителям или руководителям функциональных отделов.

Возглавляет администрацию предприятия генеральный директор. Генеральный директор действует от имени предприятия, представляет его во всех хозяйственных государственных учреждениях; в соответствии с законодательством и уставом предприятия издаёт приказы, осуществляет наймы и увольнение работников, накладывает на них взыскания или применяет меры поощрения. Генеральный директор распоряжается имуществом предприятия, заключает договоры со сторонними организациями, выдаёт от своего имени доверенности лицам, открывающим в банках расчётные счета, и распоряжается денежными средствами на счетах. Часть своих полномочий директор передаёт своим заместителям.

Заместителю генерального директора по производству подчиняются цеха основного производства и планово-диспетчерский отдел. Эта подчинённость носит не всеобъемлющиё характер, а функциональный избирательный характер и касается только изготовления продукции. Другая сторона работы указанных объектов - экономическая, кадровая, инженерно-техническая находится в ведении других заместителей.

Планово-диспетчерский отдел осуществляет оперативное регулирование хода производства, организовывает устранение сбоев в работе предприятия, добивается равномерной загрузки производственных мощностей, докладывает руководству предприятия о ходе выполнения заданий цехами и производственными участками.

Заместителю генерального директора по коммерческим вопросам подчинены: плановый отдел, отдел организации нормирования труда и заработной платы, бухгалтерия. Плановый отдел разрабатывает долгосрочные и текущие планы деятельности предприятия, включая производство, кадры, финансы, техническое развитие, капитальное строительство; определяет экономическую эффективность производства и капитальных вложений; организовывает анализ хозяйственной деятельности предприятия и его звеньев.

Главная бухгалтерия управляет финансовыми операциями предприятия, разрабатывает планы его доходов и расходов, контролирует поступление денежных средств на расчётные счета и порядок их расходования, обеспечивает получение кредитов и выплату налогов в бюджет, готовит отчёты о деятельности предприятия и предоставляет их руководству, а также государственным и местным органам. Производственная бухгалтерия учитывает поступление и расходование материальных и финансовых ресурсов. Расчётная бухгалтерия осуществляет расчёт и начисление заработной платы.

Заместителю директора по инженерно-техническим вопросам - главному инженеру подчинены проектно-конструкторский отдел, технологический отдел, энергомеханический отдел, лаборатории. Технологический отдел разрабатывает технологию производства новых изделий и вносит усовершенствования в производство, контролирует соблюдение цехами технологических режимов, принимает меры к повышению качества выполняемых работ и уменьшению затрат на их производство. Проектно-конструкторский отдел разрабатывает новые конструкции и рецептуры новых материалов, ведёт учёт недостатков качества выпускаемой продукции и разрабатывает меры по их устранению, принимает меры к снижению себестоимости выпускаемой продукции.

Заместителю директора по реализации, маркетингу и сбыту подчинены отделы маркетинга и сбыта, которые заключают договора на поставку продукции и осуществляют её доставку потребителям.

Заместителем генерального директора по кадрам и быту осуществляется управление трудовыми ресурсами и социальным развитием коллектива.

Вагонно-ремонтный завод предназначен для ремонта единиц подвижного состава. На заводе производится капитальный ремонт различных типов вагонов. Заводом основано изготовление новых видов продукции, которые идут на собственные нужды, а так же на продажу другим предприятиям. Для ремонта каждого вида вагонов разрабатывается и изготавливается необходимая оснастка.

Вагонно-ремонтный завод включает в себя основные и вспомогательные цеха. Каждый цех предназначен для выполнения определенных работ по ремонту вагонов.

Цех подготовки вагонов предназначен для проведения правильных, сборочных, сварочных и газорезочных работ по кузову и раме, при выполнении капитального ремонта (КР) и капитального ремонта с продлением срока полезного использования (КРП) четырехосного полувагонов.

В ЦПВ расположены вагономоечный комбинат, главный конвейер №7 (ГК-7), главный конвейер №6 (ГК-6), участок изготовления и ремонта крышек люков, участок по ремонту деталей запорного механизма крышки люка, участок сборки и сварки торцевых стен и верхней обвязки из швеллера, дверное отделение. Вагономоечный комбинат предназначен для проведения работ и по очистке и затем обмывке полувагонов в моечной установке.

После ремонта в ЦПВ полувагоны тепловозом передаются в вагоносборочный цех.

Вагоны, прошедшие ЦПВ, подаются на исходные позиции конвейеров ГК-1, ГК-2, ГК-3 вагоносборочного цеха.

Ремонт вагонов осуществляется поочередно на 6 позициях конвейеров ГК-1, ГК-2. На каждой позиции одновременно ремонтируются два вагона.

Здесь же вагон проходит контроль ОТК, устраняются допущенные дефекты, производится сварка, испытывается тормозное оборудование, оформляется паспорт вагона.

Вагоны подаются из цеха в Смоленский парк. Далее полувагоны маневровым тепловозом ставят на ГК-3 на позицию окраски.

По ГК-3 окрашенные полувагоны подают в цех для сушки и нанесения трафаретов.

АКП предназначен для ремонта и испытания тормозного оборудования при производстве капитального ремонта грузовых вагонов.

Цех ходовых частей состоит из тележечного, колесного, роликового и комплектовочного отделений.

Тележечное отделение предназначается для ремонта тележек вагонов. Одним из условий ритмичной работы ВСЦ является наличие оборотного запаса отремонтированных тележек.

Колесное отделение предназначено для ремонта колесных пар, выкатываемых из-под вагона, а также для формирования колесных пар.

Роликовое отделение предназначено для монтажа и демонтажа буксового узла. На демонтажном участке производится демонтаж буксового узла и промывка его деталей.

Промытые детали поступают в комплектовочное отделение, где они осматриваются, ремонтируются и подаются на монтаж. Промытые подшипники поступают в комплектовочное отделение, где они проходят магнитный контроль, осмотр и ремонт, после этого подаются на монтаж.

Кузнечно-заготовительный цех предназначен для изготовления деталей, необходимых для ремонта вагонов на заводе и включает в себя заготовительное, молотовое, прессовое, электросварочное и механическое отделения.

В заготовительном отделении производится раскрой и резка металла на мерные длины, необходимые для изготовления деталей. К заготовительному отделению примыкает склад металлов.

В молотовом отделении ведутся основные работы по ковке и штамповке деталей. Оно оснащено паровыми и паровоздушными молотами для воздушной ковки.

В прессовом отделении сосредоточено изготовление деталей путем холодной или горячей высадки, штамповки и вырезки.

Электросварочное отделение предназначено для производства сварочных работ.

Механическое отделение предназначено для обработки деталей после их изготовления в кузнечном отделении. Станки в механическом отделении расположены по типам: токарные, строгальные, фрезерные, сверлильные.

Деревообрабатывающий участок предназначен для механической обработки древесины и изготовления из нее деталей необходимой формы и размеров. Основной продукцией цеха являются бруски для платформ цистерн, дверные и оконные блоки на строительство жилья.

Инструментальный участок предназначен для изготовления и ремонта инструмента и приспособлений. В его состав входят: кузнечно-заготовительное отделение, заточное, станочное, отделение для ремонта пневматического инструмента и газорезочной аппаратуры.

Ремонтно-монтажный цех предназначен для осуществления установки нового и ремонта вышедшего из строя оборудования, изготовления нестандартного оборудования.

Энергосиловой цех предназначен для отопления цехов и подачи горячей воды, пара и обеспечения кислородом и сжатым воздухом. Он имеет котельную, электроподстанцию, компрессорную и кислородную станцию. В котельной стоят паровые котлы, вырабатывающие пар для питания газовых сушильных камер, выварочных ванн, моечных машин и др. Компрессорная предназначена для снабжения производственных цехов сжатым воздухом давлением до 6 атм. Цех осуществляет ремонт электрооборудования станков в цехах завода.

Ремонтно-строительный участок выполняет ремонтно-строительные работы: ремонт зданий и сооружений, строительство фундаментов под оборудование, строительство жилья.

Транспортный цех предназначен для осуществления маневровых работ с объектами ремонта и производства погрузо-разгрузочных работ на заводе.

2. Расчет производственной программы и параметров производственного процесса

Основными параметрами производственного процесса вагонов и их узлов и деталей, является ритм, такт выпуска, длительность производственного цикла и фронт ремонта.

В соответствии с принятой программой, ритмом выпуска называется количество вагонов, выпускаемых из ремонта в единицу времени.

Ритм определяется по формуле:

Г=N/Fд; (2.1)

где N - годовая программа ремонта вагонов в депо;

Fд - действительный фонд времени работы оборудования вагоносборочного участка.

Действительный фонд времени работы оборудования определяется по формуле:

Fд=Др*tсм*Т (1 - Коб / 100),; (2.2)

где (1 - Коб / 100) - коэффициент, учитывающий простой оборудования по техническим неисправностям и в ремонте.

Т - число смен, равно 2.

Fд=253 * 8,1 * 2 * 0,94 =3852,6 ч;

Г=7600/3852,6 =1,972 ваг/ч;

Такт выпуска - интервал времени, через который периодически производится выпуск вагонов, узлов и деталей из ремонта.

Т=Fд*а/N; (2.3)

где а - количество вагонов, узлов и деталей, одновременно выпускаемых из ремонта.

Т=3852,6 * 2 / 15200 = 0,5 часа

r = Nr / Fд (2.4)

r = 15200 / 3852,6 = 4 часов

tв = t * с (2.5)

tв = 0,5 * 6 = 3

Фронт работ или количество одновременно отремонтированных вагонов рассчитывается следующим образом:

Фр=г*tв; (2.6)

где tв - производственный цикл ремонта вагона в цехе (время с момента начала ремонта до его окончания), ч.

Фр=4 * 3 = 12 автосцепок.

3. Назначение, конструкция, основные параметры автосцепного оборудования

Автосцепки могут быть разделены на две группы: механические автосцепки, автоматически сцепляющие единицы подвижного состава, и унифицированные автосцепки, которые помимо сцепления обеспечивают соединение межвагонных коммуникаций, включающих в себя один или два воздухопровода, а при необходимости и контакты электро - и радиоцепей, а также паропроводы отопления.

Механические автосцепки применяются для сцепления грузовых и пассажирских вагонов общего назначения; при этом межвагонные коммуникации соединяются вручную.

Унифицированные автосцепки устанавливают на специальном подвижном составе: вагонах метрополитенов, некоторых типах зарубежных дизель - и электропоездов и др.

Автосцепные устройства подвижного состава отечественных железных дорог общего назначения бывают двух типов: вагонного и паровозного.

Автосцепное устройство вагонного типа устанавливается на грузовых и пассажирских вагонах, тепловозах, электровозах, вагонах дизель - и электропоездов и тендерах паровозов, а паровозного - на паровозах, мотовозах, автодрезинах и некоторых специальных вагонах.

Узлы и детали автосцепного устройства вагонного типа имеют следующее назначение.

Автосцепка служит для сцепления единиц подвижного состава, а также передачи тяговых и ударных нагрузок, смягчает удары и рывки, передаёт нагрузку на раму.

Автосцепка (рис. 3.1) является тягово-ударной нежесткого типа. Она состоит из корпуса 9 и деталей механизма сцепления: замка 4.

Рисунок 3.1. Автосцепка

Рисунок 3.2. Стандартный контур зацепления автосцепок

Большой зуб имеет три усиливающих ребра: верхнее, среднее и нижнее, плавно переходящие в хвостик и соединенные между собой перемычкой. Голова автосцепки заканчивается сзади упором 1, предназначенным для передачи при неблагоприятном сочетании допусков на основные размеры жесткого удара на хребтовую балку через концевую балку рамы вагона и ударную розетку.

Очертание в плане малого 1 (рис. 3.2) и большого 2 зубьев, а также выступающей в зев части замка 3 называется контуром зацепления автосцепки. Для обеспечения взаимосцепляемости всех автосцепок контур зацепления должен соответствовать ГОСТ 21447-75. Линия I-I является продольной осью автосцепки. Внутренние стенки кармана корпуса, в котором находится механизм автосцепки, смещены относительно этой оси на 10°, а замыкающая поверхность замка расположена под углом 15°. Вследствие такого размещения механизма сцепления равномерно распределяется продольное усилие между замком, малым и большим зубьями. Ось II-II (ось зацепления) перпендикулярна оси I-I и проходит через точку О, называемую центром зацепления.

Рисунок 3.3. Корпус автосцепки

Поверхности контура зацепления корпуса в сцепленном состоянии взаимодействуют со смежной автосцепкой: при сжатии усилие воспринимается ударной 6 и боковой 7 поверхностями малого зуба, ударной стенкой 5 зева и боковой поверхностью 4 большого зуба, а при растяжении - тяговыми поверхностями 8 и 3 соответственно малого и большого зубьев. Тяговая, ударная и боковая поверхности малого зуба, а также тяговая поверхность большого зуба в средней части по высоте имеют вертикальную площадку длиной 160 мм (80 мм вверх и 80 мм вниз от продольной оси корпуса). Указанные поверхности выше и ниже вертикальной площадки скошены для улучшения условий работы сцепленных автосцепок, когда между их продольными осями в вертикальной плоскости возникает угол (при прохождении горба сортировочной горки).

Корпуса автосцепок ранних выпусков имеют сбоку со стороны малого зуба прилив 10 (ухо), на который в период перехода с винтовой упряжи на автосцепку навешивали скобу винтовой упряжи смежного вагона во время маневровых работ, а также в передаточных поездах. После перевода подвижного состава на автосцепку новые корпуса сначала изготовлялись с приливом вместо уха, а затем без прилива с утолщением стенки малого зуба.

Приливы и отверстия в кармане корпуса служат для размещения деталей механизма и правильного их взаимодействия. Серповидный прилив 2 (рис. 3.4) вверху на внутренней стенке малого зуба ограничивает перемещение замка внутрь кармана. Нижняя часть прилива переходит в полочку 3, на которую опирается верхнее плечо предохранителя. В стенке корпуса со стороны малого зуба имеется отверстие 12 с приливом снаружи для размещения толстой цилиндрической части стержня валика подъемника, а со стороны большого зуба - отверстие 8 для тонкой цилиндрической части стержня. Рядом с этим отверстием находятся приливы б и 7, которые служат опорами для подъемника, а выше - шип 4 для навешивания замкодержателя.

На дне кармана корпуса имеются отверстия: 11 - для сигнального отростка замка, 13 - для направляющего зуба замка и 14 - для выпадения мусора, случайно попавшего в карман. Ребро 5 стенки 9 служит ограничителем ухода лапы замкодержателя внутрь корпуса. Внизу полости кармана, ограниченной стенкой 9 и ударной стенкой зева, имеется отверстие, которое пересекает нижнее Ребро большого зуба. Через это отверстие извне воздействуют на замкодержатель для восстановления сцепления ошибочно расцепленных автосцепок. По всей высоте малого зуба проходит вертикальное отверстие 1, которое выполнено для уменьшения массы корпуса и улучшения технологии литья. Вдоль хвостовика на его горизонтальных стенках с выходом в переходную зону расположены ребра жесткости 10. Корпуса автосцепки имеют усиление переходной зоны, повышающее их предел выносливости.

Рисунок 3.4. Карман корпуса автосцепки

4. Материалы, применяемые при изготовлении автосцепного оборудования

С введением системы сертификации на федеральном железнодорожном транспорте нормативная документация на производство автосцепного устройства в целом, а также отдельных его узлов и деталей должна соответствовать Требованиям по сертификации (Технический регламент) ФТС ЖТ ЦВ-ЦЛ 022-2000, введенным в действие указанием МПС России №М-2705У 08.11.2000 г. Эти требования обязательны для всех юридических лиц (независимо от их организационно-правовой формы и ведомственной принадлежности), осуществляющих разработку, изготовление и поставку автосцепных устройств подвижного состава железных дорог.

Сертификационные показатели определяются действующими нормативными документами: соответствующими государственными и отраслевыми стандартами и техническими условиями.

В частности, корпус автосцепки, детали механизма сцепления, тяговый хомут, передний и задний упоры, центрирующая балочка изготавливаются литьем по ГОСТ 22703-91 «Детали литые автосцепного устройства подвижного состава железных дорог колеи 1520 мм. Общие технические условия» по рабочим чертежам, утвержденным в установленном порядке. В соответствии с этим стандартом литые детали разделяют на две группы: к первой относятся корпус автосцепки и тяговый хомут; ко второй - передний и задний упоры, замок, замкодержатель, подъемник замка, валик подъемника, центрирующая балочка.

ГОСТ 22703-91 предусматривает литье деталей автосцепного устройства из низколегированной малоуглеродистой стали 1-4-й категорий качества и термоулучшение по инструкции предприятия-изготовителя. При этом более двух повторных термообработок не допускается. Число отпусков не ограничивается. Допускается правка деталей в нагретом до температуры 650-850°С состоянии. После термической обработки деталей разрешается правка с подогревом до температуры, не превышающей температуру отпуска.

Механические свойства деталей автосцепного устройства из сталей всех четырех категорий качества приведены в табл. 4.1. Содержание серы и фосфора в стали не должно превышать 0,04% для каждого из этих элементов. При отливке деталей второй группы из стали, выплавляемой в кислых печах, содержание серы и фосфора допускается до 0,05% для каждого из элементов.

Конкретное содержание каждого из химических элементов, входящих в состав стали, и допускаемые отклонения, виды и режимы термической обработки устанавливает предприятие-изготовитель. При этом обязательным является исследование стали на свариваемость по методике, согласованной с заказчиком.

Таблица 4.1. Механические свойства стали для деталей автосцепного устройства после окончательной термической обработки.

Категория качества стали

Предел текучести, МПа, не менее

Предел прочности, МПа, не менее

Относительное удлинение, %, не менее

Относительное сужение, %, не менее

Ударная вязкость при температуре -60 'С, Дж/см2, не менее

Твердость НВ, не менее

Детали первой группы

1

400

540

15

30

25

170-240


450-500

560

15

30

25

192-265

2

500 и более

600

12

25

25

192-265


Сталь 3-й и 4-й категорий - рекомендуемая, и химический состав ее для деталей первой группы должен обеспечивать соответствующую твердость на глубине 11 мм от охлаждаемого торца образца при определении прокаливаемости методом торцевой закалки по ГОСТ 5657-69. При плавочном содержании углерода до 0,25% по массовой доле эта твердость должна быть не менее НRС 32; от 0,25 до 0,30% - не менее НRС 35; от 0,31 до 0,32% - не менее НRС 36,5.

Сталь для деталей первой группы при выплавке обрабатывают раскислителями (модификаторами); вид и способ обработки стали раскислителями, а также их количество устанавливает предприятие-изготовитель.

Подавляющее большинство находящихся в эксплуатации и выпускаемых в настоящее время автосцепок отвечают требованиям, предъявляемым к сталям 1-й и 2-й категорий качества. Они выплавляются из сталей марок 20ГЛ, 20ГФЛ, 20ГТЛ, 20Г1ФЛ, 20ФТЛ в зависимости от используемого заводами исходного материала и подвергаются закалке с отпуском.

Стали 3-й и 4-й категорий качества пока не нашли широкого применения для изготовления автосцепных устройств.

Таблица 4.2. Химический состав сталей для деталей автосцепного устройства

Марка стали

Содержание элементов, % по массовой доле


С

Мп

Si

Cr

Ni

Си

V

Ti

20ГЛ

0,17-0,25

1,1-1,4

0,3-0,5

0,3

0,3

0,3

-

-

20ФЛ

0,17-0,25

0,8-1,2

0,3-0,5

0,3

0,3

0,3

0,06-0,13

-

20ГТЛ

0,17-0,25

1-1,3

0,3-0,5

0,3

0,3

0,3

-

0,01 - О, 03

20Г1ФЛ

0,17-0,25

0,9-1,4

0,3-0,5

0,3

0,3

0,3

0,06-0,13

Не более 0,025

20ФТЛ

0,17-0,25

0,7-1,2

0,3-0,5

0,3

0,6

0,6

0,01-0,06

0,005-0,025

20ГФТЛ

0,17-0,25

1-1,3

0,3-0,5

0,3-0,5

0,3

03

0,04-0,07

0,01 - 0,02

20ГСФТЛ

0,17-0,25

0,9-1,4

0,3-0,6

0,3-0,6

06

06

0,01-0,06

0,005-0,025


Сталь марки 20ГФТЛ дополнительно содержит не более 0,002% бора, 0,006% кальция и 0,04% магния, а марки 20ГСФТЛ - не более 0,0015% бора и 0,15% молибдена.

Структура (вид излома) и микроструктура стали у термически обработанных деталей первой группы должны быть такими же, как у образцов, утвержденных в установленном порядке.

Поперечные трещины, расположенные на тяговых полосах хомута, трещины на перемычке хвостовика и в зоне упора при переходе от хвостовика корпуса автосцепки к голове, а также при переходе нижней стенки хвостовика к стенке кармана для замка не допускаются и исправлению не подлежат.

Виды, число, размеры и расположение дефектов, не допускаемых, допускаемых без исправления и подлежащих исправлению до и после окончательной термической и механической обработок, а также методы исправления дефектов сваркой должны быть указаны в технической документации на детали, согласованной с заказчиком.

Грунтовку или окраску тягового хомута, центрирующей балочки, кронштейнов, наружных поверхностей корпуса автосцепки и сигнального отростка замка следует выполнять по технической документации на соответствующие детали, согласованной с заказчиком.

Индукционно-металлургический способ основан на индукционном нагреве поверхностей с нанесением на них наплавочного материала заданного состава. Индукционный нагрев наплавляемой поверхности проводят с использованием высокочастотных генераторов мощностью 60-100 кВт и частотой тока от 66 до 440 кГц. Мощность генератора, подводимая к индуктору, должна быть 25-55 кВт. Для обеспечения равномерного прогрева и расплавления наплавляемого материала используются индукторы специальной формы и технологические манипуляторы, разработанные инженерным Центром «Сплав» (г. Ростов-на-Дону).

В случае исправления дефектов литья на деталях первой группы сваркой на них должны быть выбиты клейма сварщика и технического контроля предприятия-изготовителя.

На деталях автосцепного устройства допускаются: газовые и песчаные раковины и гнезда пористости, разделанные до чистого металла (не более пяти на деталь), если глубина дефекта после зачистки не превышает 5 мм при ширине и длине не более 30 мм на деталях массой 10 кг и более, а на деталях массой менее 10 кг - при ширине и длине не более 10 мм - внутренние усадочные раковины в местах скопления металла, если поверхность усадочной раковины не превышает 15% площади поперечного сечения теплового узла. В утолщенных местах валика подъемника, замкодержателя, подъемника замка и замыкающей части замка допускаются: несквозные утяжины и газовые раковины диаметром не более 5 мм, глубиной не более 10 мм в количестве не более двух на деталь; утяжины глубиной не более 5 мм, шириной не более 4 мм и длиной не более 30 мм в количестве не более двух на деталь.

В наружных углах около стенок, образующих коробку кармана для механизма сцепления, в углах выемок хвостовой и головной зон тягового хомута, за исключением перехода его хвостовой части в тяговую полосу, допускаются газовые раковины и утяжины глубиной и длиной не более 8 мм в количестве не более трех на деталь.

Таблица 4.3. Определение количества материалов и запасных частей

Наименование материалов и запасных частей

Единица измерений

Норма расхода на единицу

1

Кронштейн расцепного рычага

шт.

0,1

2

Державка расцепного рычага

шт.

0,1

3

Подвеска маятника

шт.

0,15

4

Клин тягового хомута

шт.

1

5

Центрированная балочка

шт.

0,15

6

Розетка автосцепки

шт.

0,04

7

Головка автосцепки

шт.

0,2

8

Тяговый хомут

шт.

0,2



5. Анализ неисправности, условия сортировки и браковки ремонтируемого узла

Осмотр и проверка автосцепных устройств при периодическом ремонте подвижного состава гарантируют их надежную работу в межремонтные сроки. Однако в эксплуатации возможны случаи повреждения, чрезмерного износа деталей, проявления дефектов изготовления, которые могут вызвать нарушение нормального действия автосцепного устройства, а при определенных неблагоприятных условиях привести к саморасцепу автосцепок или излому отдельных деталей. Саморасцеп в пути следования иногда приводит к набеганию отцепившейся части состава, а излом - к падению деталей на путь, вследствие чего возможен сход подвижного состава с рельсов. Замок автосцепки в сцепленном состоянии удерживается в нижнем положении предохранительным устройством. Если размеры элементов деталей, входящих в это устройство, находятся в определенных нормах, обеспечивающих надежное действие механизма, то при рабочих процессах исключаются поломки деталей автосцепки или саморасцепы.

Наиболее часто встречающейся неисправностью является недействующий предохранитель от саморасцепа. Надежность действия предохранителя от саморасцепа определяется размером а (рис. 5.1) вертикального зацепления противовесом верхнего плеча предохранителя в сцепленном состоянии. Износы шипа 7 для навешивания замкодержателя, стенок овального отверстия 6 замкодержателя, забоины и закругления на его противовесе 4 и торце верхнего плеча 5 предохранителя понижают надежность действия автосцепки, так как при этом уменьшается размер вертикального зацепления. Кроме того, износы тяговой поверхности большого зуба корпуса и лапы замкодержателя вызывают дополнительный поворот замкодержателя на величину износа и соответствующее опускание противовеса.

Рисунок 5.1. Механизм автосцепки

Большую роль для надежного действия автосцепки играет зазор между торцами верхнего плеча предохранителя и противовеса замкодержателя, определяющий свободное перемещение замка при включенном предохранителе. Этот зазор характеризует работу механизма автосцепки при сцеплении. Износы торца верхнего плеча 5 предохранителя и торца противовеса 4, отверстия предохранителя 8 и шипа замка 9, а также изгибы замкодержателя и предохранителя приводят к увеличению зазора в. Это может вызвать опережение включения предохранителя, т.е. в процессе сцепления его торец упрется в противовес, так как не успеет пройти над ним раньше, чем тот поднимется до уровня опорной поверхности полочки. В таком случае произойдет изгиб или излом деталей предохранительного устройства и, как следствие, саморасцеп в результате частичной или полной потери вертикального зацепления.

Значительные изгибы верхнего плеча предохранителя, износы его торца и стенок отверстия могут привести к уменьшению размера б перекрытия полочки 3 верхним плечом 5 предохранителя. Этому способствуют также износы стенок овального отверстия 2 в замке, стержня 1 валика подъемника и стенок отверстия для него в корпусе. Недостаточное перекрытие полочки верхним плечом предохранителя приводит к падению его с полочки.

В эксплуатации также встречаются случаи износа (на конус) шипа 7 для навешивания замкодержателя. При таком износе замкодержатель спадает с шипа и прижимается к замку, последний теряет подвижность, в результате чего замкодержатель занимает положение, при котором противовес 4 поднят выше полочки 3 для предохранителя. В процессе сцепления происходит опережение включения предохранителя.

Однако чрезмерно увеличивать вертикальное зацепление, а противовесом верхнего плеча предохранителя (например, наращиванием противовеса сверху) нельзя, так как противовес будет препятствовать свободному проходу предохранителя при сцеплении автосцепок, что приведет к излому деталей предохранительного устройства. Также нельзя уменьшать до нуля - зазор в между торцами противовеса и верхнего плеча предохранителя, так как предохранитель после сцепления автосцепок может остаться на противовесе и не соскочит на полочку, т.е. будет находиться в выключенном состоянии. Чрезмерное увеличение расстояния г от рабочей поверхности лапы замкодержателя до торцовой поверхности замка приведет в сцепленном состоянии (при нажатии на лапу малым зубом смежной автосцепки) к небольшому подъему противовеса, в результате чего вертикальное перекрытие, а окажется недостаточным. Значительное уширение полочки для создания большого перекрытия вызовет удары замка по ней при сцеплении автосцепок и, как следствие, ее излом или излом нижнего плеча предохранителя.

Таким образом, все размеры деталей автосцепки должны находиться в определенных нормами пределах и контролироваться при периодическом ремонте подвижного состава. В автосцепке корпус и детали механизма сцепления имеют размеры с допускаемыми отклонениями, выбранные исходя из наиболее благоприятных условий работы механизма.

Саморасцепы автосцепок могут происходить не только вследствие неисправностей деталей, но и по другим причинам.

К саморасцепу автосцепок может привести также попадание под замок снега, песка или других посторонних предметов. В этом случае в процессе сцепления замок не сможет полностью возвратиться в свое нижнее положение и опереться непосредственно на перемычку малого зуба, в результате; чего предохранитель не соскочит с противовеса на полочку, а останется лежать на нем, т.е. предохранитель от саморасцепа будет выключен.

Превышение допускаемой разницы высот между продольными осями автосцепок может явиться причиной саморасцепов при движении поезда на участке пути, имеющем большую просадку или пучины, а также при проходе вагонов через сортировочную горку, когда резко сокращается площадь зацепления замков.

Нарушения правил эксплуатации (роспуск вагонов с горки на повышенной скорости, неправильное ведение поезда и т.д.) и ремонта автосцепного устройства часто приводят к появлению трещин и изломов в его деталях. Причиной излома может быть и чрезмерный износ деталей.

Износы деталей центрирующего прибора вызывают провисание автосцепки, приводящее при движении поезда к неравномерному и повышенному износу поверхностей контура зацепления автосцепки и нижней части замыкающей поверхности замка, а также смятию его наружной кромки. Износы поверхностей контура зацепления, деталей шарнирного соединения автосцепки (перемычка хвостовика, поверхности клина тягового хомута, стенки отверстий для клина и задняя опорная часть в тяговом хомуте), а также упорной плиты, упоров и поглощающего аппарата, приводящие к увеличению суммарного продольного зазора в автосцепном устройстве, вызывают рост продольных динамических усилий в поезде.

6. Варианты возможных методов восстановления автосцепного оборудования

Значительную часть в общем объеме работ по ремонту деталей автосцепного устройства составляют электросварочные работы, причем наибольшее время затрачивается на наплавку изношенных поверхностей.

Наплавочные работы ведут следующими способами:

ручным дуговым - штучными электродами или пучком таких электродов;

полуавтоматическим - сварочной проволокой под флюсом или порошковой проволокой. При данном способе наплавки используется подающее устройство шлангового полуавтомата;

полуавтоматическим - пластинчатым электродом под флюсом;

многоэлектродным автоматическим - сварочной проволокой под флюсом на специальной установке с одновременной подачей шести проволок (электродов).

Ручная дуговая наплавка является наиболее распространенным способом. Однако он наименее производителен, так как наибольший ток для наплавки открытой дугой стальным электродом диаметром 4-6 мм составляет только 200-350 А. Увеличение тока приводит к сильному разбрызгиванию металла, перегреву электрода и ухудшению формирования валика. В результате ручной дуговой сварки получается неровная поверхность наплавленного металла, что вызывает необходимость давать припуск на обработку до 2-3 мм.

Многоэлектродная автоматическая наплавка под флюсом представляет собой наплавку перемещающейся дугой, возбужденной между основным металлом и электродами. По мере расплавления одного электрода длина (сопротивление) дуги увеличивается, и дуга возникает между другим электродом или группой электродов, находящихся на более близком расстоянии от наплавляемой поверхности.

Один конец электрода замыкают на деталь, а другой подсоединяют через держатель к проводу от сварочного трансформатора. На электрод опять насыпают слой флюса толщиной 15-20 мм, а сверху флюса кладут груз для лучшего формирования сварочного валика при расплавлении электрода. После этого от электрода отодвигают установочные упоры и включают сварочный ток. В месте контакта электрода с поверхностью возникает дуга, и электрод начинает плавиться, причем сварочный процесс происходит автоматически до полного расплавления пластины.

Описанный способ позволяет изменять толщину наплавки за счет укладки в нужном месте дополнительной пластины соответствующего размера. Кроме того, при этом способе легко достигается повышение твердости, а следовательно, и износостойкости наплавленного металла за счет введения в сварочную ванну легирующих присадок.

Несмотря на наличие отработанных технологий наплавки изношенных мест деталей под флюсом, в практике ремонта автосцепки наиболее эффективным является способ наплавки порошковой проволокой с помощью шлангового полуавтомата. Этот способ совмещает в себе маневренность, присущую ручной дуговой сварке, и высокую производительность труда, характерную для автоматической наплавки в среде защитных газов.

Для изнашиваемых деталей автосцепного устройства большое значение имеет износостойкость наплавленных поверхностей, поэтому все поверхности деталей, за исключением труднодоступных для обработки, должны восстанавливаться износостойкими наплавками.

Ручная дуговая сварка применяется главным образом для заварки трещин, допускаемой правилами ремонта, и для наплавки небольших или труднодоступных поверхностей деталей.

В деталях механизма сцепления (кроме предохранителя) допускается заваривать не более одной трещины: заварка трещин в предохранителе не разрешается.

Разделку трещин допускается производить механическим способом, электродуговым способом (электродами типа Э42 диаметром 5 мм при токе 350-380 А или специальными электродами марки СЗР-1 диаметром 5 мм при токе 250-350 А), а также поверхностно-кислородной резкой с помощью промышленных резаков типа ПРВ или РАП, работающих на ацетилене или его заменителях.

Первичные трещины в месте перехода от головы автосцепки к хвостовику разделывают на глубину 10-12 мм; при этом разделку удлиняют на 5-10 мм с обоих концов видимой части трещины. Повторные трещины в месте перехода от головы к хвостовику, образовавшиеся по ранее выполненному сварному шву, необходимо разделывать на полную толщину стенки хвостовика с оставлением перемычки в корне разделки толщиной 2-4 мм. Длина разделки должна быть на 5-10 мм больше в ту и другую сторону, чем длина ранее заваренного шва. При этом весь ранее наплавленный металл должен быть удален.

Первичные трещины в верхнем и нижнем углах окна для замка надо разделывать на полную глубину залегания трещины при длине разделки на 5-8 мм больше, чем длина видимой трещины. Первичные трещины в верхнем и нижнем углах окна для замкодержателя следует разделывать от их конца с выходом в окно на глубину 20 мм. Трещины в углах, образованных ударной стенкой зева и боковой стенкой большого зуба, и трещины в перемычке между отверстиями для сигнального отростка и направляющего зуба замка необходимо разделывать на полную глубину их залегания.

Заварка трещин производится в горизонтальном положении электродами типа Э46 марок МР-3, ОЗС-4, ОЗС-6, АНО-4 диаметром 4 мм постоянным или переменным сварочным током 180-240 А. В процессе сварки после наложения каждого слоя необходимо очистить швы от шлака. Для заполнения разделок допускается использовать электроды диаметром 5 мм тех же марок при токе 200-280 А. При заварке трещин необходимо кратер выводить на наплавленный металл и заваривать. Подрезы основного металла глубиной более 0,5 мм следует устранять механической обработкой или заваривать с предварительным подогревом до температуры не ниже 250-300°С.

Усиление шва должно быть в пределах 1,5-2 мм и иметь плавный переход к основному металлу. В случае сквозного прожога стенки хвостовика при разделке трещин заварка прожженного места производится электродами диаметром 3 мм током 110-130 А до образования перемычки. Не допускаются непровары в корне шва, так как в эксплуатации, как правило, от этих непроваров развиваются трещины.

При заварке трещин в углах окна для замка и замкодержателя усиление швов должно быть обработано заподлицо с основным металлом. Заваренные углы должны быть обработаны с доведением радиусов до альбомных размеров.

В тяговом хомуте допускается заваривать трещины в соединительных планках, в ушках для болтов, поддерживающих клин, и в ребрах жесткости опорной части хомута, если трещины не распространяются на тяговые полосы и на заднюю опорную часть хомута.

Тяговые полосы хомута автосцепки допускается наплавлять, если их толщина не менее 20 мм, а ширина не менее 95 мм при хомуте с шириной полосы 120 мм и не менее 130 мм при хомуте с шириной полосы 160 мм. Для автосцепки СА-ЗМ толщина допускаемой к наплавке тяговой полосы должна быть не менее 22 мм, а ширина - не менее 115 мм.

Разрешается заваривать не более одной трещины в деталях расцепного привода (кронштейны) и в ударной розетке. Изломанный рычаг расцепного привода допускается ремонтировать контактной или газопрессовой сваркой при условии, что на рычаге будет не более двух стыков. Можно приваривать отломавшийся сигнальный отросток замка, заваривать трещины в ударной розетке, идущие от отверстий для заклепок к наружной кромке привалочного фланца.

У центрирующей балочки к изношенной поверхности (на которую опирается хвостовик автосцепки) разрешается приваривать по периметру пластину соответствующей толщины. Ремонтируемую поверхность балочки в этом случае предварительно обрабатывают на станке. Головки маятниковых подвесок разрешается наплавлять, если высота их не менее 18 мм, при этом наплавленный металл не должен доходить до стержня подвески на 3-5 мм. Детали центрирующего прибора с возвращающей пружиной разрешается ремонтировать в случае, когда размер детали уменьшился по сравнению с альбомным не более чем на 25%.

7. Средства неразрушающего контроля для определения технического состояния автосцепного оборудования

Техническое диагностирование - это установление и изучение характеризующих состояние технических систем (полувагонов) для предсказания возможных отклонений, а также разработка методов средств экспериментального определения состояния этих систем с целью своевременного предотвращения нарушений нормального режима работы.

Вид неразрушающего контроля - группа методов, объединённых общностью физических явлений.

В соответствии с ГОСТ 18353-79 классификация неразрушающего контроля предусматривается определение технического состояния автосцепного оборудования. Магнитный, включает в себя следующие методы: магнитопорошковый, магнитографический и феррозондовый.

Магнитопорошковый метод неразрушающего контроля основан на явлении притяжения частиц магнитного порошка магнитными потоками рассеяния, возникающими над дефектами в намагниченных объектах контроля. Полученное непосредственно на детали изображение (рисунок) регистрируется визуально или автоматическими приспособлениями.

Магнитопорошковый метод неразрушающего контроля предназначен для выявления поверхностных и подповерхностных нарушений сплошности: трещин различного происхождения, непроваров и т.д. Ограничения: магнитопорошковый метод применяют только для контроля объектов из ферромагнитных материалов с магнитными свойствами, позволяющими со давать в местах нарушения сплошности металла магнитные поля рассеяния, достаточные для притяжения частиц магнитного порошка или магнитной суспензии

Магнитопорошковый метол контроля включает операции:

·        подготовка к контролю;

·        намагничивание объекта контроля;

·        нанесение дефектоскопического материала (порошок, суспензия, магнитогуммированная паста) на объект контроля;

·        осмотр и регистрация индикаторных рисунков дефектов;

·        оценка результатов кон роля;

·        размагничивание объекта контроля.

При магнитопорошковом методе контроля применяют способ остаточной намагниченности (СОН и способ приложенного поля (СП П).

При контроле СОН объект контроля предварительно намагничивают, а затем, после снятия намагничивающей силы, на поверхность объекта контроля наносят дефектоскопический материал. СОН применяют при контроле объектов из магнитотвердых материалов с котивной силой Нс 10 А/см. остаточной индукцией 0,5 Тл и более.

При контроле СПП операции намагничивания объекта контроля и нанесения суспензии выполняются одновременно.

Дефектоскопированию подвергаются следующие детали ходовых частей: корпус автосцепки, поверхность тягового хомута.

Феррозондовым методом контроля проверяют: автосцепки, тяговые хомуты поглощающих аппаратов.

Контроль автосцепок состоит из двух этапов. На первом этапе намагничивающие устройства устанавливаются на корпус автосцепки так, как показано на рис. 7.1. При таком положении намагничивающих устройств контролируют: плоскости хвостовика, переходы от головки корпуса к хвостовику (рис. 7.2), кромку отверстия под клин и перемычку между отверстием под клин и задней ударной частью хвостовика (рис. 7.3). Эти зоны контролируются способом остаточной намагниченности, т.е. сканирование производится только после удаления намагничивающего устройства.

На втором этапе намагничивающее устройство устанавливается так, как показано на рис. 7.4. При этом контролируются кромки проема для замка и замкодержателя, а также зоны перехода от ударной стенки зева к боковой стенке большого зуба и от боковой стенки к тяговой стороне большого зуба. Эти зоны контролируются способом приложенного поля, т.е. намагничивающие устройство снимается с детали после сканирования.

Рис. 7.1. Положение намагничивающего устройства МСН 11-01 на корпусе автосцепки

Рис. 7.2. Зоны контроля хвостовика автосцепки: 1 - зоны перехода от головки к корпуса хвостовика; 2 - плоскости хвостовика

Рис. 7.3. Зоны контроля концовки хвостовика: 1 - кромки отверстия под клин; 2 - перемычка между отверстием под клин и задней ударной частью хвостовика

Рис. 7.4. Положение МСН 12-01 на корпусе автосцепки

Рис. 7.5. Зона контроля кромок отверстия для замка и замкодержателя

Рис. 7.6. Зоны контроля в зеве головки автосцепки: 1 - переход от ударной стенки зева к боковой стенке большого зуба; 2 - переход от боковой стенки к тяговой стороне большого зуба

Тяговый хомут

Тяговый хомут контролируются в зонах показанных на рис. 7.7. Намагничивающие устройство МСН 12-01 устанавливается на внешних и внутренних поверхностях (в соответствии с методикой) тяговых полос (поз. 3 на рис. 7.7). Контроль проводится способом приложенного магнитного поля. В зонах 1 н 2 выполняется по одному сканирующему проходу по контурам зоны. А в зонах 3 и 4 сканирование выполняется с шагом 5…15 мм.


Рис. 7.7. Зоны контроля тягового хомута: 1 - кромка задней опорной части; 2 - кромки соединительных планок; 3 - тяговые полосы; 4 - углы перехода тяговых полос к задней ударной части; 5 - переход тяговой полосы к ушкам под болты

8. Разработка технологического процесса ремонта автосцепного оборудования

Позиция демонтажа, ремонта несъемного оборудования и деталей, монтажа автосцепного устройства расположена на 4 пути вагоно-сборочного цеха. Позиция оснащена необходимым оборудованием, технологической оснасткой и приспособлениями согласно таблицы 1.

Таблица 8.1. Наименование оборудования

№№

Наименование оборудования

1. 2. 3. 4. 5. 6. 7.

Колонки для подключения пневматического инструмента. Колонки для подключения электроинструмента. Электрические розетки 36 и 220 В Мостовой кран для снятия головок автосцепок и их погрузки на транспорт. Стенд для демонтажа и монтажа поглощающих аппаратов. Электрокара Оснастка для постановки и снятия головок автосцепок.


Бригадир совместно со слесарем КПА производят осмотр и определяют объем ремонта несъемных деталей автосцепного устройства.

В ударной розетке проверяют опорные места для головок маятниковых подвесок: в розетке грузового типа шаблоном 776 р. Местные износы на корпусе розетки глубиной до 5 мм разрешается оставлять без ремонта наплавкой.

Проверяют износ или перекос опорных поверхностей упоров хребтовой балки. До 3 мм допускается оставлять без исправления, поверхности с большим износом восстанавливаются наплавкой с последующей обработкой. Допускается приварка планок соответствующих размеров при износе более 5 мм.

Проверяют расстояние между передними и задними упорами (622 - 625 мм), между боковыми гранями упорных поверхностей не менее 205 и не более 220 мм у передних упоров и не менее 165 и не более 220 мм у задних.

Проверяют поддерживающую планку. Трещины не допускаются, износ по толщине до 4 мм, допускается оставлять без ремонта, свыше 4 мм - планка подлежит ремонту наплавкой с последующей механической обработкой.

Проверяют расцепной привод. Детали снимают при повреждении или несоответствии размеров чертежным. Фиксирующий кронштейн и кронштейн крепятся двумя болтами М16 с постановкой гайки, контргайки и шплинта 4´25 мм. Трещины в деталях, не более одной, разрешается заваривать. Цепь при диаметре прутка звена более 9 или менее 7 мм подлежит замене.

Производят демонтаж съемных деталей и узлов автосцепного

устройства в следующем порядке:

. Отсоединяют цепь расцепного привода от рычага, расшплинтовав и отвернув контргайку и гайку с регулировочного болта.

. Демонтируют крепление клина тягового хомута, отгибают концы запорной планки, снимают шпильки, отвинчивают гайки и вынимают оба болта и клин.

. Снимают автосцепку с помощью приспособления, маятниковые подвески и центрирующую балочку.

Снятые с вагона детали и узлы автосцепного устройства транспортируют электрокарой на моечную машину для наружной обмывки и очистки, после чего доставляют в отделение.

Примечание: Необходимость наружной очистки и обмывки тяговых хомутов и поглощающих аппаратов определяет бригадир отделения.

Автосцепки кран - балкой устанавливают на стенд разборки и ремонта, разбирают и производят визуальный осмотр, дефектоскопирование и проверку шаблонами корпуса автосцепки и деталей механизма.

В корпусе автосцепки проверяют:

1. Визуально наличие трещин и других повреждений, производят меловую разметку для ремонта. Браковку корпуса по трещинам производят согласно перечня дефектов.

. Ширину зева непроходным шаблоном 821 р-1 по всей высоте носка большого зуба. Если кромка шаблона проходит мимо носка зев подлежит ремонту наплавкой.

3. Длину малого зуба и расстояние между ударной стенкой зева и тяговой поверхностью большого зуба шаблонами 892 р, 893 р. 884 р в зависимости от вида ремонта.

. Контур зацепления корпуса проходным шаблоном 827 р. Контур годен, если шаблон проходит по всей высоте головы корпуса.

. Ударную поверхность малого зуба и ударную стенку зева шаблоном 914 р. После установки шаблона проверяют состояние ударных поверхностей контура профильной планкой 914 р/24-1 м и непроходным щупом 914 р/21а. Разность зазоров между профильной планкой и ударными поверхностями малого зуба и зева сверху и снизу не должна превышать 2 мм.

. Тяговые поверхности малого и большого зубьев корпуса шаблонами 914 р/22 и 914 р/25.

. Ширину кармана для замка. Если при вращении валика подъемника, подъемник замка проходит мимо нижнего плеча предохранителя, автосцепка подлежит ремонту приваркой шайбы соосно с малым отверстием для валика подъемника. Ширина исправленного кармана проверяют непроходным шаблоном 845 р и проходным 848 р.

. Расстояние от передней кромки отверстия для валика подъемника до стенки отверстия для запорного болта шаблоном 845 р.

. Диаметры и соосность малого и большого отверстий для валика подъемника шаблоном 797 р, положение отверстия относительно контура зацепления шаблонами 937 р и 797 р. Корпус годен, если проходная часть шаблона 797 р свободно входит в соответствующее отверстие, а непроходная не входит в отверстие до упора в торец прилива корпуса.

. Размеры шипа для замкодержателя и его положение относительно контура зацепления корпуса автосцепки шаблонами 849 р, 806 р, 816 р.

. Положение полочки для верхнего плеча предохранителя в корпусе относительно шипа для замкодержателя и контура зацепления шаблоном 834 р.

. Толщину перемычки хвостовика непроходным шаблоном 897 р или 898 р-1 в зависимости от вида ремонта как со стороны верхней, так и нижней плоскости.

Изношенная торцевая часть хвостовика подлежит ремонту, если длина хвостовика менее 645 мм, а для автосцепки СА-3М менее 654 мм. Толщину перемычки хвостовика автосцепки СА-3М проверяют кронциркулем (должна быть не менее 44 мм).

. Хвостовик автосцепки. Изгиб хвостовика от первоначальной продольной оси корпуса в средней части не должен превышать 3 мм. При изгибе более 3 мм хвостовик выправляют.

Примечание: Не разрешается выправлять хвостовик с заваренными или незаваренными трещинами в зоне выправляемых мест.

. Ограничители вертикальных перемещений. Изгибы, износы более 5 мм не допускаются. Расстояние от продольной оси корпуса автосцепки до горизонтальной полки ограничителя должно быть 280 +5 мм.

В замке проверяют:

. Контур проходной частью шаблона 852 р.

. Толщину замыкающей части замка до ремонта шаблоном 899 р.

. Положение задней кромки овального отверстия относительно торцовой части шаблоном 839 р

. Положение и диаметр шипа замка шаблоном 833 р.

Замок подлежит ремонту, если:

не проходит в проходной вырез шаблона 852 р;

рабочая замыкающая часть замка входит в непроходной шаблон 899 р;

положение задней кромки овального отверстия не соответствует шаблону 839

положение и диаметр шипа не соответствует шаблону 833 р;

отломан сигнальный отросток;

износ прилива для шипа более 3 мм;

изношен направляющий зуб;

имеется трещина в верхней перемычке

Замок со вставкой автосцепки СА-3 подлежит ремонту, если:

диаметр отверстия в замке для валика более 17 мм, а отверстия вставки более 17,5 мм;

замыкающая поверхность вставки не отвечает требованию шаблонов 852 р и 899 р;

диаметр валика замка менее 15,5 мм или с трещиной или изгибом (при наличии этих неисправностей валик заменяется).

В замкодержателе проверяют:

. Толщину и возможные изгибы шаблоном 841 р.

. Расстояние от передней боковой поверхности стенки овального отверстия до упорной поверхности противовеса шаблоном 826 р и высоту угла противовеса.

. Размеры овального отверстия пробками от шаблона 826 р.

. Наружное очертание замкодержателя шаблоном 916 р.

В предохранителе проверяют:

1. Изгиб предохранителя, диаметр отверстия, длину верхнего плеча, высоту его торца, очертания верхнего и нижнего плеч шаблоном 800 р-1.

. Наличие трещин (предохранитель бракуется).

В подъемнике замка проверяют соответствие параметров шаблону 847 р.

Валик подъемника соответствует параметрам шаблону 919 р.

Для производства дефектоскопирования корпус автосцепки устанавливается на стол или стенд и проверяется дефектоскопами ДФ-105 или МД-12ПШ.

Подлежащие ремонту головка и детали механизма направляются в сварочно-наплавочное отделение. Сварочно-наплавочные работы на корпусе и деталях механизма выполняются на стендах и приспособлениях с применением электродов типа Э-42а, Э-46, Э 15-Г5 электродуговым способом, в отдельных случаях с местным подогревом места сварки (кислородно-пропановая горелка). Разделка трещин производится слесарным способом и электродуговым способом с применением электродов марки ОЗР-2.

При наличии погнутости хвостовика автосцепки она направляется в кузнечное отделение для правильных работ. Перед правкой хвостовик нагревается в кузнечном горне до температуры 800 - 850°С с выдержкой 1 час.

Отремонтированные сваркой головка и детали механизма направляются в механическое отделение подсобно - заготовительного цеха и механический участок отделения для обработки наплавленных поверхностей на станках с применением приспособлений и переносной машинкой.

Отремонтированные детали повторно проверяются шаблонами вышеуказанным способом и, при удовлетворительных результатах проверки, клеймятся и поступают для сборки корпуса автосцепки.

В собранной автосцепке проверяют:

. Контур зацепления проходным шаблоном 828 р. Шаблон должен свободно проходить по всей высоте головки автосцепки.

. Действие механизма автосцепки:

.1. Действие предохранителя замка от саморасцепа.

.2. Отсутствие преждевременного включения предохранителя.

.3. Удержание механизма в расцепленном положении.

.4. Возможность расцепления сжатых автосцепок.

.5. Уход замка от вертикальной кромки малого зуба при включенном предохранителе.

.6. Расстояние от вертикальной кромки малого зуба до кромки замка в его нижнем свободном положении и от кромки замка до кромки замкодержателя по горизонтали.

.7. Положение лапы замкодержателя относительно ударной стенки зева, когда замок находится в заднем крайнем положении.

Проверенная автосцепка окончательно собирается: валик подъемника закрепляется болтом М10 ´ 90 с гайкой и фасонными шайбами, концы которых загибают на головку болта и гайку.

Тяговый хомут автосцепки СА-3.

Поступивший в ремонт тяговый хомут проверяют на стенде дефектоскопирования дефектоскопом ДГС-М-53 или ДФ -105, в хомуте проверяют:

. Толщину перемычки со стороны отверстия для клина не менее 50 мм.

. Визуально на отсутствие трещин на тяговых полосах.

. Износы тяговых полос не более 3 мм, боковых поверхностей головной и задней опорной части не более 5 мм.

. Соответствие хомута шаблонам 920 р-1 (длина хомута и проем в головной части) и 861 р-м (отверстия для клина и высота проема хомута).

При выявлении неисправностей хомут направляется в сварочное отделение для ремонта. Наплавка производится электродуговым способом с применением электродов Э-46. Механическая обработка наплавленных мест производится зачисткой шлифовальными машинками.

Тяговый хомут автосцепки СА-3 проверяют:

. Высоту проема в головной части не более 191 мм.

. Диаметр отверстия для валика не более 97 мм.

. Расстояние от опорной поверхности корпуса поглощающего аппарата до передних кромок отверстия для валика не более 812 мм.

При выявлении отклонений от размеров хомут направляется в ремонт. На отремонтированном хомуте ставится клеймо КПА. Старое клеймо зачищается.

Клин, валик тягового хомута, упорная плита, поддерживающая планка.

Поступившие в ремонт детали укладываются на стол осмотра, производится их обмер, визуальный осмотр, Клин и валик тягового хомута подлежат дефектоскопированию с применением магнитного дефектоскопа МД-12ПШ.

При осмотре клина тягового хомута проверяют:

. Наличие трещин не допускается.

. Ширину клина в любом сечении не менее 90 мм при капитальном ремонте вагона и не менее 88 мм при деповском.

. Толщину клина не менее 28 мм в наиболее изношенном сечении.

. Высоту ограничительных буртиков не менее 15 мм.

. Высоту клина не менее 305 мм.

При осмотре валика тягового хомута автосцепки СА-3 проверяют:

. Наличие трещин не допускается.

. Диаметр в любом сечении не менее 87 мм, изгиб не более 2 мм.

При выявлении неисправностей валик заменяется новым.

При осмотре упорной плиты проверяют:

. Толщину в средней части не менее 55 мм при капитальном ремонте вагона и не менее 53 мм при деповском. У плиты автосцепки СА-3 не менее 44 мм.

. Наличие трещин не допускается.

Плиты с износом направляют в ремонт в сварочное отделение. Наплавка изношенных мест плиты производится с предварительным подогревом до 250 - 300 °С электродами Э-46 с последующей механической обработкой.

При осмотре поддерживающей планки проверяют:

. Износ по толщине не более 4 мм, у планки автосцепки СА-3 не более 3 мм.

. Наличие трещин не допускается.

Планки с износом направляются в ремонт наплавкой электродами Э-46 с последующей механической обработкой.

При осмотре вкладыша автосцепки СА-3 проверяют толщину (не менее 44 мм).

Вкладыш с износом ремонтируют наплавкой с последующей механической обработкой. На отремонтированных деталях ставят клеймо ремонта.

Центрирующая балочка, маятниковая подвеска.

При осмотре центрирующей балочки проверяют:

. Наличие трещин, износов и изгибов не допускается.

. Высоту сечения места опоры хвостовика на балочке не менее 57 мм грузового типа и не менее 160 мм пассажирского типа.

. Опорные поверхности крюкообразных опор проверяют шаблонами 777 р-м для балочек грузового типа.

При износах балочка направляется в ремонт наплавкой электродами

Э-46 с последующей механической обработкой.

При осмотре маятниковых подвесок проверяют:

. Дефектоскопирование подвесок производят дефектоскопом МД-12ПШ, наличие трещин не допускается.

. Соответствие размеров подвески требованиям шаблонов 778 р для грузового типа.

Детали центрирующего прибора с подпружиненной опорой хвостовика:

При осмотре деталей проверяют:

. Износ крюкообразных опор центрирующей балочки не более 3 мм.

. Износ ограничительных выступов по ширине не более 4 мм.

. Ширину поддерживающей плиты в выемке не более 48 мм.

. Износ балочки в других местах не более 3 мм.

. Наличие трещин не допускается.

. Расстояние между головками маятниковой подвески не более 255 мм.

. Трещины в маятниковой подвеске не допускаются.

Отремонтированные балочка и подвески клеймятся.

9. Разработка графика технологического процесса ремонта автосцепного оборудования

Ремонтные работы автосцепного оборудования выполняются в полном соответствии с графиками технологических процессов, утвержденных генеральным директором вагоноремонтного завода. График является основным техническим документом, который связывает все выполняемые при ремонте автосцепного оборудования операций в единый технологический процесс. График определяет последовательность и параллельность выполнения отдельных операций, продолжительность и трудоемкость каждой операции и всего комплекса работ, количества и профессии рабочих, занятых на каждой операции, а так же порядок перехода от одной операции к другой.

Технологический процесс ремонта автосцепного оборудования расписан в пункте 5 данного дипломного проекта.

Количество рабочих по профессиям установлены на каждую операцию в зависимости от ее трудоемкости и продолжительности выполнения, которая в свою очередь определяется нормой автосцепного оборудования в ремонте. При определении продолжительности каждой операции был учтен так же достигнутый и запроектированный уровень производительности труда с учетом внедрения научной организации. Продолжительность операций показаны на линейном графике горизонтальными линиями, длина которых соответствует принятому масштабу времени.

В процессе разработки графиков с целью снижения простоя вагонов в ремонте предусматривают параллельное выполнение операций рабочими разных профессий одновременно. При этом обеспечивается своевременность выполнения операций, не допускается скученности рабочих на одном рабочем месте и работы ведутся в полном соответствии с правилами техники безопасности.

10. Разработка механизированного приспособления для облегчения процесса ремонта

Механизацией производственных процессов называется применение отдельных машин, механизмов и других устройств, заменяющих и облегчающих ручной труд рабочих.

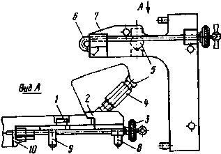
Стенд для ручной, автоматической и полуавтоматической наплавки корпуса автосцепки имеет неподвижную раму 1 (рис. 10.1), выполненную в виде двух вертикальных связанных между собой стоек, и подвижную раму 2, состоящую из двух кронштейнов, содержащих с одной стороны поворотную обойму 7, а с другой - гайку 4 ходового винта 3. Вращение на винт передается от электродвигателя 5 через зубчатую и червячную передачи. Корпус автосцепки устанавливают хвостовиком в прямоугольное отверстие диска 6 поворотной обоймы и закрепляют. На таком стенде можно устанавливать корпус на необходимой высоте при помощи электродвигателя, вращать его в вертикальной плоскости и вокруг собственной продольной оси, поворачивать на некоторый угол в плоскости, проходящей через ось крепления поворотной рамки, т.е. добиваться любого нужного положения корпуса для удобного выполнения работ. Особенно это важно при автоматической или полуавтоматической наплавке, когда необходимо точно соблюдать предусмотренные технологией углы наклона наплавляемых поверхностей.

Рассматриваемый стенд позволяет устанавливать корпус в поворотном диске при отсутствии подъемного устройства в кабине сварщика. Корпус ставят вертикально хвостовиком вверх, на него опускают рамку так, чтобы хвостовик вошел в отверстие диска, закрепляют в этом положении, после чего поднимают на нужную высоту.

Чтобы приварить новую полочку для верхнего плеча предохранителя, применяют приспособление, показанное на рис. 10.1.

Рисунок 10.1. Стенд для сварочных работ на корпусе автосцепки

Рисунок 10.2 Приспособление для приварки полочки в корпусе автосцепки.

Широкое распространение получила наплавка износостойким металлом, позволяющая существенно увеличить межремонтный период работы детали и, следовательно, сократить затраты на содержание автосцепного устройства. Наплавку износостойким металлом осуществляют на полуавтоматической установке УНА-2. На этой установке тяговые и ударные поверхности контура зацепления наплавляют порошковой проволокой ПП-ТН350, ПП-ТН500.

Установка УНА-2 рис. 10.3 состоит из следующих агрегатов: шлифовального станка 1 для зачистки наплавленных поверхностей, пылеулавливающего агрегата 22, стенда 14 для закрепления корпуса автосцепки при выполнении работ и аппаратного ящика 75 для размещения электро-оборудования. Для выполнения наплавочных работ используется трансформатор ТСД-1000-4.

На основании шлифовального станка расположены направляющие 20 для перемещения в продольном направлении каретки 4. На каретке находится привод большого 2 и малого 9 шлифовальных кругов. Вращение от двигателя к приводу соответствующего круга передается через зубчатую муфту, для переключения которой служит рукоятка 5. Каретку 4 можно поворачивать вокруг вертикальной оси на угол около 200° для установки в рабочее положение малого или большого шлифовального круга станка. На защитных кожухах малого и большого кругов имеются рукоятки 3 и 18 для перемещения подвижной части станка относительно его основания при обработке автосцепки.

Поставляемый в комплекте установки пылеулавливающий агрегат ЗИЛ-900 предназначен для очистки воздуха от взвешенной абразивной пыли, образующейся в процессе зачистки наплавленных поверхностей. Агрегат очищает воздух в помещении в соответствии с требованиями санитарных норм, причем во время работы агрегата не меняется температурный режим в цехе, так как очищенный воздух вновь поступает в помещение. Пылеприемник 19 агрегата закреплен на вертикальной стенке основания шлифовального станка и соединен с агрегатом трубопроводом 21.

Стенд для закрепления корпуса автосцепки по своей конструкции подобен стенду, показанному на рис. 10.1. Разница в том, что обойма 16 (см. рис. 10.3) стенда установки УНА-2 позволяет фиксировать корпус автосцепки в любом положении, необходимом для наплавки и обработки, благодаря наличию зажима 7. Кроме того, на диске обоймы закреплен швеллер, предотвращающий перекос автосцепки и заземляющий ее торец хвостовика, что исключает поджоги металла детали в точках касания с обоймой. Корпус 6 на обойме закрепляется винтами 8 и 17. В нижней части стенда расположен металлический ящик 11 для отходов, а в верхней части - электродвигатель 12 и редуктор 13, соединенный с винтом 10, предназначенным для подъема и опускания автосцепки. В аппаратном ящике 15 размещено электрооборудование установки УНА-2, а на передней стенке - амперметр и вольтметр (которые фиксируют параметры сварочного тока), кнопки управления электродвигателем шлифовального станка, воздухоочистительного и сварочного агрегатов. Корпус автосцепки, установленный на стенд, закрепляют в гнезде поворотной обоймы и поворачивают так, чтобы наплавляемая поверхность располагалась горизонтально на высоте, удобной для выполнения сварочных работ.

Рисунок 10.3. Установка УНА для наплавки корпуса автосцепки износостойким металлом и последующей обработки

Шлифовальные круги используют для зачистки поверхностей, наплавленных на установке УНА-2, которые при правильном соблюдении технологии получаются достаточно ровными и не требуют иной обработки. Тяговую и ударную поверхности малого зуба зачищают кругом диаметром 300 мм, а тяговую поверхность большого зуба и ударную стенку зева - кругом диаметром 100 мм.

Корпус автосцепки устанавливают на стенде на необходимой высоте, надежно закрепляют, к обрабатываемой поверхности подводят соответствующий шлифовальный круг и, перемещая его за рукоятку 3 или 18, зачищают. Во время работы обязательно включают пылеотсасывающий агрегат. Шлифовальные круги не должны вращаться, когда их перемещают посредством поворота каретки вокруг вертикальной оси.

Поверхности контура зацепления могут обрабатываться на строгальном, фрезерном и долбежном станках с применением специальных приспособлений. Приспособление для обработки поверхностей контура зацепления на строгальном станке состоит из двух частей: поддерживающего кронштейна 1 (рис. 10.4) и поворотно-установочного устройства ΙΙ. Планка 2 кронштейна, на которой имеются зажимы Ι для крепления хвостовика автосцепки, может поворачиваться вокруг вертикальной оси. Установка одной части приспособления относительно другой обеспечивается с помощью штифтов 3. На основании 9 закреплена направляющая 14, по которой при вращении винта 13 перемещается подвижная часть 10 приспособления, служащая одновременно опорой для корпуса автосцепки. На неподвижной части основания укреплена шкала 11, а на подвижной опоре - стрелка 12. Шкала предназначена для отсчета угла наклона автосцепки по отношению к плоскости движения резца. Это позволяет точно выдерживать ломаный вертикальный профиль поверхностей контура зацепления при их обработке.

Рисунок 10.4. Приспособление к строгальному (фрезерному) станку для обработки поверхностей контура зацепления корпуса

Данное приспособление применяют также для обработки поверхностей контура зацепления на горизонтально-фрезерном станке, но для этого его части Ι и ΙΙ соединяют посредством приварки косынок и угольников.

Помимо оборудований, приспособлений и инструментов, указанных (рис. 10.1-10.4) применяют и другие их виды.

Рисунок 10.5. Стенд для обработки корпуса при помощи приспособлений

На данном стенде обрабатывают наплавленные стенки отверстий для валика подъемника и клина тягового хомута, а также поверхность шипа для навешивания замкодержателя. Стенд состоит из поворотного устройства 8, в котором закрепляется корпус автосцепки, и привода, установленного на столе и включающего в себя шарнирный вал 7, редуктор 3 и электродвигатель 4. При вращении рукоятки 5 стол перемещается в поперечном направлении, а при вращении рукоятки 6 - вдоль оси электродвигателя. Корпус автосцепки устанавливают хвостовиком в прямоугольный вырез 2 поворотной обоймы и закрепляют на ней. Затем вращением рукоятки 1, находящейся на оси червяка, поворачивают обойму с корпусом, а если нужно, то непосредственно руками и сам корпус в обойме в необходимое положение.

На наружном листе закреплена направляющая втулка 3, внутри которой проходит шпиндель 2 с сидящими на нем большой 4 и малой 7 фрезами, предназначенными для обработки соответственно большого и малого отверстий. На другой конец шпинделя надевается переходная втулка 1, хвостовик которой соединяют с шарнирным валом привода. Для перемещения шпинделя служит червячная передача, которая приводится в действие вращением маховика 16.

Рисунок 10.6. Приспособление для обработки стенок отверстий для валика подъемника

Наплавленные поверхности шипа для навешивания замкодержателя обрабатывают при помощи приспособления, состоящего из листа (основания) 1 (рис. 10.6), на котором расположена передача из четырех зубчатых колес.

Рисунок 10.7. Положения приспособления для обработки шипа для навешивания замкодержателя

Наплавленные стенки отверстия для клина тягового хомута обрабатывают на фрезерных станках или при помощи приспособлений. Одно из таких приспособлений имеет коробчатый корпус 6 (рис. 10.7) с направляющими 3 и 5, по которым перемещается рамка из планок 7 и 8 с закрепленными в них подшипниками, предназначенными для установки оправки с цилиндрическими фрезами диаметром 36 мм. Подача фрез достигается вращением винта 2 маховиком 1. Для правильной установки и закрепления приспособления на хвостовике корпуса служат винты 4.

Рисунок 10.8. Приспособление для обработки стенок отверстия для клина в корпусе автосцепки

Детали механизма сцепления обрабатывают на строгальном, фрезерном и токарном станках с помощью специальных приспособлений. Приспособление для строгания или фрезерования замыкающей поверхности замка (рис. 10.8) состоит из основания (стальной лист) 1, на котором размещены зажимные болты 2, указатель 7 наименьшей допускаемой толщины замка и опоры 3, 4 и 5, обеспечивающие установку замка под углом 5° (что необходимо при обработке поверхности). Приспособление устанавливают на столе строгального или вертикально-фрезерного станка и болтами 2 крепят замок таким образом, чтобы его нижняя часть касалась выступа опоры 5, а торцовая поверхность упиралась в установочную призму б. Поверхность зацепления обрабатывают резцом на строгальном станке или торцовой фрезой на вертикально-фрезерном до размера, предусмотренного чертежом, что определяют по указателю 7; расстояние между резцом и указателем должно быть не более 1 мм.

Рисунок 10.9. Приспособление для обработки замыкающей поверхности замка

Рисунок 10.10. Приспособление для обработки замка и замкодержателя

Наплавленные поверхности шипа для предохранителя и стенки овального отверстия обрабатывают специальной фрезой с пластинками 3 (рис. 10.10, а) из твердого сплава и резцом 1, закрепленным болтами 2. Внутренний диаметр фрезы равен альбомному диаметру (22 мм) шипа замка, а радиус окружности, описываемой режущей кромкой резца 1 при вращении, составляет 30 мм.

Наплавленные поверхности обрабатывают при помощи оправки, на конусе 4 (рис. 10.10, б) которой винтом 8 закреплена фреза 7 (используется фреза, предназначенная для обработки малого отверстия для валика подъемника в корпусе автосцепки). Надетая на конус втулка 6 свободно вращается на шариковых подшипниках 5. Во время обработки стол фрезерного станка с закрепленной на нем деталью перемещают таким образом, чтобы втулка 6 касалась контрольных поверхностей копира зажима. Это обеспечивает получение альбомных размеров детали.

Рисунок 10.11. Режущий инструмент для обработки замка и замкодержателя

11. Планировка и размещение оборудования. Определение площади участка

При Проектировании цеха необходимо, чтобы проект не нарушал генерального плана вагоноремонтного завода, расположения зданий, рельсовых и безрельсовых дорог.

Производственные и вспомогательные здания и сооружения объединены в один комплекс, располагаются с учетом обеспечения наиболее благоприятных условий для естественного освещения и вентиляции.

При планировке производственных помещений и выборе размещения оборудования нужно учитывать требования, действующих инструкций по охране труда, производственной санитарии, противопожарной профилактической и производственной этике. Размеры помещения определяются в основном количестве и объемом выбранного технологического оборудования.

Похожие работы на - Производство на вагоноремонтном заводе

 

Не нашли материал для своей работы?
Поможем написать уникальную работу
Без плагиата!
Без нейросетей!