Дослідження конкурентоспроможності ринку меблевої фурнітури на базі ТОВ 'Дружба'
МІНІСТЕРСТВО
ОСВІТИ І НАУКИ УКРАЇНИ
КИЇВСЬКИЙ
НАЦІОНАЛЬНИЙ ТОРГОВЕЛЬНО-ЕКОНОМІЧНИЙ УНІВЕРСИТЕТ
Факультет
ресторанно-готельного та туристичного бізнесу
Кафедра
технології та організації ресторанного господарства
ДИПЛОМНИЙ
ПРОЕКТ
На
тему
Дослідження
конкурентоспроможності ринку меблевої фурнітури на базі ТОВ «Дружба»
ВСТУП
меблевий
фурнітура конкурентоспроможність
Меблева фурнітура -
це кілька десятків тисяч найменувань виробів використовуваних при виготовлені
меблів.
За допомогою фурнітури забезпечується
рухоме і нерухоме з’єднання деталей меблів, взаємодія меблів з людиною і його
житлом. У галузевому стандарті ДСТУ 2259-93 Фурнітура меблева. Загальні
технічні вимоги, наведено класифікацію виробів меблевої фурнітури, яка включає
в себе більше 110 її видів. Це лицьова і кріпильна фурнітура, різні петлі,
стяжки, утримувачі полиць і дзеркал, засувки, ручки, а так само декоративні
елементи, механізми трансформації колісні і поворотні опори, що направляють. У
виготовлені фурнітури для меблів застосовуються різні матеріали: пластичні
маси, метали, дерево і їх поєднання. Поверхня виробів фарбується, металізується
методом вакуумного напилення, гальванопластики і з використанням інших
технологій.
Сучасні умови
економічного розвитку характеризуються поглибленням вимог до формування
конкурентоспроможності продукції на ринку товарів та послуг, яка базується на
збалансованості якісних та цінових складових оцінки товару як предмету
економічних відносин.
Конкуренція - процес управління
суб'єктами своїми конкурентними перевагами для утримання перемоги або
досягнення інших цілей у боротьбі з конкурентами за задоволення об'єктивних або
суб'єктивних потреб у рамках законодавства або в природних умовах. Конкуренція
є рушійною силою розвитку суб'єктів і об'єктів керування, суспільства в цілому.
Конкурентоспроможність об'єкта
визначається стосовно конкретного ринку, або до конкретної групи споживачів,
формованої по відповідних ознаках стратегічної сегментації ринку. Якщо не
зазначений ринок, на якому конкурентоспроможний об'єкт, це означає, що даний
об'єкт у конкретний час є кращим світовим зразком. В умовах ринкових відносин
конкурентоспроможність характеризує ступінь розвитку суспільства. Чим вище
конкурентоспроможність країни, тим вище життєвий рівень у цій країні.
Для досягнення
конкурентоспроможності підприємству на міжнародному ринку потрібно мати
переваги не тільки за рахунок лідирування по витратах або ціні, але й по
впровадженню нових ідей, як у виробничу сферу так і в управління, стратегічному
розвитку.
Саме тому тема дипломної
магістерської роботи «Оцінка конкурентоспроможності меблевої фурнітури» є на
даний час досить актуальною.
Метою дипломної магістерської роботи
є дослідження конкурентоспроможність меблевої фурнітури на внутрішньому ринку.
Об’єкт дослідження -меблева
фурнітура ТОВ «Дружба».
Предмет дослідження - діагностика та
оцінка конкурентоспроможності меблевої фурнітури ТОВ «Дружба»
Завданнями дослідження є:
- систематизація
факторів споживчих властивостей та якості меблевоїфурнітури;
- визначення
класифікаційних ознак меблевої фурнітури;
- аналіз
вимог до якості меблевої фурнітури;
- дослідження
асортименту меблевої фурнітури
- визначення
чинників впливу на ринку меблевої фурнітури;
- оцінка
конкурентоспроможності меблевої фурнітури;
- розроблення
рекомендацій та стратегій щодо підвищення конкурентоспроможності меблевої
фурнітури.
Науковою новизною дипломної
магістерської роботи є розробка стратегії підвищення конкурентоспроможності на
ринку України.
Апробація результатів дослідження.
Результати досліджень були оприлюднені на Всеукраїнській студентській
науково-практичній конференції «Актуальні проблеми розвитку асортименту
непродовольчих товарів» (5 квітня 2012 р., м. Київ).
Публікації. Основні положення та
результати дослідження були опубліковані у збірнику наукових статей студентів
«Товарознавство та комерційна діяльність».
Практичне значення одержаних
результатів полягає в розробці стратегії підвищення конкурентоспроможності
меблевої фурнітури на внутрішньому ринку.
Інформаційною базою написання роботи
є сучасна література українських та російських авторів з питань формування та
управління асортиментом підприємств, публікації в періодичних виданнях,
інтернет-ресурси, первинна і звітна інформація підприємства ТОВ «Дружба».
Огляд літератури з теми дослідження.
Значний внесок у вивчення питання конкурентоспроможності зробили такі
українські та зарубіжні вчені як Вютрих Х.А., Винтер В.Б., Кузьмін О.Є.,
Воронкова А.Е., Литвиненко В.С., Печенкин А.И., Фомин В.Н., Джонсон Р.А.,
Савчук В.І., Завьялов П.П. та ін.
Структура та зміст
роботи. Дипломна робота складається зі вступу, 3 розділів, висновків, списку
використаних джерел та додатків.
РОЗДІЛ 1.
ТЕОРЕТИКО-МЕТОДОЛОГІЧНІ ЗАСАДИ КОНКУРЕНТОСПРОМОЖНОСТІ МЕБЛЕВОЇ ФУРНІТУРИ
.1 Стан та
перспективи споживчого ринку меблевої фурнітури
Українські меблі
тримаються переважно на китайській фурнітурі. Фурнітура - це те, на що споживач
при виборі меблів часто не звертає увагу. Проте саме від надійності фурнітури
багато в чому залежить і довговічність самих меблів.
Хоча радянська
меблева промисловість вважалася добре розвиненою, її продукція мала низьку
якість і до того ж не давала можливості урізноманітнити інтер’єр. Меблеві
гарнітури були схожі між собою, особливо в одному регіоні, як дві краплі води,
так що в кожній квартирі пересічний громадянин відчував себе майже як вдома.
Після розпаду СРСР
почалася експансія закордонної фурнітури, взяла під себе український ринок.
Іноземці перемогли якістю, широким асортиментом і відносно низькими цінами. На
початку 1990-х в рамках чинного законодавства, практично без мита, ввозилася
фурнітура невеликих виробників, переважно польських. Те, що сусіди в своєму
виробництві не використали (найдешевше і погане), йшло в Україну. Це були, в
основному, інші технології з’єднання, адже вітчизняні меблі транспортуванню не
підлягали [1].
Як стверджують
учасники меблевого ринку, польська експансія поступово розповсюджувалася із
заходу України на схід. А з нею народжувалося відношення до брендових товарів.
Все більше покупців, наситившись дешевим, відповідної якості товаром, шукали
виробника, який дав би гарантію. Це вплинуло на ціновий розділ.
Фурнітура в Україні
розділилася на три цінові сегменти: найдешевший -no name (невідомого
виробника). Це на 99% товар з Китаю, Тайваню, Малайзії, Філіппін. В цьому
сегменті не йде про якість товару, тільки про низьку ціну. Тобто, щоб кріплення
тримало дверцята і ті відкривалися, хоча б на перших порах, щоб клієнт не встиг
поскаржитися. В основному, тут працює так зване «гаражне» виробництво. Багато
дрібних виробників використовують дешеві, абсолютно нікому не відомі
комплектуючі і сумнівні технології/
Середній ціновий
сегмент в переважній більшості - брендовий товар, в якому кожен елемент має
світове ім’я, причому багаторічне. Щоб перейти в цю нішу, фірмам потрібно довго
працювати на рекламному ринку, замовляти дослідження, сертифікувати свою
продукцію за міжнародними стандартами. Цей продукт повинен відповідати вимогам
чинного законодавства будь-якої розвиненої країни. Якщо фірма заявляє своє ім’я
і робить спеціальне клеймо на товарі - він якісний, і ціна на нього зростає в
кілька разів.
Третя цінова група
- vip-товар вищої категорії. Дозволити собі використовувати такі елементи
можуть не всі компанії, оскільки в їх ціні складова імені бренду досягає тисячі
і більше відсотків. До цього сегменту відносяться системи
відкривання-закривання дверей, висунення ящиків австрійської компанії BLUM -
єдиною в світі, яка дає вічну (поки «живуть» меблі) гарантію на всі свої
компоненти [2].
В Україні невелика
кількість людей середнього достатку, відповідний ціновий сегмент займає 20-25%
ринку. Ця продукція цікавить і тих покупців, хто навчений гірким досвідом
користування неякісним товаром і прагне купити меблі з недешевих матеріалів.
Який сегмент ринку
належить дорогій фурнітури, підрахувати важко. Такі меблі прибувають, зокрема,
з Італії, Німеччини, Голландії в готовому вигляді. Місцеві виробники, які
позиціонуються в середньому сегменті, прагнуть використовувати у виробництві
елементи vip і готові обслужити клієнта, який хоче придбати ексклюзивну,
дорожчу і якісну меблі.
Найдешевший сегмент
- наймасовіший і займає частину ринку фурнітури. На заході Україні ця частина
менша, на сході - більше. У столиці вона знижується до 50%, тому що там більше
vip-сегмент.
Основний виробник
меблевих комплектуючих для всього світу - Китай. І це незважаючи на те, що
назви залишаються італійські, німецькі, австрійські -тих країн, чия фурнітура
традиційно одна з кращих в світі. 15-20 років тому, коли складова заробітної
плати у вартості виробу стала рости, заводи по виробництву ручок, петель, що
направляють і інших деталей переїхали з Європи в Китай, де робоча сила дешевша.
На цих підприємствах європейські законодавці моди продовжують використовувати
свої технології. У тому числі - свій менеджмент, який жорстко стежить за
якістю, якщо товар маркований відомими брендами. Псують китайську репутацію ті
ж безіменні фірми - no name. Вони підробляють маркування, змінивши якусь
літеру, - це розраховано на неуважного споживача [3].
В Україні набирає
обертів тенденція до збільшення обсягів виробництва фурнітури середньої якості.
У невеликих виробничих майстернях випускається примітивні пластмасові елементи,
ніжки, заглушки, куточки, деякі металеві - різні з’єднувачі, болти, шурупи.
Кількість активних
членів Української Асоціації Меблевиків (УАМ) за період кризи - скоротилося на
10-20% (експертна оцінка). Список активних членів УАМ складається, в основному,
з великих компаній, територіально розташовані у Києві і Дніпропетровську, які
за довгі роки присутності на ринку зуміли налагодити збут по всій Україні і
накопичити резерви для того, щоб пережити кризу продажів 2009-2010 років. Але
2011 змусив всіх задуматися, що буде далі і зберегти материнський капітал для
нових проектів. Зростання цін і собівартості зменшив грошовий потік, зупинив
нові проекти, на деяких підприємствах привів до зміни власника. У 2011 році
кілька великих виробничих фірм підуть з українського ринку. Кількість
регіональних та місцевих компаній, що займаються виробництвом меблів для дому
та офісу скоротилися більш значно. Найменше постраждали Дніпропетровська,
Київська та Львівська області, де перепади попиту не були такими значними.
Виробники меблів західних регіонів змогли протистояти кризі завдяки експорту
меблів з натурального дерева. У цій групі компаній фінансових резервів менше,
ринок уже, весь час змінюються правила роботи на митниці, ростуть комунальні
послуги, а фонд заробітної плати, як камінь, тягне на дно [3].
У всіх областях,
від 30 до 50% дрібних і середніх компаній припинили свою офіційну діяльність
або змінили форму діяльності. Причини ті ж, що і в перших двох групах, але
резервів немає, замовлення впали в рази, ціни ростуть на все, а тут ще
плутанина з єдиним податком та іншими новаціями в законодавстві. Чисельність
працівників скорочена до мінімуму, та й ті працюють коли надходить замовлення.
Добре, якщо основні засоби власні, зростання цін на оренду та опалення взимку
2010-2011 підкосила багатьох.
Приватні підприємці найбільш
численна і найбільш постраждала частина меблевиків в країні. Якщо в 2009-2010
роках багато боролися за виживання, то в 2011 проведені зміни в пенсійній та
інших сферах поставили приватних меблярів на грань банкрутства. Нововведення з
єдиним податком просто закрили багатьом ринок - працювати з підприємствами стало
дуже складно. У 2009-2010 обсяги продажів упали у всіх виробників і продавців
меблів. Великі компанії першої і другої групи мають фінансові резерви і
можливість брати участь у тендерах з державних закупівель і закупівель великих
підприємств. Багато підприємств постаралися компенсувати спад продажів у
магазинах і меблевих містечках завдяки впровадженню нових способів продажу
через інтернет сайти. Для онлайн продажу потрібна інформація в інтернеті,
недорогий спосіб адресної доставки і простий, швидкий, надійний та доступний
спосіб оплати. Завдяки розвитку системи електронних платежів і підтримки
обороту замінників грошей, все більше меблевих компаній орієнтуються на продаж
через власні інтернет магазини, а також великі меблеві портали. Поряд з
приватними онлайн магазинами, в стали з’являтися універсальні і спеціалізовані
портали продажу меблів, влаштовані за принципом каталогів. Податкові реалії
України 2011 року не дозволили малим компаніям і меблярам, що працюють
поодинці, підтримувати власний бізнес. Десятки фахівців компаній, що розорилися
в кризу нікуди не поділися, і пропонують свою продукцію приватним чином через
дошки оголошень, форуми і спеціалізовані сайти. Де вони її виготовляють якщо не
мають майстерні по її виготовленню? Як не дивно, з’явився новий симбіоз
виробників - велике автоматизоване виробництво з розкрою, обклеювання та
свердленню ДСП на базі великого підприємства і міні-бригади по збірці виробів
на території покупця, що складаються з приватних підприємців. Цим починають
користуватися і малі підприємства. Завдяки використанню верстатів з ЧПК стало
можливо серійно виготовляти дрібні партії меблів на замовлення [4].
Але продажі через інтернет мають і
негативну сторону. Завдяки універсальним майданчикам в інтернеті, стало
можливим продавати продукцію без зобов’язань, адже на таких сайтах часто
неможливо знайти контактну або юридичну інформацію продавця. На жаль, разом із
сумлінними мебельниками на ринку з’явилися і шахраї (скамери), що створюють
псевдо-магазини і обманюють покупців, які прагнуть заощадити і купити
найдешевшу продукцію. Численні скарги поповнюють міські форуми, але Організація
захисту прав споживачів не зможе допомогти вам. Попит на ринку офісних меблів
задовольняється завдяки імпорту з Китаю. І поки УАМ бореться з контрафактною продукцією,
меблеві інтернет магазини пропонують продукцію, якої, часом, немає на складі.
Все більше інтернет магазинів працюють з компанії-імпортерами без
безпосередньої поставки меблів, тобто отримуючи заявку на покупку, вони просто
пересилають її дилера, від імені якого і доставляється товар. З одного боку,
кінцевого покупця все-одно від кого буде доставлений товар, з іншого, крім
переплати на 15-20%, покупець найчастіше чекає 3-5 тижнів чергової поставки.
Прогноз до кінця 2012 року:
- Все буде дорожчати -
меблевий ринок України стоїть на порозі чергового витка розвитку, в точці, де
платоспроможний попит відстає від пропозиції.
- Більшість компаній
знаходиться в стані очікування, не поспішаючи інвестувати в нові проекти.
- Великі компанії
будуть оптимізувати свою діяльність і виробництво, адаптуватися до нових правил
і будуть шукати нові ринки збуту за кордоном.
- Виробники будуть
боротися за стримування зростання витрат. Собівартість виробу буде як ніколи
важлива.
- З’являться нові
виробництва. Те, що стане невигідно імпортувати - почнуть виробляти в Україні.
- Дрібні компанії та
приватні меблевики підвищать інтенсивність праці або «підуть у тінь».
- Найбільш активно
будуть розвиватися меблеві компанії, безпосередньо пов’язані з «безпроблемним»
імпортом фурнітури та ДСП, а також компанії в містах-мільйонниках: Києва,
Дніпропетровська, Донецька.
- Завдяки розвитку
перевізників (транспортних агентств) і доступності інтернету стає набагато
простіше купувати необхідну меблеву комплектацію, тому будуть розвиватися
виробники меблів і в малих містах, де раніше продавали тільки готові меблі.
- Частка он-лайн
продажів з подальшою пересилкою по Україні може вирости до 10% загального
обсягу ринку [6].
Таким чином, більшість компаній в
Україні знаходяться в стані очікування, не поспішаючи інвестувати в нові
проекти. До кінця 2012 року частка он-лайн продажів з подальшою пересилкою по
Україні може вирости до 10% загального обсягу ринку. На даний час основний
виробник меблевих комплектуючих для всього світу - Китай. І це незважаючи на
те, що назви залишаються італійські, німецькі, австрійські - тих країн, чия
фурнітура традиційно одна з кращих в світі.
1.2 Критерії та
фактори конкурентоспроможності меблевої фурнітури
Конкурентоспроможність
товару є головною умовою конкурентоспроможності фірми на ринку і важливою
основою прибутковості її діяльності. Найчастіше під конкурентоспроможністю
товару мають на увазі:
ü властивість
(сукупність властивостей) товару та його сервісу, яка характеризується ступенем
реального або потенційного задоволення ним конкретної потреби, порівняно з
аналогічними товарами, представленими на цьому ринку;
ü характеристику
товару, що відображає його відмінність від товару-конкурента за ступенем
відповідності конкретній суспільній потребі та за витратами на її задоволення;
ü спроможність
товару відповідати вимогам даного ринку у період, що аналізується;
ü здатність
витримувати конкуренцію на ринку (наявність вагомих переваг над виробами інших
товаровиробників) [7].
Продукт у процесі
відтворення проходить чотири стадії: виробничу, розподілу, обміну і споживання.
Оскільки розподіл і обмін як фази відбуваються у процесі продажу, у табл. 1.1
наведено фактори конкурентоспроможності за трьома сферами проходження продукту
[8].
Таблиця 1.1 Фактори
конкурентоспроможності товару за стадіями відтворення продукту
|
Стадії відтворення продукту
|
Фактори
|
|
Виробнича стадія
|
ü Технічні: якість, міцність,
надійність, безпечність. ü Економічні:
матеріаломісткість, енергоспоживання, габарити, об’єм, вага, концентрація. ü
Естетичні: художня виразність та колорит,
раціональна організація форми, цілісність композиції. ü Екологічні:
вплив на природне та предметне середовища.
|
|
Стадії відтворення продукту
|
Фактори
|
|
ü Експлуатаційні: простота
користування (приготування), комфортність, ремонтопридатність, зручність в
експлуатації
|
|
Стадія продажу
|
ü Споруда крамниці: інтер’єр,
ергономічні умови ü Процес
продажу: кваліфікація персоналу, швидкість обслуговування, знання іноземних
мов ü Сервіс у процесі продажу:
консультація персоналу, доставка, підгонка, монтаж, установка на місці. ü
Гуртовий продаж: франчайзинг, мерчендайзинг,
фірмова мережа, дистриб’ютори ü Умови
контракту: ціна, знижка, система оплати ü Законодавство
з регулювання обміну: мито, податки, дотації, правовий захист товару
|
|
Споживання, користування
|
ü Сервіс у процесі
користування, споживання: мережа пунктів ремонту та гарантійного
обслуговування ü Післяпродажний
період: використання за повторним призначенням, продовження експлуатації
через оновлення
|
|
|
|
Як видно з основних
критеріїв конкурентоспроможності товарів які представлені у дод. А, більшість
складових конкурентоспроможності походять з виробничої сфери і тільки певна їх
частина - з торговельної.
За великої
кількості факторів конкурентоспроможності товару на ринку, пріоритетну роль
відіграють наступні:
1) корисність для
потенційного покупця (споживча вартість або здатність задовольнити вимоги, що
пред’являються до даного типа і виду товару з боку споживача); інноваційність
продукції;
2) ціна товару
(при рівній корисності покупець віддасть перевагу дешевшому товару, але може
придбати і дорожчий товар, якщо він виявиться для нього кориснішим; виняток -
престижні або статусні товари, придбання яких необхідне для підтримки певного
соціального статусу покупця).
Таблиця 1.2
Критерії конкурентоспроможності послуг та їх характеристика
|
Критерії
|
Характеристика
|
|
Результату виконання послуги
|
Критерій регламентований стандартами на
матеріальні послуги. Результативність окремих груп послуг визначають: послуги
хімчистки - чистота виробу, збереження його форми, належна відпрасованість
тощо; транспортної послуги - прибуття за розкладом, чіткість і розбірливість
оголошення зупинок; послуги торгівлі - якість та асортимент товарів, що
реалізується. Для оцінки результату виконання соціально-культурних послуг
(припустимо, освітніх) думки споживача (що вчиться, студента) недостатньо.
Потрібна участь експертів і застосування спеціальних стандартів (наприклад,
державних освітніх стандартів). При оцінці критерію необхідно звертати увагу
не лише на величину споживчого ефекту послуги, але і на стабільність рівня її
якості (наявність діючої і сертифікованої системи якості в організації сфери
послуг).
|
|
Умов обслуговування
|
Критерій визначається матеріально-технічною
базою організації і набором послуг, які вона надає. Він повинен охоплювати
лише ті послуги, які створюють зручності споживачу (організація і створення
місць відпочинку в приміщенні магазина, прийом і зберігання речей покупців
тощо). Вимоги до матеріально-технічної бази як чиннику безпеки послуги регламентовані
стандартами безпеки праці, будівельними, санітарними нормами і правилами і
іншими обов’язковими нормами. Вимоги до умов обслуговування однотипні для
всіх груп послуг. Вимоги до категорії сфери послуг (зоряність, клас, розряд і
ін.) можуть встановлюватися в стандартах на класифікацію підприємств
(наприклад, готелі) або в стандартах загальних технічних умов (послуги
перукарень).
|
|
Культури обслуговування
|
Критерій регламентований спеціальними
стандартами, що визначають вимоги до обслуговуючого персоналу. Особливу роль
він відіграє у забезпеченні якості і конкурентоспроможності послуг торгівлі і
громадського харчування. Культура обслуговування залежить від майстерності
обслуговуючого персоналу в широкому розумінні цього терміну.
|
|
Доступності послуги
|
Критерій включає затрати грошових коштів і
часу. Витрати, що передують обслуговуванню, значно перевершують затрати часу
клієнта на безпосередній контакт з виконавцем послуги, досягаючи
співвідношення 20:1. Оцінка затрат часу при обслуговуванні не може бути однозначною:
великі затрати часу на очікування прийому оцінюються споживачем негативно, а
на контакт з лікарем - позитивно; великі витрати часу на консультацію з
продавцем-консультантом оцінюються покупцем позитивно, а на очікування в
черзі до продавця-касира -негативно.Не всі витрати часу повинні відображатися
в критерії доступності (втрати часу на очікування прийому лікаря можуть бути
враховані як в критерії умов обслуговування, так і в критерії доступності
послуги). Важливо уникнути подвійного рахунку і врахувати цю характеристику у
складі лише одного критерію.
|
|
|
|
Критерій
конкурентоспроможності товару - це якісна та (або) кількісна характеристика
продукції, що виступає основою для оцінки її конкурентоспроможності.
За результатами
аналізу літературних джерел і стандартів виділені критерії (показники)
конкурентоспроможності послуг, характеристика яких наведена в табл. 1.2 Перші
три критерії визначають корисність послуги, причому перелік одиничних
показників першого критерію специфічний для кожної групи послуги, а зміст
другого і третього критеріїв у принципі ідентичний для всіх груп послуг [9].
Оцінка
конкурентоспроможності продукції західними науковцями здійснюється з
урахуванням таких критеріїв:
1) ступінь новизни
товару; якість його виготовлення; наявність матеріальної бази для поширення
інформації про товар, можливість стимулювання збуту, включаючи рекламу;
можливості пристосування товару до вимог конкретного ринку; фінансові умови;
динамізм збуту і здатність швидко реагувати на успіхи ринку - підхід експертів
Паризької торгово-промислової палати;
2) цінові
показники (продукція вважається конкурентоспроможною, якщо її продажна ціна,
дизайн і якість не поступаються аналогам, представленим на ринку); порівняльна
вартість (порівняльна вартість одиниці праці в обробній промисловості
порівнюваних країн, підрахована в одній валюті); порівняльна прибутковість (чим
вищі прибутки мас компанія від своїх експортних операцій, тим вищим є рівень
конкурентоспроможності її продукції, тобто показником є норма прибутку компанії)
- підхід англійських економістів [10-14].
Таким чином,
конкурентоспроможність товару є головною умовою конкурентоспроможності фірми на
ринку і важливою основою прибутковості її діяльності. Найчастіше під
конкурентоспроможністю товару мають на увазі: властивість товару та його
сервісу, яка характеризується ступенем реального або потенційного задоволення
ним конкретної потреби, порівняно з аналогічними товарами, представленими на
цьому ринку.
.3 Вимоги до якості
меблевої фурнітури
Меблева фурнітура є
невід’ємною частиною меблів, які в свою чергу є невід’ємною частиною людського
житла. Тому, перш за все, меблева фурнітура повинна бути безпечною для здоров’я
людини. Але якість меблевої фурнітури залежить не тільки від безпечності, але й
від рівня конструкторської розробки, нормативно-технічної рекомендації,
організації виробництва, якості сировини та вихідного матеріалу, які повинні
відповідати вимогам стандарту ДСТУ 2259-93 Фурнітура меблева. Загальні технічні
умови [15].
Матеріали для
виробництва фурнітури повинні бути дозволені до застосування Міністерством
охорони здоров’я України. Вироби мають постачатися комплектно згідно з
конструкторською документацією або за угодою на постачання між виготовлювачем і
користувачем.
Технічні вимоги.
Поверхні виробів, що прилягають до поверхонь меблів, неповинні мати виступів
висотою понад 0,7 мм, за винятком конструктивних елементів функціонального
призначення, які підлягають заглибленню в меблеві вироби. Рухомі з’єднання
виробів (наприклад завіси чи кронштейни) повинні працювати без перешкод під час
пересування з однієї вихідної позиції в іншу. Металеві елементи фурнітури не
повинні мати безпосереднього дотику зі склом вони також повинні мати захисні чи
захисно-оздоблювальні покриття [15] або інші види покриттів(табл. 1.3).
Таблиця 1.3 Вимоги
до якості матеріалів для виготовлення меблевої фурнітури
|
Матеріал деталі
|
Матеріал зовнішнього шару покриття
|
Найменша товщина зовнішнього покриття, мкм
|
|
|
одношарове покриття
|
багатошарове покриття
|
|
Сталь
|
Цинк
|
6
|
3
|
|
Нікель
|
6
|
3
|
|
Мідь
|
6
|
3
|
|
Мідь з оксидною плівкою
|
6
|
6
|
|
Мідь
|
Оксидна плівка
|
Не контролюється
|
Не контролюється
|
|
Пасивна плівка
|
Не контролюється
|
Не контролюється
|
|
Нікель чорний
|
1
|
1
|
|
|
одношарове покриття
|
багатошарове покриття
|
|
Сплави алюмінію
|
Нікель
|
6
|
3
|
|
Хром
|
3
|
3
|
|
Анодно-оксидна плівка
|
Не контролюється
|
Не контролюється
|
|
Цинкові сплави
|
Нікель
|
3
|
3
|
|
Хром
|
3
|
1
|
|
Мідь
|
3
|
3
|
|
Мідь з оксидною плівкою
|
3
|
3
|
|
Латунь
|
3
|
3
|
|
Латунь з оксидною плівкою
|
3
|
6
|
|
Нікель чорний
|
3
|
1
|
Фурнітура, яка
виготовляється з полімерних матеріалів може мати захисно-оздоблювальні покриття
згідно з табл. 1.4.
Вироби, що мають
зовнішній шар електролітичних і хімічних покриттів з міді, латуні, чорного
нікелю або у вигляді оксидної плівки без наповнення, покриття, що нанесені на
зовнішню поверхню виробів вакуумно-металізаційним способом, повинні бути
додатково захищені прозорими лаками, марки яких визначає конструкторська
документація.
До кожного виду
фурнітури свої технологічні вимоги, адже фурнітура може бути лицьовою чи
кріпильною, яка ні робить ні якої роботи, та може бути рухомою, наприклад
завіси, частини яких постійно змушені рухатись щоб відкривати чи закривати
елементи меблів.
Таблиця 1.4Вимоги
до якості меблевої фурнітури для полімерних матеріалів
|
Матеріал деталі
|
Матеріал зовнішнього
шару покриття
|
Найменша товщина
зовнішнього покриття, мкм
|
|
|
одношарове
|
багатошарове
|
|
Полімерні матеріали
|
Нікель Мідь Латунь Нікель чорний Хром
Алюміній
|
Не контролюється Не контролюється Не
контролюється Не контролюється Не контролюється
|
3 3 3 1 1
|
Показники та нормативи жорсткості,
міцності та тривкості завіс наведені в табл. 1.5.
Таблиця 1.5 Вимоги до жорсткості,
міцності та тривкості завіс
|
№ пор.
|
Вид виробу
|
Основне призначення виробу
|
Найменування показника
|
Значення нормативу
|
|
1
|
Завіси всіх видів
|
Кріплення дверей з вертикальною віссю
обертання
|
Жорсткість, не більше, мм
|
1
|
|
Завіси всіх видів
|
Те саме
|
Тривалість цикл, не менше
|
40 000
|
|
2
|
Чотиришарнірні завіси
|
-//-//-
|
Міцність цикл, не менше
|
10
|
|
3
|
Чотирипарні завіси фіксуючі
|
-//-//-
|
Зусилля відкривання, Н
|
0,1-0,7
|
|
4
|
Завіси всіх видів
|
Кріплення дверей з горизонтальною віссю
обертання
|
Міцність, не більше, Н
|
25
|
|
Завіси всіх видів
|
Те саме
|
Тривалість цикл, не менше
|
20 000
|
В трубчастих завісах має бути щільне
прилягання повздовжнього ребра трубки до суміжної частини деталі, з якої
сформована трубка. Допущений повздовжній шлюз не повинен перевищувати 1,0 мм.
Механізми всіх видів для
трансформування диванів-ліжок, крісел-ліжок, диванів-тахт та ліжок повинні
витримувати 6 000 циклів переміщення з однієї вихідної позиції в іншу.
Конструкція стяжок повинна
забезпечувати можливість з’єднання елементів меблів і створення тривалого
стяжного зусилля.
Блоки клямрів, які сформовано за
допомогою клею, повинні мати довжину від 50 до 120 мм. На їх поверхнях
неприпустимі напливи і патьоки клею. Допущене відхилення від площинності на
поверхнях блоків клямрів не має перевищувати 0,3 мм на довжині 100 мм.
Площина торця блоку клямрів повинна
бути перпендикулярною до інших поверхонь блоку. Допущене відхилення від
перпендикулярності в межах ±10. Блоки клямрів повинні зберігати цілісність під
час їх вільного падіння на деревяну поверхню з висоти не менш ніж 250 мм.
Показники експлуатаційного зусилля й
тривкості фіксаторів усіх видів наведені в табл. 1.6.
Таблиця 1.6 Показники
експлуатаційного зусилля й тривкості фіксаторів
|
Категорія експлуатаційного зусилля фіксаторів
|
Найменування показника та його значення
|
|
Фіксуюче зусилля, даН
|
Цикл, не менше
|
|
Легка
|
2,0+0,2
|
40 000
|
|
Середня
|
3,0+0,2
|
40 000
|
|
Важка
|
4,5+0,3
|
40 000
|
У магнітних фіксаторах металеві
складові частини повинні мати можливість переміщення в напрямі, що забезпечує
їх взаємний дотик під час експлуатації меблів.
Показники міцності та тривкості
замків і ключів наведені в табл. 1.7.
Таблиця 1.7 Вимоги до міцності та
тривкості замків і ключів
|
Найменування показника
|
Характеристика
|
Значення нормативу
|
|
Міцність замка
|
Послідовне докладання зусиль до засуву замка,
які протидіють його замиканню, не менше, даН
|
3
|
|
Послідовне докладання зусиль до засуву замка,
спрямованих перпендикулярно замикальній поверхні засуву, не менше, Н
|
5
|
|
Докладання до замка зусиль, спрямованих вздовж
осі стержня ключа перпендикулярно кріпильній поверхні замка, не менше, Н
|
30
|
|
Тривкість замка
|
Цикл, не менше
|
2 500
|
|
Міцність ключа
|
Докладання до стрижня ключа зусиль,
спрямованих вздовж осі стержня, не менше, даН
|
20
|
|
Докладання до стрижня ключа зусиль,
спрямованих перпендикулярно його осі, не менше, Н
|
10
|
Показники експлуатаційного зусилля й
тривкості фіксаторів усіх видів наведені в табл. 1.8.
У магнітних фіксаторах металеві складові
частини повинні мати можливість переміщення в напрямі, що забезпечує їх
взаємний дотик під час експлуатації меблів.
Кронштейни. Показники міцності
кронштейнів наведені в табл. 1.8.
Таблиця 1.8 Вимоги до якості
кронштейнів
|
Вид виробу
|
Основне призначення виробу
|
Найменування показника
|
Значення показника, не менше
|
|
Кронштейн без гальма
|
Утримання дверей з горизонтальною віссю
обертання, одна з поверхонь яких може використовуватись як робоча
|
Міцність, Н
|
30
|
|
Кронштейн з гальмом
|
Те саме
|
Тривкість, цикл
|
10 000
|
|
Гнучкі кронштейни
|
-//-
|
Міцність, Н
|
30
|
|
Кронштейн з фіксатором
|
Фіксація та утримання дверей з горизонтальною
віссю обертання
|
Те саме
|
15
|
|
Кронштейни-тримачі
|
Встановлення полиць
|
-//-
|
30
|
|
Кронштейни-гнізда
|
Встановлення та фіксація стаціонарних штанг
|
-//-
|
40
|
Ручки всіх видів мають витримувати
навантаження не менше 30 даН. Рухомі елементи ручок під час експлуатації не
повинні мати дотику з поверхнею меблевого виробу.
У конструкціях меблів з’єднання
шурупами використовують і як самостійний спосіб кріплення деталей, і як
додатковий. Деталі, які з’єднуються, попередньо змазують клеєм. Останній спосіб
застосовують у тих випадках, коли міцність кріплення одними шурупами
недостатня, наприклад для деталей, що працюють при перемінних навантаженнях.
З’єднання шурупами із шестигранною
головкою застосовують як самостійний вид кріплення елементів, що несуть
підвищені навантаження при експлуатації.
Міцність кріплення шурупами залежить
від здатності деревних матеріалів утримувати їх. На опір, що деревні матеріали
роблять висмикування шурупів, впливають різні фактори. При конструюванні
звичайно враховують вид матеріалу, у який шуруп увертається, діаметр шурупа і
глибину його укручування.
Здатність деревини утримувати шурупи
залежить від її породи й об’ємної ваги. З підвищенням об’ємної ваги опір
деревини висмикуванню шурупів збільшується.
Зі збільшенням діаметра шурупа і
глибини його укручування опір висмикуванню підвищується. Так, наприклад, при
діаметрі шурупів від 3 до 5 мм опір їхньому висмикуванню з тришарових плит ДВП
збільшується на 3-5 кг зі збільшенням діаметра шурупа на кожні 0,5 мм. При
глибині укручування від 5 до 15 мм опір висмикуванню зростає в середньому на
15-30 кг на кожні 5 мм глибини. Це необхідно враховувати при конструюванні.
Якщо обрана глибина вгвинчування шурупа не забезпечує необхідної міцності
кріплення і по конструктивних розуміннях не може бути збільшена, то варто
застосовувати шурупи більшого діаметра [16].
Довжина різьблення стрижня шурупа
повинна бути не менш глибина його вгвинчування. Тому при кріпленні тонких
пластин, наприклад деталей петель і стяжок, необхідно застосовувати шурупи з
різьбленням на всю довжину стрижня шурупа. Міцність кріплення петель, стяжок
шурупа, що мають різьблення на всю довжину стрижня, у середньому на 25-30% вище,
ніж шурупами тих же розмірів, але з різьбленням не на всю його довжину.
Під шуруп у деталях, у яких він
угвинчується, попередньо просвердлюють гніздо, а в деталі, що прикріплюються
шурупом, - отвір. Діаметр гнізда повинний дорівнювати внутрішньому діаметрові
різьблення шурупа. У випадку місцевого зміцнення діаметра гнізда в плиті
повинний дорівнювати 0,85 діаметра шурупа.
Глибина гнізда повинна дорівнювати
довжині частини шурупа, що угвинчується. Діаметр отвору в деталі, яка
прикріплюється, повинний дорівнювати або на 0,5 мм більше діаметра шурупа. Під
потайну головку шурупа роблять зенківку глибиною на 0,5-1 мм більше висоти
головки шурупа.
До виробів меблевої фурнітури
вітчизняного виробника під час їх реалізації висуваються вимоги до маркування
та пакування.
Вироби повинні мати товарний знак
підприємства-виготовлювача. Товарний знак вказується безпосередньо на виробі
або в супроводжувальній документації. Місце розташування товарного знака
визначає конструкторська документація.
Вироби, які мають градацію фізико-механічних
показників, повинні мати маркування категорії несучої здатності: легка - «Лг»,
середня - «С», важка - «В». місце розташування визначає конструкторська
документація. Вироби, які мають праве і ліве виконання, повинні мати маркування
«Пр» та «Л».
Пакети клямрів рекомендується щільно
укладати в жорсткі коробки з найбільшими внутрішніми розмірами 170х100х50 мм і
наступним щільним укладанням коробок у ящики № 17 - згідно з ГОСТ 15341, що
вистелені папером А-25 ГОСТ 8828.
Матеріали та конструкція тари,
спосіб та засоби пакування повинні забезпечувати цілісність виробів.
На кожній одиниці тари має бути
ярлик, який містить: найменування виготовлювача, його товарний знак, адресу
виготовлювача, найменування та позначення виробу, позначення цього стандарту,
кількість виробів або комплектів, масу - вагу (брутто), штамп служби технічного
контролю.
У кожну пакувальну одиницю з
виробами повинен бути вміщений пакувальний ярлик із даними перерахованими вище.
Виготовлення фурнітури повинно
здійснюватись в умовах, які забезпечують виконання норм і правил безпеки.
Вироби подають до приймання
партіями. Партія - це сукупність виробів одного найменування і позначення,
оформлених єдиним супроводжувальним документом.
Випробуванням піддають вироби,
відібрані від партії в кількості не менше 12 штук. Періодичним випробуванням
підлягають вироби, які пройшли приймально-здавальні випробування. В разі
виявлення в результаті випробувань невідповідності виробів вимогам стандарту
хоча б одному з показників, необхідно провести повторну перевірку подвійної
кількості виробів за цими показниками. Якщо після цього в будь-якому з виробів
будуть виявлені невідповідності вимогам стандарту, вся партія бракується.
Типовим випробуванням підлягають
вироби, в конструкцію або технологію виготовлення яких внесені зміни. Програму
випробувань визначає виготовлювач і узгоджує з головною організацією.
При виявлені, внаслідок випробувань,
у будь-якому з виробів невідповідності вимогам стандарту ДСТУ 2260-93, вироби
до виробництва не допускаються [16].
Під час реалізації продукції та
зберігання фурнітури до неї висуваються наступні вимоги:
- транспортування
виробів може здійснюватись будь-яким видом транспорту при умові захисту їх від
механічних пошкоджень і несприятливих кліматичних умов;
- вироби повинні
зберігатись в упакованому вигляді в закритих вентильованих приміщеннях при
відносній вологості не більше 60%;
- пластмасові вироби
повинні зберігатися в закритих приміщеннях при температурі не нижче +5◦С
на відстані не менше 1 м від опалювальних приладів.
Після реалізації продукції
виготовлювач повинен гарантувати відповідність виробів вимогам стандарту ДСТУ
2259-93 при додержанні умов їх транспортування, експлуатації та
зберігання(протягом 24 місяців від дня продажу виробів).
Якщо користувач виявить у виробах
дефекти виробничого характеру, виготовлювач повинен у місячний термін здійснити
заміну неякісної продукції .
.4 Класифікаційні
ознаки та асортимент меблевої фурнітури
Фурнітура - допоміжні матеріали, що
застосовуються в якому-небудь ремеслі при його виготовленні. Якщо в стародавні
часи меблі виготовляли з деревини із частковим застосуванням металевих виробів,
то в теперішні часи виготовлення меблів без застосування фурнітури немислиме. У
сучасних виробах вона перетворилась в цілі конструктивні вузли
багато-функціонального призначення. Фурнітура виготовляється з деревини, різних
металів і пластмас, або в комбінації цих матеріалів в одному виробі. Важливим
показником якості сучасної фурнітури також є її міцність і довготривалість
служби. Класифікація сучасної меблевої фурнітури зображено на рис. 1.1 [17].
Рис. 1.1. Класифікація сучасної
меблевої фурнітури
Кріпильна фурнітура призначена для
нерухомого або рухомого з’єднання між собою складальних одиниць і деталей
меблевого виробу.
Функціональна фурнітура - для
покращення утилітарних (практичних) властивостей меблевих виробів.
Опоряджувальна фурнітура - для оздоблення або декорування меблевих виробів.
Дизайнери і конструктори меблевої фурнітури безперервно її оновлюють,
удосконалюють або пропонують нові взірці, які підвищують комфортні властивості
меблів. Особливо це стосується лицевої фурнітури, яка знаходиться в полі зору
споживача і впливає на загальний вигляд меблевого виробу. Необхідно зазначити,
що багато підприємств і фірм створюють нові й більш досконалі взірці фурнітури,
тому проектантам, конструкторам та виробникам меблів необхідно стежити за цими
новинками і своєчасно застосовувати в своїй практиці.
Сучасні види фурнітури, такі як
шухляди, опори, ручки та ін. є готовими деталями і складальними одиницями
виробів. При їх виготовленні, на сьогоднішньому етапі, повністю замінюють такі
традиційні матеріали як деревина і її модифікації. Нові проектні рішення
вимагають нетрадиційних і конструктивних рішень. Прикладом такого проектного
рішення є заповнення пройми стінкою-екраном. Така стінка створює фон для
установки домашнього кінотеатру або демонстрації цікавих предметів побуту.
Класифікація
меблевої фурнітури за УКТЗЕД наведено в табл. 1.9-1.10
Таблиця 1.9
Класифікація меблевої фурнітури за УКТЗЕД
|
8301
|
Замки висячi i врiзнi (такi, що замикаються
ключем, кодові, електричнi або неелектричні), з недорогоцiнних металiв;
засувки та рами із засувками, об’єднанi із замками, з недорогоцiнних металiв;
ключi до цих виробiв з недорогоцiнних металiв:
|
|
8301 10 00
00
|
- замки висячi
|
|
8301
20 00
|
- замки, що використовуються у моторних
транспортних засобах:
|
|
8301
20 00 10
|
- - для промислового складання моторних
транспортних засобів
|
|
8301
20 00 90
|
- - інші
|
|
8301
30 00 00
|
- замки, що використовуються у меблях
|
|
8301
40
|
- iншi замки:
|
|
- - замки, що використовуються для дверей
будiвель:
|
|
8301
40 11 00
|
- - - цилiндровi
|
|
8301
40 19 00
|
- - - iншi
|
|
8301
40 90 00
|
- - iншi замки
|
|
8301
50 00 00
|
- засувки та рами із засувками, об’єднанi iз
замками
|
- частини:
|
|
8301
60 00 10
|
- - для промислового складання моторних
транспортних засобів
|
|
8301
60 00 90
|
- - інші
|
|
8301
70 00 00
|
- ключi, поданi окремо
|
До неї також входять електричні
замки (наприклад, для вхідних дверей багатоквартирних будинків або для дверей
ліфтів). Ці замки можуть працювати, наприклад, за допомогою введення в них
магнітної картки, набору кодової комбінації на електронних кнопках або
радіохвильового сигналу. До цієї товарної позиції також включаються спеціальні
ключі від купе залізничних вагонів, відмички і т.п.
Таблиця 1.10
Класифікація
меблевої фурнітури за УКТЗЕД
|
8302
|
Арматура крiплення, фурнітура та аналогічнi
вироби з недорогоцiнних металiв, що використовуються для меблiв, дверей,
сходiв, вiкон, вiконниць, у салонах транспортних засобiв, для лимарських
виробiв, валiз, ящикiв, скриньок та аналогiчних виробiв; кронштейни, вiшалки
для одягу, капелюхiв, пiдставки та аналогiчнi вироби з недорогоцiнних
металiв; ролики з арматурою з недорогоцiнних металiв; замикальнi пристрої для
автоматичних дверей з недорогоцiнних металiв:
|
|
8302 10 00
|
- завіси:
|
|
8302
10 00 10
|
- - для цивільної авіації
|
|
8302
10 00 90
|
- - інші
|
|
8302
20 00
|
- ролики:
|
|
8302
20 00 10
|
- - для цивільної авіації
|
|
8302
20 00 90
|
- - інші
|
|
8302
30 00
|
- інша арматура кріплення, фурнітура та
аналогiчнi вироби для автотранспортних засобiв:
|
|
8302
30 00 10
|
- - для промислового складання моторних
транспортних засобів
|
|
8302
30 00 90
|
- - інші
|
|
- інша арматура кріплення, фурнітура та
аналогiчнi вироби:
|
|
8302
41 00
|
- - для використання у будiвлях:
|
|
8302
41 00 10
|
- - - арматура, деталі кріплення та аналогічні
вироби, що використовуються в будівлях для зачинення вікон з поворотною та
поворотно-відкидною ступкою
|
|
8302
41 00 90
|
- - - інші
|
|
8302
42 00
|
- - iншi, для меблiв:
|
|
8302
42 00 10
|
- - - для цивільної авіації
|
|
8302
42 00 90
|
- - - інші
|
|
8302
49 00
|
- - інші:
|
|
8302
49 00 10
|
- - - для цивільної авіації
|
|
8302
49 00 90
|
- - - інші
|
|
8302
50 00 00
|
- полицi, вiшалки, у тому числi для капелюхiв,
та аналогiчнi вироби
|
|
8302
60 00
|
- автоматичнi пристрої для зачинення дверей:
|
|
8302
60 00 10
|
- - для цивільної авіації
|
|
8302
60 00 90
|
- - інші
|
До цієї товарної позиції включаються
допоміжна арматура та кріплення загального призначення з недорогоцінних
металів, які широко використовуються в меблях, дверях, вікнах, кузовах і т.п.
Товари в рамках таких загальних класів залишаються в цій товарній позиції,
навіть якщо вони призначені для особливого використання. Таким чином, меблева
фурнітура - це кілька десятків тисяч найменувань виробів використовуваних при
виготовлені меблів. За допомогою фурнітури забезпечується рухоме і нерухоме
з’єднання деталей меблів, взаємодія меблів з людиною і його житлом. У
галузевому стандарті «Фурнітура меблева. Загальні технічні вимоги» наведено
класифікацію виробів меблевої фурнітури, яка включає в себе більше 110 її
видів. Це лицьова і кріпильна фурнітура, різні петлі, стяжки, утримувачі полиць
і дзеркал, засувки, ручки, а так само декоративні елементи, механізми
трансформації колісні і поворотні опори, що направляють
РОЗДІЛ 2. ОЦІНКА
КОНКУРЕНТОСПРОМОЖНОСТІ МЕБЛЕВОЇ ФУРНІТУРИ ТОВ «ДРУЖБА»
2.1 Організація, об’єкти та методи
досліджень
Товарознавча оцінка меблевої
фурнітури досліджувалась на фабриці ТОВ «Дружба». ТОВ «Дружба» на ринку
продавців комплектуючих для виробництва меблів та фурнітури з’явилась в 1988 р.
Дане товариство знаходиться за
адресою м. Бровари, вул. Залізнична 5, довідки за телефоном (04594) 5-11-94.
Офіс даної фірми та склад
знаходяться поряд. Це дуже зручно для покупця, тобто в офісі покупець може
отримати документи та оплатити товар, а потім піти та отримати товар. Фабрика
займається як роздрібною торгівлею, так оптовою.
Предметом діяльності підприємства є:
- реалізація товарів
народного споживання;
- проведення
комерційної, маркетингової діяльності;
- надання
транспортних послуг юридичним та фізичним особам;
- здійснення
зовнішньоекономічної діяльності.
Дана фабрика є юридичною особою, має
самостійний розрахунковий рахунок, печатку зі своєю назвою, кутовий штамп,
зареєстрований фірмовий знак.
Управління фірмою здійснюють
акціонери, які мають найбільший пакет акцій, до їх компетенції входять:
- внесення пропозицій
про зміни в Статуті, статутному фонді;
- контроль за
фінансовою діяльністю;
- призначення
посадових осіб;
- затвердження річних
результатів діяльності підприємства;
- визначення умов
оплати посадових осіб товариства.
На фірму приходять
різноманітні покупці - це жінки, чоловіки.
По відношенню до
нових товарів:
○
суперноватори - 10%;
○ новатори -
10%;
○ звичайні
покупці - 40%;
○
консерватори - 25%;
○
суперконсерватори - 15%.
По відношеню до
цін:
○ економічні
- 20%;
○ етичні -
35%;
○
персонофіцировані - 30%;
○ апатичні -
15%.
На ринку меблевої
фурнітури України, крім ТОВ «Дружба», є 10 підприємств, що виробляють
різноманітний асортимент фурнітури. Але підприємство «Дружба» виробляє і продає
фурнітуру аналогічну тільки підприємствам «Integua» і ТОВ «Смартт», отже
оцінимо продукцію цих підприємству пункті 2.4
Для дослідження
показників якості обрано групу комплектуючих для виробництва меблів - це
фурнітура. Дану групу обрано, тому що асортимент дуже широкий, має специфіку у
продажі та якості.
Досліджувані
показників якості меблевої фурнітури дадуть змогу з’ясувати на скільки
досліджувані зразки фурнітури за допомогою фізико-механічних випробувань
відповідають нормативно-технічній документації, а саме ДСТУ 2259-93 Меблева
фурнітура. Загальні технічні вимоги.
Добір зразків для
проведення випробувань здійснюють - згідно з ДСТУ 2259.
Усі випробування
проводяться в приміщеннях з відносною вологістю повітря від 45 до 75% і
температурою повітря від 15° до 20°С.
Випробування завіс,
крім безперервних, механізмів трансформування, напрямних, призначених для
переміщення шухляд у корпусних меблях, та кронштейнів-гнізд здійснюють парами.
Під час випробувань
тривкості неприпустиме нагрівання внаслідок тертя виготовлених із полімерних
матеріалів складових частим виробів до температури понад 60°С. У цих випадках
випробування тимчасово зупиняють з метою місцевого охолодження.
Контроль
температури здійснюють відповідними приладами, а у разі неможливості цього -
органолептичне. Після природного або штучного охолодження нагрітих місць до
температури не вище 35°С випробування відновлюють.
Випробування завіс
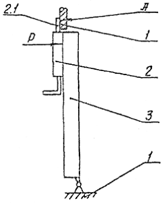
для кріплення дверей. Для випробування завіс використовують стенд 4 згідно рис.
2.1, який складається із щита 1.1 та закріпленого на ньому за допомогою двох
випробовуваних завіс 3, який імітує двері меблевого виробу.
Встановлення щита 3
відносно щита 1.1 на кут (177-179°) за допомогою упору 6.
Елемент
навантаження 5 циліндричної форми діаметром 50 мм.
Лінійка, згідно з
ГОСТ 427, або інший вимірювальний пристрій, який дозволяє вимірювати лінійні
розміри із похибкою +1 мм.
Пристрій для
вимірювання та контролю кутів обертання щита 3 із похибкою +2°.
Рис. 2.1. Стенд для
випробування завіс
Вимірюємо відстань
К від точки А до базової поверхні Б стенда 4 із похибкою +1 мм. Докладання до
щита навантаження Р = 25+1 Н, спрямованого у вертикальному напрямі. Під час
навантаження щита 3
вимірюємо відстань
К} від точки А до поверхні Б із похибкою +1 мм, підраховуємо
значення деформації.
Підраховуємо
значення К- К\:
К~ Ks =
350-320; К- Kj = 30 мм.
Отже результати
випробувань міцності завіс не перевищують граничних (за ДСТУ 2260-93, (К-
К{)< 50 мм) оцінюємо позитивно. Випробувальні завіси та місця їх кріплення
не мають ознак руйнувань та залишкових деформацій, які перевищують допущені
граничні відхилення їх розмірів.
Випробування
замків. Для випробування замків використовують стенд 1 згідно рис. 2.2
Рис. 2.2. Стенд для
випробування замків
Закріплюємо замок 2
до щита 3 згідно з конструкторською документацією замка. Вставляють ключ 1 в
замок 2. До поверхні А засува замка докладаємо зусилля Р, що має величину не
менше 5 даН і спрямовано перпендикулярно до поверхні А. Обертанням ключа
відчиняємо і зачиняємо замок п’ять разів. Зусилля Р знімаємо, замок зачиняємо і
до замка докладаємо зусилля Р], що має величину, не меншу 30 Н і спрямоване
перпендикулярно до поверхні В; зусилля Р] витримуємо на протязі 60 с. Після
випробувань засув 2.1, замка 2
фіксується у
крайніх вихідних положеннях, а замок зберігає працездатність. Замок відповідає
вимогам ДСТУ 2259-93.
Випробування
кронштейнів. Для випробування кронштейнів використовують стенд 1 згідно з рис.
2.3.
Рис. 2.3. Стенд для
випробування кронштейнів
Рухому складову
частину 2.2 випробуваного кронштейна 2 закріплюємо згідно з конструкторською
документацією кронштейна до рухомої складової частини 1.2 стенда 1.
Відводимо вручну
складову частину 1.2 у граничне положення у бік розтягнення кронштейна 2 із
похибкою 0,1 мм вимірюємо відстань К між нерухомою поверхнею А стенда 1 і
поверхнею Б рухомої складової частини 1.2 стенда 1.
До складової
частини 1.2 стенда 1 докладаємо зусилля Р, що має величину, не меншу 30 Н і
спрямоване у бік розтягнення кронштейна 2, витримуємо під навантаженням 15 хв.
Із похибкою в +0,1 мм, вимірюємо відстань К\ між поверхнями А та Б. За ДСТУ
2260-93 КГК не повинно перевищувати 0,8 мм.
Фактично КГК=
180,65-180; К,-К= 0,65 мм, що не перевищує гранично допустимий показник.
Випробувальні кронштейни не мають пошкоджень та руйнувань.[19;20]
Випробування
міцності кронштейнів з фіксатором. Для випробування кронштейнів використано
стенд 1 рис. 2.3.
Рухому, під час
експлуатації меблів, складову частину 3.2 випробовуваного кронштейна 3
закріплюємо згідно конструкторської документацією кронштейна до рухомої
складової частини 1.2 стенда 1.
Кронштейн 3
фіксуємо і відводимо вручну складову частину 1.2 у граничне положення у бік стискання
кронштейна 3 із похибкою 0,1 мм вимірюємо відстань К між нерухомою поверхнею А
стенда 1 і поверхнею Б рухомої складової частини 1.2 стенда 1.
До складової
частини 1.2 стенда 1 докладаємо зусилля Рь що має величину, не меншу
15 даН і спрямоване у бік стискання кронштейна 3; термін витримки кронштейна 3
під навантаженням 15хв.
Вимірюємо відстань
К] між поверхнями А та Б з похибкою + 0,1 мм. За ДСТУ 2260-93 /С/-7^не повинно
перевищувати 1,5 мм.
Фактично КГК=
180,43-180; КгК= 0,43 мм, що не перевищує граничне допустимий показник.
Випробувальні кронштейни не мають ознак пошкоджень та руйнувань. Досліджу
вальний зразок відповідає вимогам ДСТУ 2259-93. [19]
Випробування
тривкості кронштейнів з гальмом. Для випробування кронштейнів з гальмом
використовуємо стенд 3 згідно з рис. 2.4.
Рис. 2.4. Стенд для
випробування кронштейнів з гальмом
Макет 1
встановлюємо на пристрій 3 таким чином, щоб щити 1.1 знаходились у
вертикальному положенні, похибка, яка допускається +1°.
До щитів 1.1 макета
1 згідно з конструкторською документацією кріпимо чотири випробувальні
кронштейна 2. На випробувальні кронштейни встановлюємо платформу 4.
Витримуємо
навантаження на протязі 5 хв. Знімаємо навантаження та оглядаємо кронштейн.
Виріб не має ознак руйнувань та залишкової деформації, що перевищують допущені
граничні відхилення їх розмірів. Результати випробувань міцності кронштейнів
оцінюємо позитивно.
Випробування
міцності ручок. Для випробування ручок використовуємо пристрій 1 згідно з рис.
2.5
Рис. 2.5. Пристрій
для випробування ручок
Випробувану ручку
згідно з конструкторською документацією кріплять до пристрою 1.
До випробовуваних
ручок 2 послідовно докладають статичне навантаження Р величиною 30 Н. Навантаження
витримують на протязі не менше 5 хв. Після проведення випробувань ручки не
мають ознак руйнувань та залишкових деформацій, які перевищують граничні
відхилення їх розмірів. Результати випробувань міцності ручок оцінюємо
позитивно.
Випробування засувок.
Для випробування засувок використовуємо пристрій 1 згідно з рис. 2.6
Рис. 2.6. Пристрій
для випробування засувок
Нерухоме кріплення
випробовуваної засувки 2 згідно з конструкторською документацією. Засув
переводиться у положення «зачинено».
До засува 2.1
докладається зусилля Р, що спрямоване у бік відчинення засувки 2 і має величину
(0,4+0,02) Н; випробовування проводиться тричі.
До засува 2.1, що
знаходиться у положенні «зачинено», докладається зусилля Р2, що
спрямоване у бік відчинення засувки 2 і має величину (1,0+0,02) Н; засув 2.1
переводиться у положення «зачинено»; випробування проводять тричі.
До засува 2.1, що
знаходиться у положенні «відчинено», докладають зусилля Рз, що спрямоване у бік
зачинання засувки 2 і має величину (1,0±0,02) Н; засув переводять у положення
«відчинено»; випробування проводять тричі.
Під час випробувань
засув 2.1 при положенні «зачинено» засувки 2 залишається у нерухомому стані;
Під час випробувань
при положенні «зачинено» засув 2.1 засувки 2 переміщується з однієї вихідної
позиції в іншу.
Результати випробувань
зусилля переміщення засува оцінюємо позитивно.
Випробування
тривкості засувок. Для випробування тривкості засувок використовуємо пристрій 1
згідно з рис. 2.7.
Рис. 2.7. Пристрій
для випробування тривкості засувок
Стенд 1 згідно рис.
2.7 забезпечує:
- нерухоме
кріплення випробовуваної засувки 2 згідно із конструкторською документацією;
- циклічне
переміщення засуву 2.1 засувки 2 із однієї вихідної позиції в іншу у разі
випробування не пружинних засувок; циклічне навперемінне переміщення засуву 2.1
у положення «відчинено» та вплив на деталь (кнопку) 2.2, що сприяє повертанню
засуву 2. і під дією пружини у положення «зачинено»; частота циклів (20-25) хв
(цикл/хв); відрахування циклів за допомогою лічильника.
Закріплюють засувку
2. Засув 2.1 з’єднують із приводом 1.1 стенду 1. Лічильник циклів встановлюють
на нуль.
Включають стенд 1 і
здійснюють циклічне переміщення засува 2.1 із однієї вихідної позиції в іншу;
кількість циклів - згідно ДСТУ 2259.
Після проведення
випробувань засувки не мають пошкоджень або руйнувань. Результати випробувань
тривкості засувок оцінюємо позитивно.
Випробування
міцності засувок. Для випробування міцності засувок використовуємо стенд 1
згідно з рис. 2.8
Рис. 2.8. Пристрій
для випробування міцності засувок
Стенд 1 згідно рис
2.8 забезпечує:
кріплення засувок 2
до щита З, шарнірне з’єднаного із стендом; фіксування щита 3 відносно стенда 1
за допомогою випробовуваної засувки; вільне зачинення та відчинення засувки 2;
докладання до щита 3 зусилля Р, що має величину, не меншу ЗО даН, і спрямоване
перпендикулярно поверхні А засува 2.1; вимірювання навантажень із похибкою ±2%.
Закріплюють засувку
2 до щита 3 згідно з конструкторською документацією засувки.
За допомогою
засувки 2 фіксують щит 3 відносно стенду.
До щита 3
докладають зусилля Р, що має величину, не меншу 30 Н і спрямоване
перпендикулярно до поверхні А засува 2.1; зусилля Р витримують на протязі 60 с.
[15;16;20]
Отже, результати
випробувань міцності засувок оцінюють позитивно, якщо випробувані засувки
відповідають вимогам тривкості засувок і не мають пошкоджень або руйнувань.
Результати всіх випробувальних виробів мають позитивну оцінку. Це говорить про
те, що всі досліджувані зразки високої якості виготовлення.
2.2 Оцінка
споживних властивостей та якості меблевої фурнітури
Номенклатура
споживних властивостей і показників якості товарів дуже різноманітна. Наведена
номенклатура, по суті, визначає якісні характеристики товарів.
Отже, споживна властивість
- це комплексний показник, який характеризує властивості товару, що виявляються
в процесі споживання та пов’язанні з можливістю задоволення товаром деяких
суспільних чи особистих потреб відповідно до його призначення.
Властивості
товарів, що задовольняють певні потреби людини, завжди якісно визначенні і
виступають насамперед як функціональні. Крім того, споживчі властивості
характеризують соціальну значущість, практичну корисність, зручність
користування, естетичну досконалість, економічну ефективність і нешкідливість
товару.
Споживні
властивості поділяють на групи, підгрупи та інші категорії. На нижчих стадіях
класифікації знаходяться природні властивості (хімічні, фізичні,
фізико-хімічні) та показники конструкцій, що можуть бути безпосередньо змінені.
Споживні властивості характеризують такі показники:
. Показники
соціального призначення визначають відповідність товарів певного призначення
індивідуальним і суспільним потребам, та здатність товарів задовольняти ці
потреби в конкретних умовах споживання (експлуатації).
Отже, в даному
випадку меблева фурнітура повинно бути певного модного кольору - це срібній,
золотій та ін. Матеріал для меблевої фурнітури може бути будь-яким: деревина,
метал, пластмаса, скло, кераміка, тасьма і т.д. Зовнішні декоративні елементи
лицьової фурнітури можуть бути виконані з деревини листяних порід, скла,
кераміки. На металеву фурнітуру наносять захисне покриття, дерев’яну обробляють
лакофарбними матеріалами. Холодний, безживний метал і тепле, живе дерево -
вічні конкуренти в боротьбі за популярність, але в дизайнерських розробках вони
кращі друзі. Метал притягає своїм блиском, забарвлюючи його поверхню,
покриваючи її золотом або ретельно відполірував.
2. Функціональні
показники - це здатність товару (виробу) виконувати свої основні функції, тобто
корисність товару, використання товару за його призначенням, здатність
задовольняти потреби чи бути засобом для їх задоволення. Ці властивості є
найважливішими при оцінюванні якості товарів.
Функціональність
меблевої фурнітури забезпечує рухливість тієї чи іншої частини. До таких
елементів сьогодні можна віднести підйомні механізми, які зазвичай встановлюють
в шафах для одягу. Для звичайного зберігання верхнього одягу часто
використовують спеціальні штанги, які розташовуються в горизонтальному
положенні. Але сьогодні все більше затребувані штанги, які можуть переміщатися.
Це стало можливо тільки після винаходу та застосування в конструкціях шаф
підйомних механізмів, які діляться на дві категорії, в залежності від їх
конструкційних характеристик: механічні і гідравлічні.
Якщо підйомні
механізми застосовуються в меблях для того, щоб користуватися ними лише час від
часу, то ручки для дверей, ящиків і полиць різних видів меблів використовуються
постійно. Цей елемент має не тільки функціональними властивостями, що само по
собі дуже важливо, але і чисто дизайнерські якості. До речі, найголовніший
показник меблевої ручки - це максимальну зручність для людської руки. Щоб
добитися високого ступеня комфорту, компанії-виробники вдаються до допомоги
фахівців з антропометрії та ергономіки. Над конструкційними особливостями
меблевих ручок постійно працюють фахівці, які намагаються надати їм досконалу
форму і оптимальний розмір.
Фурнітура таких
фірм як Hettih (Німеччина) та Sevroll (Росія) є достатньо стійкими до
навантаження та майже довговічні, проте китайська фурнітура не стійка до
навантажень, іноді із-за маленької ніжки може зламатися вся конструкція.
3. Показники
надійності - здатність товару (виробу) виконувати свої функції, зберігаючи при
цьому експлуатаційні показники в часі у визначених межах. Показники надійності
в експлуатації характеризують їх здатність задовольняти потреби людини протягом
визначеного часу відповідно до заданих функцій.
Важливим показником
надійності сучасної фурнітури є її міцність і довготривалість служби.
4. Ергономічні
властивості задовольняють фізіологічні і/або психологічні потреби згідно з
певними характеристиками споживача. Залежно від цих характеристик ці
властивості поділяють на такі підгрупи: гігієнічні, антропометричні,
психологічні, психолого-фізіологічні.
5. Естетичні
властивості товару виявляють у чуттєво-сприйнятливих ознаках форми свою
суспільну цінність та соціально-культурну значущість і задовольнять естетичні
потреби людини.
(2)
Основними показниками
естетичних властивостей є інформаційна виразність, раціональність форми,
цілісність композиції та досконалість виробничого виконання і товарного
вигляду.
. Екологічні властивості та
їх показники характеризують рівень шкідливості товарів на навколишнє середовище
при їх експлуатації чи споживанні. У сучасних умовах систематичного забруднення
природи людство стоїть на грані катастрофи, і тому ступінь значущості
екологічних властивостей товарів зростає.
. Безпека споживання товару -
це така споживна властивість, що характеризує ступінь захисту людини від впливу
небезпечних та шкідливих чинників, які виникають при споживанні чи ексшгуатації
товару.
Залежно від природи впливу на
безпеку товарів розрізняють такі її види: хімічна, електрична, радіаційна,
механічна, термічна, санітарногігієнічна, пожежна [21; 22].
Отже, з даного ми можемо
побачити, що меблева фурнітура по споживним властивостям має ряд переваг.
Проте, при цих перевагах вони мають також недолік, такий, як: деякі позиції
запізнюються з технологічним прогресом та ін.
Для оцінки якості візьмемо
зразок - замок з шпінгалетом, виробник ТОВ «Дружба».
Отже, проведемо оцінку
комплексного показника якості фурнітури за допомогою експертних оцінок та за
допомогою виявлення споживчих переваг.
Потрібно провести
ранжирування споживних властивостей меблевої фурнітури експертами (табл. 2.1).
Таблиця 2.1 Ранжирування
споживчих властивостей експертами
|
№
|
Споживні властивості
|
Ранги, проставлені експертами
|
|
|
|
1
|
2
|
3
|
4
|
|
1.
|
Фактура поверхні
|
5
|
7
|
5
|
7
|
|
2.
|
Сировина
|
4
|
6
|
3 3
|
4
|
|
3.
|
Ергономічність
|
3
|
1
|
2
|
2
|
|
4.
|
Надійність
|
1
|
2
|
1
|
1
|
|
5.
|
Технічна досконалість
|
7
|
3
|
4
|
3
|
|
6.
|
Зовнішній вигляд
|
6
|
5
|
7
|
6
|
|
7.
|
Довговічність
|
2
|
4
|
6
|
5
|
На основі одержаних
даних складаємо таблицю ранжирування експертів оціночних показників.
Таблиця
2.2Ранжирування експертів оціночних показників
|
№ експ.
|
Оціночні показники
|
|
|
Х1
|
Х2
|
Х3
|
Х4
|
Х5
|
Х6
|
Х7
|
|
1
|
5
|
4
|
3
|
1
|
7
|
6
|
2
|
|
2
|
7
|
6
|
1
|
2
|
3
|
5
|
4
|
|
3
|
5
|
3
|
2
|
1
|
4
|
7
|
6
|
|
4
|
7
|
4
|
2
|
1
|
3
|
6
|
5
|
|
341785172419
|
|
|
|
|
|
|
|
|
d
|
16
|
1
|
10
|
13
|
1
|
-6
|
-1
|
|
d 25611001691361
|
|
|
|
|
|
|
|
|
а 0,2740,1370,0640,0410,1370,1930,153
|
|
|
|
|
|
|
|
За оціночні
показники X1... Х7 беруться споживні властивості меблевої
фурнітури. На основі рангів, виставлених експертами, обчислюються сумарні ранги
з кожної ознаки, відхилення від сумарних рангів та їх квадрати.
1. Сумарний
ранг з кожної ознаки.

= 5+7+5+7=34;

=4+6+3+4=;

=3+1+2+2=8;
=1+2+1+1=5;

=7+3+4+3=1;
=6+5+7+6=24;

= 2+4+6+5=19.
. Знаходимо суму сумарних
рангів.
= 34+17+8+5+17+24+19=124.
. Знаходимо відхилення від
середньої величини сумарних рангів.
(1)
d
=18-34-18=-16;
d2=18-17=1;3=18-8=10;4=18-5=13;5=18-17=l;6=18-24=-6;
d
=18-19=-l;
. Знаходимо квадрати відхилення від сумарних
рангів.
=162 =256;
=12 =1;23=102-100;24=132=169;
=12 =1;
=- 62 =36;
=-12 =1;
. Знаходимо коефіцієнти вагомості
показників (а
).
6. Узгодженість думок експертів
відносно ранжирування оціночних показників оцінюється коефіцієнтом узгодженості
Wq, який змінюється від 0 до 1. Вважається, що результати експертного
ранжирування можна вважати достатньо об’єктивними, якщо коефіцієнт узгодженості
думок експертів Wq > 0,7. в іншому випадку змінюється склад експертної групи
і проводиться повторне ранжирування [23; 24; 25].
Сума квадратів
відхилення від середньої величини сумарних рангів становить:
(3)
Отже, коефіцієнт конкордації
(ступінь узгодженості) становить 0,814.
Таким чином, погодженість
думок експертів складає 0,814 що свідчить про об’єктивність одержаних результатів;
споживні властивості меблевої фурнітури у порядку зниження їх значущості
розташувалися таким чином: на перших місцях надійність та ергономічність
меблевої фурнітури, а найменш значущими є зовнішній вигляд та фактура поверхні
меблевої фурнітури.
2.3 Аналіз
асортименту меблевої фурнітури ТОВ «Дружба»
Асортимент фурнітури
найрізноманітніший і при цьому дуже складний. Отже, розберемо асортимент
фурнітури ТОВ «Дружба».
Спільне українсько-польське
виробничо-комерційне підприємство-товариство з обмеженою відповідальністю
«Комекс» ЛТД. Рік заснування: 1995 рік. Види діяльності: виробництво корпусних
меблів та меблевої фурнітури, оптова і роздрібна торгівля.
Асортимент меблевої фурнітури СП
«Комекс» представлений в табл. 2.9.
Таблиця 2.9 Асортимент меблевої фурнітури
СП «Комекс»
|
№
|
Найменування товару
|
Різновиди товару
|
|
1.
|
Замки
|
замок із клямкою, замок із засувом,
|
|
2.
|
Ручки
|
ручка з одним або декількома кріпильними
елементами
|
|
3.
|
Завіси
|
комбінована двошарнірна, неперервна
одношарнірна, трубчата одношарнірна
|
|
4.
|
Стяжки
|
стяжка клинова, важільна, гвинтова
|
|
5.
|
Засувки
|
засувка пружинна або не пружинна
|
|
6.
|
Кронштейни
|
кронштейн без гальма, кронштейн гнучкий,
кронштейн з фіксатором
|
|
7.
|
Ключівки
|
різноманітні ключівки
|
|
8.
|
Механізми транспортування
|
механізм одноважільний, механізм
багатоважільний, механізм транспортування
|
|
9.
|
Інша фурнітура
|
|
|
|
|
Політика компанії спрямована на
постійне підвищення якості пропонованої продукції. СП «Комекс» виготовляє
власну фурнітуру та реалізує фурнітуру інших фірм, таких як FAM S.A, WALA. Всі
вироби фірми FAM S.A відповідають найвищим вимогам якості, що було досягнуто
завдяки застосуванню системи керівництва якістю у відповідності до стандарту
ISO 9001.
На сьогодні фірма є лідером з
виробництва меблевої, дверної та віконної фурнітури в Польщі. Найбільш важливою
відмінністю дверних ручок (натискних гарнітурів) фірми РАМ від продукції інших
постачальників СП «Комекс» є наявність фіксатору (пружини).
Акціонерне товариство закритого типу
«Імпульс» має багаторічну історію. Меблі й фурнітура виробляється на сучасному
встаткуванні з використанням сертифікованих в Україні матеріалів і
комплектуючих.
Асортимент меблевої фурнітури ЗАТ
«Імпульс» представлений в табл. 2.10.
Таблиця 2.10Асортимент меблевої
фурнітури ЗАТ «Імпульс»
|
№
|
Найменування товару
|
Різновиди товару
|
|
1.
|
Замки
|
замок із клямкою, замок із засувом, замок з
шпінгалетом, замок з циліндровим механізмом
|
|
2.
|
Ручки
|
ручка з безпосереднім кріпленням, ручка з
одним кріпильним елементом ручка з двома кріпильними елементами, ручка з
кількома кріпильними елементами
|
|
3.
|
Завіси
|
комбінована одно- чи двошарнірна, неперервна
одношарнірна, трубчата одношарнірна, стрижнева одношарна
|
|
4.
|
Стяжки
|
стяжка клинова, важільна, гвинтова,
ексцентрикова
|
|
5.
|
Засувки
|
засувка пружинна або не пружинна
|
|
6.
|
Кронштейни
|
кронштейн без гальма, кронштейн з гальмом,
кронштейн гнучкий, кронштейн з фіксатором, кронштейн-тримач
|
|
7.
|
Ключівки
|
різноманітні ключівки
|
|
8.
|
Гачки
|
гачки різних видів
|
|
9.
|
Механізми
транспортування
|
механізм одноважільний, механізм
багатоважільний,механізм транспортування
|
|
10.
|
Крипіжна фурнітура
|
шурупи, гвинти
|
|
11.
|
Підвіски
|
підвіска Г-образна, підвіска регульована,
підвіс міжсекційний
|
Меблеві деталі з’єднуються
імпортними гвинтовими й кутовими стяжками. Все кріплення оцинковане. Місця
з’єднання сховані декоративними заглушками.
У меблях використовується пластикова
опора ковзання, що захищає полове покриття від руйнування при переміщенні
меблів.
Ручки й лицьова фурнітура металева з
різноманітним покриттям, кріпиться металевими гвинтами. Багато виробів мають
оригінальне конструкторське рішення: використані спеціальні пластикові профілі.
Профілі надають меблям додатковий обсяг.
ЗАТ «Імпульс» має найбільший з
представлених постачальників асортимент меблевої фурнітури. Продукція представлена
такими фірмами, як МАСО MULTI TREND, TM. Фурнітура МАСО MULTI TREND
виготовляється австрійською фірмою «Mayer & Co. Beschlage GmbH.» 3 1994
року, першою з числа виробників фурнітури в Європі, фірма «Mayer & Co.» є
володарем сертифікату якості DIN ISO 9001, що поширюється на все виробництво
підприємства. Система функціонального контролю за якістю, яка прийнята в МАСО,
дозволяє гарантувати:
10-річний термін експлуатації
фурнітури;
40000 циклів (відкривання,
відкидування, закривання) для фурнітури;
40000 механічних циклів для ручкок;
100% захист від корозії (500 годин в
соляному розчині).
Якість фурнітури МАСО для вікон та
дверей також закріплено сертифікатом відповідності Держстандарту України.
ТОВ «Інтерком» реалізує фурнітуру
фірми Blum. Упроваджено систему керування якістю, що відповідає вимогам
міжнародного стандарту ISO 9001:2000. Хоча ТОВ «Інтерком» реалізує фурнітуру
тільки одного постачальника зате вона має свої конструктивні особливості й
досконалі технології виготовлення поєднані з чудовим дизайном.
Австрійська фірма Blum пропонує
широкі можливості для здійснення індивідуальних потреб кожного клієнта. Для
цього є безліч прекрасних рішень, що створюють більше корисного простору і
порядку, і підтримують ергономічність меблів.
Асортимент меблевої фурнітури ТОВ
«Інтерком» представлений в табл. 2.11.
ТОВ «Інтерком» реалізує велику
кількість петель для будь-якого застосування: ви можете вибрати різні системи
петель, що відрізняються дизайном, зручністю установки і регулювання. Поряд зі
стандартними петлями з різними кутами відкривання в асортименті є серія
спеціальних петель для різних застосувань.
Найвищий комфорт регулювання петлі
Clip Top. Поряд зі стандартними функціями регулювання в петлі CLIP top є
вбудований механізм шнек, що забезпечує зручне, швидке і безступінчасте
регулювання по глибині (+/-). Таке регулювання не вимагає ослаблення гвинтів,
завдяки чому підвищується надійність кріплення петлі., високоякісна петля для
монтажу без інструментів за лічені секунди. Скорочення часу монтажу двері в
порівнянні зі звичайними системами петель до 60% Надійність і якість посадки
завдяки 3-м посадковим штифтам. Бездоганна робота і точні зазори між фасадами
весь термін служби меблів.
Таблиця 2.11 Асортимент меблевої
фурнітури ТОВ «Інтерком»
|
№ з/п
|
Найменування товару
|
Різновиди товару
|
|
1.
|
Ручки
|
ручка з одним або декількома кріпильними
елементами
|
|
2.
|
Завіси
|
комбінована двошарнірна, неперервна
одношарнірна, трубчата одношарнірна
|
|
3.
|
Системи стяжок
|
стяжка клинова, важільна, гвинтова
|
|
4.
|
Механізми транспортування
|
механізм одноважільний, механізм
багатоважільний, механізм транспортування
|
|
5.
|
Спеціальні вироби
|
Pocket/Flipper Door, навіски
|
Петля Модуль. Функціональна і
довговічна. Найміцніші суглоби петлі витримують усі навантаження, яким
піддаються меблі в повсякденному житті - більш 200 000 циклів відкривань і
закривань! Незалежне регулювання зазорів фасаду. Всі петлі поставляються зі
стандартною заводською установкою. Технологія тривимірного регулювання дозволяє
вирівняти всі зазори між фасадами. Зазори можна регулювати не послабляючи
кріпильного гвинта.
З спеціальних виробів (новинок)
представлені:DOOR - практична меблева фурнітура для безперешкодного огляду
вмісту шафи (наприклад, під телевізор). Двері ідуть у каркас.DOOR - фасад
відкривається наверх і заходить усередину каркаса. Сама підходяща фурнітура для
меблів під музичну апаратуру або шаф під електроприлади на кухні.
Навіски для шаф фірми Blum надійні і
витримують великі навантаження. Надійність особливо важлива при великих
навантаженнях, яким меблі піддаються, наприклад, на кухні.
Фірма Blum враховує потреби ринку
меблевої фурнітури, які постійно змінюються, шляхом безпосереднього
співробітництва з виробниками, покупцями і продавцями меблів. Застосування
новітнього устаткування і технологій у сполученні зі стабільністю постачань є
запорукою успішної роботи фірми.
У процесі формування асортименту
товарів на кожному роздрібному підприємстві здійснюють підбір товарів за
різними ознаками. При цьому враховують дію багатьох факторів. Основними
факторами формування товарного асортименту є:
попит споживачів. Задоволення попиту
споживачів є головною метою формування товарного асортименту. Він відповідати
запитам споживачів із врахуванням асортиментної структури. На підставі вивчення
попиту приймаються рішення, що закуповувати та пропонувати клієнтам, в якому
обсязі та асортименті. На сьогоднішній день асортимент ТОВ «Дружба» не повністю
задовольняє попит споживачів. От наприклад, у меблевої фурнітури
заводу-виробника «SwissPan» широкий асортимент товару, проте закуповується
товар декори, яких вже давно мають попит і вони ніколи не вийдуть із моди, а
більш ексклюзивної меблевої фурнітури у нас дуже мало, що може викликати
незадоволений попит у покупців;
можливості виробників і
постачальників. Береться до уваги доступність використання необхідної
сировинної бази, відповідність технологічних можливостей виробників
забезпеченню потрібного рівня якості продукції, наявність достатніх
матеріальних і фінансових ресурсів для виробництва різноманітних товарів, їх
закупівель у зарубіжних країнах, а також рівень і співвідношення цін до них. На
фірми існує безліч постачальників, тобто і вітчизняні і зарубіжні.
Отже, асортимент ТОВ «Дружба» є
повним і задовольняє потреби споживача. Тому що є безліч постачальників від
яких закуповується лише один вид товару і не тип товару.
Щодо поліпшення якості можна
сказати, що на даний час не кожний виробник дотримується стандартів, технічних
умов та сертифікатів.
Проте ми бачимо, коли досліджувалась
оцінка якості, то два зразки, які брались для дослідження, майже відповідали
ГОСТ. Але не завжди товар відповідає стандартам. Для поліпшення якості
продукції слід зробити такі заходи, як:
впровадити систему управління якістю
продукції;
виробникам слід більш чітко
дотримуватися стандартів та технічних умов. Але нажаль всі стандарти практично
застарілі для новітніх технологій продукції;
проводити державним органам з
сертифікації не плановані досліди наякість продукції і контролювати якість
продукції;
добросовісність виробника - є одним
із важливих факторів при дотриманні якості продукції, якщо сам виробник
відноситься не серйозно, тоді і продукція його буде недоброякісна [26-29].
Отже, з цього виходить, що
асортимент на фірмі широкий і різноманітний та задовольняє попит споживача,
проте якість продукції не є відповідною до нормативних документів.
.4
Конкурентоспроможність меблевої фурнітури ТОВ «Дружба»
Розрахунок інтегрального коефіцієнта
конкурентоспроможності згідно з загальною схемою оцінки конкурентоспроможності
товару (дод. 2) зберемо дані про конкурентів, визначимо виріб, який будемо
оцінювати, і обумовимо перелік параметрів, що підлягають оцінці [30].
На ринку меблевої фурнітури України,
крім фірми «Дружба», є 10 підприємств, що виробляють різноманітний асортимент
фурнітури. Але фірма «Дружба» виробляє і продає фурнітуру аналогічну тільки
підприємствам «Integua» і ТОВ «Смартт», отже, будемо оцінювати продукцію цих
підприємств.
Для виконання поставленої мети
зупинимося на регульованому наконечнику для меблів (100 мм) НДР-100 з
полістиролу. Це наймасовіша з випуску і з продажу опора, як на підприємстві
«Дружба», так і на «Integua» і ТОВ «Смартт», призначена для зручності в
установці корпусних меблів.
Отже, в якості об’єкта оцінки
конкурентоспроможності візьмемо: за досліджуванні зразки - наконечник для
меблів регульований (НДР - 100), що випускається фірмою «Дружба», наконечник
для меблів регульований (ОРП-100), що випускається «Integua»і наконечник для
меблів регульований (НР-100 ), що випускається ТОВ «Смартт»; в якості базового
зразка експертами був складений еталон наконечника для меблів регульованого. За
еталон взято наконечник для меблів регульований Nd-100, вироблена фірмою
«KLEAM-BROS» (Німеччина), що користується великим попитом на ринках меблевої
фурнітури.
Для оцінки та порівняння конкурентоспроможності
експериментальних і базового зразків, у табл. 2.12 визначено набір технічних
параметрів. Такі параметри як колірна гамма, дизайн і зручність регулювання
висоти опори визначала група експертів, яка складалася з 4 фахівців і одного
покупця: 2 економістів (економіста ТОВ «Дружба» і економіста ТОВ «Смартт»), 2
інженерів ВТК (ТОВ «Дружба» і СП «Integua»), 1 покупець. Результати анкетування
наведені в дод. Б-В [31].
Коефіцієнти значимості рівня
конкурентоспроможності визначала та ж група експертів. Експертам ставилося
запитання: «Як Ви вважаєте, яка перевага кожного з параметра перед іншими?».
Оцінка проводилася за 5 баловою шкалою. Далі за допомогою формули (1)
розрахуємо коефіцієнти значущості параметрів (дод. Д) [ 32].
(1)
Таблиця 2.12 Порівняльна
характеристика досліджуваних зразків наконечників
|
Параметри
|
НДР-100 («Дружба)
|
ОРП-100 («Integua»)
|
НР-100 («Смартт»)
|
Зразок - еталон
|
|
Міцність опори при падіння навантаження, кгс
|
1370
|
1180
|
1050
|
1300
|
|
Міцність опори при дії навантаження
перпендикулярної осі опори, кгс
|
17
|
15
|
10
|
14
|
|
Маса опори, кг
|
0,09
|
0,12
|
0,12
|
0,07
|
|
Витримується навантаження,кг
|
200
|
130
|
135
|
150
|
|
Середній термін служби, роки
|
15
|
10
|
10
|
15
|
|
Колірна гамма опори, бал
|
3,2
|
3
|
1,6
|
4
|
|
Дизайн опори, бал
|
4,6
|
4
|
3,2
|
4
|
|
Зручність регулювання висоти, бал
|
2,8
|
2,4
|
2
|
4
|
За допомогою пакету прикладних
програм Microsoft Excel і формул (2) і (3) розрахуємо одиничні і групові
показники конкурентоспроможності за технічними параметрами (дод. Ж ). У
результаті обчислень отримуємо такі групові показники:
(2)
(3)
.
= 1,05;
.
= 0,851;
.
= 0,735.
У табл. 2.13, за формулою (4),
виконано розрахунок ціни споживання трьох видів опор і зразка - еталона.
Найменшою ціною споживання є зразок - еталон, потім йде «Integua», «Смартт» і
«Дружба».
(4)
Таблиця 2.13Розрахунок повних
витрат споживача (ціна споживання)
|
Параметри
|
НДР - 100 («Дружба»)
|
ОРП - 100 («Integua»)
|
НР - 100 («Смартт»)
|
Зразок - еталон
|
|
Ціна (від 101-500 шт.), грн
|
7,70
|
7,90
|
8,10
|
7,50
|
|
Середній термін служби, роки
|
15
|
10
|
10
|
15
|
|
Середня вартість щорічного обслуговування, грн
|
3
|
5
|
5
|
3
|
|
Повні витрати споживача, грн
|
52,70
|
57,90
|
58,10
|
52,50
|
Далі за допомогою формули (5) і
програми Microsoft Excel обчислимо груповий показник за економічними параметрами
[33]. В результаті отримаємо наступне:
(5)
.
= 1,004;
.
= 1,103;
.
= 1,107.
Будемо вважати, що оцінювані опори
відповідають нормативним параметрам, тобто = 1. Далі на основі групових
показників по технічних і економічних параметрах і формули (6) розрахуємо
інтегральний показник конкурентоспроможності (табл. 2.14).
(6)
Таблиця 2.14 Показники
конкурентоспроможності
|
Групові показники
|
НДР-100 («Дружба»)
|
ОРП-100(«Integua»)
|
НР-100(«Смартт»)
|
|
за технічними параметрами( )
|
1,050
|
0,851
|
0,735
|
|
за економічними параметрами( )
|
1,004
|
1,103
|
1,107
|
|
за нормативними параметрами( )
|
1
|
1
|
1
|
|
Інтегральний показник конкурентоспроможності ( )
|
1,046
|
0,771
|
0,664
|
З табл. 2.14 видно, що тільки у
НДР-100 («Дружба») інтегральний показник більше 1, тобто НДР-100 перевершує
зразок - еталон з конкурентоспроможності. Решта регульованих наконечників мають
інтегральний показник менше 1, тобто вони поступаються еталону.
Таким чином, конкурентоспроможність
регульованого наконечника для меблів, виробництва підприємства «Дружба», по
відносно до аналогів-конкурентів досягається за рахунок:
. Міцності опори:
а) при стисненні осьовим
навантаженням;
б) падінні навантаження;
в) дії навантаження перпендикулярної
осі опори.
. Витримки навантаження.
. Ціни.
. дизайну наконечника регульованого.
Тепер визначимо параметри можливості
підвищення конкурентоспроможності регульованого наконечника:
) маса наконечника (менша за еталон,
на 0,02 кг);
) колірна гамма наконечника (менша
за еталон, на 0,8 бала);
) зручність регулювання висоти
(менша за еталон, на 1,2 бали);
) витрати споживачів (поступаються
еталону так само на 1 бал.).
Конкурентоспроможність на основі
рівня продажів. У табл. 2.15 представлені дані про обсяги продажів підприємств.
На підставі цієї таблиці і формули (7) розрахуємо відносну частку продажів
НДР-100 («Дружба») порівняно з ОРП-100 («Integua») і НР-100 («Смартт»). [53]
( 7 )
Таблиця 2.15Обсяг і відносна
частка продажів
|
Показники
|
НДР-100 («Дружба»)
|
ОРП-100(«Integua»)
|
НР-100(«Смартт»)
|
|
Обсяг продажів на кінець 2009р., шт.
|
2760000
|
1560320
|
828000
|
|
Відносна частка продажів, (G)
|
-
|
0,64
|
0,77
|
У результаті обчислень отримуємо, що
відносна частка продажів НДР-100 («Дружба») порівнянj
з ОРП-100 («Integua») = 0,64, а відносна частка продажів НДР-100 порівнянj
з НР-100 («Смартт») = 0,77. Тобто, ймовірність того, що на даному ринку
довільний споживач, здійснюючи купівлю, віддасть перевагу товару підприємства
ТОВ «Дружба» (НДР-100) товару ТОВ «Integua» (ОРП-100) дорівнює 64%, а товару
«Смартт» (НР-100) дорівнює 77%.
Отже, конкурентоспроможність
наконечник регульований для меблів, виробництва підприємства «Дружба» володіє
найбільшою конкурентоспроможністю на ринку меблевої фурнітури України.
Графічні методи оцінки
конкурентоспроможності
Багатокутник конкурентоспроможності.
В якості векторів-осей візьмемо такі
найбільш значущі параметри конкурентоспроможності як дизайн, ціна, колірна
гамма, маса опори, середній термін служби і зручність у використанні. Дані для
побудови графіків наведено у дод. З.
Скористаємося пелюстковою діаграмою
(майстра діаграм в Microsoft Excel) і побудуємо багатокутники
конкурентоспроможності товарів (рис. 2.9): НДР-100 («Дружба»), ОРП-100
(«Integua»), НР-100 («Смартт»). З рис.
2.9
видно, що конкурентоспроможність НДР-100 перевершує своїх конкурентів (ОРП-100,
НР-100) у наступних параметрах: середній термін служби; зручність використання;
дизайн; ціна.
Рис. 2.9.
Багатокутник
конкурентоспроможності
За кольоровою гамою і зручністю у
використанні НДР-100 практично збігається з ОРП-100 (відмінність лише в десятих
частках). Отже, необхідно звернути увагу на ці параметри.
Оцінити конкурентоспроможність,
можна шляхом побудування матриці Бостонської консалтингової групи.
Побудуємо дану матрицю для аналізу
конкурентоспроможності НДР-100 («Дружба»), використовуючи дод. З і рис. 2.9.1.
У табл. 2.16 розраховано коефіцієнт темпів зростання ринку продуктів і частка
ринку продуктів, розглянутих підприємств.
Таблиця 2.16 Вихідні дані для
побудови матриці БКГ
|
Показники
|
Види продукції
|
|
НДР-100 («Дружба»)
|
ОРП-100(«Integua»)
|
НР-100(«Смартт»)
|
|
коефіцієнт темпів зростання ринку продуктів
(Ктрр)
|
1,28
|
1,15
|
1,10
|
|
частка ринку продуктів (ДР),%
|
19
|
15
|
10
|
Зобразимо матрицю БКГ,
використовуючи дані табл. 2.16. З рис. 2.10 видно, що НР-100 («Смартт»)
потрапляє до категорії «Собаки «. Ця категорія товару є найгіршою для
підприємства. «Смартт» потрібно відмовлятися від виробництва такого товару або
випускати його без істотних вкладень.
Категорію «Дійні корови» займає
товар підприємства «Integua» - ОРП-100. Тут необхідний жорсткий контроль
капіталовкладень і передача надлишку грошового виторгу під контроль менеджерів
вищого рівня.НДР-100 («Дружба») належить до «зірок «, так як займає найбільшу
частку при високому зростанні ринку і має найбільшу конкурентоспроможність в
порівнянні з продукцією інших підприємств. Дану продукцію необхідно оберігати і
зміцнювати [34-36].
Рис. 2.10. Матриця БКГ
Таким чином, для оцінки
конкурентоспроможності НДР-100 («Дружба») були використані кілька методів. Всі
ці методи дали один і той же результат: досліджуваний наконечник для меблів
регульований володіє високою конкурентоспроможністю.
Підприємству ТОВ «Дружба» необхідно
розробити програму для підтримки конкурентоспроможності товару.
.5 Шляхи підвищення
конкурентоспроможності меблевої фурнітури
Протягом багатьох десятків років у
нашій країні, в умовах високої монополізації виробників регулятором виробництва
продукції був не реальний попит, а з точністю навпаки - виробництво й
адміністративно-командний механізм розподілу регулювали споживання, формували
потреби і смаки покупців.
У цих умовах проблема конкурентоспроможності
товару у виробників практично не вставала, а якщо і виникала, то зважувалася
лише у відношенні тієї продукції, що підлягала реалізації на зовнішньому ринку.
З розвитком ринкового механізму ця проблема в нашій країні, природно, різко загострилася,
і її рішення вимагає від усіх суб’єктів ринку активного пошуку шляхів і методів
підвищення конкурентоспроможності вироблених і споживаних товарів. У зв’язку з
цим у сучасній економіці головним напрямком фінансово-економічної і
виробничо-збутової стратегії кожного виробника стає підвищення
конкурентоспроможності виробленого їм товару для закріплення його позицій на
ринку з метою одержання максимального прибутку [37].
В конкурентній політиці щодо товару
приймаються в увагу насамперед його функціональне призначення, надійність,
довговічність, зручність використання, естетичність зовнішнього вигляду,
упакування, обслуговування, гарантії, супровідні документи, інструкції й інші
характеристики, тобто здатність товару задовольняти сукупні потреби покупця
краще, ніж товари-конкуренти. Створення такої споживчої цінності товару, що
включала б у себе всю сукупність властивості власного товару, а також супутніх
йому, є найважливішою умовою виживання на ринку. Так, прекрасний дизайн дверної
ручки при поганому експлуатаційному обслуговуванні не врятує нову модель
дверної ручки від провалу на ринку [38].
Виробник, створюючи
конкурентоспроможний товар, застосовує різні стратегії з метою:
домогтися відмінності товарів
підприємства в очах покупців від товарів конкурентів;
вибрати з намічених до виробництва
товарів один, що є найбільш привабливим для всіх покупців, і здійснити на цій
основі проривши на ринку;
відшукати нове застосування товарам,
що випускаються;
вчасно вилучити економічно
неефективний товар зі збутової програми підприємства;
знайти вихід на нові ринки як зі
старими, так і з новими товарами;
здійснювати модифікацію товарів, що
випускаються, відповідно до нових смаків і потреб покупців;
регулярно розвивати й удосконалювати
систему сервісного обслуговування реалізованих товарів і систему стимулювання
збуту в цілому [39].
Широке поширення конкуренції під
впливом міжнародного поділу праці і науково-технічного прогресу підштовхує
виробників до посиленого пошуку нових конкурентоспроможних товарів і нових ринків
їхнього збуту.
У міжнародній практиці вважається
доцільним випускати не один виріб, а їхній досить широкий параметричний ряд, що
утворить асортиментний набір.
Чим обширніше параметричні ряди й
асортиментні набори, тим вище імовірність того, що покупець знайде для себе
оптимальний варіант закупівлі.
Щоб оцінити конкурентоспроможність
товару, необхідно вирішити широке коло питань і насамперед одержати об’єктивну
інформацію про ті ринки, де вже чи реалізується пропонується збувати товар, про
його конкурентів. Аналізу ринків приділяється основна увага. Особливо це
відноситься до оцінки тих потреб, що передбачуваний товар не задовольняє, до
виявлення негативних і позитивних властивостей цього товару, що відзначають
споживачі. На закінчення зважується питання, чи відповідає в даний момент
вироблена продукція по технічному рівні і якості вимогам кінцевих споживачів, і
оцінюється конкурентоспроможність його в результаті комплексного дослідження
ринку.
Виходячи з оцінки існуючої і
перспективної конкурентоспроможності товару приймається рішення про подальшу
виробничо-збутову політику:
чи продовжувати виробництво даного
товару і його збут;
чи провести модернізацію для
перетворення товару в товар ринкової новизни;
чи зняти його з виробництва і
приступити до випуску нового товару;
чи приступити до пошуку нового ринку
збуту з урахуванням достатності фінансових і матеріальних ресурсів, наявності
товарі провідної і збутової мережі, можливостей забезпечення сервісу проданого
товару.
Безперечно повинний вивчатися
питання з боку промислової фірми про власні можливості забезпечення такого
обсягу виробництва товару, що дозволив би опанувати запланованими частками
наміченого ринку з метою забезпечення рентабельності виробництва і збуту. Дуже
важливе питання ресурсного забезпечення підприємства - можливостей придбати
необхідні матеріали, що комплектують вироби, залучити необхідні фінансові
ресурси і необхідні з відповідним рівнем кваліфікації кадри [40].
Ключовим моментом у завоюванні
позицій на ринку щодо численних конкурентів є своєчасне відновлення вироблених
товарів, підготовка й організація виробництва нових видів продукції. У
сучасному світі створення і виробництво нових товарів мають вирішальне значення
для процвітання підприємства. Згідно статистичних даних після освоєння нової
продукції, що складає основу виробництва, темп росту її реалізації приблизно
удвічі вище, ніж у конкурентів. Випускаючи нову продукцію і розширюючи
асортимент пропонованих товарів, фірми прагнуть знизити залежність від одного
товару, що може в будь-який час з урахуванням непередбачених змін ринку
привести до банкрутства.
Відомо, що сьогодні багато
підприємств і фірми в нашій країні приступають до серйозної реструктуризації
виробництва і поряд з відновленням профільної продукції налагоджують випуск
товарів народного споживання. Однак створення нового товару - процес
надзвичайно складний, тому що крім конструкторсько-технологічних рішень і
модернізації виробничої бази мова йде в кінцевому рахунку про створення такої
товарної маси, що цілком відповідає вимогам ринку. Відомо, що значна кількість
нових товарів, виведених на ринок, терпить комерційний провал: приблизно 8 з 10
не виправдують надій виготовлювачів, що покладалися на них.
Основними причинами є: недостатнє
володіння станом попиту саме на даний товар, технічні й експлуатаційні дефекти
товару, неефективна реклама, завищена ціна, непередбачені відповідні дії
конкурентів, невірно обраний час для виходу на ринок, невирішені виробничі
проблеми, тобто в цілому неправильно була прогнозована конкурентна політика.
В основі концепції створення нового
товару сьогодні лежить не стільки дотримання традиційних прагнень до досягнення
нових технічних і техніко-економічних параметрів, скільки прагнення створити
«товар ринкової новизни» з високим рівнем конкурентоспроможності щодо інших
аналогічних товарів.
Після попередньої оцінки ідеї про
створення нового товару (а їхніх цих ідей, як правило, вивчають безліч), в
основі якої лежать: ретельний аналіз переваги споживача при переході на покупку
нової продукції; місткість ринку і труднощі проникнення на нього; характер і
гострота конкуренції по аналогічній продукції; можливості конкурентів виходу на
цей же ринок з аналогічною продукцією, - керівництвом підприємства вивчається
оцінка економічної ефективності випуску нового виробу. Ця оцінка містить у собі
насамперед визначення економічних параметрів виготовлення головного зразка
складається калькуляція собівартості виготовлення і збуту і визначаються
можливі надходження засобів від продажів. Зіставлення витрат з доходами дозволяє
вирішити питання про доцільність запуску нового виробництва. Потім
розробляється детальний бізнес-план випуску нового виробу, досліджуються
джерела постачання і розробляється комплекс заходів для забезпечення реалізації
товару - від реклами до технічного обслуговування. На ухвалення рішення про
випуск нового товару вирішальне вплив роблять два фактори:
виробничий - визначається й
оцінюється рівень наявності ресурсів і складається калькуляція сукупних витрат;
ринковий - вивчаються й оцінюються
можливості створення конкурентоспроможного товару.
При виробленні ринкової стратегії
дуже важливо навчитися вчасно вилучати економічно неефективний товар з
виробничої програми промислової фірми.
Як правило, вилучаються морально
застарілі на окремих ринках товари. Ситуацію на ринку необхідно постійно
контролювати, тільки в цьому випадку фірма зможе прийняти правильне рішення про
виробництво нових виробів і зняття застарілих.
При виборі шляхів підвищення
конкурентоспроможності товару нерідко буває дуже своєчасним рішення не про
запуск нового, не про зняття з виробництва морально застарілого, а про
модифікацію товару. Рішення про модифікацію товару приймається з метою
задоволення особливих вимог покупців для одержання більшого прибутку.
Безперечним є і розвиток такого напрямку
підвищення конкурентоспроможності товару, як своєчасне надання комплексу
послуг, зв’язаних зі збутом і використанням товару, устаткування й іншої
промислової продукції й забезпечувати їхню постійну готовність до
високоефективної експлуатації, тобто сервісне обслуговування. При вмілій
організації сервіс є вирішальним чинником підвищення конкурентоспроможності
товару, тому що ціни на запасні частини в 1,5-2,0 рази нижче, ніж ціни на
комплектуючі, використовувані у виробництві.
В окремих галузях нашої промисловості
й особливо за рубежем існує практика, відповідно до якої фірма-виробник
гарантує постачання запасних частин до продаваних виробів протягом визначеного
більш-менш тривалого періоду (нерідко 10-12 років) після зняття їхній з
виробництва, що дуже привабливо для користувачів. При цьому дуже важливим є те,
що працівники служби сервісу, що щодня стикаються з встановленим устаткуванням,
служать джерелом найбільш коштовних ідей, що стосується підвищення рівня
конкурентоспроможності наявних і нових виробів.
У рішенні задач підвищення
конкурентоспроможності продукції з кожним роком усе зростаюче значення набуває
проблема вибору й освоєння нових ринків збуту.
У зв’язку з цим на будь-яким
підприємстві дуже важливі аналітико-пошукові зусилля в цій області. Нові ринки
збуту вирішальним образом можуть змінити конкурентоспроможність товару і
рентабельність збутової діяльності. Зрозуміло, що впроваджуючи товар на новий
ринок, можна продовжити життєвий цикл товару.
Сезонні коливання у попиту можуть
сприяти успішної реалізації того самого товару в різних крапках планети. А
збільшення обсягу продажів на нових ринках дозволить знизити витрати
виробництва на одиницю продукції, насамперед за рахунок використання дешевої
робочої сили, досить низьких рівнів податків і митних пошлин і ряду інших
факторів на нових ринках збуту [41].
Таким чином, ринкові умови
господарювання вимагають постійного підвищення конкурентоспроможності продукції
вітчизняних підприємств, що забезпечує здобуття конкурентних переваг та
постійну фінансову стійкість підприємства.
Отже, у зв’язку з
цим дуже важливо для подальшого розвитку конкурентоспроможності товару (перш
ніж перейти до нового, його модифікації, зняттю з виробництва) спробувати вийти
з ним на новий ринок збуту. Але при цьому треба точно знать ступінь
забезпеченості нових ринків висококваліфікованими працівниками ремонтних і
обслуговуючих організацій, тому що в противному випадку покупці можуть зажадати
підвищення надійності і спрощення конструкції реалізованої продукції.
РОЗДІЛ 3. ПІДВИЩЕННЯ
КОНКУРЕНТОСПРОМОЖНОСТІ МЕБЛЕВОЇ ФУРНІТУРИ НА ВНУТРІШНЬОМУ РИНКУ
3.1 Діагностика
конкурентоспроможності меблевої фурнітури на внутрішньому ринку
Для успішного функціонування на
споживчих ринках в умовах інтенсифікації конкуренції необхідним є адаптування
діяльності підприємств до потреб споживачів, які в умовах постійного розширення
асортименту є мінливими. З огляду на це, забезпечення високого рівня
конкурентоспроможності перетворюється на складне завдання, реалізація якого
дозволяє підприємству утримувати стабільні позиції на ринку, нарощувати обсяги
діяльності та підвищувати обсяги прибутків.
Конкурентоспроможність, як
зазначалося, - складна категорія, що визначається низкою факторів як
зовнішнього, так і внутрішнього характеру, при чому врахування обох груп є
однаково важливим для забезпечення гідних позицій господарюючого суб’єкта на
ринку. Для вітчизняних підприємств, які бажають бути конкурентоспроможними на
вітчизняному ринку, задовольняючи потреби споживачів повною мірою, все більшого
значення в сучасних умовах набуває імпортна діяльність. ТОВ «Дружба» не є
виключенням, тому використовує у своїй діяльності не лише вітчизняну, а й
імпортну меблеву фурнітуру. Критерії та фактори конкурентоспроможності
розглянуто в параграфі 1.2.
На сьогодні обсяги імпорту на
досліджуваному підприємстві є достатньо значними, при чому спостерігається
тенденція до щорічного зростання обсягів закупівлі продукції за кордоном: так,
якщо у 2007 році імпорт підприємства складав 718676, 3 грн, то у 2011 р. він
зросло 1003204,2 грн (рис. 3.1).
Як видно з рисунку, незначний спад
спостерігався на підприємстві у 2008 - 2009
рр. (обсяги імпорту склали 683209,7 грн та 715437,2
грн. відповідно), що було пов’язано з наслідками світової фінансової кризи,
проте протягом двох останніх років темпи росту імпорту показували позитивну
динаміку: у 2010 році обсяг імпорту склав 840320 грн, що засвідчило початок
посткризового становлення компанії.
Рис. 3.1. Динаміка імпорту меблевої
фурнітури
ТОВ «Дружба» у 2007-2011
рр.
На сьогодні ТОВ «Дружба» імпортує
достатньо широкий асортимент продукції: замки, ручки дверні, завіси, стяжки,
засувки, гачки, крипіжну фурнітуру та підвіски. Динаміка товарної структури
імпорту ТОВ «Дружба представлена у табл. 3.1.
Таблиця 3.1 Динаміка імпорту
меблевої фурнітури за товарними групами ТОВ «Дружба» у 2007-2011
рр., грн
|
Товарна група
|
2007
|
2008
|
2009
|
2010
|
2011
|
2008/ 2007
|
2009/ 2008
|
2010/ 2009
|
2011/ 2010
|
|
Замки
|
232482,30
|
222989,40
|
230976,20
|
277622,10
|
356789,40
|
0,96
|
1,04
|
1,20
|
1,29
|
|
Ручки
|
165654,90
|
162431,40
|
165430,70
|
185554,70
|
201654,90
|
0,98
|
1,02
|
1,12
|
1,09
|
|
Завіси
|
63558,60
|
63067,10
|
63443,50
|
78965,90
|
0,99
|
1,01
|
1,10
|
1,14
|
|
Стяжки
|
28654,60
|
28076,90
|
28354,80
|
29557,40
|
33453,80
|
0,98
|
1,01
|
1,04
|
1,13
|
|
Засувки
|
135760,70
|
124543,70
|
137009,10
|
161878,20
|
198322,20
|
0,92
|
1,10
|
1,18
|
1,23
|
|
Гачки
|
33541,40
|
32567,00
|
33111,10
|
39564,70
|
45987,90
|
0,97
|
1,02
|
1,19
|
1,16
|
|
Крипіжна фурнітура
|
32567,90
|
31999,80
|
33004,20
|
38876,10
|
44876,90
|
0,98
|
1,03
|
1,18
|
1,15
|
|
Підвіски
|
26455,90
|
17534,40
|
24107,60
|
37789,90
|
43153,20
|
0,66
|
1,37
|
1,57
|
1,14
|
|
Усього
|
718676,30
|
683209,70
|
715437,20
|
840320,00
|
1003204,20
|
0,95
|
1,05
|
1,17
|
1,19
|
Як видно з представленої таблиці,
основними категоріями імпорту ТОВ «Дружба» є замки, дверні ручки та засувки,
обсяг імпорту яких зростає щороку. Зауважимо, що найбільш динамічно протягом
останніх років зростає попит ТОВ «Дружба» на підвіски, засувки та замки, частка
яких у загальному обсязі імпорту на сьогодні є неоднаковою. Динаміка товарної
структури імпорту ТОВ «Дружба» наведена на рис. 3.2.
Рис. 3.2. Динаміка товарної
структури імпорту ТОВ «Дружба»
у 2007-2011 рр.
Географія імпортної діяльності ТОВ
«Дружба» не є значно диверсифікованою: з Німеччини підприємство постачає замки,
ручки, засувки та підвіски, з Австрії - замки, підвіски, гачки, стяжки та
ручки, з Росії постачається увесь асортимент товарів, з Польщі - засувки та
гачки табл. 3.2.
Таблиця 3.2 Географічна структура
імпорту меблевої фурнітури ТОВ «Дружба» у розрізі окремих товарних груп у 2011
р., грн
|
Країна
|
Товар
|
2007
|
2008
|
2009
|
2010
|
2011
|
|
Німеччина
|
Ручки
|
54322,1
|
53675,4
|
54210,6
|
60119,4
|
70980,4
|
|
Замки
|
91787,4
|
90434,3
|
90500,0
|
103680,8
|
75060,6
|
|
Засувки
|
54012,3
|
50786,7
|
52358,5
|
70675,3
|
90500,6
|
|
Підвіски
|
8314,3
|
7979,1
|
8085,6
|
11550,4
|
20150,6
|
|
Усього
|
208436,1
|
202875,5
|
205154,7
|
246025,9
|
256692,2
|
|
Австрія
|
Замки
|
80944,1
|
79789,9
|
81300,5
|
90600,6
|
120540,4
|
|
Підвіски
|
7098,6
|
4267,9
|
6890,8
|
12300,0
|
11550,4
|
|
Гачки
|
8307,8
|
7956,4
|
8555,0
|
10980,6
|
14560,8
|
|
Стяжки
|
18321,4
|
14089,7
|
21444,6
|
19645,8
|
25600,6
|
|
Ручки
|
37688,4
|
35981,4
|
37700,5
|
44670,4
|
68900,4
|
|
Усього
|
152360,3
|
142085,3
|
155891,4
|
178197,4
|
241152,6
|
|
Росія
|
Замки
|
59750,8
|
52765,2
|
59175,7
|
83340,7
|
161188,4
|
|
Ручки
|
73644,4
|
72774,6
|
73519,6
|
80764,9
|
61774,1
|
|
Завіси
|
63558,6
|
63067,1
|
63443,5
|
69476,9
|
78965,9
|
|
Стяжки
|
10333,2
|
13987,2
|
6910,2
|
9911,6
|
7853,2
|
|
Засувки
|
37616,0
|
43435,1
|
38660,8
|
35460,7
|
43558,2
|
|
Гачки
|
14011,9
|
5500,5
|
16258,8
|
16500,4
|
14790,4
|
|
Крипіжна фурнітура
|
32567,9
|
31999,8
|
33004,2
|
38876,1
|
44876,9
|
|
Підвіски
|
11043,0
|
5287,4
|
9131,2
|
13939,5
|
11452,2
|
|
Усього
|
302525,8
|
288816,9
|
300104,0
|
348270,8
|
424459,3
|
|
Польща
|
Засувки
|
44132,4
|
30321,9
|
45989,8
|
55742,2
|
64263,4
|
|
Гачки
|
11221,7
|
19110,1
|
8297,3
|
12083,7
|
16636,7
|
|
Усього
|
55354,1
|
49432,0
|
54287,1
|
67825,9
|
80900,1
|
|
Усього
|
718676,3
|
683209,7
|
715437,2
|
840320,0
|
1003204,2
|
За даними таблиці можна зробити
висновок про те, що основним зарубіжним партнером ТОВ «Дружба» у 2011 році була
Росія, частка якої складає 42%. Динаміка географічної структури імпорту ТОВ
«Дружба» представлена на рис. 3.3.
Рис. 3.3. Динаміка географічної
структури імпорту ТОВ «Дружба» у 2007-2011 рр
Куплена за кордоном продукція
використовується підприємством як для реалізації кінцевим споживачам, так і для
виробництва готової продукції фабрики (рис. 3.4).
Рис. 3.4. Структура імпорту меблевої
фурнітури ТОВ «Дружба» за метою використання
Як бачимо, наведена структура
імпорту меблевої фурнітури свідчить, що лише 30% закупленої продукції
спрямовується на подальшу переробку, у той час як 70% реалізується кінцевому
споживачу, що свідчить про виключне значення пропозиції покупцям якісної
меблевої фурнітури у забезпеченні конкурентоспроможності ТОВ «Дружба».
Необхідно зазначити, що
співвідношення вітчизняної та імпортної фурнітури у структурі збуту ТОВ
«Дружба» є неоднаковим за різними товарними групами: так, підприємство реалізує
на ринку України переважно імпортні дверні ручки та підвіски, у той час як
стяжки та крипіжна фурнітура є переважно вітчизняною (рис. 3.5.)
Рис. 3.5. Структури реалізації ТОВ
«Дружба» меблевої фурнітури за країною походження у 2011 р.
З метою оцінки рівня
конкурентоспроможності продукції, що імпортується ТОВ «Дружба» на ринку України
скористаємося методом рангів. Оцінюватимемо конкурентоспроможність за трьома
основними товарними позиціями, що імпортує підприємство: ручками дверними,
замками та засовами.
На першому етапі доцільно сформувати
критерії, за якими оцінюватиметься конкурентна привабливість товару для споживачів.
Зупинимося на обґрунтуванні критеріїв більш детально.
На нашу думку, усі критерії
конкурентоспроможності меблевої фурнітури можна умовно поділити на 3 групи:
якісні, цінові ти ринкові. Їх співвідношення є неоднаковим для різних груп
товарів та для різних груп споживачів, проте, на нашу думку, усі зазначені
фактори відіграють значну роль при виборі покупцем продукції та прийнятті
рішення про покупку.
До якісних характеристик належать,
на нашу думку, міцність, середній термін експлуатації, маса, зручність, дизайн.
До цінових належать ціна продукції, а також вартість її подальшої експлуатації,
наявність знижок. До ринкових критеріїв конкурентоспроможності належать
країна-виробник, торгова марка, рівень реклами, широта асортименту тощо.
На нашу думку, якісні (технічні)
характеристики є визначальними при оцінці конкурентоспроможності меблевої
фурнітури, оскільки споживачі купують їх не через їх естетичну цінність, а для
задоволення конкретних потреб. У даній роботі ми використовуватимемо найбільш
загальні якісні критерії, що можуть застосовуватися для усіх товарних груп, що
імпортує ТОВ «Дружба». Втім за потреби наведений перелік можу бути істотно
поглиблений.
Виходячи зі специфіки товарів, що
імпортує ТОВ «Дружба» до переліку якісних характеристик нами було віднесено
дизайн. Це пов’язано з тим, що при виборі меблевої фурнітури за її зовнішнім
виглядом споживач у першу чергу оцінює якісні характеристики товару: його
добротність, зручність у експлуатації, і лише після цього звертає увагу на
дизайн як на самостійну характеристику.
Другою за значущістю групою
критеріїв є цінова. До неї нами було включено ринкову вартість продукції, а
також вартість її експлуатації у майбутньому. Останній критерій є важливим
через те, що меблева фурнітура зазвичай купується на досить тривалий період, а
отже для споживача має виключне значення можливість ремонту фурнітури у
порівнянні з початковою вартістю її купівлі.
Останньою групою факторів, що для
меблевої фурнітури відіграє дещо другорядну роль, проте має враховуватися при
оцінці її конкурентоспроможності, є група ринкових факторів. До даної групи
нами було віднесено ті чинники, що формують у споживача уявлення про товар.
Так, країна-виробник нами була врахована через те, що в уявленні споживачів
європейські товари зазвичай є кращими за товари з країн СНД, які, у свою чергу,
вважаються більш якіснішими за азійські серійні аналоги. Подібні твердження є
стереотипами, що не завжди відповідають дійсності, проте впливають на прийняття
споживачами рішення про купівлю товару, і, відповідно, мають бути враховані при
оцінці конкурентоспроможності товарів [41-44].
З аналогічних міркувань до ринкових
факторів нами було віднесено також торгову марку: її імідж також може істотно
вплинути на конкурентоспроможність продукції на відповідному сегменті ринку.
До ринкових факторів
конкурентоспроможності належить також глибина її асортименту: можливість
купівлі однакової продукції, що відрізняється за кольором чи дизайном. У
цілому, критерії конкурентоспроможності меблевої фурнітури, що імпортується ТОВ
«Дружба» можна подати у вигляді піраміди, в основу якої покладено технічні
критерії, а на верхівці якої знаходяться ринкові чинники (рис. 3.6.)
Рис. 3.6. Піраміда
конкурентоспроможності меблевої фурнітури ТОВ «Дружба»
Як видно з рис. 3.6.,
конкурентоспроможність оцінюється за різними показниками, що не можуть бути
поєднані у інтегральному показнику через те, що абсолютні величини, у яких вони
вимірюються, є неоднаковими. З метою приведення всіх абсолютних величин до відносних
використовується рангова оцінка, яка дозволяє враховувати при розрахунку
інтегрального показника конкурентоспроможності різні за своєю природою
характеристики продукції [45].
Оцінюючи конкурентоспроможність
дверних ручок, необхідно зазначити, що на вітчизняному ринку їх пропозиція є
достатньо широкою, що свідчить про високу конкурентність ринку. З огляду на це,
оцінювати конкурентоспроможність даної продукції ми будемо лише у порівнянні з
товарами, представленими у відповідному ціновому сегменті.
ТОВ «Дружба» реалізує на ринку
України ручки та замки ТМ «Hettich» (Німечинна), «Валмакс» (Росія) та «Hafele»
(Австрія). Подібні споживчі характеристики мають також товари ТМ «Сamet»
(Польща) та «Metakor» (Бельгія). Проаранжуємо кожен з товарів за обраними
критеріями на основі аналізу споживчих властивостей продукції, розміщеного в
мережі Інтернет. Результати обчислень подамо у табл. 3.3.
Таблиця 3.3 Рангова оцінка
конкурентоспроможності ручок дверних, що імпортуються ТОВ «Дружба» та основних
товарів конкурентів у 2011 р.
|
Критерій
|
Продукція
|
Вага критерію
|
|
ТМ «Hettich»
|
ТМ «Валмакс»
|
ТМ «Hafele»
|
ТМ «Сamet»
|
ТМ «Metakor»
|
|
|
Технічні характеристики
|
|
|
Міцність
|
1
|
1
|
2
|
3
|
3
|
0,1
|
|
Термін експлуатації
|
3
|
2
|
1
|
1
|
2
|
0,1
|
|
Дизайн
|
1
|
4
|
1
|
3
|
2
|
0,1
|
|
Надійність
|
1
|
2
|
4
|
5
|
3
|
0,1
|
|
Зручність
|
2
|
2
|
1
|
4
|
3
|
0,1
|
|
Цінові характеристики
|
|
|
Ціна
|
5
|
1
|
4
|
2
|
3
|
0,15
|
|
Вартість експлуатації
|
1
|
3
|
2
|
2
|
3
|
0,15
|
|
Ринкові критерії
|
|
|
Глибина асортименту
|
1
|
4
|
5
|
2
|
3
|
0,05
|
|
Розрекла-мованість
|
2
|
5
|
3
|
1
|
4
|
0,05
|
|
Країна походження
|
1
|
5
|
2
|
3
|
4
|
0,05
|
|
Торгова марка
|
1
|
5
|
3
|
2
|
4
|
0,05
|
|
|
|
|
|
|
|
|
|
Примітка: ранжування відбувається за
шкалою від 1 до 5, де 1 - найкращий ранг, 5 - найгірший.
Для того, щоб знайти середній ранг
кожного з товарів, що розглядаються нами у якості конкурентів, необхідно
перемножити його ранг за кожним з критеріїв на вагу критерію та додати їх. Так,
загальний конкурентний ранг ручок ТМ «Hettich» розраховуємо за формулою 3.1.
РЗHettich =
0,1*1+0,1*3+0,1*1+0,1*1+0,1*2+0,15*5+0,1*1+0,05*1+2*0,05+0,05*1+0,05*1 = 1,9
(3.1)
Аналогічним чином знаходимо ранги
для продукції інших торгових марок. Після здійснення розрахунків отримуємо
наступні результати: РЗВалмакс = 2,65, РЗHafele = 2,45, РЗCamet
= 2,6, РЗMetakor = 3,15. Таким чином найбільш конкурентоспроможними
є замки німецької торгової марки Hettich, які імпортує ТОВ «Дружба», найменш
конкурентоспроможними - бельгійської ТМ «Metakor», що в асортименті
досліджуваного підприємства не представлені. Здійснений аналіз засвідчив, що у
цілому продукція, що реалізується ТОВ «Дружба» є конкурентоспроможною, проте
доцільним було б долучити до її асортименту замки ТМ «Camet», що також
користуються попитом на вітчизняному ринку.
Наступним товаром,
конкурентоспроможність якого ми оцінюватимемо, є замки. ТОВ «Дружба» імпортує
замки тих самих підприємств, що і ручки: ТМ «Hettich» (Німечинна), «Валмакс»
(Росія) та «Hafele» (Австрія). Попитом на ринку користуються також товари ТМ
«Nusille» (Франція) та ТМ «Kooperex» (Чехія). Оцінку здійснюватимемо за
критеріями, аналогічними тим, за якими оцінювалася конкурентоспроможність
ручок. Результати аналізу подамо у вигляді табл. 3.4 [46].
Розрахувавши інтегральний ранг
кожного з товарів, доходимо висновку, що найбільш конкурентоспроможними є замки
ТМ «Hettich» - 1,55, найменш конкурентоспроможними - ТМ «Hafele» - 3,25. Ранг
ТМ «Валмакс» - 2,5, ТМ «Nusille» - 2,45, ТМ «Kooperex» - 3,15. Рузельтати
аналізу засвідчили, що один з товарив, що імпортує ТОВ «Дружба», а саме замки
ТМ «Hafele» є неконкурентоспроможним. Це свідчить про доцільність зміни
товарної структури імпорту та включення до асортименту товари французької
тонгової марки «Nusille».
Таблиця 3.4Рангова оцінка
конкурентоспроможності замків, що імпортуються ТОВ «Дружба» та основних товарів
конкурентів у 2011 р.
|
Критерій
|
Продукція
|
Вага критерію
|
ТМ «Валмакс» (Росія)
|
ТМ «Hafele» (Австрія)
|
ТМ «Nusille» (Франція)
|
ТМ «Kooperex» (Чехія)
|
|
|
Технічні характеристики
|
|
|
Міцність
|
1
|
2
|
3
|
4
|
5
|
0,15
|
|
Термін експлуатації
|
1
|
3
|
4
|
2
|
5
|
0,1
|
|
Дизайн
|
1
|
2
|
3
|
1
|
4
|
0,05
|
|
Надійність
|
1
|
1
|
2
|
1
|
2
|
0,15
|
|
Зручність
|
2
|
3
|
3
|
1
|
2
|
0,1
|
|
Цінові характеристики
|
|
|
Ціна
|
3
|
2
|
4
|
3
|
1
|
0,1
|
|
Вартість експлуатації
|
1
|
2
|
4
|
2
|
3
|
0,1
|
|
Глибина асортименту
|
2
|
2
|
1
|
3
|
4
|
0,1
|
|
Розрекла-мованість
|
3
|
5
|
4
|
2
|
1
|
0,05
|
|
Країна походження
|
1
|
5
|
3
|
2
|
4
|
0,05
|
|
Торгова марка
|
2
|
5
|
4
|
3
|
1
|
0,05
|
Останнім товаром,
конкурентоспроможність якого ми оцінюватимемо, є засови. ТОВ «Дружба» імпортує
в Україну засови з Польщі (ТМ «Werkpol»), Росії (ТМ «Валмакс») та Німеччини (ТМ
«АВС»). У тому ж ціновому сегменті знаходяться товари ТМ «Maro» (Угорщина) та
ТМ «DBH» (Чехія). Результати ранжування подамо у вигляді табл. 3.5.
Таблиця 3.5 Рангова оцінка
конкурентоспроможності засовів, що імпортуються ТОВ «Дружба» та основних
товарів конкурентів у 2011 р.
|
Критерій
|
Продукція
|
Вага критерія
|
|
ТМ «Werkpol» Польща
|
ТМ «Валмакс» Росія
|
ТМ «АВС» Німеччина
|
ТМ «Maro» Угорщина
|
ТМ «DBH» Чехія
|
|
|
Технічні характеристики
|
|
|
Міцність
|
2
|
1
|
1
|
3
|
4
|
0,2
|
|
Термін експлуатації
|
3
|
1
|
2
|
4
|
5
|
0,15
|
|
Дизайн
|
5
|
4
|
3
|
2
|
1
|
0,07
|
|
Надійність
|
3
|
1
|
1
|
2
|
2
|
0,15
|
|
Зручність
|
2
|
2
|
1
|
1
|
2
|
0,1
|
|
Цінові характеристики
|
|
|
Ціна
|
3
|
2
|
4
|
3
|
1
|
0,1
|
|
Вартість експлуатації
|
3
|
2
|
1
|
4
|
4
|
0,1
|
|
Глибина асортименту
|
3
|
3
|
2
|
2
|
1
|
0,05
|
|
Розрекла-мованість
|
3
|
3
|
3
|
3
|
3
|
0,02
|
|
Країна походження
|
4
|
3
|
1
|
5
|
2
|
0,04
|
|
Торгова марка
|
3
|
3
|
3
|
3
|
3
|
0,02
|
Розрахунки інтегрального рангу
конкурентоспроможності кожного з продуктів дозволили виявити, що на даному
ринку є два товари лідери: засови ТМ «Валмакс» - 1,67 та ТМ «АВС» - 1,72 (що
імпортуються ТОВ «Дружба». Конкурентоспроможність інших товарів є відносно
однаковою: ТМ «Werkpol» - 2,88, ТМ «Maro» - 2,86, ТМ «DBH» - 2,87. Це свідчить
про те, що товарна структура імпорту і за даної категорією є задовільною.
Як бачимо, продукція, яку імпортує
підприємство, є достатньо конкурентоспроможною. З огляду на те, що досліджуване
підприємство не має можливості впливати на технічні характеристики продукції,
підвищити рівень конкурентоспроможності можливо лише за умови удосконалення
цінових та ринкових характеристик. Для того, щоб оцінити можливість реалізації
запропонованих заходів, доцільно розрахувати поточну ефективність імпорту з
метою виявлення резервів для зниження ціни реалізації та підвищення рівня
обізнаності споживачів про відповідні товари [47]. Для початку оцінимо
ефективність імпорту дверних ручок. Для цього скористаємося даними за 2011 р.
Вихідні дані для розрахунку ефективності імпорту наведено у табл. 3.6.
Таблиця 3.6Оцінки ефективності
імпорту дверних ручок ТОВ «Дружба», призначених для реалізації на території
України у 2010-2011 рр., грн
|
Показник
|
2010 р.
|
2011 р.
|
|
ТМ «Hettich» (Німечинна)
|
ТМ «Валмакс» (Росія)
|
ТМ «Hafele» (Австрія)
|
ТМ «Hettich» (Німечинна)
|
ТМ «Валмакс» (Росія)
|
ТМ «Hafele» (Австрія)
|
|
Контрактна вартість імпорту
|
46893,1
|
34842,9
|
62996,6
|
55790,6
|
54155,7
|
48554,4
|
|
Митні платежі (мито, ПДВ)
|
10035,123
|
7456,3806
|
13481,272
|
11939,188
|
11589,32
|
10390,642
|
|
Матеріальні витрати імпортера
|
12034,3
|
9240,2
|
16542,5
|
13265,2
|
12008,3
|
9766,2
|
|
Витрати на реалізацію продукції
|
3000,2
|
2046,8
|
1756,8
|
4302,1
|
5010,8
|
2300
|
|
Усього витрат
|
71962,72
|
53586,28
|
94777,17
|
85297,09
|
82764,12
|
71011,24
|
|
Виручка від реалізації імпортної продукції на
внутрішньому ринку
|
120650,3
|
120043,6
|
170000,3
|
140220,8
|
203717,9
|
117895,4
|
|
Ефект від імпорту
|
48687,577
|
66457,319
|
75223,128
|
54923,712
|
120953,78
|
46884,158
|
|
Коефіцієнт ефективності імпорту
|
1,68
|
2,24
|
1,79
|
1,64
|
2,46
|
1,66
|
Як видно з представленої таблиці,
ефективність імпорту за усіма товарними групами є достатньо високою, при цьому
найменш вигідним для підприємства є імпорт найбільш конкурентоспроможної
продукції - ручок ТМ «Hettich». Це пов’язано, на нашу думку, з тим, що ціна
закупівлі даної продукції є достатньо високою, а ціна реалізації при цьому не
має бути значно вищою за середньоринкову для забезпечення
конкурентоспроможності за ціновим критерієм. Необхідно також зауважити, що
протягом останніх років ефективність імпорту з країн ЄС знизилася, у той час як
імпорт ручок у Росії став більш вигідним.
Оцінюючи ефективність імпорту
замків, скористаємося аналогічним алгоритмом. На нашу думку, порівняння
ефективності закупівлі аналогічних товарів у різних постачальників є у межах
даної роботи доцільним, оскільки воно дозволяє визначити напрями оптимізації
товарної структури імпорту на довгострокову перспективу (табл. 3.7)
Таблиця 3.7 Оцінки ефективності
імпорту замків ТОВ «Дружба», призначених для реалізації на території України у
2010-2011 рр., грн
|
Показник
|
2010 р.
|
2011 р.
|
|
|
ТМ «Hettich» (Німечинна)
|
ТМ «Валмакс» (Росія)
|
ТМ «Hafele» (Австрія)
|
ТМ «Hettich» (Німечинна)
|
ТМ «Валмакс» (Росія)
|
ТМ «Hafele» (Австрія)
|
|
|
Контрактна вартість імпорту
|
80871,00
|
70668,47
|
65055,75
|
47940,24
|
87994,49
|
47667,53
|
|
|
Митні платежі (мито, ПДВ)
|
21996,91
|
19221,82
|
17695,16
|
13039,75
|
23934,50
|
12965,57
|
|
|
Матеріальні витрати імпортера
|
9704,52
|
8480,22
|
7806,69
|
5752,83
|
10559,34
|
5720,10
|
|
|
Витрати на реалізацію продукції
|
72783,90
|
63601,62
|
58550,17
|
43146,22
|
79195,04
|
42900,78
|
|
|
Усього витрат
|
185356,33
|
161972,13
|
149107,7
|
109879,04
|
201683,37
|
109253,98
|
|
|
Виручка від реалізації імпортної продукції на
внутрішньому ринку
|
230650,80
|
210640,30
|
200700,2
|
190612,30
|
320780,90
|
200700,30
|
|
Ефект від імпорту
|
45294,47
|
48668,17
|
51592,43
|
80733,27
|
119097,53
|
91446,32
|
|
|
Коефіцієнт ефективності імпорту
|
1,24
|
1,30
|
1,35
|
1,73
|
1,59
|
1,84
|
|
Як видно з представленої таблиці,
ефективність імпорту даної товарної групи істотно зросла протягом
досліджуваного періоду, при цьому найбільш ефективним є імпорт замків ТМ
«Hafele», що є найменш конкурентоспроможними. Висока ефективність імпорту даної
продукції вказує на наявність резервів підвищення конкурентоспроможності
останньої за рахунок цінових та ринкових факторів - можливим є проведення
акційних знижок на даний товар, а також його активне рекламування.
Останньою товарною групою,
конкурентоспроможність якої ми оцінювали, є засови. Розрахуємо ефективність
імпорту товарів з метою виявлення резервів підвищення їх конкурентоспроможності
(табл. 3.8) [48-50].
Таблиця 3.8 Оцінки ефективності
імпорту засовів ТОВ «Дружба», призначених для реалізації на території України у
2010-2011 рр., грн
|
Показник
|
2010 р.
|
2011 р.
|
|
ТМ «Werkpol» Польща
|
ТМ «Валмакс» Росія
|
ТМ «АВС» Німеччина
|
ТМ «Werkpol» Польща
|
ТМ «Валмакс» Росія
|
ТМ «АВС» Німеччина
|
|
Контрактна вартість
|
55126,73
|
27659,34
|
43478,92
|
63712,42
|
30664,97
|
45241,43
|
|
Митні платежі
|
16317,51
|
8187,16
|
12869,76
|
18858,88
|
9076,83
|
13391,46
|
|
Матеріальні витрати імпортера
|
2094,82
|
1604,24
|
2521,78
|
2421,07
|
1471,92
|
2624,00
|
|
Витрати на реалізацію продукції
|
20396,89
|
12999,89
|
20435,09
|
17202,35
|
14412,54
|
21263,47
|
|
Усього витрат
|
93935,95
|
79305,55
|
102194,72
|
55626,26
|
82520,36
|
|
Виручка від реалізації імпортної продукції на
внутрішньому ринку
|
90442,20
|
60234,70
|
86340,10
|
110020,80
|
67890,40
|
95430,10
|
|
Ефект від імпорту
|
-3493,75
|
9784,06
|
7034,55
|
7826,08
|
12264,14
|
12909,73
|
|
Коефіцієнт ефективності імпорту
|
0,96
|
1,19
|
1,09
|
1,08
|
1,22
|
1,16
|
Як видно з представленої таблиці,
імпорт засовів є найменш ефективним у порівнянні з товарами інших асортиментних
груп, проте він має позитивну динаміку, що свідчить про доцільність збереження
існуючої на підприємстві товарної та географічної структури закупівель.
Таким чином, результати проведеного
аналізу засвідчили, що імпорт відіграє ключову роль у діяльності ТОВ «Дружба»
та дозволяє підприємству реалізувати на ринку конкурентоспроможні товари
високої якості. Одним з ключових факторів конкурентоспроможності імпортної
меблевої фурнітури на зовнішньому ринку є співвідношення ціна/якість, а також
можливість забезпечення оптимальності цього співвідношення з урахуванням
імпортної ціни продукції.
3.2 Оцінка конкурентоспроможності
підприємства «Дружба» на внутрішньому ринку
Наявність конкурентоспроможної
продукції обов’язкова, проте недостатня умова конкурентоспроможності
підприємства у нинішніх умовах. Для того, щоб залишатися лідером на ринку
необхідно постійно розвиватися, інвестувати значні кошти у розвиток,
повідомляти споживачів про свої досягнення.
Здійснення подібних заходів вимагає
належного фінансування, що на посткризовому етапі є істотною проблемою великої
кількості вітчизняних компаній. Це вказує на те, що фінансово-господарський
стан компанії є одним з основних критеріїв її конкурентоспроможності, а отже
має бути проаналізований та врахований у процесі оцінки конкурентних позицій
підприємства на ринку [51].
Оцінка конкурентоспроможності ТОВ
«Дружба» буде здійснена нами за показниками фінансово-господарського стану
(виручкою від реалізації, рівнем фінансової незалежності, рівнем ліквідності
балансу, коефіцієнтом оборотності активів), рівнем ефективності імпортних
операцій, та скорегована на показники маркетингової активності підприємства та
широту його асортименту.
Виручка від реалізації була обрана
нами через те, що даний показник є основним мірилом успіху підприємства на
ринку - даний показник вказує на те, яку кількість продукції було реалізовано
підприємством у звітному періоді, а також можливість визначити частку ринку
останнього у порівнянні з конкурентами.
Рівень фінансової незалежності
вимірюється за допомогою коефіцієнта фінансової автономії, який розраховується
як відношення власного капіталу підприємства до усіх наявних у нього коштів.
Даний показник дає можливість оцінити, якою мірою діяльність господарюючого
суб’єкта фінансується за рахунок належних йому ресурсів, тобто чи має
підприємство право самостійно приймати рішення щодо подальшого розвитку та стратегії
діяльності. У сучасних умовах більшість вітчизняних підприємств є значно
залежними від зовнішніх джерел фінансування - їх коефіцієнт фінансової
автономії наближається до нуля, що не відповідає встановленим нормативам. З
огляду на це, врахування даного показника є особливо важливим при оцінці рівня
конкурентоспроможності підприємства, оскільки його можна вважати основним
мірилом фінансової стійкості [52].
Рівень поточної ліквідності є одним
з основних показників, що вказує на можливості підприємства погасити власні
фінансові зобов’язання за рахунок наявних у нього оборотних активів. Даний
показник використовується для оцінки адекватності прийнятих управлінських
рішень, у тому числі у фінансовій сфері поточному господарсько-фінансовому
стану підприємства, а отже може використовуватися як критерій ефективності
управління підприємством при оцінці його конкурентоспроможності.
Коефіцієнт оборотності активів є
показником, що свідчить про ділову активність підприємства. Оптимальним є
зростання даного показника - тобто, чим вищим є коефіцієнт оборотності активів,
тим ефективніше підприємство використовує власний потенціал для досягнення
цілей господарської діяльності.
З огляду на те, що більшість
підприємств, що є конкурентами ТОВ «Дружба» використовують у своїй діяльності
імпортну продукцію для забезпечення споживачів продукцією вищої якості, що
більшої мірою відповідає їх потребам, у якості критерію конкурентоспроможності
нами було обрано коефіцієнт ефективності імпорту. Даний показник розраховується
як співвідношення виручки від реалізацій товару на внутрішньому ринку та усіх
витрат, що були понесені підприємством для продажу цього товару споживачу. Чим
вищим є даний показник, тим більше можливостей з підвищення
конкурентоспроможності продукту має підприємство (є можливість надавати
покупцям знижку або вкласти кошту у рекламу продукції).
Важливим показником
конкурентоспроможності підприємства є також асортимент продукції, яку воно
пропонує споживачам: чим більше товарних позицій пропонується покупцям - тим
повніше підприємство має можливість задовольнити потреби останнього і,
відповідно, отримати у його очах значні переваги перед конкурентами [53].
Важливим показником
конкурентоспроможності підприємства є також рівень його маркетингової
активності, тобто ступінь розрекламованості його основних продуктів, а також
робота підприємства над іміджем фірми як постачальника високоякісної продукції.
Вихідні дані для оцінки конкурентоспроможності ТОВ «Дружба» наведено у табл.
3.9.
Для того, щоб наведені у табл. 3.9
дані можна було використовувати для оцінки конкурентоспроможності, їх необхідно
з абсолютних перевести у відносні. Для цього за кожним з показників обираємо
показник-еталон (оптимальне значення серед запропонованих), та порівнюємо
значення усіх конкурентів зі значенням еталону. Так, найбільший обсяг
товарообороту має ТОВ «Дружба» - 2134336,49 грн, тому за еталонне обираємо саме
дане значення. Динаміка показників фінансово-господарського стану підприємства
«Дружба» та його основних конкурентів у 2011 р. Представлені у дод. К.
Найменш залежним від зовнішніх
джерел фінансування є ЗАТ «Імпульс» - коефіцієнт фінансової автономії даного
підприємства дорівнює 0,33, і саме це значення обираємо у якості еталону. Щодо
ліквідності балансу, то показник поточної ліквідності є найвищим у
досліджуваного підприємства - обираємо його у якості еталону.
Таблиця 3.9 Показники
фінансово-господарського стану підприємства «Дружба» та його основних
конкурентів у 2011 р.
|
Критерій конкурентоспроможності
|
ТОВ «Дружба»
|
«Integua»
|
ТОВ «Смартт»
|
ТОВ «Інтерін»
|
Еталон
|
Вага критерію
|
|
Виручка від реалізації продукції
|
2134336,4
|
1685002,8
|
1123335,2
|
1235668,73
|
2134336,4
|
0,2
|
|
Коефіцієнт фінансової незалежності
|
0,3
|
0,27
|
0,33
|
0,29
|
0,33
|
0,15
|
|
Коефіцієнт поточної ліквідності
|
0,89
|
0,67
|
0,87
|
0,53
|
0,89
|
0,1
|
|
Коефіцієнт оборотності активів
|
3,2
|
3,78
|
2,7
|
4,12
|
4,12
|
0,1
|
|
Коефіцієнт ефективності імпорту
|
1,43
|
1,13
|
1,17
|
1,21
|
1,43
|
0,2
|
|
Кількість асортиментних позицій
|
18
|
21
|
17
|
14
|
21
|
0,15
|
|
Витрати на рекламу, % ТО
|
6
|
4
|
4
|
6
|
6
|
0,1
|
Коефіцієнт оборотності активів є
найвищим у ТОВ «Інтерком» - 4,12, тому у якості еталону за динам критерієм
обираємо саме це підприємство. За ефективністю імпорту лідером на сьогодні є
ТОВ «Дружба», коефіцієнт ефективності якого складає 1,43. Достатньо цікавою є
ситуація з витратами на маркетинг: у випадку, коли частка витрат є меншою за
10%, оптимальним є збільшення даного показника, проте у випадку перевищення 10%
тенденція є зворотною. З огляду на те, що все підприємства витрачають на
маркетинг менше 10%, за еталонне значення приймаємо 6% - саме стільки
витрачають на рекламні заходи ТОВ «Дружба» та ТОВ «Інтерком». Динаміка вибраних
для оцінки показників наведена у додатку. Показники, які характеризують
конкурентоспроможність підприємства, різні за своєю природою. Це обумовлює
необхідність переведення їх абсолютних значень у відносні, що розраховуються як
співвідношення фактичного значення показника конкурентоспроможності
підприємства та обраного з-поміж конкурентів еталонного значення. Після вибору
еталонних значень показників, розрахуємо відносні коефіцієнти
конкурентоспроможності ТОВ «Дружба» та його основних конкурентів. Результати
розрахунків подаємо у табл. 3.10.
Таблиця 3.10 Відносні показники
конкурентоспроможності ТОВ «Дружба» та його основних конкурентів у 2011 р.
|
Критерій конкуренто-спроможності
|
ТОВ «Дружба»
|
«Integua»
|
ТОВ«Смартт»
|
ТОВ «Інтерін»
|
|
Виручка від реалізації продукції
|
1,00 *
|
0,79
|
0,53
|
0,58
|
|
Коефіцієнт фінансової незалежності
|
0,91
|
0,82
|
1,00
|
0,88
|
|
Коефіцієнт ліквідності
|
1,00
|
0,75
|
0,98
|
0,60
|
|
Коефіцієнт оборотності активів
|
0,78
|
0,92
|
0,66
|
1,00
|
|
Коефіцієнт ефективності імпорту
|
1,00
|
0,79
|
0,82
|
0,85
|
|
Кількість асортиментних позицій
|
0,86
|
1,00
|
0,81
|
0,67
|
|
Витрати на рекламу
|
1,00
|
0,67
|
0,67
|
1,00
|
|
Інтегральний показник конкуренто-спроможності
|
0,94
|
0,82
|
0,77
|
0,78
|
Примітка: * значення відносного
показника конкурентоспроможності для підприємства еталона дорівнює 1.
Як видно з представленої таблиці,
ТОВ «Дружба» є лідером серед обраних нами підприємств. Як зазначалося у
попередньому розділі, це підприємство має найбільшу частку ринку, до того ж його
фінансово-господарський стан також є достатньо стабільним.
За показником фінансової автономії
ТОВ «Дружба» поступається лише одному конкуренту - ТОВ «Смартт», хоче не можна
не відмітити, що даний показник, на нашу думку, є незадовільним в усіх
підприємств. Залежність від зовнішніх джерел фінансування обмежує коло
стратегічного маневру підприємств та створює додаткові загрози, пов’язані з
непередбачуваністю дій кредиторів. Високий рівень залежності обумовлює також
загрозу браку фінансових ресурсів в умовах кризи.
Коефіцієнт ліквідності ТОВ «Дружба»
є задовільним - оборотних активів підприємства вистачає, щоб покрити
зобов’язання перед кредиторами на 89%. Решта підприємств мають нижчі показники,
що дозволяє досліджуваному підприємству перемагати у конкурентній боротьбі.
Щодо показників ділової активності,
то коефіцієнт оборотності активів ТОВ «Дружба» є нижчим за конкурентів, проте,
у ситуації, що склалася, з огляду на те, що товарооборот даного підприємства є
істотно вищим за товарооборот підприємства-еталона, нижчий коефіцієнт
оборотності може свідчити про більшу матеріальну базу ТОВ «Дружба» у порівнянні
з конкурентами.
Ефективність імпорту ТОВ «Дружба»,
як було доведено у попередніх параграфах, є значно вищою за середньоринкову, і
у середньому за усіма товарними групами складає 1,43 (табл. 3.11).
Представлена таблиця свідчить, що у
цілому, протягом досліджуваного періоду, імпорт мав достатньо нестабільну
динаміку: навіть у 2009 році, коли економіка країн світу лише почала
відновлюватися після кризи, даний показник був достатньо високим: проте у 2010
році відбувся спад, що був змінений стрімким зростанням ефективності у 2011 р.
На нашу думку, така ситуація може бути викликана зміною умом закупівлі
імпортної продукції, пов’язаною з тим, що зарубіжні постачальники намагаються
знайти збалансовану ціну на власну продукцію, а також коливаннями попиту на
будівельну фурнітуру.
Таблиця 3.11 Оцінка ефективності
імпорту, призначеного для подальшого перепродажу ТОВ «Дружба» у 2009-2011 рр.,
грн
|
Показник
|
Факт
|
Абсолютне відхилення
|
|
2009
|
2010
|
2011
|
2010/ 2009
|
2011/ 2010
|
|
Контрактна вартість імпорту
|
600967,25
|
655449,60
|
722307,02
|
54482,35
|
66857,42
|
|
Митні платежі (мито, ПДВ)
|
163463,09
|
178282,29
|
196467,51
|
14819,20
|
18185,22
|
|
Матеріальні витрати імпортера
|
132212,79
|
144198,91
|
158907,55
|
11986,12
|
14708,63
|
|
Витрати на реалізацію продукції
|
66106,40
|
72099,46
|
79453,77
|
5993,06
|
7354,32
|
|
Всього витрат
|
962749,53
|
1050030,2
|
1157135,8
|
87280,73
|
107105,6
|
|
Виручка від реалізації імпортної продукції на
внутрішньому ринку
|
1353650,80
|
1437260,5
|
1662337,3
|
83609,70
|
225076,8
|
|
Ефект від імпорту
|
390901,27
|
387230,24
|
505201,43
|
-3671,03
|
117971,2
|
|
Коефіцієнт ефективності ім-ту
|
1,41
|
1,37
|
1,44
|
-0,04
|
0,07
|
Останнім критерієм
конкурентоспроможності, що був нами обраний, є витрати на маркетинг. За даним
показником досліджуване підприємство є лідером, оскільки витрачає на рекламу
себе і продукції 6% товарообороту. У цілому, у розвинених країнах даний
показник є у 3-5 разів вищим, проте для підприємства, що здійснює діяльність в
Україні, такі витрати на маркетинг є достатніми. Для того, щоб розрахувати
інтегральний індекс конкурентоспроможності підприємств, скористалися формулою,
наведеною у параграфі 3.1. Результати обчислень підтвердили, що ТОВ «Дружба» є
лідером ринку (інтегральний коефіцієнт конкурентоспроможності - 0,94), а ТОВ
«Смартт» та ТОВ «Інтерін» є аутсайдерами (їх коефіцієнт дорівнює 0,77). Не
зважаючи на те, що досліджуване підприємство є лідером на ринку, йому необхідно
активно інвестувати у власний розвиток для утримання наявних позицій та посилення
впливу на ринок навіть в умовах загострення конкурентної боротьби. Оцінуючи
рівень конкурентоспроможності ТОВ «Дружба», доцільно провести аналіз сильних та
слабких сторін підприємства, а також оцінити його сильні та слабкі сторони. Для
цього скористаємося методикою SWOT-аналізу, що передбачає оцінку підприємства
за кожним з названих критеріїв.
На нашу думку, серед зовнішніх
чинників на діяльність підприємства позитивно впливає те, що ринок меблевої
фурнітури активно розвивається, що створює передумови до розширення спектру
діяльності та підвищення рівня прибутковості. Ринок меблевої фурнітури не є
надто регулюлваним, що дозволяє підприємству вільно здійснювати імпортні
операції, забезпечуючи споживачів саме тими товарами, на які існує попит.
Меблева фурнітура є товаром,
споживачі якого досить чутливі до рекламних звернень, що дозволяє підприємству
використовувати інструменти маркетингу.
До загроз зовнішнього середовища
можна віднести високу конкурентність ринку, мінливість попиту, швидка зміна
асортименту, чутливість споживачів до змін ціни на товар.
Щодо внутрішніх слабких сторін
підприємства, то до них можна віднести недосить ефективну організаційну
структуру, невисоку кваліфікацію працівників, особливо управлінських кадрів та
маркетологів, високий рівень фінансової залежності.
До сильних сторін підприємства
належать, у першу чергу, наявність стійких зв’язків з імпортерами, висока
ефективність імпорту, наявність значного кола постійних клієнтів, вдале
розміщення (табл. 3.12).
Таблиця 3.12 Зведена таблиця SWOT-аналізу
для ТОВ «Дружба»
|
Зовнішнє середовище
|
|
Можливості
|
Загрози
|
|
- динамічний розвиток ринку
|
- висока конкурентність
|
|
- відсутність бар’єрів зовнішньої торгівлі
|
- мінливість попиту
|
|
- чутливість споживачів до інструментів
маркетингу
|
- чутливість споживачів до цінових коливань
|
|
Внутрішнє середовище
|
|
Сильні сторони
|
Слабкі сторони
|
|
- налагоджені зв’язки з імпортерами
|
- неефективна організаційна структура
|
|
- висока ефективність імпорту
|
- невисока кваліфікація працівників
|
|
- наявність постійних клієнтів
|
- високий рівень фінансової залежності
|
|
- зручне розташування
|
|
|
- достатньо широкий асортимент продукції
|
|
Наведений перелік факторів
внутрішнього та зовнішнього середовища, що впливають на рівень
конкурентоспроможності підприємства, не є вичерпним, проте саме зазначені
чинники найбільшою мірою впливають на ринкові позиції ТОВ «Дружба» [54-56].
З огляду на те, що ринок меблевої
фурнітури характеризується динамічним розвитком та конкурентністю, ТОВ «Дружба»
необхідно будувати стратегію розвитку з урахуванням власних переваг та з метою
зменшення негативного впливу внутрішніх та зовнішніх загроз.
3.3 Розробка стратегії підвищення
конкурентоспроможності на ринку
Результати аналізу, проведеного у
попередніх розділах, засвідчили, що ТОВ «Дружба» має достатньо сильні позиції
на ринку, проте має також резерви для їх покращення. З огляду на те, що
компанія імпортує більшу частину продукції для її перепродажу, впливати на
виробничий процес вона змоги не має, тому оптимальними напрямами підвищення
конкурентоспроможності для неї є покращення цінових та ринкових характеристик
товарів, а також покращення фінансово-господарського стану.
На нашу думку, для підвищення
конкурентоспроможності даного підприємства, доцільно розробити та впровадити у
життя стратегію підвищення конкурентоспроможності, що базуватиметься на сильних
сторонах компанії та дозволить їй укріпитися на цільовому ринку (рис. 3.6).
До основних цілей розробленої нами
стратегії належать укріплення позицій ТОВ «Дружба» на ринку, проявом чого є
збільшення його ринкової частки, більш повне задоволення потреб споживачів, а
також підвищення обсягів виручки від реалізації та прибутків.
З метою оцінки можливостей
підприємства досягнути визначених цілей, нами було використано результати
СВОТ-аналізу, проведеного у попередньому параграфі. Були визначено, що
оптимальною для підприємства, з урахуванням внутрішніх та зовнішніх факторів, є
наступальна стратегія, що передбачає активізацію маркетингових дій та
розширення асортименту з метою витіснення з ринку конкурентів та захоплення
більшої його частки.
Зазначена стратегія буде
реалізуватися у наступній послідовності: розробка заходів у межах наступальної
стратегії, розрахунок планових витрат на реалізацію розроблених заходів,
впровадження стратегії у практичну діяльність ТОВ «Дружба», оцінка ефективності
запропонованої стратегії та її корегування відповідно до результатів
розрахунків (рис. 3.6.).
На етапі розробки заходів підвищення
конкурентоспроможності доцільно визначити основні заходи з досягнення
визначених нами цілей. На нашу думку, основним інструментом реалізації завдань
стратегії має стати маркетинг. Базовим елементом маркетингової діяльності ТОВ
«Дружба» має бути реклама, основою якої є рекламне звернення, тобто засіб
подання інформації споживачу. Рекламне звернення має представляти ТОВ «Дружба»
цільовій аудиторії, фокусувати більшість елементів маркетингової кампанії,
сприяти приверненню уваги потенційних споживачів та формуванню у них
позитивного ставлення до фірми та її товарів, а також бути основним інструментом
досягнення цілей маркетингової діяльності [57].
Саме рекламне звернення має
спонукати потенційного споживача звернути увагу та прочитати рекламне
оголошення, з огляду на що воно має бути ексклюзивною і не містити
необґрунтованих висновків. Наведемо основні характеристики рекламних звернень,
на які ми орієнтувались при розробці рекламної кампанії на ТОВ «Дружба»: хоч і
рекламне звернення і націлене тільки на те, щоб привертати увагу, воно повинно
стимулювати продаж. Секрет успішної реклами - в повторенні, стосується чи це
постійного повторення самої реклами, або використання повторення тексту, не
обов’язково, що люди будуть читати рекламу. Тому в зверненні не повинно бути
зайвих слів, воно повинно передаватися швидко і здійснювати відповідний вплив, якщо
людина не розуміє значення слова, то її увага вже втрачена. Тому всі слова
повинні бути зрозумілими, та звернення не повинно містити в собі якоїсь долі
невизначеності, коротенькі слова, фрази, абзаци сприяють демонстративності
звернення та допомагають його швидкому читанні та розуміння. При розробці
рекламного тексту нами було враховано наступні вимоги до рекламування товарів
та послуг: реклама повинна бути правдивою, конкретною, містити в собі необхідні
відомості про об’єкти рекламування та умови їх використання.
Рис. 3.6. Стратегія підвищення
конкурентоспроможності ТОВ «Дружба»
На нашу думку, оптимальним є
наступний варіант звернення: «Дружба» - те, що перевірене часом». Він дозволяє
використати та обіграти назву підприємства та привертає увагу місцевих
споживачів, на яких, власне, і орієнтується підприємство, через прив’язку до
традицій.
При розробці маркетингової компанії
необхідно зауважити, що її ефективність багато у чому залежить від заходів, що
її супроводжуватимуть. Необхідним є створення маркетингоорієнтованої структури
фірми Маркетингова орієнтація управлінської системи фірми означає організацію
досягнення мети переважно маркетинговими методами. Іншими методами можуть бути
фінансові, техніко-технологічні, виробничі, організаційні. При домінанті
маркетингової орієнтації вони, безумовно, не зникають, а стають
підпорядкованими пріоритетній.
В розвинутих країнах вже визнано, що
в умовах сучасної конкуренції ключовим фактором успіху фірм є орієнтація на
клієнта. Логіка орієнтації на споживачів в сучасному бізнесі полягає у
наступному: ефективність діяльності, прибутковість, або навіть просте існування
фірми залежить перш за все від споживача, його бажання та можливості придбати і
оплатити товар. В міжнародному бізнесі фірма об’єктивно стає більш залежною від
споживача, оскільки, по-перше, світовий ринок, в цілому, характеризується як
ринок споживача та, по-друге, поведінка «покупця» є менш дослідженою, вивченою,
зрозумілою, прогнозованою, ніж аналогічні дії національних споживачів. З цього
слідує, що ринково орієнтована фірма повинна при прийнятті управлінських
(маркетингових) рішень знати потреби споживачів, для чого спочатку необхідно
визначити саме їх коло. Причому усвідомлювати все це доцільно не на стадії реалізації
товару, а заздалегідь - до початку формування асортименту та імпорту, або
навіть до планування імпорту [58].
З цього положення випливає логічний
висновок, що потреби споживачів мають постійно відслідковуватися,
аналізуватися, а результати інформаційно-аналітичної роботи застосовуватися для
створення конкурентних переваг. Менеджмент повинен забезпечити інтеграцію
зусиль фірми як по горизонталі (між різними функціональними напрямами
міжнародної маркетингової діяльності), так і по вертикалі - між функціональними
підрозділами (фінансами, управлінням персоналом, науково-технічними розробками
тощо).
Повертаючись власне до маркетингових
заходів, зауважимо, що найефективнішим, на нашу думку, буде поєднання активної
рекламної кампанії підприємства з маркетинговими заходами, спрямованими на
аналіз ринку та посилення позицій досліджуваного підприємства на ньому у якості
постачальника продукції не лише для фізичних осіб, а й спеціалізованих меблевих
та дизайнерських компаній. Саме тому одним із елементів рекламної компанії,
запропонованої нами, має стати участь у міжнародних виставках. Оцінивши рівень
спiвпадіння цілей кожної з виставок з цілями досліджуваного підприємства, склад
учасників минулорічних виставок та можливість виходу на нові цiльовi ринки
через участь у подібних заходах, з-поміж безлічі можливих варіантів нами було
обрано наступні виставки, участь у яких буде, на нашу думку, найефективнішою
(табл. 3.13).
Участь у перелічених виставках дасть
ТОВ «Дружба» можливість оцінити кон’юнктуру потенційних ринків, отримати
інформацію про товари, цiни, знайти нових партнерів та виявити нові ринки,
перевірити конкурентоспроможність продукції, що імпортується компанією на
зарубіжних ринках (за критерієм представленості на виставках), обмінятися
досвідом з провідними компаніями Східної Європи. При розміщенні реклами товарів
ТОВ «Дружба» перш за все потрібно здійснити відбір необхідних засобів реклами,
роблячи вибір між газетами, журналами, радіо, телебаченням, засобами зовнішньої
реклами, реклами на транспорті, прямої поштової реклами і т.д. Єдиних
загальноприйнятих правил тут не існує, так як кожному виду засобів реклами
властиві свої власні характеристики, що відрізняються один від одного.
Оскільки ТОВ «Дружба» прагне
закріпитися на ринках, на яких уже працює, метою рекламної компанії є
нагадування про переваги підприємства. Завданням маркетингової стратегії у
даному випадку є закріплення позиції на ринку підприємства та ріст попиту на
його продукцію.
Таблиця 3.13 Календарний план участі
ТОВ «Дружба» у міжнародних виставках
|
Назва виставки
|
Термін проведення
|
Місце проведення, контакти
|
|
Міжнародна виставка меблевої промисловості
«Fern-Expo2012»
|
14-18 квітня 2012 р.
|
Росія, Москва,
тел. (495) 255-26-82,
факс 205-60-55,
www.ferm-expocomm.ru
|
|
5-та Грузинська міжнародна виставка
інноваційних товарів домашнього вжитку Georginnov’2012
|
23-25 червня 2012 р.
|
Грузія, Тбілісі, www.iteca.ge
|
|
Світовий форум IPTV у Східній Європі
|
15-16 вересня 2012р.
|
Чехія, Прага www.iptv-esterneurope.com
|
|
4-та спеціалізована виставка
"ПТА-Санкт-Петербург 2012".
|
15-17 листопада 2012р.
|
Росія, Санкт-Петербург, тел. (812) 448-03-38, spb@pta-expo.ru,
www.pta-expo.ru
|
Вибір рекламних засобів дуже важке
завдання, оскільки потрібно вибрати саме той засіб розповсюдження, що буде
найефективнішим для нашої рекламної кампанії, легко буде сприйматися нашою
аудиторією та матиме вплив, який ми бажаємо. Основними засобами здійснення
рекламної кампанії нами обрано:
- реклама в місцевій пресі - за
високу якість відтворення, багату чисельність цільової аудиторії та відносно
низькі витрати;
- радіо-реклама - за
масовість аудиторії, та низьку вартість одного рекламного контакту;
- зовнішня реклама
(рекламні щити, бил борт) - за високу частоту повторних контактів;
- Інтернет-рекламу -
за велику сконцентрованість на цільовій аудиторії, та за можливість обліку
контактів з рекламним зверненням.
Одним із основних засобів реклами,
обраних нами для проведення рекламної кампанії, є реклама у друкованих засобах
масової інформації. Нами було запропоновано друкувати рекламу у спеціалізованих
місцевих виданнях (Броварський кур’єр, Бровари сьогодні) оскільки вони часто
потрапляють на очі представникам цільової аудиторії та є найдешевшим способом
донесення реклами до споживачів.
Ще одним елементом рекламної
компанії, що має використовуватися ТОВ «Дружба» є реклама на радіо. Рекламна
кампанія на радіо призначена супроводжувати та доповнювати зовнішню рекламу,
яка до цього часу вже повинна бути розміщена на основних найбільш вигідних
направленнях: на автомобільних трасах, при під’їзді до офісу фірми.
Друкована реклама поєднує такі
носії, як листівка, плакат, буклет, каталог, проспект, календарі та інші види
друкованої рекламної продукції. Особливість даного методу медіа каналу, для
нашої рекламної кампанії, визначається в наступному: відносно дешевші, за всі
інші рекламні засоби, деякі носії (наприклад, настінні календарі) дозволяють
забезпечити досить тривалий рекламний контакт с утримувачем, відсутність
інформації про конкурентів на конкретному носії реклами.
Найактивніше, на нашу думку, ТОВ
«Дружба» має використовувати в рекламній кампанії такий вид друкованої реклами,
як листівки. В процесі розробки рекламної кампанії, для ефективнішого
результату, було прийнято використовувати листівки наступного типу: розмір
11/15, офсетного друку, має інформуючи зміст реклами. Інтернет реклама має бут
розміщена на сайтах, пов’язаних з дизайном та інтер’єрним проектуванням, а
також на сайтах видань, у яких буде розміщено друковану рекламу.
Таким чином, запропонована нами
маркетингова складова стратегії підвищення конкурентоспроможності ТОВ «Дружба»
має охоплювати участь у виставках, а також активну рекламу у засобах масової
інформації. На нашу думку, процес провадження даних заходів має бути
поступовим, оскільки реалізація усіх запропонованих елементів рекламної
кампанії одночасно може стати непосильним тягарем для досліджуваного
підприємства. На першому етапі доцільним, на нашу думку, є здійснення участі у
виставках, провадження Інтернет реклами та реклами на радіо, на другому етапі -
друк рекламних звернень у журналах.
Логічним продовженням удосконалення
маркетингової складової конкурентоспроможності на підприємстві має, на нашу
думку, стати впровадження і системи контролю за маркетинговою діяльністю. За
допомогою даного процесу керівництво маркетингового підрозділу визначатиме
правильність прийнятих рішень, розроблених заходів та ступінь їх необхідного,
доцільного корегування згідно зі змінами міжнародного маркетингового
середовища. На наш погляд, контроль слід розглядати як процес забезпечення
досягнення фірмою своїх маркетингових цілей на закордонних ринках, необхідність
організації якого обумовлена невизначеністю міжнародного бізнес-середовища,
можливістю запобігання помилкам у реалізації стратегії та планів, необхідністю
підтримання досягнутого успіху чи ліквідації кризового становища. Процес
контролю має стати для ТОВ «Дружба» продовженням процесу планування, тобто
реалізацією принципу його неперервності [59].
До заходів підвищення
конкурентоспроможності ТОВ «Дружба» можна також віднести цінову політки
підприємства. На нашу думку, доцільним є створення системи знижок для постійних
клієнтів. Так, при першій купівлі покупцю надаватиметься картка, яка після
здійснення 5-ти покупок обмінюватиметься на іншу, що даватиме правдо на знижку
у 3%. Після того, як сума здійснених на підприємстві покупок дорівнюватиме 5
тис. грн. - картка обмінюватиметься на 5-ти відсоткову. Після того, як сума на
картці досягне 15 тис. грн., дана картка дозволить покупцю завжди отримувати
знижку, навіть за умови, що товар, який він хоче придбати, є акційним.
На нашу думку, подібна цінова
політика незначно знизить ефективність імпорту ТОВ «Дружба», проте дозволить
підприємству покращити рівень цінової конкурентоспроможності.
До заходів з підвищення
конкурентоспроможності можна також віднести зміну асортименту підприємства:
так, ТОВ «Дружба» необхідно відслідковувати уподобання споживачів та тенденції
ринку і закуповувати лише ті товари, що є конкурентоспроможними. Так, на
сьогодні удосконалення вимагає товарна структура імпорту замків, оскільки
продукція ТМ «Hafelle», згідно здійсненого аналізу, є неконкурентоспроможною, а
отже, її частку у структурі імпорту, попри його високу ефективність, доцільно
зменшувати.
На другому етапі розробки стратегії
підвищення конкурентоспроможності ТОВ «Дружба» необхідно сформувати кошторис
витрат на реалізацію запропонованих нами заходів (табл. 3.14).
Таблиця 3.14 Кошторис
витрат на реалізацію стратегії підвищення конкурентоспроможності ТОВ «Дружба»
|
№
|
Назва заходу
|
Оціночна вартість реалізації
|
|
1
|
Проведення рекламної кампанії
|
40 тис. грн./рік
|
|
2.
|
Участь у міжнародних виставках
|
25 тис. грн./рік
|
|
3
|
Налагодження зв’язків з новими постачальниками
|
4 тис. грн.
|
|
4
|
Проведення маркетингових досліджень
|
5 тис. грн.
|
|
Усього
|
64 тис. грн.
|
Таким чином, оціночна вартість
реалізації запропонованого нами комплексу заходів дорівнює 64
тис. грн. На думку експертів активізація маркетингової політики дозволяє
підприємству підвищити обсяги збуту на 25 - 30%. Зважаючи на такі прогнози ми
маємо можливість спрогнозувати ефект та ефективність реалізації запропонованих
заходів. Для цього розрахуємо прогнозний приріст виручки від реалізації[60].
З огляду на те, що у 2011 р. обсяг
виручки ТОВ «Дружба» від реалізації продукції складав 2134 тис. грн, то за
умови проведення рекламної компанії він зросте щонайменше на 25%, тобто на
533,5 тис. грн. Таким чином, прогнозний ефект стратегії складе 469,5 тис. грн,
а ефективність - 8,3:
Ефект КС = 533,5 - 64 = 469,5
тис. грн (3.2)
Коефіцієнт ефективності КС = 533,5/64
= 8,3 (3.3)
Необхідно також сконцентрувати
зусилля підприємства на вирішенні проблем його фінансово-господарської
діяльності, зокрема знизити рівень залежності від зовнішніх джерел
фінансування. Доцільним є збільшення рівня реінвестування прибутків, а також
збільшення статутного фонду підприємства.
На нашу думку, запропоновані нами
заходи у межах стратегії підвищення конкурентоспроможності сприятимуть
посиленню позицій підприємства на ринку та дозволять йому відстоювати власні
інтереси у жорсткій конкурентній боротьбі.
Висновки
Таким чином, запропонована нами
маркетингова складова стратегії підвищення конкурентоспроможності ТОВ «Дружба»
має охоплювати участь у виставках, а також активну рекламу у засобах масової
інформації. На нашу думку, процес провадження даних заходів має бути
поступовим, оскільки реалізація усіх запропонованих елементів рекламної
кампанії одночасно може стати непосильним тягарем для досліджуваного
підприємства. На першому етапі доцільним, на нашу думку, є здійснення участі у
виставках, провадження Інтернет реклами та реклами на радіо, на другому етапі -
друк рекламних звернень у журналах.
Логічним продовженням удосконалення
маркетингової складової конкурентоспроможності на підприємстві має, на нашу
думку, стати впровадження і системи контролю за маркетинговою діяльністю. За
допомогою даного процесу керівництво маркетингового підрозділу визначатиме
правильність прийнятих рішень, розроблених заходів та ступінь їх необхідного,
доцільного корегування згідно зі змінами міжнародного маркетингового
середовища. На наш погляд, контроль слід розглядати як процес забезпечення
досягнення фірмою своїх маркетингових цілей на закордонних ринках, необхідність
організації якого обумовлена невизначеністю міжнародного бізнес-середовища,
можливістю запобігання помилкам у реалізації стратегії та планів, необхідністю
підтримання досягнутого успіху чи ліквідації кризового становища. Процес
контролю має стати для ТОВ «Дружба» продовженням процесу планування, тобто
реалізацією принципу його неперервності [59].
До заходів підвищення конкурентоспроможності
ТОВ «Дружба» можна також віднести цінову політки підприємства. На нашу думку,
доцільним є створення системи знижок для постійних клієнтів. Так, при першій
купівлі покупцю надаватиметься картка, яка після здійснення 5-ти покупок
обмінюватиметься на іншу, що даватиме правдо на знижку у 3%. Після того, як
сума здійснених на підприємстві покупок дорівнюватиме 5 тис. грн. - картка
обмінюватиметься на 5-ти відсоткову. Після того, як сума на картці досягне 15
тис. грн., дана картка дозволить покупцю завжди отримувати знижку, навіть за
умови, що товар, який він хоче придбати, є акційним. На нашу думку, подібна
цінова політика незначно знизить ефективність імпорту ТОВ «Дружба», проте
дозволить підприємству покращити рівень цінової конкурентоспроможності.
До заходів з підвищення
конкурентоспроможності можна також віднести зміну асортименту підприємства:
так, ТОВ «Дружба» необхідно відслідковувати уподобання споживачів та тенденції
ринку і закуповувати лише ті товари, що є конкурентоспроможними. Так, на
сьогодні удосконалення вимагає товарна структура імпорту замків, оскільки
продукція ТМ «Hafelle», згідно здійсненого аналізу, є неконкурентоспроможною, а
отже, її частку у структурі імпорту, попри його високу ефективність, доцільно
зменшувати.