Динамический расчёт двигателя

  • Вид работы:
    Курсовая работа (т)
  • Предмет:
    Транспорт, грузоперевозки
  • Язык:
    Русский
    ,
    Формат файла:
    MS Word
    251,02 Кб
  • Опубликовано:
    2013-02-27
Вы можете узнать стоимость помощи в написании студенческой работы.
Помощь в написании работы, которую точно примут!

Динамический расчёт двигателя

Исходные данные

. Эффективная мощность Nе=65 кВт;

. Частота вращения коленчатого вала n=5600 об/мин;

. Давление окружающей среды Ро=0,1 МПа;

. Температура окружающей среды То=20 ºС;

. Давление наддува (продувки) Рк= б/н;

. Степень сжатия ε=8,2;

7. Тип двигателя: бензиновый;

.Число цилиндров: 4;

. Расположение цилиндров: 2;

. Вид топлива: бензин.

Введение

Данная работа выполняется с целью углубления и закрепления теоретических знаний по дисциплине «рабочие процессы, конструкция и основы расчёта тепловых двигателей и энергетических установок», освоения методики динамического и кинематического расчёта ДВС, научиться обоснованно выбирать необходимые параметры и анализировать результаты вычислений, усовершенствовать навыки в выполнении расчётно-графических работ.

Целью работы является освоение и практическое применение динамического и кинематического расчёта двигателя, расчёта поршня, системы охлаждения и системы смазки двигателя.

В соответствии с исходными данными за основу для выбора прототипа будет принят бензиновый двигатель.

1. Динамический расчёт двигателя

.1 Кинематика кривошипно-шатунного механизма

При проведении кинематического исследования кривошипно-шатунного механизма используем уравнения кинематики, полученные для поршневых машин в общем и опубликованные в литературных источниках.

Кинематические исследования проводим исходя из следующих положений:

. Рассматривается только центральный (аксиальный, нормальный) кривошипно-шатунный механизм, где ось цилиндра пересекается с осью коленчатого вала.

. Предполагается, что вращение коленчатого вала происходит с постоянной угловой скоростью ω = const на заданном скоростном режиме работы двигателя.

3. Независимой переменной принимается угол поворота первого кривошипа коленчатого вала  (град.) или  (рад), отсчитываемый от положения кривошипа первого цилиндра, соответствующего положению поршня в нем в верхней мертвой точке (ВМТ) такта впуска (для четырехтактных двигателей) или ВМТ такта сжатия (для двухтактных двигателей). При этом поворот коленчатого вала (пкв)  = 0º или  = 0 рад (ГОСТ ДОО 23550 − 79).

. Основными геометрическими размерами кривошипно-шатунного механизма являются: радиус кривошипа R и длина шатуна L.

. Характеристикой кривошипно-шатунного механизма двигателя является отношение λ = R/L, которое для современных автотракторных двигателей лежит в пределах: λ = R/L = 0,23...0,31.

При выборе λ для проектируемого двигателя необходимо руководствоваться следующими соображениями: с точки зрения уменьшения нормальных усилий на стенку цилиндра более длинный шатун (т.е. меньшее значение λ) предпочтительнее. Однако с уменьшением значения λ происходит увеличение высоты и массы шатуна, что приводит к росту сил инерции возвратно-поступательно движущихся масс КШМ. При коротком шатуне возникает опасность задевания шатуна за нижнюю кромку цилиндра, а юбки поршня - за коленчатый вал.

В общих случаях анализа кинематики кривошипно-шатунного механизма принимают λ = 0,25.

6. Кривошипно-шатунный механизм включает три группы движущихся деталей, различающихся характером своего движения:

а) детали, совершающие вращательное движение − кривошип коленчатого вала и т.д.;

б) детали, совершающие прямолинейное движение − поршневая группа;

в) детали, совершающие сложное плоско-параллельное движение − шатунная группа.

. В кинематическом исследовании выявляются закономерности изменений по углу поворота кривошипа:

а) перемещения детали ;

б) скорости детали ;

в) ускорения детали .

Радиус кривошипа принимаем в соответствии с принятым прототипом:

= S/2 = 70/2 = 35 мм.

Принимаем l = R/Lш =0,25.

Длина шатуна будет:

ш = R/0,25 = 35/0,25 = 140 мм.

Кривошип коленчатого вала совершает простое вращательное движение.

Поршень совершает прямолинейное возвратно-поступательное движение.

Перемещение поршня определим по формуле:


Используя данное выражение, аналитическим путём определяем значения перемещения поршня от ВМТ до НМТ для ряда промежуточных значений и результаты заносим в таблицу 1.1.1.

Уравнение текущей скорости поршня может быть получено путём дифференцирования уравнения текущего перемещения поршня по времени. Скорость поршня определим по формуле:


где угловая скорость кривошипа будет:

 

Результаты значения скоростей поршня для ряда промежуточных значений заносим в таблицу 1.1.1.

Средняя скорость поршня представляет собой классификационный параметр и положена в основу теории подобия движения. Среднюю скорость поршня определим по формуле:


Этот параметр определяет не только быстроходность двигателя, но и характеризует его конструкцию с точки зрения тепловой и динамической напряженности, а также линейного износа цилиндров.

Максимальная скорость поршня будет:


Положения кривошипа в моменты максимального значения скорости поршня найдём из зависимости:


Получаем углы положения кривошипа, соответствующие максимальным скоростям поршня равными:


Уравнение текущего ускорения поршня может быть получено путём дифференцирования уравнения скорости по времени (или второй производной от уравнения перемещения по времени). Ускорение поршня вычислим по формуле:


Ускорение достигает максимальных значений при положении поршня в ВМТ (), а минимальные (наибольшие отрицательные) значения его имеют место в НМТ () и составляют соответственно:


Результаты значения скоростей поршня для ряда промежуточных значений заносим в таблицу 1.1.

Таблица 1.1 - Перемещение, скорость и ускорение поршня

Угол поворота кривошипа от В.М.Т.,  j, град.

0

30

60

90

120

150

180

210

240

270

300

330

360

Перемещение поршня, Sп, мм

0

5,8

20,8

39,4

55,8

66,4

70

66,4

55,8

39,4

20,8

5,8

0

Скорость поршня, uп, м/с

0

12,5

20

20,5

15,6

8

0

-8

-15,6

-20,5

-20

-12,

0

Ускорение поршня, jп, м/с2

15024

11911

4507

-3005

-7512

-7922

-9014

-8906

-7512

-3005

4507

11911

15024


1.2 Кинематика шатуна

Шатун кривошипно-шатунного механизма совершает сложное плоскопараллельное движение: переносное вместе с поршнем и относительное качение вокруг поршневого пальца. Анализ качательного движения шатуна необходим для последующего определения действующих в нём сил.

Угловое перемещение шатуна от оси цилиндра двигателя β определим из соотношения:


Получаем:


Результаты значения углового перемещение шатуна от оси цилиндра для ряда промежуточных значений заносим в таблицу 1.2.1.

Угол β считается положительным, если шатун отклоняется от оси цилиндра в сторону вращения кривошипа коленчатого вала от ВМТ. Наибольшие углы отклонения шатуна от оси цилиндра βmax получаются при  и :


Угловую скорость вращения шатуна вокруг пальца определим по формуле:


Результаты значения угловой скорость вращения шатуна вокруг пальца для ряда промежуточных значений заносим в таблицу 1.2.1.

При положениях поршня в ВМТ и НМТ, т. е при  и  угловая скорость шатуна принимает экстремальные значения:


При наибольших отклонениях шатуна от оси цилиндра, т. е при  и  угловая скорость шатуна становится равной нулю:


Угловое ускорение шатуна определим по формуле:


Результаты значения углового ускорения шатуна для ряда промежуточных значений заносим в таблицу 1.2.1.

Экстремальные (при  и ) и нулевые (при  и ) значения углового ускорения шатуна будут:


Таблица 1.2 - Угловые перемещения, скорость и ускорение шатуна

Угол поворота кривошипа от В.М.Т.,  j, град.

0

30

60

90

120

150

180

210

240

270

300

330

360

Перемещение шатуна, β, град.

0

7

12,5

14

12,5

7

0

-7

-12,5

-14

-12,5

-7

0

Скорость шатуна, 146,512773,30-73,3-127-146,5-127-73,3073,3127146,5














Ускорение шатуна, 0-42925-73347-88532-73347-42925042925733478853273347429250















1.3 Динамика кривошипно-шатунного механизма

При работе двигателя на детали кривошипно-шатунного механизма действуют силы от давления газов, силы инерции, центробежные силы и давление на поршень со стороны картера (приблизительно равное атмосферному давлению).

Все действующие в двигателе силы воспринимаются полезным сопротивлением на коленчатом валу силами трения и опорами двигателя.

1.3.1 Силы давления газов

Силы давления газов, действующих на площадь поршня, для упрощения динамического расчета заменяются одной силой, направленной по оси цилиндра и приложенной к оси поршневого пальца. Определяется эта сила для каждого момента времени (угла ) по индикаторной диаграмме, построенной на основании теплового расчета (обычно для номинальной мощности и соответствующей ей частоте вращения).

Для динамического расчета двигателя, а также для расчета на прочность его деталей необходимо иметь зависимость Fг = f(), для чего индикаторную диаграмму перестраиваем графически в развернутую диаграмму по углу  поворота коленчатого вала. Перестроение индикаторной диаграммы в развернутую выполним графическим путем по методу профессора Ф.А. Брикса на рисунке 1.3.1.

Для перестроения диаграммы определим поправку Брикса:


Избыточное давление газов на поршень будет:

рг = рц - р0

где рц - абсолютное давление газов в цилиндре двигателя;

р0=0,1 МПа - давление в картере, принимаем равное атмосферному.

Сила давления газов на поршень, действующая по оси цилиндра определим по формуле:

где - площадь поршня.

Рисунок 1.1

Силы давления газов, направленные к оси коленчатого вала двигателя считаем положительными, а от коленчатого вала - отрицательными.

Результаты значения сил давления газов на поршень для ряда промежуточных значений заносим в таблицу 1.3.

Таблица 1.3 - Силы давления газов на поршень

Угол поворота кривошипа от В.М.Т.,  j, град.

0

60

120

180

240

300

360

420

480

540

600

660

720

Удельная сила давления газов, рг, МПа

0,015

-0,014

-0,014

-0,014

0,02

0,35

1,52

1,35

0,85

0,45

0,08

0,05

0,015

Сила давления газов, Fг, Н

75

-70

-70

-70

100

1750

7600

6750

4250

2250

400

250

75


1.3.2 Силы инерции в кривошипно-шатунном механизме

В зависимости от характера движения силы инерции масс кривошипно-шатунного механизма можно разделить на три группы:

) силы инерции масс, движущихся возвратно-поступательно (поршневая группа и верхняя головка шатуна);

) силы инерции вращающихся масс (коленчатый вал и нижняя головка шатуна);

) силы инерции масс, совершающих сложное плоскопараллельное движение (стержень шатуна).

Для определения величины этих сил необходимо предварительно найти соответствующие массы.

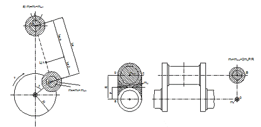
Система сосредоточенных масс, динамически эквивалентная кривошипно-шатунному механизму представлена на рисунке 1.2.

Рисунок 1.2 - Система сосредоточенных масс

Для определения значений масс поршня mп, шатуна mш, неуравновешенной части одного колена вала без противовесов mк используем конструктивные массы отнесенные к единице площади поршня, приведённые в таблице 3.3 [с. 43; 1]:


Приведённую массу кривошипа, отстоящую от оси вала на расстоянии R определим по формуле:


где mшш=0,005 кг - масса шатунной шейки;щ=0,025 кг - масса средней части щеки по контуру;

ρш=0,017 м - расстояние от оси коленчатого вала до центра масс средней части щеки;

R= 0,035 м.

Массу шатунной группы заменим двумя массами:

массы, сосредоточенной на оси поршневого пальца и совершающей возвратно-поступательное движение совместно с массой поршня:


массы, сосредоточенной на оси шатунной шейки и совершающей вращательное движение совместно с массой кривошипа:


Таким образом, весь кривошипно-шатунный механизм приближенно заменяем системой двух сосредоточенных масс:

массы, совершающей возвратно-поступательное движение:


массы, совершающей вращательное движение вокруг оси коленчатого вала:


Силы инерции движущихся масс КШМ сводятся к силам, представленным на рисунке 1.3.3:

а) Силе инерции от возвратно-поступательно движущихся масс КШМ:


Результаты значения сил инерции от возвратно-поступательно движущихся масс КШМ для ряда промежуточных значений заносим в таблицу 1.4.

Таблица 1.4 - Силы инерции от возвратно-поступательно движущихся масс КШМ

Угол поворота кривошипа от В.М.Т.,  j, град.

0

60

120

180

240

300

360

420

480

540

600

660

720

Сила инерции, Fj, Н

-37697

-6283

10471

-4189

10471

-6283

-37697

-6283

10471

-4189

10471

-6283

-37697


Сила инерции от возвратно-поступательно движущихся масс КШМ действует по оси цилиндра и без специальных конструктивных мер часто не уравновешивается и может передаваться непосредственно на опоры двигателя.

б) Центробежной силе инерции от неуравновешенных вращающихся масс КШМ:


Эта сила всегда действует вдоль радиуса кривошипа от оси вращения она постоянна по величине и направлена от оси коленчатого вала. Она является результирующей двух сил:

сила инерции вращающихся масс шатуна:


- силы инерции приведенной массы колена кривошипа:


Рисунок 1.3 - Схема сил, действующих в КШМ

1.3.3 Суммарные силы и моменты действующие в КШМ

На поршень действует суммарная сила, представляющая собой векторную сумму сил избыточного давления газов и силы инерции возвратно-поступательно движущихся масс:


Результаты значения суммарной силы для ряда промежуточных значений заносим в таблицу 1.5.

Суммарная сила может быть разложена на две составляющие согласно рисунку 1.4:

силу, направленную по оси шатуна:


силу, перпендикулярную к оси цилиндра:


Результаты значения сил S и N для ряда промежуточных значений заносим в таблицу 1.5.

Силу S можно перенести по линии её действия в центр кривошипа шатунной шейки и разложить на две составляющие:

радиальную силу, направленную вдоль радиуса кривошипа:


тангенциальную силу, направленную по касательной к окружности радиуса кривошипа:


Результаты значения сил FR и Ft для ряда промежуточных значений заносим в таблицу 1.3.3.

Таблица 1.5 - Силы FΣ, S, N, FR и Ft

Угол поворота кривошипа от В.М.Т.,  j, град.

0

60

120

180

240

300

360

420

480

540

600

660

720

Сила суммарная, FΣ, Н

-37622

-6353

10401

14259

10571

-4533

30097

467

14721

10871

-6033

-37622

Сила по оси шатуна, S, Н

-37622

-6512

10661

14259

10835

-4646

30097

479

15089

11939

11143

-6184

-37622

Сила к оси цилиндра, N, Н

0

-1398

2288

0

-2326

997

0

103

3239

0

-2392

1327

0

Сила радиальная, FR, Н

-37622

-1954

-7207

-4259

-7324

-1394

30097

144

-10200

1939

-7533

1855

-37622

Сила тангенциальная, Ft, Н

0

-5776

7857

0

-7985

4121

0

425

11121

0

-8212

5485

0


Необходимые для определения сил значения тригонометрических функций в зависимости от угла поворота кривошипа φ и принятой в ходе компоновки двигателя величины λ определим по таблицам согласно [2;] и значения заносим в таблицу 1.3.4.

Построение сил S, N, FR, Ft и FΣ по углу поворота выполним на рисунке 1.5.

Рисунок 1.4

Обычно силы Fr, Fj, S, N, FR и Ft относят к единице площади поршня Ап. В этом случае удельные силы будут:

удельная суммарная сила:


удельная сила инерции:


- удельная нормальная сила:


удельная перпендикулярная оси шатуна сила:


удельная радиальная сила:


удельная сила инерции:


Результаты значения удельных сил для ряда промежуточных значений заносим в таблицу 1.6.

Тангенциальная сила является той силой, которая создаёт на валу двигателя индикаторный крутящий момент, который можно выразить уравнением:


Результаты значения индикаторного крутящего момента для ряда промежуточных значений заносим в таблицу 1.6.

Графики суммарного индикаторного момента представлены на рисунке 1.6.

Рисунок 1.5

Таблица 1.6 - Результаты динамического расчёта двигателя

j, град

0

60

120

180

240

300

360

420

480

540

600

660

720

S, м

0

20,8

55,8

70

55,8

20,8

0

20,8

55,8

70

55,8

20,8

0

Vφ, м/с

0

20

15,6

0

-15,6

-20

0

20

15,6

0

-15,6

-20

0

Jφ, м/с²

15024

4507

-7512

-9014

-7512

4507

15024

5258

-6761

-10517

-6761

5258

15024

рг, МПа

0,015

-0,014

-0,014

-0,014

0,02

0,35

1,52

1,35

0,85

0,45

0,08

0,05

0,015

рj, МПа

-7,54

-1,26

2,09

-0,84

2,09

-1,26

-7,54

-1,26

2,09

-0,84

2,09

-1,26

-7,54

рΣ, МПа

-7,525

-1,274

2,076

-0,854

2,11

-0,91

-6,02

0,09

2,94

-0,39

2,17

-1,21

-7,525

tg b

0

0,22

0,22

0

0,22

0,22

0

0,22

0,22

0

0,22

0,22

0

рN, МПа

0

-0,28

0,46

0

0,47

-0,2

0

0,02

0,65

0

0,48

-0,27

0

11,0251,02511,0251,02511,0251,02511,0251,0251














рS, МПа

-7,52

-1,29

2,12

-0,854

2,2

-0,96

-6,02

0,1

3,05

-0,39

2,22

-1,25

-7,52

10,31-0,69-1-0,690,3110,31-0,69-1-0,690,311














рк, МПа

-7,52

-0,39

-1,44

-0,854

-1,46

-0,28

-6,02

0,03

-2,04

-0,39

-1,51

0,37

-7,52

00,910,760-0,76-0,9100,910,760-0,76-0,910














рт, МПа

0

-1,16

1,57

0

-1,6

0,82

0

0,09

2,22

0

-1,64

1,1

0

Fт, Н

0

-5776

7857

0

-7985

4121

0

425

11121

0

-8212

5485

0

Те, Нм

0

-202

275

0

-279

144

0

15

389

0

-287

192

0


Далее определим суммарную удельную тангенциальную силу всего двигателя.

Так как величина и характер изменения удельных тангенциальных сил по углу поворота коленчатого вала всех цилиндров двигателя одинаковы и отличаются лишь угловыми интервалами, равными угловым интервалам между вспышками в отдельных цилиндрах:


то диаграмму суммарной удельной тангенциальной силы строим путём графического суммирования кривых тангенциальных сил для отдельных цилиндров. Результаты значения суммарной удельной тангенциальной силы для ряда промежуточных значений заносим в таблицу 1.7.

Таблица 1.7 - Суммарная удельная тангенциальная сила

Угол поворота кривошипа от В.М.Т.,   j, град.

0

60

120

180

240

300

360

420

480

540

600

660

720

Тангенциальная сила 1-го цилиндра, Н

0

-5776

7857

0

-7985

4121

0

425

11121

0

-8212

5485

0

Тангенциальная сила 2-го цилиндра, Н

0

-7985

4121

0

425

11121

0

-8212

5485

0

-5776

7857

0

Тангенциальная сила 3-го цилиндра, Н

0

425

11121

0

-8212

5485

0

-5776

7857

0

-7985

4121

0

Тангенциальная сила 4-го цилиндра, Н

0

-8212

5485

0

-5776

0

-7985

4121

0

425

11121

0

Суммарная тангенциальная сила, Н

0

-21584

28584

0

-21584

28584

0

-21584

28584

0

-21584

28584

0


Среднюю удельную тангенциальную силу найдём планиметрированием площадей, расположенных между кривой и осью ординат и делением этих площадей на соответствующие отрезки оси абсцисс, т. е длине lф с учётом масштабного коэффициента μр:


Правильность расчёта значения средней удельной тангенциальной силы двигателя проверим на основании следующей зависимости:


Следует отметить, что кривая изменения средней удельной тангенциальной силы в зависимости от φ является также и кривой изменения крутящего момента одного цилиндра.

Построение графика суммарного индикаторного момента при равномерном чередовании процессов выполним на рисунке 1.3.5.

Ввиду того, что при построении диаграммы крутящего момента двигателя не учитывались трение и затраты на приведение в действие вспомогательных механизмов, действительный эффективный крутящий момент, снимаемый с коленчатого вала определим уравнением:


где ηм=0,6 - механический КПД двигателя.

.3.4 Векторная диаграмма нагрузок на шатунную шейку

Векторная диаграмма даёт представление о величине и зонах нагружения шатунных шеек и подшипников по их рабочим поверхностям.

Суммарную силу, действующую на шатунную шейку по радиусу кривошипа определим по формуле:


Результирующую силу, действующую на шатунную шейку определим по формуле:


Результаты значения сил Fшш и Rшш для ряда промежуточных значений заносим в таблицу 1.8.

Таблица 1.8 - Значения сил Fшш и Rшш

Угол поворота кривошипа от В.М.Т.,  j, град.

0

60

120

180

240

300

360

420

480

540

600

660

720

Суммарная сила Fшш, Н

-26422

9246

3993

6941

3876

9806

-18897

11344

1000

13139

3667

13055

-26422

Результирующая сила Rшш, Н

26422

10902

8813

6941

8876

10637

18897

11352

11166

13139

8994

14160

26422


Построение векторной диаграммы нагрузки на шатунную шейку выполним на рисунке 1.7.

Рисунок 1.6 - Векторная диаграмма нагрузки на шатунную шейку

2. Расчёт детали поршневой группы

Поршень для проектируемого двигателя выполнен из алюминиевого сплава. Эскиз поршня показан на рисунке 2.1.

Рисунок 2.1 - Эскиз поршня

При проектировании геометрические параметры поршня принимаем на основании приближенных эмпирических зависимостей и статических данных, приведенных в таблице 4.9 [1; 80]:

Толщина днища поршня:


Высота поршня:

 

Высота верхней части поршня:


Высота юбки поршня:


Диаметр бобышки:


Толщина стенки юбки поршня:


Толщина стенки головки поршня:


Расстояние до первой поршневой канавки:


Толщина первой кольцевой перемычки:


Расстояние от днища до верхней кромки первой кольцевой канавки:


Высота кольцевой канавки для компрессионных колец:


Высота кольцевой канавки для маслосъёмных колец:


Внутренний диаметр поршня:


Число масляных отверстий в поршне:


Высота кольца:


Диаметр масляного канала:


Наружный диаметр пальца:


Смещение оси пальца относительно оси поршня:


Днище поршня рассчитаем как круглую пластину, заделанную по контуру и нагруженную равномерно распределённым давлением.

Наибольшее нормальное напряжение по контуру заделки:

в радиальном направлении, являющейся расчётной:


в тангенциальном направлении:


где ξ=1 - коэффициент, учитывающий упругость заделки;=25,35 мм - внутренний радиус днища поршня;

μ=0,26 - коэффициент Пуассона для алюминия.

Напряжение в центре днища поршня будет:


Удельная тепловая нагрузка днища будет:


где ап=0,07 - доля теплоты, отведённой через головку поршня;

Рец=16,25 кВт - цилиндровая мощность;е=0,18 кг/кВтч - удельный эффективный расход топлива;

Нu=42700 кДж/кг - низшая теплота сгорания топлива;


Термические напряжения по контуру днища охлаждаемого поршня:


Суммарные механические и термические напряжения на периферии будут:


Далее выполним расчёт юбки поршня.

Наибольшее удельное давление от действия нормальной силы на боковую поверхность равна:


где Nmax=3239 Н - наибольшая сила нормального давления на стенку цилиндра.

Напряжение сжатия в сечении Х-Х (рисунок 2.1), ослабленном отверстиями для отвода масла и канавкой под маслосъёмное кольцо:


где площадь сечения Х-Х будет:


здесь:

диаметр поршня по дну канавок:


площадь продольного диаметра сечения масляного канала:


радиальная толщина маслосъёмного кольца:


- радиальный зазор маслосъёмного кольца в канавке поршня:


Напряжение разрыва в сечении Х-Х от действия силы инерции поступательно движущихся масс для режима максимальной частоты вращения при холостом ходе:


где сила инерции части поршня с кольцами, расположенными выше сечения Х-Х:


здесь:

масса головки поршня с кольцами, расположенной выше сечения Х-Х:


угловая скорость коленчатого вала, соответствующая максимальной частоте вращения холостого хода:


Напряжения при изгибе и срезе кольцевой перемычки соответственно будут:


Сложное напряжение по третьей теории прочности равно:


Давление между пальцем и бобышками поршня равны:


где lб=0,05м - длина опорной поверхности поршневого пальца в бобышке поршня.

Допустимые значения относительных диаметральных зазоров между стенкой цилиндра и головкой поршня и между стенкой цилиндра и юбкой поршня в холодном состоянии соответственно равны:


Тогда диаметры головки и юбки поршня в холодном состоянии соответственно будут:


Диаметральные зазоры в горячем состоянии между стенкой цилиндра и головкой поршня и между стенкой цилиндра и юбкой поршня соответственно определим по формулам:


где αц=αп=0,0000265 1/К - коэффициенты линейного расширения материалов цилиндра поршня;

при жидкостном охлаждении двигателя Тц=386 К, Тг=490 К, Тю=450 К, Т0=293 К.

Размеры пальца, влияющие на массогабаритные параметры поршня и шатуна определим по статическим данным:

наружный диаметр:


внутренний диаметр:


длина пальца:


Расчётные силы, действующие на палец во втулке верхней головки шатуна и в бобышках поршня соответственно будут:


где сила давления газов при вспышке будет:


сила инерции от массы поршневой группы, действующая на втулку шатуна:


Здесь:

угловая скорость коленчатого вала на режиме максимального крутящего момента:


Кп=0,82 - коэффициент, учитывающий массу поршневого пальца.

Далее выполним расчёт удельных давлений поршневого пальца.

Удельное давление пальца на втулку верхней головки шатуна определим по формуле:


где lш=50 мм - длина опорной поверхности пальца во втулке верхней головки шатуна.

Удельное давление пальца на бобышке поршня определим по формуле:


где lп=75 мм - общая длина пальца;=20 мм - расстояние между торцами бобышек.

Наибольшее напряжение изгиба в среднем сечении по длине равно:


где  - отношение внутреннего диаметра пальца к наружному.

Касательные напряжения среза в сечениях между бобышкой поршня и головкой шатуна будут:


Наибольшее увеличение горизонтального внешнего диаметра пальца в средней части от овализации определим по формуле:


где  - модуль упругости материала пальца;


Напряжения, возникающие при овализации пальца:

на наружной поверхности пальца в горизонтальной плоскости:


на внутренней поверхности пальца в горизонтальной плоскости:


на наружной поверхности пальца в вертикальной плоскости:


на внутренней поверхности пальца в вертикальной плоскости:


Монтажный зазор между пальцем и бобышкой поршня в холодном состоянии будет:

где

 - разность температур в холодном и горячем состоянии пальца;

 - разность температур в холодном и горячем состоянии бобышки;

 - коэффициент линейного расширения пальца;

 - коэффициент линейного расширения бобышки.

3. Система охлаждения двигателя

Систему охлаждения двигателя рассчитаем для номинального режима работы. Расчёт системы жидкостного охлаждения сводится к определению площади поверхности радиатора, основных размеров водяного насоса и подбору вентилятора.

Исходным параметром для расчёта системы охлаждения является количество теплоты, которое необходимо отвести от двигателя в охлаждающую среду в единицу времени.

3.1 Расчет радиатора

Для проектируемого четырехтактного двигателя жидкостного охлаждения количество отводимой теплоты определим по имперической формуле:


где С=0,46 - коэффициент пропорциональности;

ΔНu=6700 кДж/кг - количество теплоты, теряемой в связи с неполнотой сгорания из-за недостатка кислорода;

α=1 - коэффициент избытка воздуха; m=0,65 - показатель степени.

С учётом загрязненности радиатора количество теплоты, отводимой от двигателя охлаждающей жидкостью будет:


где φ=1,12 - коэффициент запаса.

Вместимость жидкостного охлаждения примем по следующему соотношению:


Количество воздуха, проходящего через радиатор определим по формуле:


где Свозд=1,005 кДж/кгК - средняя удельная теплоемкость воздуха;

ρвозд=1,13 кг/м³ - плотность воздуха;

Твозд.вх=313 К - температура воздуха перед радиатором;

Твозд.вых =Твозд.вх+ΔТвозд =313+27=340 К - температура воздуха после радиатора;возд=Qжр=56952 Дж/с - количество теплоты, передаваемой охлаждающему воздуху.

Циркуляционный расход охлаждающей жидкости, проходящей через радиатор (подача жидкости насосом):


где Сж=3,84 кДж/кгК -удельная теплоемкость этиленгликоля;

ρж=1,13 кг/м³ - плотность тосола;

ΔТж=8 К - температурный перепад в системе.

Средняя температура жидкости в радиаторе будет:


где Тжвх=367 К - температура охлаждающей жидкости на входе в радиатор.

Средняя температура воздуха, проходящего через радиатор будет:


Необходимую площадь поверхности охлаждения радиатора вычислим по формуле:


где Кж=142 Вт/м²К - коэффициент теплопередачи от охлаждающей жидкости в стенки радиатора.

Фронтовую поверхность радиатора выполняют в виде квадрата, обеспечивая при этом равенство площадей: ометаемой вентилятором и фронтовой площади радиатора. Фронтовая (лобовая) поверхность радиатора будет:


где  - скорость воздуха перед фронтом радиатора без учёта скорости движения машины.

Глубину сердцевины радиатора определим по формуле:


где  - коэффициент компактности радиатора.

Высоту Н и ширину В радиатора принимаем из соотношения:


Получаем: Н=0,3 м; В=0,43 м.

3.2 Расчет жидкостного насоса

Жидкостный насос должен обеспечить расход жидкости через радиатор системы охлаждения. Расчетная производительность насоса определяется с учетом утечек жидкости из нагнетательной полости в всасывающую.

Расчетную подачу насоса вычислим по формуле:


где ηн=0,86 - коэффициент подачи, учитывающий утечки жидкости из нагнетательной полости во всасывающую.

По необходимой подаче насоса, задаваясь скоростью жидкости на входе в насос С1=1,6 м/с, определим радиус входного отверстия крыльчатки по формуле:


где r0=0,018 м - радиус ступицы крыльчатки.

Необходимая для создания давления жидкости окружная скорость выхода жидкости с рабочего колеса (на внешнем диаметре) будет:


где α2=10º, β2=30º - углы между направлениями скоростей жидкости на выходе из колеса и окружной скорости;

Нж=7 Па - расчётный напор насоса, определяемый из условия преодоления всех сопротивлений системы и получения кавитационного запаса;

ηг=0,66 - гидравлический КПД насоса.

Наружный радиус крыльчатки равен:


где  - частота вращения крыльчатки.

Окружная скорость потока жидкости на входе будет:


α 1=90º - угол между скоростями С1 и U1 согласно [с.145; 1].

Угол между относительной скорость W1 и отрицательным направлением окружной входной скорости определим по формуле:


Получаем β1=43º.

Радиальная скорость схода жидкости будет:


Ширина лопатки на входе и на выходе соответственно будет:


где z=8 - принимаемое число лопастей на крыльчатке;

δ1=3 мм, δ2=5 мм - толщина лопатки соответственно на входе и выходе.

Мощность, затрачиваемая на привод насоса равна:


где ηм=0,8 - механический КПД водяного насоса.

3.3 Расчет вентилятора

Вентилятор необходим для создания направленного воздушного потока, отводящего теплоту от радиатора. Привод вентилятора осуществляется от коленчатого вала клиноременной передачей.

Тип вентилятора определим по условному коэффициенту быстроходности:


Согласно [с.147;1] тип вентилятора - осевой одноступенчатый.

Напор, развиваемый вентилятором, расходуется на преодоление сопротивлений всей воздушной сети и вычисляется по формуле:


где ξс=0,8 - коэффициент аэродинамического сопротивления всей воздушной сети;


скорость воздуха, проходящего через радиатор с учётом скорости движения автомобиля Vавт=120км/ч.

Фронтовая площадь решётки радиатора будет:


Диаметр лопастей вентилятора определим по формуле:


Полученное значение округлим до ближайшего в размерном ряду по ГОСТ10616-73:


Окружная скорость лопасти вентилятора на её внешнем диаметре будет:


где ψл=3,3 - коэффициент, зависящий от формы лопасти.

Частота вращения вала вентилятора равна:


Угол наклона лопасти вентилятора к направлению воздушного потока принимаем равным α=42º.

Ширину лопасти вентилятора по хорде принимаем равной b=0,024 м.

Число лопастей вентилятора принимаем равным zв=6.

Диаметр ступицы определим по формуле:


Фактическая подача вентилятора должна удовлетворять условию:


где ηв=0,75 - коэффициент, учитывающий сопротивление потоку воздуха при выходе его из под капота.

Мощность, затрачиваемую на привод вентилятора определим по формуле:


где ηв=0,38 - КПД осевого вентилятора.

4. Система смазки двигателя

Расчёт смазочной системы включает определение вместимости смазочной системы, конструктивных параметров масляного насоса, радиатора.

4.1 Расчет смазочной системы

двигатель радиатор насос смазка

Вместимость смазочной системы определим из условия обеспечения эксплуатационной надёжности двигателя:


где q=0,07 л/кДж - удельная ёмкость смазочной системы.

Циркуляционный расход масла определим с учётом количества теплоты, которая должна быть перенесена маслом от деталей двигателя в охладитель:


где См=2 кДж/кгК - удельная теплоёмкость масла;

ρм=910 кг/м³ - плотность масла;

ΔТм=12 К - степень подогрева масла в двигателе;м - количество отводимой от двигателя теплоты определяется по формуле:


где qм=0,018 - относительный теплоотвод через смазочную систему;т=10 кг/ч - часовой расход топлива.

4.2 Расчет масляного насоса

Производительность масляного насоса определим на основании потребного циркуляционного расхода масла. В связи с необходимостью обеспечения требуемого давления масла в магистрали при работе двигателя при различных скоростных диапазонах с разной температурой масла и при износе трущихся пар двигателя и насоса действительная подача насоса будет:


Расчётная подача насоса равна:


где ηн=0,7 - объёмный коэффициент подачи насоса, учитывающий утечки масла через неплотности и влияние других факторов.

Допустимую окружную скорость шестерни на внешнем диаметре принимаем равной Vш=10 м/с. Частота вращения вала насоса будет:


Наружный диаметр шестерни насоса равен:


Стандартный модуль зацепления принимаем равным m=3.

Число зубьев шестерни принимаем равным z=7.

Уточняем наружный диаметр шестерни:


Требуемую длину зубьев (ширину шестерни) определяем из выражения:


Высота зуба будет:


Диаметр начальной окружности шестерни равен:


Мощность, затрачиваемую на привод масляного насоса определим по формуле:


где рн=0,4 МПа - рабочее давление масла в системе;

ηмн=0,88 - механический КПД масляного насоса.

4.3 Расчет масляного радиатора

Расчёт масляного радиатора заключается в определении площади охлаждающей поверхности радиатора, необходимой для передачи теплоты, отводимой маслом от двигателя к охлаждающему телу.

Количество теплоты, отдаваемой радиатором будет:


Средняя температура масла в радиаторе будет:


где Трвых=354 К - температура масла на выходе из радиатора;


температура масла на входе в радиатор.

Здесь ΔТм=14 К - степень подогрева масла в двигателе.

Средняя температура охладителя, проходящего через радиатор равна:


где Тохлвх=313 К - температура охладителя на входе в радиатор;

ΔТохл=14 К - степень подогрева охладителя.

Коэффициент теплопередачи определим по формуле:


где α1=200 Вт/м²К - коэффициент теплоотдачи от масла к стенкам радиатора;

 - толщина стенки радиатора;

λт=15 Вт/мК - коэффициент теплопроводности стенок радиатора;

α2=2500 Вт/м²К - коэффициент теплоотдачи от стенок радиатора к охладителю.

Требуемую охлаждающую поверхность масляного радиатора вычислим по формуле:


Заключение

В проделанной нами работе были выполнены динамические расчёты двигателя: выполнены кинематические и динамические расчёты кривошипно-шатунного механизма, вычислены силы и построены графики сил, действующих на кривошипно-шатунный механизм.

В ходе выполнения расчёта поршня нами были определены основные размеры поршня, силы действующие на поршень, а также напряжения, возникающие в поршне.

Расчёт системы охлаждения двигателя позволил определить необходимые для нормальной работы двигателя радиатор, насос и вентилятор, устанавливаемые в системе охлаждения двигателя.

В результате расчёта системы смазки двигателя были определены основные характеристики масляного насоса и радиатора, устанавливаемые в системе смазки двигателя.

Список использованной литературы

1. Р.А. Зейнетдинов, И.Ф. Дьяков, С.В. Ярыгин «Проектирование автотракторных двигателей», учебное пособие, Ульяновск 2004 г.

. А.И. Колчин, В.П. Демидов «Расчёт автомобильных и тракторных двигателей», Москва, 2002 г.

Похожие работы на - Динамический расчёт двигателя

 

Не нашли материал для своей работы?
Поможем написать уникальную работу
Без плагиата!
Без нейросетей!