|
Высота
насыпи на перегоне, м, НН
|
9,5
|
|
Глубина
выемки на перегоне, м, НВ
|
7,8
|
|
Поперечный
уклон местности на перегоне и станции, 1/N
|
1/15
|
|
Заданная
годовая программа ремонта пути Q, км
|
120
|
|
Срок
выполнения программы Т, дни
|
155
|
|
Период
предоставления «окон», n
|
2
|
|
Серия
тепловоза
|
2ТЭ10
|
|
Тип
хоппер-дозатора
|
ЦНИИ-2
|
|
Объем
щебня, выгруженного на 1 км работ, м3
|
843
|
|
Тип
рельсов стрелочного перевода
|
Р65
|
|
Длина
криволинейного остряка, lОСТР, м
|
12
|
|
Марка
крестовины
|
1/11
|
|
Допускаемое
значение показателя потери кинетической энергии, W0, м/с
|
12,9
|
|
Допускаемое
значение центробежного ускорения, j0, м/с2
|
0,49
|
|
Допускаемая
скорость движения на боковой путь, м/с
|
12,9
|
|
Вид
станционного парка
|
А
|
|
Полезная
длина путей, м
|
1180
|
|
Средняя
ширина междупутья, м
|
5,7
|
|
Объем
приносимого снега за зиму, м3/м
|
120
|
|
Толщина
слоя снега, м
|
0,79
|
|
Дальность
отвоза снега, км
|
2,1
|
|
Средняя
скорость движения поезда на разгрузку, км/ч
|
28
|
Введение
Путевое хозяйство - одна из основных отраслей
железнодорожного транспорта, в которую входят железнодорожный путь со всеми
сооружениями, а также комплекс производственных подразделений и хозяйственных
предприятий, предназначенных для обеспечения бесперебойной работы пути, его
текущего содержания и ремонта.
На долю путевого хозяйства приходится более 50%
стоимости основных фондов железных дорог, пятая часть эксплуатационных
расходов, в нем занята шестая часть работников железнодорожного транспорта.
Основным назначением путевого хозяйства является
содержание пути и путевых устройств в постоянной исправности, чтобы
обеспечивать безопасное и плавное движение поездов с наибольшими скоростями,
установленными для данного участка. Достигается это текущим содержанием пути,
своевременным выявлением и предупреждением неисправностей пути, устранением их
причин, а также усилением и ремонтом пути.
Путевое хозяйство формировалось с начала
строительства и эксплуатации первых железных дорог России. Низовым
подразделением была рабочая артель, состоявшая из 3-4 рабочих, не считая
артельного старосты. Он был обязан осматривать свой участок, по крайней мере,
один раз в день. Несколько артелей объединялись в околоток (его возглавлял
дорожный мастер), несколько околотков - в участок (во главе со старшим дорожным
мастером), несколько участков - в дистанцию пути. К проведению сезонных работ
привлекались наемные рабочие. На каждую версту выделялось по одному- два
обходчика. Дистанции пути подчинялись службе пути. В 1865 г. первым министром
путей сообщения России стал П.П. Мельников. Большой вклад в развитие путевого
хозяйства внесли такие ученые, как Д.И. Журавский, H.A. Белелюбский, а в
последующие годы - Б.Н. Веденисов, Г.П. Передерия, H.T. Матюшин.
Совершенствование системы ведения путевого
хозяйства непосредственно связано с разработкой и внедрением:
рельсов объемно-поверхностной закалки;
стрелочных переводов с непрерывной поверхностью
катания;
железобетонных шпал и брусьев;
бесстыкового пути с длинными рельсовыми плетями
до 10-12 км;
упругих промежуточных скреплений;
высокопрочных изолирующих стыков и тональной
автоблокировки;
современных технологий машинизированного
текущего содержания пути;
усовершенствованных технологий ремонта пути с
применением современных путевых машин нового поколения;
новых методов и технологий укрепления инженерных
сооружений.
Одним из приоритетных направлений развития
путевого хозяйства наряду с созданием новых конструкций пути, технологических
процессов выполнения работ по текущему содержанию и ремонту пути, а также новых
путевых машин и средств диагностики является программа информатизации путевого
хозяйства. Ее цель - автоматизация информационных технологий управления
техническим состоянием железнодорожного пути, которую необходимо рассматривать
в тесной взаимосвязи с системой управления движением. Для создания эффективной
автоматизированной системы управления АСУ «Путь» необходимо широкое внедрение
автоматизированных средств регистрации первичных данных с использованием
высокопроизводительных передвижных средств контроля, средств промышленного
видеоконтроля и др., создание сети автоматизированных рабочих мест (АРМ)
системы управления.
Путевое хозяйство играет огромную роль на
железнодорожном транспорте.
1.Выбор конструкции верхнего
строения пути и определение классификации пути. Определение грузонапряженности
на заданном участке
Грузонапряженность участка является одним из
основных эксплуатационных факторов, влияющих на конструкцию железнодорожного
пути.
Грузонапряженность в тонно-километрах-брутто на
километр в год определяется по формуле:

, ( 1.1)
где 
, 
-масса брутто грузовых, пассажирских
поездов, т;

, 
-количество грузовых, пассажирских
поездов, т;

-коэффициент неравномерности
движения поездов принимается равным 0,95.
Массу пассажирских поездов 1000т.
Грузонапряженность на участке АБ:

=4100 т;
=19; 
=1000 т;
=10; 
=0,95

=365(4100·19+1000·10)0,95=30,5 млн
т·км брутто на 1 км в год
Грузонапряженность на участке БВ:

=3200 т;
=13; 
=1000 т;
=26; 
=0,95

=365(3200·13+1000·26)0,95=23,5 млн
т·км брутто на 1 км в год
Определение
классификации пути
Система ведения путевого хозяйства основана на
классификации путей в соответствии с распоряжением ОАО «РЖД» от 27 июля 2009 г
№1393. Согласно данному распоряжению классификация пути определяется в
зависимости от главных эксплуатационных факторов, определяющих работу пути-грузонапряженности
и скоростей движения поездов. В качестве дополнительных критериев могут быть
приняты размеры движения пассажирских дальних и пригородных поездов, вхождение
линий в основные грузовые и пассажирские направления
По грузонапряженности пути подразделяются на 6
групп, которые имеют буквенные обозначения. По допускаемым скоростям движения
поездов железнодорожные пути подразделяются на 7 категорий, которые
обозначаются арабскими цифрами. Классы путей представляют собой сочетание групп
и категорий, обозначаются цифрами. Классификация пути состоит из сочетания
класса, группы и категории пути. Классификация пути устанавливается с помощью
таблицы 1.1.
В зависимости от количества пропущенных
пассажирских и пригородных графиков поездов, независимо от значения
грузонапряженности, путь должен быть не ниже:
-го класса(более 100 поездов в сутки);
-го класса(6-30 поездов в сутки);
-го класса (6-30 поездов в сутки);
Приемо-отправочные и другие станционные пути,
предназначенные для безостановочного пропуска поездов со скоростями 40 км/ч и
более относятся к 3-му классу.
Таблица 1.1 - Классификация путей
Станционные пути, не предназначенные для
безостановочного пропуска поездов при установленных скоростях 40 км/ч, а также
специальные пути, предназначенные для обращения подвижного состава с опасными
грузами, сортировочные пути и подъездные пути со скоростями движения 40 км/ч
относятся к 4-му классу. Остальные станционные подъездные и прочие пути
относятся к 5-му классу.
Пути сортировочных горок классифицируют в
зависимости от объемов среднесуточной переработки вагонов:
-сортировочные горки большой и повышенной
мощности (переработка в среднем за сутки 3500 вагонов и выше) или при числе
путей в сортировочном парке 30 и более относятся к 2 классу;
сортировочные горки средней мощности
(переработка в среднем за сутки от 1500 вагонов до 3500 вагонов)или при числе
путей в сортировочном парке от 17 до 29 относятся к 3 классу;
сортировочные горки малой мощности (переработка
в среднем за сутки от 250 вагонов до 1500 вагонов)или при числе путей в
сортировочном парке до 16 включительно относятся к 4 классу.
Основные типы и характеристики верхнего строения
пути в зависимости от класса пути представлены в таблице 1.2
Примечание. В числителе указывается значения для
звеньевого пути при деревянных шпалах; знаменатель- для бесстыкового пути на
железобетонных шпалах.
На основании исходных данных определяем
классификацию пути и характеристику верхнего строения для заданного участка:
Участок АБ: 
=149 км/ч 
Категория - «С», группа - «В»,
класс-»1»,классификация пути-»1ВС»
Участок БВ: 
=200 км/ч 
Категория - «С», группа - «Г»,
класс-»1»,классификация пути-»1ГС»
Таблица 1.2-Основные типы и характеристики
верхнего строения пути в зависимости от класса пути
|
Рельсы
Р65, новые термоупроч., категории В и Т1
|
Рельсы
Р65,старогодные, Ι группы
годности; Ι и ΙΙ группы
годности репрофил.
|
Рельсы
Р65, старогодные, ΙΙ и ΙΙΙ группы
годности
|
Рельсы
Р65, старог., ΙΙ и ΙΙΙ группы
годности
|
|
Скрепления
новые
|
Скрепления
новые и старогоные (в т.ч. отремонтированные)
|
|
Балласт
щебеночный с толщиной слоя: 40 см - под железобетонными шпалами; 35 см - под
деревянными шпалами
|
Балласт
щебен с толщиной слоя под шпалой: 30 см - под железоб.; 25 см - под
деревянными
|
Балласт
типов с толщиной слоя под шпалой не менее 20 см
|
|
Толщина
слоя песчаной подушки 20 см
|
|
Наименьшая
ширина плеча балластной призмы, см
|
|
40/45*
|
35/40*
|
25/40*
|
Таблица
Определение норм периодичности
выполнения ремонтно-путевых работ
Работы по техническому обслуживанию
пути подразделяются на следующие основные виды: капитальный ремонт пути на
новых материалах ( 
); сплошная замена рельсов(на
отдельных участках- по разрешению ОАО»РЖД»), сопровождаемая работами в объеме
среднего ремонта пути ;капитальный ремонт пути на старогодных материалах( 
); усиленный средний ремонт
пути(УС); средний ремонт пути(С); подъемочный ремонт пути(П);
планово-предупредительная выправка пути(В); шлифовка рельсов.
Капитальный ремонт пути на новых материалах
(Кн) предназначен для полной замены выработавшей ресурс рельсошпальной решетки
на путях 1-го и 2-го классов и восстановления несущей способности балластной
призмы, а также включает в себя работы по верхнему строению пути,
восстановлению водопропускной способности водоотводов.
В состав Кн входят следующие
основные работы: замена рельсошпальной решетки на новую; замена стрелочных
переводов на новые того же типа; очистка щебеночной балластной призмы на
глубину в соответствии с проектом, но не ниже 40 см; срезка обочин земляного
полотна; доведение размеров балластной призмы до требуемых размеров; выправка,
подбивка и стабилизация пути с постановкой на проектные отметки в профиле;
ликвидация многорадиусности кривых, очистка и планировка водоотводов; срезка и
уборка загрязнителей балласта; сварка плетей до длины блок-участка или
перегона; шлифование поверхности катания рельсов.
Капитальный ремонт пути на
старогодных материалах (Крс) предназначен для замены рельсошпальной решетки на
более мощную или менее изношенную на путях 3-5-го классов (стрелочных переводов
на путях 4-5-го классов), смонтированную из старогодных рельсов, новых и
старогодных шпал и скреплений. Капитальный ремонт пути на старогодных
материалах может выполняться как комплексно со снятием и укладкой путевой
решетки кранами, так и раздельным способом с заменой рельсов, скреплений, шпал.
Усиленный средний ремонт пути (УС)
предназначен для повышения несущей способности балластной призмы и земляного
полотна, включая основную площадку, приведения отметки продольного профиля пути
к проектной и др. Выполняются следующие работы: очистка щебня; вырезка балласта
слабых пород; формирование и уплотнение новой балластной призмы; срезка обочин;
ликвидация пучин; замена скреплений и шпал; сплошная замена подрельсовых
прокладок; выправка пути в плане и профиле; одиночная смена дефектных рельсов;
регулировка зазоров в звеньевом пути; смазка и закрепление закладных и клеммных
болтов и др.
Средний ремонт пути (С) выполняется
для восстановления дренирующих и прочностных свойств балластной призмы и
повышения степени равнопрочности верхнего строения пути.
Средний ремонт включает в себя:
сплошную очистку щебеночного балласта на глубину под шпалой не менее 25 см или
обновление загрязненного балласта других видов на глубину не менее 15 см под
шпалой. Остальные работы те же, что и сопутствующие УС, а также очистка
водоотводов.
Подъемочный ремонт пути (П)
предназначен для восстановления равноупругости подшпального основания путем
сплошной подъемкой и выправкой пути с подбивкой шпал, а также для замены
негодных шпал и частичного восстановления дренирующих свойств балласта.
При подъемочном ремонте выполняются:
сплошная выправка пути с подъемкой на 5-6 см и подбивкой шпал, добавлением
балласта; локальная очистка загрязненного щебня в шпальных ящиках и за торцами
шпал в местах появившихся выплесков на глубину не менее 10 см ниже подошвы
шпал, а при других видах балласта - частичная замена загрязненного балласта на
чистый; замена негодных шпал, скреплений; очистка водоотводов и другие работы.
Планово-предупредительная выправка
пути (В) предназначена для восстановления равноупругости подшпального основания
и уменьшения степени неравномерности отступлений по уровню и в плане, а также
просадок пути. Она включает в себя: сплошную выправку пути с подбивкой шпал,
рихтовку; замену негодных шпал и скреплений; регулировку стыковых зазоров;
сплошное закрепление клеммных и закладных болтов при скреплении КБ, ЖБР; другие
работы, входящие в перечень текущего содержания пути, если они требуются.
Исходя из классификации пути,
выбранной в предыдущем пункте, определяем нормы периодичности капитального
ремонта пути с использованием таблицы 1.3.
Таблица 1.3 - Среднесетевые нормы периодичности
реконструкции и капитальных ремонтов пути на новых, старогодных материалах и
ремонтные схемы.
|
Классификация
путей
|
Нормативные
сроки в завис. от типа подрел. Основ., млн
т/годы
|
Виды
путевых работ и очередность их выполн. за межремонтный цикл
|
|
Бесстыковой
путь на железобетонных шпалах
|
|
|
|
Звеньевой
путь на деревянных шпалах
|
|
|
1
|
2
|
3
|
4
|
|
1АС;1А1;1А2;1А3;
1БС;1Б1;1Б2;2А4; 2А5;2Б3;2Б4;
|
700
|
600
|
(Кн),В,
С, В, (Кн)
|
|
1ВС;1В1;2В2;2В3;
|
700
|
600
|
(Кн),
В, В, С, В, П, (Кн)
|
|
1ГС;1Г1;2Г2;1ДС;
2Д1;
|
1
раз в 30 лет
|
1
раз в 18 лет
|
|
|
3А6;
3Б5; 3Б6;3В4; 3В5; 4В6
|
700
|
600
|
(Кн),
В, В, С, В, П, (Кн)
|
|
3Г3;
3Г4; 4Г5; 4Г6
|
700
|
1
раз в 18 лет
|
(Крс),
В, В С, В, П, (Крс)
|
|
3Д2;
4Д3; 4Д4; 4Д5; 4Д6
|
1
раз в 35 лет
|
1
раз в 20 лет
|
|
|
4Е3;
4Е4; 5Е5; 5Е6
|
1
раз в 40 лет
|
1
раз в 25 лет
|
|
Определив виды путевых работ и очередность их
выполнения за межремонтный цикл, необходимо определить нормативную потребность
проведения путевых работ(км/год) по капитальному ремонту пути по всем заданным
участкам используют формулу

, (1.2)
где Г- грузонапряженность участка,
млн т·км брутто на 1 км в год;
N-количество лет,
соответствующих нормативному периоду между капитальным ремонтом пути, лет
(см.таблицу 1.3)
L-развернутая длина
участка пути данного класса, км(см.исходные данные);

- тоннаж, соответствующий
нормативному периоду между капитальным ремонтом пути, млн т брутто (см.таблицу
1.3)

-коэффициент,учитывающий
дополнительные(местные)эксплуатационные факторы(берется от 0,8 до 1,2).
Потребность промежуточных видов
путевых работ 
по участкам определяется исходя из
соответствующих им работ определяется по формуле,(км/год)

=
, (1.3)
где 
-нормативная потребность работ по
капитальному ремонту пути, км/год;

- количество повторений работ
данного вида за период между капитальными ремонтами пути.
Нормативная потребность проведения
путевых работ по капитальному ремонту пути по участку АБ:

=30,4 млн т·км брутто на 1 км в год
классификация пути-»1ВС»
Т=600 млн т брутто;
=0,97

км/год;
км/год;
км/год;

км/год
Нормативная потребность проведения путевых работ
по капитальному ремонту пути по участку БВ:

=23,5 млн т·км брутто на 1 км в год
классификация пути-»1ГС»,L=59 км,
Т=30 лет,
=1,15; 
км/год;
км/год;
Таблица 1.4 - Определение нормативной
потребности путевых работ на участке
|
Участок
|
L, км
|
Констр.
верх него строен. пути
|
Г,
млн ткм на км в год
|
Vmax, км/ч
|
Классиф.
пути
|
Коэф.
f, учит. мест. эксп. усл.
|
Нормативная
период. для Кн или Крс
|
Схемы
путевых работ в период между Кн(Крс)
|
Нормат.
потреб. путевых работ li
км/год
|
|
|
|
|
|
|
|
Т,
млн т брут-то
|
N,
лет
|
|
Кн
|
Крс
|
С
|
П
|
В
|
|
1
|
2
|
3
|
4
|
5
|
6
|
7
|
8
|
9
|
10
|
11
|
12
|
13
|
14
|
15
|
АБ 82 Звен.
путь на дерев. шпалах рельсы P65 30,5 149 1ВС 0,97 600 - (
), В, В,
|
С,
В, П ( )4,3-4,34,312,5
|
|
|
|
|
|
БВ 59 Бесст.
путь на железоб. Шпал.
рельсы P65 23,5 200 1ГС 1,15 - 30 (
), В, В,
|
С,
В, П ( )1,7-1,71,75,1
|
|
|
|
|
|
Построение поперечных профилей
земляного полотна. Расчет глубины водоотводных канав
Размеры поперечного сечения канавы устанавливают
с расчетом пропуска максимального расчетного расхода воды. Наименьшую глубину
канав определяют получаемой расчетной величиной с прибавлением 0,2 м для
возвышения бровки канавы над расчетным уровнем воды. Глубина канавы и ее ширина
по дну должны быть не менее 0,6 м. Крутизна продольного уклона канавы i
должен быть не менее 0,002. Откосы канавы в глинистых грунтах, суглинках,
супесях и песках крупных и средней крупности делают крутизной 1:1,5.
Фактический расход м3/с, в канаве
определяется по формуле
Q = ω
· υ , (2.1)
где ω
- площадь «живого сечения» (занятого водой) канавы, м3
υ - средняя
скорость протекания воды, м/с
Площадь живого сечения канавы определяется по
формуле
ω = α
· h + m
· h2
(2.2)
где α
- ширина для канавы, м;
h - глубина воды в
канаве, м;
m - коэффициент
крутизны (заложения откоса);
Смоченный периметр канавы, м
p = α+2b = α+2b
2) (2.3)
Гидравлический радиус, м, определяют
по формуле
R = 
(2.4)
Скорость течения воды в канаве, м/с
υ = С
(2.5)
где С - коэффициент, зависящий от
шероховатости дня канавы и гидравлическогоо радиуса определяется по таблице 2.1
i - уклон для
канавы
Талица 2.1 - Значения коэффициента С в зависимости от
гидравлического радиуса R
|
Род
русла канавы
|
Гидравлический
радиус
|
|
R = 0,05
|
R = 0,1
|
R = 0,20
|
R = 0,30
|
R = 0,40
|
R = 0,50
|
R = 1,00
|
|
Мощение
булыжником, бутовая грубая клака, хорошо уплотненные стенки в грунте
|
23,1
|
27,3
|
32,2
|
35,3
|
37,8
|
39,7
|
46,0
|
Поперечный профиль канавы приведен на рисунке
2.1
Рисунок 2.1 - Поперечный профиль канавы
В курсовой работе необходимо определить
расчетную глубину канавы, продольный уклон дна канавы и выбрать при
необходимости способ укрепления дна и откосов канавы. Тип грунта канавы в
курсовой работе песок мелкий.
Данная задача решается методом подбора. В начале
задают глубину канавы h
и уклон дна канавы i, определяют площадь «живого
сечения» канавы ω, вычисляют
смоченный периметр p и
подсчитывают гидравлический радиус R. Затем вычисляют
расчетный расход воды Q
и сравнивается с заданный расходом Qзад.
Если
разница между этими значениями не превышает 5%, то глубина канавы и продольный
уклон выбраны удачно. Если Q>
Qзад, то необходимо
уменьшить размеры канавы, если
Q< Qзад, то необходимо
увеличить размеры канавы и провести расчет вновь.
Полученную скорость движения воды необходимо
сравнить с допускаемой скоростью для заданного грунта канавы по таблице 2.2. В
случае превышения расчетной скорости движения потока с допускаемой скоростью
необходимо выбрать меры по укреплению откосов.
Таблица 2.2 - Средние скорости течения воды м/с,
в зависимости от средней глубины воды в канаве
Грунт - мелкий песок, заданный расход воды Q
=3,87м3/с. Примем глубину канавы
h = 1 м, ширину
канавы по низу а = 0,6 м и уклон дна i
= 0,004, m =1,5.
Площадь «живого сечения» канавы составит: ω=
0,6 · 1 +1,5 · 12 = 2,1м2
Смоченный периметр этого сечения p = 0,6 + 2 ·
1
= 4,2м
Гидравлический радиус R = 
= 0,5м
По таблице 2.1. определяем
коэффициент С методом интерполяции для значения R=0,5м
коэффициент С принимает значение 39,7.
Скорость течения воды в канаве υ = 39,7
= 1,77м/с
Расчетный расход воды Q = 2,1 ·
1,77 = 3,72м3/с
Расхождение расчетного расхода воды Q с заданным
является допустимым.
По таблице 2.2. находим, что
допустимая скорость при глубине канавы 1м не превышает 0,45м/с, что меньше
расчетной скорости. Поэтому необходимо предусмотреть укрепление откосов.
Согласно таблице 2.2. канаву можно укрепить бетонными плитами или укрепить дно
канавы щебнем, а откосы - одерновкой.
Поперечные профили земляного полотна
на перегоне
Наиболее распространенными
поперечными профилями земляного полотна принимаемых при проектировании
железнодорожных путей являются выемки или насыпи. Поперечные профили земляного
полотна состоят из следующих элементов основная площадка земляного полотна,
откосы, водоотводные канавы, резервы и т.д.
Основная площадка земляного полотна
- это верхняя поверхность, на которой размещается верхнее строение пути. Ширина
(В), форма поверхности основной площадки земляного полотна регламентируется СТН
Ц-01-95.
На однопутных линиях поперечное
очертание верха земляного полотна имеет трапецеидальную форму высотой 0,15 м и
шириной поверху 2,3 м. на двухпутных линиях сливная призма имеет треугольную
форму с высотой 0,2 м. Основная площадка однопутного и двухпутного земляного
полотна из раздробленных скальных, дренирующих крупнообломочных и дренирующих
песчаных грунтов принимается горизонтальной. Ширина основной площадки на
перегонах принимается в соответствии с таблицей 2.1
Таблица 2.1 - Ширина основной
площадки земляного полотна новых линий на прямых участках пути
|
Вид
грунта насыпи
|
Ширина
основной площадки В, в зависимости от категории железнодорожной линии, м
|
|
Скоростные
и особогрузонапряженные двухпутные участки, Ι
|
Ι и ΙΙ
|
ΙΙΙ
|
ΙV
|
|
Глинистые
и другие недренирующие
|
11,7
|
7,6
|
7,3
|
7,1
|
|
Скальные,
крупнооб. и песч. дренир.
|
10,7
|
6,6
|
6,4
|
6,2
|
Крутизна откосов насыпей зависит от вида грунта,
высоты насыпи и климатических условий. Насыпи из раздробленных скальных
слабовыветривающихся и выветренных грунтов, крупнообломочных, песков
гравелистых, крупных и средней крупности могут иметь крутизну откосов 1:1,5 при
высоте Н ≤ 12 м разделенная для верхней части высотою до 6 м и нижней. В
этом случае верхней части придается крутизна 1:1,5 при высоте Н ≤ 12 м
разделенная для верхней части высотою до 6 м и нижней. В этом случае верхней
части придается крутизна 1:1,5 ,
а нижней 1:1,75.
Отвод поверхностных вод, поступающих к насыпям
или стекающих с их откосов к искусственным сооружениям осуществляется
водоотводными канавами или резервами. При явно выраженном поперечном уклоне
местности, когда поступление воды к насыпям возможно только с верховой стороны,
водоотводные канавы и резервы устраиваются только с нагорной стороны. Откосы
резервов и водоотводных канав следует проектировать не более 1:1,5.
Крутизна откосов выемок проектируется из условия
обеспечения их надежной устойчивости и назначается 1:1,5.
Поперечный профиль выемки вычерчивается с
кавальерами, банкетом, нагорной канавой.
При поперечном уклоне местности положе 1:5
кавальеры рекомендуется размещать с двух сторон, при косогорности от 1:5 до 1:3
преимущественно с низовой стороны.
Поперечные профили насыпи и выемки вычерчиваются
в масштабе 1:100. Для участка АБ вычерчивается поперечный профиль насыпи, для
участка БВ вычерчивается поперечный профиль выемки.
Поперечный профиль насыпи приведен на рисунке
2.2 ,
поперечный профиль выемки приведен на рисунке 2.3.
Поперечные профили станционных путей
Ширина основной площадки земляного полотна на
станциях устанавливается в соответствии с проектируемым путевым развитием.
Поперечное очертание верха земляного полотна станционных площадок, в
зависимости от числа путей и вида грунта, следует проектировать односкатным или
двускатным. При значительной ширине площадки допускается применение
пилообразного поперечного профиля.
Крутизна поперечного уклона верха земляного
полотна в сторону водоотводов устанавливается в зависимости от вида грунта земляного
полотна, особенностей климатических зон, числа путей, располагаемых в пределах
каждого ската.
Планировку поверхности балластной призмы на
станционной площадке следует проектировать, придавая уклону среднюю крутизну,
применительно к крутизне уклона поперечного профиля земляного полотна, но не
более 0,03. При этом надлежит руководствоваться ,что поперечные профили на
промежуточных станциях всех типов, а также на обгонных пунктах и разъездах
поперечного типа, следует проектировать, двускатными, с направлением скатов в
разные стороны от оси междупутья между главными путями.
Ширина основной площадки земляного полотна на
станции, м, определяется по формуле
В = Е(n-1)
+ 2Е0
(2.6)
где Е- расстояние между осями станционных путей,
5,3 м;
Е0 - расстояние от оси крайнего пути
до бровки земляного полотна, принимается равным 3,5 м;
n - количество путей
на станции.
Для моего варианта:
В =5,3(4-1)+2
3,5=22,9 м
В курсовой работе принять основную
площадку земляного полотна на станции в виде двухскатного поперечного профиля.
Поперечный профиль земляного полотна вычерчивается в масштабе М 1:100.
Поперечный профиль станционных путей приведен на рисунке 2.4.
Организация основных работ по
капитальному ремонту пути
Капитальный ремонт пути выполняется в
соответствии с проектом, составной частью которого является проект организации
работ, включающий технологические процессы. Технологические процессы
устанавливают последовательность выполнения отдельных работ по времени, темп
работ, число работников основного производства, потребность в машинах,
механизмах, инструменте.
Капитальный ремонт выполняется как комплексно -
с полной заменой путевой решетки, так и раздельным способом - с заменой рельсов
и скреплений, шпал, брусьев, с очисткой или реконструкцией балластной призмы.
В курсовом проекте принимается комплексное
проведение капильного ремонта.
Тип машин и механизмов при капитальном ремонте
выбирается в зависимости от характеристики верхнего строения пути (до и после
его ремонта) и состава выполняемых при этом работ. Для типовых условий состав
работ приведен в сборниках технологических процессов, периодически издаваемых
ЦП ОАО «РЖД».
Для выполнения основных работ в «окно»
применяется несколько комплектов машин.
Ведущей машиной в каждом комплекте является
путеукладочный кран, задающий темп всей цепочке машин. Марки укладочных кранов
выбираются в зависимости от характеристик укладываемых и снимаемых звеньев
путевой решетки. Число платформ с роликовым конвейером и моторных платформ в
путеукладочном и путеразборочном составах, а также хоппер-дозаторов в
хоппер-дозаторной вертушке зависит от тяги поездов, фронта работ, типа шпал.
Определение фронта работ в «окно»
S
, (3.1)
где Q - заданная годовая программа, км;- срок
выполнения программы, рабочие дни;
Σt - число дней
резерва на случай непредоставления «окон», несвоевременного
завоза материалов верхнего строения пути,
ливневых дождей и других причин.
Можно принять Σt
= 0,1·T .
Σt = 0,1 · 127 =
12,7
S = 

км/день
Фронт работ в «окно» (км) определяется по
формуле
lфр =
S · n
(3.2)
где n - период предоставления «окон».
lфр =
0,86·2=1,725 км/ «окно»
Расчет длин рабочих поездов
Успешная работа ПМС в «окно» в значительной
степени зависит от своевременного и правильного формирования рабочих поездов. В
зависимости от характера выполняемой работы на перегоне эти схемы могут быть
различными. Однако они должны быть соответствовать типовым схемам установленным
Инструкцией по обеспечению безопасности движения поездов при производстве
путевых работ. Длины поездов рассчитывают в соответствии с длинами отдельных
единиц подвижного состава ( по осям автосцепок), м, см. таблицу 3.1
Таблица 3.1 - Характеристика длины применяемых
машин при производстве ремонтных работ
|
Наименование
|
Количество
звеньев
|
|
Тепловоз
ТЭ2
|
21,2
|
|
Тепловоз
серии ТЭ3
|
34,0
|
|
Тепловоз
серии 2ТЭ10
|
2x18,5
|
|
Платформа
четырехосная грузоподъемностью 60т
|
14,6
|
|
Моторная
платформа
|
16,2
|
|
Хоппер-дозатор
ЦНИИ-ДВ3 вместительностью кузова 32,4 м3
|
10,9
|
|
Хоппер-дозатор
ЦНИИ-3 вместительностью кузова 31м3
|
10
|
|
Хоппер-дозатор
ЦНИИ-2 вместительностью кузова 36м3
|
10,4
|
|
Электробалластер
ЭЛБ-3
|
50,5
|
|
Укладочный
кран УК-25/21
|
40,8
|
|
Укладочный
кран УК-25
|
43,9
|
|
Выправочно-подбивочно-отделочная
машина ВПО-3000 с вагоном для обслуж. персонала
|
27,7+24,5
|
|
ДГКу
|
12,6
|
Длина путеразборочного l1
и путеукладочного l2
поезда определяется по формуле
l1 =
l2 =
N · lпл
+
lук +
nмпл ·
lмпл +lлок
(3.3)
где N
- число четырех-осных платформ для перевозки рельсошпальных решеток,
lпл
-
длина четырехосной платформы, м (см. таблицу 3.1);
lук , lмпл
,lлок
-
длина соответственно путеразборочного крана, моторной платформы, локомотива, м
(см. таблицу 3.1).
l1 =23·
14,6 + 43,9+ 3 · 16,2+2·18,5= 464,9 м
l2 =20·
14,6 + 43,9+ 3·16,2+2·18,5= 421,1 м
Число четырех-осных платформ для перевозки
ресошпальных решеток определяется по формуле
N= 
где nпл - число платформ под одним пакетом (при рельсах
длиной 12,5 м nпл = 1, при
рельсах длиной 25 м nпл = 2);
lc - длина звена, м (см. исходные данные);
nc - число
звеньев в пакете, (см. таблицу 3.2)

=
=23 платф; 
=
=20 платф.
Таблица 3.2- Количество звеньев в
пакете
|
Род
шпал и тип рельсов
|
Количество
звеньев
|
|
Деревянные,
Р50
|
7
|
|
Деревянные,
Р65
|
6
|
|
Железобетонные,
Р50
|
5
|
|
Железобетонные,
Р65
|
4
|
При расчете длины путеукладочного поезда принять
длину звена lc
= 25 м.
В путеразборочный и путеукладочный поезда
включаются моторные платформы, их количество определяется с помощью формулы
nмпл =
0,1· N (3.5)
nмпл1 =0,1·
23=3 платф.
nмпл2 =0,1·
20=2 платф.
По прибытии путеразборочного и путеукладочного
поездов на место производства работ составы разделяют на две части. Перемещение
первой части состава производится путеукладочным краном, второй части -
локомотивом. Первая часть состава, перемещаемая укладочным краном определяют по
формуле
l1/
= 5 · lпл +
lук (3.6)
l1/
=
5 · 14,6 + 43,9 = 116,9 м
l2/
=
5 · 14,6 + 43,9 = 116,9 м
Вторая часть состава, перемещаемая локомотивом
определяется по формуле
l1//
= l1 - l1/
(3.7)
l1//=
464,9-
116,9=348 м
l2//=
421,1- 116,9=304,2 м
Длина хоппер-дозаторного состава определяется в
зависимости от объема выгружаемого балласта и ёмкости хоппер-дозаторного
вагона.
Щебень выгружается в «окно» дважды, один раз
после путеукладочного состава, а второй раз - после выправки и подбивки пути
машиной ВПО-3000. Длина каждого хоппер-дозаторного состава определяется
отдельно по формуле
LХД = 
lфр · lхд+ lлок + lт (3.8)
где Wщ - объем
выгруженного щебня на 1 км, м3;
Wхд - объем
щебня в одном хоппер-дозаторе, м3, (см.
таблицу 3.1);
lхд - длина
одного хоппер-дозатора, м, (см. таблицу 3.1);
lт - длина вагона для обслуживающего
персонала, lт = 24 м;
LХД/ = 
1,725 · 10,4 + 37 + 24 = 355,06 м
LХД// = 
1,725· 10,4 + 37+ 24= 187,47 м
В курсовой работе принять для
первого хоппер-дозоторного состава объем выгруженного щебня 70% от общего
объема щебня, а для второго 30% от общего объема щебня.
После определения необходимых длин
рабочих поездов вычерчиваются схема расположения машин и рабочих поездов на
месте производства работ с указанием всех полученных расчетом величин (рисунок
3.1)
Рисунок 3.1 - Схема расположения машин и рабочих
поездов: 1 - Электробалластер ЭЛБ - 3; 2 - вторая часть путеразборочного
поезда; 3 - первая часть путеразборочного поезда; 4 - планировщик; 5 - первая
часть путеукладочного поезда; 6 - вторая часть путеукладочного поезда; 7 - ДКГУ
с четырехосной платформой; 8 - первый состав хоппер-дозаторов; 9 - второй
состав хоппер-дозаторов; 10 - выправочно-отделочная машина; 11 - ДКГУ
Расчет продолжительности «окна»
Необходимая продолжительность «окна» может быть
определена по формуле, мин
To=
tp
+
ty
+
tc
(3.9)
tp
-
время, необходимое на разворот работ перед укладкой пути путеукладочным краном;
ty
- время, необходимое для укладки новой путевой решетки;
tc
-
время, необходимое на приведение пути в исправное состояние после укладки
последнего звена.
To
=
43+ 127 + 75 = 245 мин
Время разворота, при капитальном ремонте, мин
tp
=
t1 +
t2 +
t3 +
t4 (3.10)
t1 -
время на оформление закрытия перегона, пробег машин к месту работ и снятие
напряжения с контактной сети, принять равным 14 мин;
t2
- интервал времени между вступлением в работу ЭЛБ-3 и началом работ по
разболчиванию стыков
t3
- интервал времени между началом работ по разболчиванию стыков и вступлением в
работу путеразборочного поезда;
t4
- интервал времени между вступлением в работу путеразборочного и
путеукладочного поездов.
tp
=
14 + 5 + 118+ 6= 43мин
Интервал t2,
мин, между вступлением в работу ЭЛБ-3 и началом работ по разболчиванию стыков
определяется временем, необходимым для того, чтобы ЭЛБ-3 прошел расстояние,
равное длине участка, занятого самой машиной, бригадой по разболчиванию стыков
и разрыву в 50 м по условиям техники безопасности.
t2 =
(3.11)
lЭЛБ - дина
электробалластера ЭЛБ-3, м (мс. Таблицу 3.1);
lp - длина
участка, занятого бригадой по разболчиванию стыков, l2 = 25 м;
HЭЛБ - норма
машинного времени на отрыв 1 км пути, мин, HЭЛБ =31 мин/км;

- коэффициент, учитывающий время на
отдых и пропуск поездов по соседнему пути. Для однопутных линий 
= 1,08, для двухпутных линий
зависит от количества пар поездов пропущенных по соседнему пути. При количестве
пар поездов до 12 
= 1,1, от 13 до 18 
= 1,11, от 19 до 24 
= 1, 13, свыше 24 
= 1,15.
t2 =
= 5 мин
Интервал t3 (мин) между
вступлением в работу бригады по разболчиванию стыков и началом работ по снятию
звеньев рельсошпальной решетки.
где 
- длина путеразбброчного поезда, м;
Интервал 
определяется временем, необходимым
для разборки пути на длине 100 м, мин
где Нс - норма машинного времени на
разборку одного звена, мин.
Может быть принято: Нс -
1,13 мин/зв., при 
= 12,5 м; Нс - 1,3
мин/зв., при 
= 25м.
Время, необходимое для укладки новой
решетки с инвентарными рельсами, мин
где т - норма машинного времени на укладку
одного звена, мин;
l0
- протяжение фронта работ в «окно» в звеньях путевой решетки;
lУ
- длина звена новой путевой решетки с инвентарными рельсами, м; lу
= 25м.
Норма машинного времени на укладку одного звена
при железобетонных шпалах т =1,9 мин/зв., при деревянных шпалах т =1,7 мин/зв.

127 мин
Время на приведение пути в исправное состояние и
сворачивания работ, мин
где t5
- время, необходимое на укладку рельсовых рубок, t5
=15 мин;
t6
- время, необходимое на выправку пути машиной ВПО-3000 на участке, занятом
путевыми машинами после укладки последнего звена;
t7
- время между окончанием выправки пути машиной ВПО-3000 и выгрузкой балласта из
второго хоппер-дозаторного состава, выполняющего выгрузку щебня для отделочных
работ;
t8
- время между окончанием работ по выгрузке щебня из второго хоппер-дозаторного
поезда и выправкой пути в местах отступлений по уровню после прохода ВПО-3000;
t9
- время для разрядки ВПО-3000 и вывода машин с перегона, мин, (t8
= 15 мин).
Интервал времени, необходимый на выправку пути
машиной ВПО-3000 на участке, занятом путевыми машинами после укладки последнего
звена
где 
- длина путеукладочного поезда, м;

- длина ВПО-3000 с вагоном для
обслуживающего персонала и локомотивом, м (см. таблицу 3.1);
Hвпо - норма
машинного времени на выправку 1 км пути, мин, Нвпо = 33,9 мин; 
- длина первого хоппер-дозаторного
состава, м;
Интервал времени, мин, между началом рихтовки
пути с установкой рельсовы; соединителей и выгрузки щебня из хоппер-дозаторов
определяется по формуле
где 
- фронт работ бригады занятой
установкой рельсовых соединителей,

= 25 м; Vщ - скорость
выгрузки щебня 3000 м/ч.
Интервал времени между окончанием выправки пути
машиной ВПО-3000 и выгрузкой балласта из второго хоппер-дозаторного состава,
выполняющего выгрузку щебня для отделочных работ
где 
- длина второго хоппер-дозаторного
состава, м
Интервал между окончанием работ по выгрузке
щебня из второго хоппер-дозаторного поезда и выправкой пути в местах
отступлений по уровню после прохода ВПО-3000
где 
- фронт работ бригады занятой
выправкой пути, принять lвыпр - 21 м.
Интервал времени, мин, между началом поставки
накладок со сболчиванием стыков и рихтовкой пути с установкой рельсовых
соединителей определяется по формуле
где lрх
- фронт работ бригад занятых рихтовкой пути и установкой рельсовых соединителей
(ориентировочно lрх
= 125 м)
После определения необходимой продолжительности
«окна» вычерчивается график основных работ в «окно» (рисунок 3.2). Наклон
каждой линии на графике показывает темп выполнения той или иной операции,
который в основном устанавливается ведущей машиной в комплексе -
путеукладчиком.
График основных работ в «окно» вычерчивается на
миллиметровой бумаге в масштабах по оси х 1мм=10 м, по оси y
1мм=1 мин. По оси х откладывается фронт работ в «окно», а по оси у
продолжительность работ в минутах.
Техника безопасности при капитальном
ремонте пути
Ремонт сооружений и устройств должен
производиться при обеспечении безопасности движения и техники безопасности, как
правило, без нарушения графика движения поездов.
Для производства больших по объему ремонтных и
строительных работ в графике движения поездов должны предусматриваться окна и учитываться
ограничения скорости, вызываемые этими работами.
Для выполнения работ по текущему содержанию
пути, искусственных сооружений, контактной сети и устройств СЦБ должны
предоставляться предусматриваемые в графике движения поездов технологические
окна продолжительностью 1-2 ч, а при производстве этих работ комплексами машин,
специализированными бригадами и механизированными колоннами - продолжительностью
3-4 ч, в соответствии с порядком, установленным начальником железной дороги.
Работы по ремонту пути, контактной сети,
устройств СЦБ и связи и других сооружений и устройств, выполняемые в период
времени, не предусмотренный в графике движения поездов, должны производиться,
как правило, без закрытия перегона.
Если выполнение этих работ вызывает необходимость
перерыва в движении, точный срок их начала и окончания устанавливается
начальником отделения железной дороги, а при отсутствии в составе железной
дороги отделений -
главным инженером железной дороги совместно с руководителем работ и
согласовывается с начальником службы перевозок.
На время производства работ, вызывающих перерыв
движения, а также для производства которых в графике движения предусмотрены
окна, руководитель работ обязан установить постоянную связь (телефонную или по
радио) с поездным диспетчером. На участках, где окна в графике движения поездов
предусматриваются в темное время суток, руководитель работ обязан обеспечить
освещение места производства работ.
Для технического обслуживания и ремонта
устройств механизации и автоматизации сортировочных горок, путей и других
сооружений и устройств на горках должны предоставляться технологические окна
продолжительностью 0,7-1,5 ч в соответствии с порядком, предусмотренным
начальником железной дороги.
Всякое препятствие для движения (место,
требующее остановки) на перегоне и станции, а также место производства работ,
опасное для движения, требующее остановки или уменьшения скорости, должно быть
ограждено сигналами с обеих сторон независимо от того, ожидается поезд
(маневровый состав) или нет.
Запрещается:
· приступать к работам для ограждения
сигналами препятствия или места производства работ, опасного для движения;
· снимать сигналы, ограждающие
препятствие или место производства работ, до устранения препятствия, полного
окончания работ, проверки состояния пути, контактной сети и соблюдения
габарита.
Порядок ограждения препятствий и мест
производства работ устанавливается Инструкцией по сигнализации на железных
дорогах.
Для установки и охраны переносных сигналов,
ограждающих место производства работ на пути, руководитель работ выделяет
сигналистов из числа работников бригады, сдавших соответствующие испытания.
Сигналисты должны иметь головные уборы, отличные от общепринятых для других
работников железнодорожного транспорта.
При производстве работ на пути развернутым
фронтом, а также на кривых участках малого радиуса, в выемках и других местах с
плохой видимостью сигналов и на участках с интенсивным движением поездов
руководитель работ обязан установить связь (телефонную или по радио) с
работниками, находящимися у сигналов, ограждающих место работ.
Сигналисты и руководители работ должны иметь
носимые радиостанции. Порядок обеспечения связью мест производства работ
устанавливается начальником железной дороги.
На станционных путях запрещается производить
работы, требующие ограждения сигналами остановки или уменьшения скорости, без
согласия дежурного по станции и без предварительной записи руководителем работ
в Журнале осмотра путей, стрелочных переводов, устройств СЦБ, связи и
контактной сети. На участках, оборудованных диспетчерской централизацией, такие
работы должны выполняться в указанном порядке, но только с согласия поездного
диспетчера. При производстве таких работ на контактной сети со снятием
напряжения, но без нарушения целости пути и искусственных сооружений, а также
при выполнении работ по устранению внезапно возникших неисправностей запись о
начале и окончании работ может заменяться регистрируемой в этом же журнале
телефонограммой, передаваемой руководителем работ дежурному по станции (на
участках с диспетчерской централизацией - поездному диспетчеру).
Ввод устройств в действие по окончании работ
производится дежурным по станции на основании записи руководителя работ в
Журнале осмотра путей, стрелочных переводов, устройств СЦБ, связи и контактной
сети или регистрируемой в том же журнале телефонограммы, переданной дежурному
по станции с последующей личной подписью руководителя работ.
Закрытие перегона для производства работ на
однопутном участке, а на двухпутном или многопутном участке одного или нескольких
путей производится с разрешения начальника отделения железной дороги, а при
отсутствии в составе железной дороги отделений железной дороги - главного инженера
железной дороги и по согласованию с начальником службы перевозок, если оно не
вызывает изменения установленных размеров движения с соседними железными
дорогами. Если такое закрытие вызывает изменение установленных размеров
движения поездов на соседние железные дороги, оно может быть разрешено
начальником железной дороги по согласованию с Главным управлением перевозок
МПС.
Закрытие перегона или путей, вызывающее
необходимость пропуска поездов в обход по другим участкам данной железной
дороги или по другим железным дорогам, допускается лишь в исключительных
случаях с разрешения МПС.
О предстоящем закрытии перегона на однопутном
участке, а на двухпутном и многопутном одного или нескольких путей начальник
отделения железной дороги, а при отсутствии в составе железной дороги отделений
железной дороги- главный инженер железной дороги, не позже чем за сутки
уведомляет соответствующих руководителей работ.
Закрытие и открытие перегона или путей
производятся приказом поездного диспетчера перед началом и по окончании работ.
Запрещается приступать к работам до получения
руководителем работ приказа поездного диспетчера (в форме письменного
уведомления, телефонограммы или телеграммы) о состоявшемся закрытии перегона
или путей и до ограждения сигналами места работ.
Открытие перегона или путей производится только
после письменного уведомления, телефонограммы или телеграммы начальника
дистанции пути или уполномоченного им работника по должности не ниже дорожного
мастера об окончании путевых работ или работ на искусственных сооружениях и
отсутствии препятствий для бесперебойного и безопасного движения поездов
независимо от того, какая организация выполняла эти работы.
Восстановление действия существующих устройств
СЦБ и связи или электроснабжения производится по получении уведомления
соответственно от старшего электромеханика СЦБ и связи или энергодиспетчера.
Схема ограждения места производства работ в
«окно» показана на рисунке 3.2
Рисунок 3.2- Схема ограждения места производства
работ в «окно».
Расчет основных параметров и
размеров обыкновенного стрелочного перевода
В данном разделе курсового проекта студенты
должны ознакомится с конструкциями стрелочных переводов, их основными
элементами, марками используемых крестовин, особенностями укладки. При
выполнении данного раздела следует использовать рекомендуемую литературу.
Основные параметры отдельных элементов и в целом
стрелочного перевода определяются из условия обеспечения допустимых величин
динамических эффектов взаимодействия подвижного состава и стрелочного перевода.
Кроме того, должна быть обеспечена геометрическая увязка всех длин элементов
стрелочного перевода.
Расчеты стрелочного перевода следует выполнять с
точностью по величине углов до 1", величине тригонометрических функций не
менее 6 знаков после запятой, по линейным размерам до 1 мм.
После выполнения всех расчетов вычерчивается
эпюра стрелочного перевода на миллиметровой бумаге в масштабе 1:50, если по
заданию марка крестовины от 1\7 до 1\10 или в масштабе 1:100, если по заданию
марка крестовины от 1\11 до 1\18.
Расчет радиусов остряков и
стрелочных углов
При расчете стрелки принимается, что
по форме в плане криволинейный остряк делается секущего типа. В этом случае
(рисунок 4.1) рабочие грани рамного рельса и остряка пересекаются в начале
острия под углом 
называемым начальным углом остряка.
Угол между рабочей гранью рамного рельса и касательной, проведенной к рабочей
грани остряка в корне, называется полным стрелочным 
углом. На протяжении всей длины
рабочая грань остряка очерчивается одним радиусом R0.
Синус начального стрелочного угла
остряка определяется по формуле
где 
mах -
максимальный зазор между гребнем колеса и рамным рельсом (при шири колеи
1520мм), 
mах = 0,036 м.
vб -
допускаемая скорость движения по боковому направлению, м/с;
W0 -
допускаемое значение показателя потери кинетической энергии, м/с.
j0 -
наибольшее допускаемое значение центробежного ускорения, возникающего начале
остряка при переходе к очертанию с радиусом R0, м/с2

Началый стрелочный угол равен

При одинарной кривизне остряка
радиус R0, м,
определяется по формуле

(4.3)
Полный стрелочный угол при остряках
одинарной кривизны, град

(4.4)

Центральный угол 
определяется по формуле, град

(4.5)

= 2,02
где 
- длина криволинейного остряка
принимается согласно заданию, м.
После нахождения полного стрелочного
угла рекомендуется определить значение 
.
Расчет длины рамного рельса
Полная длина рамного рельса (рисунок
3.2) зависит от длины остряка, принятой: типа корневого крепления, а также от
принятой длины переднего вылета рамного рельса.
Длина рамного рельса в стрелочных
переводах с двойной кривизной определяется по формуле, мм
где т1 - длина переднего вылета
рамного рельса;
т2 - длина заднего вылета рамного
рельса;

- проекция криволинейного остряка
на рамный рельс.
Длина переднего вылета рамного рельса находится
из условия рациональной раскладки переводных брусьев и определяется по формуле,
мм
где С - нормальный стыковой пролет: для рельсов
Р75 и Р65 при стыке на весу С=420 мм, для рельсов Р50 С=440 мм;

- нормальный стыковой зазор,
принимаемый равным 8 мм;
b -
промежуточный пролет между осями брусьев под стрелкой, принимается равным b= 500 мм;
т0 - расстояние от оси
первого флюгарочного бруса до острия остряка у
современных переводов m0=41 мм.
п1 - число промежуточных
пролетов под передним вылетом рамного рельса. В курсовом проекте принимается:
при марке крестовины до 1/9 
= 5; при марке от 1/9 до 1/11 п1
= 7 ; при марке более 1/11 
= 9;
Проекция криволинейного остряка на
рабочую грань намного рельса, мм
Задний вылет рамного рельса
устанавливается исходя из возможности и удобств монтажа корневого крепления
остряка и стыкового скрепления рамного рельса формуле:
где Ск - расстояние между осями в
корне остряка, принимается равным С;

- стыковой зазор в корне остряка,
принимается равным 4-6 мм;
П2 - количество промежуточных
пролетов под задним вылетом рамного рельс принимается равным п2 - 2
.

мм
Стандартная длина рамных рельсов составляет 12,5
м или 25 м.
Расчет размеров крестовины
Длина крестовины слагается из
минимальных длин её передней 
и хвостовой Рт частей.
Математическим центром крестовины С называется точка пересечения продолжения
рабочих кантов сердечника крестовины.
Теоретическая длина крестовины
определяется в зависимости от ее типа конструкции и марки, а также из условия
обеспечения некоторых конструктивны требований.
Теоретическую (минимальную) длину передней части
цельнолитой крестовины принимают такой, чтобы внешние накладки в стыке не
заходили за первый изгиб усовиков, т.е. за горло крестовины (рисунок 4.3).
При этом должен быть предусмотрен
конструктивный запас λmin, обеспечивающий
свободную установку накладок с учетом допусков в изготовлении как накладок, та
усовиков. Расстояние между рабочими гранями усовиков в месте их первого
изготовления называется горлом крестовины и обозначается 
. Передняя часть крестовины
определяется по формуле, мм
где N - число марки крестовины;
tг
- ширина желоба в горле крестовины, определяемая из условия пропуска крестовине
экипажей с самой узкой насадкой колес и предельно изношенными толщине гребнями
принять равным 68 мм;
lн
- длина двухголовой накладки приведена в таблице 4.1;
λmin
- конструктивный запас, принять равным 15 мм.
Таблица 4.1 - Данные для расчета минимальных
размеров крестовин
|
Тип
рельса
|
Ширина,
мм
|
Длина
двухг. накладки, мм
|
Высота
рельса, мм
|
Высота
головки рельса, мм
|
|
головки
по низу
|
головки
в расч. плоск.
|
подошвы
|
|
|
|
|
Р75
|
75
|
72
|
150
|
920
|
192
|
46,0
|
|
Р65
|
75
|
73
|
150
|
800
|
180
|
35,6
|
|
Р50
|
71,9
|
70,0
|
132
|
800
|
152
|
33,0
|
Теоретическая (минимальная) длина Рmin
хвостовой части крестовины, мм

(4.11)
где bn
- ширина подошвы рельса;
bг
- ширина головки рельса в расчетной плоскости;
- конструктивное расстояние (в мм) между
подошвами рельсов в хвосте
крестовины, обеспечивающее установку примыкающих
рельсов без строжки их подошв.

мм
Полная теоретическая (минимальная) длина
крестовины будет равна:
Значение углов 
и их тригонометрических функций для
ряда марок крестовин от 1/7 до 1/18 приведены в таблице 4.2. Эти данные
используются при расчете крестовин и далее - при определении основных геометрических
размеров перевода.
Таблица 4.2 -Значение углов 
и их тригонометрические функции для
марок крестовин
|
Марки
крестовин
|
Углы
 и их тригонометрические функции
|
|
|
|
|
sin  cos tg tg
|
|
|
|
|
|
1/7
|
8°
7/ 48//
|
4°
3/ 54//
|
0,141421
|
0,070889
|
0,989948
|
0,997484
|
0,14857
|
0,071068
|
|
1/8
|
7°
7/ 30//
|
3°
33/ 45//
|
0,124034
|
0,062137
|
0,992278
|
0,998068
|
0,125
|
0,062258
|
|
1/9
|
6°
20/ 25//
|
4°
10/ 12//
|
0,110431
|
0,055301
|
0,993884
|
0,998470
|
0,111111
|
0,055386
|
|
1/10
|
5°42/38//
|
2°
51/ 19//
|
0,09950,4
|
0,049813
|
0,995037
|
0,998759
|
0,1
|
0,049875
|
|
1/11
|
5°
1/ 40//
|
2°
35/ 50//
|
0,090536
|
0,045315
|
0,995893
|
0,998973
|
0,090909
|
|
1/12
|
4°45/49//
|
2°
22/ 54//
|
0,083045
|
0,041558
|
0,996545
|
0,999136
|
0,08338
|
0,041594
|
|
1/13
|
4°23/
55//
|
2°
11/ 57//
|
0,076696
|
0,038376
|
0,9970544
|
0,999263
|
0,076923
|
0,038404
|
|
1/14
|
4°
5/ 08//
|
2°
2/ 34//
|
0,071247
|
0,035646
|
0,9977851
|
0,9994461
|
0,071437
|
0,035673
|
|
1/15
|
3°
48/ 50//
|
1°
54/ 25//
|
0,0665519
|
0,033277
|
0,9994461
|
0,999441
|
0,066666
|
0,0332963
|
|
1/16
|
3°34/35//
|
1°
47/ 417/
|
0,062379
|
0,031220
|
0,998052
|
0,999513
|
0,062501
|
0,031122
|
|
1/17
|
3°22/00//
|
1°
41/ 00//
|
0,058722
|
0,029373
|
0,998274
|
0,99568
|
0,058824
|
0,029386
|
|
1/18
|
3°
10/ 47//
|
1°
35/ 23//
|
0,05547
|
0,027745
|
0,9984603
|
0,999615
|
0,0555555
|
0,027775
|
Определение длин контррельсов и
усовиков
Назначение контррельса - обеспечить безопасность
и плавность прохождения тележки экипажа через вредное пространство крестовины.
Необходимо предотвратить удар гребня колеса в острие сердечника и плавно
направить гребень в соответствующий желоб крестовины. Для этого основная
рабочая часть контррельса должна перекрывать вредное пространство крестовины, а
ширина желоба контррельса быть в пределах допусков.
Расчетная схема определения длин контррельсов и
усовиков приведена на рисунке 4.4
Из рисунка 4.4. полная длина контррельса равна
ее проекции на прямое направление и определяется по формуле
где 
- длина
основной рабочей части, мм;


- длина первого и второго отгибов,
мм;

596+150) = 2880 мм
Длина основной рабочей части контррельса
определяется по формуле
где 
- ширина сердечника, где возможна
полная передача вертикального давления, колеса, принять равным 40 мм;

- запас длины средней части
контррельса, 
=100 мм.

мм
Длина первого отгиба контррельса
определяется по формуле
где 
- ширина желоба в основной рабочей
части, принять равным 44 мм;

- ширина желоба первого отгиба,
принять равным 64 мм;

угол
отвода контррельса.
Угол отвода определяется по формуле

(4.16)
где 
- допустимое значение эффекта удара
в отведенную часть контррельса,
= 0,6 м/с;

- максимальная скорость движения по
прямому пути, принять как 
+ 5, м/с.

Если длина контррельса окажется
значительно меньше длины крестовины, то ее рекомендуется увеличить, чтобы она
была меньше длины крестовины не более, чем на 1500мм.Полная длина усовика
определяется по формуле:
где 
- длина заднего первого и второго
отгиба, мм.


(4.18)
где 
- ширина желоба в основной прямой
рабочей части, принять равным 45 мм;

- ширина желоба заднего переднего
отгиба, принять равным 64 мм;

- угол отвода усовика
Длину второго отгиба контррельса и
усовика принять равным 150 мм,
Величину угла отвода усовика принять
равной величине отвода контррельса. При расчете длины усовика требуется
выдержать условие
мм< 3671 мм
Расчет основных геометрических и
осевых размеров стрелочного перевода
Основными геометрическими размерами
стрелочного перевода (рисунок 4.5) являются:
теоретическая длина стрелочного
перевода Lт;
практическая длина стрелочного
перевода Lпр;
радиус переводной кривой R;
длина прямой вставки перед
математическим центрам крестовины d.
Теоретическая длина Lт стрелочного
перевода - это расстояние от острия остряка до математического центра
крестовины, мм, определяется по формуле:

0,090536-0,0448399)+
1559*0,995893=29039,55 мм
Радиус переводной кривой R принимается
равным радиусу остряка R0.
Величина прямой вставки d (мм)
обеспечивающей прямолинейное движение железнодорожного экипажа до входа его в
горло крестовины, определяется по формуле

(4.21)
где S - ширина
колеи, мм
d= 
= 1559,4 мм
Практическая длина стрелочного
перевода (расстояние от переднего стыка рамного рельса до хвостового стыка
крестовины) определяется из выражения, мм

(4.22)

2508
35248 мм
Основными осевыми размерами
стрелочного перевода, необходимыми для разбивки на местности, являются (рисунок
4.5):
а0 - расстояние от начала
остряка до центра стрелочного перевода Ц, мм;
b0- расстояние
от центра стрелочного перевода до математического центра крестовины, мм;
а - расстояние от начала рамных
рельсов до центра стрелочного перевода, мм;
b -
расстояние от центра стрелочного перевода до хвостовой части крестовины, мм.
Указанные осевые размеры стрелочного
перевода определяются с использованием следующих формул:



(4.25)


(4.26)
b = 16755 + 
=19263 мм
Предельный столбик располагается
там, где расстояние между осями смежных путей равно 4100 мм. Следовательно,
расстояние от оси прямого пути до предельного столбика 
= 2050 мм.
Расстояния, определяющие положение
предельного столбика устанавливаются по формулам
Расчет элементов стрелочной улицы и
длин путей станционного парка
Основным документом для разбивки
стрелочного перевода на местности является эпюра, состоящая из трех частей:
эпюры укладки брусьев; спецификации, содержащей размеры, количество и массу
рельсов, брусьев и креплений, не входящих в комплект стрелки и крестовины.
Под эпюрой стрелочного перевода
понимают масштабный схематический чертеж, на котором изображены основные
элементы перевода с расположенными под ними брусьями. На эпюре, как правило,
рельсовые нити показываются двумя линиями (головка рельса в плане). Их
изображение возможно также одной линией -
рабочей гранью головки рельса. На
эпюру наносятся основные размеры перевода, необходимые для его укладки в путь.
В частности, на эпюре указывается теоретическая и практическая длины, основные
размеры, размеры переднего вылета рамного рельса, хвостовой части крестовины,
длины остряков и т.п.
Неисправности стрелочного перевода
Запрещается эксплуатировать
стрелочные переводы и глухие пересечения, у которых допущена хотя бы одна из
следующих неисправностей:
· разъединение стрелочных остряков и
подвижных сердечников крестовин с тягами;
· отставание остряка от рамного
рельса, подвижного сердечника крестовины от усовика на 4 мм и более, измеряемое
у остряка и сердечника тупой крестовины против первой тяги, у сердечника острой
крестовины - в острие сердечника при запертом положении стрелки;
· выкрашивание остряка или подвижного
сердечника, при котором создается опасность набегания гребня, и во всех случаях
выкрашивание длиной:
Таблица
|
На
главных путях
|
200
мм и более
|
|
На
приемо-отправочных путях
|
300
мм и более
|
|
На
прочих станционных путях
|
400
мм и более
|
понижение остряка против рамного рельса и
подвижного сердечника против усовика на 2 мм и более, измеряемое в сечении, где
ширина головки остряка или подвижного сердечника поверху 50 мм и более
· расстояние между рабочей гранью
сердечника крестовины и рабочей гранью головки контррельса менее 1472 мм;
· расстояние между рабочими гранями
головки контррельса и усовика более 1435 мм;
· излом остряка или рамного рельса;
· излом крестовины (сердечника,
усовика или контррельса);
· разрыв контррельсового болта в
одноболтовом или обоих в двухболтовом вкладыше
Расчет элементов стрелочной улицы и
длин путей станционного парка
Стрелочная улица - путь, образованный рядом
стрелочных переводов, на котором последовательно расположены на расчетном
расстоянии стрелочные переводы, предназначенные для соединения группы
параллельных станционных путей. Стрелочные улицы применяются при проектировании
приемо-отправочных парков станций. Исходными данными для расчета стрелочной
улицы являются:
расстояние между путями стрелочной улицы (е);
марки стрелочных переводов (М);
прямые вставки между стрелочными переводами.
На рисунке 5.1 приведена расчетная схема
оконечной стрелочной улицы
Рисунок5.1- Схема оконечной стрелочной улицы
Из рисунка 5.1 расстояние (А) между центрами
стрелочных переводов определяется по формуле
A=
=62,95 м
где а - угол крестовины
(определяется по заданной марке стрелочного перевода,таблица 4,2)
Расстояние (d) между
предельными столбиками соседних путей, м, определяется по формуле

(5.2)
d= 
=62,7 м
В данном разделе курсового проекта
необходимо начертить схему заданного станционного парка в произвольном масштабе
(рисунок 5.2), определить полезную длину каждого пути парка учитывая, что применяется
марка крестовины, используемая в 4-м разделе.
Полезной длиной пути является
расстояние, в пределах которого можно устанавливать подвижной состав без
нарушения габаритов и безопасности движения по смежным путям. Полезная длина
путей определяется по предельным столбикам.
Расчет полезной длины путей
рекомендуется выполнить в виде таблицы 5.1
Таблица 5.1- Расчет полезной длины
путей
|
№
пути
|
Формула
расчета
|
Полезная
длина пути, м
|
|
9
|
Lп
|
1180
|
|
7
|
Lп
|
1180
|
|
5
|
Lп+4d
|
1430,8
|
|
3
|
Lп+6d
|
1556,2
|
|
1
|
Lп+6d
|
1556,2
|
|
2
|
Lп+6d
|
1556,2
|
|
4
|
Lп+4d
|
1430,8
|
|
6
|
Lп+2d
|
1305,4
|
|
8
|
Lп+2d
|
1305,4
|
Организация работ по очистке путей и
уборке снега. Организация снегоборьбы
Снегозаносимые участки пути характеризуются
двумя признаками: категорией заносимости, зависящей от поперечного профиля земляного
полотна; степенью заносимости, определяемой количеством снега, м3/м
пути, приносимого к пути с вероятностью повторения один раз в 15-20 лет.
Степень снегозаносимости участков, средства и
способы защиты пути от снежных заносов определяются по таблице 6.1. с учетом
местных условий.
Таблица 6.1 - Характеристика средств защиты пути
от снежных заносов в зависимости от расчетного годового объема метелевого
снегоприноса
|
Объем
приносимого снега за зиму, м3/м
|
Средства
и способы защиты пути от снежных заносов
|
|
Слабозаносимые
участки до 100
|
Одно-,
двухполосные лесонасаждения или одно-двухрядные щитовые линии
|
|
С
реднезан осимые участки- 101-300
|
Двух-,
трехп. лесонасаждения или постоянный забор высотой до 5,5 м или забор
облегченного типа высотой 4 - 5 м
|
|
Сильнозаносимые
участки- 301 - 600
|
Трех-,
четырехполосные лесонасаждения или один-два ряда постоянных заборов высотой
до 5,5 м или забор облегченного типа высотой 4-5 м
|
|
Особо
сильнозаносимые участки - более 600
|
Четырехп.
и с большим числом лесонас. или два ряда постоянных заборов высотой до 5,5 -м
или два ряда заборов облегч. типа высотой 5 м, снегоперед. заборы. Перепроф.
снегозан. участков земляного полотна в снегозан. профили
|
Для защиты территории станции от снежных заносов
применяются контурные ограждения. На крупных станциях и узлах применяют также и
внутристанционную защиту с расчетом полного задержания переносимого снега.
К постоянной контурной станционной защите
относятся лесонасаждения и постоянные заборы, к временной защите - переносные
малогабаритные щиты.
Для определения конструкции средств снегозащиты
необходимо воспользоваться таблицей 6.2
Таблица6.2 -Конструкция средств снегозащиты
|
Конструкция
средств снегозащиты
|
Количество
снега за расчетную зиму, м3/м
|
|
<100
|
101-250
|
251-400
|
>400
|
|
Лесонасаждения
|
|
Общая
ширина лесополосы, м
|
25-35
|
60-90
|
90-150
|
150-180
|
|
Ширина
лесополос, м
|
25-35
|
Полевая
15-25
|
Все
полосы шириной 10-15
|
|
Ширина
полевого интервала, м
|
-
|
До
40
|
35-50
|
35-50
|
|
Ширина
остальных межп. интервалов, м
|
-
|
-
|
20-25
|
20-25
|
|
Заборы
и переносные щиты
|
1
-2 ряда щитов
|
Забор
Н=4-5 м, 2 ряда щитов с переест.
|
Забор
Н= 4м с щит. линией
|
2ряда
заборов с щит. линией
|
Бесперебойная работа железнодорожного транспорта
в зимних условиях в значительной степени зависит от надежной защиты путей от
снега, а также своевременной очистки их от снега во время снегопадов и метелей.
Средства и способы защиты пути от снежных заносов выбирают в зависимости от
интенсивности осадков.
Наиболее экономичным, долговечным и надежным
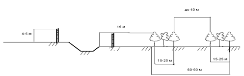
видом защиты от снега являются естественные леса или защитные лесонасаждения,
создаваемые на всей протяженности заносимых участков параллельно
железнодорожным путям.
В местах, где лесонасаждения отсутствуют, и в
стесненных условиях (в черте населенных пунктов) путь ограждают от заносов
постоянными деревянными или железобетонными заборами высотой 4,2 ...6,7 м или
переносными деревянными щитами размерами 2 х 1,5 или 2 х 2 м. Переносные щиты
обычно переставляют несколько раз в течение зимы после того, как высота
снежного вала достигнет 2/3 высоты щита.
В период интенсивных снегопадов и метелей
возникает необходимость в очистке от снега. Со станций снег убирают
снегоуборочными машинами и поездами СМ-2М, -4, -5, -6 и -7. На перегонах
используют снегоочистители СДП-М2, а при больших заносах - фрезерные и роторные
снегоочистители.
Стрелочные переводы очищают специальными
стационарными пневматическими устройствами для обдувки стрелок с дистанционным
управлением. Применяются также электр о - и газообогревательные устройства.
Средства и способы защиты пути от снежных заносов показаны на рисунке 6.1
Рисунок 6.1- Средства защиты пути от снежных
заносов
Организация очистки путей на станции
и описание снегоуборочной машины
Организация и технология очистки и уборки снега
на станциях являются составной частью технологического процесса работы станции.
Графики работы снегоуборочных поездов и снегоочистителей увязываются с графиком
движения поездов и учитывают:
перегонное время хода снегоочистителя;
время выдачи локомотивов под снегоочиститель или
снегоуборочный поезд;
последовательность работ на станциях и
продолжительность каждой из них;
место и порядок смены локомотивных бригад,
бригад снегоочистителей и снегоуборочной техники;
место и продолжительность экипировки локомотивов
и снегоуборочных поездов.
Для организации работ по уборке снега со станции
каждый парк станции разбивают на отдельные зоны - на стрелочные горловины и
станционные пути. Для этого на схему станции наносят границы горловин и
парковых путей, указывают места выгрузки снега и ' их емкость, места отстоя
снегоуборочных поездов и снегоочистителей в зимний период.
Уборка снега на сортировочных, участковых и
крупных пассажирских станциях осуществляется снегоуборочными поездами. При
особо сильных снегопадах возможно комплексное использование снегоуборочных
поездов, снегоочистителей и стругов. Очистка путей от снега на промежуточных
станциях также производится снегоочистителями и стругами,
Время, необходимое для уборки снега в целом на
станции и по паркам, количество рейсов снегоуборочных поездов, рассчитывают в
зависимости от:
количества выпавшего снега;
высоты снегоотложения на пути;
плотности снега;
коэффициента уплотнения снега при загрузке;
производительности машин;
вместимости полувагонов и степени их заполнения.
При этом необходимо учесть затраты времени на:
погрузку;
перестановку снегоуборочного поезда с одного
пути на другой;
проезд к месту выгрузки;
выгрузку снега из кузова;
согласование маршрута;
следование снегоуборочного поезда обратно к
месту работы;
скорость движения снегоуборочного поезда.
Итоговые данные для каждой расчетной толщины
снежного покрова по каждому парку станции сводят в ведомость. В сортировочном
парке в первую очередь очищают и убирают снег с горочной горловины и
сортировочных путей на расстоянии 150 - 200 м от башмакосбрасывателей вглубь
парка.
Такую уборку снега наиболее эффективно
выполнять, двумя снегоуборочными поездами.
Первый снегоуборочный поезд направляется в
сторону горки, а его локомотив находится со стороны парка приема. При таком
расположении уменьшается число заездов на путь и улучшаются условия
производства маневровой работы на подгорочных путях.
Второй снегоуборочный поезд приступает к работе
по окончании уборки снега с участков тормозных позиций и убирает снег на путях
сортировочного парка за пределами тормозных позиций.
Если на пути имеются отдельно стоящие вагоны, то
по указанию маневрового диспетчера или дежурного по горке их прицепляют к
локомотиву и осаживают на горку до тех пор, пока головная снегоуборочная машина
не достигнет начала очистки пути в сторону парка. Затем снегоуборочный поезд в
рабочем состоянии движется в сторону горловины парка формирования и
осуществляет очистку пути от снега. Вагоны подтягивают к предельному столбику
этой горловины и отцепляют. При большой группе вагонов на сортировочном пути в
помощь локомотиву снегоуборочного поезда выделяют горочный локомотив.
После очистки одного или нескольких путей парка
до полной загрузки снегом поезд отправляется под выгрузку, а затем возвращается
к фронту уборки снега.
Цикл повторяется до полной уборки снега с путей
парка.
В парках приема и отправления поездов во время
снегоуборочных работ пути должны заниматься поездами и составами в соответствии
с технологическим процессом механизированной очистки и уборки снега с путей
станции с таким расчетом, чтобы была возможность организовать работу
снегоочистителей и снегоуборочных поездов без дополнительных маневров по
перестановке составов,
В данном разделе курсового проекта используя
литературу /4/ необходимо описать принцип работы, технические характеристики,
конструкцию снегоуборочной машины.
Самоходный снегоуборочный поезд СМ-6 состоит из
четырёх полувагонов, может компоноваться в таких вариантах: две единицы -
головной и концевой полувагоны (вместимость состава 160 м3); три
единицы - головной полувагон; промежуточный и концевой полувагоны (вместимость
состава 285 м3); четыре единицы - головной полувагон, два
промежуточных и концевой полувагоны (вместимость состава 410 м3).
Летом для работы по уборке мусора к составу прицепляется цистерна для воды. В
передней части головного полувагона установлены щёточный ротор-питатель и
подрезной нож. Они подают забираемый с пути материал на скребковый загрузочный
конвейер 5, который направляет его на пластинчатый конвейер-накопитель (лента
его движется с небольшой скоростью). Боковые крылья оборудованы щётками.
Подрезной нож (установлен за щёточным питателем) - второй заборный орган -
убирает уплотнённый снег значительной толщины при большой поступательной
скорости машины. Устройство скалывает лёд и рыхлит уплотнённый снег, состоит из
среднего и двух боковых льдоскалывателей, представляющих собой двухрядную
борону со стальными зубьями. Рельсы очищают щётки. На крыльях 2 установлены с
тыльной стороны щётки 1, очищающие междупутья. Поднимаются и поворачиваются
крылья в транспортное положение цилиндрами. Щёточный ротор-питатель - это
барабан, на котором укреплено шесть рядов тросовых щёток. Щёточный барабан
вместе с подвешенным впереди защитным козырьком может подниматься вертикально.
Высоту установки козырька определяют в зависимости от высоты убираемого снега.
Верхняя часть козырька неповоротная, нижняя - в виде сектора. Загрузочный
скребковый конвейер-питатель принимает от щёточного барабана снег и подаёт его
на конвейер-накопитель, расположенный в кузове машины. Для полного
использования вместимости машины на накопителе установлен автомат контроля
загрузки, который включает и выключает электродвигатель привода
конвейера-накопителя
Рисунок 6.1 - Снегоуборочная машина СМ-3 и
концевой разгрузочный полувагон
Рис. а - машина СМ-3; б - полувагон; 1 - кабина
управления; 2 - боковые крылья со щетками; 3 - ротор-питатель; 4 - подрезной
нож; 5,7,12 - конвейеры; питатель, накопитель, поворотно-разгрузочный; 6 -
рельсовые щетки; 8 - льдоскалывающее устройство; 9 - кабина; 10 - тележка; 11 -
дизель-электростанция; 13 - привод конвейера; 14 - конвейер полувагон
Определение объема убираемого снега
и продолжительности цикла работы снегоуборочной машины
Общий объем снега, подлежащий уборке с путей
парка, м3
где ∑
- суммарная полезная длина путей
парка по парку, м;
Lпр -
практическая длина стрелочного перевода, м;
п - количество стрелочных переводов;
bср - средняя
ширина междупутья, м;
hср - толщина
слоя снега, м;

- коэффициент уплотнения снега
(0,4-0,5);
Погрузочная вместимость
снегоуборочного поезда q определяется из выражения, м3

(6.2)
где qп -
вместимость промежуточного полувагона, м3;
т - число промежуточных полувагонов;

- вместимость концевого полувагона,
м3.
Число рейсов снегоуборочного поезда,
необходимых для очистки группы путей от снега:
где 
- коэффициент заполнения полувагона
снегом (0,8-0,9).
Продолжительность одного цикла
работы снегоуборочного поезда Tц без учете
простоев, связанных с поездной и маневровой работой станции, определится по
формуле, мин
где 
- время, необходимое для
согласования и подготовки маршрута соответственно к месту работы и после
загрузки к месту выгрузки снега, 
=t5=10мин;

- время следования к фронту работ, 
= t6;
t3 - время на
установку рабочих органов машины, t3 = 5 мин;
t4 - время
загрузки снегоуборочного поезда;
t6 - время
следования к месту выгрузки;
t7 - время на
установку выбросного транспортера в рабочее состояние и
транспортное положение после
разгрузки, t7 = З...5мин;

- время разгрузки состава, t8 =10-12 мин.
Время загрузки снегоуборочного
поезда, мин
где П3 -
производительность загрузочного устройства снегоуборочной машины, м/ч.
Время следования к месту выгрузки,
мин
где L
- дальность отвоза снега, км;

- средняя скорость движения поезда
на разгрузку, км/ч.

=62 мин
Общая продолжительность уборки и
вывоза снега, мин

(6.7)

Таблица 6.3 - Ведомость снегоуборочных работ
|
Номер
пути
|
1
|
2
|
3
|
4
|
5
|
6
|
8
|
9
|
|
Полезная
длина пути, м
|
1556,2
|
1556,2
|
1556,2
|
1430,8
|
1430,8
|
1305,4
|
1180
|
1305,4
|
1180
|
|
Толщина
слоя снега hoн=0,31 м
|
Объем
неуплотненного снега, м3
|
482,4
|
482,4
|
482,4
|
443,5
|
443,5
|
404,6
|
365,8
|
404,6
|
365,8
|
|
Способ
очистки и уборки снега
|
СМ-3
|
СМ-3
|
СМ-3
|
СМ-3
|
СМ-3
|
СМ-3
|
СМ-3
|
СМ-3
|
СМ-3
|
|
Необходимое
число рейсов для вывоза снега
|
4
|
4
|
4
|
4
|
4
|
4
|
3
|
4
|
4
|
|
Время
занятия путей без учета поездного движения, мин
|
248
|
248
|
248
|
248
|
248
|
248
|
186
|
248
|
248
|
|
Полное
время работы в группе без поездного движения, мин
|
|
Заключение
В данной курсовой работе я выбрал конструкцию
верхнего строения пути и определил классификацию пути и грузонапряженности на
заданном участке.
Определил нормы периодичности выполнения
ремонтно-путевых работ, построила поперечные профили земляного полотна и
профили станционных путей.
Так же был определен фронт работ в «окно»,
рассчитаны длины рабочих поездов и продолжительность окна. Была изучена техника
безопасности при ремонте пути. Были рассчитаны параметры и размеры стрелочных
переводов, остряков, усовиков, крестовины. Также были изучены неисправности
стрелочного перевода.
Мною были рассчитаны элементы стрелочной улицы и
длины путей станционного парка, а так же изучены, как организовываются работы
по борьбе со снегом и как очищаются парки от снега с помощью снегоуборочной
машины СМ-3.
путевой
железнодорожный поезд рельса
Список использованной литературы
.
Машины, используемые при капитальном ремонте пути и снегоборьбе. Методические
указания к изучению дисциплин «Устройство и эксплуатация пути», «Сооружения и
устройства путевого хозяйства и их эксплуатация» для студентов специальности
190701 «Организация перевозок и управление на транспорте (железнодорожный
транспорт)» очной и заочной форм обучения/ А.В Эрлих, В.И. Варгунин. - Самара:
СамГУПС, 2008. - с.
.
З.Я. Крейние, B.Q. Певзнер Железнодорожный путь: Учебник, ж М.: ГОУ
«Учебно-методический центр по образованию на железнодорожном транспорте»,
2009.-432с.
.
Устройство и эксплуатация пути / С.В. Амелин, Г.Е. Андреев - М.: Транспорт,
1986.-238 с.
.
Железнодорожный путь/Т.Г. Яковлева [и др.]. - М.: Транспорт, 2001. - 372с
.
Комплексная механизация путевых работ/В.Л. Уралов [и др.].- М.: Маршрут,
2004.-382 с.
.
Техническое обслуживание и ремонт железнодорожного пути / под. ред. 3.Л.
Крейнис [и др.]. - М.: УМК МПС России, 2001. - 768с.
.
Проку дин И<В,, Грачев Й.А.й Колос А.Ф. Организация переустройства железных
дорог под скоростное движение поездов/ под ред. И.В. Прокудина - М.: Маршрут,
2005. - 716с.
.
Инструкция по обеспечению безопасности движения поездов при производстве
путевых работ.- М; Транспорт» 1997. - 76 с.
.
Расчеты и проектирование железнодорожного пути: Учебное пособие для студентов
вызов ж.-д. трансп./В.В. Виноградов, А.М. Никонов, Т.Г. Яковлева и д.р. - М.:
Маршрут, 2003. - 486с.
.
Инструкция по сигнализации на железных дорогах Российской Федерации. - М.:
Транспорт 2002. - 128с.