Дослідження математичних моделей оптимізації обслуговування складних систем
Міністерство освіти і науки, молоді та спорту України
Криворізький
інститут Кременчуцького університету економіки, інформаційних технологій і
управління Кафедра технічної кібернетики
ДИПЛОМНА РОБОТА
зі
спеціальності7.091402 “Гнучкі комп’ютеризовані системи та робототехніка“
ПОЯСНЮВАЛЬНА ЗАПИСКА
«Дослідження
математичних моделей оптимізації обслуговування складних систем»
Студента
групи ГКС-06-д
Соколовської
Ольги Вікторівни
Керівник
роботи ст. викл.
Кислова
Марія Алімівна
Консультанти:
з
економічної частини доц., к.е.н. Тимко Є.В.
з
охорони праці доц., к.т.н. Климович Г.Б.
нормоконтроль
ст. викл. Супрунова Ю.А.
Завідувач
кафедри ТК доц., к.т.н. Старіков О.М.
Кривий
Ріг 2011
Міністерство освіти і науки, молоді та спорту України
Криворізький інститут
Кременчуцького університету економіки, інформаційних
технологій і управління Кафедра технічної кібернетики
Спеціальність 7.091402 “Гнучкі комп’ютеризовані системи та
робототехніка“
ЗАТВЕРДЖУЮ
Зав. кафедрою доц., к.т.н. Старіков О.М.
" 1 " листопада 2010 р.
ЗАВДАННЯ
на дипломну роботу студента
Соколовської Ольги Вікторівни
1. Тема роботи: Дослідження математичних моделей
оптимізації обслуговування складних систем
затверджена наказом по інституту від " 29 "
жовтня 2010 р. № 55С-01
. Термін здачі студентом закінченої роботи 25.05.11. _
. Вхідні дані до роботи: Вимоги до кінцевого програмного
продукту, вихідні масиви даних, матеріали наукових досліджень, нормативні
документи
4. Зміст розрахунково-пояснювальної записки
(перелік питань, що підлягають розробці): Постановка завдання; Основні поняття
теорії та практики моделювання складних систем; Теоретичне дослідження
математичних моделей стратегій обслуговування; Опис функціональних можливостей
та програмної реалізації проектованої системи; Економічне обґрунтування
доцільності розробки програмного продукту; Охорона праці.
5. Перелік графічного матеріалу (з точними вказівками
обов'язкових креслень)
1. Схематичне зображення відношень між системою
та моделлю
. Основні типи моделей
. Загальна схема ідентифікації системи
. Діаграми переходів процесу x(t) (для різних
типів стратегій)
. Логіко-функціональна схема роботи системи
. Алгоритми програмної реалізації
. Приклади робочих вікон системи
. Приклад звіту
6. Консультанти з роботи, з вказівками розділів роботи, що
належать до них
|
Розділ
|
Консультант
|
Підпис, дата
|
|
|
Завдання видав
|
Завдання
прийняв
|
|
Економічна
частина
|
Тимко Є.В.
|
|
|
|
Охорона праці
|
Климович Г.Б.
|
|
|
. Дата видачі завдання 01.11.10 р.
Керівник (підпис)
Завдання прийняв до виконання (підпис)
КАЛЕНДАРНИЙ ПЛАН
|
№ п/п
|
Найменування
етапів дипломної роботи
|
Термін
виконання етапів роботи
|
Примітки
|
|
1.
|
Отримання
завдання на дипломну роботу
|
01.11.10
|
|
|
2.
|
Огляд існуючих
рішень
|
20.02.11
|
|
|
3.
|
Теоретичне
дослідження математичних моделей стратегій обслуговування
|
13.03.11
|
|
|
4.
|
Програмна
частина (постановка задачі, створення програмного забезпечення, опис
алгоритму рішення задачі, проектування та опис інтерфейсу користувача, опис
програми)
|
28.04.11
|
|
|
5.
|
Оформлення
пояснювальної записки
|
05.05.10
|
|
|
6.
|
Оформлення графічної
документації
|
14.05.11
|
|
|
7.
|
Оформлення
електронних додатків до диплому
|
20.05.11
|
|
|
8.
|
Представлення
дипломної роботи до захисту
|
25.05.11
|
|
Студент-дипломник (підпис)
Керівник роботи (підпис)
Анотація
Метою даної дипломної роботи є створення системи
експериментального дослідження математичних моделей оптимізації обслуговування
складних систем.
Розроблений програмний продукт може бути
застосований для визначення критеріїв оптимізації обслуговуваних систем та
надання рекомендацій щодо часу проведення попереджувальної профілактики.
Розрахунок проводився з використанням непараметричного методу, що заснований на
статистичних даних.
Розділів 6, схем та рисунків 17, таблиць 15, бібліографічних
посилань 36, загальний обсяг - 106.
Аннотация
Целью данной дипломной работы является создание системы
экспериментального исследования математических моделей оптимизации обслуживания
сложных систем.
Разработанный программный продукт может
быть применен для определения критериев оптимизации обслуживаемых систем и выдачи
рекомендаций относительно времени проведения предупредительной профилактики.
Расчет проводился с использованием непараметрического метода, который основан
на статистических данных.
Разделов 6, схем и рисунков 17, таблиц 15, библиографических
ссылок 36, общий объем - 106.
The summary
purpose of the given diploma work is creation of the
experimental research system of the difficult systems mathematical models of
maintenance optimization.
The developed software product can be
applied for determination of the served systems optimization criteria and
delivery of recommendations in relation to time of preventive prophylaxis
leadthrough. A calculation was conducted with the use of unparametric method
which is based on statistical information.
Sections 6, circuits and figures 17, tables 15, bibliographic
references 36, total amount - 106.
Зміст
Вступ
1. Постановка
завдання
1.1
Найменування та галузь застосування
1.2 Підстава
для створення
1.3
Характеристика розробленого програмного забезпечення
1.4 Мета й призначення
1.5 Загальні
вимоги до розробки
1.6 Джерела
розробки
2. Основні
поняття теорії та практики моделювання складних систем
2.1 Поняття
системи
2.2
Співвідношення між моделлю та системою
2.3
Класифікація моделей
2.4 Вимоги до
моделей
2.5 Основні
види моделювання
2.6 Формальні
методи побудови моделей
2.7
Кібернетичний підхід
2.8 Принципи
побудови моделей
2.9 Технологія
моделювання
3. Теоретичне
дослідження математичних моделей стратегій обслуговування
3.1 Загальний
огляд математичних моделей
3.2 Стратегія
A - самостійний прояв відмови
3.3 Стратегія
В - миттєва індикація відмови
3.4 Стратегія
С - стратегія зберігання
.5 Стратегія D
- обслуговування при довільному розподілі часу індикації відмов
4. Опис
функціональних можливостей та програмної реалізації проектованої системи
4.1 Предметна
область і задачі, покладені на проектовану систему
4.2
Логіко-функціональна схема роботи системи
4.3 Розробка
алгоритмів та програмна реалізація
4.4 Опис
інтерфейсу користувача
5 Економічне
обгрунтовання доцільності розробки програмного продукту
6. Охорона
праці
6.1 Аналіз
небезпечних і шкідливих факторів в приміщені обчислюва-льного центру
6.2 Заходи
щодо нормалізації шкідливих і небезпечних факторів
6.3 Пожежна
безпека
Висновки
Список літератури
Додаток А -
Приклад звіту
Вступ
З давніх часів людина використовує моделювання для
дослідження об'єктів, процесів та явиш в різних галузях своєї діяльності.
Результати цих досліджень допомагають визначити та покращити характеристики
реальних об'єктів та процесів, краще зрозуміти сутність явищ та пристосуватись
до них або керувати ними, конструювати нові та модернізувати старі об'єкти.
Моделювання допомагає людині приймати обґрунтовані рішення та передбачати
наслідки своєї діяльності.
Поняття комп'ютерного моделювання відображає використання в
цьому процесі комп'ютера, як потужного сучасного засобу обробки інформації.
Завдяки комп'ютеру суттєво розширюються галузі застосування моделювання, а
також забезпечується всебічний аналіз отриманих результатів.
Модель - це штучно створений людиною абстрактний або
матеріальний об'єкт. Аналіз та спостереження моделі дозволяє пізнати сутність
реально існуючого складного об'єкта, процесу чи явища, що називаються
прототипами об'єкта. Таким чином, модель - це спрощене уявлення про реальний
об'єкт, процес чи явище, а моделювання - побудова моделей для дослідження та
вивчення об'єктів, процесів та явищ.
У практиці експлуатації технічних систем
часто виникають ситуації, при яких неможливо зібрати досить статистичних даних
про їх відмови, несправності або передумови до появи відмов або несправностей.
Це, наприклад, має місце, якщо експлуатується нова система, або в тих випадках,
коли існуючими методами контролю і діагностики не вдається виявити виникнення
деяких несправностей або передумов до несправностей або відмов. Виникає
завдання такої організації перевірок, при якій із заданою упевненістю будуть
виявлені виниклі в системі відмови, а час перебування системи в стані відмови
(несправності, передумови до несправності або відмови) в середньому найменший.
При цьому природно припустити, що такі моделі перевірок різні залежно від
наявної інформації про надійність системи і тим краще, ніж більша інформація є
про надійність системи.
На практиці при великому числі однотипних
систем, що знаходяться в експлуатації, організація перевірок кожної з них в
розрахунковий оптимальний час при обмеженнях на засоби контролю і кількість
обслуговуючого персоналу, що часто має місце, зустрічає великі труднощі. Тому
необхідно, з одного боку, автоматизувати процес видачі рекомендацій про
проведення перевірок, а з іншою - організувати процедуру перевірок так, щоб
перевірки проводилися в розрахунковий час з найменшими втратами, пов'язаними з
простоями персоналу і засобів обслуговування, переміщеннями засобів
обслуговування або їх комутацією.
Під програмою експлуатації системи
розуміють сукупність взаємозв'язаних по місцю, часу і змісту робіт, які
забезпечують зберігання, транспортування і підтримку системи в заданому стані
для застосування її за призначенням. Роботам по технічному обслуговуванню в
програмах експлуатації відводиться значне місце.
Оптимальна програма експлуатації полягає в
забезпеченні якнайкращого застосування системи за призначенням при виконанні
обслуговуючим персоналом фіксованого об'єму робіт під час її експлуатації. Для
створення оптимальних програм експлуатації застосовують сучасні математичні
методи і обчислювальні засоби. Оптимальні програми експлуатації, по суті, є,
оптимальними програмами управління в загальній постановці завдання управління.
У даній дипломній роботі розглядається знаходження часу
планової попереджувальної профілактики і оптимальних значень характеристик на
прикладі чотирьох стратегій обслуговування.
1. Постановка завдання
.1
Найменування та галузь застосування
Найменування розробки: система
експериментального дослідження математичних моделей оптимізації обслуговування
складних систем.
Розроблений в процесі виконання
експериментальних досліджень програмний продукт може бути застосований для
визначення критеріїв оптимізації обслуговуваних систем та рекомендацій щодо
часу проведення попереджувальної профілактики.
1.2
Підстава для створення
Підставою для розробки є наказ № 55С-01 від 29 жовтня 2010 р.
по Криворізькому інституту КУЕІТУ.
Початок робіт: 01.11.10. Закінчення робіт: 25.05.11.
1.3
Характеристика розробленого програмного забезпечення
Розроблене програмне забезпечення створено в середовищі
Delphi, що дозволяє наочно продемонструвати результати проведених досліджень.
Вибір середовища реалізації пов'язаний з можливістю створення максимально
гнучкого і привабливого інтерфейсу користувача.
Розрахунок проводився з використанням непараметричного
методу, що заснований на статистичних даних.
У програмі реалізований вибір стратегій обслуговування,
демонстрація теоретичних відомостей, ввід початкових даних та виведення
результатів обчислень.
Система також дозволяє зберегти звіт про проведені
дослідження в файл формату MS Word.
1.4
Мета й призначення
Метою даної дипломної роботи є створення системи
експериментального дослідження математичних моделей оптимізації обслуговування
складних систем.
Розроблене в результаті виконання дипломної роботи програмне
забезпечення призначене для розрахунку оптимізації за наступними критеріями:
· коефіцієнт готовності;
· середні питомі втрати;
· середній питомий прибуток;
· вірогідність виконання завдання.
Також система дозволяє проводити
розрахунок часу проведення попереджувальної профілактики для чотирьох стратегій
обслуговування.
1.5
Загальні вимоги до розробки
Вимоги до програмного забезпечення:
· Робота в середовищі операційних систем
Windows 2000/XP/7;
· Простота й зрозумілість інтерфейсу.
Додаткове програмне забезпечення:
встановлення пакету MS Office.
Мінімальні вимоги до апаратного забезпечення:
· IBM-сумісний комп'ютер, не нижче Pentium
IІ, RAM-128Mb, SVGA-800*600*16bit;
· Вільний простір на жорсткому диску не менш
2 Мб.
.6
Джерела розробки
Джерелами розробки дипломної роботи є:
· довідкова література;
· наукова література;
· технічна література;
· програмна документація.
2. Основні поняття теорії та практики моделювання складних систем
.1
Поняття системи
Основними поняттями в теорії і практиці моделювання об'єктів,
процесів і явищ є «система» та «модель».
У перекладі з грецької «система» - ціле, яке складається із
частин; об'єднання. Термін «система» існує вже більш ніж два тисячоліття, проте
різні дослідники визначають його по-різному. На сьогодні існує понад 500
визначень терміну «система». Однак, використовуючи будь-яке з них, у першу
чергу потрібно мати на увазі ті завдання, які ставить перед собою дослідник.
Системою може бути і один комп'ютер, і автоматизована лінія або технологічний
процес, в яких комп'ютер є лише одним із компонентів, і все підприємство або
кілька різних підприємств, які функціонують як єдина система в одній галузі промисловості.
Те, що один дослідник визначає як систему, для іншого може бути лише
компонентом більш складної системи.
Для всіх визначень системи загальним є те, що система - це
цілісний комплекс взаємопов'язаних елементів, який має певну структуру і
взаємодіє із зовнішнім середовищем. Структура системи - це організована
сукупність зв'язків між її елементами. Під таким зв'язком розуміють можливість
впливу одного елемента системи на інший. Середовище - це сукупність елементів
зовнішнього світу, які не входять до складу системи, але впливають на її
поведінку або властивості. Система є відкритою, якщо існує зовнішнє середовище,
яке впливає на систему, і закритою, якщо воно відсутнє, або з огляду на мету
досліджень не враховується.
Одне з перших визначень системи (1950 рік) належить
американському біологу Л. фон Берталанфі, згідно з яким система складається з
деякої кількості взаємопов'язаних елементів.
Оскільки між елементами системи існують певні взаємозв'язки,
то мають бути структурні відношення. Таким чином, система - це щось більше, ніж
сукупність елементів. Аналізуючи систему, потрібно враховувати оцінку
системного (синергетичного) ефекту. Властивості системи відмінні від
властивостей її елементів, і залежно від властивостей, якими цікавляться
дослідники, та ж сама сукупність елементів може бути системою або ні.
Багато дослідників визначають систему як цілеспрямовану
множину взаємопов'язаних елементів будь-якої природи. Згідно з цим визначенням
система функціонує для досягнення деякої мети. Це визначення є правильним для
соціологічних і технічних систем, але не підходить для систем навколишньої
природи (наприклад, біологічних), мета функціонування яких не завжди відома.
Одне з важливих визначень системи пов'язане з абстрактною
теорією систем, у рамках якої, на відміну від інших рівнів опису систем,
використовуються такі рівні абстрактного опису:
· символічний, або лінгвістичний;
· теоретико-множинний;
· абстрактно-алгебричний;
· топологічний;
· логіко-математичний;
· теоретико-інформаційний;
· динамічний;
· евристичний.
Найвищий рівень абстрактного опису систем - лінгвістичний;
ґрунтуючись на ньому, можна одержати всі інші рівні. На цьому рівні вводиться
поняття предметної області, для опису якої застосовуються алгебричні моделі, з
якими пов'язана деяка мова. Для опису предметної області цією мовою
використовуються два рівні формальних мов, за допомогою яких будують
логіко-алгебричну модель предметної області. На цій моделі підтверджуються
методи дослідження за допомогою формального апарату, яким можуть бути теорії,
побудовані у вигляді істинних висловлювань з усієї множини висловлювань.
Таким чином, система - це окремий випадок теорії, описаний
формальною мовою, яка уточнюється до мови об'єктів. Для визначення деякого
поняття використовують певні символи (алфавіт) і встановлюють правила
оперування ними. Сукупність символів і правил користування ними утворює
абстрактну мову. Поняття, висловлене абстрактною мовою, означає будь-яке
речення (формулу), побудоване за граматичними правилами цієї мови. Припускають,
що таке речення містить варійовані змінні, так звані конституенти, які, маючи
тільки певні значення, роблять дане висловлювання істинним.
2.2
Співвідношення між моделлю та системою
З огляду на вищеописане модель - це абстракція; вона
відображає лише частину властивостей системи, і мета моделювання - визначення
рівня абстрактного опису системи, тобто рівня детальності її подання.
Модель і система знаходяться в деяких відношеннях, від яких
залежить ступінь відповідності між ними. На міру відповідності між системою та
моделлю вказують поняття ізоморфізму та гомоморфізму. Система та модель є
ізоморфними, якщо існує взаємооднозначна відповідність між ними, завдяки якій
можна перетворити одне подання на інше. Строго доведений ізоморфізм для систем
різної природи дає можливість переносити знання з однієї галузі в іншу. За
допомогою теорії ізоморфізму можна не тільки створювати моделі систем і
процесів, але й організовувати процес моделювання.
Однак існують і менш тісні зв'язки між системою та моделлю.
Це так звані гомоморфні зв'язки, які визначають однозначну відповідність лише в
один бік - від моделі до системи. Система та модель є ізоморфними тільки в разі
спрощення системи, тобто скорочення множини її властивостей (атрибутів) і
характеристик поведінки, які впливають на простір станів системи. Зазвичай
модель простіша за систему.
На рис. 2.1 схематично зображено різницю ізоморфної та
гомоморфної залежностей між системою та моделлю.
Рис. 2.1 Схематичне зображення відношень між системою та
моделлю
Отже, аналогія, абстракція та спрощення - це основні поняття,
які використовуються під час моделювання систем.
2.3
Класифікація моделей
Для того щоб визначити види моделей, перш за все потрібно
окреслити ознаки класифікації. У сучасній літературі описано сотні визначень
поняття «модель» та їх класифікацій. Одну з перших, досить повних, класифікацій
моделей було запропоновано Дж. Форрестером у 1961 році.
Якщо враховувати, що моделювання - це метод пізнання
дійсності, то основною ознакою класифікації можна назвати спосіб подання
моделі. За цією ознакою розрізняють абстрактні та реальні моделі (рис. 2.2).
Під час моделювання можливі різні абстрактні конструкції, проте основною є
віртуальна (уявна) модель, яка відображає ідеальне уявлення людини про
навколишній світ, що фіксується в свідомості через думки та образи. Вона може
подаватись у вигляді наочної моделі за допомогою графічних образів і зображень.
Рис. 2.2 Основні типи моделей
Наочні моделі залежно від способу реалізації можна поділити
на дво- або тримірні графічні, анімаційні та просторові. Графічні та анімаційні
моделі широко використовуються для відображення процесів, які відбуваються в
модельованій системі. Графічні моделі застосовуються в системах
автоматизованого проектування (computer-aided design, CAD). Для відтворення
тримірних моделей за допомогою комп'ютера існує багато графічних пакетів,
найбільш поширені з яких Corel DRAW, 3D Studio Max i Maya. Графічні моделі є
базою всіх комп'ютерних ігор, а також застосовуються під час імітаційного
моделювання для анімації.
Щоб побудувати модель у формальному вигляді, створюють
символічну, або лінгвістичну, модель, яка відповідала б найвищому рівню
абстрактного опису, як це було зазначено вище. На базі неї отримують інші рівні
опису.
Основним видом абстрактної моделі є математична модель.
Математичною називається абстрактна модель, яка відображає систему у вигляді
математичних відношень. Як правило, йдеться про систему математичних
співвідношень, що описують процес або явище, яке вивчається; у загальному
розумінні така модель є множиною символічних об'єктів і відношень між ними. Як
відзначає Г.І. Рузавін у праці, «до сих пор в конкретных приложениях математики
чаще всего имеют дело с анализом величин и взаимосвязей между ними. Эти
взаимосвязи описываются с помощью уравнений и систем уравнений», через що
математична модель звичайно розглядається як система рівнянь, в якій конкретні
величини замінюються математичними поняттями, постійними і змінними величинами,
функціями.
Як правило, для цього застосовуються диференціальні,
інтегральні та алгебричні рівняння. Розвиток нових розділів математики,
пов'язаних з аналізом нечислових структур, досвід їх використання під час
проведення досліджень свідчать, що потрібно розширювати уявлення про мову
математичних моделей. Тоді математична модель визначатиметься як будь-яка
математична структура, де об'єкти, а також відношення між ними можна буде
інтерпретувати по-різному, наприклад як функції або функціонали.
На відміну від абстрактних, реальні моделі існують у природі,
й з ними можна експериментувати. Реальні моделі - це такі, в яких хоча б один
компонент є фізичною копією реального об'єкта. Залежно від того, в якому
співвідношенні знаходяться властивості системи та моделі, реальні моделі можна
поділити на натурні та макетні.
Натурні (фізичні) моделі - це існуючі системи або їх частини,
на яких провадяться дослідження. Натурні моделі повністю адекватні реальній
системі, що дає змогу отримувати високу точність і достовірність результатів
моделювання. Суттєві недоліки натурних моделей - це неможливість моделювання
критичних і аварійних режимів їх роботи та висока вартість.
Макетні моделі - це реально існуючі моделі, які відтворюють
модельовану систему в певному масштабі. Іноді такі моделі називаються
масштабними. Параметри моделі та системи відрізняються між собою. Числове
значення цієї різниці називається масштабом моделювання, або коефіцієнтом
подібності. Ці моделі розглядаються в рамках теорії подібності, яка в окремих
випадках передбачає геометричну подібність оригіналу й моделі для відповідних
масштабів параметрів. Найпростіші макетні моделі - це пропорційно зменшені
копії існуючих систем які відтворюють основні властивості системи або об'єкта
залежно від мети моделювання. Макетні моделі широко використовуються під час
вивчення фізичних та аеродинамічних процесів, гідротехнічних споруд і багатьох
інших технічних систем.
За можливістю змінювати в часі свої властивості моделі
поділяються на статичні та динамічні. Статичні моделі, на відміну від
динамічних, не змінюють своїх властивостей у часі. Динамічні моделі також
називаються імітаційними.
Залежно від того, яким чином відтворюються в часі стани
моделі, розрізняють дискретні, неперервні й дискретно-неперервні (комбіновані)
моделі. За відношеннями між станами системи й моделі розрізняють детерміновані
й стохастичні моделі. Останні, на відміну від детермінованих моделей,
враховують імовірнісні явища й процеси.
2.4
Вимоги до моделей
У загальному випадку під час побудови моделі потрібно
враховувати такі вимоги:
· незалежність результатів розв'язання задач
від конкретної фізичної інтерпретації елементів моделі;
· змістовність, тобто здатність моделі
відображати істотні риси і властивості реального процесу, який вивчається і
моделюється;
· дедуктивність, тобто можливість
конструктивного використання моделі для отримання результату;
· індуктивність - вивчення причин і
наслідків, від окремого до загального, з метою накопичення необхідних знань.
Оскільки модель створюється для вирішення конкретних завдань,
розробник моделі має бути впевненим, що не отримає абсурдних результатів, а всі
одержані результати відображатимуть необхідні для дослідника характеристики та
властивості модельованої системи. Модель повинна дати можливість знайти
відповіді на певні запитання, наприклад: «що буде, якщо ...», оскільки вони є
найбільш доцільними під час глибокого вивчення проблеми. Не варто забувати, що
системні аналітики використовують модель для прийняття рішень і пошуку
найкращих способів створення модельованої системи або її модернізації. Завжди
потрібно пам'ятати, що користувачем інформації, отриманої за допомогою моделі,
є замовник. Недоцільно розробляти модель, якщо її не можна буде
використовувати.
Більш того, робота з моделлю має бути автоматизованою для
замовника до такого ступеня, щоб він міг працювати з нею в межах своєї
предметної області. Таким чином, між моделлю і користувачем повинен бути
розвинутий інтерфейс, який звичайно створюється за допомогою системи меню,
налагодженої на застосування моделі в певній галузі.
Ступінь деталізації моделі потрібно вибирати з огляду на цілі
моделювання, можливості отримання необхідних вхідних даних для моделі та з урахуванням
наявних ресурсів для її створення. Відсутність кваліфікованих фахівців може
звести роботи зі створення моделі нанівець. З іншого боку, чим детальніше
розроблено модель, тим вона стійкіша до вхідних впливів, які не були
передбачені під час проектування, і на більшу кількість запитань може дати
правильні відповіді.
2.5
Основні види моделювання
Єдина класифікація видів моделювання неможлива через
багатозначність поняття моделі в науці, техніці, суспільстві. Широко відомими
видами моделювання є комп'ютерне, математичне, імітаційне та статистичне. На
жаль, різні джерела по-різному трактують ці поняття.
Комп'ютерне моделювання визначимо як реалізацію моделі за
допомогою комп'ютера. Особливістю комп'ютерного моделювання є його
інтерактивність, що дає змогу користувачу втручатися в процес моделювання та
впливати на результати завдяки узгодженості дій користувача і моделі, яка
відтворює об'єкти реального середовища або гіпотетичні події та процеси. Під
час комп’ютерного моделювання може бути задіяно реальні об'єкти (наприклад,
кабіна пілота), віртуальні об'єкти, згенеровані комп'ютером, які відтворюють
реальні об'єкти (наприклад, потоково-конвеєрна лінія для збирання автомобілів).
Інтерактивне комп'ютерне моделювання широко застосовується в навчальних системах,
наприклад для побудови тренажерів і в ситуаційних іграх.
Термін «моделювання» відповідає англійському слову
«modeling», тобто побудові моделі та її аналізу. Англійський термін
«simulation» відповідає прийнятому терміну «імітаційне моделювання», але часто
вони використовуються разом, коли йдеться про технологічні або системні етапи
моделювання, пов'язані з прийняттям рішень за допомогою моделей.
Імітаційне моделювання - це метод конструювання моделі
системи та проведення експериментів. Однак під таке визначення підпадають майже
всі види моделювання. Тому потрібно виділити суттєві особливості імітаційного
моделювання.
Перш за все слід подати в моделі структуру системи, тобто
загальний опис елементів і зв'язків між ними, потім визначити засоби
відтворення в моделі поведінки системи. Здебільшого поведінку системи описують
за допомогою станів і моментів переходів між ними. Стан системи в момент часу t
визначають як безліч значень певних параметрів системи у цей самий момент часу
t. Будь-яку зміну цих значень можна розглядати як перехід до іншого стану. І
врешті-решт, імітаційна модель має відобразити властивості середовища, в якому
функціонує досліджувана система. Зовнішнє середовище задають вхідними впливами
на модель.
Вся інформація про імітаційну модель загалом має
логіко-математичний характер і подається у вигляді сукупності алгоритмів, які
описують процес функціонування системи. Отже, здебільшого імітаційною моделлю є
її програмна реалізація на комп'ютері, а імітаційне моделювання зводиться до
проведення експериментів з моделлю шляхом багаторазового прогону програми з
деякою множиною даних - середовищем системи. Під час імітаційного моделювання
може бути задіяно не тільки програмні засоби, але й технічні засоби, люди та
реальні системи.
З математичної точки зору імітаційну модель можна розглядати
як сукупність рівнянь, які розв'язують з використанням чисельних методів у разі
кожної зміни модельного часу. Окремі рівняння можуть бути простими, але їх
кількість і частота розв'язання - дуже великими. Розв'язання таких рівнянь під
час імітаційного моделювання означає встановлення хронологічної послідовності
подій, які виникають у системі і відображають послідовність її станів. Отже,
імітаційна модель функціонує так само, як система.
За наявності в моделі випадкових факторів виникає
необхідність статистичного оцінювання результатів моделювання, що виконується
за допомогою методу статистичного моделювання (методу Монте-Карло). Статистичне
моделювання є самостійним видом моделювання, яке включається в імітаційне моделювання
тільки за необхідності моделювання ймовірнісних систем і процесів.
2.6
Формальні методи побудови моделей
Розглядаючи сфери застосування моделей, можна констатувати,
що за допомогою моделі можна досягти двох основних цілей: описової, якщо модель
призначена для пояснення і кращого розуміння об'єкта, або приписуючої, коли
модель дає змогу передбачити або відтворити характеристики об'єкта або
визначити його поведінку.
Таким чином, модель є описовою, якщо вона призначена
зображувати поведінку (функціонування) або властивості існуючої або типової
системи (наприклад, масштабна модель або письмовий опис, що дає змогу знайомити
потенційних покупців із фізичними і робочими характеристиками комп'ютера).
Протилежність -приписуюча модель, яка відображає необхідну поведінку або
властивості запропонованої системи (наприклад, масштабна модель або письмовий
опис, представлений постачальнику комп'ютерів, з фізичними і робочими
характеристиками потрібного замовнику комп'ютера).
Приписуюча модель може бути описовою, але не навпаки. Тому
існує різний ступінь корисності моделей, які використовуються в технічних і
соціальних науках. Це значною мірою залежить від методів, і засобів,
застосовуваних під час побудови моделей, а також від кінцевої мети. У
соціальних науках моделі призначено для пояснення існуючих систем, а в техніці
вони є допоміжними засобами для створення нових або більш досконалих моделей.
Модель, що придатна для досягнення цілей розроблення системи, має також
пояснювати її.
Під час побудови моделей застосовуються фундаментальні закони
природи, варіаційні принципи, аналогії, ієрархічні ланцюжки. Процес створення
моделі включає такі етапи.
. Словесно-смисловий опис об'єкта або явища - формулювання
описової моделі, призначеної для сприяння кращому розумінню об'єкта
моделювання.
. Числове вираження модельованої реальності для виявлення
кількісної міри і границь відповідних якостей; з цією метою провадиться
математико-стати-стична обробка емпіричних даних, пропонується кількісне
формулювання якісно встановлених фактів і узагальнень.
. Перехід до вибору або формулювання моделей явищ і процесів
(варіаційного принципу, аналогії тощо) і його запису у формалізованій формі; це
рівень структурних теоретичних схем, таких як системи масового обслуговування,
мережі Петрі, скінченні або ймовірнісні автомати, діаграми фонд-потік тощо.
. Завершення формулювання моделі її «оснащенням» - завдання
початкового стану і параметрів об'єкта.
. Вивчення моделі за допомогою доступних методів (у тому
числі із застосуванням різних підходів і обчислювальних методів).
У результаті дослідження моделі досягається поставлена мета.
У цьому разі має бути встановлена всіма можливими способами (шляхом порівняння
з практикою, порівняння з іншими підходами) її адекватність - відповідність
об'єкта сформульованим припущенням.
2.7
Кібернетичний підхід
Систему можна вивчати та аналізувати, змінюючи вхідні впливи
і спостерігаючи за виходами. Це кібернетичний підхід, згідно з яким система
розглядається як «чорний ящик». Метод «чорного ящика» широко використовується
під час моделювання систем, коли для дослідника важливо отримати інформацію про
поведінку системи, а не про її будову. Дослідник не може зробити однозначний
висновок про структуру «чорного ящика», спостерігаючи тільки за його входами та
виходами, бо поведінка модельованої системи нічим не відрізняється від
поведінки ізоморфних їй систем.
Для побудови моделі використовуються методи теорії
ідентифікації. У загальному випадку завдання ідентифікації формулюється так: на
основі результатів спостереження за вхідними та вихідними змінними системи
потрібно побудувати оптимальну в деякому розумінні математичну модель.
Основними етапами ідентифікації є такі:
. Вибір класу і структури моделі та мови її опису.
. Вибір класу і типів вхідних впливів X.
. Обґрунтування критеріїв подібності системи та моделі.
. Вибір методу ідентифікації та розроблення відповідних
алгоритмів оцінювання параметрів системи.
. Перевірку адекватності отриманої в результаті ідентифікації
моделі.
Залежно від обсягу апріорної інформації про клас і структуру
системи вирізняють завдання ідентифікації в широкому та вузькому розумінні.
Завдання ідентифікації у широкому розумінні виконується в умовах апріорної
невизначеності структури моделі системи («чорний ящик»). Клас і структура
математичної моделі вибираються на основі результатів теоретичного аналізу з
використанням загальних закономірностей процесів, які протікають у системі, або
на основі загальної інформації про подібні системи. У цьому випадку для
побудови математичної моделі можна використовувати непараметричні методи. їх
розроблено для тих ситуацій, які досить часто виникають на практиці, коли
дослідник нічого не знає про параметри досліджуваної системи (звідси і назва
методів - непараметричні).
Завдання ідентифікації у вузькому розумінні полягає в
оцінюванні параметрів і станів системи, якщо відома структура моделі («сірий
ящик»). Завданням ідентифікації є кількісне оцінювання певних параметрів. Для
цього використовується параметрична ідентифікація математичної моделі.
Прикладами таких моделей можуть бути диференціальні та різницеві рівняння,
моделі типу «вхід-стан-вихід».
На рис. 2.3 зображено загальну схему ідентифікації системи.
Рис. 2.3 Загальна схема ідентифікації системи
Прикладами моделей, створених на основі експериментальних
даних, можуть бути моделі авторегресії різних порядків, ковзного середнього та
моделі типу «вхід-вихід», побудовані за допомогою методу найменших квадратів.
2.8
Принципи побудови моделей
Розглянемо коротко основні принципи моделювання, які
відображають достатньо багатий досвід, накопичений на даний час у галузі
розроблення і використання моделей.
Принцип інформаційної достатності.
За повної відсутності інформації про систему модель
побудувати неможливо. За наявності повної інформації про систему її моделювання
недоцільне. Існує деякий критичний рівень апріорних відомостей про систему
(рівень інформаційної достатності), після досягнення якого можна побудувати її
адекватну модель.
Принцип доцільності.
Модель створюється для досягнення деяких цілей, які
визначають на первинному етапі формулювання проблеми моделювання.
Принцип здійсненності.
Модель, яка створюється, має забезпечувати досягнення мети
дослідження з урахуванням граничних ресурсів з імовірністю, суттєво відмінною
від нуля, і за кінцевий час.
Принцип множинності моделей.
Модель, яка створюється, має відображати в першу чергу ті
властивості реальної системи (або явища), які впливають на вибраний показник
ефективності. Відповідно під час використання будь-якої конкретної моделі
пізнаються лише деякі складові реальності. Для повного її дослідження необхідно
мати ряд моделей, які дали б змогу відобразити певний процес з різних боків і з
різним ступенем детальності.
Принцип агрегації.
У більшості випадків складну систему можна подати такою, що
складається з агрегатів (підсистем), для адекватного формального описування
яких придатними є деякі стандартні математичні схеми. Принцип агрегації дає
змогу досить гнучко перебудовувати модель залежно від завдань дослідження.
Принцип параметризації.
У ряді випадків модельована система має у своєму складі деякі
відносно ізольовані підсистеми, які характеризуються певними параметрами, у
тому числі векторними. Такі підсистеми можна замінювати в моделі відповідними
числовими величинами, а не описувати процес їх функціонування. У разі
необхідності залежність значень цих величин від ситуації може задаватись у
вигляді таблиць, графіків або аналітичних виразів (формул), наприклад за
допомогою регресійного аналізу. Принцип параметризації дає змогу скоротити
обсяг і тривалість моделювання, але слід мати на увазі, що параметризація
знижує адекватність моделі.
Потреба в моделюванні виникає як на етапі проектування систем
для оцінювання правильності прийнятих рішень, так і на етапі експлуатації - для
оцінювання наслідків внесення змін у системи. У цьому випадку на різних етапах
проектування (технічний або робочий проект) з уточненням вихідних даних і
виявленням нових суттєвих факторів ступінь деталізації процесу в системі
зростає, що має відобразитись у моделі.
Отже, у моделі можуть водночас знаходитись блоки з різним
ступенем деталізації, які моделюють одні й ті самі компоненти проектованої
системи. Іншими словами, під час побудови моделі потрібно застосовувати
методологію ітераційного багаторівневого моделювання.
Розроблення моделі доцільно починати зі створення простої
вихідної моделі, яку в процесі уточнення вхідних даних і характеристик системи
ускладнюють і коригують, тобто адаптують до нових умов. Водночас модель має
залишатись досить наочною, тобто її структура має відповідати структурі
модельованої системи, а рівень деталізації моделі повинен вибиратись з
урахуванням мети моделювання, ресурсних обмежень (наприклад, час, кваліфіковані
людські ресурси і кошти, виділені на проектування) і можливості отримання
вхідних даних.
Отже, модель має бути багаторівневою, адаптивною, наочною,
цільовою, розвиватись ітераційним способом, ускладнюватись і коригуватись у
процесі утворення, що можливо тільки за умови побудови її блоковим (модульним)
способом. Програмування та налагодження моделі доцільно провадити поетапно, з
наступним збільшенням програмних модулів.
Один із способів підвищення ефективності моделювання полягає
в тому, щоб не будувати заново модель для кожної нової системи, а вирізняти
окремі класи систем і створювати уніфіковані програмні моделі для класів у
цілому. Узагальнені програмні моделі дають змогу моделювати будь-яку систему із
заданого класу без додаткових витрат на програмування. Така методологія
забезпечує єдиний системний підхід до розроблення програмних реалізацій моделей
і використовується під час об'єктно-орієнтованого програмування у вигляді
бібліотеки класів моделей.
Розглянутий підхід можна реалізувати також у вигляді
спеціалізованої мови або пакета моделювання, що дає змогу створювати
узагальнені моделі шляхом уведення засобів розмноження підмоделей,
реорганізації зв'язків між ними та їх параметричного налагодження. Цей спосіб
орієнтовано на фахівців, добре обізнаних з мовою моделювання.
Інший спосіб реалізації цього підходу полягає в розробленні
діалогових інтелектуальних систем моделювання з використанням банку моделей та
бази знань, які користувач може налагоджувати на конкретну реалізацію. У цьому
разі етап програмування можна повністю виключити під час програмної реалізації
імітаційної моделі завдяки використанню ефективних методів взаємодії з базами
даних і застосуванню засобів генерації моделей.
.9
Технологія моделювання
Основою моделювання є методологія системного аналізу. Це дає
змогу досліджувати систему, яка проектується або аналізується, за технологією
операційного дослідження, включаючи такі взаємопов'язані етапи:
. Формулювання проблеми та змістове поставлення задачі.
. Розроблення концептуальної моделі.
. Розроблення програмної реалізації моделі (зазвичай
застосовується комп'ютерна модель), яка включає:
а) вибір засобів програмування, за допомогою яких буде
реалізовано модель;
б) розроблення структурної схеми моделі та складання опису її
функціонування;
в) програмна реалізація моделі.
. Перевірка адекватності моделі.
. Організація та планування проведення експериментів, яке
включає оцінювання точності результатів моделювання.
. Інтерпретація результатів моделювання та прийняття рішень.
. Оформлення результатів дослідження.
На першому етапі замовник формулює проблему. Організовуються
зустрічі керівника проекту із замовником, аналітиками з моделювання та
експертами з проблеми, яка вивчається.
Визначаються цілі дослідження та спеціальні питання,
відповіді на які буде одержано за результатами дослідження; встановлюються
критерії оцінювання роботи, які використовуватимуться для вивчення ефективності
різних конфігурацій системи; розглядаються такі показники, як масштаб моделі,
період дослідження і необхідні ресурси; визначаються конфігурації модельованої
системи, а також потрібне програмне забезпечення.
На цьому ж етапі провадиться цілеспрямоване дослідження
модельованої системи, залучаються експерти з проблеми, що вирішується, які
володіють достовірною інформацією. Збирається інформація про конфігурацію
системи і способи експлуатації для визначення параметрів моделі і вхідних
розподілів імовірностей.
На другому етапі розробляється концептуальна модель -
абстрактна модель, яка дає змогу виявити причинно-наслідкові зв'язки, властиві
досліджуваному об'єкту в межах, визначених цілями дослідження. По суті, це
формальний опис об'єкта моделювання, який відображає концепцію (погляд
дослідника на проблему). Вона включає в явному вигляді логіку, алгоритми,
припущення й обмеження.
Згідно з цілями моделювання визначаються вихідні показники,
які потрібно збирати під час моделювання, ступінь деталізації, необхідні вхідні
дані для моделювання.
Рівень деталізації моделі залежить від таких чинників: цілі
проекту; критерії оцінювання показників роботи; доступність даних;
достовірність результатів; комп'ютерні можливості; думки експертів з проблеми,
що вирішується; обмеження, пов'язані з часом і фінансуванням. Провадиться
структурний аналіз концептуальної моделі, пропонується опис допущень, які
обговорюються із замовником, керівником проекту, аналітиками та експертами з
проблеми, яка вирішується.
Розробляються моделі вхідних даних, провадиться їх
статистичний аналіз, за результатами якого визначають розподіли ймовірностей,
регресійні, кореляційні та інші залежності. На цьому етапі для попереднього
аналізу даних широко застосовують різні статистичні пакети (наприклад,
Біаизілса).
Для динамічних систем провадиться поопераційний аналіз функціонування
модельованої системи з детальним описуванням роботи елементів системи. За
результатами такого аналізу можна з'ясувати, чи можна вирішити проблему без
застосування засобів моделювання. Детально опрацьована концептуальна модель дає
змогу замовнику з іншого боку поглянути на роботу системи та, наприклад,
визначити вузькі місця системи, які спричиняють зниження її пропускної
здатності.
Одна з найскладніших проблем, з якою має справу аналітик
моделювання, полягає у визначенні, чи адекватна модель системі. Якщо імітаційна
модель адекватна, її можна використовувати для прийняття рішень щодо системи,
яку вона представляє, тобто ніби вони приймались на основі результатів
проведення експериментів з реальною системою. Модель складної системи може
тільки приблизно відповідати оригіналу, незалежно від того, скільки зусиль
затрачено на її розроблення, тому що абсолютно адекватних моделей не існує.
3. Теоретичне дослідження математичних моделей стратегій
обслуговування
.1
Загальний огляд математичних моделей
створенні технічних систем виникає
проблема розробки деякої стратегії технічного обслуговування, яка дозволила б
одержати від експлуатації системи максимально можливий ефект. Тому завдання
профілактики ставляться як завдання екстремальні і їх можна назвати оптимальними
завданнями надійності. Звичайно, при постановці завдання профілактики
припускають заданими характеристики надійності системи: функцію розподілу часу
безвідмовної роботи системи F(x) або окремих її частин і функцію розподілу часу
самостійного прояву відмови Ф(х) і характеристики ремонтопридатності: функції
розподілу часів різних відновних робіт, які можна проводити в системі. Ці
характеристики, а також правило (стратегія), відповідно до якого призначаються
терміни проведення відновних робіт, визначають стани системи і еволюцію цих
станів в часі.
Вважатимемо, що множина Е можливих станів
системи є кінцевою Е = {E1,E2,.,En}. У такому
разі траєкторії процесу x(t), що описує еволюцію станів системи в часі, є
ступінчастими функціями. На траєкторіях цього випадкового процесу визначимо
функціонал, який при фіксованих характеристиках надійності характеризуватиме
стратегію обслуговування досліджуваної системи. За кінцевий відрізок часу [0,t]
траєкторія процесу x(t) задається кількістю переходів t, моментами переходів t0
= 0<t1<t2<...<tm£ t і набором станів Е =
{E1,E2,...,En} у яких процес знаходиться між
моментами переходу.
Звичайно при постановці завдання вибору
оптимальної стратегії обслуговування технічної системи припускають, що повністю
відомі її характеристики. Проте функція розподілу часу безвідмовної роботи
F(y), як правило, визначається статистично і відома лише в окремих точках. Тому
при постановці завдання природнішим є припущення про те, що функція F(y)
належить класу Ω (n,y,р) функцій розподілу, які в заданих точках у = (y0=0,y1,y2,...,yn)
приймають задані значення р = (р0=0, р1, р2,...,
рn).
Розглянемо два методи визначення оптимальних характеристик
стратегій обслуговування складних систем: розрахунок характеристик з допомогою,
наперед відомої функції розподілу часу безвідмовної роботи системи F(y) та
розрахунок за допомогою статистичних даних, одержаних в результаті роботи
системи протягом деякого часу.
3.2
Стратегія A - самостійний прояв відмови
Стратегія А - повне відновлення системи
проводиться тільки після самостійного прояву відмови.
Система, нова у момент t =0, працює до
відмови протягом часу, розподіленому по закону F(x).
Далі від моменту t=О до моменту прояву
відмови
= О+Ј,
протягом випадкового часу Ј, розподіленого
за законом Ф(х), простоює в непрацездатному стані (прихована відмова). У
випадковий момент прояву відмови починається позаплановий
аварійно-профілактичний ремонт, який триває випадковий час Tап і
після якого система повністю оновлюється. Після закінчення ремонту весь процес функціонування
системи і її обслуговування повторюється.
Визначимо випадковий процес x(t), що
характеризує стан досліджуваної системи. Хай z ≥0, тоді:
· E0, якщо у
момент t система працездатна і повністю пропрацює час, більший або рівніший z;
· E1, якщо у момент
t система працездатна і повністю пропрацює час, менший z;
· E2, якщо у
момент t в системі є прихована відмова;
· E3, якщо у
момент t система ремонтується (позаплановий аварійно-профілактичний ремонт).
Рис. 3.1 Діаграма переходів процесу x(t) (Стратегія А)
Проведемо розрахунок за статистичними
даними. Початкові дані для розрахунку : вектор у = (y0=0,y1,y2,.,yn)
і вектор р = (р0=0, р1, р2,., рn);
· середня тривалість
планової попереджувальної профілактики Тpp;
· середня тривалість
позапланового аварійно-профілактичного ремонту Тap;
· втрати за одиницю часу
при проведенні планової попереджувальної профілактики Сpp;
· втрати за одиницю часу
при проведенні позапланового аварійно-профілактичного ремонту Сap;
· прибуток C0, одержуваний за одиницю
часу безвідмовної роботи системи;
· оперативний час Z роботи
системи, необхідний для виконання завдання.
· коефіцієнт готовності:
(3.1)
· вірогідність виконання
завдання:
(3.2)
· середні питомі втрати:
(3.3)
· середній питомий
прибуток:
(3.4)
Розрахунок по функції розподілу часу безвідмовної роботи системи:
· функція розподілу часу
безвідмовної роботи системи F(t);
· середня тривалість
планової попереджувальної профілактики Тpp;
· середня тривалість
позапланового аварійно-профілактичного ремонту Тap;
· втрати за одиницю часу
при проведенні планової попереджувальної профілактики Сpp ;
· втрати за одиницю часу
при проведенні позапланового аварійно-профілактичного ремонту Сap;
· прибуток C0,
одержуваний за одиницю часу безвідмовної роботи системи;
· оперативний час Z роботи
системи, необхідний для виконання завдання;
· Коефіцієнт готовності :
(3.5)
· середні питомі витрати :
(3.6)
· середній питомий прибуток
:
(3.7)
· вірогідність виконання
завдання :
(3.8)
Результати обчислень представлені в таблицях 3.1 і 3.2.
Таблиця 3.1
Розрахунок по функції розподілу
|
Стратегія
|
Kг
|
Pвик
|
Cпр
|
Cпот
|
|
Стратегія A
|
0,83
|
0,68
|
1,41
|
0,3
|
Таблиця 3.2
Розрахунок за статистичними даними
Kг
|
Pвып
|
Cпр
|
Cпот
|
|
Стратегія A
|
0,83
|
0,65
|
1,33
|
0,28
|
3.3
Стратегія В - миттєва індикація відмови
Стратегія В - повне відновлення системи
проводиться або у момент відмови, або в наперед призначений календарний момент
часу. У початковий момент функціонування системи (t=0) планується проведення
попереджувальної профілактики через випадковий час розподілене згідно із
законом О(х). Якщо система не відмовила до призначеного моменту, то у цей
момент відбувається попереджувальна профілактика, середня тривалість якої рівна
Тpp. Якщо ж відмова системи відбулася раніше, то цей факт
виявляється негайно, оскільки, по припущенню, індикація миттєва:
(3.9)
Тому у момент відмови починається позаплановий
аварійно-профілактичний ремонт, який триває час Тап (Тап
>Тпп). Після проведення будь-якої з перерахованих відновних робіт
система повністю оновлюється. У момент закінчення відновних робіт подальша
попереджувальна профілактика перепланується, і далі весь процес обслуговування
повторюється.
Визначимо випадковий процес що характеризує стан досліджуваної
систему. Хай Z >0, тоді x(t):
· E0, якщо в
момент t система працездатна і повністю пропрацює час, більший або рівний z;
· E1, якщо у
момент t система працездатна і повністю пропрацює час, менший z;
· E2, якщо у
момент t в системі проводиться позаплановий аварійно-профілактичний ремонт z;
· E3, якщо у
момент t в системі проводиться попереджувальна профілактика.
Рис. 3.2 Діаграма переходів процесу x(t) (Стратегія В)
Певний випадковий процес є таким, що
регенерує, якщо припустити, що хоч би одна з випадкових величин в час
безвідмовної роботи, в період попереджувальні профілактик або у час відновлення
є безперервною випадковою величиною.
Проведемо розрахунок за статистичними
даними. Методика визначення мінімаксних періодів проведення планових
попереджувальних профілактик гарантованих значень показників якості
функціонування наступна.
Початкові дані для розрахунку :
· вектор у = (y0=0,y1,y2,.,yn)
і вектор р = (р0=0, р1, р2,., рn);
· середня тривалість
планової попереджувальної профілактики Тpp;
· середня тривалість
позапланового аварійно-профілактичного ремонту Тap;
· втрати за одиницю часу
при проведенні планової попереджувальної профілактики Сpp;
· втрати за одиницю часу
при проведенні позапланового аварійно-профілактичного ремонту Сap;
· прибуток C0, одержуваний за одиницю
часу безвідмовної роботи системи;
· оперативний час Z роботи
системи, необхідний для виконання завдання.
Наведемо математичні формули для
розрахунку мінімаксних періодів профілактик і гарантованих значень показників
якості функціонування.
Коефіцієнт готовності. Визначаємо номер k0
при якому досягає максимуму вираз:
де k = 0,1,2..., n.
Якщо максимум Ak досягається
при k0<n, то планові попереджувальні профілактики слід проводити
у момент ф0 = yk0+1-0. Якщо k0 = n, то ф0
= ¥, тобто планові попереджувальні профілактики проводити недоцільно.
Розрахунок вірогідності виконання
завдання.
Визначається номер k0 (0 ≤
k0 ≤ n), для якого yk0 - z ≤0, yk0+1
- z > 0.
Визначається максимальне значення
відношення виразів (3.6) до (3.7).
при ф [0 , yk+1 - z],
(3.11)
при ф [ym - z , ym+1 - z].
Точка, при якій досягається максимум вираз
визначає мінімаксний період проведення попереджувальних профілактик.
Проведемо розрахунок по функції розподілу
часу безвідмовної роботи системи. Початкові дані для розрахунку:
· функція розподілу часу
безвідмовної роботи системи F(t);
· середня тривалість
планової попереджувальної профілактики Тpp;
· середня тривалість
позапланового аварійно-профілактичного ремонту Тap;
· втрати за одиницю часу
при проведенні планової попереджувальної профілактики Сpp;
· втрати за одиницю часу
при проведенні позапланового аварійно-профілактичного ремонту Сap;
· прибуток C0, одержуваний за одиницю
часу безвідмовної роботи системи;
· оперативний час Z роботи
системи, необхідний для виконання завдання.
· коефіцієнт готовності:
·
(3.12)
· середні питомі витрати :
(3.13)
· середній питомий прибуток
:
(3.14)
· вірогідність виконання
завдання :
(3.15)
Визначимо гарантовані значення показників
якості функціонування і терміни проведення планових попереджувальних
профілактик системи, для якої задані наступні початкові характеристики:pp
= 1 ч; Тap = 2 ч; сpp=1 од/г; сap=2 од/г; z =
25 ч; с0 = 5 од/г; = (y0 = 0;.y1 = l0; у2
= 20; у3 = 30; у4 = 40),
р = (р0 = 0; р1 =
0,1; р2 = 0.15; р3 = 0,3; р4 = 0,5).
Обчислимо величини Ak -
коефіцієнта готовності.
Таблиця 3.3
Величини коефіцієнта готовності
|
А0
|
А1
|
А2
|
A3
|
А4
|
|
0,891
|
0,938
|
0,950
|
0,852
|
0,952
|
Отже, набуваємо гарантоване значення
коефіцієнта готовності, рівного 0,952, якщо попереджувальні профілактики
проводити через час ф0=40 год.
Вірогідність виконання завдання.
Визначаємо величину k0. Для
даних, приведених в таблиці 3.4, k0=2 (y2 - z < 0, y3
- z > 0).
Таблиця 3.4
Величини вірогідності виконання завдання
|
y = 0
|
y = 5 - О
|
y = 5 + О
|
y = 10 - О
|
y = 10 + О
|
у = 15
|
|
0
|
0,924
|
0,76
|
0,594
|
0,581
|
0,600
|
Максимум досягається при у = 5 - О і
рівний 0,924. Отже, профілактики потрібно проводити через 5 - О год. і
гарантоване значення вірогідності виконання завдання буде рівне 0,924.
Обчислюємо величини середніх питомих
витрат. Результати зведені в таблицю 3.5:
Таблиця 3.5
Величини середніх питомих витрат
|
k = 0
|
k = 1
|
k = 2
|
k = 3
|
k = 4
|
|
0,144
|
0,0829
|
0,0775
|
0,0847
|
0,1333
|
Таким чином, одержуємо, що профілактику
необхідно проводити через час, що дорівнює 30 год. і при цьому гарантоване
значення питомих витрат рівне 0,0775 од/год.
Обчислюємо величини середнього питомого
прибутку. Результати зведені в таблицю 3.6:
Таблиця 3.6
Величини середнього питомого прибутку
|
k = 0
|
k = 1
|
k = 2
|
k = 3
|
k = 4
|
|
4,37
|
4,61
|
4,674
|
4,677
|
4,55
|
Остаточно одержуємо, що профілактику необхідно проводити
через час, що дорівнює 40 год., при цьому гарантоване значення середнього
питомого прибутку рівне 0,4677 од/год.
Результати інших обчислень представлені в таблицях 3.7 і 3.8.
Таблиця 3.7
Розрахунок по функції розподілу
|
Стратегія
|
Kг
|
Pвик
|
Cпр
|
Cпот
|
|
Стратегія B
|
0,95
|
0,92
|
0,46
|
0,07
|
Таблиця 3.8
Розрахунок за статистичними даними
|
СтратегіяKгPвикCпрCпот
|
|
|
|
|
|
Стратегія B
|
0,94
|
0,92
|
0,48
|
0,07
|
.4
Стратегія С - стратегія зберігання
Стратегія С - відновлення системи
проводиться тільки в наперед призначені моменти часу незалежно від відмов
системи.
Для досліджуваної системи передбачається,
що час самостійного прояву відмови дорівнює нескінченністі, тобто відмова, що
з'явилася в системі, самостійно не виявляється. Для такої системи планується
проведення різних відновних робіт (планових), при яких відмови виявляються,
усуваються і попереджаються.
Нехай при t=0, коли починається
експлуатація системи, призначається проведення планових відновних робіт через
випадковий час t, розподілений за законом G(x). Якщо до призначеного моменту з
система не відмовила (О>t, де О - час безвідмовної роботи,
розподілений за законом F(x)), то у цей момент проводиться планова
попереджувальна профілактика, яка повністю оновлює систему і середня тривалість
якої рівна Тpp. Якщо до призначеного моменту система відмовила
(О<t), то у цей момент проводиться плановий аварійно-профілактичний ремонт,
який повністю оновлює систему і триває в середньому час Тap. Після
закінчення планових робіт весь процес обслуговування повністю повторюється.
Визначимо випадковий процес x(t), що
характеризує стан системи у момент t, x(t):
· E0, якщо у
момент t система працездатна і пропрацює ще час, більший z≥0;
· E1, якщо у
момент t система працездатна, але повністю пропрацює час, менший z;
· E2, якщо у
момент t система простоює в непрацездатному стані (прихована відмова);
· E3, якщо у
момент t в системі проводиться плановий аварійно-профілактичний ремонт;
· E4, якщо у момент
t в системі проводиться планова попереджувальна профілактика.
Рис. 3.3 Діаграма переходів процесу x(t) (Стратегія С)
Описаний процес є таким, що регенерує
(наприклад, моментами регенерації є моменти попадання в стан Т0), а
в припущенні, що час, ремонту - безперервна випадкова величина, і аперіодичним.
При тривалій експлуатації системи характеристики якості функціонування
виражаються лінійним для дробу функціоналом.
Розрахунок за статистичними даними.
Методика визначення мінімаксних періодів проведення планових попереджувальних
профілактик і гарантованих значень показників якості функціонування.
Початкові дані для розрахунку:
· вектор у = (y0=0,y1,y2,.,yn)
і вектор р = (р0=0, р1, р2,., рn);
· середня тривалість планової
попереджувальної профілактики Тpp;
· середня тривалість
позапланового аварійно-профілактичного ремонту Тap;
· втрати за одиницю часу
при проведенні планової попереджувальної профілактики Сpp;
· втрати за одиницю часу
при проведенні позапланового аварійно-профілактичного ремонту Сap;
· прибуток C0, одержуваний за одиницю
часу безвідмовної роботи системи;
· оперативний час Z роботи
системи, необхідний для виконання завдання;
· втрати за одиницю часу за
наявності в системі прихованої відмови Сp.
Формули для розрахунку мінімаксних
періодів і гарантованих значень показників якості функціонування.
Коефіцієнт готовності.
Визначається номер k0, при
якому досягається максимум виразів:
при k = 0,1,2,..., n.
Якщо вираз (3.16) більший (3.17 ), то
профілактики доцільно проводити через час ф = yk0 + О і гарантоване
значення коефіцієнта готовності рівне (3.16). Якщо вираз (3.16) менший (3.17 ),
то профілактики доцільно проводити через час ф = yk0+1 - О і
гарантоване значення коефіцієнта готовності рівне (3.17).
Розрахунок по функції розподілу часу безвідмовної роботи
системи.
Коефіцієнт готовності:
(3.18)
Середні питомі витрати:
(3.19)
Середній питомий прибуток:
(3.20)
Вірогідність виконання завдання:
(3.21)
Визначимо гарантовані значення показників
якості функціонування і терміни проведення планових попереджувальних
профілактик системи, для якої задані наступні початкові характеристики:pp
= 1 год; Тap = 2 год; Сpp=1 од/год; Сap=2
од/год; z = 25 ч; С0 = 5 од/год;
Сp = 2 од/год;
у = (y0 = 0;.y1 =10;
у2 = 20; у3 = 30; у4 = 40),
р = (р0 = 0; р1 =
0,1; р2 = 0.15; р3 = 0,3; р4 = 0,5).
Таблиця 3.9
Величини коефіцієнта готовності
|
k = 0
|
k = 1
|
k = 2
|
k = 3
|
k = 4
|
|
0,818
|
0,822
|
0,783
|
0,736
|
0,702
|
Отже, одержали, що попереджувальну
профілактику доцільно проводити через час ф =20 - О год і гарантоване значення
коефіцієнта готовності рівне 0,822.
Вірогідність виконання завдання.
Визначимо величину k0. У даному
випадку k0=2.
Далі визначаємо величини відносин в точках
виду уk ± О, уk - z. Результати зведені в таблицю 3.10.
Таблиця 3.10
Величини вірогідності виконання завдання
|
y=0
|
y=5 - О
|
y=5 + О
|
у=10 - О
|
у =10 + О
|
у=20 - О
|
y=20+О
|
|
0
|
0.70
|
0.57
|
0.54
|
0,53
|
0,52
|
0,40
|
Максимум вірогідності 0,7 досягається при
ф =5 - О год.
Середні питомі витрати.
Обчислюємо величини середніх питомих
витрат при різних. Результати зведені в таблицю 3.11.
Таблиця 3.11
Величини середніх питомих витрат
|
k = 0
|
k = 1
|
k = 2
|
k = 3
|
k = 4
|
|
0,378
|
0,383
|
0,394
|
0,630
|
0,833
|
Таким чином, результати розрахунку
показують, що попереджувальну планову профілактику доцільно проводити через час
ф = 20 - О год. і при цьому гарантоване значення середніх питомих втрат буде
рівне 0,369 од/год.
Середній питомий прибуток.
Обчислюємо значення середнього питомого
прибутку для різних. Результати зведені в таблицю 3.12.
Таблиця 3.12
Величини середнього питомого прибутку
|
k = 0
|
k = 1
|
k = 2
|
k = 3
|
k = 4
|
|
<0 3,72
|
3,70 3,84
|
3,80 8,48
|
3,48 0,30
|
0,29 <0
|
Отже, результати розрахунку показують, що
попереджувальні профілактики доцільно проводити через час ф = 20 - О год. і при
цьому гарантоване значення середнього питомого прибутку рівне 3,84 од/год.
3.5
Стратегія D - обслуговування при довільному розподілі часу індикації відмов
Стратегія D - повне відновлення системи
проводиться або у момент самостійного прояву відмови, або в наперед призначений
календарний момент часу.
Хай в початковий момент t=0 починається
експлуатація нової системи, у якої час безвідмовної роботи про розподілено по
деякому закону F(x). В момент t=О планується проведення планової
попереджувальної профілактики через випадковий час x, розподілений по деякому
закону G(x). Якщо до призначеного моменту система не відмовила, то проводиться
планова, попереджувальна профілактика, яка триває в середньому час Тап
і яка повністю оновлює систему. Якщо до призначеного моменту система відмовила,
але відмова не виявилася, то факт відмови виявляється в призначений момент і
починається плановий аварійно-профілактичний ремонт, середня тривалість якого
рівна Тап і який також повністю оновлює систему.
Нарешті, якщо система відмовила, і відмова
виявилася до призначеного моменту x, то у момент виявлення
відмови починається позаплановий аварійно-профілактичний ремонт, середня
тривалість якого рівна Тап і після проведення, якого система
оновлюється повністю. Після закінчення будь-якої відновної роботи система
оновлена, і весь процес обслуговування повторюється незалежно від минулого.
Визначимо випадковий процес х(t), що
характеризує стан системи у момент t:
· E0, якщо у
момент t система працездатна і ще пропрацює час, більший z;
· E1, якщо у
момент t система працездатна, але повністю пропрацює час, менший z;
· E2, якщо у
момент t система простоює в непрацездатному стані (прихована відмова);
· E3, якщо у
момент t в системі проводиться позаплановий аварійно-профілактичний ремонт;
· E4, якщо у
момент t в системі проводиться плановий аварійно-профілактичний ремонт;
· E5, якщо у
момент t в системі проводяться планова попереджувальна профілактика.
Розрахунок по функції розподілу часу безвідмовної роботи
системи.
Початкові дані для розрахунку:
· функція розподілу часу
безвідмовної роботи системи F(x);
· середня тривалість
планової попереджувальної профілактики Тpp;
· середня тривалість
позапланового аварійно-профілактичного ремонту Тap;
· втрати за одиницю часу
при проведенні планової попереджувальної профілактики Сpp;
· втрати за одиницю часу
при проведенні позапланового аварійно-профілактичного ремонту Сap;
· прибуток C0, одержувана за одиницю часу
безвідмовної роботи системи;
· оперативний час Z роботи
системи, необхідне для виконання завдання;
· втрати за одиницю часу за
наявності в системі прихованої відмови Сp.
Коефіцієнт готовності:
(3.22)
Середні питомі витрати:
(3.23)
Середній питомий прибуток:
(3.24)
Вірогідність виконання завдання:
(3.25)
Визначимо гарантовані значення показників
якості функціонування і терміни проведення планових попереджувальних
профілактик системи, для якої задані наступні початкові характеристики:pp
= 1 год.; Тap = 2 год.;Сpp=1 од/год; Сap=2 од/год; z = 25
год.;
С0 = 5 од/год; Сp = 2 од/год;
у = (y0 = 0; y1 =10;
у2 = 20; у3 = 30; у4 = 40),
р = (р0 = 0; р1 =
0,1; р2 = 0.15; р3 = 0,3; р4 = 0,5).
Коефіцієнт готовності.
Таблиця 3.13
Величини коефіцієнта готовності
|
k = 0
|
k = 1
|
k = 2
|
k = 3
|
k = 4
|
|
0,818
|
0,822
|
0,783
|
0,71
|
0,702
|
Отже, одержали, що попереджувальну профілактику доцільно
проводити через час ф =20 - О год. і гарантоване значення коефіцієнта
готовності рівне 0,822.
Вірогідність виконання завдання.
Визначимо величину k0. У даному
випадку k0=2.
Далі визначаємо величини відносин в точках
виду уk ± О, уk - z. Результати зведені в таблицю 3.14.
Таблиця 3.14
Величини середніх питомих витрат
|
k = 0
|
k = 1
|
k = 2
|
k = 3
|
k = 4
|
|
∞ 0,378
|
0,383 0.369
|
0,394 0.526
|
0,630 0,783
|
0,833 ∞
|
Таким чином, результати розрахунку
показують, що попереджувальну планову профілактику доцільно проводити через час
ф = 20 - О год. і при цьому гарантоване значення середніх питомих втрат буде
рівне 0,369 од/год.
4. Опис функціональних можливостей та програмної реалізації
проектованої системи
.1
Предметна область і задачі, покладені на проектовану систему
Розроблене в результаті виконання дипломної роботи програмне
забезпечення призначене для розрахунку оптимізації за наступними критеріями:
· коефіцієнт готовності;
· середні питомі втрати;
· середній питомий прибуток;
· вірогідність виконання завдання.
Також система дозволяє проводити
розрахунок часу проведення попереджувальної профілактики для чотирьох стратегій
обслуговування.
Розроблене програмне забезпечення створено в середовищі
Delphi, що дозволяє наочно продемонструвати результати проведених досліджень.
Вибір середовища реалізації пов'язаний з можливістю створення максимально
гнучкого і привабливого інтерфейсу користувача.
Розрахунок проводився з використанням непараметричного
методу, що заснований на статистичних даних.
У програмі реалізований вибір стратегій обслуговування,
демонстрація теоретичних відомостей, ввід початкових даних та виведення
результатів обчислень.
Система також дозволяє зберегти звіт про проведені
дослідження в файл формату MS Word.
4.2
Логіко-функціональна схема роботи системи
В результаті аналізу вимог до системи, що розробляється, була
розроблена наступна логіко-функціональна схема (рис.4.1).
Рис. 4.1 Логіко-функціональні схема роботи системи
4.3
Розробка алгоритмів та програмна реалізація
Далі наведемо алгоритми та лістінг основних функцій, що
реалізують математичну модель системи.
Стратегії мають схожі алгоритми обчислення
використовуваних функцій. Нижче представлені блок-схеми алгоритмів для
стратегії В та стратегії С для розрахунку за статистичними даними.
Рис. 4.2 Алгоритм розрахунку коефіцієнту готовності.
Стратегія В
Функція розрахунку коефіцієнту готовності. Стратегія
В.b_got(k:integer):real; Sum1,Sum2,Sum3,Sum4:real;
i:integer;:=0;i:=0 to k do:=Sum1+yb[i]*(pb[i+1]-pb[i]);:=0;i:=k+1
to n do:=Sum2+(pb[i+1]-pb[i]);:=0;i:=0 to k
do:=Sum3+(yb[i]+Tap)*(pb[i+1]-pb[i]);:=0;i:=k+1 to n
do:=Sum4+(yb[k+1]+Tpp)*(pb[i+1]-pb[i]);
b_got:=(Sum1+yb[k+1]*Sum2)/(Sum3+Sum4);;
Рис. 4.3 Алгоритм розрахунку середніх питомих втрат.
Стратегія В
Функція розрахунку середніх питомих втрат. Стратегія
В.b_sr_up(k:integer):real; Sum:real;
i:integer;:=0;i:=0 to k
do:=Sum+yb[i]*(pb[i+1]-pb[i]);_sr_up:=(Cap*Tap*pb[k+1]+Cpp*Tpp*(1-pb[k+1]))/
(Sum+yb[k+1]*(1-pb[k+1]));;
Рис. 4.4 Алгоритм розрахунку середнього питомого прибутку.
Стратегія В.
Функція розрахунку середнього питомого прибутку. Стратегія
В.b_sr_upri(k:integer):real; Sum:real;
i,m:integer;:=0;i:=0 to k do:=Sum+yb[i]*(pb[i+1]-pb[i]);_sr_upri:=(C0*(1-pb[k+1])*yb[k+1]+(C0*Sum-Cap*Tap*pb[k+1]-*Tpp*(1-pb[k+1])))/(yb[k+1]*(1-[k+1])+Sum+Tap*pb[k+1]+Tpp*(1-pb[k+1]));;
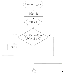
Рис. 4.5 Алгоритм розрахунку вірогідності виконання завдання.
Стратегія В.
Функція розрахунку вірогідності виконання завдання. Стратегія
В.b_ver(t:integer):real; Sum1,Sum2,Sum3,Sum4,Sum5:real;,k0,m:integer;:=-1;i:=0
to n do(yb[i]-z<=0) and (yb[i+1]-z>0) then k0:=i;:=k0+1;:=0;i:=k0+1 to n
do:=Sum1+(pb[i+1]-pb[i]);:=0;i:=k0+1 to m
do:=Sum2+(pb[i+1]-pb[i])*(yb[i]-z);:=0;i:=m+1 to n
do:=Sum3+(pb[i+1]-pb[i]);:=0;i:=0 to k0
do:=Sum4+(pb[i+1]-pb[i])*(yb[i]+Tap);:=0;i:=k0+1 to n
do:=Sum5+(pb[i+1]-pb[i])*(t+Tpp);(t>=0)and(t<yb[k0+1]-z)
then_ver:=(Sum1*t)/(Sum4+Sum5)b_ver:=(Sum2+Sum3*t)/(Sum4+Sum5);;
Рис. 4.6 Алгоритм розрахунку коефіцієнту готовності.
Стратегія С.
Функція розрахунку коефіцієнту готовності. Стратегія
С.c_got(k:integer):real; Sum:real;
i:integer;:=0;i:=0 to k
do:=Sum+yb[i]*(pb[i+1]-pb[i]);_got:=(Sum+yb[k]*(1-pb[k+1]))/(yb[k]+Tap*pb[k+1]+Tpp*(1-pb[k+1]));;
Рис. 4.7 Алгоритм розрахунку середніх питомих втрат.
Стратегія С.
Функція розрахунку середніх питомих втрат. Стратегія С.
i:integer;:=0;i:=0 to k
do:=Sum1+Cp*(yb[k]-yb[i])*(pb[i+1]-pb[i]);:=0;i:=0 to k
do:=Sum2+yb[i]*(pb[i+1]-pb[i]);_sr_up:=(Cap*Tap*pb[k+1]+Cpp*Tpp*
(1-pb[k+1])+Sum1)/(Sum2+yb[k]*(1-pb[k+1]));;
Рис. 4.8 Алгоритм розрахунку середнього питомого прибутку.
Стратегія С.
Функція розрахунку середнього питомого прибутку. Стратегія С.c_sr_upri(k:integer):real;Sum:real;
i,m:integer;:=0;i:=0 to k
do:=Sum+yb[i]*(pb[i+1]-pb[i]);_sr_upri:=((C0*(1-pb[k+1])-Cp*pb[k+1])*yb[k+1]+((C0+Cp)*Cap*Tap*pb[k+1]-Cpp*Tpp*(1-pb[k+1])))/
(yb[k]+Tap*pb[k+1]+Tpp*(1-pb[k+1]));;
Функція розрахунку вірогідності виконання завдання. Стратегія
В.c_ver(t:integer):real; // Вероятность выполнения задачи. Стратегия
С.Sum1,Sum2,Sum3,Sum4,Sum5:real;
i,k0,m:integer;:=-1;i:=0 to n
do(yb[i]-z<=0)and(yb[i+1]-z>0) then k0:=i;:=k0+1;:=0;i:=k0+2 to n
do:=Sum1+(pb[i+1]-pb[i]);:=0;i:=k0+1 to m
do:=Sum2+(pb[i+1]-pb[i])*(yb[i]-z);:=0;i:=m+1 to n
do:=Sum3+(pb[i+1]-pb[i]);:=0;i:=0 to k0
do:=Sum4+(pb[i+1]-pb[i])*(t+Tap);:=0;i:=k0+1 to n
do:=Sum5+(pb[i+1]-pb[i])*(t+Tpp);(t>=0)and(t<yb[k0+1]-z)
then_ver:=(Sum1*t)/(Sum4+Sum5)c_ver:=(Sum2+Sum3*t)/(Sum4+Sum5);;
Розглянемо фрагменти програмного коду, що дозволяють
реалізувати інтерфейс користувача системи.
Наступна процедура регламентує процес вибору режиму, в якому
будуть введені початкові дані.Tmain.cxRadioGroup1Click(Sender: TObject);cxRadioGroup1.ItemIndex=0
then //якщо обраний перший варіант - використовувати значення за
замовченням.Enabled:=false //вікно редагування кількості спостережень
є недоступним
else.Enabled:=true;
end;
Розглянемо фрагменти процедури, що відбувається при натисненні
кнопки „Сформувати” (рис. 4.11).Tmain.BitBtn1Click(Sender:
TObject);i:integer;cxRadioGroup1.ItemIndex=-1 then // якщо режим не обраний
exit; // процедура завершуеється
if cxRadioGroup1.ItemIndex=0 then // якщо обраний режим „за
замовченням”
begin
n:=5; //кількість спостережень
StringGrid1.ColCount:=6;StringGrid2.ColCount:=6;
StringGrid3.ColCount:=6; StringGrid4.ColCount:=6;
StringGrid5.ColCount:=6; // задаємо кількість стовпців
таблиці
StringGrid1.Options:=StringGrid1.Options-[goEditing];//
таблиця недоступна для редагування
for i:=1 to 5 do //перебираємо стовпці таблиці, що формується
begin
StringGrid1.ColWidths[i]:=40; StringGrid2.ColWidths[i]:=40;
StringGrid3.ColWidths[i]:=40; StringGrid4.ColWidths[i]:=40;
StringGrid5.ColWidths[i]:=40; // встановлюємо ширину стовпця
StringGrid1.Cells[i,0]:=inttostr(i);StringGrid2.Cells[i,0]:=inttostr(i);
StringGrid3.Cells[i,0]:=inttostr(i);
StringGrid4.Cells[i,0]:=inttostr(i);
StringGrid5.Cells[i,0]:=inttostr(i); // формуємо заголовки
стовпців
StringGrid1.Cells[i,1]:=floattostr(b[1,i]);
StringGrid2.Cells[i,1]:=floattostr(b[1,i]);
StringGrid1.Cells[i,2]:=floattostr(b[2,i]); // зчитуємо дані
із
масиву констант
end;
cxTextEdit2.Text:='1'; cxTextEdit3.Text:='1,5';
cxTextEdit4.Text:='1'; cxTextEdit5.Text:='5';
cxTextEdit6.Text:='5'; cxTextEdit7.Text:='15';
// формуємо значення інших, нетабличних вхідних параметрів
end
else // якщо дані заносяться уручну
begin
if cxTextEdit1.Text='' then exit; // якщо кількість
спостережень не визначена - вихід із процедури
StringGrid1.ColCount:=strtoint(cxTextEdit1.Text)+1;
StringGrid2.ColCount:=strtoint(cxTextEdit1.Text)+1;
StringGrid3.ColCount:=strtoint(cxTextEdit1.Text)+1;
StringGrid4.ColCount:=strtoint(cxTextEdit1.Text)+1;
StringGrid5.ColCount:=strtoint(cxTextEdit1.Text)+1;
// визначаємо кількість стовпців вхідної таблиці
n:= strtoint(cxTextEdit1.Text);
StringGrid1.Options:=StringGrid1.Options+[goEditing]; //
робимо вхідну таблицю параметрів доступною для редагування користувачем
for i:=1 to strtoint(cxTextEdit1.Text) do // перебираємо усі
стовпці
begin
StringGrid1.ColWidths[i]:=40; StringGrid2.ColWidths[i]:=40;
StringGrid3.ColWidths[i]:=40; StringGrid4.ColWidths[i]:=40;
StringGrid5.ColWidths[i]:=40; // встановлюємо ширину
StringGrid1.Cells[i,0]:=inttostr(i); StringGrid2.Cells[i,0]:=inttostr(i);
StringGrid3.Cells[i,0]:=inttostr(i); // формуємо заголовки
StringGrid1.Cells[i,1]:=''; StringGrid1.Cells[i,2]:='';
end;
cxTextEdit2.Text:=''; cxTextEdit3.Text:='';
cxTextEdit4.Text:='';
cxTextEdit5.Text:=''; cxTextEdit6.Text:='';
cxTextEdit7.Text:='';
// очищуємо поля вводу нетабличних параметрів
end;;
Розглянемо фрагменти процедури, що відбувається при
натисненні кнопки „Розрахувати” (рис. 4.11).Tmain.BitBtn2Click(Sender:
TObject);i:integer;max:real;
if (cxTextEdit2.Text='') or (cxTextEdit3.Text='')
or (cxTextEdit4.Text='') or (cxTextEdit5.Text='')
or (cxTextEdit6.Text='') or (cxTextEdit7.Text='')
then exit; // якщо введено вхідні параметри розрахунку -
вихід із процедури
tpp:=strtofloat(cxTextEdit2.Text); // середня тривалість
планової попереджувальної профілактики
tap:=strtofloat(cxTextEdit3.Text); // середня тривалість
позапланового аварійно-профілактичного ремонту
cpp:=strtofloat(cxTextEdit4.Text); // втрати за одиницю часу
при проведенні планової попереджувальної профілактики
cap:=strtofloat(cxTextEdit5.Text); // втрати за одиницю часу
при проведенні позапланового аварійно-профілактичного ремонту
c0:=strtofloat(cxTextEdit6.Text); // прибуток, що одержується
за одиницю часу безвідмовної роботи системи
z:=strtofloat(cxTextEdit7.Text); // оперативний час роботи
системи
// очищуємо розрахункові масиви
for i:=0 to 99 do
begin
yb[i]:=0; pb[i]:=0; kb[i]:=0;
s_up[i]:=0; s_upri[i]:=0; b_v[i]:=0;
end;
// формуємо масиви вхідних даних на основі таблиці
for i:=0 to n-1 do
begin
try
yb[i]:=strtofloat(StringGrid1.Cells[i+1,1]);
pb[i]:=strtofloat(StringGrid1.Cells[i+1,2]);
except
ShowMessage('Исходные данные не заданы!');
exit;
end;
end;
// далі наведений блок розрахунку та виводу параметрів
// розрахунок коефіцієнту готовності
max:=0; imax:=0;
for i:=0 to n do
begin
k:=i;
kb[i]:=b_got(k); // викликаємо функцію розрахунку коефіцієнту
з параметром, що дорівнює k
if (i=0) or (max<kb[i]) then // шукаємо максимальне
значення коефіцієнту
begin max:=kb[i];
imax:=i; // номер максимального значення
end;
// формуємо таблицю розрахунків
StringGrid2.Cells[i+1,2]:=floattostrf(kb[i],fffixed,5,2); //
обчислені коефіцієнти
StringGrid2.Cells[i+1,1]:=floattostr(yb[i]); // значення
часових інтервалів
end;
kb0:=max;
if imax<>n then
begin
ymax:=yb[imax+1];
// виводяться рекомендації про вибір моменту проведення
попереджувальної профілактики.
Label4.Caption:= 'y[k0+1]='+floattostrf(ymax,fffixed,5,2);
end else
// якщо k0 = n, то планові попереджувальні профілактики
проводити недоцільно.
Label4.Caption:='Профилактики проводить нецелесообразно';
// виводимо значення коефіцієнту готовності
Label2.Caption:= 'Kг='+floattostrf(kb0,fffixed,5,2);
// блок обчислення середніх питомих втрат
ymin:=0;
for i:=0 to n do
begin
k:=i;
s_up[i]:=b_sr_up(k); // викликаємо функцію розрахунку
середніх питомих втрат ту з параметром, що дорівнює k
if (i=0) or (ymin>(s_up[i])) then // шукаємо мінімальне
значення
ymin:=abs(s_up[i]);
// формуємо таблицю розрахунків
StringGrid3.Cells[i+1,1]:=floattostrf(abs(s_up[i]),fffixed,5,2);
end;
// виводимо обчислене значення
Label6.Caption:='Ср_уп = '+
floattostrf(abs(ymin),fffixed,5,2);
// блок обчислення середнього питомого прибутку
max:=0;
for i:=0 to n do
begin
k:=i;
s_upri[i]:=b_sr_upri(k); // викликаємо функцію розрахунку
середнього питомого прибутку з параметром, що дорівнює k
if (i=0) or (max<(s_upri[i])) then
max:=s_upri[i]; // визначаємо максимальне значення
// формуємо таблицю розрахунків
StringGrid4.Cells[i+1,1]:=floattostrf(s_upri[i],fffixed,5,2);
end;
// виводимо обчислене значення
Label8.Caption:= ' Ср_уприб='+floattostrf(max,fffixed,5,2);
// блок обчислення гарантованого значення вірогідності
виконання завдання
max:=0;
for i:=1 to n do
begin
k:=i;
b_v[i]:=b_ver(k); // викликаємо функцію розрахунку значення
вірогідності з параметром, що дорівнює k
if (i=0) or (max<(b_v[i])) then
max:=b_v[i]; // визначаємо максимальне значення
// формуємо таблицю розрахунків
StringGrid5.Cells[i,1]:=floattostrf(abs(b_v[i]),fffixed,5,2);
end;
// виводимо обчислене значення
Label10.Caption:=
'Р_вып='+floattostrf(abs(max),fffixed,5,2);;
Наведемо опис процедури, що дозволяє експортувати вихідні
дані та розрахункові значенні в MS Word.Tmain.BitBtn3Click(Sender:
TObject);wdalignPageNumberRight=1;j,i:integer;
w:=CreateOleObject('word.application'); // створюємо об’єкт
MS Word
w.documents.add; // додаємо пустий документ
w.activewindow.activepane.view.zoom.percentage:=100; //
масштаб відображення вікна документу - 100%
mysection:=w.activedocument.range.sections.item(1); // встановлення
поточного розділу документу
mypagenumbers:=mysection.headers.item(1).pagenumbers; //
автоматична нумерація сторінок звіту
mypagenumber:=mysection.headers.item(1)..add(pagenumberalignment:=wdalignPageNumberRight,firstpage:=true);
myrange:=w.activedocument.range(w.activedocument.range.end-1,w.activedocument.range.end-1);
myrange.paragraphformat.alignment:=1; //вирівнювання текnсу
абзацу по центhу.select; // виділення поточного абзацу.selection.font.bold:=1;
// текст "жирний".selection.font.underline:=1; // текст
підкреслений.activedocument.range.insertafter('Стратегия
В');.activedocument.range.insertafter(#13); // перехід на наступну
строку.activedocument.range.insertafter(#13); // додавання пустих
строк.activedocument.range.insertafter('Исходные данные'); // вивід заголовку
звіту.activedocument.range.insertafter(#13);.activedocument.range.insertafter(#13);
// далі наведений фрагмент коду, за допомогою якого
відбувається експорт вихідних даних, що представлені в табличному вигляді
myrange:=w.activedocument.range(w.activedocument.range.end-1,w.activedocument.range.end-1);
j:=j+1; // номер таблиці в звіті
w.activedocument.tables.add(range:=myrange,numrows:=3,numcolumns:=n+1);
// додаємо таблицю в кінець документа, кількість строк дорівнює 3, кількість
рядків - число спостережень
table:=w.activedocument.tables.item(j); // посилання на
створену таблицю
table.AutoFormat(Format:=20,
ApplyBorders:=true,
ApplyShading:=false,
ApplyFont:=false,
ApplyColor:=false,
ApplyHeadingRows:= false,
ApplyLastRow:=false,
ApplyFirstColumn:= false,
ApplyLastColumn:=false,
AutoFit:=false); //форматування таблиці за основі заданого
типу автоформату
table.rows.item(1).range.paragraphformat.alignment:=1; //
вирівнювання посередині
table.rows.item(1).shading.backgroundpatterncolorindex:=16;
//заливка ко-мірки таблиці
table.rows.item(1).select; // обираємо 1-й рядок
w.selection.font.bold:=1;
w.selection.font.underline:=0;
table.rows.item(2).select; // обираємо 2-й рядок
w.selection.font.bold:=0;
w.selection.font.underline:=0;
table.rows.item(3).select; // обираємо 2-й рядок
w.selection.font.bold:=0;
w.selection.font.underline:=0;i:=1 to table.columns.count do
//формування заголовків
begin
case i of // i - порядковий номер стовпця
1: begin // якщо це перший стовпець, що містить заголовки
table.columns.item(i).width:=90; //встановлюємо ширину
стовпця
table.cell(2,1).range.text:='y[k]'; // заносимо текст
заголовків в таблицю
table.cell(3,1).range.text:='p[k]';
end else // інші стовпці, що містять дані
begin
table.columns.item(i).width:=70;
w.selection.font.bold:=1;
table.cell(1,i).range.text:=inttostr(i-1); // нумерація
стовпців
w.selection.font.bold:=0;
w.selection.font.underline:=0;
table.cell(2,i).range.text:=floattostrf(yb[i-2],fffixed,5,2);
// виводимо вихідні дані на основі сформованих масивів
table.cell(3,i).range.text:=floattostrf(pb[i-2],fffixed,5,2);
end;
end;
end;.activedocument.range.insertafter(#13);:=w.activedocument.range(w.activedocument.range.end-1,w.activedocument.range.end-1);.paragraphformat.alignment:=0;
// вирівнювання тексту абзацу по центру
myrange.select; //виділення поточного
абзацу.selection.font.bold:=0; //текст "жирний"
w.selection.font.underline:=0; //текст підкреслений
// далі виводимо у звіт інші вихідні дані, що
використовувалися в процесі
розрахунку.activedocument.range.insertafter(cxlabel2.caption+' =
'+cxtextedit2.text);.activedocument.range.insertafter(#13); //додавання пустих
строк:=w.activedocument.range(w.activedocument.range.end-1,w.activedocument.range.end-1);.paragraphformat.alignment:=0;
//вирівнювання тексту абзацу по
центру.activedocument.range.insertafter(cxlabel3.caption+' =
'+cxtextedit3.text);.activedocument.range.insertafter(#13); // додавання пустих
строк
myrange:=w.activedocument.range(w.activedocument.range.end-1,w.activedocument.range.end-1);
myrange.paragraphformat.alignment:=0; //вирівнювання тексту
абзацу по центру
// вивід середньої тривалості планової попереджувальної
профілактики.activedocument.range.insertafter(cxlabel4.caption+' =
'+cxtextedit4.text);.activedocument.range.insertafter(#13); // додавання пустих
строк
myrange:=w.activedocument.range(w.activedocument.range.end-1,w.activedocument.range.end-1);
myrange.paragraphformat.alignment:=0; //вирівнювання тексту
абзацу по центру
// вивід середньої тривалості позапланового
аварійно-профілактичного
ремонту.activedocument.range.insertafter(cxlabel5.caption+' =
'+cxtextedit5.text);.activedocument.range.insertafter(#13); //додавання пустих
строк
myrange:=w.activedocument.range(w.activedocument.range.end-1,w.activedocument.range.end-1);
myrange.paragraphformat.alignment:=0; // вирівнювання тексту
абзацу по центру
// вивід втрат за одиницю часу при проведенні планової
попереджувальної профілактики
.activedocument.range.insertafter(cxlabel6.caption+' = '+cxtextedit6.text);.activedocument.range.insertafter(#13);
//додавання пустих
строк:=w.activedocument.range(w.activedocument.range.end-1,w.activedocument.range.end-1);
myrange.paragraphformat.alignment:=0; //вирівнювання тексту
абзацу по центру
// вивід втрат за одиницю часу при проведенні позапланового
аварійно-профілактичного ремонту
.activedocument.range.insertafter(cxlabel7.caption+' =
'+cxtextedit7.text);.activedocument.range.insertafter(#13); // додавання пустих
строк
myrange:=w.activedocument.range(w.activedocument.range.end-1,w.activedocument.range.end-1);
myrange.paragraphformat.alignment:=1; // вирівнювання тексу
абзацу по центу
myrange.select; // виділення поточного абзацу
w.selection.font.bold:=1; // текст "жирний"
w.selection.font.underline:=1; // текст підкреслений
// Розрахункові дані виводяться за допомогою окремих таблиць
// фрагмент коду, що ілюструє вивід розрахункових даних
коефіцієнту готовності
// вивід заголовку таблиці
w.activedocument.range.insertafter('Расчет коэффициента
готовности');.activedocument.range.insertafter(#13); // додавання пустих строк
// вивід таблиці
for i:=1 to table.columns.count do //формування заголовків
begin
case i of // i - порядковий номер стовпця
1: begin
table.columns.item(i).width:=90; //встановлюємо ширину
стовпця
table.cell(2,1).range.text:='y[k]';
table.cell(3,1).range.text:='A[k]';
end else
begin
table.columns.item(i).width:=70;
w.selection.font.bold:=1;
table.cell(1,i).range.text:=inttostr(i-1);
w.selection.font.bold:=0;
w.selection.font.underline:=0;
table.cell(2,i).range.text:=floattostrf(yb[i-2],fffixed,5,2);
// вивід значень моментів спостережень
table.cell(3,i).range.text:=floattostrf(kb[i-2],fffixed,5,2);
end;
end; end;
// вивід розрахункового значення коефіцієнту готовності.activedocument.range.insertafter(label1.caption+'
'+label2.caption );
// вивід рекомендації про вибір моменту проведення
попереджувальної профілактики.activedocument.range.insertafter(label3.caption+'
'+label7.caption +' '+label4.caption);
... // аналогічним чином виводимо інші розрахункові
параметри.visible:=true; // відображення сформованого документу на екрані;
.4
Опис інтерфейсу користувача
Робоче вікно системи розділене на чотири вкладки, кожна з
якої відповідає вибраній стратегії. У свою чергу кожна з вкладок також розбита
на чотири розділи. Перший з них (рис. 4.9) відповідає опису даної стратегії.
Рис. 4.9 Робоче вікно системи в режимі демонстрації опису
стратегії
Текст цього опису міститься в зовнішніх файлах формату rtf,
які повинні знаходиться в тому ж каталозі, що і здійснимий файл (Стратегія
А.rtf, Стратегія B.rtf, Стратегія C.rtf, Стратегія D.rtf). При установки
прапорця показати діаграму переходів, на екрані з'являється її зображення (рис.
4.10).
Рис. 4.10 Відображення діаграми переходів
Вкладка „Вхідні данні” (рис. 4.11) дозволяє ввести всі
необхідні для розрахунків параметри. На вибір користувачу представлені два
варіанти дій - ввести дані уручну або використовувати значення за умовчанням.
Якщо вибраний варіант введення значень, стає доступним поле «Кількість
спостережень», що визначає розмірність таблиці параметрів.
Після натиснення кнопки «Сформувати» ми одержуємо таблицю
введення вхідних параметрів. Перший рядок таблиці відповідає вектору часових
моментів спостереження, другий - вірогідності відмов.
Якщо вибраний режим значень за умовчанням, дані в таблицю
заносяться автоматично. Також автоматично заповнюються всі поля вхідних даних.
Вид робочого вікна в цьому режимі наведений на рис. 4.12.
Рис. 4.11 Початковий вид вікна вводу даних
Для стратегії В передбачене введення наступних параметрів:
· середня тривалість планової
попереджувальної профілактики;
· середня тривалість позапланового
аварійно-профілактичного ремонту;
· втрати за одиницю часу при проведенні
планової попереджувальної профілактики;
· втрати за одиницю часу при проведенні
позапланового аварійно-профілактичного ремонту;
· прибуток, що одержується за одиницю часу
безвідмовної роботи системи;
· оперативний час роботи системи.
Рис. 4.12 Вікно вводу даних в режимі використання значень за
замовченням
Після введення вхідних параметрів необхідно натиснути кнопку
«Розрахувати».
На вкладці «Розрахунок-1» (рис. 4.13) ми бачимо розрахункові
таблиці, що дозволяють визначити коефіцієнт готовності середні питомі втрати.
Коефіцієнт готовності є максимальним значенням в рядку, гарантоване середнє
значення втрат - мінімальним. Також виводяться рекомендації про вибір моменту
проведення попереджувальної профілактики.
Рис. 4.13 Вікно виводу розрахунків коефіцієнту готовності та
середніх питомих втрат
Вкладка «Розрахунок-2» відповідає за обчислення гарантованого
значення середніх питомих втрат, а також гарантованого значення вірогідності
виконання завдання. У обох випадках значення є максимальним в рядку.
Розроблена нами система передбачає можливість збереження
початкових даних і одержаних в результаті розрахунків показників у вигляді
звіту. При натисненні кнопки «Зберегти звіт» дані будуть експортовані в MS
Word. Приклад звіту представлений в Додатку А.
Рис. 4.14 Вікно виводу розрахунків значень середнього
питомого прибутку та вірогідності виконання завдання
5 Економічне обгрунтовання доцільності розробки програмного
продукту
Метою даної дипломної роботи є створення системи
експериментального дослідження математичних моделей оптимізації обслуговування
складних систем. Тема диплома є науковою та дослідницькою.
Розроблений програмний продукт може бути застосований для
визначення критеріїв оптимізації обслуговуваних систем та надання рекомендацій
щодо часу проведення попереджувальної профілактики.
В ході розробки програмного продукту було використане
програмне забезпечення Turbo Delphi 2006 Explorer, яке є безкоштовним.
Визначення витрат на створення програмного продукту
Оскільки середа розробки є безкоштовною, витрати на створення
програмного продукту складаються з витрат по оплаті праці розробника програми і
витрат по оплаті машинного часу при відладці програми:
Зспп=Ззпспп +Змвспп
де
Зспп - витрати на створення програмного продукту;
Ззпспп - витрати на оплату праці
розробника програми;
Змвспп - витрати на оплату машинного часу.
Витрати на оплату праці розробника програми (Ззпспп)
визначаються шляхом множення трудомісткості створення програмного продукту на
середню годинну оплату програміста (з урахуванням коефіцієнта відрахувань на
соціальні потреби):
Ззпспп=t•Tчас
Розрахунок трудомісткості створення програмного продукту.
Трудомісткість розробки програмного продукту можна визначити
таким чином:
= to+ tа+ tб+ tп+
tд+ tот,
де o - витрати праці на підготовку опису завдання;а
- витрати праці на розробку алгоритму рішення задачі;б - витрати
праці на розробку блок-схеми алгоритму рішення задачі;п - витрати
праці на складання програми по готовій блок-схемі;д - витрати праці
на підготовку документації завдання;от - витрати праці на відладку
програми на ЕОМ при комплексній відладці завдання.
Складові витрат можна виразити через умовне число операторів
Q. У нашому випадку число операторів у відлагодженій програмі Q=1300.
Розрахунок витрат праці на підготовку опису завдань.
Оцінити витрати праці на підготовку опису завдання не можливо,
оскільки це пов'язано з творчим характером роботи, натомість оцінимо витрати
праці на вивчення опису завдання з урахуванням уточнення опису і кваліфікації
програміста:
o= Q•B/(75…85•K),
де:- коефіцієнт збільшення витрат праці унаслідок
недостатнього опису завдання, уточнень і деякої недоробки, B=1,2…5;- коефіцієнт
кваліфікації розробника, для тих, що працюють до 2 років K=0.8;
Коефіцієнт В приймаємо рівним 3.
Таким чином отримаємо:o= 1300•3/(78•0,8) = 62.5
(люд-год).
Розрахунок витрат праці на розробку алгоритму.
Витрати праці на розробку алгоритму рішення задачі:
а = Q/(60…75•K)
а = 1300/(70•0,8)=23.21 (люд-год).
Розрахунок витрат праці на розробку блок-схеми.
Витрати праці на розробку блок-схеми алгоритму рішення задачі
обчислимо таким чином:
б= Q/(60…75•K)
б = 1300/(65•0,8)=25(люд-год).
Розрахунок витрат праці на складання програми.
Витрати праці на складання програми по готовій блок-схемі
обчислимо таким чином:
п= Q/(60…75•K)
п = 1300/(72•0,8)=22.57 (люд-год).
Розрахунок витрат праці на відладку програми.
Витрати праці на відладку програми на ЕОМ при комплексній
відладці завдання:
tот=1.5• tAот,
де tAот - витрати праці на відладку
програми на ЕОМ при автономній відладці одного завдання;
tAот= Q/(40…50•K)
Aот = 1300/(45•0,8)=36.11 (люд-год)
Звідси tот=1.5•36.11=54.17 (люд-год).
Розрахунок витрат праці на підготовку документації.
Витрати праці на підготовку документації по завданню
визначаються:
д= tдр+ tдо,
дедр - витрати праці на підготовку матеріалів в
рукопису;до - витрати на редагування, друк і оформлення
документації;
др= Q/(150…200•K)
др = 1300/(180•0,8) = 9.03 (люд-год)
до=0.75•tдр
до =0.75•9.03=6,77 (люд-год)
Звідси
tд=9.03+6.77 =15.8 (люд-год).
Отже, загальну трудомісткість розробки програмного продукту
можна розрахувати:
t= to+ tа+ tб+ tп+
tд+ tот,
= 62.5+23.21+25+22.57+15.8+54.17 = 203.25 (люд-год).
Розрахунок середньої зарплати програміста.
Середня зарплата програміста в сучасних ринкових умовах може
варіюватися в широкому діапазоні. Для розрахунку візьмемо середню годинну
оплату праці програміста, яка складає Тчас=10 грн/година. Це
означає, що вартість розробки буде становитиму 2032.5 грн.
Витрати на оплату праці програміста складаються із зарплати
програміста і нарахувань на соціальні потреби.
Єдине соціальне нарахування становить 37,2%.
Тобто 2032.5грн•37,2%=756.09 грн
Звідси витрати на оплату праці програміста складають:
Ззпспп= 2032.5+756.09 = 2788.59 грн.
Витрати на оплату машинного часу.
Витрати на оплату машинного часу при відладці програми
визначаються шляхом множення фактичного часу відладки програми на ціну
машино-години орендного часу:
Змвспп =Счас•tЕОМ,
Счас - ціна машино-години, грн/год;
tЕОМ - фактичний час відладки програми на ЕОМ;
Розрахунок фактичного часу відладки.
Фактичний час відладки обчислимо за формулою:
еом = tп + tдо + tот ;
tеом =22.57 +6.77 +54.17 = 83.51 години
Розрахунок ціни машино-години.
Ціну машино-години знайдемо по формулі:
Сгод = Зеом/Теом,
де
Зеом - повні витрати на експлуатацію ЕОМ на
протязі року;
Теом - дійсний річний фонд часу ЕОМ, год/рік.
Розрахунок річного фонду часу роботи ПЕОМ.
Загальна кількість днів в році - 365. Число святкових і
вихідних днів - 114(10 святкових і 52•2- вихідні).
Час простою в профілактичних роботах визначається як
щотижнева профілактика по 3 години.
Разом річний фонд робочого часу ПЕОМ складає:
Теом = 8•(365-114)-52•3=1852 год.
Розрахунок повних витрат на експлуатацію ЕОМ.
Повні витрати на експлуатацію можна визначити по формулі:
Зеом = (Ззп+ Зам+ ЗЕЛ+
Здм+ Зпр+ Зін),
де:
Ззп - річні витрати на заробітну плату
обслуговуючого персоналу, грн/рік;
Зам - річні витрати на амортизацію, грн/рік;
ЗЕЛ - річні витрати на електроенергію, споживану
ЕОМ, грн/рік;
Здм - річні витрати на допоміжні матеріали,
грн/рік;
Зпр - витрати на поточний ремонт комп'ютера,
грн/рік;
Зін - річні витрати на інші і накладні витрати,
грн/рік.
Амортизаційні відрахування.
Річні амортизаційні відрахування визначаються по формулі:
Зам=Сбал•Нам,
де: Сбал - балансова вартість комп’ютера, грн/шт.;
Нам - норма амортизації, %;
Нам =25%.
Балансова вартість ПЕОМ включає відпускну ціну, витрати на
транспортування, монтаж устаткування і його відладку:
Сбал = Срин +Зуст ;
де:
Срин - ринкова вартість комп’ютеру, грн/шт.,
Зуст - витрати на доставку і установку комп'ютера,
грн/шт;
Комп'ютер, на якому велася робота, був придбаний за ціною Срин
=5000 грн, витрати на установку і наладку склали приблизно 10% від
вартості комп'ютера.
Зуст = 10%• Срин
Зуст =0.1•5000=500 грн.
Звідси, Сбал = 5000 +500 =5500
грн./шт.,
а Зам=5500•0.25= 1375 грн/год.
Розрахунок витрат на електроенергію.
Вартість електроенергії, споживаної за рік, визначається по
формулі:
Зел = Реом • Теом • Сел
• А,
де:
Реом - сумарна потужність ЕОМ,
Теом - дійсний річний фонд часу ЕОМ, год/рік;
Сел - вартість 1кВт•год
електроенергії;
А - коефіцієнт інтенсивного використання потужності машини.
Згідно технічному паспорту ЕОМ Реом =0.22 кВт,
вартість 1кВт•год електроенергії для споживачів Сел =0.2436 грн.,
інтенсивність використання машини А=0.98.
Тоді розрахункове значення витрат на електроенергію:
Зел = 0.22 • 1852• 0.2436• 0.30 = 29.78
грн.
Розрахунок витрат на поточний ремонт.
Витрати на поточний і профілактичний ремонт приймаються
рівними 5% від вартості ЕОМ:
Зтр = 0.05• Сбал
Зтр = 0.05• 5500 = 275 грн.
Розрахунок витрат на допоміжні матеріали.
Витрати на матеріали, необхідні для забезпечення нормальної
роботи ПЕОМ, складають близько 1 % від вартості ЕОМ:
Звм =0.01• 5500 =55 грн.
Інші витрати по експлуатації ПЕОМ.
Інші непрямі витрати, пов'язані з експлуатацією ПЕОМ,
складаються з вартості послуг сторонніх організацій і складають 5% від вартості
ЕОМ:
Зпр = 0.05• 5500 =275 грн.
Річні витрати на заробітну плату обслуговуючого персоналу.
Витрати на заробітну плату обслуговуючого персоналу
складаються з основної заробітної плати, додаткової і відрахувань на заробітну
плату:
Ззп = Зоснзп +Здопзп
+Зотчзп.
Основна заробітна плата визначається, виходячи із загальної
чисельності тих, що працюють в штаті:
Зоснзп =12 •∑Зіокл,
де:
Зіокл - тарифна ставка і-го працівника
в місяць, грн;
12 - кількість місяців.
У штат обслуговуючого персоналу повинні входити
інженер-електронщик з місячним окладом 1800 грн. і електрослюсар з окладом 1500
грн. Тоді, враховуючи, що даний персонал обслуговує 20 машин, маємо витрати на
основну заробітну плату обслуговуючого персоналу, які складуть:
Зоснзп = 12•(1800+1500)/20=1980 грн.
Додаткова заробітна плата складає 60 % від основної
заробітної плати:
Здопзп = 0.6 •1980 = 1188 грн.
Відрахування на соціальні потреби складають 37.2% від суми
додатковою і основною заробітних плат:
Зотчзп = 0,372•(1980+1188) = 1178.49
грн.
Тоді річні витрати на заробітну плату обслуговуючого
персоналу складуть:
Ззп = 1980 +1188 +1178.49 = 4346.49
грн.
Повні витрати на експлуатацію ЕОМ в перебігу року складуть:
Зеом = 4346.49 + 1375+ 29.78 + 55 + 275+ 275=
6081.27 грн.
Тоді ціна машино-години часу, що орендується, складе
Сгод = 6081,27 /1852 = 3.28 грн.
А витрати на оплату машинного часу складуть:
Змвспп =Сгод•tеом
Змвспп = 3.28 • 83.51= 273.91 грн.
Розрахунок економічного ефекту.
Зспп=Ззпспп +Змвспп
математична модель оптимізація обслуговування профілактика
Зспп =2788.59+ 273.91= 3062.5 грн.
Тобто собівартість програмного продукту 3062.5 грн.
А зараз визначимо ціну програмного продукту:
Ц = Зспп + Р,
Где Ц - ціна програмного продукту;
Р - 15% від витрат на створення програмного продукту.
Ц = 3062.5 + 459.38= 3521.88 грн.
Ціна програмного продукту дорівнює 3521.88 грн.
В порівнянні з іншими програмними продуктами, які виконують
аналогічні функції та мають вартість орієнтовно $1000, розроблена програма за
умови тиражування обійдеться значно дешевше, ніж аналоги.
Економія від використання однієї розробленої програми
представлятиме:
,1 - курс долара Національного банку України
ЕК = $1000 * 8,1- 2420,3 = 4578,12 грн.
6. Охорона праці
Вивчення і рішення проблем, пов'язаних із забезпеченням здорових
та безпечних умов, в яких протікає труд людини - одна з найбільш важливих
завдань у розробці нових технологій та систем виробництва. Вивчення та
виявлення можливих причин виробничих нещасних випадків, професійних
захворювань, аварій, вибухів, пожеж, і розробка заходів та вимог, спрямованих
на усунення цих причин дозволяють створити безпечні та сприятливі умови для
праці людини.
Головною законодавчою базою України, що визначає права та
обов’язки громадян є Конституція України. Закони України «Про охорону праці»,
«Про загальнообов'язкове державне соціальне страхування від нещасного випадку
на виробництві та професійного захворювання, які спричинили втрату
працездатності», «Про забезпечення санітарного та епідемічного благополуччя
населення» визначають основні положення щодо реалізації конституційного права
працівників на охорону їхнього життя й здоров’я в процесі трудової діяльності,
на належні, безпечні й здорові умови праці, регулюють при участі відповідних
органів державної влади відносини між роботодавцем і працівником з питань
безпеки, гігієни праці й виробничого середовища й установлюють єдиний порядок
організації охорони праці в Україні.
Згідно Правил охорони праці при експлуатації електронно-обчислювальних
машин, будинки й приміщення, у яких експлуатуються ЕОМ і виконується їхнє
обслуговування, налагодження й ремонт, повинні відповідати вимогам:
· СНіП 2.09.02-85 “Виробничі будівлі”, СНіП
2.09.04-87 “Адміністративні и побутові будівлі”, СНіП 2.01.02-85 “ Протипожежні
норми”,
СН 512-78 “Інструкція по проектуванню будівель і приміщень
для електронно-обчислювальних машин, ДСанПіН 3.3.2-007-98 “Державні санітарні
норми і правила роботи з візуальними дисплейними терміналами
електронно-обчислювальних машин”;
Правил безпечної експлуатації електроустановок споживачів
(ПБЕ);
· ГОСТ 12.1.004 “ССБТ. Пожежна безпека.
Загальні вимоги безпеки ”;
· Правил пожежної безпеки в Україні.
Наявний у цей час комплекс розроблених організаційних заходів
і технічних засобів захисту, накопичений досвід роботи ряду обчислювальних
центрів показує, що є можливість домогтися значно більших успіхів у питанні
усунення впливу небезпечних й шкідливих виробничих факторів на працюючих.
6.1
Аналіз небезпечних і шкідливих факторів в приміщені обчислювального центру
Об'єктом дослідження є приміщення
обчислювального центру. У приміщенні налічується два вікна. Довжина
досліджуваного об'єкта становить 9,8 м, ширина 5.3 м, у такий спосіб площа
приміщення становить 51,94 м2. У досліджуваному об'єкті перебуває 4
робочих місця. Таким чином, на кожного співробітника в цьому приміщенні
доводиться по 12,99 м2, що відповідає СНіП2.09. 04-87, по якому
встановлене, що на кожного працюючого повинне доводитися в приміщенні не менше,
ніж 4 м2 робочої площі. Висота приміщення від підлоги до стелі
становить 3 метри. Звідси, об'єм приміщення становить 155.82 м3.
У приміщенні перебувають 7 столів, на 5 з них розташовані
комп'ютери. Напруга джерела живлення становить 220 В.
Дане приміщення, по категорії об'єктів по небезпеці поразки
працюючим електричним струмом, відносять до категорії «без підвищеної
небезпеки» відповідно до ГОСТ 12.1.030-81 ССБТ.
Нанесення травми людині в умовах виробництва обумовлене
наявністю небезпечних виробничих чинників:
електричний струм, статична електрика та електромагнітне
випромінювання;
підвищений рівень рентгенівських випромінювань;
підвищений рівень шуму;
несприятливі мікрокліматичні умови;
недостатнє або надмірне освітлення;
психофізіологічні шкідливі і небезпечні виробничі чинники.
При розміщенні відео-термінала обраховується наявність шуму
та вібрації, м’якого рентгенівського випромінювання, електромагнітного
випромінювання, ультрафіолетового та інфрачервоного, електростатичного поля.
Висота робочої поверхні столу для відео-терміналу - 690 мм,
ширина повинна забезпечувати можливість виконання операцій в зоні досягнення
моторного ходу; висота столу 725 мм, ширина 800 мм, глибина 900 мм. Простір для
ніг: висота 600 мм, ширина 500 мм, глибина на рівні колін 500 мм, на рівні
витягнутої ноги 650мм.
Ширина й глибина сидіння 400 мм, висота поверхні сидіння 450
мм, кут нахилу поверхні від 15є вперед до 5є назад. Поверхня сидіння плоска,
передній край закруглений. В доступному місцях знаходиться аптечка першої
медичної допомоги. Робітники мають доступ до кімнати для відпочинку, приймання
їжі, психологічного розвантаження та інших побутових приміщень.
При дослідженні достатності природної
вентиляції в адміністративно-управлінських приміщеннях варто мати на увазі, що
у відповідності зі СНіП 2.09. 04-87 об'єм виробничого приміщення, що доводиться
на кожного працюючого, повинен становити не менш 40м3. У нашому
випадку об'єм приміщення на одного працюючого становить 41,95 м3, що
відповідає СНіП 2.09. 04-87.
Для приміщення, де виконуються роботи відповідно
до ГОСТ 12.1. 005-88 для теплого періоду року температура повинна становити не
більше 28° С , для холодного періоду року відповідно t = 17°С.
В холодні періоди року температура повітря, швидкість його
руху і відносна вологість повітря відповідно складають: 22-24 С°; 0,1 м/с; 40-60%; в
теплі періоди року температура повітря - 23-25 С°; відносна вологість
40-60 %; швидкість руху повітря - 0,1 м/с.
Шум є одними з розповсюджених факторів зовнішнього
середовища, що несприятливо впливають на організм людини. Люди, що працюють в
умовах підвищеного шуму, скаржаться на швидку стомлюваність, головний біль,
безсоння. У людини знижується гострота зору й слуху, підвищується кров’яний
тиск, послабляється увага, погіршується пам’ять. Це приводить до значного зниження
продуктивності праці, росту кількості помилок у роботі.
Електричний струм являє собою схований тип небезпеки, тому що
його важко визначити в струмо- і не струмоведучих частинах устаткування, які є
добрими провідниками електрики. Смертельно небезпечним для життя людини
вважають струм, величина якого перевищує 0.05 А, струм менший за 0.05 А -
безпечний (до 1000 В). З метою попередження поразок електричним струмом до
роботи допускаються тільки особи, що добре вивчили основні правила по техніці
безпеки.
Заземлення конструкцій, які знаходяться в приміщенні, надійно
захищені діелектричними щитками.
Правильне освітлення робочого місця оператора полегшує його
працю, знижує стомлення, підвищує продуктивність праці, знижує небезпеку
виробничого травматизму. Освітлення може бути природним і штучним. Природне
освітлення створюється у виробничих приміщеннях через віконні та інші засклені
прорізи, штучне - світильниками. Штучне освітлення в приміщеннях варто
здійснювати у вигляді комбінованої системи освітлення з використанням
люмінесцентних джерел світла у світильниках загального призначення.
У світлий час доби на ІОЦ використовується бокове
одностороннє природнє освітлення, а у темний час - загальне рівномірне штучне.
Освітлення повинне забезпечувати необхідний спектральний склад світла. Значення
нормативного показника КПО має бути не менш 1,5% при роботі з ЕОМ згідно нормам
НПАОП 0.00-1.31-99.
Розряд зорової роботи, а також нормовані показники природного
та штучного освітлення відповідно до ДБН В.2.5-28-2006 приведені у таблиці 6.1.
Таблиця 6.1
Нормовані показники природного та штучного освітлення
|
Характеристика
зорової роботи
|
Розряд зорової
роботи
|
Розмір об’єкта
розпізнавання, мм
|
Під розряд
зорової роботи
|
Характеристика
фону
|
Контраст
об’єкта розпізнавання з фоном
|
Освітлення
|
|
|
|
|
|
|
Штучне,
загальне, E, лк
|
Природне,
бокове, КПО,%
|
|
Середньої
точності
|
IV
|
0,5 - 1
|
г
|
світлий
|
великий
|
200
|
1,3
|
6.2
Заходи щодо нормалізації шкідливих і небезпечних факторів
Робоче місце, устатковане відео-терміналом, забезпечується:
). Належними умовами освітлення приміщення й робочого місця,
відсутністю відблисків;
). Відповідністю оптимальних параметрів мікроклімату;
). Належними ергономічними характеристиками основних
елементів робочого місця.
На сьогоднішній день основним засобом захисту від
електромагнітних випромінювань, що застосовуються в обчислювальній техніці є
екранування джерел випромінювання. Сьогодні всі монітори, що випускаються, а
також блоки живлення мають корпус, виконаний зі спеціального матеріалу, що
практично повністю затримує проходження електромагнітного випромінювання.
Застосовуються також спеціальні екрани, що зменшують ступінь впливу
електромагнітних і рентгенівських променів на оператора. Для зниження
електромагнітного впливу на людину-оператора використовуються також раціональні
режими роботи, при яких норма роботи на ПЕОМ не повинна перевищувати 50 %
робочого часу.
При роботі із програмним продуктом, приміщення, по ступені
електронебезпечності відносяться до категорії без підвищеної небезпеки -
приміщення сухі, з нормальною температурою, ізольованими підлогами, безпильні,
що мають малу кількість заземлених предметів. Комп'ютер харчується від
однофазної мережі змінного струму промислової частоти із заземленої нейтраллю,
напругою 220В.
Системний блок комп'ютера має напруги сигналів ТТЛ рівнів
(-1,+4 В), цифрові й аналогові мікросхеми живляться постійними напругами ±5 і
±12 В, які виходять шляхом перетворення змінної напруги 220В в блоці живлення.
Блок живлення містить у собі схеми перетворення напруги, схеми стабілізації й
схему захисного відключення при короткому замиканні. Так як корпус комп'ютера
виконаний з металу, то існує небезпека пробою фази на корпус. Монітори сучасних
комп'ютерів практично завжди виготовляються із пластику, тому незважаючи на
велику напругу, що є присутнім у моніторі, поразку струмом людини практично
виключено.
Оскільки потрапляння людини під вплив високої напруги в
даному пристрої можливо тільки через аварію (пробій ізоляції), то розрахуємо
можливий струм через тіло людини (Ih) при торканні частин схеми, що
перебувають під напругою 220В.
; (6.1)
де U - Напруга струмоведучих елементів, В,
Rh=1000 Ом - опір тіла людини.
Отримане значення вище смертельного порогу (0.1 А для перемінного
струму), значить необхідно передбачити заходи щодо захисту людини від поразки
електричним струмом.
) Оскільки мережева напруга перетворюється в окремому блоці (блоці
живлення), то він виконаний у закритому металевому корпусі й електрично
з'єднаний з корпусом усього пристрою в цілому;
) Корпус усього комп'ютера заземлений, за допомогою заземлюючого
виводу в мережному шнурі або окремому заземлюючому проводові;
) Застосований мережний шнур з подвійною ізоляцією.
Для усунення причин утворення статичного заряду
застосовуються провідні матеріали для покриття підлоги, панелей, робочих
столів, стільців. Для зниження ступеня електризації і підвищення провідності
діелектричних поверхонь підтримується відносна вологість повітря на рівні
максимально допустимого значення.
На робочих місцях всі металеві та електропровідні неметалеві
обладнання заземлені.
Ефективне рішення проблеми захисту від впливу шуму
досягається проведенням комплексу заходів, в які входить ослаблення
інтенсивності цього шкідливого виробничого чинника в джерелах і на шляху
розповсюдження звукових хвиль.
Зниження виробничого шуму в приміщеннях, де розміщені ПЕОМ,
досягається за рахунок акустичної обробки приміщення - зменшення енергії
відбитих хвиль, збільшення еквівалентної площі звукопоглинаючих поверхонь,
наявність в приміщеннях штучних звукопоглиначів.
Для створення нормальних умов роботи програмістів і
операторів ПЕОМ в машинному залі використовується система кондиціювання, що
забезпечує необхідні оптимальні мікрокліматичні параметри і чистоту повітря.
Електронно-променеві трубки, магнетрони, тиратрони та інші
електровакуумні прилади, що працюють при напрузі вище 6 кВ, є джерелами
«м’якого» рентгенівського випромінювання. При технічній експлуатації апаратури,
в якій напруга вище 15 кВ, використовують засоби захисту для відвертання
рентгенівського опромінення операторів і інженерно-технічних робітників, бо при
такій напрузі рентгенівське випромінювання розсіюється в навколишньому просторі
виробничого приміщення.
Шкідливий вплив рентгенівських променів зв’язаний з тим, що
порушення міжмолекулярних зв’язків тканинної речовини може призвести до
порушення нормальної течії біохімічних процесів і обміну речовин.
Засобами захисту від «м’якого» рентгенівського випромінювання
є застосування поляризаційних екранів, а також використання в роботі моніторів,
що мають біокерамічне покриття і низький рівень радіації. В якості засобів
захисту від чинності м’яких рентгенівських променів застосовуються екрани з
сталевого листа (0,5-1 мм) або алюмінію (3 мм), спеціальної гуми.
Для відвертання розсіювання рентгенівського випромінювання по
виробничому приміщенню встановлюють захисні огорожі з різноманітних захисних
матеріалів, наприклад, свинцю або бетону.
Нормативне значення коефіцієнта природного висвітлення (КЕО) для
четвертого світлового пояса, у якому розташована Україна, 
визначається у відсотках по формулі:
(6.2)
де:
- нормоване значення коефіцієнта природного висвітлення для
третього світлового пояса по СНіП ІІ-4-79. Для досліджуваного приміщення
= 1,5; - коефіцієнт світлового клімату (для України m = 0.9);
с - коефіцієнт сонячності (для м. Кривий Ріг с = 0.85).
тобто
=1.5 × 0.9 × 0.85 =
1,15
Нормоване значення КЕО становить 1,15.
Фактичне значення КЕО для приміщення відділу знаходимо по формулі:

(6.3)
звідки:

(6.4)
де: S0 - площа вікон у приміщенні. 0 =2 × 2 × 1.7 = 6.8 м2n - площа підлоги приміщення, Sn
= 51.94 м2;
t0 -
загальний коефіцієнт світлопропускання віконного прорізу. Для віконних прорізів
суспільних будинків, не обладнаних сонцезахисними пристроями t0 = 0,5;
h0 -
світлова характеристика вікна, приймаємо h0= 10.5;3
- коефіцієнт запасу, k3 = 1.3 -1.5. Приймаємо k3 = 1.4;зд
- коефіцієнт затемнення вікон конфронтуючими будинками, приймаємо зд
= 1;1 - коефіцієнт, що враховує відбиття світла від внутрішніх
поверхонь приміщення, приймаємо r1 = 1.55;
Значення коефіцієнта r1 залежить від:
· відносини глибини до
висоти від рівня умовної робочої поверхні до верху вікна (стандартна висота
робочої поверхні дорівнює 0.8 м), тобто 5.3/(1.7+1-0.8)=2.79м;
· відношення відстані
розрахункової точки від зовнішньої стіни до глибини приміщення 4/5.3=0.75 м;
· відносини довжини
приміщення до його глибини 9.8/5.3=1.85 м;
· середньозважених
коефіцієнти відбиття стелі, стін, підлоги рсг.
Для світлих приміщень зі світлими меблями
рсг можна орієнтовно прийняти рівним 0.5; для темних - 0.3; середніх
між ними - 0.4. У нашому випадку обстановка відповідає коефіцієнту зі значенням
рівним 0.4.
Підставляючи отримані значення
коефіцієнтів, одержимо фактичне значення КЕО:
Порівнюючи фактичне й нормативне значення коефіцієнта КЕО, можна
зробити висновок про те, що природного висвітлення недостатньо для даного
приміщення й тільки в яскраву сонячну погоду вистачає природного висвітлення, а
в інших випадках (тим більше, якщо похмура погода, час сутінків і т.д.) при
роботі в даному приміщенні необхідно використати штучне освітлення.
При аналізі штучного освітлення необхідно аналогічно до
попереднього аналізу зрівняти фактичне значення освітлення, що створюється
наявними в приміщенні джерелами, з нормованим значенням.
У досліджуваному приміщенні перебуває 6 люмінесцентних ламп по 2
лампочки в кожній потужністю в 80 Вт.
Нормоване значення освітленості для даного приміщення при
загальній освітленості по Сніп ІІ-4-79 становить при використанні
люмінесцентних ламп - 300 лк.
Розрахунок штучного висвітлення в даному приміщенні виробляється
за допомогою методу коефіцієнта використання світлового потоку.
Світловий потік однієї лампи у світильнику розраховується по
формулі:

(6.5)
звідки:

(6.6)
де: Еф - фактична освітленість, лк;л -
світловий потік однієї лампи, Рл = 4320 дм;- коефіцієнт запасу, k =
1.5-2.0, приймаємо k = 1.5;- площа освітлюваного приміщення, S = 51.94 м2;-
коефіцієнт нерівномірності висвітлення, z = 1.1;- число світильників, N = 6;
п - число ламп в одному світильнику, п = 2;
h - коефіцієнт використання світлового потоку, h = 0.4- 0.6.
Приймаємо h = 0.5.
Таким чином фактична освітленість дорівнює:
(лк),
що задовольняє вимогам.
По результатах проведених розрахунків можна зробити висновок
про те, що освітлення в робочій зоні, знаходяться в межах допустимих норм і
його вплив на організм працюючих не приносить шкоди здоров’ю.
.3
Пожежна безпека
Пожежна безпека - це стан об’єкта, при якому виключається
можливість пожежі, а у випадку його виникнення використовуються необхідні
заходи щодо усунення негативного впливу небезпечних факторів пожежі на людей,
споруди й матеріальних цінностей.
Пожежна безпека може бути забезпечена заходами пожежної
профілактики й активного пожежного захисту. Пожежна профілактика включає
комплекс заходів, спрямованих на попередження пожежі або зменшення його
наслідків.
По класифікації приміщень з ПЕОМ по пожежній небезпеці
відносяться до категорії В (БНіП 2.09.02-85), що характеризуються наявністю
твердих горючих і важко горючих речовин і матеріалів, а також легкозаймистих
матеріалів.
Причинами пожеж та вибухів на підприємстві є порушення правил
і норм пожежної безпеки, невиконання Закону «Про пожежну безпеку».
Небезпечними факторами пожеж є:
· полум’я, іскри характерне кількістю
теплового потоку на одиницю поверхні;
· замикання електронних частин комп’ютера.
· підвищена концентрація СО та інші токсичні
продукти горіння.
· знижена концентрація кисню в повітрі.
Особливістю сучасних комп’ютерів є дуже висока щільність
розташування елементів електронних схем. При проходженні струму по провідниках
і деталям виділяється тепло, що може привести до пожежнонебезпечної ситуації.
Серйозну небезпеку становлять різні електроізоляційні матеріали, що
використовуються для захисту, від механічних впливів окремих радіодеталей.
Пожежна безпека об’єкта забезпечується системами запобігання
пожежі й протипожежного захисту. Приміщення обчислювального центру (ОЦ)
ставиться до категорії В.
Пожежа може виникнути й від зовнішніх джерел. Тому необхідні
наступні заходи забезпечення пожежної безпеки:
· ефективне видалення диму, тому що в
приміщеннях, що мають оргтехніку, міститься велика кількість пластикових
речовин, що виділяють при горінні летучі отруйні речовини та їдучий дим;
· правильний шлях евакуації;
· наявність вогнегасників і пожежної
сигналізації;
· дотримання всіх протипожежних вимог до
систем опалення й кондиціонування повітря.
Серйозну небезпеку становлять різні електроізоляційні
матеріали. Материнські плати електронних пристроїв, а також плати всіх
додаткових пристроїв ЕОМ виготовляють із гетинаксу або стеклотекстолита.
Пожежна небезпека цих ізоляційних матеріалів невелика, вони відносяться до
групи важко горючих, і можуть запалитися тільки при тривалому впливі вогню й
високої температури.
До засобів гасіння пожежі, призначених для локалізації
невеликих загорянь, відносяться пожежні стовбури, внутрішні пожежні водопроводи,
вогнегасники, сухий пісок, азбестові ковдри тощо. У будівлях ОЦ пожежні крани
встановлюються в коридорах, на площадках сходових кліток і входів.
Оскільки в розглянутому випадку при загоряннях електронних
пристроїв можуть знаходитися під напругою, то використовувати воду й піну для
гасіння пожежі неприпустимо, оскільки це може призвести до електричних травм.
Іншою причиною, по якій небажане використання води, є те, що на деякі елементи
ЕОМ неприпустиме влучення вологи. Тому для гасіння пожеж у розглянутому
приміщенні можна використати або порошкові вогнегасники, або установки
вуглекислотного гасіння. Але оскільки останні призначені тільки для гасіння
невеликих вогнищ загоряння, то галузь їхнього застосування обмежена. Тому для
гасіння пожеж у цьому випадку застосовуються порошкові сполуки, тому що вони
мають наступні властивості: діелектрики, практично не токсичні, не надають
корозійного впливу на метали, не руйнують діелектричні лаки.
У приміщенні будівлі ОЦ використаються в основному
вуглекислотні вогнегасники ВВ-5, ВВ-10 достоїнство яких є висока ефективність
гасіння пожежі, збереження електронного обладнання, діелектричні властивості
вуглекислого газу, що дозволяє використовувати ці вогнегасники навіть у тому
випадку, коли не вдається знеструмити електроустановку відразу. Згідно СНіП
2.04.09-84 у приміщенні площею 51,94 м2 ми встановлюємо 2 вогнегасника.
Об’єкти ОЦ обладнанні установками стаціонарного автоматичного
пожежогасіння. Найбільше доцільно застосовувати в ОЦ установки газового гасіння
пожежі, дія яких засновано на швидкому заповненні приміщення вогнегасною
газовою речовиною з різким скрапленням змісту в повітрі кисню.
Для профілактики пожежної безпеки організовуються навчання
виробничого персоналу (обов’язковий інструктаж із правил пожежної безпеки не
рідше одного разу в рік), видання необхідних інструкцій з доведенням їх до
кожного працівника установи, випуск і вивіска плакатів із правилами пожежної
безпеки й правилами поведінки при пожежі. Також необхідна наявність плакатів,
що інформують людей про розташування аварійних виходів з будинку у випадку
виникнення пожежі, плану евакуації людей в аварійних ситуаціях.
У будинку розроблені й на видних місцях вивішені плани
(схеми) евакуації людей у випадку пожежі (ППБ 01-03). Призначення плану
евакуації - чітко позначити шляхи евакуації, евакуаційні виходи, а також
указати розташування пожежного обладнання, засобів оповіщення про пожежу, і
нагадати про першочергові дії, які необхідно почати. План евакуації може бути
виконаний на фотолюмінесцентному (світному в темряві) або звичайному пластику,
на плівці, папері. Плани евакуації відповідно до ГОСТ 12.2.143-2002 являють
собою схеми, на яких нанесені внутрішні контури приміщень, коридорів, сходових
маршів у будинках і спорудах, де можуть перебувати й працювати люди. На цих
схемах умовними позначками зазначені шляхи евакуації, евакуаційні й аварійні
виходи, місця розташування протипожежного обладнання, телефони, засоби першої
медичної допомоги, і додаткові засоби порятунку (протигазів, респіраторів
тощо), а також установлені в організації правила поведінки людей, порядок і
послідовність їхніх дій в умовах надзвичайної (аварійної) ситуації.
Висновки
Особливий круг завдань в теорії обслуговування складних
систем складають завдання, в яких передбачається наявність неповної інформації
про надійність систем. Ці завдання найчастіше зустрічаються на практиці,
особливо на початковому періоді експлуатації систем. Їх специфіка зажадала
розробки спеціальних прикладних математичних методів дослідження, близьких до
теорії ігор і заснованих на мінімаксних підходах. Ці методи дозволяють
простежити за кількісним поліпшенням показників обслуговування у міру зменшення
ступеня неповноти використовуваної інформації про надійність системи. У даній
дипломній роботі розглядається знаходження часу планової попереджувальної
профілактики і оптимальних значень характеристик на прикладі чотирьох стратегій
обслуговування систем.
В результаті виконання дипломної роботи, були досліджені
математичні методи оптимізації обслуговування систем. Розрахунок проводився з
використанням непараметричного методу, що заснований на статистичних даних.
Оптимізація обслуговування розраховувалася по наступних
критеріях:
· коефіцієнт готовності;
· середні питомі втрати;
· середній питомий прибуток;
· вірогідність виконання завдання.
Розроблене програмне забезпечення створено в середі Delphi та
має інтуїтивно зрозумілий інтерфейс користувача. У програмі реалізований вибір
стратегій обслуговування, ввід початкових даних та виведення результатів
обчислень. Система також дозволяє зберегти звіт про проведені дослідження в
файл формату MS Word.
Список літератури
1. Гаевский
А. Разработка программных приложений на Delphi 7 - М.: Киев, 2003.
. Глинский
Я.Н., Анохин В.Е., Ряжская В.А. Turbo Pascal 7.0 и Delphi. Учебное пособие.
СПб.: ДиаСофтЮП, 2003.
. Дарахвелидзе
П.Г., Марков Е.П. Delphi - среда визуального программирования. СПб.: BHV-
Санкт-Петербург, 2009.
. Емельянов
В. В.у Ясиновский С. И. Введение в интеллектуальное имитационное моделирование
сложных дискретных систем и процессов. Язык РДО. - М.: АНВИК, 1998.
.
Ермаков С.М., Михаилов Г.А. Статистическое моделирование. - М.: Наука, 2002.
. Заболотский
В.П., Оводенко А.А., Степанов А.Г. Математические модели в управлении: Учеб.
пособие. - СПб.: СПбГУАП, 2001.
. Кельтон
В„ Лоу А. Имитационное моделирование. - 3-е изл. - СПб.: Питер; К.: Издат.
группа ВНV, 2004.
. Климова
Л.М. "Delphi 7. Самоучитель. М.: ИД КУДИЦ-ОБРАЗ, 2005.
. Кремер
Н.Ш., Путко Б.А., Тришин И.М., Фридман М.Н.; Под ред. проф. Н.Ш. Кремера. Исследование
операций в экономике: учеб. Пособие для вузов. - М.: ЮНИТИ, 2002.
.
Кузин Л.Т. Основы кибернетики - Т.2: Основы кибернетических моделей. - М.:
Энергия, 1999.
. Кузнецов
Ю.Н., Кузубов В.И., Волощенко А.Б. Математическое программирование. - М.: Высш.
школа, 1980.
.
Купрашвили А.Ю., Савустьяненко Э.И., Томашевский В.Я. Организация интерактивной
системы моделирования // Электронное моделирование. - 2007. - № 1. - С. 16-19.
. Курносов
Ю.В. Аналитика: методология, технология и организация информационно-аналитической
работы /Ю.В. Курносов, П.Ю. Конотопов. - М. : РУСАКИ, 2004.
.
Литвинов В.В., Марьянович Т.П. Методы построения имитационных систем. - К.:
Наук, думка, 1991.
. Мадрел
Тео. Разработка пользовательского интерфейса/ Пер. с англ.- М.:ДМК, 2001.
. Немнюгин
С.А. Программирование - CПб.: Питер, 2007.
.
Новиков О.Л., Петухов С.И. Прикладные вопросы теории массового обслуживания. -
М.: Сов. радио, 1989.
.
Основы моделирования сложных систем: Учеб. пособие / Под. общ. ред. д-ра техн.
наук И.Б. Кузъменко - К.: Вища шк., 2007.
. Орлов
И.А. Эксплуатация и ремонт ЭВМ, организация работы ВЦ. Москва -2009.
. Ревнич
Ю.В. Нестандартные приемы программирования на Delphi. - СПб.: БХВ-Петербург,
2005.
. Ремизов
Н. Delphi - CПб.: Питер, 2007.
.
Ситник В.Ф., Орленко Я.С. Імітаційне моделювання: Навч.-метод. посібник для
самост. вивч. дисц. - К.: КНЕУ, 1999.
. Степанюк
В.В. Методи математичного програмування К.: Вища школа, 1997.
. Степанюк
В. В. Методи математичного програмування К.: Вища школа, 1997.
. Фараонов
В. Система программирования Delphi. CПб.: БХВ-Петербург, 2005.
. Ханекамп
Д., Вилькен П. Программирование под Windows/ Пер. с нем. -М.: ЭКОМ, 2006.
.
Шеннон Р. Имитационное моделирование систем - искусство и наука. - М.: Мир,
1978.
.
Bald О. Verification, Validation And Accreditation Of Simulation Models //
Proceedings of the 29th conference on Winter simulation, - NX: ACM Press, 1997.
- P. 135-141.
.
Johnson G.D. Networked simulation with HLA and MODS1M III CACI Products Company
// Proceedings of the 31st conference on Winter simulation: Simulation - a
bridge to the future. - Vol. 2. Phoenix. 1999. - P. 106-1070.
.
SelicB., GuUekson G., Ward P.T. Real-Time Object-Oriented Modeling. - S.
l.rjohn Wiley & Sons, 1994. - 525 p.
. j@alba.ua
- адрес автора
. http://www.intuit.ru
// Интернет-университет информационных технологий
. http://ru.wikipedia.org
// Свободная Интернет-энциклопедия34. http://algolist.manual.ru // Исходные
коды и книги по алгоритмам35. http://www.delphisources.ru // Программирование
на Delphi36. http://www.delphimaster.ru // Мастера Delphi37. http://www.delphikingdom.ru
// Королевство Delphi. Виртуальный клуб программистов