Анализ техногенного риска и обеспечение безопасности технологического процесса производства полиэтилена

  • Вид работы:
    Курсовая работа (т)
  • Предмет:
    Безопасность жизнедеятельности
  • Язык:
    Русский
    ,
    Формат файла:
    MS Word
    259,21 Кб
  • Опубликовано:
    2012-10-30
Вы можете узнать стоимость помощи в написании студенческой работы.
Помощь в написании работы, которую точно примут!

Анализ техногенного риска и обеспечение безопасности технологического процесса производства полиэтилена

Содержание

Исходные данные

. Краткое описание технологического процесса производства полиэтилена

. Анализ пожаровзрывоопасных свойств веществ обращающихся в производстве

. Оценка пожаровзрывоопасности при нормальной работе аппаратов

. Основные показатели надёжности и техногенного риска. Понятия о надёжности работы человека при взаимодействии техническими схемами

. Определение вероятности безаварийной работы по узлам технологической схемы при последовательном и параллельном соединении аппаратов

. Анализ возможных причин повреждения аппаратов и появление характерных технологических источников зажигания

. Метод построения дерева отказов

. Метод построения деревьев событий

. Определение риска промышленных аварий при производстве полиэтилена

Вывод по работе

Литература

Приложение

Исходные данные

Таблица 1

Аппарат

Основные параметры

Вариант № 2

2

 Сместитель-разбавитель

Вещества: циклогексан, бензин, триэтилалюминий, четыреххлористый титан;  Диаметр, м  Высота, м Температура, °С (То)  Давление, МПа (Р0)  Защита дыхательной линии  Наличие аварийного слива  Диаметр линии растворителя, мм

  1,3 2 30 0,14 ПК Нет 50

6

 Полимеризатор этилена

Вещества: циклогексан, бензин,  триэтилалншиний, четыреххлористый титан, этилен; Диаметр, м Высота, м Степень заполнения  Давление, МПа (Ро)  Температура, °С (То) Контролируемые и регулируемые параметры Защита дыхательной линии

  2,5 5,4 0,7 0,34 80 Кон ПК

10

 Холодильник конденсатор

В-ва: этилен;  Диаметр, м  Длинна, м  Давление, МПа (Ро)  Температура, °С (То)  Хладоагент (рассол, вода) Температурный компенсатор

1,1 3,4 0,34 10 Рас Есть


Таблица 2

 №

Аппарат

Обозначение

Вариант№2

1

Насос подачи катализатора

S(t)

0,60

6

Полимеризатор этилена

S(t)

0,84

19

Сборник суспензии

S(t)

0,62


Сценарий развития аварийной ситуации - 3: Выход из строя насоса с суспензионной подачи. Срабатывание сигнализации, эвакуация людей из помещения. Взрыв мерника растворителя суспензии. Взрыв в помещении

. Краткое описание технологического процесса производства полиэтилена

Производство полиэтилена методом низкого давления.

Полиэтилен и полипропилен получают путем полимеризации соответственно этилена и пропилена методом низкого давления с использованием в качестве катализатора слабого раствора триэтилалюминия в бензине и циклогексане. В результате полимеризации получается механическая смесь (суспензия) мелких частичек полимера с растворителем, так как полиэтилен и полипропилен в бензине и циклогексане не растворяются. Полученные полимеры в дальнейшем освобождаются от растворителя путем фильтрации, промываются метиловым спиртом и высушиваются. Готовая продукция в виде мелкого порошка насыпается в мешки или предварительно формуется в гранулы, а затем насыпается в мешки. В данной работе рассматривается только процесс полимеризации. Процессы дальнейшей обработки получаемой суспензии не рассматриваются. Технологические процессы полимеризации, как этилена, так и пропилена принципиально не отличаются. Поэтому ниже приведена схема и дано описание технологического регламента, общего для полимеризации этилена и полипропилена.

Сырьем для получения полиэтилена методом низкого давления служит очищенный этилен и смешанный металлоорганический катализатор- триэтилалюминий и четыреххлористый титан. Вместо триэтилалюминия могут применяться также диэтилалюминийхлорид, этилалюминийдихлорид или триизобутилалюминий.

Триэтилалюминий получают в две стадии. При взаимодействии алюминия с хлористым или бромистым этилом получают промежуточный продукт - сесквигалоид. Действием металлического натрия на сесквигалоид получают триэтилалюминий. Процесс получения может быть периодическим или непрерывным. Триэтилалюминий - бесцветная прозрачная жидкость плотностью 840 кг/м3, температурой кипения 194°С. На воздухе самовоспламеняется. При взаимодействии с водой, спиртами и другими веществами взрывается. Ядовитое вещество, вызывает отравление и ожоги.

Четыреххлористый титан - жидкость с резким запахом, плотностью 1730 кг/м3, температурой плавления -23 °С и кипения 136°С. Вещество -бензин А - 76; формула - С7H20; tвсп- 35° С; tcaмовоспл - 375° С; ТПВ: tH-17 °С; tB -35 °С; склонность к горючести - легко воспламеняющиеся жидкости (ЛВЖ).

Механизм полимеризации

Полимеризация этилена при низком давлении происходит по анионному механизму по следующей схеме:

) активация катализатора (образование катализаторного комплекса):

А1 (С2H5)3 + 2TiCl4 = 2А1 (С2H5)2CL + 2TiCl3 + С2H4 + С2H6

) рост цепи - выпавший из раствора порошок треххлористого не адсорбирует на поверхности хлорэтилалюмнний, создавая ТНТ активации; мономерные звенья присоединяются к катализаторному комплексу, образуя растущую цепь путем внедрения этилена между атомом алюминия и алкилом:

(TiCl3)Al- С2H5+CH2= CH2-(TiCl3)AL- С2H5+CH2=CH2 - - (TiCl3)AL - С2H5 II CICI

) обрыв цепи происходит за счет регенерации активного центра, вследствие передачи цепи на мономер или на растворитель. Происходит образование соединения типа:

(C2H4)m - С2H5 (TiCl3)Al-(C2H4)n- С2H5Cl

которое, распадаясь, дает смесь полиэтилена, гидрата алюминия и четыреххлористого титана:

СН2= СН - (- СН2 - СН2 - VI- С2H5 + AlH3+TiCl4

СН2 = СН - (-СН2- СН2-)п-1 - С2H5

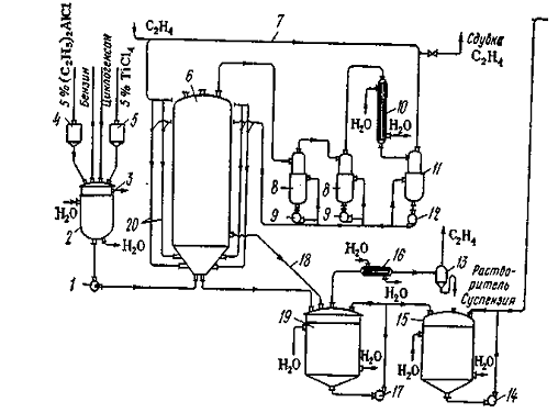
Технологическая схема полимеризации этилена (приложение 2)

Из цеха катализаторов в мерники 4 и 5 подаются 5%-ные растворы триэтилалюминия (или диэтилалюминийхлорида) и четыреххлористого титана. Отмеренные количества катализаторов самотеком поступают в емкость 2, где они перемешиваются и разбавляются бензином и циклогексаном до 0,2 %-ной концентрации. Емкость имеет водяную рубашку для нагрева раствора до 50°С. Сформированный катализаторный комплекс насосом 1 закачивается в реактор 6 и поддерживается в нем на постоянном уровне. Реактор представляет автоклав колонного типа емкостью около 10м3. Этилен подается в нижнюю часть реактора по трубам 20. Поступая в реактор через систему эрлифта, этилен обеспечивает перемешивание реакционной массы, отводит тепло полимеризации и частично полимеризуется в полиэтилен. Полимеризация производится при t =50-60 °С, и эта подаваемого этилена. Не вступивший в реакцию этилен, нагретый и насыщенный парами растворителя, отводится из верхней части полимеризатора на циркуляцию, которая осуществляется следующим образом. Этилен с парами растворителей (t=80°C) последовательно проходит циклонные отделители $, в которых улавливаются брызги растворителя и частички полиэтилена; конденсатор-холодильник 10, где происходит охлаждение до 40оС и частичная конденсация паров растворителя, поступает на разделение в аппарат 11. Очищенный этилен подается по линии 7 снова в реактор, смешиваясь по пути со свежим этиленом. Растворитель, содержащий полиэтилен, из отделителей 8 и 11 с помощью насосов 9 и 12 возвращается в полимеризатор вместе с циркулирующим этиленом. Кроме того, осуществляется непрерывная циркуляция смеси в самих отделителях. Образующийся полимер в виде суспензии полиэтилена в растворителе отводится из полимеризатора по линии 18 в сборник 19, где происходит выделение растворенного этилена за счет снижения давления до 0,01 МПа и температуры до 70°С. Выделившийся этилен для улавливания паров растворителя проходит холодильник 16, сепаратор 13 и поступает на очистку. Суспензия полиэтилена из сборника 19 насосом 17 подается в сборник 15, а из него насосом 14 - в цех отмывки. Процесс полимеризации этилена при низком давлении сопровождается загрязнением полученного полимера остатками катализатора, которые ухудшают химические свойства полимера и изменяют его цвет до коричневого.

Поэтому возникает необходимость удаления катализатора из полимера, что достигается разложением катализатора с последующим растворением полученных продуктов и отфильтровыванием их от полиэтилена.

Таблица 3. Экспликация к технологической схеме производства полиэтилена

Наименование

1

Насос подачи катализатора

2

Мерники растворителя

3

Водяная рубашка охлаждения

4

Мерники 5 % триэтилалюминия

5

Мерники 5 % четыреххлористого титана

6

Полимеризатор

7

Линия подачи этилена

8

Циклонные отделители

9

Насос подачи

10

Холодильник - конденсатор

11

Сепаратор

12

Насосы циркуляционные

13

Сепаратор

14

Насос подачи веществ

15

Мерники растворителя (суспензии)

16

Холодильник - конденсатор

17

Насос суспензионный

18

Линия отвода суспензии

19

Сборник суспензии полиэтилена


. Анализ пожаровзрывоопасных свойств веществ обращающихся в производстве

Пользуясь справочными материалами устанавливаем пожаровзрывоопасные свойства вещества:

для жидкости - химический состав, температура кипения, плотность жидкости и ее паров, температуру вспышки, температурные и концентрационные пределы распространения пламени, температуру самовоспламенения, склонность к самовозгоранию, способность к электризации, теплоту сгорания, токсичность, тушащие средства;

для газов - химический состав, плотность, концентрационные пределы распространения пламени, температуру самовоспламенения, теплоту сгорания, скорость горения, токсичность, тушащие средства;

для твердых веществ - химический состав, температуру самовоспламенения, склонность к самовозгоранию, теплоту сгорания, скорость горения, токсичность продуктов термического разложения и горения, способность к плавлению при нагревании и горении, огнетушащие средства (для пыли указать величину нижнего концентрационного предела распространения пламени).

В технологическом процессе производства полиэтилена обращаются такие вещества, как бензин Б-70, циклогексан, тетрахлортитан, триэтилалюминий, этилен, полимер.

Вещество - циклогексан:

формула - С6Н12; tплавл ( tкип ) - 6,5 оС ( 80,7 оС); tсамовоспл - 259 оС, tвсп - 17 оС; р - 773 кг/м3; ТПВ: tн - 17 оС; tв - 20 оС; КПВ: φн - 1,3 %; φв - 7,8 %; Mr - 84,16; склонность к горючести - ЛВЖ; коэф. диффузии пара в воздухе - 0,0646 см2/с; теплота образования - 123,13 кДж/моль; теплота сгорания - 3689 кДж/моль; растворимость - в воде не растворим; миним. энергия зажигания - 0,22 МДж; макс. Рвзрыва - 858 кПа; норм. скорость распространения пламени - 0,436 м/с. средства тушения - табл. 1, гр.1 [8].

Вещество - четырехлористый титан:

формула - TiCl4; tкип - 76,6 оС; tсамовоспл - 635 оС; р - 1600 кг/м3; теплота образования - 195 кДж/моль.

Вещество - триэтилалюминий

формула - (С2Н5)3Al; tкип - 89,3 оС; tсамовоспл - 310 оС; tвсп - 12 оС; р - 726 кг/м3; ТПВ: tн - 12 оС; tв - 14 оС; КПВ: φн - 1,2 %; φв - 8 %; Mr - 101,19; склонность к горючести - ЛВЖ; коэф. диффузии пара в воздухе - 0,0588 см2/с; теплота образования - 98,7 кДж/моль; теплота сгорания - 3703 кДж/моль; растворимость - в воде; миним. флегм.конц.: N2 - 44,8; миним. энергия зажигания - 0,75 МДж; макс. Рвзрыва - 870 кПа; макс. скор. нарастания давления - 31 МПа/с; норм. скорость распространения пламени - 0,388 м/с; миним. взрывоопасное содержание О2 - 11,4 %. средства тушения - табл. 1, гр. 2 [8]..

Вещество - этилен:

формула - С2Н4; tкип - 103,3 оС; tсамовоспл - 435 оС; р - 0,974 кг/м3; КПВ: φн - 2,7 %; φв - 34 %; Mr -28,05; склонность к горючести - горючий газ; коэф. диффузии пара в воздухе - 0,13 см2/с; теплота сгорания - 1318 кДж/моль; растворимость - в воде плохая; миним. флегм. конц.: СО2 - 42 %; N2 - 52 %; миним. энергия зажигания - 0,12 МДж; макс. Рвзрыва - 830 кПа; макс. скор. нарастания давления - 37,7 МПа/с; миним. взрывоопасное содержание О2, при разбавлении СО2 - 10,5 %; N2 - 10%, средства тушения - табл. 1, гр.7 [8].

Вещество - бензин А-76:

формула - С7Н20,; tвсп, - 35 оС; tсамрвоспл, - 375 оС; ТПВ: tн - - 35 оС; tв - 17 оС; склонность к горючести - ЛВЖ; средства тушения - табл. 1, гр. 2 [8]..

Таблица 4.

№ аппарата

Наименование аппарата, жидкость

Наличие паровоздушного пространства в аппарате

Рабочая температура в аппарате

Температурные пределы воспламенения жидкостей

Заключение о горючести среды в аппарате





Нижн.

Верхн.


1

2

3

4

5

6

7

№2

Смеситель-разбовитель


1)Триэтилалюминий

Есть

30

-12

14

Негор.


2)Четырёххлористый титан

Есть

30

------

------

------


3)Бензин А 76

Есть

30

-35

17

Негор.


4)Циклогексан

Есть

30

-17

20

Негор.

№6

Полимеризатор этилена



1)Триэтилалюминий

Есть

82

-12

14

Негор.


2)Четырёххлористый титан


 82

------

------

------


3)Бензин А 76

Есть

82

-35

17

Негор.


4)Циклогексан

Есть

82

-17

20

Негор.


5)Этилен

Есть

82

-------

-------

-------

№10

Холодильник-конденсатор


1)Растворитель (бензин А76)

Есть

15

-35

17

Гор.


2)Полиэтилен

Есть

15

-------

-------

-------


3)Этилен

Есть

15

-------

-------

-------


Вывод: в данной технологической схеме есть аппараты, в которых рабочая температура превышает верхний предел распространения пламени (ап.№2, №6), так же имеются аппараты, в которых присутствуют вещества, рабочая температура которых находится между нижним и верхним температурным пределом распространения пламени (ап. №10).

. Оценка пожаровзрывоопастности среды при нормальной работе аппаратов

В технологических схемах присутствуют:

аппараты с горючими жидкостями, причем уровень жидкости может изменяться при наполнении или расходе продукта;

аппараты, полностью заполненные жидкостью (например, насосы, трубопроводы);

аппараты с горючими газами;

аппараты, внутри которых находятся одновременно горючая жидкость и газ.

Поэтому вначале следует выяснить, есть ли в заданной технологической схеме аппараты с переменным уровнем горючей жидкости. Это обычно резервуары, вертикальные и горизонтальные емкости, мерники и другие подобные им аппараты. В таких аппаратах над поверхностью жидкости всегда есть паровоздушное пространство, концентрация паров в котором может быть ниже нижнего предела распространения пламени (воспламенения) или в пределах воспламенения (взрыва), или выше верхнего предела распространения пламени (воспламенения) (3).

Чтобы установить, какая концентрация паров будет в паровоздушном объеме аппарата при нормальной рабочей температуре, нужно сравнить эту температуру с температурными пределами распространения пламени и сделать соответствующие выводы. Внутри аппаратов с горючими газами или перегретыми парами горючие (взрывоопасные) концентрации (ВОК) образуются в том случае, если в них попадает воздух или подается окислитель (кислород, воздух, хлор и др.) при выполнении соотношения

,                (1)

где φр - действительная (рабочая) концентрация горючего вещества, об.доли; φн и φв - соответственно нижний и верхний концентрационные пределы распространения пламени при рабочей температуре, об.доли.

Если в аппарате в какие-то периоды образуется взрывоопасная концентрация, опасность ее нужно подтвердить расчетом величины давления, которая образуется при взрыве (см.2). Опасность образования взрывоопасной концентрации внутри аппарата подтверждаем расчетом величины давления, которая образуется при взрыве.

,                       (2)

где Р0 - начальное давление взрывоопасной смеси, МПа (рабочее давление в аппарате);

Т0 - начальная температура взрывоопасной смеси, К;

Твзр - определяется нижними и верхними температурными пределами воспламенения, К;

∑ni - число молей продуктов горения после взрыва (берется из конечной части уравнения горения);

∑nсм - число молей газовой смеси до взрыва (берется из исходной части уравнения горения).

Уравнение горения:

* [горючий газ] + n2 * [кислород] = nсм * [продукты горения]. (3)

Например, реакции горения, используемые в данной курсовой работе:

Четыреххлористый титан TiCl4 + О2 = ТiO2 + 2Cl2

Триэтилалюминий: 2 Al (С2Н5)3 + 21О2 = 12СО2 + 15Н2О + Al2O3;

Циклогексан: С6Н12 + 9О2 = 6СО2 + 6 Н2О;

Этилен: С2Н4 + ЗО2 =2СО2 + 2Н2О;

Бензин: С7Н20+ 12О2= 7СО2 + 10Н2О.

Таким образом, записываются реакции горения всех веществ, находящихся в аппаратах технологической схемы процесса заданного производства и производятся расчеты давлений взрыва веществ.

Расчетная часть

Расчет давления взрыва в аппарате в зависимости от вещества

Четыреххлористый титан TiCl4 + О2 = ТiO2 + 2Cl2 Триэтилалюминий: 2 Al (С2Н5)3 + 21О2 = 12СО2 + 15Н2О + Al2O3;

Циклогексан: С6Н12 + 9О2 = 6СО2 + 6 Н2О;

Этилен: С2Н4 + ЗО2 =2СО2 + 2Н2О;

Бензин: С7Н20+ 12О2= 7СО2 + 10Н2О.

Аппарат №2

Четыреххлористый титан  λ(t)=

Триэтилалюминий  λ(t)=

 λ(t)=

Циклогексан  λ(t)=

 λ(t)=

Бензин  λ(t)=

 λ(t)=

Аппарат №6

Четыреххлористый титан  λ(t)=

Триэтилалюминий  λ(t)=

 λ(t)=

Циклогексан  λ(t)=

 λ(t)=

Этилен  λ(t)=

Бензин  λ(t)=

 λ(t)=

Аппарат №10

Этилен  λ(t)=

График зависимости давления взрыва от интенсивности


Вывод: Был произведён расчёт давления взрыва в аппаратах в зависимости от вещества. По графику зависимости были определены интенсивности взрыва (λ)

. Основные показатели надежности и техногенного риска

Понятие о надежности работы человека при взаимодействии техническими схемами.

Под надежностью понимают свойство объекта выполнять и сохранять заданные функции в течение определенного времени при заданных условиях работы. Надежность любой технической системы оценивают через следующие показателям:

1)  Безотказность - это свойство объекта непрерывно сохранять свое работоспособное состояние в течении некоторого времени или некоторой наработки;

2)      Долговечность - это свойство объекта сохранять работоспособное состояние до наступления предельного состояния, при установленной системе технического обслуживания и ремонта;

)        ремонтопригодность - это свойство объекта сохранять и восстанавливать свое работоспособное состояние путем проведения ремонта, профилактики, технического обслуживания;

)        сохраняемость - это свойство объекта сохранять значение параметров, которые характеризуют способность изделия выполнять заданные ему функции, а также срока хранения продукции, после хранения и во время.

Показатели надежности и безопасности риска.

К показателям надежности и безопасности (как составной части надежности) относят количественные характеристики надежности, которые вводят и определяют согласно правилам статистической теории надежности, теории вероятностей и математической статистики. Область применения этой теории ограничена крупносерийными объектами, которые изготавливают и эксплуатируют в статистически однородных условиях и к совокупности которых применимо статистическое истолкование вероятности.

Применение статистической теории надежности к уникальным и малосерийным (таковыми являются, как правило, потенциально опасные объекты) объектам ограничено. Эта теория применима для единичных восстанавливаемых или ремонтируемых объектов, в которых допускаются многократные отказы, для описания которых применяют модель потока случайных событий (в том числе редких событий, когда проводится анализ критических или аварийных отказов). Статистическую теорию применяют также к уникальным и малосерийным объектам, которые, в свою очередь, состоят из объектов массового производства.

В этом случае расчет показателей надежности и безопасности объекта проводят методами статистической теории по известным показателям надежности и безопасности компонентов и элементов.

Статистическую теорию надежности и безопасности можно рассматривать как составную часть общего подхода к расчетной оценкe надежности и безопасности технических объектов, при которой отказы рассматриваются как результат взаимодействия объекта как физической системы с другими объектами и окружающей средой. При этом большинство показателей надежности полностью сохраняют смысл и при таком общем подходе к расчетной оценке надежности и безопасности.

Рассматривая отказ как случайное событие, удобной мерой надежности технических объектов следует признать вероятность безотказной работы системы (и соответственно мерой безопасности - вероятность безаварийной работы).

Вероятность безотказной работы - вероятность того, что в пределах заданной наработки отказ объекта не возникает.

Вероятность безотказной работы определяется в предположении, что в начальный момент времени (начало исчисления наработки) объект находился в работоспособном состоянии. Обозначим через / время или наработку объекта. Возникновение первого отказа - случайное событие, а наработка от начального момента до возникновения этого события т - случайная величина.

Вероятность безотказной работы объекта в интервале времени от 0 до t включительно определяют как

P (t) = P {τ > t}                      (4)

Здесь Р { τ > t} - вероятность события, заключенного в скобки. Очевидно, что эта величина является функцией времени или наработки P(t). В технической литературе эту функцию называют функцией надежности.

Аналогично можно определить вероятность безаварийной работы:

(t) = S { T > t }                      (5)

Рассматривая аварию как отказ из-за перехода объекта в предельное состояние (устанавливаемого из соображений безопасности), а наработку (или время) от начального момента до достижения предельного состояния как ресурс T (или срок службы). Функцию S(t) в этом случае называют (по аналогии с функцией надежности) функцией безопасности [1].

В более общем случае, когда состояние объекта характеризуется набором параметров (например, вектором u (t) с допустимой по условиям безопасности областью значений этих параметров Ω (рис. 1)), функция безопасности S(t) определяется вероятностью случайного события, состоящего в том, что на отрезке времени [0, t] ни разу не возникнет аварийная ситуация (т.е. параметры u (t) не выйдут за пределы допускаемой области Ω, ограниченной поверхностью Ωs):

S(t) = S{u (t1) є Ω, t1 є [0, t]}.

Функция безопасности S(t) связана с функцией распределения H(t) и плотностью распределения h(t) случайной величины Т соотношениями

H(t) = 1 - S(t), h{t) = dH(t)/dt = -dS{t)/dt.

Дополнение функции безопасности S(t) до единицы (т.е. функция распределения случайной величины Т в теории вероятностей)

- S(t) = H(t)                                      (6)

в теории безопасности и риска называется функцией риска или техническим риском.

Как видно из формулы (4), гамма-процентные показатели равны квантилям соответствующих распределений. Задаваемые значения у для критических отказов должны быть весьма близки к 100%, чтобы сделать критические отказы практически невозможными событиями.

Для прогнозирования потребности в запасных частях, а также для расчета пополнения и обновления парков машин, приборов и установок могут потребоваться гамма-процентные показатели при более низких значениях у.

Статистические оценки для гамма-процентных показателей могут быть получены на основе статистических оценок либо непосредственно, либо после аппроксимации эмпирических функций подходящими аналитическими распределениями. Необходимо иметь в виду, что экстраполирование эмпирических результатов за пределы продолжительности испытаний (наблюдений) может привести к значительным ошибкам. Привлечение дополнительной информации о физической природе аварийных ситуаций для их моделирования позволяет разрешать указанные проблемы.

Интенсивность технического риска λ(t) (аналог интенсивности отказов в теории надежности) определяют по формуле:

λ(t) = h(t)/[ 1 - H(t)] = -S'(t)/S(t).                         (7)

Все вышеприведенные характеристики взаимосвязаны, что иллюстрируется табл. 5.

Интенсивность технического риска λ(t) является важной характеристикой в теории безопасности, так как она определяет вероятность того, что после безотказной работы до момента времени t авария произойдет в последующем отрезке времени ∆t. Этот показатель и его приближенные статистические оценки широко используются при анализе безопасности и риска объектов в процессе эксплуатации.

Таблица 5. Расчетные зависимости между показателями безопасности и технического риска

Показатель

S(t)

H(t)

λ(t)

S(t)

-

1- H(t)

H(t)

1-S(t)

-

λ(t)

-


Понятие о надежности работы человека при взаимодействии техническими схемами.

Техническая система - совокупность объектов взаимодействующих между собой таким образом, чтобы обеспечить выполнение заданной функции.

Компоненты системы - это ее составляющие или подсистемы. Любая техническая система имеет иерархическую структуру, т.е. ступенчатую. Системы постоянно функционируют в пространстве и во времени и делятся на статистические и динамические. Статистическая - система с одним возможным состоянием. Динамическая - система со множеством состояний, в котором с течением времени происходит переход из одного состояния в другое.

Виды ошибок, которые допускаются на различных стадиях взаимодействия в системе мониторинга:

Ошибки проектирования. Данный вид обуславливается неудовлетворительным качеством проектирования.

Операторские ошибки. Данный вид возникает при неправильном выполнении обслуживающим персоналом установленных действий.

Ошибки изготовления. Он включает в себя: ошибки на производстве вследствие плохого качества работы, неправильно выбранного им материала, и вследствии изготовления изделия с отклонениями от конструкторской документации.

Ошибки технического обслуживания. Они возникают в процессе эксплуатации оборудования и обычно вызваны некачественным ремонтом оборудования.

Ошибки контроля. Они связанны с ошибочным приемом информации и ее переработки.

Ошибки обращения. Он возникает вследствие неправильного хранения изделий и их неправильной транспортировки.

Ошибка вследствие неправильной организации устройства на работу.

Ошибка управления коллективом.

Критерии оценки деятельности операторов.

Критерии быстродействия:

Топ= a+b*H=a+(H/Von)                                              (8)

Критерий быстродействия - это время решения поставленной задачи (время момента реакции человек на поступивший сигнал до момента окончания).

а- скрытое время реакции( промежуток времени от момента появления сигнала до реакции человек).- время переработки одной единицы информации.- скорость переработки информации в единицу времени.

Она характеризуется временем в течении которого человек постигает смысл информации. Оно зависит от психологических особенностей, от типа поставленной задачи эргономических особенностей.

Вероятность безошибочного выполнения операций j-ro вида:

= (NjCотдj)/ Nj*Xj= Сотдj/ (Nj*Tj)                     (9)

общее количество выполняемых человек операций. отдj общее количество допущенных оператором ошибок. время выполнения операций j-ro вида.интенсивность отказов при ошибочном действии операторов при выполнении им j-ой операции.

Коэффициент готовности:

Коп=1-(Тб/Т)                                                               (10)

Тб- время в течении которого человек не может применять поступившую к нему информацию.

Восстанавливаемость оператора:

Рв=Рк*Робн*Рн

Вероятность исправлений допущенных им ошибок.

Рк - вероятность выдачи сигнала контрольной системы.

Робн - вероятность обнаружения сигнала оператора.

Рн - вероятность исправления ошибочных действий при повторном выполнении их операций. Данный показатель позволяет оценить возможность самоконтроля.

Своевременность действий оператора:

св=(N-Nнс)/N                                                              (11)

N-общее количество выполненное человеком задач.количество несвоевременно выполненных задач.

Критерии точности:

ΔА=АИ + А0П                                                            (12)

Точность- это степень отклонения измеряемого оператором параметры системы от истинного или заданного значения.

Количественно этот показатель оценивается погрешностью оператор устанавливает или реагирует на параметр.

Аи - истинное значение параметра.

Аоп - измеряемое (определяемое) значение параметра.

Точность оператора зависит от:

· характера сигнала

· сложности поставленной им задачи

· условий темпа работы

· персональное (функциональное) состояние нервной системы человека

Оценка надежности системы человека - машина может производится

различными методами:

· аналитический;

· экспериментальный;

· имитационный;

Оценка надежности системы "человек-машина":

Если компенсация ошибок оператора и отказов техники невозможна:

P1(to, t)= PT(to, t)*P0(t)                           (1*)

P1(to, t)- вероятность безотказной работы технических средств в интервал времени от t0 до1, 0<t<8(t) - вероятность безотказной работы оператора в течении времени t при условии что техника работает безотказно.- общее время эксплуатации системы.

t- рассматриваемый период работы

Вероятность при мгновенной компенсации ошибок оператора:

P2(to,t)=Pt(t0,t) {P0(t)+[ 1 -Po(t)]}      (2*)

Вероятность при компенсации только отказов технической системы:

P3(to,t)=Po(t)[PT(to,t)+Pk(to,t,δ)]           (3*)

Pk(to,t,δ) - вероятность безотказной работы в течении времени от t0 до времени δ, при условии, что отказ системы произошел в какой-то интервал времени δ, t0 ≤ δ ≤ (to+t)

Вероятность с компенсацией ошибок и отказов технических средств:

P4(t0,t)= {P0(t)+ [l-Po(t)]}*[PT(to,t)/P1(t0,t)]           (4*)

Для систем "человек-машина" важным критерием является оценка вероятности безотказного, безошибочного протекания технического процесса в промежуток времени t. Такое выполнение технического процесса возможно в следующих случаях:

Технические средства работают исправна (3*).

Произошел отказ технического средства, но при этом оператор безошибочно и своевременно выполнил требуемые действия по ликвидации аварийной ситуации (2*).

Оператор допустил ошибочные действия, своевременно их исправил и за промежуток времени от t0 до t отказа системы не произошло (4*).

5. Определение вероятности безаварийной работы по узлам технологической схемы при последовательном и параллельном соединения

) Последовательное соединение:

,                (13)

m - число последовательно соединенных элементов;

) Параллельное соединение:

,     (14)

n - число параллельно соединенных элементов;

Sk - вероятность безотказной работы аппарата

Дана схема:


Дано:

S19=0.62

S6=0.84

S1=0.60

Решение

Рассмотрим верхний узел:

SI=S19║S6=1-(1-0,62)*(1-0,84)=1-0,38*0,16=1-0,061=0,939II=S1║S6║S19=1-(1-0,60)*(1-0,84)*(1-0,62)=1-0,4*0,16*0,38=1-0,024=0,976III=SI*SII*S19*S19=0,939*0,976*0,62*0,62=0,352

Рассмотрим нижний узел

SIV=S6 ║S6=1-(1-0,84)2=1-0,256=0,744

SV=S1║S19=1-(1-0,60)*(1-0,62)=1-0,4*0,38=1-0,152=0,848VI=SIV*SV*S6*S19=0,744*0,848*0,84*0,62=0,329общ= SIII║SVI=1-(1-0,352)*(1-0,329)=1-0,648*0,671=1-0,435=0,565

Ответ: Sобщ=0,565.

Вывод: параллельные соединения более надежные, чем последовательные, следовательно, для уменьшения риска появления аварии в технологические схемы производств необходимо включать больше параллельно соединенных элементов.

. Анализ возможных причин повреждения аппаратов и появления характерных технологических источников зажигания

Аппараты и трубопроводы при рассматриваемых нами производствах могут повреждаться вследствие следующих причин:

1.  От образования повышенных норм давления.

2.       Появления динамических воздействий.

.        Образования высоких температур в материале стенок.

.        Изменения прочностных свойств в результате воздействия резких перепадов высоких температур.

.        Коррозии стенок из металла.

Рассмотрим необходимые средства защиты аппаратов от вышеперечисленных причин повреждения.

1.       С целью недопущения образования высоких давлений осуществить герметизацию паровоздушного пространства аппаратов дыхательными клапанами, вывести дыхательные трубы за пределы помещения, осуществлять устройство систем улавливания и утилизации паров. В производстве полиэтилена для осуществления данных задач служит кожухотрубчатый холодильник-конденсатор.

2.       Для устранения подсоса воздуха поддерживается избыточное давление в коммуникациях. Различают 3 вида динамический воздействий на материалы стенок аппаратов: эрозионный износ, динамические нагрузки, повышенное или пониженное давление. Для предотвращения возникновения этих воздействий применяются следующие средства:

§  Установка блокировки (система контроля давления);

§  Счётчики-дозаторы;

§  Сигнализаторы предельного уровня жидкости;

§  Переливные трубы.

Следует также производить очистку стенок аппаратов от различных отложений и грязи, способствующих образованию чрезмерного внутреннего давления.

3.       Поддерживается безопасный температурный режим посредством контроля. Длительное воздействие высокой температуры на материал вызывает явление ползучести - пластические деформации внутри аппаратов. Поэтому следует применять углеродистые добавки. Применять теплоизоляцию резервуаров с ЛВЖ для уменьшения разности температур между внутренними и наружными стенками.

.        Для предотвращения перегрева, который может вызвать резкий перепад температур, окрасить резервуары светлыми лучеотражающими составами. Для этой цели может также служить термоизоляция аппаратов.

5.       Для защиты от коррозии применяется:

§ Защитные покрытия от агрессивной среды;

§ Катодная протекторная защита;

§ Коррозийно-устойчивые металлы;

§  Специальные ингибиторные добавки (хроматы, нитраты, пуротропин)

Анализ возможностей появления характерных технологических источников зажигания.

В данных производствах не используются аппараты, работа которых связана с использованием открытого огня.

Однако, как было установлено, большую пожаровзрывоопасность представляет паровоздушная смесь, образующаяся в смесителе-разбавителе, полимеризаторе этилена, мерниках растворителя бензола. Кроме того, источником зажигания могут послужить выбросы паров ЛВЖ. В IV пункте было определено, что их концентрация намного превышает предельно допустимую. Другими возможными источниками загорания могут являться сушильная камера радиационного типа и кожухотрубчатый холодильник, конденсатор циркуляционного этилена.

Бензола и природного газа, используемого для обогрева. В холодильнике-конденсаторе среда горючая.

Помимо вышеприведённых источников зажигания возможно и появление других причин:

§  Искрообразование при поломке центробежного насоса (трение, вибрация валов, износ подшипников);

§  Наличие отложений на стенках аппаратов;

§  Тепловое проявление электрической энергии;

§  Разряды статического электричества.

Статическое электричество может появиться при механической очистке оборудования при проведении технологического обслуживания.

7. Метод построения деревьев отказов

Методы деревьев отказов и событий позволяют учесть функциональные взаимосвязи элементов системы в виде логических схем, учитывающих взаимозависимость отказов элементов или групп элементов. В общем случае, как деревья отказов, так и деревья событий являются лишь наглядной иллюстрацией к простейшим вероятностным моделям. Однако они представляют значительный интерес для специалистов, связанных с эксплуатацией, обслуживанием и надзором технических объектов. Имея такую схему, специалист, даже не обладая основательными знаниями по теории вероятностей, может не только найти наиболее критический вариант развития событий, но и оценить ожидаемый риск, если соответствующее дерево событий или отказов дополнено статистическими данными.

Кроме того, на рынке коммерческих программ (не говоря о специализированных) уже давно имеются программные комплексы для автоматизированного построения деревьев отказов и деревьев событий сложных систем.

Дерево отказов (дерево аварий) представляет собой сложную графологическую структуру, лежащую в основе словесно-графического способа анализа возникновения аварии из последовательностей и комбинаций, и неисправностей, и отказов элементов системы.

С помощью анализа дерева отказов фактически делается попытка количественно выразить риск дедуктивным методом. Деревья отказов идентифицируют событие или ситуацию, создающие риск, после чего ставится вопрос: как могло возникнуть такое событие? Ответ заключается в том, что к такому событию могло привести множество путей. Практическая полезность дерева отказов зависит от тщательности оценки верхнего события. Большинство непосредственных причин верхних событий могут изучаться, как будто они сами являются верхними событиями. Теоретически такой анализ может проводиться очень детально на многих уровнях. Наиболее доступные для исследования причины - это отказы компонентов, по которым имеется достаточное количество статистических данных.

В этой связи наглядным примером в качестве элементов систем могут служить насосы и регулирующая аппаратура. Так, хотя отказ насоса и может служить верхним событием, вызванным такими причинами, как разрыв корпуса, разрушение подшипника и т.п., достаточное количество данных об отказах насосов может позволить рассматривать такой отказ как причину. В таком случае нет необходимости проводить дальнейший анализ для определения риска отказа.

Методика построения дерева отказа состоит из следующих этапов:

1.  Определяют аварийное (предельно опасное, конечное) событие, которое образует вершину дерева. Данное событие четко формулируют, дают признаки его точного распознавания. Для объектов химической технологии, например, к таким событиям относятся разрыв аппарата, пожар, выход реакции из-под контроля и др. Если конечноесобытие сразу определить не удается, то производят прямой анализ работы объекта с учетом изменения состояния работоспособности, ошибок операторов и т.п. Перечисляют возможные отказы, рассматривают их комбинации, определяют последствия этих событий.

2.       Используя стандартные символы событий и логические символы (табл.6), дерево строят в соответствии со следующими правилами:

Таблица 6. Стандартные символы событий и логические символы, применяемые при построении деревьев отказов

Вид элемента

Наименования

Описание


Схема И (совмещение)

Выходной сигнал В появляется только тогда, когда поступают все входные сигналы Ai(А1 ∩ A2 ∩ …∩ An) => В

Схема ИЛИ (объединение)

Выходной сигнал В появляется при поступлении любого одного или большего числа сигналов Ai(А1 ∩ A2 ∩ …∩ An) => В


Результирующее событие

Результат конкретной комбинации отказов на входе логической схемы


Первичный отказ



Неполное событие

Отказ (неисправность), причины которого выявлены не полностью, например из-за отсутствия информации



§  конечное (аварийное) событие помещают вверху;

§  дерево состоит из последовательности событий, которые ведут к конечному событию;

§  последовательности событий образуются с помощью логических символов Я, ИЛИ и др.;

§  событие над логическим символом помещают в прямоугольнике, а само событие описывают в этом прямоугольнике;

§  первичные события (исходные причины) располагают снизу.

Простейшее дерево, характеризующее возникновение пожара на объекте, показано на рис. 6а. Более сложное дерево аварии, описывающее разрыв химического реактора, представлено на рис.6б. Исходные события при разрыве реактора следующие: А - закрыт или неисправен предохранительный клапан, Б - открыт клапан подачи окислителя, В - неисправна система блокировки при высокой температуре, Г- малая подача сырья, Д- клапан окислителя открыт и неисправен, Е- неисправна система регулирования расхода окислителя, Ж- увеличено открытие диафрагмы, 3 - отсутствует напор.

При построении дерева аварий события располагают по уровням. Главное (конечное) событие занимает верхний - 0-й уровень, ниже располагают события 1-го уровня (среди них могут быть и начальные), затем - 2-го.уровня и т.д. Если на 1-м уровне содержится одно или несколько начальных событий, объединяемых логическим символом ИЛИ у то возможен непосредственный переход от начального события к аварии.

3.  Определяют минимальные аварийные сочетания и минимальную траекторию для построения дерева. Первичные и неразлагаемые события соединены с событием 0-го уровня маршрутами (ветвями). Сложное дерево имеет различные наборы исходных событий, при которых достигается событие в вершине; они называются аварийными сочетаниями.

4.       Квалифицированные эксперты проверяют правильность построения дерева. Это позволяет исключить субъективные ошибки разработчика, повысить точность и полноту описания объекта и его действий.

Для дерева рис.5б сочетание событий А, Б, Г, Д аварийное. При одновременном возникновении этих событий произойдет разрыв реактора. Минимальным аварийным сочетанием (MAC) называют наименьший набор исходных событий, при котором возникает событие в вершине. Минимальными аварийными сочетаниями являются А, Б, Г. Полная совокупность MAC дерева представляет собой все варианты сочетаний событий, при которых может возникнуть авария. Минимальная траектория - наименьшая группа событий, без появления которых аварии не происходит.

Например, если события А не произойдет, то не возникнет и разрыв реактора. Минимальные траектории представляют собой события, которые являются критическими для поддержания объекта в безопасном состоянии.

5.  Качественно и количественно исследуют дерево аварий с помощью выделенных минимальных аварийных сочетаний и траекторий. Качественный анализ заключается в сопоставлении различных маршрутов от начальных событий к конечному и определении критических (наиболее опасных) путей, приводящих к аварии. При количеством исследовании рассчитываютвероятность появления аварии в течение задаваемого интервала времени по всем возможным маршрутам. При расчете вероятности возникновения аварии необходимо учитывать применяемые логические символы. Вероятность S(A) выходного события А при независимости входных событий А1, А2,..., Аn определяют по формулам:

при знаке И:,                               (23)

при знаке ИЛИ:,                 (24)

где S(Ai) - вероятность события Аi.

. Метод построения деревьев событий

Набор обстоятельств (не только отказов системы, но и внешних воздействий на нее), ведущих к аварии, называется последовательностью аварии (или сценарием), которую можно проследить с помощью дерева событий. В отличие от структурных схем и деревьев отказов деревья событий имеют более полное физическое содержание. Если основным преимуществом деревьев отказов по сравнению с блок-схемами является учет причинно-следственной связи между отказами элементов, то деревья событий дают картину физических процессов, приводящих элементы и систему к критическим состояниям.

Анализ дерева событий может дать ответ на вопрос: какие аварийные ситуации могут возникнуть и какие вероятности этих событий? Ответы могу быть получены с помощью анализа потенциальных сценариев аварии. Последовательности потенциальных событий определяются начиная с исходного события и последующего анализа прочих событий, вплоть до того момента, когда авария либо происходит, либо предотвращается. Полную картину риска от промышленного объекта дает анализ всех возможных последствий.

Дерево событий обычно рисуется слева направо и начинается с исходного события. Этим исходным событием является любое событие, которое может привести к отказу какой-либо системы или компонента. В дереве событий исходные события связаны со всеми другими возможными событиями - ветвями, а каждый сценарий представляет собой путь развития аварии, состоящий из набора таких разветвлений.

Определив все исходные события и организовав их в логическую последовательность, можно получить большое число (тысячи для АЭС) потенциальных сценариев аварии. С помощью анализа дерева событий можно определить пути развития аварии, которые вносят наибольший вклад в риск из-за их высокой вероятности или потенциального ущерба. Анализ ветвей и путей развития аварии позволяет вносить изменения в конструкцию или эксплуатационные процедуры с учетом этих путей, обусловливающих наибольший вклад в суммарный риск. Методология дерева событий дает возможность:

§  описать сценарии аварий с различными последствиями от различных исходных событий;

§  определить взаимосвязь отказов систем с последствиями аварии;

§  сократить первоначальный набор потенциальных аварий и ограничить его лишь логически значимыми авариями;

§  идентифицировать верхние события для анализа дерева отказов.

Пример дерева событий, приведенный на рис.6, соответствует гипотетической последовательности событий при аварии с потерей теплоносителя в водоохлаждаемом реакторе АЭС (авария типа LOCA) [4]. Начальным событием служит разрыв трубопровода с вероятностью Н0. Следующие события: пребывание системы электроснабжения и в исправном состоянии с вероятностью S1 и в неисправном состоянии с вероятностью Н1; срабатывание системы аварийного охлаждения с вероятностью S2 и несрабатывание с вероятностью Н2; срабатывание системы удаления продуктов деления с вероятностью S3 и несрабатывание с вероятностью Н3; сохранение целостности защитной оболочки с вероятностью S4 и нарушение целостности с вероятностью Н4.

При развитии событий по верхней ветви дерева с вероятностью (в предположении о независимости исходных событий)

S = H1S2S3S4S5,                               (25)

ожидаются очень небольшие радиоактивные выбросы, при развитии по нижним ветвям - большие и очень большие выбросы.

А1 - Перепад напряжения Н1=0,006

А2 - Короткое замыкание Н2=0,0065

А3 - Ошибки при установке мерников с суспензией Н3=0,004

А4 - Работа со сварочным аппаратом Н4=0,001

А5 - Выход из строя мерников с суспензией

А6 - Наличие искры

А7 - Курящий рабочий Н7=0,0035

А8 - Нарушение правил пожарной безопасности

А9 - Локальное повреждение оборудования Н9=0,003

А10 - Источник зажигания Н10=0,0045

А11 - Очаг воспламенения

А12 - Образование взрывоопасной смеси

А13 - Возникновение пожара в помещении мерников

В1 - Порча по неосторожности Н14=0,0008

В2 - Диверсия Н15=0,0006

В3 -Случайное нарушение Н16=0,00087

В4 - Неправильная транспортировка Н17=0,00089

В5 - Случайное;

В6 - Умеренное

В7 - Нарушение целостности аппарата

В8 - Деформация аппарата

В9- Долгая работа Н22=0,00091

В10 - Заводской брак Н23=0,00075

В11 - Механическое повреждение

В12 - Перегрев подшипников

В13 - Нарушение работы насосов

С1- Слабые навыки в сложных ситуациях Н27=0,00085

С2 - Шоковое состояние Н28=0,00069

С3 - Отсутствие самообладания Н29=0,00083

С4 - Неправильная организация рабочего места Н30=0,00062

С5 - Бездействие Н31=0,0009

С6- Недисциплинированность Н32=0,00095

С7 -Выход из строя прибора контролируемого температуру Н33=0,00061

С8 - Ошибки технолога;

С9- Неправильный выбран материал для изготовления оборудования Н35=0,00079

С10 - Заводской Брак Н36=0,0015

С11 - Увеличение давления

С12 - Малая толщина стенок

С13 - Увеличение напряжения стенок аппарата

Д1 - Нарушение паспортных режимов Н40=0,00059

Д2 - Нарушение требований транспортировки Н41=0,0017

Д3 - Нарушение сборки и монтажа Н42=0,00065

Д4 - Нарушение правил эксплуатации и ремонта

Д5 - Дефект изготовления Н44=0,00099

Д6 - Нарушение сигнализации

Ж - Взрыв в помещении, где находятся мерники растворителей суспензии.

Расчет

Ветка 1

Н5=1-(1-Н1)*(1-Н2)*(1-Н3)=1-(1-0,006)*(1-0,0065)*(1-0,004)=1-0,994*0,9932*0,996=1-0,984=0,016

Н6=Н4=0,001

Н8=Н5=0,016

Н11=1-(1-Н6)*(1-Н7)*(1-Н8)=1-(1-0,001)*(1-0,0035)*(1-0,016)=1-0,999*0,9965*0,984=1-0,9796=0,02

Н12=1-(1-Н9)*(1-Н10)=1-(1-0,003)*(1-0,0045)=1-0,997*0,9955=1-0,993=0,007

Н13=1-(1-Н11)*(1-Н12)=1-(1-0,02)*(1-0,007)=1-0,98*0,993=1-0,973=0,027

Ветка 2

Н18=Н14=0,0008

Н19=Н15=0,0006

Н21=1-(1-Н18)*(1-Н19)=1-(1-0,0008)*(1-0,0006)=1-0,9992*0,9994=1-0,9986=0,0014

Н20=1-(1-Н16)*(1-Н17)=1-(1-0,00087)*(1-0,00089)=1-0,99913*0,99911=1-0,9982=0,0018

Н24=1-(1-Н21)*(1-20)=1-(1-0,0014)*(1-0,0018)=1-0,9986*0,9982=1-0,9968=0,0032

Н25=Н22=0,00091

Н26=1-(1-Н23)*(1-Н24)*(1-Н25)=1-(1-0,00075)*(1-0,0032)*(1-0,00091)=1-0,99925*0,9968*0,99909=1-0,9951=0,0049

Ветка 3

Н34=1-(1-Н27)*(1-Н28)*(1-Н29)*(1-Н30)*(1-Н31)*(1-Н32)=1-(1-0,00085)*(1-0,00069)*(1-0,00083)*(1-0,00062)*(1-0,0009)*(1-0,00095)=1-0,99915*0,99931*0,99917*0,99938*0,9991*0,99905=1-0,99517=0,0048

Н37=1-(1-Н33)*(1-Н34)=1-(1-0,00061)*(1-0,0048)=1-0,99939*0,9952==1-0,9946=0,0054

Н38=1-(1-Н35)*(1-Н36)=1-(1-0,00079)*(1-0,0015)=1-0,99921*0,9985=1-0,9977=0,0023

Н39=1-(1-Н37)*(1-Н38)=1-(1-0,0054)*(1-0,0023)=1-0,9946*0,9977=1-0,9923=0,0077

Ветка 4

Н43=1-(1-Н40)*(1-Н41)*(1-Н42)=1-(1-0,00059)*(1-0,0017)*(1-0,00065)=1-0,99941*0,9983*0,99935=1-0,9971=0,0029

Н45=1-(1-Н43)*(1-Н44)=1-(1-0,0029)*(1-0,00099)=1-0,9971*0,99901=1-0,9961=0,0039

Н46=1-(1-Н13)*(1-Н26)*(1-Н39)*(1-Н45)=1-(1-0,027)*(1-0,0049)*(1-0,0077)*(1-0,0039)=

=1-0,973*0,9951*0,9923*0,9961=1-0,957=0,043

Ветка А


Ветка Б


Ветка В


Ветка Г


Ветка Д


Ветка Е


Вывод: По сценарию №3 построены деревья отказов и событий. В результате полученных расчетов установлено, что наиболее опасной причиной развития аварий является: Возникновение пожара в помещении мерников суспензии.

9. Определение риска промышленных аварий при производстве полиэтилена


Риск аварии (теория вероятностей)

1. АВАРИЯ на ОПО - случайное событие

Под событием в теории вероятностей понимается всякий факт, который может произойти или не произойти.

.УЩЕРБ от аварии - случайная величина (СВ)Y. СВ называется величина, которая может принять то или иное значение, причем неизвестно заранее, какое именно)

. РИСК аварии - мера опасности вероятностная характеристика СВ ущерба от аварии Y.

Характеристика СВ

законы распределения СВ числовые характеристики СВ

для дискретной положения

N (людские потери): матожидание, мода, медиана

ряд и функция распределения

для непрерывной разброса: G (материальные потери): дисперсия, СКО функция и плотность распределения

Оценка риска аварии - определение закона распределения случайной величины ущерба У от аварии.

Таблица 7.

Случайная величина

Форма закона распределения СВ ущерба от аварии

Формальное описание

Традиционное название в риск-анализе

Дискретная СВ. Людские потери при аварии N

Ряд распределения N (графически - многоугольник распределения)


Полное описание сценариев аварии с гибелью людей


Функция распределения людских потерь N

F(n)=P(N≥n)

Социальный риск F/N -кривая

Непрерывная СВ. Материалы потери при аварии G

Функция распределения материальных потерь G

F(g)=P(G≥g)

Риск материальных потерь F/G -кривая


Плотность вероятности G (графически - кривая распределения)

ƒ(g)=F(g)=-F(g)

полное описание сценариев аварии с материальными потерями


Риск (R) определяется как произведение вероятности неблагоприятного события (аварии, катастрофы и т.д.) (Р) и ожидаемого ущерба в результате этого события (У).

R=P*У

R=0,9731*0.4624396=0.44999≈0.456%

Вывод: Рассчитан риск промышленной аварии, величина которого составляет: 46%

Выводы по работе

. Изучен технологический процесс производства полиэтилена. Самыми опасными аппаратами являются полимеризатор этилена, смеситель-разбовитель, холодильник-конденсатор.

. Произведен анализ пожаровзрывоопасных свойств веществ, участвующих в производстве. Этими веществами являются: циклогексан, триэтилалюминий, четыреххлористый титан, этилен, бензин

. Проведена оценка пожаровзрывоопасности среды при нормальной работе аппаратов. Наиболее опасным является четыреххлористый титан.

. Произведен расчет давления взрыва в трех аппаратах в зависимости от вещества для мерников растворителя, полимеризатора, холодильника - конденсатора.

Наиболее опасным является полимеризатор.

. Определена интенсивность взрыва по графику зависимости.

. Изучены основные показатели надежности и техногенного риска. Этими показателями являются: Безотказность, долговечность, ремонтопригодность, сохраняемость.

. Рассчитана вероятность безотказной работы по узлам технологической схемы при параллельном и последовательном соединении аппаратов. При этом получено следующие значения для системы равное 0,565, что является наименьшим, и поэтому лучше использовать параллельное соединение.

. Изучены причины повреждения аппаратов и появления характерных технологических источников зажигания.

. Изучены методы построения деревьев отказов и методы построения деревья событий.

. По сценарию №3 построены деревья отказов, деревья событий. В результате расчетов установлено, что наиболее опасной причиной аварии по сценарию №3 является: возникновение пожара в помещении.

. Рассчитан риск промышленной аварии, величина которой составляет 46%

авария полиэтилен пожаровзрывоопасность

Литература

1.    Техногенный риск: Анализ и оценка: учебное пособие для вузов,- м.: ИКЦ «Академкнига», 2004.-118 с.: ил

2.       РД08-120-96 «Методические указания по проведению анализа риска опасных промышленных объектов». М.: Госгортехнадзор России, 1996.

.        Белов П.Г. Теоретические основы системной инженерии безопасности. М.: Безопасность, 1996. 427 с.

.        Хенли Э.Дж., Кумамото Х. Надежность технических систем и оценка риск Пер. с англ. М.: Машиностроение, 1984.528 с.

.        Потапов Б.В., Радаев Н.Н. Экономика природного и технического рисков. М.: ФИД «Деловой экспресс», 2001. 513 с.

.        Шахраманьян М.А., Акимов В.А., Козлов К.А. Оценка природной и технической безопасности России: Теория и практика. М.: ФИД «Деловой экспресс», 1998. 218 с.

.        Махутов Н.А., Шокин Ю.И., Лепихин А.М., Москвичев В.В. Задачи механики катастроф и безопасности технических систем. Красноярск: Вычисл. Центр СО АН СССР, 1991. Препринт № 10.50 с.

.        ГОСТ 27.002-89* «Надёжность в технике. Термины и определения»

Приложение 1.

Технологическая схема производства полиэтилена

Похожие работы на - Анализ техногенного риска и обеспечение безопасности технологического процесса производства полиэтилена

 

Не нашли материал для своей работы?
Поможем написать уникальную работу
Без плагиата!
Без нейросетей!