Разработка комплекса мероприятий по обеспечению противопожарной защиты газоперерабатывающего предприятия в городе Уфа

  • Вид работы:
    Дипломная (ВКР)
  • Предмет:
    Безопасность жизнедеятельности
  • Язык:
    Русский
    ,
    Формат файла:
    MS Word
    247,95 Кб
  • Опубликовано:
    2012-06-12
Вы можете узнать стоимость помощи в написании студенческой работы.
Помощь в написании работы, которую точно примут!

Разработка комплекса мероприятий по обеспечению противопожарной защиты газоперерабатывающего предприятия в городе Уфа

Содержание

Введение

. Характеристика газоперерабатывающего предприятия в городе Уфа

. Технология производства газоперерабатывающего предприятия

.1 Применение сжиженных углеводородных газов

.2 Физико-химические свойства сжиженных углеводородных газов, обуславливающие возникновение аварии

.3 Переработка газа

.4 Статистика чрезвычайных ситуаций на предприятиях нефтегазового комплекса

.5 Анализ пожаровзрывоопасности газоперерабатывающего производства

.6 Предотвращение взрывов и взрывозащита производственного оборудования, зданий, сооружений и технологических процессов предприятий нефтегазопереработки

. Оценка риска аварий на газофракционирующей установке

.1 Разработка сценариев развития чрезвычайной ситуации методом построения дерева отказов

.2 Краткое описание рассматриваемой чрезвычайной ситуации

. Пожаровзрывозащита газофракционирующей установки газоперерабатывающего предприятия

.1 Анализ производства по пожаровзрывоопасности. Характеристика используемых в производстве веществ и материалов попожаровзрывоопасности

4.2 Описание расчетного сценария аварии

.3 Расчет показателей пожаровзрывоопасности газофракционирующей установки

.3.1 Расчет параметров волны давления

.3.2 Расчет размеров зон, ограниченных нижним концентрационным пределом распространения (НКПР) газов

.3.3 Расчет интенсивности теплового излучения при образовании «огненного шара»

.3.4 Расчет интенсивности теплового излучения при пожаре пролива

.4 Разработка мероприятий по предупреждению пожаров и взрывов на газофракционирующей установке

.4.1 Разработка автоматической системы пожаротушения

.4.1.1 Огнетушащие средства, используемые при тушении сжиженных углеводородных газов

.4.1.2 Автоматические стационарные установки пожаротушения

.4.1.3 Расчет расхода раствора пенообразователя

.4.1.4 Расчет расхода воды на охлаждение резервуаров

.4.1.5 Расчет количества пенообразующих устройств

.4.2 Системы автоматической пожарной сигнализации

. Планирование и технология выполнения аварийно-спасательных работ при ликвидации пожара на газоперерабатывающем предприятии

.1 Перечень превентивных мероприятий при авариях на пожаро- и взрывоопасных объектах

.2 Планирование, технология выполнения аварийно-спасательных работ в зоне аварии

.3 Районы расположения формирований и время их выдвиже-ния в зону чрезвычайной ситуации

.4 Организация разведки в зоне ЧС

.5 Организация пожаротушения

.5.1 Особенности тушения открытых технологических установок

.5.2 Выбор способов прекращения горения и огнетушащих веществ

.5.2.1 Водоснабжение

.5.2.2 Расчет сил и средств пожаротушения

. Организация управления ликвидацией ЧС

.1 Оповещение и сбор руководящего состава при возникновении чрезвычайной ситуации на газоперерабатывающем предприятии

.2 Структура управления ликвидацией чрезвычайной ситуации на газоперерабатывающем предприятии

.3 Решение председателя комиссии по чрезвычайным ситуациям и обеспечению пожарной безопасности - директора газоперера-батывающего предприятия при ликвидации чрезвычайной ситуации

.4 Организация взаимодействия сил ликвидации чрезвычайной ситуации

. Разработка мер по обеспечению экологической безопасности

.1 Меры безопасности при работах по тушению пожаров на объектах нефтегазоперерабатывающей отрасли

.2 Меры безопасности при проведении работ в завалах

.3 Меры безопасности при работах в условиях плохой видимости

.4 Выбор методов и средств индивидуальной защиты спасателей

.5 Организация обеспечения медицинской помощи

.6 Анализ воздействия поражающих, опасных и вредных факторов, возникающих при взрыве и пожаре пролива на газоперерабатывающем предприятии, на организм человека

. Оценка экономического ущерба при возникновении чрезвычайной ситуации на газоперерабатывающем предприятии

.1 Расчет затрат на локализацию аварии и ликвидацию ее последствий

.1.1 Затраты на питание ликвидаторов аварии

.1.2 Расчет затрат на оплату труда ликвидаторов аварии

.1.3 Расчет затрат на организацию стационарного и амбулаторного лечения пострадавших

.1.4 Расчет затрат на топливо и горюче-смазочные материалы

.1.5 Расчет затрат на амортизацию используемого оборудования и технических средств

.2 Определение величины экономического ущерба

Заключение

Приложение

Список использованных источников

Введение

Чрезвычайные ситуации, связанные с применением сжиженных углеводородных газов в настоящее время происходят все чаще, в связи с нарастанием объемов производства. Актуальность работы обусловлена тем, что ущерб от пожаров и взрывов в промышленно развитых странах имеет колоссальные размеры и тенденцию постоянного роста. По мере повышения уровня технической оснащенности производства, повышается и его пожаровзрывоопасность. Пожары и взрывы являются составной частью большинства чрезвычайных ситуаций на предприятиях нефтегазопереработки, что обуславливает необходимость и актуальность разработки мер, направленных на их предупреждение.

Целью дипломной работы является обеспечение безопасности, прогнозирование чрезвычайной ситуации и разработка мероприятий по проведению аварийно-спасательных и других неотложных работ на газоперерабатывающем предприятии в городе Уфа.

Для реализации поставленной цели, в работе решаются следующие задачи:

- проведен анализ аварийности на данном и аналогичных производствах, выявлены возможные причины и разработаны сценарии возникновения развития аварийной ситуации на объекте методом построения дерева отказов;

-        произведен расчет масштабов воздействия поражающих факторов ЧС;

         предложен комплекс мероприятий по проведению аварийно - спасательных и других неотложных работ в зоне поражения;

         изучена система управления за промышленной безопасностью на объекте и порядок взаимодействия формирований при ликвидации аварии;

         разработаны мероприятия по обеспечению безопасности при работе формирований в зоне поражения и оказанию медицинской помощи пострадавшим;

         рассчитан экономический ущерб от аварии.

Решение этих задач позволит повысить безопасность функционирования предприятия и его устойчивость к возникновению чрезвычайных ситуации, путем предложения комплекса мероприятий по снижению рисков возникновения аварий.

1. Характеристика газоперерабатывающего предприятия в городе Уфа

Газоперерабатывающее предприятие - филиал открытого акционерного общества «Акционерная нефтяная компания «Башнефть».

Предприятие предназначено для переработки попутного нефтяного газа с месторождений Республик Башкортостан и Татарстан и поступающей по трубопроводам и поступающей по трубопроводам широкой фракции легких углеводородов (ШФЛУ) от Оренбургского газового комплекса и месторождений Сибири.

Завод осуществляет прием и переработку ШФЛУ, поступающей в железнодорожных цистернах от других поставщиков.

Основными товарными продуктами завода являются:

газы углеводородные (пропан-бутановые фракции) сжиженные топливные для коммунально-бытового потребления;

изобутановая фракция;

фракция нормального бутана;

гексановая фракция;

бензин газовый.

Опасный производственный объект отнесен к декларируемым объектам по наличию воспламеняющихся газов 805,1 т и горючих жидкостей, находящихся в технологическом процессе 396,6 т [2].

Газоперерабатывающее предприятие расположено в Туймазинском районе на удалении 7 км к северо-западу г. Туймазы.

Площадь предприятия 27 га, в т.ч. технологические установки - 11.4 га, товарно-сырьевой парк - 16.4 га.

Климат района - умеренно-континентальный. Рельеф местности относительно ровный с редкими лесопосадками. Балки, овраги, естественные и искусственные водоемы отсутствуют. Территория объекта незатопляемая. Землетрясения, сели, лавины, карстовые явления на месте расположения объекта не наблюдались. Территория объекта не является сейсмически опасной [2]. Имеет ограждение по всему периметру. Круглосуточно территория объекта охраняется вневедомственной военизированной охраной.

Температура воздуха:

среднемесячная самого холодного месяца (январь) - минус 18,4˚С,

среднемесячная самого жаркого месяца (июль) - 25,6˚С,

абсолютный минимум - минус 50˚С,

абсолютный максимум - 40˚С,

Среднегодовая температура воздуха 2,8˚С,

Преобладающее направление ветра в течении года юго-западное. Среднегодовая скорость ветра - 3,1 м/с [2].

На газоперерабатывающем предприятии общая численность персонала составляет 228 человек, наибольшей рабочей смены - 130 человек, средняя численность - 114 человек, таблица 2.1.

Таблица 1

Составляющие декларируемого объекта

Численность, чел


Средняя смена

Наибольшая смена

компрессорная станция

9

17

эстакада

8

13

лаборатория

4

9

заводоуправление

36

36

участок переработки газа

17

28

товарно-сырьевой парк

6

8

ремонтно-механическая мастерская

11

32

Контрольно-измерительные приборы и аппараты

6

16

электроцех

7

14

лаборатория наладки и измерения

2

5

участок водоснабжения

3

7

котельная

4

6

экологическая лаборатория

1

3

транспортный участок

9

19

медицинский пункт

1

1

газоспасательный пункт

5

10


2. Технология производства газоперерабатывающего предприятия

.1 Применение сжиженных углеводородных газов

Сжиженные газы широко применяют в качестве сырья для нефтехимической промышленности, используют как моторное топливо, а также бытовое топливо для газификации населенных пунктов, предприятий, животноводческих ферм и т.д.

Основной потребитель сжиженных газов в настоящее время - это нефтехимические производства. Этан, пропан, н-бутан, а также газовый бензин и гексан служат сырьем для производства этилена, из которого получают этиловый спирт, глицерин, этиленгликоль, дихлорэтан, хлористый этил и др. При дальнейшей переработке этих веществ получают лаки, растворители, красители, моющие средства, синтетический каучук, полиэтилен, полипропилен [1].

В промышленности сжиженные углеводородные газы используются для термической обработки и резки черных металлов, для сварки и пайки цветных металлов, для поверхностной закалки и сушки. Применение газа для технологических нужд промышленности снижает стоимость топлива, способствует повышению производительности и улучшению качественных показателей работы агрегатов, а в химической промышленности улучшает технико-экономические показатели производства и позволяет уменьшить использование других веществ.

Сжиженные газы получают из попутного нефтяного газа, который добывается вместе с нефтью на нефтяных месторождениях.

Добытый на месторождениях нефтяной газ представляет собой смесь различных углеводородов, водяных паров, азота, а иногда и кислых компонентов: углекислоты и сероводорода. Транспортировать такой газ по трубопроводам на относительно большие расстояния и под давлением выше 0,7 МПа практически невозможно, так как водяные пары и тяжелые углеводороды при понижении температуры конденсируются, образуя жидкостные, ледяные и гидратные пробки, поэтому нефтяной газ подвергается переработке на газоперерабатывающих заводах [3].

При больших масштабах производства и переработки углеводородного сырья возрастают вероятность и степень опасности взрывов и пожаров. Размеры ежегодного материального ущерба от пожаров и взрывов во всех технически развитых странах имеют тенденцию к неуклонному росту. При этом увеличиваются размеры материального ущерба от каждого отдельного случая взрыва или пожара, так как с непрерывным ростом масштабов производства увеличиваются единичная мощность установок и концентрация на производственных площадях горючих и взрывоопасных продуктов и, прежде всего, сжиженных углеводородных газов. Наибольшее число крупных пожаров и взрывов на складах и открытых площадках обусловлено утечкой ЛВЖ и сжиженных углеводородных газов. Для выявления причин аварий на предприятиях газоперерабатывающей отрасли необходимо рассмотреть физико-химические свойства газа, особенности технологических процессов, статистику характерных чрезвычайных ситуаций в России и в мире [4].

.2 Физико-химические свойства сжиженных углеводородных газов, обуславливающие возникновение аварии

Давление паровой фазы. Пары сжиженных углеводородных газов обладают значительной упругостью (давлением), которая возрастает с повышением температуры. Для жидкой фазы углеводородов характерен высокий коэффициент объемного расширения, она может охлаждаться до отрицательных температур. Паровая фаза имеет плотность, значительно превышающую плотность воздуха, обладает медленной диффузией, способна накапливаться в низких местах и колодцах, особенно при отрицательных температурах воздуха, в отличие от других газов имеет низкую температуру воспламенения и низкие значения пределов взрываемости (воспламеняемости) в воздухе, способна образовывать конденсат при низких температурах воздуха или при повышении давления.

Сжиженные углеводородные газы в закрытых сосудах и газопроводах находятся под давлением, которое соответствует упругости их паров при данной температуре. Давление в сосудах изменяется пропорционально температуре [5].

Обеспечение герметичности сосудов, газопроводов, запорной и регулирующей арматуры, а также их соединений является условием полной безопасности и безаварийности при хранении, розливе и транспортировке сжиженных газов. При заполнении сосудов сжиженными газами сверхдопустимого возможно повышение давления, приводящее к аварии, поэтому резервуары и баллоны полностью не заполняют, а оставляют некоторый объем, занимаемый парами сжиженных газов. Степень заполнения резервуаров и баллонов принимается в зависимости от марки газа, разности его температур во время заполнения и при последующем хранении. При разности температуры до 40°С степень заполнения принимается 85%, а при большей разности она должна соответственно снижаться [5].

Конденсатообразование. Нагрев жидкой фазы вызывает ее испарение, увеличение массы насыщенных паров при одновременном повышении их температуры и давления (упругости). При охлаждении паровой фазы возникает обратный процесс - конденсатообразование. В связи с периодическими понижениями и повышениями температуры окружающей среды (воздуха, земли) в течение суток и года, а также в результате отбора паровой фазы в резервуарах и баллонах, заполненных сжиженными углеводородными газами, непрерывно происходит процесс тепломассообмена между жидкой и паровой фазами. Он более интенсивен, если жидкая и паровая фазы находятся в различных температурных условиях (например, подземные резервуары групповых установок в зимнее время находятся в зоне более высоких температур, чем выходящие из земли газопроводы). В установках сжиженного газа, смонтированных без учета процесса конденсатообразования в паровой фазе, газоснабжение нарушается и возникают аварии [5].

Для предупреждения указанных нарушений необходимо резервуары и трубопроводы насыщенных паров располагать в зоне одинаковых температур, предусматривать возможность беспрепятственного стока конденсата из газопроводов обратно в резервуар. Значительную опасность представляет конденсат, образующийся в трубопроводах паровой фазы перед компрессорами, Для предотвращения попадания конденсата в компрессоры предусматривается обязательная установка конденсатоотводчиков на всасывающих трубопроводах смеси углеводородов. Насыщенные пары конденсируются при понижении температуры или повышении давления, поэтому они не могут транспортироваться по трубопроводам без постоянного отвода конденсата или дополнительного подогрева.

Для предотвращения конденсатообразования входы в здания должны быть наружными, цокольными, утепленными. Подземные газопроводы от резервуарных установок с искусственным испарением, оборудованные нагревателями-регазификаторами, необходимо прокладывать ниже глубины промерзания или с тепловым спутником, обеспечивающим положительную температуру сжиженного газа [5].

Охлаждающее действие сжиженных газов. В зимнее время сжиженные углеводороды могут охлаждаться до температур ниже точки кипения и сохранять при этом свойства жидкости. Это объясняется тем, что пропан отвердевает при -189°С, а н-бутан при -135°С. Переохлажденные жидкости в испарение сжиженных углеводородов сопровождается отбором тепла из окружающей среды, что служит дополнительной причиной глубоких обмораживаний. Одной из особенностей сжиженных углеводородных газов является значительное понижение температуры при испарении жидкой фазы в летнее время.

Пожаро- и взрывоопасностъ. Пожароопасность сжиженных газов характеризуется следующими свойствами: высокой температурой горения, значительной теплотой, выделяющейся при сгорании газовоздушной смеси, низкими пределами воспламеняемости (взрываемости) и температурой воспламенения паровой фазы, потребностью большого количества воздуха при горении [6].

Под концентрационными пределами воспламеняемости понимается минимальное (нижний предел) и максимальное (верхний предел) содержание в воздухе горючих газов, за пределами которого их воспламенение любыми источниками огня невозможно. Пределы воспламеняемости выражаются в процентах по объему при нормальных условиях газовоздушной смеси. С увеличением температуры газовоздушной смеси пределы воспламеняемости расширяются.

При горении углеводородных газов в большом количестве образуются продукты сгорания, которые содержат мало кислорода, необходимого для дыхания человека. Сжиженные углеводородные газы тяжелее воздуха и при утечках распространяются по земле, заполняя низкие места (впадины, колодцы, приямки и другие подземные коммуникации). Таким образом, газ может распространиться на значительные расстояния (до нескольких сотен метров).

Большую опасность представляют хранилища газа в наземных резервуарах и баллонах. При пожарах в случае возгорания газов характерны быстрое развитие огня, высокая интенсивность тепловыделения, возможность взрывов баллонов и резервуаров, малая эффективность обычных средств пожаротушения.

Часто пожару предшествует взрыв, возникающий в результате воспламенения и горения газовоздушной смеси в ограниченном объеме: производственном помещении, подвале, канале, колодце, резервуаре, топке котла или печи. Горение в этом случае сопровождается нагревом и расширением газов, что приводит к быстрому повышению давления, влекущему за собой разрушение строительных конструкций [6].

Для газоснабжения согласно ГОСТ 20448-90 «Газы углеводородные сжиженные топливные для коммунально-бытового потребления» используют сжиженные углеводородные газы нескольких марок: СПБТЗ - смесь пропана и бутана технических зимняя, СПБТЛ - смесь пропана и бутана технических летняя и БТ - бутан технический (табл. 1 приложения А).

Газы углеводородные сжиженные топливные образуют с воздухом взрывоопасные смеси при концентрации паров в % объемных от 1,5 до 9,5%. Характеристики углеводородов в составе сжиженных газов приведены в табл.2 приложения А [7].

Взрывоопасность газоперерабатывающего производства определяется не только объемами и свойствами обращающихся веществ, но в значительной мере характером и особенностями технологических процессов.

.3 Переработка газа

Попутные нефтяные газы выделяются с нефтью при ее добыче из нефтяных скважин. С каждой тонной добываемой нефти получают в среднем около 50 м3 газов. Некоторая часть из них уходит сразу же при извлечении нефти на поверхность земли. Другая часть газов остается растворенной в нефти и их затем отгоняют на специальных установках. Попутные газы содержат смесь различных углеводородов, водяные пары, азот, а иногда кислые компоненты: углекислоту и сероводород. Транспортировать такой газ по трубопроводам на относительно большие расстояния и под давлением выше 0,7 МПа практически невозможно, так как водяные пары и тяжелые углеводороды при понижении температуры конденсируются, образуя жидкостные, ледяные и гидратные пробки [1].

На газоперерабатывающих заводах с полным технологическим циклом существуют пять основных технологических процессов:

прием, замер и подготовка нефтяного газа к переработке, т.е. сепарация, очистка, осушка;

компримирование газа до давления, необходимого для переработки и транспортирования по магистральным газопроводам до потребителей;

отбензинивание газа, т.е. извлечение из него нестабильного газового бензина;

разделение нестабильного бензина на газовый бензин и индивидуальные технически чистые углеводороды пропан, изобутан, н-бутан;

прием, хранение и отгрузка железодорожным транспортом или по трубопроводам жидкой продукции завода [1].

Основным технологическим процессом газоперерабатывающего завода является процесс отбензинивания. Применяют четыре способа отбензинивания:

компрессионный,

низкотемпературная конденсация и ректификация,

абсорбционный,

адсорбционный.

Компрессионный способ отбензинивания основан на сжатии и последующем охлаждении газа в воздушных и водяных холодильниках; при этом некоторая часть тяжелых углеводородов и паров воды, входящих в состав газа, конденсируется, а затем отделяется в сепараторах [1].

Компрессионный способ как самостоятельный применяют крайне редко и только для отбензинивания очень «жирных» газов с содержанием С3Н8+ высшие от 1000 г/м3 и выше. Этот способ не обеспечивает достаточной глубины извлечения целевых компонентов из газа и обычно сочетается с другими способами отбензинивания.

В процессе низкотемпературной конденсации сжатый газ охлаждается до низких температур специальными хладагентами (пропаном, аммиаком), в результате чего значительная часть газа конденсируется. Углеводородный конденсат, содержащий все углеводороды, входящие в состав исходного газа, отделяется в сепараторе и затем подается в ректификационную колонну - деэтанизатор. Сверху колонны отводится метан и этан, а снизу - нестабильный газовый бензин [1].

Применение способа низкотемпературной конденсации целесообразно, когда в сырьевом газе содержание С3Н8+ высшие превышают 300 г/м3 и из газа извлекают гелий.

Низкотемпературная ректификация отличается от процесса низкотемпературной конденсации тем, что процесс ректификации происходит при более низкой температуре и в ректификационную колонну поступает двухфазная смесь: охлажденный газ и выпавший из него углеводородный конденсат. Сверху колонны уходит отбензиненный газ, а снизу - деметанизированный углеводородный конденсат. Этан из конденсата отделяют во второй колонне - деэтанизаторе.

Абсорбционный способ отбензинивания основан на различной растворимости компонентов газа в жидких нефтепродуктах, применяемых в качестве абсорбентов - поглотителей.

Процесс отбензинивания проводят в цилиндрической колонне, называемой абсорбером. Абсорбер по высоте разделен поперечными перегородками - барботажными тарелками, на которых происходит контактирование восходящего снизу вверх потока газа и стекающего вниз абсорбента. По мере подъема газа от нижней тарелки до верхней, содержащиеся в газе тяжелые углеводороды постепенно растворяются в абсорбенте, и сверху абсорбера отводится отбензиненный газ, почти не содержащий тяжелых углеводородов [1].

Снизу абсорбера отводится насыщенный абсорбент, который направляется на следующую стадию - десорбцию. На этой стадии благодаря нагреву и снижению давления происходит отпарка из абсорбента поглощенных из газа углеводородов, которые, покидая десорбер сверху, проходят через конденсаторы-холодильники, где конденсируются и образуют нестабильный газовый бензин. Применение абсорбционного способа наиболее рационально для отбензинивания газов, содержащих от 200 до 300 г углеводородов С3Н8+ высшие в 1 м3.

При переработке нефтяных газов с содержанием С3Н8+ высшие от 50 до 100 г/м3 применяют адсорбционный способ отбензинивания. Он основан на свойстве твердых пористых материалов поглощать пары и газы. В качестве адсорбента обычно используют активированный уголь, который поглощает из газа преимущественно тяжелые углеводороды и постепенно насыщается ими. Для отгонки поглощенных углеводородов и восстановления адсорбционной способности насыщенный уголь обрабатывают перегретым водяным паром. Смесь водяных и углеводородных паров, отогнанных из адсорбента, охлаждается и конденсируется. Полученный нестабильный бензин легко отделяется от воды [1].

Полученный в результате переработки осушенный и отбензиненный нефтяной газ можно транспортировать до потребителей по трубопроводам под высоким давлением на расстояние в сотни и тысячи километров.

Технологические процессы переработки газа осуществляются при высоких температурах и высоком давлении, что создает предпосылки для возникновения ЧС, положение усугубляется существенным износом оборудования и пожаровзрывоопасными свойствами перерабатываемого сырья и получаемых продуктов [8].

2.4 Статистика чрезвычайных ситуаций на предприятиях нефтегазового комплекса

Анализ характера и причин аварий в нефтегазовой промышленности показывает, что в последнее десятилетие большинство из них (около 95 %) связано со взрывами: 54% в аппаратуре, 46% в производственных зданиях и на открытых технологических площадках. Статистика ЧС за 2000-2005 гг показывает, что из общего количества взрывов в 42,5% случаев происходят взрывы сжиженных углеводородных газов. При залповых выбросах горючих 7 % не сопровождаются воспламенением, 35% завершаются взрывами, в 23% случаев взрывы сочетаются с пожарами, 34% сопровождаются только пожарами (рисунок 1) [9].

Рисунок 1 - Диаграмма последствий залповых выбросов СУГ

Аварийность промышленных предприятий имеет тенденцию к росту, о чем свидетельствует статистика аварий в Российской Федерации и в мире.

В 1984 в пригороде Мехико Сан-Хуан в хранилище сжиженных нефтяных газов в результате утечек большого их количества из трубопровода и резервуара произошло несколько взрывов, начался пожар. Погибло более 500 человек, больше 7000 получили травмы [10].

В 2000 году в Якутске произошел пожар в результате несанкционированного отбора продукции с эксплуатационной колонны оператором ГПЗ. Отбор производился в месте, где расположен уровнемер. Температура продуктов в колонне на момент аварии составляла 770С (тогда как при атмосферном давлении температура кипения получаемой продукции 380С), т.е. фактически производился слив кипящего раствора, что является грубейшим нарушением правил пользования газофракционирующей установкой. Канистра, в которую непосредственно направлялся кипящий раствор, разорвалась и произошло воспламенение. Причиной возгорания продукта предположительно является искра, возникшая либо в результате разряда статического электричества, либо в результате удара оторвавшейся горловины канистры о находящееся внутри газофракционирующей установки оборудование [11].

В 2002 году на Сосновском газоперерабатывающем заводе (Вуктыльский район Коми) во время ремонтных работ по устранению свища в одной из веток конденсатопровода произошел взрыв, при этом погиб один человек и шестеро получили ожоги различной степени тяжести [11].

В 2004 в Алжире на газоперерабатывающем заводе в результате коррозии взорвался резервуар со сжиженным пропаном, 27 человек погибло, 74 человека получили травмы различной степени тяжести.

В 2005 году в Муравленко (Ямало-Ненецкий автономный округ, ЯНАО) на газоперерабатывающем заводе при вскрытии тепловой камеры произошла вспышка паров газа без распространения пламени и горения, в результате которой пострадали 4 человека [13].

В 2005 году на Ново-Уфимском нефтеперабатывающем заводе прогремел сильный взрыв, причиной взрыва стал прорыв трубопровода газовой магистрали в цехе гидроочистки бензина. Жертв и пострадавших нет [13].

На основании вышеизложенных данных можно сделать вывод, что к наиболее тяжелым последствиям приводят аварии, связанные с разрушением сборников, содержащих сжиженные газы, или со взрывами газовых смесей внутри резервуаров при их переполнении, повышении температуры сверхдопустимой, применении несоответствующих материалов и низком качестве изготовления сосудов. Основными причинами аварий являются ошибки и нарушение правил техники безопасности персоналом, неисправность и изношенность оборудования (рисунок 2) [12].

Рисунок 2 - Причины возникновения аварий на предприятиях нефтегазопереработки

- ошибки персонала (30%); 2 - нарушение технологического процесса (25%); 3 - отказы средств регулирования и защиты (20%); 4 - пропуск через фланцевые соединения (10%); 5 - коррозия (5%); 6- механические повреждения (5%); 7 - сои в подаче электроэнергии (5%).

2.5 Анализ пожаровзрывоопасности газоперерабатывающего производства

Характерные аварии в газоперерабатывающей промышленности подразделяются на взрывы на открытых установках и в производственных помещениях, вызванные выбросами по каким-либо причинам горючих и взрывоопасных веществ в атмосферу, и взрывы внутри технологического оборудования, сопровождаемые его разрушением и выбросом горючих продуктов, что влечет за собой вторичные взрывы или пожары в атмосфере.

Основное количество аварий связано с ведением химико-технологических процессов (81%) , с подготовкой оборудования к ремонту, ремонтными работами или приемом оборудования из ремонта (13%), по другим причинам (6%).

Аварии в газоперерабатывающей промышленности являются следствием несовершенства отдельных технических средств, недостатков проектов, а также ошибочных действий производственного персонала. На основании обобщения и анализа результатов технического расследования аварий на предприятиях отрасли выявлены следующие основные причины и условия возникновения и развития аварий [14]:

- пожаровзрывоопасные свойства применяемого сырья, конечных и побочных продуктов;

- аппаратное оформление - наличие на установке аппаратов, находящихся под давлением, высокая плотность расположения оборудования (вероятность развития сценария с эффектом «домино»), значительные объемы взрывоопасных материалов, находящихся в аппаратах;

ведение процесса при сравнительно высоких давлениях (до 1,6 МПа) и высоких температурах (до 250 ºС);

выход параметров технологического процесса за критические значения - изменение давления, изменение температуры, изменение уровня жидкости, изменение состава сырья, изменение дозы и скорости подачи сырья;

нарушение герметичности оборудования. Наибольшее число случаев разгерметизации технологических систем связано с повышенной скоростью коррозии металла, сверхдопустимым износом оборудования и трубопроводов, некачественным выполнением сварных швов, пропуском через прокладки фланцевых соединений, недостаточным уплотнением сальниковых набивок, конструктивными недостатками аппаратов, сброс продукта через предохранительные клапана в атмосферу без сжигания;

неисправность средств регулирования и противоаварийной защиты процессов. Пятая часть взрывов, пожаров и загораний на предприятиях газоперерабатывающей промышленности обусловлена несовершенством, неисправностью или необоснованным отключением контрольно-измерительных приборов, блокировок и других средств автоматического управления процессом. Наибольшую опасность представляют отказы в работе средств регулирования заданных параметров: температуры, давления, уровней жидкости в аппаратуре, скорости дозирования и состава материальных сред, которые, в конечном итоге, приводят к разгерметизации технологического оборудования, выбросам в атмосферу взрывоопасных продуктов и крупным авариям. Многие отклонения режима, вызванные отказами и средств регулирования, являются также и причиной возникновения источников воспламенения или импульсов взрыва [22];

- непрофессиональные и ошибочные действия обслуживающего персонала, в том числе, при проведении сварочных и ремонтных работ, неудовлетворительная ревизия состояния оборудования и трубопроводов; нарушение правил технической эксплуатации, а также некомпетентность при принятии решений в экстремальных ситуациях;

- невыполнение на предприятиях графиков планово-предупредительного ремонта оборудования, некачественный монтаж или ремонт оборудования;

- возможность появления источника воспламенения - образование зарядов статического электричества при движении газов и жидкостей по аппаратам и трубопроводам, применение тока высокого напряжения для электродвигателей, применение при производстве работ инструментов, дающих при ударах искру, производство ремонтных работ с применением открытого огня, неисправность или отсутствие средств молниезащиты и защиты от статического электричества, нарушение правил противопожарной дисциплины, неисправность заземления и изоляции электрооборудования, неисправность средств пожаротушения, открытые форсунки печей [19].

Таким образом, выявленные основные причины, условия возникновения и развития взрывов показывают, что низкий уровень обеспечения взрывопожаробезопасности отдельных предприятий создает повышенную вероятность возникновения на них взрыва.

2.6 Предотвращение взрывов и взрывозащита производственного оборудования, зданий, сооружений и технологических процессов предприятий нефтегазопереработки

Взрывобезопасность производственных процессов, зданий, сооружений, производственного оборудования обеспечивают мерами по взрывопредупреждению и взрывозащите, организационными и организационно-техническими мероприятиями в соответствии с действующими нормативно-техническими документами.

Взрывопредупреждение - комплекс организационных и технических мер, предотвращающих возможность возникновения взрывов и направленных на исключение условий образования взрывоопасных газовоздушных смесей и источников их зажигания [24].

Взрывозащита - комплекс технических мер, предотвращающих воздействие на людей опасных и вредных факторов взрыва и обеспечивающих сохранение производственного оборудования, зданий, сооружений, сырья и готовой продукции. Так как необходимым и достаточным условием возникновения взрыва является наличие взрывоопасной газовоздушной (смеси с содержанием горючего в пределах области воспламенения) и источника инициирования взрыва (источника зажигания смеси достаточной мощности и температуры), то для предотвращения взрыва необходимо исключить эти условия или хотя бы одно из них. Основные направления мероприятий по взрывопредупреждению представлены на рисунке 3.

Для обеспечения защиты людей и материальных ценностей при возникновении взрыва должны быть предусмотрены меры, предотвращающие воздействие следующих опасных факторов взрыва:

- пламени и высокотемпературных продуктов горения;

-        давления взрыва;

         высокоскоростных газовоздушных потоков;

         ударных волн;

         обрушившихся конструкций зданий и сооружений и разлетающихся элементов строительных конструкций, производственного оборудования и коммуникаций [24].

Основные направления технических мер по взрывозащите представлены на рисунке 4.

Рисунок 3 - Мероприятия по взрывопредупреждению на газоперерабатывающем предприятии

Рисунок 4 - Мероприятия по пожаровзрывозащите

Таким образом, в разделе произведен анализ аварийности объектов газоперерабатывающей промышленности, рассмотрены особенности технологического процесса, пожаровзрывоопасные свойства сжиженных углеводородных газов, выявлены причины возникновения аварий и условия их возникновения.

3. Оценка риска аварий на газофракционирующей установке

Прогнозирование частоты аварий проводится на основе статистический данных. В разделе 1 приведена статистика ЧС на предприятиях нефтепереработки и причин их возникновения. Аварийные ситуации, связанные со взрывами и пожарами на газоперерабатывающих заводах, как правило, влекут за собой значительные потери среди людей, разрушения технологического оборудования, а также значительный материальный ущерб. Крупные аварии обычно характеризуются комбинацией случайных событий, которые возникают с различной частотой и на разных стадиях развития аварии. Для выявления причинно-следственных связей между ними используется метод логико-графического анализа «дерево событий».

Следует отметить, следующие общие специфические особенности СУГ [10]:

при температуре окружающей среды содержимое резервуара, представляет собой двухфазную среду (жидкость-пар) с давлением, превышающим атмосферное (иногда в 7-8 раз);

разгерметизация резервуара в любой её точке приводит к истечению жидкой или парообразной среды с образованием в окружающем пространстве взрывоопасного паровоздушного облака;

при истечении жидкой фазы определенная часть её (в некоторых случаях до 40%) мгновенно испаряется, остальная часть жидкости образует зеркало пролива, из которого происходит интенсивное испарение продукта;

СУГ являются горючими веществами, минимальные энергии зажигания смесей паров которых с воздухом низки;

сгорание взрывоопасных паровоздушных облаков приводит к образованию ударных волн с тем или иным разрушением окружающих объектов.

Сжиженный пропан относится к жидкостям, у которых критическая температура выше, а точка кипения ниже окружающей среды. Основное отличие жидкостей данной категории заключается в явлении «мгновенного испарения», которое возникает тогда, когда в системе, включающей жидкость, находящуюся в равновесии со своими парами, понижается давление. Через некоторое время устанавливается новое состояние равновесия, причем температура кипения жидкости будет ниже. Доля мгновенно испарившейся жидкости зависит от температуры окружающей среды. Мгновенное испарение протекает интенсивно. Как только внешняя поверхность массы жидкости освобождается от своего пара, и внешний слой распадается, происходит освобождение нижнего слоя. При этом образующийся при расширении пара импульс приводит к выносу пара в окружающую атмосферу, где он смешивается с воздухом, образуя облако паровоздушной смеси. Размер парового облака, образующегося при полном разрушении резервуара со сжиженным газом, будет зависеть от степени заполнения сосуда жидкостью в момент разрыва. Чем меньше степень заполнения резервуара, тем меньше возрастает первоначальный объем пара.

При пробое резервуара выше уровня жидкости, выброс пара при давлении в резервуаре будет продолжаться до тех пор, пока вся жидкость не испарится. Хотя при этом от окружающей среды подводится тепло, содержимое будет охлаждаться до температуры, зависящей от размера отверстий.

При пробое резервуара ниже уровня жидкости в отверстии плоской стенки, скорее всего можно ожидать появление однофазного потока жидкости. При этом мгновенное испарение будет происходить с внешней стороны места утечки.

Образование парового облака может привести к трем типам опасностей: крупному пожару, взрыву парового облака, токсическому воздействию [10].

Учитывая характер поведения сжиженного пропана, построено блок-схема развития различных аварийных ситуаций на газофракционирующей установке, на основании блок-схемы, построено дерево событий (рисунок 5).

Вероятность возникновения инициирующего события - разрушение емкости с выбросом пропановой фракции, принята равной 1.

Значение частоты возникновения отдельного события или сценария пересчитывается путем умножения частоты возникновения инициирующего события на условную вероятность развития аварии по конкретному сценарию.

Значение частоты возникновения сценария аварийной ситуации при разрушении резервуара содержащего пропановую фракцию, с образованием огненного шара равно:

Ро.ш. = Р1· Р13 · Р37 · Р712 = 1·0,2·0,1·0,03= 6·10-4 (1)

Вероятность возникновения факельного горения:

Рфак = Р1·Р12·Р25 = 1·0,8·0,4= 0,32 (2)

 

Вероятность возникновения пожара пролива:

Рп.п. = Р1·Р13·Р37·Р713 =1·0,2·0,1·0,03= 6·10-4 (3)

Рисунок 5 - Дерево событий возникновения аварий на газофракционирующей установке

1 - разрушение резервуара с выбросом пропана;

- длительное истечение продукта;

- мгновенная разгерметизация;

- образование парогазовоздушного облака;

- факельное горение;

- нет источника воспламенения;

- есть источник воспламенения;

- рассеяние облака;

-взрыв газовоздушной смеси;

- рассеяние облака;

- взрыв газовоздушной смеси;

- огненный шар;

- пожар пролива.

Вероятность возникновения взрыва:

Рвзрыв = Р911= Р1·Р12·Р24·Р49+ Р1·Р13·Р37·Р711 =1·0,8·0,4·0,2+

+1·0,2·0,1·0,03= 6,4·10-2+6·10-4=6,46·10-2 (4)

Таким образом, наиболее вероятным сценарием развития аварии является факельное горение при длительном истечении продукта, но, учитывая статистику ЧС, связанных с разрушением резервуаров, наибольшие разрушающие последствия имеют залповые выбросы больших объемов продукта (мгновенная разгерметизация) с последующим взрывом, поэтому будет рассматриваться именно этот сценарий.

3.1 Разработка сценариев развития чрезвычайной ситуации методом построения дерева отказов

Учитывая все свойства обращающихся веществ и особенности технологического режима, рассматривая причины возникновения аварийных ситуаций, было составлено дерево отказов развития аварийных ситуаций, которое представлено на рисунке 6:

Прекращение подачи электроэнергии приведет к резкому увеличению температуры теплоносителя в змеевиках печи, переполнению емкостей орошения и подъему давления в колоннах и емкостях.

Прекращение подачи воздуха КИП и А приводит к отказу в работе регуляторов уровней, давлений и температуры, отказ в работе КИП и А приведет к переполнению колонн и емкостей, повышению давления и температуры в аппаратах.

Прекращение подачи воды оборотного водоснабжения приведет к повышению давления в колоннах и емкостях вследствие прекращения конденсации паров продуктов в конденсаторах-холодильниках.

Выход из строя насосов приведет к переполнению емкостей орошения и подъему давления в аппаратах [2].

Аварийные ситуации на рассматриваемом объекте возникают вследствие разрушения (полного или частичного) колонн, емкостного оборудования, трубопроводов, поэтому именно эти варианты аварий и выбираются в качестве типовых сценариев.

.2 Краткое описание рассматриваемой чрезвычайной ситуации

Анализ имеющихся данных, природно-климатических сведений о районе расположения завода показал, что наиболее опасным вариантом развития аварии будет полная разгерметизация емкости орошения с пропаном объемом 16 м3 на открытой площадке.

Сжиженный пропан в емкости орошения находится под давлением 1,6 МПа, при температуре 50ºС. Причиной разгерметизации емкости орошения послужили нарушение технологического процесса (прекращение подачи воды оборотного водоснабжения привело к прекращению конденсации паров продуктов в конденсаторах-холодильниках, это привело к повышению давления в емкости орошения), нарушение герметичности аппарата (коррозия сварного шва) и отказ предохранительного клапана.

Рисунок 6 - «Дерево отказов» развития аварии на газофракционирующей установке.

Произошел залповый выброс сжиженного пропана, часть пропана мгновенно испарилась, образовав облако паровоздушной смеси, жидкая фаза вылилась на подстилающую поверхность, образовав зеркало пролива.

Источником воспламенения послужила искра, созданная падающими конструкциями разрушенной емкости. При воздействии источника воспламенения произошел взрыв облака паровоздушной смеси и пожар пролива.

Авария произошла летом, месяц - июль, в 15.30, смена находится на рабочих местах и воздействию опасных факторов подвержено максимальное количество людей, скорость ветра - 1 м/с. Вследствие воздействия поражающих факторов взрыва, здания на различном расстоянии от центра взрыва будут подвержены полным, сильным, средним и слабым разрушениям. Люди, находящиеся на открытых площадках, в зданиях и сооружениях получат смертельные и травмирующие поражения. Расчет воздействия поражающих факторов ЧС проводится в разделе 4.

4. Пожаровзрывозащита газофракционирующей установки газоперерабатывающего предприятия

4.1 Анализ производства по пожаровзрывоопасности. Характеристика используемых в производстве веществ и материалов по пожаровзрывоопасности

В нефтегазовом комплексе используется и перерабатывается большое количество горючих и взрывоопасных материалов. Для повышения безопасности технологических процессов необходима правильная оценка взрыво- и пожароопасности этих процессов и выполнение ряда мероприятий, направленных на более рациональное проектирование и безопасную эксплуатацию.

Участок переработки газа относится к взрывопожароопасным производствам категории «А». Производства, относящиеся к данной категории, связаны с применением или получением горючих газов, нижний предел воспламенения которых составляет 10% и менее по отношению к объему воздуха, жидкостей с температурой вспышки паров до 28ºС при условии, что указанные газы и пары могут образовывать взрывоопасные смеси.

Основными факторами, определяющими опасность участка, являются:

наличие и применение в больших количествах сжиженных и газообразных углеводородов;

применение открытого огня в печах для нагрева теплоносителя и абсорбента;

ведение процесса при сравнительно высоких давлениях (до 1,6 МПа) и высоких температурах (до 250ºС);

применение тока высокого напряжения для электродвигателей;

возможность образования зарядов статического электричества при движении газов и жидкостей по аппаратам и трубопроводам [3].

Пожаровзрывоопасность газофракционирующей установки обусловлена физико-химическими свойствами перерабатываемых веществ и получаемых продуктов. Сильная зависимость параметров газа от температуры является основным источником опасностей в газовом хозяйстве (таблица 2).

Таблица 2

Т °С

Пропан


Рабс, МПа

rж, кг/м3

rn, кг/м3

-60

0,04

606

1,11

-55

0.05

598

1.36

-50

0,06

593

1,81

-45

0,09

587

2.07

-40

0,11

581

2.61

-35

0.14

575

3.25

-30

0.17

565

3,87

-25

0.20

559

4.62

-20

0.24

553

5,48

0.29

548

6.40

-10

0,34

542

7.57

-5

0,41

535

9.05

0

0.47

528

10,37

5

0,55

521

11,90

10

0.63

514

13.60

15

0.73

507

15,51

20

0.83

499

17.74

25

0.95

490

20.15

30

1.07

483

22.80

35

1.21

474

25,30

40

1.37

464

28.60

45

1.53

451

34,50

50

1,70

446

36,80

55

1.89

437

40.22

60

2,10

434

44,60


Сжиженные углеводородные газы, находящиеся под сверхатмосферным давлением при температуре выше или равной температуре окружающей среды в сосудах, резервуарах и другом технологическом оборудовании, являются перегретыми жидкостями. Сжиженный пропан относится к веществам с критической температурой выше, а точкой кипения ниже чем в окружающей среде. Его особенностью является "мгновенное" (очень быстрое) испарение части жидкости при разгерметизации и охлаждение оставшейся доли до точки кипения при атмосферном давлении. Аварийное вскрытие емкостей с негорючей или горючей перегретыми жидкостями сопровождается взрывом и опасным действием осколков [13]. Основные физико-химические свойства пропана, обуславливающие его пожаровзрывоопасность, приведены в таблице 3.

Таблица 3

Параметры

Пропан

Химическая формула

С3Н8

Молекулярная масса

44

Плотность жидкой фазы при температуре 0° С и давлении 101,3 кПа, кг/м3

528

Температура кипения при атмосферном давлении, 0С

-42,17

Теплота сгорания в газообразном состоянии, МДж/м3

85

Температура самовоспламенения, 0С

466

Пределы воспламеняемости в смеси с воздухом при нормальных атмосферных условиях, % объема:


Нижний

2,4

Верхний

9,5

Анализ свойств перерабатываемых веществ на производстве, причин аварий и неполадок на газофракционирующей установке, а также на аналогичных объектах показал, что самым неблагоприятным сценарием аварии является мгновенная разгерметизация резервуара или емкости, выброс углеводородных смесей с формированием парогазового облака, с последующим его загоранием и взрывом, а также образование пожара пролива.

4.2 Описание расчетного сценария аварии

Отключение подачи воды оборотного цикла привело к прекращению конденсации паров продукта в холодильниках, вследствие чего повысилось давление внутри емкости орошения с пропаном, которая была подвергнута коррозионному износу, вследствие отказа предохранительного клапана произошла разгерметизация емкости по сварному шву, жидкая фаза продукта вылилась на подстилающую поверхность, мгновенно испарившийся пропан образовал газовоздушную смесь. Произошел взрыв от искры созданной падающими конструкциями разрушенного резервуара и пожар пролива.

Авария произошла летом, месяц - июль, в 15.30, смена находится на рабочих местах и воздействию опасных факторов подвержено максимальное количество людей, скорость ветра - 1 м/с, температура воздуха - 20ºС. Происходит взрыв образовавшегося облака взрывоопасной смеси и пожар пролива. Объем емкости Vе=16м3, степень заполнения емкости 80%, давление в емкости p=1,6 МПа, температура в емкости 50ºС, плотность пропана при давлении 1,6 МПа и температуре 50ºС ρе=450 кг/м3.

Масса пропана, находящегося в емкости:

m=0,8·Vе ρе= 0,8·16·450 = 5760 кг

Будем считать, что при мгновенной разгерметизации емкости с пропаном, вся масса пропана выйдет в окружающее пространство, при этом часть пропана мгновенно испарится, а другая часть выльется на подстилающую поверхность.

По графику (рисунок 7) определяем долю мгновенно испарившегося пропана:

При 50ºС доля мгновенно испарившегося пропана будет составлять 0,4 от общей массы пропана.

a

,6

,5

,4

,2

,1

-50 0 50 100 t вещества., 0С

a - доля мгновенно испарившейся жидкости

Рисунок 7 - Доля мгновенно испарившейся жидкости для пропана при мгновенной разгерметизации оборудования

Так как происходит мгновенное воспламенение, именно эта часть будет участвовать в образовании взрыва или огненного шара, остальная часть образует пожар пролива.

Таким образом, во взрыве примет участие 2304 кг пропана, а в пожаре пролива 3456 кг.

4.3 Расчет показателей пожаровзрывоопасности газофракционирующей установки

Методика расчета критериев пожарной опасности при сгорании взрывоопасной пыли определена в ГОСТ Р 12.3.047-98 «Пожарная безопасность технологических процессов. Общие требования. Методы контроля», а также НПБ 105-03 «Определение категорий помещений, зданий и наружных установок по взрывопожарной и пожарной опасности».

.3.1 Расчет параметров волны давления

Избыточное давление Dp, кПа, развиваемое при сгорании газопаровоздушных смесей, рассчитывают по формуле:

(5)

где р0 - атмосферное давление, кПа (допускается принимать равным 101 кПа);

r - расстояние от геометрического центра газопаровоздушного облака, м;

mпp - приведенная масса газа или пара, кг, рассчитанная по формуле:

mпр = (Qсг / Q0)mг,п Z (6)

где Qсг - удельная теплота сгорания газа или пара, Дж/кг;

Z - коэффициент участия, который допускается принимать равным 0,1;

Q0 - константа, равная 4,52 · 106 Дж/кг;

mг,п - масса горючих газов и (или) паров, поступивших в результате аварии в окружающее пространство, кг.

Импульс волны давления i, Па · с, рассчитывают по формуле

(7)

Расчет:

Удельная теплота сгорания пропана 4,6 · 107 Дж/кг [25].

Находим приведенную массу mпр по формуле:

mпр = (Qсг / Q0)mг,п · Z = (4,6 · 107/4,52 · 106) · 2304· 0,1 = 2344 кг.

Находим избыточное давление Dp на расстоянии 30 м:

Dp = 101·[0,8 ·23440,33 / 30 + 3 ·2344 0,66 / 302 + + 5·2344 /303] = 135 кПа.

Находим импульс волны давления i по формуле (3.3):

i = 123 · (2344)0,66 / 30 = 687 Па · с.

Зависимость избыточного давления на фронте ударной волны и импульса волны давления от расстояния до центра взрыва представлена в таблице 4, и в соответствии с ГОСТ Р 12.3.047-98 выделяются следующие зоны разрушений:

Таблица 4

Степень поражения

Избыточное давление, кПа

Расстояние до центра взрыва, м

Импульс волны давления, Па · с

Полное разрушение зданий

100

35

597

50 %-ное разрушение зданий

53

50

423

Средние повреждения зданий

28

71

290

Умеренные повреждения зданий (повреждение внутренних перегородок, рам, дверей и т.п.)

12

130

156

Нижний порог повреждения человека волной давления

4,6

250

82

Малые повреждения (разбита часть остекления)

2,8

400

45


4.3.2 Расчет размеров зон, ограниченных нижним концентрационным пределом распространения (НКПР) газов

При испарении пропана образуется взрывоопасная зона. Для определения ее максимальных размеров используется нижеприведенная методика.

Расстояния XНКПР, YНКПР и ZНКПР, м, для горючих газов, ограничивающие область концентраций, превышающих НКПР, рассчитывают по формулам:

(7)

(8)

где mг - масса поступившего в открытое пространство горючего газа при аварийной ситуации, кг;

rг - плотность горючего газа при расчетной температуре и атмосферном давлении, кг/м3;

СНКПР - нижний концентрационный предел распространения пламени горючего газа, % (об.) [25].

Расчет:

Для пропана СНКПР = 2,3 % об, масса пропана mг=2304 кг.

= 14,6 = 116 м,

= 0,33 = 2,6 м.

ρг - плотность паров СУГ при расчетной температуре и атмосферном давлении, кг/м3, которая рассчитывается по формуле:

ρг = М/(V0· (1+0,00367· tp)) (9)

где: М - молярная масса, кг/моль, равна 44 кг/кмоль для пропана;

V0 - мольный объем, равный 22,413 м3/кмоль;

tp - расчетная температура, 0С, равная 20 0С;

ρn = 44/(22,4· (1+0,00367·20)) = 1,83 кг/м3;

Радиус Rб, м, и высоту Zб, м, зоны, ограниченной НКПР газов и паров, вычисляют исходя из значений HНКПР, YHKHP и ZНКПР.

При этом Rб > ХНКПР, Rб > YНКПР и Zб > h + Rб (h =2 м - высота емкости, м).

Для горючих газов геометрически зона, ограниченная НКПР газов, будет представлять цилиндр с основанием радиусом Rб и высотой hб = 2Rб при Rб £ h и hб = h + Rб при Rб > h, внутри которого расположен источник возможного выделения горючих газов.

Цилиндр, внутри которого располагается источник возможного выделения горючих газов, будет иметь следующие параметры: радиус Rб=116м, высота hб=118м. В пределах этой зоны создается взрывоопасная среда.

4.3.3 Расчет интенсивности теплового излучения при образовании «огненного шара»

Облако пара или топливовоздушной смеси, переобогащенное топливом, и не способное поэтому объемно детонировать, начинает гореть вокруг своей внешней оболочки, образуя огневой шар. Такие шары, вызванные горением углеводородов, светятся и излучают тепло, что может причинить смертельные ожоги и вызвать возгорание горючих веществ.

Расчет интенсивности теплового излучения «огненного шара» q, кВт/м2, проводят по формуле:

q = Ef · Fq · t, (10)

где: Ef - среднеповерхностная плотность теплового излучения пламени, кВт/м2;

Fq - угловой коэффициент облученности;

t - коэффициент пропускания атмосферы.

Ef определяют на основе имеющихся экспериментальных данных. Допускается принимать Ef равным 450 кВт/м2 [25].

Fq рассчитывают по формуле:

, (11)

где: Н - высота центра «огненного шара», м;

Ds - эффективный диаметр «огненного шара», м;

r - расстояние от облучаемого объекта до точки на поверхности земли непосредственно под центром «огненного шара», м.

Эффективный диаметр «огненного шара» Ds рассчитывают по формуле:

Ds =5,33 m 0,327 (12)

где т - масса горючего вещества, кг.

H определяют в ходе специальных исследований. Допускается принимать H равной Ds/2.

Время существования «огненного шара» ts, с, рассчитывают по формуле:

ts = 0,92 m 0,303 (13)

Коэффициент пропускания атмосферы t рассчитывают по формуле:

t = ехр [-7,0 · 10-4 (- Ds / 2)] (14)

Доза теплового излучения воздействующего на людей определяется по формуле:

Q = q · ts. (15)

Данные для расчета:

Расстояние от облучаемого объекта до точки на поверхности земли непосредственно под центром «огненного шара» 50 м.

Расчет:

По формуле (12) определяем эффективный диаметр «огневого шара» Ds

Ds = 5,33 · (2304)0,327 = 66 м.

По формуле (11), принимая H = Ds /2 = 33 м, находим угловой коэффициент облученности Fq

Fq =  = 0,126.

По формуле (14) находим коэффициент пропускания атмосферы t:

t = ехр [-7,0 · 10-4 ( - 66 / 2 )] = 0,98.

По формуле (10), принимая Ef = 450 кВт/м2, находим интенсивность теплового излучения q

q = 450 · 0,126 · 0,98 = 55 кВт/м2.

По формуле (13) определяем время существования «огненного шара» ts:

ts = 0,92 · 23040,303 = 9,6 с.

По формуле (15), определяем дозу теплового излучения воздействующего на людей от «огненного шара»:

Q = q · ts = 55 · 9,6 = 5,2 · 105 Дж/м2.

Зависимость величины теплового излучения огневого шара от расстояния до его центра представлена в таблице 5.

Таблица 5

Расстояние до центра огневого шара, м

Тепловой поток, q, кВт/м2

Доза теплового излучения, Дж/м2

50

55

5,2 ×105

60

44

4,2 ×105

70

39

3,8×105

80

27

2,6×105

90

22

2,1×105

100

17

1,6×105


За время существования огневого шара (9,6 сек.) люди получат ожоги различной степени тяжести (см. приложение А, табл. 3).

4.3.4 Расчет интенсивности теплового излучения при пожаре пролива

Интенсивность теплового излучения q, кВт/м2, рассчитывают по формуле:

q = Ef · Fq · t, (16)

где: Ef - среднеповерхностная плотность теплового излучения, кВт/м2;

Fq - угловой коэффициент облученности;

t - коэффициент пропускания атмосферы.f принимают на основе имеющихся экспериментальных данных.

При отсутствии данных допускается Ef принимать равной 100 кВт/м2 для СУГ [24].

Рассчитывают эффективный диаметр пролива d, м, по формуле

(17)

где: S - площадь пролива, м2.

Рассчитывают высоту пламени Н, м, по формуле

(18)

где: т - удельная массовая скорость выгорания топлива, кг/(м · с);

rв - плотность окружающего воздуха, кг/м3;

G - ускорение свободного падения, равное 9,81 м/с2.

Определяют угловой коэффициент облученности Fq по формуле:

(19)

где:

(20)

где:

А = (h2 + + 1) / 2S1, (20)

Sl= 2r/d, (21)

где: r - расстояние от геометрического центра пролива до облучаемого объекта

(22)

(23)

B = (1+S12 ) / (2S1 ) (24)

Определяют коэффициент пропускания атмосферы t по формуле:

t = exp[-7,0 10 -4 (r - 0,5 d)] (25)

Расчет: происходит испарение с поверхности разлившейся жидкости; площадь испарения при разливе на горизонтальную поверхность определяется (при отсутствии справочных данных), исходя из расчета, что 1 л жидкостей, разливается на площади 0,1 м2 поверхности.

Определим площадь пролива:

При мгновенной разгерметизации емкости, в пожаре пролива участвует 3456 кг вещества, по таблице 3.1 плотность жидкой фазы пропана при температуре окружающего воздуха 20ºС равна 499 кг/м3. Объем жидкого пропана, участвующего в пожаре пролива равен:

V = m/ρ = 3456/499 = 6,92 м3= 6920 л

S = 6920·0,1 = 692 м2.

Определяем эффективный диаметр пролива d по формуле (3.14):

d = = = 28 м.

Находим высоту пламени по формуле (3.15), принимая

т = 0,1 кг / (м2 с), g = 9,81 м/с2 и rв = 1,2 кг/м3:

=57 м.

Находим угловой коэффициент облученности Fq по формулам (19-24), принимая r = 50 м:

,

= 7,14,

4,84,

= 3,64.

 = 0,04,

 = 0,11,

Fg= = 0,11.

Определяем коэффициент пропускания атмосферы по формуле (25):

t = exp [ - 7,0 · 10 -4 (50 - 0,5 ·14)] = 0,97.

Находим интенсивность теплового излучения q по формуле (3.13), принимая Еf= 100 кВт/м2= 100 · 0,11 · 0,97 = 10,6 кВт/м2.

В соответствии с ГОСТ Р 12.3.047-98 разделяются различные степени поражения людей и материалов в зависимости от интенсивности теплового излучения от пожара. На расстоянии 50 м от геометрического центра разлива при воздействии теплового потока 10,6 кВт/м2 люди получат ожоги 1 и 2 степени тяжести.

4.4 Разработка мероприятий по предупреждению пожаров и взрывов на газофракционирующей установке

Взрывобезопасность - состояние производственного процесса, предприятия или его отдельных участков, при котором исключена возможность взрыва, предотвращения воздействия на людей опасных и вредных факторов в случае его возникновения, которое обеспечивает сохранение материальных ценностей - зданий, сооружений, производственного оборудования, сырья и готовой продукции.

Для обеспечения защиты людей и материальных ценностей при возникновении взрыва должны быть предусмотрены меры, предотвращающие воздействие следующих опасных факторов взрыва:

- пламени и высокотемпературных продуктов горения;

-        давления взрыва;

         высокоскоростных газовоздушных потоков;

         ударных волн;

         обрушившихся конструкций зданий и сооружений и разлетающихся элементов строительных конструкций, производственного оборудования и коммуникаций.

4.4.1 Разработка автоматической системы пожаротушения

Системы пожаротушения предназначены для предотвращения, ограничения развития, тушения пожара, а также защиты от пожара людей и материальных ценностей. Одним из самых надежных средств для решения этих задач являются системы автоматического пожаротушения, которые в отличие от систем ручного пожаротушения и систем, управляемых оператором, приводятся в действие пожарной автоматикой по объективным показаниям и обеспечивают оперативное тушение очага возгорания без участия человека.

Установка пожаротушения или противопожарная установка - это совокупность стационарных технических средств для тушения пожара за счет выпуска огнетушащего вещества. Конструктивно автоматические установки пожаротушения состоят из резервуаров или других источников, наполненных необходимым количеством огнетушащего состава, устройств управления и контроля, системы трубопроводов и насадков-распылителей. Количество распылителей, длины и сечение трубопроводов, требуемое количество огнетушащего вещества определяются тщательными расчётами.

Подразделяются системы автоматического пожаротушения, прежде всего, по используемому огнетушащему веществу:

газовое пожаротушение (СО2, аргон, азот, хладоны);

водяное пожаротушение (вода);

пенное пожаротушение и водопенное пожаротушение (вода с пенообразователями);

порошковое пожаротушение (порошки специального химического состава);

аэрозольные системы пожаротушения (подобны порошкам, но частицы на порядок меньше по размерам);

системы тонкодисперсной воды (тонкораспыленной воды) [24].

4.4.1.1 Огнетушащие средства, используемые при тушении сжиженных углеводородных газов

Для подавления процесса горения можно снижать содержание горючего компонента, окислителя (кислорода воздуха), снижать температуру процесса или увеличивать энергию активации реакции горения. В соответствии с этим в настоящее время при тушении пожаров используют один из следующих основных способов:

изоляцию очага горения от воздуха или снижение путем разбавления воздуха негорючими газами, концентрации кислорода в воздухе до значения, при котором не может происходить процесс горения;

охлаждение очага горения ниже определенных температур (температур самовоспламенения, воспламенения и вспышки горючих веществ и материалов);

интенсивное ингибирование (торможение) скорости химической реакции окисления;

механический срыв пламени в результате воздействия на него сильной струи газа или жидкости;

созданием условий огнепреграждения.

Для тушения горящих СУГ используется наиболее распространенный способ, которым является охлаждение зоны горения. Сущность его заключается в охлаждения горящих веществ до температуры ниже температуры их воспламенения. При небольшом очаге пожара можно применить способ изоляции реагирующих веществ, за счет разобщения зоны горения от воздуха слоем какого-либо воздухонепроницаемого материала. Для этого применяются твердые листовые изолирующие материалы (войлок, асбестовая и обычная ткань) или сыпучие негорючие материалы (песок, тальк, различные флюсы).

Для тушения СУГ применяются следующие огнетушащие составы и средства [19]:

газовые составы: инертные разбавители (N2, СО2);

галогеноуглеводороды, порошки;

вода аэрозольного распыла с добавками и без;

вода как средство охлаждения;

газо-аэрозольные составы.

Инертные разбавители применяются для объемного тушения. Они оказывают разбавляющее действие, уменьшая концентрацию кислорода ниже нижнего концентрационного предела горения. К наиболее широко используемым инертным разбавителям относятся азот, углекислый газ и различные галогеноуглеводороды. Эти средства используются, если более доступные огнетушащие вещества, такие как вода, пена оказываются малоэффективными.

В последнее время для тушения пожаров все более широко применяют огнетушащие порошки. Они могут применяться для тушения пожаров твердых веществ, различных горючих жидкостей, газов, металлов, а также установок, находящихся под напряжением. Следует отметить, что порошковыми составами можно ликвидировать горение сравнительно небольших объемов и площадей, поэтому они используются для зарядки ручных и переносных огнетушителей. Порошки рекомендуется применять в начальной стадии пожаров.

Наиболее простым, дешевым и доступным средством пожаротушения является вода, которая подается в зону горения в виде компактных сплошных струй или в распыленном виде. Вода, обладая высокой теплоемкостью и теплотой испарения, оказывает на очаг горения сильное охлаждающее действие. Кроме того, в процессе испарения воды образуется большое количество пара, который будет оказывать изолирующее действие на очаг пожара. К недостаткам воды следует отнести плохую смачиваемость и проникающую способность по отношению к ряду материалов. Для улучшения тушащих свойств воды к ней можно добавлять поверхностно- активные вещества. Воду нельзя применять для тушения ряда металлов, их гидридов, карбидов, а также электрических установок.

Пены являются широко распространенным, эффективным и удобным средством тушения пожаров. Существуют различные классификации пен, например по устойчивости, кратности, основе пенообразователя и т. п. По способу образования пены можно подразделять на химическую, газовая фаза которой получается в результате химической реакции; и газомеханическую (воздушно-механическую), газовая фаза которой образуется за счет принудительной подачи воздуха или иного газа. Химическая пена, образующаяся при взаимодействии растворов кислот и щелочей в присутствии пенообразователей, используется в настоящее время только в отдельных видах огнетушителей [20].

4.4.1.2 Автоматические стационарные установки пожаротушения

Автоматические стационарные установки пожаротушения в зависимости от используемых огнетушащих веществ подразделяют на водяные, пенные, газовые и порошковые.

Для тушения пожаров сжиженных газов целесообразней использовать автоматические установки водяного и пенного пожаротушения [20,21]

В случае если система пожарной защиты полностью автоматизирована, ее пуск осуществляется от пожарных датчиков. Полуавтоматические установки пожаротушения могут включаться вручную. Для включения системы или установки должны применяться задвижки, управляемые дистанционно.

В качестве пожарных датчиков используются приборы обнаружения оптического излучения пламени, так как они являются наиболее чувствительными и быстродействующими [23].

.4.1.3 Расчет расхода раствора пенообразователя

Расчет расхода раствора пенообразователя на тушение пожара определяется исходя из интенсивности подачи раствора пенообразователя на 1 м2 расчетной площади тушения и времени тушения.

Расчетную площадь тушения принимают равной площади горизонтального сечения резервуара.

S = πD2/4 (26)

где: D - диаметр резервуара, м.

Диаметр резервуара D=2 м. Расчетная площадь тушения равна 3,14 м2.

Расход раствора пенообразователя Woв на тушение пожара определяется по формуле:

Woв = Io S τ Кз, (27)

где: Io - оптимальный удельный расход (интенсивность подачи) раствора пенообразователя, для сжиженного пропана - 0,08 л/(м2∙с);- расчетная площадь пожара, м2;

τ - расчетная продолжительность работы средств АПЗ, с;

Кз - коэффициент запаса (принимается 1,2).

Расчетное время тушения пожара для систем автоматического пенного пожаротушения - 10 мин [23].

Расход раствора пенообразователя на тушение пожара при горении резервуара со сжиженным пропаном составит:

Woв. = 0,08·3,14·600·1,2 = 181 л;

Таким образом, по проведенным расчетам расход раствора пенообразо-вателя на тушение пожара автоматической системой пенного пожаротушения при горении резервуара с сжиженным пропаном составит 181 л.

4.4.1.4 Расчет расхода воды на охлаждение резервуаров

Для предотвращения взрыва горящего резервуара и возгорания соседних резервуаров применяют охлаждение их водой. Каждый резервуар оборудуется распылителем воды.

Расход воды на охлаждение горящего и смежных резервуаров определяется по следующей формуле:


где: Ігв - расход воды на 1м длины окружности горящего резервуара, принимаемый равным 0,5 л/(м2·с);

Ісмв - расход воды на 1м длины окружности смежного резервуара, принимаемый равным 0,2 л/(м2·с);гр ,Dсмр - диаметры горящего и смежных резервуаров, м;- число смежных резервуаров;

Тогда получим:

вохл=3,14· (0,5·2+0,5·0,2·2·2)=5,18 л/с.

Следовательно, расход воды для охлаждения горящего и соседних с ним резервуаров составит - 5,18 л/с.

4.4.1.5 Расчет количества пенообразующих устройств

В качестве пенообразующих устройств, для пенной системы пожаротушения применяют пеногенераторы.

Число потребных для защиты резервуара пеногенераторов nг определяется по формуле:

nг=0,785·D2p·Ip/qгp (29)

где: Dp- диаметр резервура, м;

Ip - удельный расход раствора, л/(м2·с), для сжиженного пропана - 0,08 л/(м2∙с);

qгp - производительность генератора пены по раствору, л/с, принимается равным для пеногенератора ГВП 2 л/с [3].

Тогда получим:

nг= 0,785·22·0,08/2=1

Следовательно, количество пенообразующих устройств (пеногенераторов) на один резервуар составит 1 штуку.

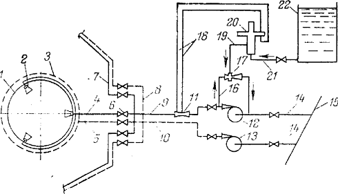
Рисунок 8 - Принципиальная схема комбинированной системы установки для тушения пожаров в резервуарах с нефтепродуктами многократной воздушно-механической пеной и орошением резервуара водой

- резервуар; 5 - пенная камера с ГВП; 3 - кольцо водяного орошения; 4 - трубопровод. для подачи пенообразующего раствора в ГВП; 5 - трубопровод для подачи воды в кольцевой ороситель; 6 - задвижка; 7 - коллектор раствора; 8 - водяной коллектор; 9 - магистральный трубопровод для подачи раствора; 10 -магистральный трубопровод для подачи воды; 11 - сопло Вентури; 12, 13 -насосы; 14 - всасывающая линия насоса; 15 - водопровод; 16 - циркуляционные трубы смесители; 17 - смеситель; 18 - трубки для управления дозатором; 19 - труба для подачи пенообразователя к смесителю; 20 - автоматический дозатор; 21 - труба для подачи пенообразователя к автоматическому дозатору; 22 - бак с пенообразователем.

4.4.2 Системы автоматической пожарной сигнализации

Автоматическая пожарная сигнализация является важной мерой предотвращения крупных пожаров. При отсутствии пожарной сигнализации от момента обнаружения пожара до вызова пожарных подразделений проходит большой промежуток времени, что в большинстве случаев приводит к полному охвату помещения пламенем. Основная задача автоматической пожарной сигнализации - обнаружение начальной стадии пожара, передача извещения о месте и времени его возникновения и при необходимости включения автоматических систем пожаротушения и дымоудаления.

Функционально автоматическая пожарная сигнализация состоит из приемно-контрольной станции, которая через сигнальные линии соединена с пожарными извещателями. Задачей сигнальных извещателей является преобразование различных проявлений пожара в электрические сигналы. Приемно-контрольная станция после получения сигнала от первичного извещателя включает световую и звуковую сигнализацию и при необходимости автоматические установки пожаротушения и дымоудаления.

Скорость срабатывания автоматической пожарной сигнализации в основном определяется скоростью срабатывания первичных извещателей. В настоящее время наиболее часто используют тепловые, дымовые, световые и звуковые пожарные извещатели.

Тепловые извещатели по принципу действия разделяются на максимальные, дифференциальные и максимально-дифференциальные. Первые срабатывают при достижении определенной температуры, вторые - при определенной скорости нарастания температуры, а третьи - от любого значительного изменения температуры. В качестве чувствительных элементов применяют легкоплавкие замки, биметаллические пластины, трубки, заполненные легко расширяющейся жидкостью, термопары и т. д. Тепловые пожарные извещатели устанавливают под потолком в таком положении, чтобы тепловой поток, обтекая чувствительный элемент извещателя, нагревал его. Тепловые пожарные извещатели не обладают высокой чувствительностью, поэтому обычно не дают ложных сигналов срабатывания в случае увеличения температуры в помещении при включении отопления, выполнения технологических операций.

Дымовые пожарные извещатели обладают меньшей инерционностью. Пожарная защита современных промышленных предприятий включает комплекс профилактических, организационных и технических мероприятий, дополняющих друг друга и тесно взаимосвязанные между собой.

Технические средства борьбы с пожарами подразделяются на оповестительные и исполнительные. К оповестительным относятся различного рода сигнальные устройства (пожарные извещатели).

Исполнительные средства подразделяются на мобильные, переносные и стационарные.

Стационарные средства тушения в свою очередь подразделяются на автоматические, полуавтоматические и неавтоматические.

К автоматическим стационарным средствам тушения относятся такие, в которых процессы обнаружения и тушения пожара полностью автоматизированы. Полуавтоматические стационарные средства тушения включаются оператором.

Потребность в средствах автоматической пожарной зашиты (АПЗ) обусловливается тем, что современные промышленные предприятия становятся все более комплексно механизированными и автоматизированными. Отсутствие в них автоматических средств пожарной защиты снижает уровень механизации и автоматизации. Для современных производств характерна тенденция максимальной интенсификации производства при минимуме обслуживающего персонала, что в ряде случаев связано с повышением пожарной опасности. Уменьшить эту опасность можно только за счет автоматизации пожаротушения [23].

5. Планирование и технология выполнения аварийно-спасательных работ при ликвидации пожара на газоперерабатывающем предприятии

Целью данного раздела является проведение планирования аварийно-спасательных работ, проводимых при ликвидации чрезвычайной ситуации на газофракционирующей установке газоперерабатывающего предприятия.

Планирование аварийно-спасательных работ на газофракционирующей установке газоперерабатывающего предприятия осуществляется на основе расчетов, приведенным в разделе 4 (см. также приложение Б рисунок 1):

полному разрушению подверглось здание технологической насосной блока №1, здание материального склада №1 подверглось средней степени разрушения;

площадь пожара пролива S = 692 м2;

количество пострадавших со смертельным исходом 30 человек (считается, что все они находятся в завалах), легкой степени и средней степени тяжести 57 человек, 17 из них находятся в завалах;

- На основании этих данных производится планирование аварийно-спасательных работ.

.1 Перечень превентивных мероприятий при авариях на пожаро- и взрывоопасных объектах

Превентивные мероприятия направлены на предотвращение аварийных ситуаций, либо снижение ущерба при их возникновении.

Режимы проведения мероприятий: 1- режим повседневной деятельности, 2 - режим повышенной готовности, 3 - режим чрезвычайной ситуации [32].

Комплекс превентивных мероприятий представлен в таблице 6.

Таблица 6

Мероприятия, осуществляемые на региональном уровне

Характеристика мероприятий, параметры их проведения

1

2

Проверка работоспособности автоматических систем обнаружения и оповещения о возникновении аварии на объектах

Режимы 1, 2. Оборудование объектов датчиками контроля и обнаружения возгорании, определения критических параметров производственных процессов, автоматического отключения установок и оборудования в случае угрозы. Установка и регламентная проверка спринклерных и дренчерных систем пожаротушения, систем создания инертной среды, изоляции аварийных помещений и установок. Создание и периодическая проверка локальных систем оповещения.

Контроль на промышленном объекте за выполнением правил противопожарной безопасности

Режимы 1, 2. Сертификация производств по степени пожарной опасности. Экспертиза соответствия технологических процессов и изменений в них нормам противопожарной безопасности. Периодический комиссионный осмотр и актирование объектов. Контроль за пополнением и освежением средств пожаротушения, знанием персоналом правил противопожарной безопасности. Проведение учений и тренировок.

Защита персонала и населения - организация системы оповещения о возникновении ЧС; - обеспечение персонала индивидуальными средствами защиты; - планирование проведения эвакуации из опасных районов

Режимы 1, 2. Организация и оборудование систем оповещения в соответствии с современными достижениями противопожарной техники и с учетом отраслевой специфики. Прогнозирование зон воздействия первичных и вторичных факторов поражения для персонала и населения близлежащих жилых кварталов. Определение мер защиты в случае аварии, определение маршрутов вывода персонала и населения из опасных зон и маршрутов ввода сил и средств для ликвидации аварий. Обучение персонала и населения правилам поведения и приемам спасения в случае аварии.

Подготовка к привлечению при необходимости дополнительных сил и средств в соответствии с планом взаимодействия

Режимы 1, 2. Осуществляется на этапе планирования действий на случай аварии. Организация взаимодействия с министерствами и ведомствами Российской Федерации. Группировка сил РСЧС: ГПС МВД; формирования ПГ министерств и ведомств; силы ГО; ВСМК МЗ.


Срок приведения в готовность - от 1, 5 часов до 3 суток. Основные задачи определены. Решение принимается на уровне министров.


Превентивные мероприятия, независимо от их объема, все же не исключают возможности возникновения чрезвычайной ситуации. И при ее возникновении необходимо в кратчайшие сроки провести аварийно - спасательные работы [32].

5.2 Планирование, технология выполнения аварийно-спасательных работ в зоне аварии

Аварийно - спасательные работы при взрыве и пожаре пролива на газофракционирующей установке предприятия включают в себя следующие мероприятия:

- разведка зоны ЧС (инженерная, пожарная, медицинская);

ввод сил и средств в зону ЧС;

отключение коммунально-энергетических систем (КЭС);-

тушение пожаров;

поисково-спасательные работы в зоне ЧС;

оказание медицинской помощи пострадавшим;

эвакуация пострадавших и материальных ценностей в зоне ЧС;

подача воздуха в заваленные помещения;

организация управления и связи в зоне ЧС;

обеспечение общественного порядка в зоне ЧС;

проведение аварийно-спасательных работ связанных с тушением пожаров в зоне ЧС;

разборка завалов, расчистка маршрутов и устройство проездов в завалах;

укрепление или обрушение поврежденных и грозящих обвалом конструкций зданий, сооружений на путях движения и в местах работ;

восстановление отдельных участков энергетических и водопроводных сетей для обеспечения противопожарного водоснабжения;

работы по инженерной и организационной подготовке участков спасательных работ и рабочих мест в зоне ЧС (расчистка площадок, установка на площадках техники, ограждений и предупредительных знаков, освещение рабочих мест);

ликвидация аварий на коммунально-энергетических сетях в зоне ЧС;

газоспасательные работы;

ликвидация (локализация) ЧС, связанных с разгерметизацией систем, оборудования, выбросом в окружающую среду взрывоопасных и токсичных продуктов [33].

Успех проведения аварийно-спасательных и других неотложных работ в зоне ЧС достигается за счет заблаговременно проведенной подготовки спасательных формирований, в том числе:

- изучение обстановки сложившейся на обслуживаемой территории при ЧС;

изучения особенностей основных объектов расположенных на территории ТГПЗ;

оценки маршрутов выдвижения в район возможных действий;

планирования организации управления, проведения расчета сил и средств связи;

организации взаимодействия с соответствующими комиссиями по чрезвычайным ситуациям по вопросам совместных действий при ведении аварийно-спасательных и других неотложных работ при ЧС [33].

Проведение аварийно-спасательных и других неотложных работ в зоне аварии на ТГПЗ осуществляется согласно блок-схемы, представленной на рисунке 4.1.

.3 Районы расположения формирований и время их выдвижения в зону чрезвычайной ситуации

После получения сигнала об аварии на газоперерабатывающем предприятии первым эшелоном в зону ЧС выдвигаются силы постоянной готовности - объектовые, находящиеся на территории предприятии - газоспасательный отряд, пожарная часть ПЧ-147, медицинские формирования (3 санитарных поста). Время их готовности, после получения сигнала от дежурного диспетчера предприятия о возникновении ЧС составляет 5 минут [36].

Вторым эшелоном, по решению руководителя ликвидации ЧС, для наращивания основных сил и средств выдвигается пожарная часть ПЧ-48, расположенная на расстоянии 5,3 км и ПЧ-146, расположенная на расстоянии 6,2 км.

Время выдвижения формирований из мест дислокации в зону ЧС определяется по формуле:

t = tд.с. + tсб + tсл + tб.р, (30)

где tд.с. - время до сообщения о пожаре, мин. Равно времени от начала возникновения пожара до сообщения о нем в пожарную часть. Принимается равным 5 минутам;

tсб - время обработки информации и сбора личного состава по тревоге (принимается не более 1 мин.);

tсл - время следования на пожар, мин.

Определяется практически при наибольшей интенсивности движения транспорта или по формуле:

tсл = L ´ 60 / Vсл, (31)

где: L - расстояние от места дислокации формирования до объекта, км,;сл - средняя скорость движения автомобиля, км/ч, Vсл=40 км/ч для пожарных машин, Vсл=80 км/ч для машин скорой помощи и машин аварийно-спасательной службы.

Время следования ПЧ-48 до объекта: t = 5,3´ 60 / 40 = 7 мин.

Время следования ПЧ-146 до объекта: t = 6,2´ 60 / 40 = 8 мин.

Время следования БСМП до объекта: t =7 ´ 60 / 80 = 5 мин.

Время следования АСФ до объекта: t =5 ´ 60 / 80 = 4 мин

tб.р. - время боевого развертывания, которое принимается от 3 до 5 мин.

Подставляя данные значения в формулу (4.2) получаем общее время выдвижения:

ПЧ-48 до объекта: tсв = 5 + 1 + 7 + 4 = 17 мин.

ПЧ-146 до объекта: tсв = 5 + 1 + 8 + 4 = 18 мин.

БСМП до объекта: tсв = 5 + 1 + 5 + 4 = 15 мин.

АСФ до объекта: tсв=5+1+4+4=14 мин.

Данные о времени прибытия формирований РСЧС в зону бедствия позволяют повысить эффективность и точность планирования аварийно-спасательных работ.

5.4 Организация разведки в зоне ЧС

Разведка - важнейший вид обеспечения действий формирований. Она организуется и ведется с целью своевременного добывания данных об обстановке, необходимых для принятия обоснованного решения и успешного проведения спасательных и неотложных аварийно-восстановительных работ в очагах поражения и зонах катастрофического затопления, районах стихийных бедствий, аварий, катастроф.

Пожарная разведка проводится для выявления и уточнения пожарной обстановки в зоне ЧС. После установления районов и масштабов пожаров определяются пути отхода и наиболее удобные рубежи локализации огня для обеспечения продвижения формирований к месту проведения спасательных работ [19].

В ходе разведки пожара устанавливают:

какая площадь охвачена огнем, какой продукт горит и какому оборудованию угрожает; наличие продукта на установке и какие операции происходят, возможность перекрытия продукта;

состояние горящих и смежных сооружений, наличие в них продуктов, давление и температура;

состояние задвижек, трубопроводов, возможность остановки поступления газа на установки;

возможность обвалования горящей жидкости на площадке под колоннами;

наличие угрозы взрывов, деформации конструкций и разлива жидкости из аппаратуры, либо утечек горючих паров и газов;

отключена ли установка от сырьевых и товарных линий;

наличие и состояние промышленной канализации, опасность переброса по ней огня на соседние установки.

Время следования к месту пожара определим по формулам (30-31):

tсл = L ´ 60 / Vсл, (31)

где: L =0,2 км- расстояние от места дислокации формирования до места ЧС;сл =20 км/ч- средняя скорость движения автомобиля на объекте экономики.

tсл = L ´ 60 / Vсл=0,2´60/20=1 мин

Время следования газоспасательного отряда к месту ЧС:

t = 2 + 1 + 1 + 2 = 5 мин.

.5 Организация пожаротушения

Под организацией тушения пожара понимают комплекс мероприятий, связанных с подготовкой боевых действий пожарных подразделений.

Старшим руководителем тушения пожара является начальник противопожарной службы города, прибывшей на объект. В зависимости от поставленной задачи и сложившейся обстановки старший руководитель тушения пожара ставит задачи подчиненным подразделениям и выделяет им участки работ. Руководят борьбой с пожарами непосредственно на местах командиры противопожарных формирований. В первую очередь локализуют и тушат те очаги пожаров, которые препятствуют успешному проведению спасательных работ и создают угрозу распространения огня. В ходе тушения пожара личный состав формирований должен строго соблюдать правила безопасности, внимательно следить за состоянием строительных конструкций [37].

5.5.1 Особенности тушения открытых технологических установок

Особенностью пожаров на открытых технологических установках является большая скорость распространения горения, высокая тепловая радиация пламени, возможность возникновения взрывов, выброса и растекания горючих жидкостей и сжиженных газов на большие площади. Поэтажное размещение оборудования увеличивают удельные нагрузки горючих веществ, повышают пожарную опасность, усложняют процесс тушения пожара.

При авариях на открытых технологических установках горючие газы и пары нагретого нефтепродукта могут образовать загазованные зоны, величина которых зависит от расхода продукта и скорости ветра.

Следует в кратчайшие сроки локализовать и ликвидировать очаги пожара, чтобы не допустить ухудшения пожарной обстановки и дальнейшего развития ЧС. Если загорание произошло вблизи наземных резервуаров, во избежание повышения в них давления необходимо немедленно включить орошение и противопожарную водяную завесу. Если этого недостаточно, резервуары следует поливать водой из брандспойта мощной струей [17].

Первые действия подразделений пожарной охраны должны быть направлены на:

прекращение растекания горючих жидкостей и газов;

охлаждение соседних аппаратов и установок, попадающих в зону интенсивного теплового излучения;

тушение разлившейся жидкости и факела из неисправного аппарата, не прекращая при этом охлаждения и аппаратов и установок, находящихся в зоне интенсивного теплового излучения;

при организации штаба пожаротушения, предусмотреть создание двух боевых участков: БУ-1 - охлаждение горящего резервуара и соседних аппаратов; БУ-2-тушение разлившейся жидкости из неисправного аппарата [38].

5.5.2  Выбор способов прекращения горения и огнетушащих веществ

Существует четыре способа тушения пожаров: охлаждения, разбавления, изоляции и химического торможения реакций.

Для тушения пожаров СУГ на наружных установках используются способ охлаждение зоны горения для защиты технологического оборудования с помощью компактных и распыленных струй воды, и способ изоляции реагирующих веществ для тушения пожара пролива с помощью воздушно-механической пены низкой и средней кратности.

Защиту технологического оборудования организуют с момента прибытия первых подразделений и продолжают в периоды локализации и ликвидации пожара. Для этого используют автоматические средства защиты и огнетушащие средства, додаваемые передвижной пожарной техникой.

При охлаждении технологического оборудования необходимо обеспечивать орошение всей поверхности горящих и половины поверхности соседних аппаратов и установок. Необходимость орошения соседних аппаратов определяется расстоянием до фронта пламени [38].

5.5.2.1 Водоснабжение

На территории предприятия проложены 2 кольцевых противопожарных водопровода диаметрами 150 и 250 мм, на которых установлены 54 пожарных гидранта. Вода в сеть подается от общего заводского водозабора, насосами из реки Ик, расположенной на расстоянии 12,5 км от предприятия, по двум водопроводам диаметрами 300 мм.

Общая производительность насосов 1200 м3/час. На территории предприятия имеется 6 пожарных водоема, 4 из которых объемом 200 м3, 1 - 100 м3,1 - 800 м3. Для забора воды из водоемов, возле них имеются манифольдные колодцы [39].

5.5.2.2 Расчет сил и средств пожаротушения

Согласно расчетам в пункте 3.3.4 площадь пролива равна 692 м2.

Для тушения пожара пролива понадобится раствора пенообразователя средней кратности (к=100) [39]:

Qр.п.=S·Iрп, (32)

где: S - площадь пожара (равна площади пролива),

Iрп - интенсивность подачи раствора пенообразователя, Iрп = 0,08 л/с·м2 для ГПС-600.

Qр.п =692·0,08=48 л/с.

Определим необходимое количество стволов ГПС-600 для тушения пожара пролива:

NГПС= Qр.п / QГПС (33)

где: Qр.п - количество пенообразователя, необходимое для тушения пожара, л/с;

QГПС - производительность одного ГПС. QГПС=6 л/с для ГПС-600.

NГПС = 48/6=8 шт ГПС-600.

Необходимо подать 8 стволов ГПС-600 с противоположных сторон.

Расход воды на охлаждение горящего резервуара:

Qр=Sр·JП (34)

где: Sр - площадь резервуара, м2,

JП - интенсивность подачи воды на тушение, л/с, JП = 0,3 л/с для лафетных стволов.

Qр = 8·0,3=2,4 л/с

Необходимо лафетных стволов:

Nл.с. = Qр /Qл.с. (35)

где: Qл.с= 21 - производительность одного лафетного ствола, л/с

Nл.с =2,4/21=0,11

Принимаем один лафетный ствол для охлаждения горящего резервуара.

Расход воды на охлаждение соседних колонн:

Qоск= (Sk·Jo)/2 (36)

где: Sk - площадь колонны, м2, Jo - интенсивность подачи воды на охлаждение, л/с

Qоск = (110·0,2)/2= 11 л/с.

Количество лафетных стволов, которые понадобятся для охлаждения:

Nл.с.= Qоск./Qл.с.=11/21=0,53 (37)

Принимаем по одному лафетному стволу на каждую соседнюю колонну.

Таким образом, для локализации и тушения пожара, необходимы 3 лафетных ствола для охлаждения аппаратов и 8 ГПС-600 для тушения пожара пролива.

Определим общий расход воды на тушение и охлаждение:

Qв= NГПС · QГПС + NЛС · QЛС = 8·6+3·21=111 л/с (38)

Определяем пропускную способность трубопровода. При напоре в сети 80 м и диаметре трубопровода 150 мм, пропускная способность 140 л\с. Следовательно, трубопровод обеспечивает потребности на тушение пожара, защиту и охлаждение оборудования.

Для работы с лафетными стволами необходимо на каждый ствол одно отделение, всего 3. Для подачи пены с помощью ГПС-600 с четырех направлений - 4 отделения. Одно отделение состоит из 1 машины АЦ-5-40 и 5 человек. Таким образом, для тушения пожара потребуется 7 машин АЦ-5-40 и 35 человек личного состава.

газоперерабатывающий чрезвычайный аварийный спасательный

6. Организация управления ликвидацией ЧС

Управление при ликвидации чрезвычайных ситуаций заключается в руководстве силами РСЧС при проведении аварийно-спасательных и других неотложных работ. Главной целью управления является обеспечение эффективного использования сил и средств различного предназначения, в результате чего работы в зонах чрезвычайных ситуаций должны быть выполнены в полном объеме, в кратчайшие сроки, с минимальными потерями населения и материальных средств.

Для газоперерабатывающего предприятия деятельность управления ликвидацией ЧС организуется в соответствии с Конституцией и федеральными законами РФ, указами и распоряжениями Президента, постановлениями и распоряжениями Правительства Российской Федерации, нормативными правовыми актами РБ и Положением о единой государственной системе предупреждения и ликвидации ЧС (РСЧС).

Основными задачами организации управления ликвидации ЧС являются:

подготовка вариантов решений и обеспечение деятельности Комиссии по предупреждению и ликвидации ЧС и обеспечению пожарной безопасности;

организация планирования и проведения аварийно-спасательных и других неотложных работ;

координация действий территориальных и функциональных подсистем РСЧС;

оценка масштабов ЧС и прогнозирование возможных ее последствий;

осуществление непосредственного руководства по проведению аварийно-спасательных и других неотложных работ;

организация и поддержание непрерывного взаимодействия с органами управления РСЧС и другими органами управления сил, привлекаемых к ликвидации ЧС;

организация сбора, анализа, обработки и отображения информации о ЧС.

При возникновении чрезвычайной ситуации органы управления приводятся в готовность. Приведение в готовность начинается с оповещения и сбора руководящего состава.

6.1 Оповещение и сбор руководящего состава при возникновении чрезвычайной ситуации на газоперерабатывающем предприятии

Оповещение руководящего состава и сотрудников завода проводят секретарь и посыльные по решению штаба ликвидации ЧС в объеме, необходимом для решения задач по предупреждению и ликвидации последствий ЧС.

Общее оповещение об остановке, правилах поведения и действиях населения осуществляется:

ответственным дежурным Управления с использованием централизованной информационно-оповестительной системы ГО ЧС передачей сигнала «ВНИМАНИЕ ВСЕМ!»;

подвижными средствами РОВД, оборудованными звуко - усилительными установками. Обмен информацией об обстановке между взаимодействующими органами управления осуществляется через КЧС ПБ и штаба ликвидации ЧС завода. Связь с вышестоящими и взаимодействующими органами поддерживается и осуществляется по существующей телефонной сети, телетайпу, факсу, при необходимости, подвижными средствами и посыльными.

При аварийной ситуации на заводе со значительным выбросом углеводородных газов обслуживающий персонал немедленно сообщает диспетчеру завода и начальнику установки, на которой произошла авария. Диспетчер завода при получении извещения об аварии, извещает лиц и учреждения по списку, который дается в приложение ПЛАС (см. схему оповещения).

Информация должна быть четкой, краткой и содержать следующие сведения:

время аварии;

место аварии;

характер и размер аварии;

наличие пострадавших;

принятые меры;

доложивший.

На предприятии создана и поддерживается в постоянной готовности к применению система локального оповещения персонала завода и населения, проживающего вблизи, о возникновении чрезвычайных ситуаций. Контроль над ее работой осуществляет КЧС ПБ предприятия.

Система включает: внутреннюю телефонную связь между участками завода (каждая операторная, рабочие места, представляющие особую опасность в технологической цепочке) с диспетчером завода и администрацией с прямым выходом на АТС АНК «Башнефть» и радиотелефонную связь.

Средства обеспечения радиотелефонной связи: 17 радиостанций мощностью 5 Вт и радиусом действия до 5 км фирмы МОТОRОLА Р-GR-300. Этими радиостанциями оснащены руководители и основные группы производственного персонала (начальники участков, главные специалисты, руководство завода, операторы товарно-сырьевых парков, операторы технологических установок).

.2 Структура управления ликвидацией чрезвычайной ситуации на газоперерабатывающем предприятии

Руководство работами по спасению людей и ликвидации ЧС осуществляет ответственный руководитель работ.

При неправильных действиях ответственного руководителя работ вышестоящее руководящее лицо имеет право отстранить его и принять на себя руководство ликвидацией аварии или назначить для этого другое соответствующее лицо [40].

При развитии аварии только на территории газофракционирующей установки, без воздействия на смежные установки и объекты, ответственным руководителем работ является директор завода, а в его отсутствие - диспетчер предприятия.

Лица, вызываемые для спасения людей и ликвидации аварии, сообщают о своем прибытии ответственному руководителю работ и по его указанию приступают к выполнению своих обязанностей.

Непосредственное руководство ведением спасательных работ осуществляется (по указанию ответственного руководителя) командиром газоспасательного пункта. До его прибытия на место аварии эти обязанности выполняет старший машинист.

Непосредственное руководство по тушению пожара осуществляется начальником пожарной части. До его прибытия на место пожара эти обязанности выполняет командир дежурного подразделения пожарной части.

По прибытии на место ЧС ответственный руководитель обязан:

оценить обстановку, выявить число и место нахождения людей, застигнутых аварией, принять меры по оповещению должностных лиц предприятия и аварийных служб;

сообщить о месте расположения органа управления по локализации аварии;

уточнить и прогнозировать ход развития аварии, при необходимости вносить корректировку в оперативную часть плана;

обеспечить оцепление опасной зоны;

ограничить допуск людей и транспортных средств в опасную зону;

руководить действиями персонала предприятия, газоспасательных, пожарных, и медицинских подразделений по спасению людей, локализации и ликвидации аварии;

информировать соответствующие вышестоящие организации о характере аварии и ходе её ликвидации, наличии и состоянии пострадавших.

Ниже приведен рисунок 5.2 схема системы управления ликвидации аварийных ситуаций и ведении спасательных работ на Туймазинском газоперерабатывающем заводе.

Управление работами по ликвидации ЧС начинается с момента возникновения ЧС и завершается после ее ликвидации. Управление осуществляется по циклам, каждый из которых включает:

сбор данных об обстановке;

анализ и оценка обстановки;

подготовку предложений и выводов для решения на проведение работ;

принятие решения и доведение до исполнителей;

организацию взаимодействия;

обеспечению действий сил и средств по ликвидации последствий ЧС.

Обстановку в полном объеме анализирует руководитель ликвидации чрезвычайной ситуации, его заместители (помощники), а также другие должностные лица - каждый в пределах своей компетенции и ответственности.

Обстановка анализируется по элементам, основными из которых являются:

характер и масштаб развития чрезвычайной ситуации, степень опасности для производственного персонала, границы поражающих зон;

виды, объемы и условия неотложных работ;

потребность в силах и средствах для проведения аварийно-спасательных работ в возможно короткие сроки;

количество, укомплектованность, обеспеченность и готовность к действиям сил и средств, последовательность их ввода в зону ЧС для выполнения работ.

В процессе анализа данных обстановки специалисты сопоставляют потребности в силах и средствах для проведения работ с их наличием и возможностями, производят расчеты, анализируют варианты их использования и выбирают наилучший (реальный). Выводы из оценки обстановки и предложения по использованию сил и средств докладываются руководителю ликвидации чрезвычайной ситуации, предложения специалистов обобщаются и используются в процессе принятия решений.

Решение на проведение АСДНР в зоне чрезвычайной ситуации является основой управления, его принимает и организует выполнение руководитель ликвидации чрезвычайной ситуации (директор предприятия).

Решение включает следующие основные элементы:

- краткие выводы из оценки обстановки;

замысел действий;

задачи подчиненным формированиям, частям и подразделениям;

меры безопасности;

организацию взаимодействия;

обеспечение действий формирований.

Краткие выводы из оценки обстановки содержат основные сведения о характере и масштабах ЧС, объемах предстоящих работ и условиях их проведения, имеющихся силах и средствах и их возможностях.

В замысле действий отражаются цели, стоящие перед данным органом управления и его силами, главные задачи и последовательность проведения работ, участки сосредоточения основных усилий, порядок создания группировки сил и средств.

Задачи руководителям подчиненных органов управления и их формированиям определяют старшие начальники в зависимости от их возможностей и развития обстановки. При постановке задачи указываются район работ, силы и средства, последовательность и сроки проведения работ, объекты сосредоточения основных усилий, порядок использования технических средств, меры безопасности и обеспечения непрерывности работ [51].

Взаимодействие между подчиненными подразделениями, между ними и специальными подразделениями других ведомств организуется при принятии решения и осуществляется в ходе работ при ликвидации рассматриваемой чрезвычайной ситуации.

При организации взаимодействия:

- уточняются границы объектов работ каждого формирования;

устанавливается порядок действий на смежных объектах, особенно при выполнении работ, которые представляют опасность для соседей или влияют на их работу;

согласовывается по времени и месту сосредоточение усилий при совместном выполнении особо важных и сложных работ;

определяется система обмена данными об изменении обстановки и результатах работ на смежных участках.

Обеспечение действий сил и средств в районах ведения работ организуется с целью создания им необходимых условий для успешного выполнения поставленных задач. Основными видами обеспечения являются:

разведка, транспортное, инженерное, метеорологическое, техническое, материальное и медицинское. Непосредственное руководство обеспечением действий сил и использованием специальных средств осуществляют начальники служб и должностные лица органов управления в соответствии с их обязанностями [41].

6.3 Решение председателя комиссии по чрезвычайным ситуациям и обеспечению пожарной безопасности - директора газоперерабатывающего предприятия при ликвидации чрезвычайной ситуации

Краткие выводы из оценки обстановки.

В 15 часов 30 минут 15 июля 2010 года на газофракционирующей установке газоперерабатывающего предприятия произошла разгерметизация емкости, содержащей 5,7 тонн сжиженного пропана. В результате аварии жидкая фаза вылилась на подстилающую поверхность, а парогазовая фаза, мгновенно испарившись, образовала взрывоопасное облако. Произошел взрыв и пожар пролива.

Границы зон поражений затрагивают смежные объекты предприятия, но не выходят за его границы, аварийную ситуацию считать локального (объектового) характера.

В результате ЧС предположительно 117 человек попадают в зону поражения.

В результате аварии разрушена одна емкость, площадь пожара пролива на подстилающей поверхности составляет примерно 1000 м2.

В зоне чрезвычайной ситуации с 15.35 ведут работы силы постоянной готовности:

- группа разведки - 3 человека;

звено связи - 2 человека;

противопожарная команда ПЧ-147 - 53 человека;

газоспасательный отряд - 10 человек;

служба военизированной охраны - 32 человека;

- группа медицинской помощи - 27 человек;

работники электроцеха - 8 человек;

группа материально-технического обеспечения - 16 человек;

ремонтно - восстановительная бригада - 12 человек;

водители - 9 человек.

Замысел действий

Первоочередными задачами, при ведении аварийно-спасательных работ считать:

спасение и эвакуацию из опасной зоны персонала предприятия, оказание пострадавшим первой медицинской помощи;

проведение мероприятий, направленных на предотвращение дальнейшего развития ЧС;

проведение мероприятий, направленных на безопасное проведение АСДНР;

локализация и ликвидация пожара;

отключить смежные установки и объекты от дефектного участка, путем перекрытия задвижек. Обеспечить аварийный сброс газообразных и парообразных углеводородов в факельную сеть, перекачку продукта из горящего блока в товарно-сырьевой парк;

пожарным формированиям обеспечить ограничение распространения пожара на большую площадь и соседние объекты, принять меры к снижению воздействия теплового излучения от пожара на смежные конструкции, посредством их орошения из стационарных лафетных стволов;

оборудование земляного обвалования для ограничения растекания горящей жидкости;

проведение пенной атаки на слой горючего в обваловании до прекращения горения;

восстановление безопасного функционирования предприятия. Проведение аварийно-восстановительных работ.

Мероприятия проводить в последовательности: поиск пострадавших, оказание им первой медицинской помощи, подготовка к безопасному ведению действий по тушению пожара, локализация и тушение пожара, восстановление функционирования объекта в нормальном режиме.

Задачи подчиненным формированиям

К 15.35 часам:

а) начальнику штаба ликвидации ЧС провести оценку обстановки и провести конкретные мероприятия по обеспечению спасательных работ и безаварийной работы структурных подразделений завода, организовать разведку.

б) начальнику противопожарной службы привести в готовность пожарную часть ПЧ-147:

- определить масштабы и объем работ по локализации пожара;

провести орошение горящего и соседних резервуаров;

- оборудовать земляное обвалование;

-        провести пенную атаку в обваловании, для локализации пожара пролива;

         организовать охлаждение конструкции системы трубопроводов, другой арматуры установки и объектов, находящихся под воздействием теплового излучения пожара;

         оказать помощь пострадавшим, организовать спасение персонала;

- при необходимости вызвать дополнительные силы через диспетчера;

К 15.40 часам:

а) начальнику газоспасательного отряда привести в готовность отряд:

- определить загазованность территории, на возможность образования повторных взрывов и дополнительных очагов пожара;

-        проведение химической разведки на наличие опасных веществ;

         организовывать спасение пострадавших и оказание первой медицинской помощи до прибытия медицинской сандружины;

         оказать содействие пожарным формированиям в ведении боевых действий по тушению пожара;

- дать указания военизированной охране на оцепление загазованной зоны и показать направление вывода людей;

постоянно информировать диспетчера о складывающейся обстановке.

б) начальнику службы оповещения и связи организовать связь с местом аварии и руководителем ликвидации аварии. При нарушении стационарных систем связи принять меры к восстановлению поврежденных участков.

К 15.45 часам:

а) начальнику медицинской службы привести в готовность врачебно-сестринские бригады, довести информацию о сложившейся на предприятии обстановке, до дежурного врача больницы №1 г. Туймазы:

развернуть пункт сбора пораженных (в медсанчасти), привести в готовности к приему пострадавших;

оказать неотложную медицинскую помощь пострадавшим на пункте сбора пораженных силами бригад скорой медицинской и специализированной медицинской помощи;

обеспечить доставку необходимых медикаментов;

провести эвакуацию пострадавших в больницу №1 г. Туймазы, для чего подготовить в них необходимое количество койко-мест;

б) начальнику службы военизированной охраны объекта:

усилить пропускной режим на объект;

организовать беспрепятственный проезд к месту чрезвычайной ситуации сил и средств, задействованных в локализации и ликвидации ЧС;

оцепить место аварии и зону загазованности, не допуская в указанные места посторонних лиц;

- организовать вывод людей из зоны заражения, обозначить направление выхода.

в) начальнику смены парка организовать работу цехов, подвергаемых ЧС:

прекратить прием в цех сырья;

произвести откачку продукта из дефектных емкостей в резервные, находящиеся вне зоны поражения;

г) начальнику электроцеха - обесточить горящий участок установки, обеспечить бесперебойное освещение места работ;

К 15.50 часам председателю эвакуационной комиссии привести в готовность эвакуационную комиссию объекта, уточнить маршруты и места вывода работающей смены завода, быть в готовности к проведению экстренной эвакуации;

К 15.55 часам начальнику транспортного цеха организовать вывоз рабочего персонала, не участвующего в ликвидации аварии, с территории предприятия, с целью предотвращения поражения большего количества людей, перевести цех на круглосуточную работу.

6.4 Организация взаимодействия сил ликвидации чрезвычайной ситуации

Для ликвидации пожара осуществляется взаимодействие с силами пожарных частей города. В зону чрезвычайной ситуации на предприятии привлекаются согласно «Плану пожаротушения» формирования ПЧ-48, ПЧ-146, ПЧ-144.

Основой управления и организации взаимодействия является решение руководителя ликвидации чрезвычайной ситуации - директора газоперерабатывающего предприятия на проведение спасательных и других неотложных работ в зоне чрезвычайной ситуации.

7. Разработка мер по обеспечению экологической безопасности

7.1 Меры безопасности при работах по тушению пожаров на объектах нефтегазоперерабатывающей отрасли

При пожаре на объектах нефтегазоперерабатывающей отрасли могут возникнуть опасные ситуации, которые потребуют от личного состава соблюдения особой предосторожности.

Горение СУГ может считаться локализованным, когда ограничена площадь разлива и прекращено поступление продукта на аварийный участок, за счет орошения горящего резервуара и находящееся под его тепловым воздействием оборудования предотвращается угроза дальнейшего развития пожара и обеспечивается контролируемое выгорание продукта на аварийном участке.

При тушении пожара на установке могут возникнуть следующие опасные ситуации:

В резервуаре высота светящейся части факела может достигать до 40 метров. При скорости ветра более 4 м/с отклонение факела от вертикальной оси составляет 600С-700С.

При перегревании жидкости возможны вскипания и выбросы. Выброс и вскипания можно определить по внешним признакам:

·   усиление горения;

·   изменение цвета пламени;

·   усиление шума при горении;

·   могут наблюдаться отдельные потрескивания (хлопки);

·   появление вибрации стенок резервуара, особенно верхних поясов, т.е. может произойти взрыв резервуара.

Чтобы избежать несчастных случаев попадания в опасную зону необходимо:

к аварийной установке или резервуару подъезжать с наветренной стороны. Пожарную технику устанавливать не ближе 100-120 метров от горящего резервуара или установки;

личный состав, участвующий в тушении пожара, должен иметь изолирующие противогазы. Те, кто не участвуют в тушении пожара, должны быть удалены из опасной зоны. Избегать скопления большого количества людей на позициях стволов. Следует чаще производить замену личного состава при наличии трудоемких работ на позиции;

по периметру опасной зоны должны выставляться посты безопасности. Постами должен руководить ответственный за технику безопасности на пожаре;

устанавливать противопожарную технику с учетом рельефа местности и направления ветра. Она должна располагаться выше места пожара по течению реки. При горении нефтепродуктов в наземных резервуарах и особенно жидкостей, способных к выбросу, противопожарную технику расставлять с учетом направления возможного разлива жидкости и положения зоны задымления;

в процессе подготовки к тушению пожара необходимо назначить наблюдателей за поведением горящего и соседнего резервуаров. При угрозе выброса, вскипания, разрушения резервуара, личный состав должен знать сигналы на отход и пути отхода из опасной зоны;

нахождение личного состава на крышах наземных резервуаров и крытых железобетонных резервуаров не допускается. В исключительных случаях с разрешения оперативного штаба тушения пожара допускается пребывание на крышах резервуаров лиц, специально проинструктированных для выполнения работ по защите дыхательной и другой арматуры от теплового излучения;

при проведении вскрышных работ ниже уровня горючей жидкости (разгерметизация люк-лаза) для отвода нефтепродукта из горящего резервуара по заранее вырытой траншее в другую емкость необходимо соблюдать следующие меры безопасности;

удалить прогретый слой жидкости в резервуаре;

на случай загорания вытекающего из отверстия нефтепродукта подготовить ручные стволы пенного тушения;

обозначить контуры траншеи и ограничить пребывание людей в этой зоне;

при тушении пожара необходимо учитывать влияние теплового излучения на человека. Личный состав должен быть обеспечен теплоотражательными костюмами или надежной защитой распыленными струями воды;

при подвозке песка самосвалами и работе бульдозеров назначаются наблюдатели для контроля за работой транспортной и землеройной техники с тем, чтобы она не повреждала рукавные линии, трубопроводы, нефтепроводы и т.п. [44].

Для обеспечения защиты спасателей и других участников ликвидации последствий пожара пролива пропана используются спецодежда, спецобувь и предохранительные приспособления (пневмокостюмы типа ЛГ, респираторы РПГ-67 с патронами марки “А”; промышленные противогазы с маркой коробки “A”, “A8”, коричневого цвета; пневмошлемы; рукавицы; перчатки марки, каски защитные; очки защитные марки; предохранительные пояса; тросы). Необходимо иметь запас кислорода и медицинского имущества для оказания неотложной помощи при отравлении оксидом углерода [48].

7.2 Меры безопасности при проведении работ в завалах

Необходимо проводить специальный инструктаж по мерам безопасности с каждой группой формирования. Его проводят специалисты предприятия и служб гражданской обороны, назначенные руководителями работ. Одновременно с постановкой задач на выполнение работ руководитель напоминает о мерах безопасности.

При наличии на территории газовых, водопроводных, электрических и других коммунально-энергетических сетей действия формирований согласовываются с представителями соответствующих служб и организаций.

Личный состав формирований, участвующий в работах по обрушению конструкций и разборке завалов, должен быть одет в специальную одежду из плотной ткани, иметь закрытую обувь, брезентовые рукавицы, а также каски с мягкими подшлемниками.

При разборке завала элементы зданий, угрожающие обвалом, необходимо временно укрепить. Не разрешается устраивать лазы-проходы в завалах без установки креплений.

При ведении аварийных работ на водопроводно-канализационной сети участки, требующие ремонта, отключают. Если, этого сделать нельзя, используют водоотливные средства для откачки воды на месте аварии и принимают меры по предотвращению размыва и обрушения грунта.

Работы на загазованных участках личный состав формирований выполняет в индивидуальных средствах защиты. Наличие газа в подвалах, колодцах, коллекторах и других сооружениях подземного типа определяют только специальными приборами-газоанализаторами [17].

При разборке завалов необходимы следующие меры безопасности:

- строго соблюдать условия техники безопасности, установленные для данного вида деятельности;

все спасатели, привлеченные на разборку завалов должны работать в удобной одежде, на голову обязательно надевается каска;

необходимо вести тщательное наблюдение за состоянием и устойчивостью конструкций и крупных элементов завала, при возникновении трещин, просадок и других деформаций необходимо немедленно остановиться и вывести людей из опасной зоны;

необходимо обрушить или укрепить неустойчивые конструкции поврежденных зданий;

- запрещается устраивать лазы-проходы в завалах без установки креплений;

машины (краны и экскаваторы), применяемые при разборе завалов, размещают на площадках, расчищенных от обвалившихся строительных конструкций.

При передвижении в непосредственной близости от завала особое внимание следует уделять уцелевшим фрагментам строений, поскольку они представляют собой повышенную опасность. Это связано с возможностью их внезапного обрушения.

При движении по поверхности завала выбирают оптимальный и безопасный маршрут. Особое внимание уделяют выбору места постановки ног. Наступать нужно только на надежно лежащие предметы. В ряде случаев следует убрать с дороги остатки строений, доски, трубы, арматуру.

Передвигаться в условиях завала, заходить в разрушенные здания, находиться вблизи них без необходимости нельзя [38].

7.3 Меры безопасности при работах в условиях плохой видимости

Аварийно-спасательные и другие неотложные работы, как правило, ведутся круглосуточно, требуют освещения в темное время.

При выполнении работ в ночное время требуется освещать участки работ, обозначать условными световыми знаками или сигналами зоны возможных обвалов и другие участки, опасные для прохода и движения транспорта. Временные пути выдвижения транспорта (проезды) должны иметь аварийное освещение и соответствующие световые условные знаки на поворотах, разъездах и местах стоянок.

Для этого наиболее удобны источники направленного заливающего света различного типа. Кроме светильников и прожекторов можно использовать мощные осветительные лампы. С этой целью по периметру места работы на расстоянии 20-30 м. они подвешиваются на столбах или кронштейнах.

Для питания светильников электроэнергией используют передвижные электростанции или подключает к линиям электропередач, которые не нуждаются в отключении. Для кратковременного освещения можно пользоваться светом зажженных фар автомобилей, тракторов, тягачей.

Если существующую осветительную сеть использовать невозможно, участок (объект) работы освещают переносными светильниками или прожекторами. В этом случае электропитание осуществляется от передвижных электростанций. При выполнении работ в поврежденных зданиях и сооружениях, где устройство аварийного освещения нецелесообразно или затруднительно, рекомендуется применять аккумуляторные фонари.

Соблюдение мер безопасности личным составом формирований при ведении аварийно-восстановительных работ позволит избежать травм, что, несомненно, облегчит работу медицинскому персоналу, усилия которых будут сосредоточены на оказание помощи пострадавшему населению в результате данной чрезвычайной ситуации [38].

7.4 Выбор методов и средств индивидуальной защиты спасателей

В целях обеспечения защиты, спасатели и другие участники ликвидации последствий аварии с нефтепродуктами, выполняющие аварийные работы в зоне пожара и горючих газов, снабжаются средствами индивидуальной защиты (СИЗ).

Средства индивидуальной защиты классифицируется в основном в зависимости от защищаемых видов органов (СИЗ органов дыхания, рук, головы, лица, глаз, слуха и т.д.) [5].

При тушении пожара СИЗ входит в комплект снаряжения пожарного (боевая одежда пожарного, пожарный спасательный пояс, пожарная каска, средства индивидуальной защиты органов зрения и органов дыхания пожарного, специальная пожарная обувь, средства защиты рук, средство локальной защиты и теплоотражательный комплект).

В целях обеспечения эффективной стабильной работоспособности и сохранения здоровья личного состава при использовании средств индивидуальной защиты временного действия командир подразделения обязан: оценить обстановку, характер и тяжесть труда, условия отдыха; определить СИЗ и время их защитного действия; установить режим работы; организовать контроль за продолжительностью непрерывной работы в средствах защиты, своевременную смену и отдых личного состава; замену СИЗ, выработавших защитный ресурс.

Защита личного состава формирований РСЧС при ведении АСДНР на газоперерабатывающем заводе, помимо неуклонного соблюдения им общих требований безопасности, должна обеспечиваться:

- использованием средств индивидуальной защиты (СИЗ);

строгим соблюдением режима труда и отдыха с учетом характера труда и времени защитного действия СИЗ;

организацией медицинского контроля за состоянием здоровья спасателей в ходе ведения работ и быстрым оказанием (в случаях необходимости) требуемой медицинской помощи [5].

Порядок пересменки и режима труда зависит от тяжести выполняемых работ и температуры окружающей зимы.

В ликвидации аварии задействованы 179 человек, из них 107 человек - выполняют тяжелые работы, и 72 человека - работы средней степени тяжести.

Тяжелые работы продолжаются в течении 10 - 20 минут при тушении пожара, следовательно при температуре окружающей среды формированиям потребуется по 1 комплекту СИЗ на человека - 107 противогазов и защитных теплоотражательных костюмов.

Работы средней тяжести включают аварийно - восстановительные и другие неотложные работы, на данном объекте они продолжаются в течении 3 суток. При режиме труда в две смены по 5 часов и по 10 часов в сутки, количество смен составит 2, при этом через каждые 40 минут работы необходимо делать 10 минут перерыв на отдых. Для каждой смены рабочих необходимо предусмотреть сменный комплект СИЗ, следовательно для 72 человек работающих в две смены в течении 1 суток потребуется использование 72 комплектов

Таким образом, высокая работоспособность и сохранение здоровья спасателей в ходе работ достигается применением СИЗ, разработкой и внедрением оптимальных типовых режимов работы спасателей, четким соблюдением режимов труда и отдыха, а также общих мер безопасности в зоне чрезвычайной ситуации.

Личный состав пожарной охраны, обеспечивающий подачу огнетушащих веществ на тушение и охлаждение резервуаров, должен работать в теплоотражательных костюмах, а при необходимости - под прикрытием распыленных водяных струй. При работе с пенообразователем или его раствором личный состав должен быть обеспечен защитными очками или щитками.

7.5 Организация обеспечения медицинской помощи

По расчетам, приведенным в разделе 4, общее количество погибших равно 30 человек, санитарные потери - 57 человек.

Определим структуру вероятных санитарных потерь:

пораженные с легкой степенью тяжести 40% - 21 человек;

средней тяжести 20% - 12 человек;

с тяжелой степенью тяжести 20% - 12 человек;

с крайне тяжелой степенью 20% - 12 человек.

Количество отрядов первой медицинской помощи (ПМП), численность врачей и среднего медицинского персонала, общая численность личного состава для отрядов ПМП определяются:

n пмп = Nсп /100 = 67/100 = 0,67 ед; (39)

Принимаем, что потребуется 1 отряд ПМП, но учитывая количество пострадавших расчеты персонала отряда будут проводится для значения.

вр =8· n пмп = 8·0,67= 5, чел.; (40)пмп= 46· n пмп= 46·0,67=30 , чел. (41)

где: Nсп - численность санитарных потерь;вр - численность врачей;пмп - общая численность личного состава отрядов первой медицинской помощи.

На территории объекта имеется санитарный пост, состоящий из 3 формирований по 9 человек, недостающий персонал врачей прибывает из больницы №1. Непосредственно в очаге поражения организуется: спасение пострадавших, их медицинская сортировка; оказание первой медицинской и первой врачебной помощи пораженным и больным; осуществление эвакуации в лечебные учреждения и лечение, а в расположенных за пределами очага лечебных учреждениях оказывается квалифицированная и специализированная медицинская помощь. Пострадавших определяют в больницу №1.

7.6 Анализ воздействия поражающих, опасных и вредных факторов, возникающих при взрыве и пожаре пролива на газоперерабатывающем предприятии, на организм человека

Основными поражающими факторами, воздействующими на людей при взрыве пропана и пожаре пролива.

Ударная волна возникает при взрыве в результате мгновенного сжатия окружающего воздуха, которое со сверхзвуковой скоростью распространяется во все стороны от центров взрыва. Основным параметром ударной волны, характеризующим ее разрушающее действие, является максимальное избыточное давление во фронте ударной волны.

Степень и характер поражения, производимых ударной волной, зависят от мощности взрыва, расстояния от центра взрыва до объекта, характера и прочности сооружений, рельефа местности.

Таблица 7

Уровень поражения

Избыточное давление, кПа

1

2

Поражение 1 степени оглушение, понижение слуха, головокружение, расстройство речи, разрывы барабанных перепонок, небольшое кровоизлияние в легкие

20

Поражение 2 степени Общее сотрясение организма, болезненный удар по голове, кровоизлияние в легкие, гиперемия мозга, переломы ребер

50

Поражение 3 степени Контузии

70

Поражение 4 степени Переломы ребер, гиперемия сосудов, мягкой мозговой оболочки

100-150

Летальный исход

300


Тепловое излучение пожара пролива и пожаров зданий и сооружений.

Воздействие теплового излучения вызывает у человека ожоги различной степени тяжести. Уровень воздействия теплового излучения зависит от расстояния, на котором происходит воздействие поражающего фактора теплового излучения пламени на объект и определяется в зависимости от критических величин интенсивности теплового излучения, приведенных в таблице 8.

Таблица 8

Степень травмирования

Интенсивность теплового излучения q, кВт/м2

Ожоги III степени

49

Ожоги II степени

27,4

Ожоги I степени

9,6

Болевой порог (болезненные ощущения на коже и слизистой оболочке)

1,4


Независимо от причин возникновения, ожоги разделяют по тяжести поражения организма. Ожоги первой степени выражаются в болезненности, покраснении и припухлости кожи. Они не представляют серьезной опасности и быстро вылечиваются без каких-либо последствий. При ожогах второй степени образуются пузыри, заполненные прозрачной белковой жидкостью; при поражении значительных участков кожи человек может потерять на некоторое время трудоспособность и нуждается в специальном лечении. Пострадавшие с ожогами первой и второй степеней, достигающими даже 50-60% поверхности кожи, обычно выздоравливают. Ожоги третьей степени характеризуются омертвлением кожи с частичным поражением росткового слоя. Ожоги четвертой степени: омертвление кожи и более глубоких слоев тканей (подкожной клетчатки, мышц, сухожилий костей). Поражение ожогами третьей и четвертой степени значительной части кожного покрова может привести к смертельному исходу.

Обломки, осколки взорвавшегося резервуара, обломки зданий и сооружений, разрушающихся во время взрыва. К параметрам данного поражающего фактора относятся масса обломка (осколка), скорость разлета обломка (осколка). Механические воздействия обломков и осколков вызывают у людей раны, ушибы, кровотечения, переломы, вывихи, черепно-мозговые травмы, синдром длительного сдавления.

Токсическое воздействие продуктов горения. При неполном сгорании сжиженных газов в продуктах сгорания может содержаться окись углерода (СО), обладающая токсическим (отравляющим) воздействием на человека. В легких красные кровяные шарики (гемоглобин) достаточно прочно соединяются с окисью углерода, кислород перестает переноситься в клетки организма, начинается удушье, могущее привести к смерти.

Влияние окиси углерода на организм человека при различных концентрациях ее в воздухе показано в таблице 9.

Таблица 9

Физиологическое воздействие окиси углерода на организм человека

Содержание СО в воздухе

Длительность и характер воздействия

% об.

мг/л


0,01

0,125

В течение нескольких часов не оказывает воздействия

0,05

0,625

В течение 1 ч нет заметного воздействия

0,1

1,25

Через 1 ч наблюдается головная боль, тошнота, недомогание

0,5

6,25

Через 20-30 мин оказывает смертельное воздействие

1,0

12,5

После нескольких вдохов потеря сознания, через 1-2 мин очень сильное или смертельное отравление


Токсическое воздействие СУГ. Предельные углеводороды при атмосферном давлении практически не растворяются в крови, и не взаимодействуют с ее жизненно важными компонентами, а, следовательно, не оказывают явного токсического (отравляющего) воздействия на организм человека. Однако при значительных концентрациях в воздухе или при длительном вдыхании воздуха с малым содержанием их паров наблюдается вредное и опасное для здоровья человека действие. Попадая в воздух, они уменьшают в нем содержание кислорода, что приводит к кислородному голоданию, а при значительных концентрациях - к удушью.

Санитарными нормами проектирования промышленных предприятий пропан, входящий в состав сжиженных газов, включен в четвертый класс вредных веществ, как вещество вредное, мало опасное, а также установлены предельно допустимые концентрации его в различных средах, приведенные в таблице 10.

Таблица 10

Среда, вещество

Предельно допустимая концентрация


Максимальная разовая, мг/м3

Среднесуточная, мг/м3

Атмосферный воздух населенных пунктов

Этилен

3

3

Пропилен

3

3

Бутан

200

-

Бутилен

3

3

Пентан

100

15

Воздух рабочей зоны

Углеводороды алифатические предельные С1 - С10

300

-


Недостаток кислорода в зоне горения

При понижении содержания кислорода в воздухе до 16% начинается одышка и сердцебиение, до 12% наблюдается сильное стеснение дыхания и при понижении содержания кислорода до 9% человек теряет сознание.

Опасность поражения электрическим током в результате повреждения проводки.

Опасное поражение электрическим током со смертельным исходом может наступить при его напряжении, равном 127 - 22 В и ниже. При поражении током напряжением свыше 10000 В смерть наступает прежде всего от обширных ожогов. Низковольтные токи нельзя считать безопасными. Отмечено, что при одинаковом напряжении переменный ток опаснее постоянного.

Различают четыре степени электротравм:

I степень - у пострадавшего отмечается судорожное сокращение мышц без потери сознания;

II степень - судорожное сокращение мышц у больного сопровождается потерей сознания;

III степень - у пострадавшего наблюдается не только потеря сознания, но и нарушение сердечной деятельности и дыхания;

IV степень - больной находится в состоянии клинической смерти.

Охлаждающее воздействие СУГ. В зимнее время сжиженные углеводороды могут охлаждаться до температур ниже точки кипения и сохранять при этом свойства жидкости. Это объясняется тем, что пропан отвердевает при -189°С, а н-бутан при -135° С. Переохлажденные жидкости в испарение сжиженных углеводородов сопровождается отбором тепла из окружающей среды, что служит дополнительной причиной глубоких обмораживаний. Одной из особенностей сжиженных углеводородных газов является значительное понижение температуры при испарении жидкой фазы в летнее время. Действие жидких СУГ на кожу человека вызывает обморожения различной степени тяжести.

Травматический шок. При обширных повреждениях, ранениях, переломах, ожогах у пострадавшего может наступить шок, т.е. резкий упадок сил и угнетение всех жизненных функций организма. Шок возникает от перенапряжения нервной системы в связи с сильными болевыми раздражениями, кровопотерей и по другим причинам. Шок сопровождается резким упадком сердечной деятельности, в результате чего пульс слабеет, а иногда и вовсе не прослушивается. Лицо становится серым, с заострившимися чертами, покрывается холодным потом. Пораженный безразличен к окружающему, хотя сознание его и сохраняется. Он не реагирует на внешние раздражения, даже на прикосновение к ране и движение поврежденной конечности.

Психологический стресс

Возникновение ЧС вызывает у людей, в том числе и спасателей, состояние тревоги и страха за свою жизнь, полученные травмы вызывают развитие болевого шока. При этом могут возникнуть психогенные расстройства, вызывающие дезорганизацию у людей, что способствует увеличению вероятности потерь, вследствие возникновения паники.

8. Оценка экономического ущерба при возникновении чрезвычайной ситуации на газоперерабатывающем предприятии

Возникновение чрезвычайной ситуации на газофракционирующей установке газоперерабатывающего предприятия влечет за собой ущерб здоровью и жизни людей, окружающей природной среде, потери материальных ценностей и затраты на проведение аварийно-спасательных и восстановительных работ. Последствия аварийной ситуации имеют стоимостное выражение, характеризующее масштаб ЧС и воздействие опасности на людей, окружающую среду, материальные ценности.

Целью раздела является оценка ущерба при возникновении чрезвычайной ситуации в стоимостном выражении.

Экономический ущерб от аварии складывается из затрат на локализацию и ликвидацию последствий аварии, а также возмещения ущерба пострадавшим людям и экономике предприятия (рисунок 9).

Рисунок 9 - Составляющие экономического ущерба от аварии на газоперерабатывающем предприятии

В результате чрезвычайной ситуации безвозвратные потери среди персонала составят 30 человек, количество людей получивших травмы различной степени тяжести составляют 57 человек. Поскольку рассматриваемая в дипломном проекте ЧС носит локальный (объектовый характер), затраты на материально-техническое обеспечение рассчитываются только для спасательных формирований и на эвакуацию персонала с территории предприятия домой и в медицинские учреждения [32].

.1 Расчет затрат на локализацию аварии и ликвидацию ее последствий

К основным показателям, составляющим затраты на ликвидацию ЧС на газоперерабатывающем предприятии, относятся:

- затраты на питание ликвидаторов аварии;

затраты на оплату труда ликвидаторов аварии;

затраты на единовременную и ежемесячные выплаты семьям погибших в результате ЧС;

затраты на организацию стационарного и амбулаторного лечения пострадавших;

затраты на топливо и горюче-смазочные материалы;

затраты на восстановление разрушенных объектов;

амортизацию используемого оборудования, технических средств, аварийно-спасательного инструмента.

8.1.1 Затраты на питание ликвидаторов аварии

Затраты на питание рассчитывают, исходя из суточных норм обеспечения питанием спасателей, в соответствии с режимом проведения работ [32]:

ЗПсут = ∑ (ЗПсут i · Чi ), (42)

где: ЗПсут - затраты на питание личного состава формирований в сутки;

ЗПсут i - суточная норма обеспечения питанием, руб/(сут. на чел.);

i - число групп спасателей, проводящих работы различной степени тяжести;

Чi - численность личного состава формирований, проводящих работы по ликвидации последствий ЧС.

Тогда, общие затраты на питание составят:

Зп = (ЗПсут. спас. · Чспас + ЗПсут. др.ликв.) · Дн, (43)

где: Дн - продолжительность ликвидации аварии, дней, в данном случае 1 день.

К работе в зоне ЧС привлекается 179 человек (см. раздел 5), из них 107 человек выполняют тяжелую работу, а остальные 72 человека - работу средней и легкой тяжести.

Таблица 10

Наименование продукта

Работы средней тяжести

Тяжелые работы


Суточная норма, г/(чел·сут)

Суточная норма, руб/(чел·сут)

Суточная норма, г/(чел·сут)

Суточная норма, руб/(чел·сут)

Хлеб белый

400

5,85

600

8,77

Крупа разная

80

1,68

100

2,1

Макаронные изделия

30

0,96

20

0,64

Молоко и молокопродукты

300

3,3

500

7,00

Мясо

80

5,6

100

3,66

Рыба

40

2,44

60

0,90

Жиры

40

0,72

50

1,68

Сахар

60

1,44

70

5,50

Картофель

400

4,8

500

6,00

Овощи

150

3,75

180

4,50

Соль

25

0,28

30

0,33

Чай

1,5

0,47

2

0,63

Итого

-

31,3

-

41,64


По формуле (43) рассчитываем, что затраты на питание личного состава формирований составят:

Зп = (41,64 · 107 + 31,3 · 72) · 1 = 6710 рублей.

Общие затраты на обеспечение питанием спасательных формирований составят 6710 рублей. Обеспечение питанием формирований РСЧС осуществляется в столовых и за счет средств газоперерабатывающего предприятия, на территории которого произошла ЧС.

8.1.2  Расчет затрат на оплату труда ликвидаторов аварии

Расчет затрат на оплату труда проводят дифференцированно для каждой из групп участников ликвидации последствий ЧС в зависимости от величины их заработной платы и количества отработанных дней.

Расчет суточной заработной платы участников ликвидации ЧС определяют по формуле:

ФЗПСУТi = (Мес. оклад/ 30) · 1,15 · Чi , (44)

где Чi - количество участников ликвидации ЧС i-ой группы.

Время ликвидации аварии составляет одни сутки для пожарных подразделений и трое суток для всех остальных формирований.

Таким образом, суммарные затраты на оплату труда всем группам участникам ликвидации последствий ЧС составят (таблица 9.2):

ФЗП = ∑ ФЗПi = 12190 + 68724 + … + 16416 = 292789 руб.

Таблица 11

Наименование групп участников ликвидации

Заработная плата, руб/месяц

Численность чел

ФЗП сут, руб/чел

ФЗП за период проведения работ для i-ой группы, руб

1

2

3

4

5

Пожарные подразделения

6000

35

230

8050

Отряд механизированной группы

6500

23

249

5727

Отряд ручной разборки завалов

7000

56

268

15008

Караул охраны завода

8000

32

307

9824

Медицинская служба

5700

35

219

7665

Водители, осуществляющие эвакуацию

6000 7000

2 14

230 264

460 3696

ИТОГО

50430


В результате проведенных расчетов получим, что фонд заработной платы на оплату труда личного состава формирований РСЧС при проведении работ по ликвидации ЧС на территории Туймазинского газоперерабатывающего завода с учетом периода проведения работ составит 50430 рублей.

.1.3 Расчет затрат на организацию стационарного и амбулаторного лечения пострадавших

В результате возникновения ЧС на газоперерабатывающем предприятии величина санитарных потерь составляет 57 человек.

Суммарные затраты на лечение пострадавших складываются из затрат на реанимационное, стационарное и амбулаторное лечение, исходя из стоимости одного койко-дня и продолжительности лечения и рассчитываются по формуле:

Зл = ∑ Ск.-д..i · Дн , руб (45)

где: Ск.-д. i - стоимость одного койко-дня при соответствующем виде лечения, руб;

Дн - продолжительность лечения, дней.

Расчет затрат на пребывание пострадавших в реанимационном отделении проводят по формуле:

Зрл = Ск.-д..р. · Дн · Чр, (46)

где: Чр - численность пострадавших, проходящих лечение в реанимационном отделении.

Зрл = 719,38 · 5 · 3 =10790,7 руб.

Расчет затрат на пребывание пострадавших в терапевтическом отделении проводят по формуле (табл. 9.3):

Зтл = Ск.-д..т. · Дн · Чт, (47)

где: Чт - численность пострадавших, проходящих лечение в терапевтическом отделении.

Зтл = 123,23 · 21 · (25 + 3) = 72459,24 руб.

Расчет затрат на пребывание пострадавших на амбулаторном лечении проводят по формуле:

Зал = Ск.-д..а. · Дн · Ча, (48)

где: Ча - численность пострадавших, проходящих амбулаторное лечение в стационаре.

Зал = 40,50 · 3 · (73 + 25 + 3) = 12271,5 рублей

Таблица 12

Затраты на лечение пострадавших

Вид лечения

Стоимость одного койко-дня, руб.

Средняя продолжительность лечения, дней

Численность пострадавших, чел.

Суммарные затраты, руб.

Амбулаторное Терапевтическое Реанимационное

40,50 123,23 719,38

3 21 5

21 24 12

2551 62107 43164

Итого

107822


Суммарные затраты на лечение пострадавшего при ЧС персонала предприятия составляют 107822 рубля.

8.1.4 Расчет затрат на топливо и горюче - смазочные материалы

Затраты на горючие и смазочные материалы определяется по формуле:

ЗГСМ = Vбенз · Цбенз + Vдиз. т. · Цдиз. т. + Vмот. м. · Цмот. м. +

+ Vтранс. м. · Цтранс. м. + Vспец. м. ·Ц спец. м. + Vпласт. см. · Цпласт. м., (49)

где: Vбенз, Vдиз. т., Vмот. м.,Vтранс. м. Vспец. м., Vпласт. см. - количество использованного бензина, дизельного топлива, моторного масла, трансмиссионного масла, специальных масел, пластичных смазок соответственно, л;

Цбенз, Цдиз. т., Цмот. м., Цтранс. м., Ц спец. м., Цпласт. м. - стоимость бензина, дизельного топлива, моторного масла, трансмиссионного масла, специальных масел, пластичных смазок соответственно, л/руб.

Ниже приведены цены (за 1л) на топливо и горюче-смазочные материалы:

бензин - 14 руб.;

дизельное топливо- 12 руб.;

моторное масло - 36 руб.;

трансмиссионное масло - 55 руб.;

специальное масло - 23 руб.;

пластичные смазки - 27 руб. [34].

В таблице 13 приведен перечень транспортных средств, используемых при ведении АСДНР на территории ТГПЗ и нормы расхода горюче-смазочных материалов приведенной техники.

Тип автомобиля

Кол-во

Расход бензина, л

Расход дизельного топлива, л

Расход моторного/ транс-го/ спец-го масел, л

Расход смазки, кг

Пожарная автоцистерна

7

2490

-

2,2/0,3/0,1

0,2

Автомобиль связи и оповещения

1

24

-

2,1/0,3/0,1

0,25

Автотопливозаправщик

2

386

-

2,1/0,3/0,1

0,2

Автокран

1

232

-

2,1/0,3/0,1

0,25

Автопогрузчик

1

92

-

2,2/0,3/0,1

0,2

Бульдозер

2

-

144

2,2/0,25/0,1

0,25

Экскаватор

2

-

150

2,8/0,4/0,1

0,3

Автобус

2

406

-

2,1/0,3/0,1

0,3

ИТОГО

27

3630

2163

20/2,75/0,9

2,1


Общие затраты на ГСМ составят:

ЗГСМ= 3630 · 14 + 2163 · 12 + 20 · 36 + 2,75 · 55 + 0,9 · 23 + 2,1 · 27 =

= 77724,65 руб.

На обеспечение техники горюче-смазочными материалами потребуется 77724,65 рублей.

.1.5 Расчет затрат на амортизацию используемого оборудования и технических средств

Величина амортизации используемого оборудования, технических средств определяется, исходя из их стоимости, нормы амортизации и количества дней, в течение которых это оборудование используется, по следующей формуле:

А = [(На · Сст/ 100)/ 360] · Дн, (50)

где: На - годовая норма амортизации данного вида основных производственных фондов (ОПФ), %;

Сст - стоимость ОПФ, руб.;

Дн - количество отработанных дней.

Таблица 14

Наименование использованной техники

Стоимость, руб.

Кол-во, ед.

Кол-во отработанных дней

Годовая норма амортизации, %

Аморт. отчисления, руб.

Пожарная автоцистерна

200000

7

1

10

1667

Автомобиль связи и оповещения

500000

1

3

10

417

Автотопливо-заправщик

450000

2

3

10

750

Автокран

159000

1

3

10

132,5

Автопогрузчик

696000

1

3

10

580

Бульдозер

505000

2

3

10

842

Экскаватор

410000

2

3

10

683

Автобус

425000

2

1

10

354

Итого

10425,5


Результаты расчетов (таблица 14) затрат за использование оборудования и технических средств, необходимых для локализации пожара и ликвидации ЧС на ТГПЗ составляют 10425,5 рублей.

8.2 Определение величины экономического ущерба

Экономический ущерб от взрыва и пожара на газофракционирующей установке оценивается остаточной балансовой стоимостью разрушенного здания, оборудования и стоимостью потерянного или пришедшего в негодность сырья и готовой продукции.

В результате аварии на газофракционирующей установке газоперерабатывающего предприятия разрушатся частично или полностью технологические аппараты, оборудование, здания получат различную степень разрушения.

Таблица 15

Наименование оборудования

Стоимость оборудования, в руб.

Оценочная стоимость оборудования О соф, руб

Степень разрушения, %

Остаточная стоимость, руб.

Емкость (стальная, горизонтальная)

74777

20189

100 %

20189

Трубопроводов приема продуктов к насосам

88741

23960

60 %

14376

Трубопровод откачки продукта на сырьевой парк

1031482

278100

20 %

55620

Сигнализатор уровня

18200

4914

100 %

4914

Фильтр для отделения воды из газов

541667

146250

100 %

146250

Регистратор технологических параметров

55547

14998

100 %

14998

Итого

1820729

491196


245633


Оценочную стоимость производственных фондов определяют по формуле:

Ософ = F - F · Z% , рублей, (51)

где: F - восстановительная стоимость оборудования основных фондов;

Z - процесс износа ОФ за период эксплуатации, который определяется по формуле:

Z = , % (52)

где: РВ - реальный возраст оборудования;

ТС - нормативный срок функционирования технологического оборудования расположенного на территории резервуарного парка.

Следовательно оценочная стоимость для каждого оборудования рассчитывается исходя из срока введения его в эксплуатацию.

После окончания работ по ликвидации последствий аварии, экспертная группа проводит оценку степени разрушения технологического оборудования, зданий и сооружений. На основании экспертных оценок проводят расчет остаточной стоимости поврежденного оборудования, по суммарной величине которой судят о причиненном чрезвычайной ситуацией экономическом ущербе ТГПЗ.

Остаточную стоимость технологического оборудования рассчитывают по формуле:

Стост = Ософ · к , рублей, (53)

где к - степень разрушения технологического оборудования.

Результаты проведенных в разделе расчетов представлены в таблице 15.

Таким образом, экономический ущерб, причиненный основным производственным фондам газоперерабатывающего предприятия, при взрыве и пожаре на газофракционирующей установке составит 245633 рублей.

По приведенным расчетам видно, что экономический ущерб от чрезвычайной ситуации составляет:

Уобщ = 6710+ 50430 + 107822 + 77724 + 10425 + 67830000 + 245633= =

руб.

Анализируя результаты, приведенные в разделе, можно сделать вывод о том, что аварии на предприятиях переработки газа влекут за собой большой материальный ущерб и приводят к значительным затратам при восстановлении производства. Фактические потери для народного хозяйства значительно превышают определенный таким образом ущерб, так как в него не включены убытки от простоя предприятия, стоимость проектно-восстановительных работ.

Заключение

На основании проведенного анализа литературных источников и статистических данных показано, что количество аварий связанных с пожарами на объектах нефтепереработки имеет тенденцию к росту. В результате проведенной работы проанализированы характеристики показателей пожаровзрывоопасности объекта - количество пожаров и различных причин их возникновения.

Установлено, что основными причинами взрывов и пожаров на установке газофракционирования являются выход параметров технологического процесса за критические значения, отказ в работе приборов контроля, нарушение герметичности оборудования. В связи с этим, рассмотрены вопросы обеспечения пожарной безопасности технологических процессов на газофракционирующей установке газоперерабатывающего предприятия.

Установлено, что возникновение и развитие аварийных ситуаций на газофракционирующей установке повлечет за собой ущерб здоровью и жизни людей, потери материальных ценностей и загрязнение окружающей природной среды.

Произведена количественная оценка возможного ущерба и потерь: при наиболее неблагоприятном сценарии (взрыв, пожар) от поражающего воздействия ударной волны взрыва погибнет 30 человек, 57 человек получат травмы и ожоги различных степеней тяжести, произойдут разрушения зданий и сооружений.

Для уменьшения масштабов аварии и числа потерь в зоне ЧС составлен план организации аварийно-спасательных и других неотложных работ. В ходе выполнения дипломной работы был определен состав сил и средств ликвидации возможной аварии и их количество. Всего привлекается 179 человек личного состава формирований и 52 единицы техники.

Установлено, что своевременность реагирования сил на возникновение чрезвычайной ситуации зависит от степени их согласованности и взаимодействия. При ликвидации последствий аварии эффективность проведение АСДНР зависит также от материально-технического и тылового обеспечения привлекаемых сил и средств. Выполнен расчет необходимых средств МТО, включая количество продуктов питания, воды, ГСМ. Произведен анализ материально-технических характеристик и современного состояния парка пожарных автомобилей.

При возникновении аварии и ее последствий организуется медицинская и психологическая помощь пострадавшему населению. Медицинская помощь включает в себя удаление из зоны воздействия поражающих факторов ЧС, принятие антидотов и доставку при необходимости в лечебные учреждения.

Рассмотрены вопросы обеспечения пожаровзрывозащиты газофракционирующей установки. Определены критерии пожаровзрывоопасности: интенсивности теплового излучения пожара пролива, рассчитаны радиусы зон опасных значений теплового излучения пожара, в случае горения смеси по дефлаграционному режиму.

Произведен анализ причин возникновения чрезвычайных ситуаций на объекте и величины рисков возникновения аварий, которые оцениваются возможными социальными и материальными потерями.

По результатам каждого этапа исследований, выполненных в ходе выполнения работы предложены мероприятия, выполнение которых позволит улучшить обстановку с взрывами и пожарами в Республике Башкортостан, повысить безопасность функционирования объекта.

Список использованных источников

1. Чуракаев А.М. Переработка нефтяных газов. Учебник для рабочих. М., Недра, 1983, 279 с.

2.       Декларация промышленной безопасности Туймазинского газоперерабатывающего завода ОАО «АНК Башнефть». - Туймазы: 2002

.        Балыбердина И.Т.:Физические методы переработки и использования газа; М., Недра, 1988, 123 с.

4. М.В. Бесчастнов. Взрывобезопасность и противоаварийная защита химико-технологичесикх процессов..- М.: Химия, 1983 - 471 с.

5. Курицын Б.Н. Системы снабжения сжиженным газом. Саратов,1988

6.       Колбенков С.П.: Установки сжиженного газа в коммунально-бытовых и промышленных потребностей; М: Недра,1969, с.98

.        ГОСТ 20448-90 «Газы углеводородные сжиженные топливные для коммунально-бытового потребления»

.        Бард В.А., Кузин А.В. Предупреждение аварий в нефтеперерабатывающих и нефтехимических производствах. М.: Химия, 1989 - 356 с.

.        М.В. Бесчастнов, В.М. Соколов. Предупреждение аварий в химических производствах. - М.: Химия, 1979.-392с.

10. В. Маршалл. Основные опасности химических производств. - М.: Мир, 1989г.

11. М.В. Бесчастнов, В.М. Соколов. Аварии в химических производствах и меры их предупреждения. - М.: Химия, 1976-376с.

12. Атаманюк В.Г. Гражданская оборона. - М.: Высш. шк., 1987.

13. Повзик Я.С. Справочник руководителя тушения пожара. - М.: ЗАО « Спецтехника», 2004. - 367 с.

14.     Васильев П.П. Безопасность жизнедеятельности. - М.: Юнити, 2003. - 188 с.

.        Шувалов М.Г. Основы пожарного дела. - М.: Стройиздат, 1983. - 399 с.

.        Муравьева С.И., Буковский М.И., Прохорова Е.К. Руководство по контролю вредных веществ в воздухе рабочей зоны: Справ. изд. - М.: Химия, 19991. - 368 с.

17. Расход топлива и ГСМ. - М.: «Приор-издат», 2003 . - 80с.

18.     Каммерер Ю.Ю., Харкевич А.Е. Аварийные работы в очагах поражения: Учебное пособие/под ред. Б.П.Иванова. - 2-е изд., перераб. и доп. - М.: Энергоатомиздат, 1990. - 288 с.

.        Иванников В.П., Клюс П.П. Справочник руководителя тушения пожара. - М.: Стройиздат, 1987. - 288 с.

.        Иванов Е.Н. Основы пожарной защиты нефтеперерабатывающих заводов. - М.: Химия, 1977. - 145 с.

.        Э.Д. Хешти, X. Кумамото. Надежность технических систем и оценка риска. М.: Машиностроение, 1984 г.

.        Бейкер и др. Взрывные явления. Оценка и последствия. М.:Мир,1986 г.

.        В.Г. Жиряков «Органическая химия», М.: Химия, 1974 г.

.        М.Г. Рудин, А.Е. Драбкин. Краткий справочник нефтепереработчика. Л.: Химия, 1980 г.

.        Товарные нефтепродукты. Свойства и применение. Справочник / под. ред. В.М. Школьникова. -М.: Химия, 1978 г.

.        И.Л. Кнунянц. Краткая химическая энциклопедия, М.: Химия, 1969г.

27. Н.Н. Красногорская, Н.Ю. Цвиленева, Р.З. Хамитов. Обеспечение безопасности жизнедеятельности в чрезвычайных ситуациях техногенного характера / УГАТУ. - Уфа, 1998 - 107 с.

28.     Веселов А.И., Мешман Л.М. Автоматическая пожаро- и взрывозащита предприятий химической и нефтехимической промышленности. М.: Химия, 1975.

.        Методика (основные положения) определения экономической эффективности использования в народном хозяйстве новой техники, изобретений и рационализаторских предложений. - М.: Экономика, 1978.

30. Требования по предупреждению ЧС на потенциально опасных объектах и объектах жизнеобеспечения. Приказ от 28.02.2003 №105. Журнал «Гражданская защита» №9, сентябрь 2003, стр. 25.

31. Кимстач И.Ф., Давлишев П.П., Евтюшкин Н.М. Пожарная тактика. - М.: Стройиздат, 1984.-591 с.

.   Перечень превентивных мероприятий при чрезвычайных ситуациях: методическое пособие. - М.: Академия гражданской защиты, 2000. - 80 с.

33.     Хомяков Н.Н., Чурсин В.Ф. Средства тушения пожаров на промышленных объектах //Пожарное дело. 2003, №3, 56 с.

.        ПБ 09-170-97. Общие правила взрывобезопасности для взрывопожароопасных химических, нефтехимических и нефтеперерабатывающих производств.

.        Определение категорий помещений и зданий по взрывопожарной и пожарной опасности. НТБ 105-95 М.: ГУГПС МВД России.

36. ППБ 01-93. Правила пожарной безопасности в РФ.

.   ГОСТ 12.1.004 - 91. Пожарная безопасность. Общие требования.

38.     ГОСТ 12.1.010-76. Взрывобезопасность. Общие требования.

.        ГОСТ 12.3.047-98. Пожарная безопасность технологических процессов.

.        РД 34.21.122-87. Инструкция по устройству молниезащиты зданий и сооружений.

.        ВСН 25-09.67-85. Автоматические установки пожаротушения.

.        НПБ 101-95. Нормы проектирования объектов пожарной охраны.

43. СНиП 21-01-97 Пожарная безопасность зданий и сооружений.- М:1999 г

44. НПБ 105-03 Определение категорий помещений, зданий и наружных установок по взрывопожарной и пожарной опасности.

45. ГОСТ Р 12.3.047-98 Пожарная безопасность технологических процессов.

46.     НПБ 163-97. Пожарная техника. Основные пожарные автомобили. Общие технические требования. Методы испытаний.

47. Устав тушения пожаров и проведения аварийно-спасательных работ пожарной охраны (Проект с учетом замечаний и предложений департаментов МЧС РФ), Москва, 2004.-79 с.

48.     Федеральный закон «Об аварийно-спасательных службах и статусе спасателя» от 22 августа 1995 г №151- ФЗ.

.        Федеральный закон "О промышленной безопасности опасных производственных объектов" от 21 июля 1997г.,N 116-ФЗ.

.        Постановление Правительства Российской Федерации "О декларировании безопасности промышленного объекта Российской Федерации" от 1 июля. 1995г. N 675.

.        Федеральный закон "О защите населения и территорий от чрезвычайных ситуаций природного и техногенного характера". Принят Государственной Думой 11 ноября 1994г.

.        Положение о системе экологической безопасности Российской Федерации Утверждено Минприродой России от 3 декабря 1992г.

.        РД 03 - 418 - 01. Методические указания по проведению анализа риска опасных производственных объектов.

.        Временные рекомендации по тушению пожаров на объектах переработки и хранения сжиженных газов с помощью передвижной техники. - М.: ВНИИПО, 1975. - 36 с.

.        Правила пожарной безопасности при эксплуатации предприятий нефтепродуктообеспечения ВППБ 01-01-94.

.        Методика оценки последствий аварий на пожаро-, взрывоопасных объектах. М.: ВНИИГОЧС, 1994 г.

.        Обеспечение пожарной безопасности объектов хранения и переработки сжиженных углеводородных газов. Рекомендации. Научно-исследовательский институт противопожарной обороны.

.        Общие правила взрывобезопасности для взрывоопасных химических и нефтехимических производств.-М.: 1998 г.

.        Методика оценки аварий на пожаровзрывоопасных объектах, МЧС 1994.

.        «Безопасность жизнедеятельности» №9, 2005 г.

.        «Гражданская защита», изд. 1-12, 2001-2005 гг.

62.     http: // www. cafcointl.com.

63. http: //www/lafgroup.com.

Приложение

Таблица 1

Состав (по массе) сжиженных углеводородных газов трех марок, регламентированный нормами (нн - не нормируется)

Показатель

СПБТЗ

СПБТЛ

БТ

Сумма пропана и пропилена: не менее %

75

нн

нн

Сумма бутанов и бутиленов: не менее %

нн

-

60

не более %:

нн

60

-

Сумма метана, этана, этилена не более %

4

6

6

Жидкий остаток (по объему) не более %

1

2

2

Давление насыщенных паров Ризб, МПа




при +45°С не более

1,6

1,6

1.6

при -45°С не менее

0,16

-

-

Массовая доля сероводорода




и меркаптановой серы не более %

0,015

0,015

0,015

в том числе сероводорода не более %

0,003

0,003

0,003

Свободной воды и щелочи

-

-

-


Таблица 2

Параметры

Пропан

Бутан

Химическая формула

С3Н8

С4Н10

Молекулярная масса

44

58

Плотность жидкой фазы при температуре 15° С и атмосферном давлении, кгм / м.куб.

510

580

Температура кипения при атмосферном давлении, 0С

-43

-0,5

Теплота сгорания в газообразном состоянии, МДж/м3

85

111

Пределы воспламеняемости в смеси с воздухом при нормальных атмосферных условиях, % объема:



Нижний

2.1

1,8

Верхний

9,5

8,5

Октановое число

110

95

Степень сжатия

10...12

7,5...8,5

Теоретически необходимое количество воздуха для сгорания 1 кг топлива, кг

15,8

15,6



Таблица 3

Степень поражения

Без негативных последствий в течение длительного времени

1,4

Безопасно для человека в брезентовой одежде

4,2

Непереносимая боль через 20-30 с Ожог 1-й степени через 15-20 с Ожог 2-й степени через 30-40 с Воспламенение хлопка-волокна через 15 мин

7,0

Непереносимая боль через 3-5 с Ожог 1-й степени через 6-8 с Ожог 2-й степени через 12-16 с

10,5

Воспламенение древесины с шероховатой поверхностью (влажность 12 %) при длительности облучения 15 мин

12,9

Воспламенение древесины, окрашенной масляной краской по строганой поверхности; воспламенение фанеры

17,0


Таблица 4

Условная вероятность поражения, %

Рr


0

1

2

3

4

5

6

7

8

9

0

-

2,67

2,95

3,12

3,25

3,36

3,45

3,52

3,59

3,66

10

3,72

3,77

3,82

3,90

3,92

3,96

4,01

4,05

4,08

4,12

20

4,16

4,19

4,23

4,26

4,29

4,33

4,36

4,39

4,42

4,45

30

4,48

4,50

4,53

4,56

4,59

4,61

4,64

4,67

4,69

4,72

40

4,75

4,77

4,80

4,82

4,85

4,87

4,90

4,92

4,95

4,97

50

5,00

5,03

5,05

5,08

5,10

5,13

5,15

5,18

5,20

5,23

60

5,25

5,28

5,31

5,33

5,36

5,39

5,41

5,44

5,47

5,50

70

5,52

5,55

5,58

5,61

5,64

5,67

5,71

5,74

5,77

5,81

80

5,84

5,88

5,92

5,95

5,99

6,04

6,08

6,13

6,18

6,23

90

6,28

6,34

6,41

6,48

6,55

6,64

6,75

6,88

7,05

7,33

-

0,00

0,10

0,20

0,30

0,40

0,50

0,60

0,70

0,80

0,90

99

7,33

7,37

7,41

7,46

7,51

7,58

7,65

7,75

7,88

8,09


Таблица 5

Типы зданий

Степени разрушения и избыточные давления, кПа


слабые

средние

сильные

полные

Кирпичные и каменные: малоэтажные многоэтажные

8-20 8-15

20-35 15-30

35-50 30-45

50-70 45-60

Железобетонные крупнопанельные: малоэтажные многоэтажные

10-30 8-25

30-45 25-40

45-70 40-60

70-90 60-80

Железобетонные монолитные: многоэтажные повышенной этажности

25-50 25-45

50-115 45-105

115-180 105-170

180-250 170-215

Железобетонные крупнопанельные с железобетонным и металлическим каркасом и крановым оборудованием грузоподъемностью, в тоннах: до 50 от 50 до 100

5-30 15-45

30-45 45-60

45-75 60-90

75-120 90-135

Здания со стенами типа " Сэндвич " и крановым оборудованием грузоподъемностью до 20 тонн

10-30

30-50

50-65

65-105

Складские помещения с металлическим каркасом и стенами из листового металла

5-10

10-20

20-35

35-45


Таблица 6

Тип здания

Пустот-ность (a), м3

Удельный объем (g), м3

Объемный вес (b), т/м3

Производственные здания:

одноэтажное легкого типа

40

14

1.5

одноэтажное среднего типа

50

16

1.2

одноэтажное тяжелого типа

60

20

1

многоэтажное

40

21

1.5

смешанного типа

45

22

1.4

Жилые здания бескаркасные:




кирпичное

30

36

1.2

мелкоблочное

30

36

1.2

крупноблочное

30

36

1.2

крупнопанельное

40

42

1.1

Жилые здания каркасные:




со стенами из навесных панелей

40

42

1.1

со стенами из каменных материалов

40

42

1.1


Примечания:

устотность завала (a) - объем пустот на 100 м3 завала.

дельный объем завала (g) - объем завала на 100 м3 строительного объема.

объемный вес завала (b) - вес в т 1 м3 завала.

Таблица 7

Тип здания

Конструктивные элементы

Вес, т

Содержание арматуры, кг

Бескаркасное

Кирпичное

Максимальный вес обломков стен

1.5

-

Мелкоблочное

Максимальный вес обломков стен

1

-

Крупноблочное

Максимальный вес обломков стен

2

-

Крупнопанельное

Панели наружных стен

4

140

Каркасное

Со стенами из навесных панелей

Панели наружных стен

3

100

Со стенами из каменных материалов

Максимальный вес обломков стен

1

-


Колонны: Н = 8 м




сечением 30 х 30 см ( до 5 этажей)

2

150


Н = 8 м




сечением 40 х 40 см ( 5-12 этажей)

2.5

200


Ригели каркаса 40 х 45 см

2

150


Плиты перекрытий 6 х 1 м

2.5

150


Похожие работы на - Разработка комплекса мероприятий по обеспечению противопожарной защиты газоперерабатывающего предприятия в городе Уфа

 

Не нашли материал для своей работы?
Поможем написать уникальную работу
Без плагиата!
Без нейросетей!