Разделение газовых смесей
Введение
Абсорбер (от лат.
<#"584713.files/image001.gif">
Кольцевая насадка. Наиболее распространенный тип
кольцевой насадки - кольца Рашига (рис. 1. а). Изготавливаются из керамики,
фарфора, пластмассы, металлов, углеграфитовых масс. Диаметр колец 25-150 мм.
Кольца диаметром до 50 мм загружаются навалом. При больших диаметрах кольца
укладываются рядами.
Насадка Рашига имеет небольшую стоимость, но
малоэффективна. Для повышения эффективности массообмена кольцевую насадку
изготовляют перфорированной и с внутренними перегородками - кольца Палля (рис.
1. б) и их модификации. К кольцевой насадке с перфорированной цилиндрической
частью и внутренними перегородками относится насадка «Каскад-мини-ринг» (рис.
1. в).
Седлообразная насадка. Имеет большую удельную
поверхность (на 25 % больше, чем кольцевая) и большой свободный объем. Такую
насадку выпускают, главным образом, в виде седел «Инталокс» (рис. 1. г) и седел
Берля (рис. 1, д) из керамики и пластмассы размером 37×37
мм и 50×50
мм. Особое место среди седловидных насадок занимает насадка «Инталокс метал»
(рис. 1. е), обладающая высокой эффективностью.
абсорбер газовый поглотитель флегма
2. Адсорберы с неподвижным слоем поглотителя

Адсорберы с неподвижным слоем поглотителя.
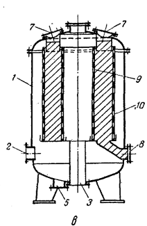
Наиболее часто применяются цилиндрические адсорберы вертикального (рис. 2, а) и
горизонтального (рис. 2, б) типов. Адсорберы со слоем поглотителя кольцевого
сечения (рис. 2, в) используются сравнительно редко.
Периодические процессы адсорбции часто
проводятся четырехфазным способом, при котором процесс проходит в четыре
стадии.
Первая стадия - собственно адсорбция, т. е.
насыщение поглотителя адсорбируемым компонентом. Паро-газовая смесь подается в
корпус 1 аппарата (рис. 2) через штуцер 2, проходит через слой поглотителя (на
рисунке заштрихован) и выходит через штуцер 3.
Вторая стадия - десорбция поглощенного
компонента из поглотителя. Подача паро-газовой смеси прекращается, и в аппарат
подается водяной пар через барботер 4 (рис. 2, а, б) или через штуцер 3 (рис.
2, в). Смесь паров десорбированного компонента и воды удаляется через штуцер 5.
Конденсат пара отводится из аппарата после десорбции через штуцер 6 (рис. 2, а,
б) или 5 (рис. 2, в).
Третья стадия - сушка поглотителя. Перекрывается
вход и выход водяного пара, после чего влажный поглотитель сушится горячим
воздухом, поступающим в аппарат через штуцер 2 и выходящим из аппарата через
штуцер 3.
Четвертая стадия - охлаждение поглотителя.
Прекращается подача горячего воздуха, после чего поглотитель охлаждается
холодным воздухом, поступающим в аппарат также через штуцер 2 отработанный
воздух удаляется через штуцер 5.
По окончании четвертой стадии цикл работы
аппарата начинается снова. Загрузку и выгрузку поглотителя производят
периодически через люки 7,5
В случае отсутствия одной из последних двух
стадий (охлаждение угля или его осушка) метод проведения процесса будет
называться трехфазным.
Существует также двухфазный метод, при котором в
прошедший регенерацию водяным паром горячий и влажный уголь подаются
последовательно горячая и холодная паро-воздушная смесь (первая стадия). При
этом процессы сушки и охлаждения угля идут одновременно с процессом поглощения.
По окончании первой стадии осуществляется десорбция поглощенных веществ водяным
паром (вторая стадия). Выбор метода работы производится на основании
технико-экономических показателей. Для уменьшения потерь тепла в окружающую
среду (при десорбции и сушке поглотителя) адсорберы покрывают тепловой
изоляцией.
. Многоступенчатая противоточная экстракция с
флегмой

При использовании флегмы (рис. 3) экстракт E1
направляется, как обычно, в установку для регенерации, где из него отгоняют
возможно большее количество экстрагента Sрег.. Однако в данном случае установка
для регенерации является аналогом дефлегматора в процессе ректификации.
Выходящий из нее остаточный продукт делится на две части: одна часть отводится
в виде экстракта Eк, а другая часть возвращается в аппарат в виде флегмы Eфл.
Поток флегмы, поступающей в аппарат на стороне отбора экстракта, вымывает из
последнего частично или полностью растворенное в нем некоторое количество
исходного растворителя (компонента А), причем удаленный из экстракта компонент
А в конечном счете переходит в рафинат. В результате степень разделения
увеличивается и выход рафината возрастает.
Возврат части экстракта в виде флегмы, улучшая
разделение и повышая чистоту конечных продуктов, приводит вместе с тем к
увеличению расхода экстрагента (что эквивалентно большему расходу тепла при
ректификации), увеличению размеров и удорожанию экстракционной установки.
Поэтому выбор доли возвращаемого экстракта, соответствующей флегмовому числу при
ректификации, должен производиться на основе технико-экономического расчета.
Отмечая сходство процессов экстракции и
ректификации, где аналогом экстракта является паровая фаза, аналогом рафината -
жидкая фаза, а относительная летучесть компонентов подобна избирательности при
экстракции, следует подчеркнуть, что эта аналогия не полная. Так, использование
флегмы при экстракции связано с определенными ограничениями. Например, возврат
флегмы должен быть таким, чтобы составы смесей жидкостей (экстракта и рафината)
соответствовали двухфазной области на треугольной диаграмме, т. е. чтобы этот
возврат не приводил к полной взаимной растворимости компонентов.
В принципе возможно также использование флегмы
рафината, но ее применение значительно менее эффективно, чем орошение
экстрактом, и, по видимому, нецелесообразно.
. Низкотемпературная ректификация

Разделение сжиженных газовых смесей
ректификацией проводят при очень низких температурах под избыточным давлением в
аппаратах, несколько отличающихся от обычных. При этом продукты разделения
получают полностью или частично в парообразном виде.
Отметим специфические особенности устройства
разделительных аппаратов для газовых смесей на примере ректификации жидкого
воздуха, получаемого методами глубокого охлаждения. Разделение воздуха
осуществляют в одноколонных разделительных аппаратах, или в аппаратах одинарной
ректификации, ив двухколонных аппаратах, или в аппаратах двойной ректификации.
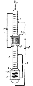
Установки одинарной ректификации. Сжатый в
компрессоре воздух после очистки от пыли, двуокиси углерода и водяных паров
подается в теплообменник 1 (рис. 4), где охлаждается продуктами ректификации
(кислородом и азотом). Затем воздух поступает в змеевик кипятильника 2 колонны,
где он частично конденсируется, отдавая тепло жидкому кислороду, кипящему
снаружи змеевика. Пары практически чистого кислорода отводятся нз кипятильника
в теплообменник 1.
Частично сконденсированный воздух, пройдя через
дроссельный вентиль 3, еще больше охлаждается. Смесь жидкого и парообразного
воздуха поступает на верхнюю, тарелку ректификационной колонны 4. На тарелках
колонны происходит обычный процесс ректификации: при многократном
взаимодействии стекающей жидкости с поднимающимися снизу парами из последних
конденсируется кислород (высококипящий компонент), а из жидкости испаряется
азот (низкокипящий компонент). В результате из верхней части колонны удаляются
пары азота, близкие к равновесию с подаваемым в колонну воздухом и поэтому
содержащие примесь кислорода (не более 7-10%). В кипятильник колонны поступает
чистый кислород. Как указывалось, кислород и технический азот направляются в
теплообменник 1 для охлаждения сжатого в компрессоре воздуха.
Особенность устройства ректификационной колонны 4
заключается в том, что она не имеет дефлегматора и работает как колонна
исчерпывания. Это объясняется тем, что практически невозможно подобрать
охлаждающий агент для конденсации паров дистиллята (азота), так как для этой
цели понадобилась бы жидкость, имеющая температуру более низкую, чем
температура жидкого азота. Кроме того, в качестве исходной смеси и флегмы в
колонну поступает воздух с очень низкой температурой, при которой точка
пересечения рабочих линий может практически соответствовать составу дистиллята,
что вообще устраняет потребность в дефлегматоре.
Существенным недостатком одинарной ректификации
являются потери кислорода с азотом. Около одной трети кислорода удаляется с
азотом, загрязняя его, и лишь две трети кислорода, находящегося в воздухе, сжимаемом
в компрессоре, полезно используется.
Принципиально возможный способ повышения степени
чистоты азота и увеличения выхода кислорода при разделении воздуха заключается
в питании ректификационной колонны исходной смесью, более богатой азотом, чем
обычный воздух. Этот принцип используется в установках двойной ректификации для
разделения воздуха.