|
Предпослед. цифра
|
Sкз.мах. МВ
|
Sкз.мин МВ
|
Длина питающей линии, км
|
Кратность пускового тока
Эл. Двигателя, Кn
|
Количество эл. двигателей
на секции, n
|
Устака по времени защит.
Присоед. на шинах п/ст., t cз. прис. ,с
|
Время перерыв.питания tn.n. C
|
Коэф. самозап. Ксэп,
|
Длина кабельной линии Lкаб,КМ
|
|
8
|
4500
|
4100
|
90
|
5,2
|
3
|
1,2
|
4,5
|
2,7
|
0,8
|
Введение
РЗ применяется для предотвращения развития аварий и уменьшения размеров
повреждения при коротком замыкании необходимо быстро выявить отключить
поврежденный элемент системы электроснабжения.
В некоторых случаях повреждение должно быть ликвидировано в течение долей
секунды. Очевидно, что человек не в состоянии справиться с такой задачей.
Определение поврежденного элемента и воздействие на отключение соответствующих
выключателей производят устройства релейной защиты с действием отключение
Основным элементом релейной защиты является специальный аппарат - реле. В
некоторых случаях выключатель и защита совмещаются одном устройстве защиты и
коммутации, например в виде плавкого предохранителя.
Релейная защита - это вид автоматики, нашедший применение в системах
электроснабжения раньше других автоматических устройств. Одной релейной защиты
недостаточно для обеспечения надежности и бесперебойности электроснабжения, в
чем можно убедиться на примере рассмотренных схем электроснабжения. Шины
распределительного пункта РИ обычно выполняются в виде двух секций. При
повреждении одной из питающих линий РП. Отключении ее релейной защитой
электроснабжение потребителей соответствующей секции прекращается.
Электроснабжение можно восстановить включением секционного выключателя
устройством автоматического включения резерва (АВР).
В системах электроснабжения применяются различные устройства автоматики
энергосистем, такие как автоматические устройства синхронизации генераторов,
синхронных компенсаторов и электродвигателей, автоматические регуляторы частоту
вращения и активной мощности синхронных генераторов.
Рисунок.1
1. Расчет токов короткого замыкания
Схема замещения прямой последовательности.
Сопротивление системы в максимальном режиме:
В минимальном режиме:
Сопротивление линии
(
):
=
Ом
Минимальное сопротивление трансформатора Т1 (Т2):
=
где
- половина полного диапазона регулирования напряжения на
стороне ВН трансформатора в (%). В работе принимать
=16% для трансформаторов Uсн=115 кВ
Максимальное сопротивление трансформатора Т1 (Т2):
Чувствительность токовой защиты трансформатора как резервной проверяется
при КЗ в конце линий, присоединенных к шинам низшего напряжения. Для этого
необходимо произвести расчет тока КЗ в минимальном режиме с учетом
сопротивления кабельной линии, токи короткого замыкания сопротивление кабельной
линии от шин подстанции до двигателей: Индуктивное сопротивление кабеля:
Активное сопротивление кабеля:
Пусковой ток двигателя равен I, = 257 А для алюминиевого кабеля принимаем
0,087 Ом/км,
89 Ом/км;
=
Токи короткого замыкания максимального режима:
22922,06 A.
435,03 А
Токи короткого замыкания минимального режима
Ток короткого замыкания на выводах равен:
2. Расчет
защиты питающей линии электропередачи
ПУЭ [1] предусматривают на одиночных линиях с односторонним питанием от
многофазных замыканий установку ступенчатых токовых защит. В этом задании
достаточно предусмотреть установку двухступенчатой токовой защиты. Первая
ступень - токовая отсечка мгновенного действия, а вторая - максимальная токовая
защита МТЗ, согласованная по селективности с МТЗ трансформатора (Т1 для линии W1).
Рекомендуется для максимального и минимального режимов работы системы
произвести расчет токов КЗ для трех точек на линии (в начале, середине и
конце), за трансформатором, и по результатам расчета построить график изменения
тока в зависимости от длины защищаемого участка.
Токовая отсечка не защищает всю длину линии и не может использоваться как
основная защита. Однако, в частном случае, когда защищаемая линия питает
тупиковую подстанцию, отсечка может выполнятся чувствительной при КЗ в любой
точке линии. для этого ток срабатывания отсечки отстраивается от тока КЗ за
трансформатором Т1 приемной подстанции.
Ток срабатывания токовой отсечки выбирается по следующему условию:
435,03= 522,03А
Iк,
макс =Iк4,макс - максимальное значение тока
КЗ за трансформатором, и проверяет по условию отстройки от броска
намагничивающего тока силового трансформатора Т1.
Номинальный ток трансформатора Т1:
Ток срабатывания токовой отсечки должен быть проверен по условию:
чувствительность отсечки:
Время срабатывания отсечки toтс=0,
1 с.
Ток срабатывания МТЗ рассчитывается по выражению:
чувствительность МТЗ на основном участке:
на резервном участке:
Необходимая по ПУЭ чувствительность обеспечивается. Время срабатывания
МТЗ рассчитывается после выбора времени tмтз. срабатывания МТЗ трансформатора по выражению:
где tмтз. - время срабатывания МТЗ
трансформатора (получается из расчета защит трансформатора)
= 0,3 - 0,6с - ступень селективности.
Для предотвращения ложного срабатывания защиты при КЗ за трансформатором
применяется запрет (блокировка) с помощью минимальных реле напряжения.
Напряжения срабатывания защиты отстраивает от остаточного напряжения в месте
установки при КЗ за трансформатором при прохождении по линии тока, равного ток
срабатывания отсечки.
Рисунок 2. Схема питающей линии (а), график изменения тока (б) и карта
селективности (в)
3. Расчет
защит трансформаторов
Расчет токов КЗ для выбора параметров срабатывания и проверки
чувствительности защит должен производится с учетом изменения сопротивления
питающей системы (для максимального и минимального режимов работы системы) и
сопротивлений трансформаторов при регулировании напряжения под нагрузкой.
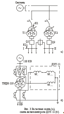
Производим выбор уставок дифференциальной защиты трансформатора на реле
ДЗТ- 11.
Значение максимального тока КЗ необходимо для расчета у ставок
дифференциальных защит, а значение минимального тока КЗ - для вычисления
коэффициента чувствительности защит. Номинальные токи трансформатора со сторон
высокого и низкого напряжения:
Схема соединения трансформаторов тока со стороны ВН - треугольник, со
стороны НН- звезда. Коэффициент трансформации ТТ со стороны ВН - KIвн=100/5: со стороны НН - KIнн=1000/5. Вторичные токи в плечах
защиты:
За основную принимаем сторону НН как сторону с большим током. Ток
срабатывания защиты равен:
где
, - коэффициент отстройки защиты от бросков тока
намагничивания,
= 1,2 -1,5 для защиты с реле ДЗТ-11,
, - номинальный ток трансформатора.
Вторичный ток срабатывания защиты на основной стороне:
Расчетное число витков на основной стороне:
принимаем
Расчетное число витков на неосновной стороне:
электроснабжение электродвигатель ток трансформатор
принимаем
Тогда составляющая первичный ток небаланса:

где
- периодическая составляющая при расчетном внешнем трехфазном
металлическом коротком замыкании.
Е - относительное значение полной погрешности трансформаторов тока,
принимается равным 0,1.
- коэффициент однотипности трансформаторов тока принимается
равным 1,0.
- коэффициент учитывающий переходный режим для ДЗТ, может
быть принят равным 1,0.
Выбираем место установки тормозной обмотки стороны НН, тогда число витков
тормозной обмотки будет равно:
Где tg
=0,75-0,8;
принимаем
7.
Определяем коэффициент чувствительности защиты при коротком замыкании за
трансформатором в зоне действия защиты, когда торможение отсутствует, ток
короткого замыкания проходит через трансформаторы стороны 115 кВ. для схемы
соединения обмоток трансформатора тока в треугольник расчетный ток в реле
находится:
Ток срабатывания неосновной стороны равен:
делаем проверку:
или
Коэффициент чувствительности равен:
Время срабатывания дифференциальной защиты
= 0,1с.
далее производим расчет МТЗ трансформатора, ток срабатывания МТЗ равен:
Где
= 1,1 - 1,2- коэффициент отстройки;
0,85;
- коэффициент самозапуска.
Коэффициент чувствительности на основном участке Кч > 1,5:
удовлетворяет ПУЭ.
Для
обеспечения селективности время действия защиты необходимо согласовывать с
временем защиты секционного выключателя (Q3). Время действия защиты секционного выключателя должно быть
согласовано с временем действия защит отходящих присоединений (
). Таким образом, у МТЗ
трансформатора время действия защиты должно выбираться последующему условию:
где
0,3 - 0,5 - ступень селективности для токовой защиты.
Тогда время срабатывания МТЗ питающей линии равно:
4. Расчет
защиты электродвигателей
Для
защиты электродвигателей мощностью менее 2МВт от многофазных замыканий должна
предусматривается токовая одно-релейная отсечка без выдержки времени,
отстроенная от пусковых токов, с реле прямого или косвенного действия,
включенным на разность токов двух фаз.
Наличие перегрузки электродвигателей по технологическим причинам
обязывает предусмотреть защиту от перегрузки. Использование реле типа РТ-80 позволит индукционной части
выполнить защиту от перегрузки, а на электромагнитной - токовую отсечку.
Номинальный ток срабатывания равен:
Пусковой ток находится:
Установка индукционной части реле защиты от перегрузки:
где
= 1,2;
= 0,85.
- первичный ток срабатывания защиты.
Ток срабатывания реле с учетом схемы соединения ТТ:
где
- для схемы соединения на разность токов в нормальном режиме
и при трехфазном КЗ (
= 1 при двухфазном КЗ: А-В и В-С - обратите внимание и
учтите при оценке чувствительности защиты).
По полученной величине тока срабатывания реле выбирается исполнение реле
и уставка тока срабатывания (
).
Ток срабатывания защиты от многофазных замыканий:
Вторичный ток срабатывания отсечки:
Установка отсечки для реле РТ-80 определяется как кратность тока срабатывания
отсечки к току установки:
Чувствительность отсечки определяют при КЗ на выводах электродвигателя.
Ток КЗ следует рассчитывать для минимального режима работы сети с учетом
сопротивления кабельной линии, к которой подключен электродвигатель. По
требованию [1]
=2.
Коэффициент чувствительности отсечки:
Удовлетворяет требованиям ПУЭ.
Для защиты от многофазных КЗ электродвигателей мощностью до 5000 кВт
обычно используется максимальная токовая отсечка. Наиболее полную токовую
отсечку можно выполнить с реле прямого действия, встроенными в привод
выключателями. С реле косвенного действия применяется одна из схем соединения
трансформаторов тока и реле. Использование токовых реле с зависимой
характеристикой позволяет обеспечить с помощью одних и тех же реле защиту от КЗ
и перегрузки.
Рис. 4. Защита электродвигателя от коротких замыканий и перегрузок
5. Расчет самозапуска электродвигателей
Для времени перерыва питания
= 4,5 с кратность пускового тока
находится из зависимости
и равна 0,82 от значения для заторможения двигателей то
есть:
тогда из [5] пусковая мощность в относительных в единицах при
=6,6 кВ и
=10000 кВ
А равна:
Начальное напряжение при самозапуске:
,2 В > 3780 В самозапуск успешный.
Хвн - суммарное сопротивление цепи питания (система, трансформатор,
линия).
Список
литературы
1. Правила устройства электроустановок Г Минэнерго СССР. 6-е
изд., перераб. и доп.-М.: Энергоатом издат, 1986. - 648 с.
. Андреев В.А. Релейная защита, автоматика и телемеханика в
системах электроснабжения: Учебник для студентов вузов спец.
"Электроснабжение промышленных предприятий городов и сельского
хозяйства".-2-е изд., перераб. и доп.-М.: Высш. шк., 1985. - 391 с.
. Кривенков В.В., Новелла В.Н. Релейная защита и автоматика
систем электроснабжения: Учеби. пособие для вузов.-М.: Энергоиздат. 198 1.-328
с.
. Руководящие указания по релейной защите. Вып.IЗБ. Релейная
защита понижающих трансформаторов и автотрансформаторов 110-500 кВ:
Расчеты.- М.: Энергоатомиздат, 1985. - 96 с.
. Реле защиты / Алексеев В.С. и др. - М.: Энергия, 1 976.-464
с.
. Сыромяткинов И.А. Режимы работы асинхронных и синхронных
двигателей! Под ред. Л.Г. Мамиконянца. - 4-е изд., перераб.и доп.-М.:
Энергоатомиздат, 1984. - 240 с.