Расчет теплообменника газотурбинного двигателя замкнутого цикла
ВВЕДЕНИЕ
Теплообменник, теплообменный аппарат -
устройство, в котором осуществляется передача теплоты от горячего теплоносителя
холодному (нагреваемому). Теплоносителями могут быть газы, пары, жидкости. В
зависимости от назначения теплообменные аппараты используют как нагреватели, а
как охладители. Применяются в технологических процессах нефтеперерабатывающей,
нефтехимической, химической, газовой и других отраслях промышленности, в
энергетике и в коммунальном хозяйстве.
Теплообменники по способу передачи теплоты
подразделяют на поверхностные, где отсутствует непосредственный контакт
теплоносителей, а передача тепла происходит через твердую стенку, и
смесительные, где теплоносители контактируют непосредственно. Поверхностные
теплообменники в свою очередь подразделяются на рекуперативные и
регенеративные, в зависимости от одновременного или поочередного контакта
теплоносителей с разделяющей их стенкой.
Рекуперативный теплообменник - теплообменник, в
котором горячий и холодный теплоносители движутся в разных каналах, в стенке
между которыми происходит теплообмен. При неизменных условиях параметры
теплоносителей на входе и в любом из сечений каналов, остаются неизменными ,
независимыми от времени, т.е. процесс теплопередачи имеет стационарный
характер. Поэтому рекуперативные теплообменники называют также стационарными.
В зависимости от направления движения
теплоносителей рекуперативные теплообменники могут быть прямоточными при
параллельном движении в одном направлении, противоточными при параллельном
встречном движении, а также перекрестноточными при взаимно перпендикулярном
движении двух взаимодействующих сред.
Наиболее распространенные в промышленности
рекуперативные теплообменники:
· Кожухотрубные теплообменники
· Элементные (секционные)
теплообменники
· Двухтрубные теплообменники типа
«труба в трубе»
· Витые теплообменники
· Оросительные теплообменники
· Ребристые теплообменники
· Спиральные теплообменники
· Пластинчато-ребристые теплообменники
· Графитовые теплообменники
теплообменник газотурбинный замкнутый цикл
1. ОПИСАНИЕ, КОНСТРУКЦИЯ ТЕПЛООБМЕННИКА ГТД
ЗАМКНУТОГО ЦИКЛА
Принципиальная схема газотурбинной установки
регенеративного цикла с промежуточным охлаждением газа в
теплообменнике-холодильнике представлена на рисунке 1. Схема газотурбинного
регенеративного цикла включает в себя 1- реактор, 2-турбина,3- компрессор, 4-
электрогенератор, 5-теплообменник, 6 - холодильник, 7 - регенератор.
Рисунок 1 - Принципиальна схема газотурбинного
цикла с промежуточным охлаждением газа
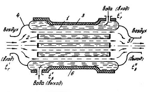
Конструктивная схема теплообменника представлена
на рисунке 2.
Рисунок 2 - Конструктивная схема холодильника
Холодильник представляет собой кожухотрубчатый
теплообменник, расположенный горизонтально. Теплопередающая поверхность его
образована пучком труб 1, закреплённых в трубных решётках 2, которые охвачены
кожухом 3, снабженным днищами 4 и патрубками 5 для входа и выхода газа и
охлаждающей воды. Таким образом, получаются две полости, разделенные стенками
труб: трубное пространство, по которому движется горячий газ (воздух) и
межтрубное пространство, по которому движется охлаждающая вода.
2. ТЕПЛОВОЙ РАСЧЕТ ПРОТИВОТОЧНОГО
РЕКУПЕРАТИВНОГО ТЕПЛООБМЕННИКА
2.1 Определение
массовых секундных расходов теплоносителей.
На основе уравнения теплового баланса, при
отсутствии потерь тепла в фазовых переходах теплоносителей, массовый секундный
расход теплоносителей определяется по формуле:
) (2.1)
где G-массовый секундный расход,
кг/с;
тепловой поток, Вт;
∆і- изменение энтальпии,
Дж/кг.
, (2.2)
где -
средняя изобарная теплоёмкость,
Дж/кг*К;
-изменение температуры, (для газа
, для воды
), ºС
Температурные условия работы
теплообменника, необходимые для вычисления массовых секундных расходов
теплоносителей и значения массовых секундных расходов теплоносителей определены
в пункте 2.2
2.2
Определение температурных условий работы теплообменника
Средняя по длине теплообменника
температура воды определяется по формуле:
ºС, (2.3)
где -
температура воды на входе, ºС
-температура воды на выходе, ºС
Средняя по длине теплообменника
температура газа определяется по формуле:
, (2.4)
где
- среднелогарифмический
температурный напор между теплоносителями.
ºС, (2.5)
ºС,
По полученным значениям
и
определяются
теплофизические характеристики теплоносителей, которые представлены в таблице
2.
Таблица 2-Теплофизические
характеристики теплоносителей [1].
|
Параметр
|
Газ
|
Параметр
|
Вода
|
|
120 ,ºС40
|
|
|
|
|
, кг/м³0,898 , кг/м³992,2
|
|
|
|
|
, кДж/кг×К1,009 , кДж/кг×К4,18
|
|
|
|
|
, Вт/м×К , Вт/м×К
|
|
|
|
|
, м²/с , кДж/кг168
|
|
|
|
|
, м²/с 
|
|
|
|
|
0.686 4,31
|
|
|
|
|
  p, МПа0,0981
|
|
|
|
2.3 Определение
коэффициентов теплоотдачи
Коэффициент теплоотдачи от охлаждаемого газа к
стенке трубки вычисляется по формуле:
, (2.6)
где
- коэффициент теплоотдачи, Вт/м2×К
- диаметр трубки (
= 8…12 мм)
-коэффициент теплопроводности, Вт/м×К
- критерий Рейнольдса
- критерий Прандтля
=1,05 - коэффициент, учитывающий
влияние температурного фактора для охлаждаемого газа
Принимаем
мм.
Коэффициент теплоотдачи от
охлаждаемого газа к стенке трубки определяют с учетом числа трубок, по которым
он протекает, ориентировочно это число может быть найдено по формуле:
где,
- плотность газа, кг/м³;
- скорость газа, (
), м/с
(2.8)
Скорость газа примем равной 20 м/с:
Число трубок округляется до 169
Определяем значение действительной скорости
газа:
м/с
Полученная скорость отличается на 0,5% от
рекомендованной, что удовлетворяет погрешности 10%.
Критерий Рейнольдса определяется по формуле:
, (2.9)
где
- коэффициент кинематической
вязкости газа, м2/с
м2/с
Вт/м2×К
Коэффициент теплоотдачи от трубок к охлаждающей
воде определяется по формуле:
где
- диаметр эквивалентный, м;
=1,02 - коэффициент, учитывающий
влияние температурного фактора для нагреваемой воды.
Определяется проходное (живое)
сечение межтрубного пространства по формуле:
, (2.10)
где
-плотность воды, кг/м3
-скорость воды, (
=1…3) м/с
Скорость воды примем равной 2 м/с;
м2
Внутренний диаметр кожуха
определяется по формуле:
(2.11)
м (2.12)
где
- толщина стенки трубы, (
=
0,002…0,004) м
Толщину стенки трубы принимаем
равной 3 мм
м
На схеме трубной доски размещаются отверстия под
трубки с шагом:
= (1,25…1,3)
=1,3∙0,016=0,0208м
Шаг должен быть не меньше
минимального шага:
= (1,23…1,28)
=1,28∙0,016=0,0204м
Принимаем шаг равный 0,016м
Схема расположения труб в трубной
решетке представлена на рис.3
Рисунок 4 - Схема расположения труб
в трубной решетке
2.4
Определение коэффициентов теплопередачи
Коэффициент теплопередачи
определяется простым соотношением по формуле
(2.13)
При вычислении среднего диаметра
необходимо соблюдать следующее правило: так как
, то
При малой толщине стенки трубки
(теплопроводность
) можно
воспользоваться соотношением для плоской стенки.
Если при этом
, то
погрешность расчета не превышает 3-5%. Коэффициент
,
учитывающий загрязнение стенок в ходе эксплуатации теплообменника, снижает
обычно коэффициент теплопередачи на 20-30%.
Таким образом, коэффициент
теплопередачи определяется по формуле:
(2.14)
где
- толщина стенки, м
-теплопроводность стенки,
2.5
Определение площади поверхности охлаждения
Площадь поверхности охлаждения
определяется по основному выражению теплопередачи
(2.15)
Откуда
Определяется длина труб по формуле:
(2.16)
Остальные размеры теплообменника определяются с
учетом устройства подводящих устройств каналов для прохода воды. Основные
размеры подводящих устройств холодильника представлены на рис. 4.
Рисунок 4 - Основные размеры подводящих устройств
холодильника
Скорости теплоносителя в подводящем коллекторе и
штуцере должны быть примерно равны. В этом случае их подводящие сечения связаны
между собой равенством:
Выполняется определение размеров
подводящих каналов.
Определяется площадь сечения:

Полученное значение округляется (в
сторону увеличения ) до ближайшего стандартного. Принимается
Определяется ширина кольцевого
коллектора по формуле:
(2.17)
Определяется высота кольцевого коллектора по
формуле:
(2.18)
Определяется высота круглого подхода к трубкам
по формуле:
(2.19)
Определяется диаметр наружного кожуха кольцевого
канала (коллектора) по формуле:
(2.20)
3. ГИДРАВЛИЧЕСКИЙ РАСЧЕТ ТЕПЛООБМЕННИКА
Основной задачей гидромеханического расчета
является определение потери давления теплоносителя при прохождении его через
аппарат.
Полный перепад давления, необходимый при
движении жидкости или газа через теплообменник, определяется по формуле:
(3.1)
где
- суммарные потери сопротивления
трения на всех участках, МПа
- местные потери давления, МПа
- потери, обусловленные ускорением
потока в канале, МПа
- затраты на преодоление самотяги,
МПа
В нашем случае учтем первые три вида
потерь .
Суммарные потери трения определяются
по формуле:
(3.2)
где
- коэффициент сопротивления трения.
Так как
- ламинарное
движение среды (воды).
Местные потери давления определяются
по формуле:
(3.3)
где
-коэффициент местного сопротивления
(для каналов
=0,01…0,05 )
Потери, обусловленные ускорением
потока в канале,определяются по формуле:
(3.4)
где
-диаметр подводящих воду каналов (
=
),м
-число подводящих воду каналов
(штуцеров)
Гидравлическое сопротивление
межтрубного пространства определяется по формуле:
(3.5)
где
-потери по длине трубок
-потери на местных сопротивлениях
(3.6)
где
-коэффициент сопротивления трения
(3.7)
где
-коэффициент потерь в межтрубном
пространстве
=0,5
=1
Гидравлическое сопротивление
подводящих каналов должно быть меньше гидравлического сопротивления межтрубного
пространства.
Мощность, затрачиваемая на
перемещение теплоносителя через межтрубное пространство, определяется по
формуле:
(3.8)
где
ЗАКЛЮЧЕНИЕ
В данной курсовой работе был произведен тепловой
и гидравлический расчет противоточного рекуперативного теплообменника для
газотурбинной наземной установки замкнутого цикла. Для заданных параметров
рабочего тела определены оптимальные размеры рекуператора, которые
соответствуют минимальным значениям суммарных потерь тепловой мощности.
Согласно тепловому расчету рабочая поверхность теплообменника составила 24,12
кв. метров, оптимальный диаметр кожуха теплообменника - 0,227 метра,
оптимальная длина труб - 2,94 метра.
Полный перепад давления, необходимый при
движении жидкости или газа через теплообменник составил 21737,12 Па; мощность,
затрачиваемая на перемещение теплоносителя через межтрубное пространство -
456,27 Вт.
СПИСОК ИСПОЛЬЗОВАННЫХ ИСТОЧНИКОВ
1. Толстоногов
А.П. Расчет теплообменника газотурбинного двигателя замкнутого цикла:
методическое указание/ составитель А.П. Толстоногов. - Куйбышев: КуАИ, 1984. -
16 с.
2. Мухачев
Г.А., Щукин В.К. Термодинамика и теплопередача: Учеб. для авиац. вузов. - 3-е
изд., перераб. - М.: Высш. шк., 1991. - 480 с.: ил.
. Петунин
Б.В. Теплоэнергетика ядерных установок. - М. - Л.: Атомиздат, 1960.
. Идельчик
И.Е. Справочник по гидравлическим сопротивлениям. - М.: Госэнергоиздат, 1962.
. Берман
С.С. Теплообменные аппараты и конденсационные устройства турбоустановок. - М.:
Машгиз, 1959.