Преобразователь абсолютного давления газа
ВВЕДЕНИЕ
Мир датчиков чрезвычайно разнообразен: большое
число измеряемых физических величин или параметров исследуемого объекта;
разнообразие физических зависимостей, используемых для измерительных
преобразователей; разнообразие современных объектов измерения, предопределяющих
специфику требований к датчикам и измерениям в целом (ракетно-космическая
техника, авиация, судостроение, энергетика, атомная техника и т.д. ракетно-космическая техника объектов измерения,
предопределяющих специфику требований к датчикам исследуемого объекта).
Для контроля давления, а впоследствии его регулирования используют всевозможные
преобразователи и датчики. Измерительный преобразователь как средство измерений
является преобразователем входного измерительного сигнала в выходной сигнал,
более удобный для дальнейшего преобразования, передачи, обработки
вычислительными устройствами или хранения.
Тема данного курсового проекта преобразователи
абсолютного давления газа, а именно датчиков давления. Несмотря на кажущуюся
незаметность использования подобных преобразователей, эти преобразователи и
устройства в которые они входят очень прочно обосновались в нашей жизни, будь
это датчики давления в шинах автомобиля или же различные датчики, используемые
в промышленности и на предприятиях. Хотя тема этого курсового проекта имеет
узкую специализацию, тем не менее эта тема остается актуальной в настоящее
время. В гидравлических, тепловых, ядерных и других энергетических установках
необходим непрерывный контроль за давлением для обеспечения нормального режима
работы, устранения риска разрыва стенок сосудов и трубопроводов и возникновения
аварийных ситуаций. Контроль давления помогает избежать аварий и поломок, как
на производстве, так и в быту тем самым еще раз подтверждая тот факт, что
измерения прочно засели в нашу жизнь и обойтись без них сейчас просто
невозможно.
Для достижения поставленной цели было
рассмотрено множество различных преобразователей с различным принципом действия
и выбран один, для дальнейших расчетов и проектирования.
.
К ВОПРОСУ О ПОНЯТИИ ИЗМЕРЯЕМОГО ОБЪЕКТА
Давление является одной из основных величин,
связанных с описанием поведения жидких и газообразных сред. Одна лишь
энергетика потребляет большую часть выпускаемых промышленностью датчиков
давления.
Давление - это физическая величина,
характеризующая воздействие усилия на единицу площади поверхности тела или
условно выделенную внутри тела элементарную площадку. Оценивать величину
давления можно как в абсолютных, по отношению к вакууму, так и в относительных,
по отношению к атмосферному давлению, единицах; кроме того, результат измерения
может быть разностью двух произвольных величин - двух разных давлений.
Измерение давления может проводиться в различных средах, физические и
химические характеристики которых весьма разнообразны.
Все материалы можно разделить на твердые и
жидкие среды. Под термином жидкая среда понимается все, что способно течь. При
изменении давления жидкости превращаются в газы и наоборот. Давление имеет
механическую природу, и поэтому для его описания можно использовать основные
физические величины: массу, длину и время. Известен факт, что давление сильно
меняется вдоль вертикальной оси, тогда как на одинаковой высоте оно постоянно
во всех направлениях.
Избыточное давление - давление газа, превышающее
давление окружающей среды. В противоположном случае речь идет о вакууме.
Давление называют относительным, когда его измеряют относительно давления
окружающей среды, и абсолютным - когда оно измеряется по отношению к нулевому
давлению. Давление среды может быть стационарным, когда жидкая среда находится
в покое, или динамическим, когда оно относится к жидкостям в движении.
Принцип действия любого датчика давления
заключается в преобразовании давления, испытываемого чувствительным элементом.
В конструкцию практически всех преобразователей давления входят сенсоры,
обладающие известной площадью поверхности, чья деформация или перемещение,
возникающие вследствие действия давления, и определяются в процессе измерений.
Таким образом, многие датчики давления реализуются на основе детекторов
перемещения или силы, причиной возникновения которой является тоже перемещение.
Современные датчики давления основаны на
различных методах электрического преобразования входных параметров. Выпускаются
миниатюрные тензорезисторные, пьезорезистивные, пьезоэлектрические, емкостные с
монокристаллическим упругим элементом, использующие эффект Холла и другие
датчики давления. На мировом рынке получили широкое распространение
электрические датчики с переменным магнитным сопротивлением, конденсаторные
датчики с переменной емкостью, виброчастотные преобразователи фирмы Foxboro,
тензометрические датчики с использованием тонкопленочных или напыленных
металлических резисторов, тензометрические преобразователи с полупроводниковыми
тензорезисторами.
Сейчас одним из самых распространенных
направлений построения датчиков давления является разработка интегральных
тензорезисторных преобразователей с максимальным использованием достижений
физики полупроводников и микроэлектронной технологии. Высокая чувствительность
полупроводниковых тензорезисторов, применение монокристаллических материалов в
упругих элементах тензорезисторных преобразователей, высокая стабильность и
надежность, технологическая совместимость с интегральными микросхемами
обработки сигнала, миниатюрные размеры полупроводниковых чувствительных
элементов, возможность применения групповой технологии изготовления являются их
основными достоинствами. Поэтому полупроводниковые преобразователи привлекают к
себе внимание приборостроителей во всем мире.
В системе СИ единицей измерения давления
является паскаль: 1 Па=1Н/м2. Это значит, что давление 1 паскаль
равно силе, равномерно распределенной по поверхности площадью 1 квадратный
метр. Иногда в качестве технической единицы измерения давления применяется
единица, называемая атмосфера, обозначаемая 1 атм. Одна атмосфера это давление,
которое оказывает столб воды высотой 1 метр на площадку 1 квадратный сантиметр
при температуре +4°С и нормальном гравитационном ускорении.
Для грубых оценок можно запомнить
еще одно соотношение: 0.1 мм Н20 создает давление, приблизительно
равное 1 Па. В промышленности применяется другая единица давления, называемая
торр (это название дано в честь физика Торричелли), которая определяется как
давление, создаваемое столбиком ртути высотой 1 мм при 0°С, нормальном
атмосферном давлении и нормальной гравитации. Идеальное давление атмосферы
Земли, равное 760 торр, называется технической атмосферой:
атм = 160торр = 101.325Па.
В системе единиц США давление
измеряется в фунтах-силы на квадратный дюйм. Эта единица там обозначается как рsi.
Для перевода рsi в единицы
системы СИ можно воспользоваться соотношением:
рsi
= 6.89х103Па= 0.0703 атм.
датчик давление
пьезоэлектрический преобразователь
1. ОБЗОР АНАЛОГОВ И ПРОТОТИПОВ
Рассмотреть все известные сегодня датчики
давления, невозможно ввиду их огромного разнообразия. Поэтому рассмотрим
основные типы преобразователей, наиболее часто применяемых и подходящих для
измерения нашей величины.
1.1 Пьезоэлектрические датчики
Пьезоэлектрический эффект часто лежит в основе
построения датчиков для измерения давлений. Принцип заключается в прямом
преобразовании механической энергии в электрическую в материалах, которые имеют
кристаллическую структуру, включающую в себя электрические диполи. Эти датчики
работают в частотном диапазоне менее 2 Гц..5кГц. Данный тип датчиков
характеризуется хорошим подавлением внеосевых шумов, высокой линейностью и
широким температурным диапазоном (до 120°С). Наибольшее распространение для
этих преобразователей получили керамические пьезоэлектрические материалы, такие
как титанат бария, титанатцирконат свинца и метаннобат свинца. Но иногда в
качестве чувствительных элементов применяются кварцевые кристаллы. Кристалл
располагается между корпусом и контактирующей мембраной, на которую действует
давление.
Устройство пьезоэлектрического преобразователя
давления. Измеряемое давление Р действует на мембрану 1, представляющую собой
дно корпуса преобразователя. Кварцевые пластины 2 соединены параллельно,
наружные обкладки пластин заземляются, а средняя обкладка (латунная фольга 3)
изолируется. Сигнал с кварцевых пластин снимается кабелем 5. Для удобства
предусмотрено отверстие, закрываемое пробкой 4.
Рис. 2.1. Устройство пьезоэлектрического
преобразователя
Выходная мощность пьезоэлектрических
преобразователей очень мала, и поэтому на выход преобразователя должен быть
включен усилитель с большим входным сопротивлением.
.2 Пьезорезонансные датчики
Этот тип тоже использует пьезоэффект, только в
отличие от прошлого типа тут используется обратный пьезоэффект - изменение
формы пьезоматериала в зависимости от подаваемого тока. В датчиках данного типа
используется резонатор (например пластина) из пьезоматериала, на которую
нанесены с двух сторон электроды. На электроды по переменно подается напряжение
разного знака, таким образом пластина изгибается то в одну то в другую сторону
с частотой подаваемого напряжения. Но если на эту пластину подать силу,
например мембраной чувствительной к давлению, то частота колебания резонатора
изменится. Частота резонатора и будет показывать величину, с которой давление
давит на мембрану, а она в свою очередь давит на резонатор.

Рис. 2.2
На рисунке 2.2 приведен пьезорезонансный датчик
абсолютного давления. Он выполнен в виде герметичной камеры 1. Герметичность
достигается соединением корпуса 2, основания 6 и мембраны 10, которая крепится
к корпусу с помощью электронно-лучевой сварки. На основании 6 закреплены два
держателя: 4 и 9. Держатель 4 крепится к основанию с помощью специально
перемычки 3 и он держит силочувствительный резонатор 5. Держатель 9, установлен
для крепления опорного пьезорезонатора 8.
Мембрана 10 передает усилие через втулку 13 на
шарик 6, закрепленный в держателе 4. Шарик 4 передает силу давления на
силочувствительный резонатор 5.Провода 7 крепятся на основании 6 и служат для
соединения резонаторов 5 и 8 с генераторами 17 и 16 Выходной сигнал абсолютного
давления формируется схемой 15 из разности частот генераторов. Датчик давления
помещен в активный термостат 18 с постоянной температурой 40 градусов Цельсия.
Измеряемое давление подается через штуцер 12.
1.3 Тензорезистивный датчики
Тензорезистивные датчики работают на
основе чувствительных элементов, принципом которых является измерение
деформации тензорезисторов, сформированных в эпитаксиальной пленке кремния
<#"584158.files/image004.gif">
Рис. 2.3.1 Упрощенный вид
тезорезистивный датчика давления
Датчик представляет собой единую
конструкцию состоящую из первичного мембранного тензопpеобpазователя давления 1
(тензопpеобpазователя) и электронного блока 2.
Измеряемое давление воздействует
непосредственно через мембрану на тензопpеобpазователь. Электрический сигнал
тензопpеобpазователя передается в электронный блок, в котором он преобразуется
в унифицированный токовый выходной сигнал.

1 - Тензопреобразователь
- Электронный блок
- Штуцер
- Разъем
- Корректор нуля "0"
- Корректор диапазона "Δ"
- Задвижка
- Винт крепления разъема
Рисунок 2.3.2 - Типовая схема устройства
малогабаритного преобразователя давления
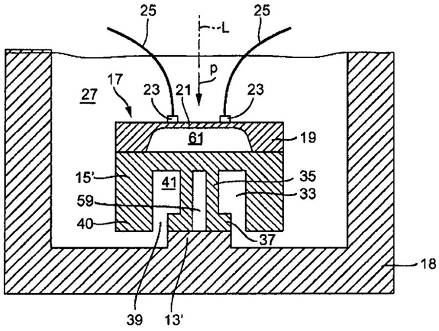
1.4 Полупроводниковый датчик давления
Устройство для измерения давления содержит
цоколь, проставку из полупроводника, полупроводниковый датчик давления с
основанием и измерительной мембраной.
Рис. 2.4
Полупроводниковые датчики давления
изготавливаются обычно на кремниевой основе, к примеру, с использованием
технологии «кремний на диэлектрике» (КНД-технология). Они выполняются в виде
чипа датчика давления, который обычно имеет основание и расположенную на
основании измерительную мембрану. В процессе измерения первое давление подается
на первую сторону измерительной мембраны.
Для регистрации абсолютных давлений под
измерительной мембраной предусмотрена закрытая вакуумная камера. При этом воздействующее
на первую сторону измерительной мембраны первое давление вызывает зависящее от
измеряемого абсолютного давления отклонение измерительной мембраны. Полученное
отклонение измерительной мембраны регистрируется во всех трех случаях
посредством расположенных на измерительной мембране элементов датчика, к
примеру, пьезорезисторов, и преобразуется в электрический выходной сигнал,
который далее передается для дальнейшей обработки и/или оценки.
Полупроводниковые датчики давления очень
чувствительны и поэтому помещаются в корпус, через который осуществляется
подача соответствующих давлений, выдача данных по результатам измерения и
монтаж устройства для измерения давлении в месте измерения.
Для измерения абсолютных давлений находящаяся
под измерительной мембраной камера закрыта или вакуумирована.
Для снижения возникающих напряжений между
цоколем и полупроводниковым датчиком давления обычно вставляется проставка,
состоящая из того же материала, что и полупроводниковый датчик давления. Однако
и в данном случае возникают обусловленные различными коэффициентами
термического расширения цоколя и проставки, к примеру, зависящие от
температуры, механические напряжения, которые воздействуют на передаточную
характеристику измерительной мембраны.
Устройство (рис 2.4) включает в себя
металлический цоколь 13, расположенную на цоколе 13 и соединенную с цоколем 13
проставку 15 из полупроводника, а также расположенный на проставке 15 и
соединенный с проставкой 15 полупроводниковый датчик 17 давления.
Полупроводниковый датчик 17 давления
представляет собой чип датчика давления на кремниевой основе и имеет основание
19 и поддерживаемую основанием 19 измерительную мембрану 21. Основание 19 имеет
дискообразную торцевую поверхность, которая располагается на имеющей такую же
форму внешней кромке проставки 15, и прочно соединено с ней. В процессе
измерения первое давление p1 подается к первой стороне измерительной мембраны
21. Второе давление р2 подается к противолежащей этой стороне, второй стороне
измерительной мембраны 21. При измерении относительных давлений первое давление
p1 соответствует измеряемому давлению, а второе давление р2 базовому давлению,
к которому необходимо соотнести измеряемое давление. При измерении перепадов
давлений первое давление p1 и второе давление р2 являются теми двумя
давлениями, перепад которых должен быть измерен. Имеющийся между первым
давлением p1 и вторым давлением р2 перепад
=p1-р2
вызывает зависящее от измеряемого перепада
давлений или от измеряемого относительного давления отклонение измерительной
мембраны 21, которое регистрируется посредством расположенных на измерительной
мембране 21 элементов 23 датчика, к примеру, пьезорезисторов, и преобразуется в
электрический выходной сигнал. Затем через присоединенные к элементам 23
датчика соединительные провода 25 выходной сигнал передается для дальнейшей
обработки и/или оценки.
.5 Емкостной преобразователь давления
Емкостные преобразователи
используют метод изменения емкости конденсатора при изменении расстояния между
обкладками. Известны керамические или кремниевые емкостные первичные
преобразователи давления и преобразователи, выполненные с использованием
упругой металлической мембраны. При изменении давления мембрана с электродом
деформируется и происходит изменение емкости.
В элементе из керамики или
кремния, пространство между обкладками обычно заполнено маслом или другой
органической жидкостью.
Емкостной преобразователь давления содержит. На
рис. 2.5 изображен преобразователь, содержащий подложку (1) с размещенными на
ней контактной площадкой (4) и обкладками конденсатора, состоящими из электрода
(2) и изолирующего слоя (3), а также мембранную сборку (5) и вакуумную камеру
(6). Изолирующий слой расположен под электродом, а мембранная сборка состоит из
двух соединенных кремниевых мембран (7) с нанесенными на них обкладками
конденсатора и стеклянными шайбами (8). Мембраны соединены друг с другом и
выровнены, чтобы облегчить доступ к контактным площадкам, а стеклянные шайбы
соединены с мембранами со стороны, противоположной обкладкам конденсатора, и имеют
отверстия (9) для обеспечения воздействия давления на мембраны. Вакуумная
камера образована герметичным соединением мембранной сборки с металлическим
корпусом (10) на границе соединения (15). Электроды выведены наружу
металлического корпуса с помощью контактных площадок, микропроводов (11) и
гермопереходников (12), когда микропровода с одной стороны приварены к
контактным площадкам, а с другой стороны приварены к гермопереходникам,
герметично соединенным с металлической шайбой (13) на границе соединения (17).
Металлическая шайба приварена к металлическому корпусу по границе соединения
(16), а объем вакуумной камеры в несколько раз превышает объем мембранной
сборки (14).
В емкостном преобразователе давления, содержащем
подложку с размещенными на ней контактной площадкой и обкладками конденсатора,
состоящими из электрода и изолирующего слоя, а также мембранную сборку и
вакуумную камеру, изолирующий слой расположен под электродом, а мембранная
сборка состоит из двух соединенных кремниевых мембран с нанесенными на них
обкладками конденсатора и стеклянными шайбами, причем мембраны соединены друг с
другом и выровнены, астеклянные шайбы выполнены с отверстиями и соединены с
мембранами со стороны, противоположной обкладкам конденсатора, а вакуумная
камера образована герметичным соединением мембранной сборки с металлическим
корпусом, причем электроды выведены наружу металлического корпуса с помощью
контактных площадок, микропроводов и гермопереходников, когда микропровода с
одной стороны прикреплены к контактным площадкам, а с другой стороны
прикреплены к гермопереходникам, герметично соединенным с металлической шайбой,
котораяприварена к металлическому корпусу, а объем вакуумной камеры в несколько
раз превышает объем мембранной сборки.
Принцип работы преобразователя заключается в
следующем. Измеряемое давление, воздействуя на мембраны через отверстия в
стеклянных шайбах, изменяет значении емкости, образованной мембранами. Наличие
конструкции, при которой герметизация и вакуумное состояние обеспечены
герметичным соединением мембранной сборки с металлическим корпусом и
гермопереходниками, соединенными с металлической шайбой, которая приварена к
металлическому корпусу, позволяет повысить надежность преобразователя,
стабильность параметров и чувствительность за счет долговременного поддержания
высокой степени вакуума в вакуумной камере. А объем вакуумной камеры,
образованной герметичным соединением мембранной сборки с металлическим
корпусом, в несколько раз превышает объем мембранной сборки, что также
положительно отражается на временной стабильности герметичного соединения.
Рис. 2.5
2. ВЫБОР ПРЕОБРАЗОВАТЕЛЯ
На основании проведенного обзора измерительных
преобразователей измерения давления, было определено, что наиболее подходящим является
пьезометрический преобразователь. Так как данный тип преобразователя обладает
следующими достоинствами: малые габариты, простота конструкции, надежность в
работе, возможность измерения быстропеременных величин, широкий спектр частот
измеряемых ускорений, малая чувствительность к магнитным полям, достаточная
ударная прочность, относительно небольшая температурная погрешность (например,
для ИП из кварца погрешность преобразования составляет 10-4 - 10-6.).
К недостаткам следует отнести: индивидуальную
характеристику преобразования давления, значительное время отклика. Так же к
недостаткам следует отнести не возможность проводить измерения в агрессивных
средах без потери точности показаний прибора.
Достоинствами пьезорезонансных датчиков является
высокая точность и стабильность характеристик, которая зависит от качества
используемого материала.
Далее в обзоре был рассмотрен тензорезистивный
преобразователь.
К недостаткам таких преобразователей можно
отнести:низкую чувствительность (в пределах 1%);значительные гистерезисные
явления и нестабильность (из-за неоднородности конструкции и
"усталости" металла мембраны);сильное влияние температуры (за счет
различия коэффициентов температурного расширения элементов сенсора и изменения
электропроводности кремния);сильное влияние статического давления (из-за
различия упругих свойств элементов конструкции); наличие нелинейности.
Достоинствами же тензорезистивного принципа
измерения давления являются сравнительная простота в изготовлении, невысокая
стоимость и потенциально широкий диапазон рабочих температур.
Рассмотренные емкостные преобразователи не
совсем подходят для измерения давления. Так как основным недостатком данных
преобразователей является зачастую, нелинейная зависимость емкости от
приложенного давления. Как и у каждого преобразователя, у емкостного так же
имеются преимущества. Основными являются: высокая стабильность характеристик
возможность измерять низкий вакуум.
Проанализировав все преимущества и недостатки
каждого преобразователя, наиболее подходящим для измерения абсолютного давления
является пьезоэлектрический преобразователь.
3. ТЕХНИЧЕСКОЕ ЗАДАНИЕ
Проектируемым устройством является
пьезоэлектрический преобразователь давления.
Разрабатываемый преобразователь относится к
измерительной технике. Целью разработки является, измерение абсолютного
давления воздуха и жидкостей в различных системах.
.1 Характеристика разрабатываемого
преобразователя
Преобразователь работает на основе прямого
пьезоэфскта. Он возникает при непосредственном воздействии измеряемого давления
среды на пьезоэлемент, в результате чего на нем формируется заряд, который прямопропорционален
выходному напряжению преобразователя. Данное выходное напряжение снимается при
помощи измерительного устройства и еговеличина отображается отградуированным
прибором стрелочной или цифровой индикации.
.2 Основные требования к преобразователю
.2.1 Требования к системе и ее частям
Достигаемыми с помощью устройства показателями
являются:
) диапазон измерений: от 0 до 1 кПа;
) погрешность измерений: не более 10%.
В качестве пьезоматериала был выбран титанат
бария, т.к. данный материал имеет хорошую чувствительность, большую
устойчивость к влажности внешней среды, высокую точку Кюри, и относительно
небольшие температурные погрешности.
Можно считать, что измеряемое давление
пропорционально заряду возникающему на пьезоэлементе, а заряд пропорционален
выходному напряжению, следовательно, можно утверждать, что функция
преобразования будет линейной. Снятие значений измеряемой величины должно
производится с помощью отградуированного устройства с индикацией стрелочного
типа.
.3 Технико-экономические показатели
. Диапазон измерения: от 0 до 1 кПа.
2. Масса: 0,1 кг.
. Емкость: … пФ.
. Диапазон рабочих температур: от 0 до
100 ° С.
4. КОНСТРУКТОРСКИЙ РАЗДЕЛ
.1 Введение
Данный раздел подразумевает рассмотрение
необходимых для проектирования схем устройства, физических эффектов, положенных
в основу принципа действия преобразователя и возникающих в процессе работы.
Также приводится рассмотрение электрической схемы включения датчика, измерения.
Приведены расчеты функции преобразования, электрической схемы, погрешностей,
допустимых и возникающих в процессе работы. На основе вышеперечисленного
делаются выводы о возможностях преобразователя.
.2 Принцип действия преобразователя
На рисунке 1 приведена структурная схема
пьезоэлектрического преобразователя.


Рисунок 1 - Структурная схема преобразователя
Элемент 1 представляет собой два
пьезоэлектрических преобразователь в форме пластин, которые изготавливается из
искусственной пьезокерамики (титанат бария). Одна пластина прикреплена к
воспринимающему внешнее давление основанию, на другой ее стороне располагается
средняя обкладка (латунная фольга), сверху которой расположена вторая пластина.
На выходе преобразователя образуется заряд, пропорциональный воспринимаемому
давлению.
Элемент 2 это электронная схема, в которой
используется усилитель напряжения, он служит для преобразования возникающего
заряда в электрическое напряжение.
Элементом 3 является измерительное устройство,
подключаемое к выходу электрической схемы.
.3 Разработка и проектирование конструкции
Конструкция преобразователя разрабатывалась в
соответствии с проведенными расчетами. Которые включают в себя расчеты функции
преобразования, но заданным исходным данным, характеристик преобразователя при
номинальных размерах и при размерах элементов, соответствующих граничным
условиям допусков. Также содержатся расчеты погрешностей, возникающих во время
работы преобразователя. Действие пьезоэлектрических преобразователей основано
на использовании прямого пьезоэфекта, т.е. свойств некоторых материалов
(пьезоэлектриков) генерировать заряд под действием приложенной к ним
механической силы. В данном случае данной прилагаемой силой является давление
среды, в которую помешается преобразователь.
При установке преобразователя в исследуемую
систему, он воспринимает давление в ней, и, следовательно, деформируется под
действием этой силы:
(5.3.1)
F -внешняя
сила действующая на пьезоэлемент
P -
приложенное давление
S - площадь
поверхности.
При этом деформация пьезоэлемента и
возникающий электрический заряд пропорциональны прилагаемому давлению.
Пьезоэлектрическими называют кристаллы и структуры, электризующиеся под
действием механических напряжений - прямой пьезоэфект, и деформирующиеся в
электрическом поле - обратный пьезоэфект. Пьезоэфект обладает
знакочувствительностью, т.е. происходит изменение знаков заряда при изменении
направления ноля.
В качестве пьезоэлемента для проектируемого
преобразователя был выбран титанат бария. Так как данная пьезокерамика имеет
необходимую чувствительность, высокую точку Кюри, большую устойчивость к
влажности внешней среды и небольшие рабочие отклонения. Во время работы
преобразователя на пьезоэлемент, изображенный на рисунке 2, по оси У. действует
внешняя сила F, и на
грани, перпендикулярной оси возникает заряд:
где - d33
коэффициент пропорциональности, называемый пьезомодулем и выражаемый в Кл/Н.
Рисунок 2. Схематическое изображение
пьезоэлемента
В общем случае на пьезоэлемент могут
действовать сжимающие или растягивающие напряжения
по трем
осям X, У, Z и ещё
сдвиговые напряжения, которые в свою очередь вызывают деформации граней zу, ху, zх
соответственно, т.e. вытягивают их в ромбы.
В случае сложной деформации, чтобы
рассчитать заряды, возникающие на какой-либо грани, необходимо учитывать все
действующие напряжения и соответствующие пьезомодули. Пьезомодули записываются
в виде матрицы, которая состоит из трех строк, соответствующих граням
пьезоэлемента, на которых возникают заряды плотностью
и между
которыми прикладывается поле напряженностью Е, и шести столбцов, которые
соответствуют напряжениям
в
пьезоэлементе.
Матрица пьезоэлемента содержит 18
пьезомодулей и может быть представлена следующим образом:
Индекс пьезомодуля
означает,
что рассматривается заряд на грани I при
действии напряжения вдоль оси j. При определении знаков зарядов за
положительное направление поля принимается направление поля вне пьезоэлемента,
совпадающее с положительным направлением соответствующей оси. Положительными
считаются деформации растяжения, а отрицательными - сжатия. Деформация сдвига
считается положительной, если диагональ, испытывающая растяжение, проходит
через первый и третий квадраты системы координат, образованной
кристаллографическими осями, лежащими в плоскости сдвига для наблюдателя,
смотрящего сположительного конца оси, перпендикулярной плоскости сдвига.
В таблице 1 приводится матрица
пьезомодулей для выбранного пьезоэлектрика - титаната бария.
Таблица 1 - Матрица пьезомодулей для титаната
бария
|
Константа
|
Титанатбария
|
|
dij, (10-12Кл/Н)
|
00002500 00025000 -78-78190000
|
4.3.1 Расчет функции
преобразовании
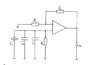
Возможным вариантом измерительной цепи
пьезоэлектрического датчика может служить цепь, представленная на рисунке 3.
Рисунок 3. Измерительная цепь
пьезоэлектрического датчика
В вышеуказанной измерительной цепи схеме
используется инвертирующий усилитель на основе операционного усилителя с
входным каскадом на полевом транзисторе. При этом напряжение, поступающее на
вход усилителя, будет вычисляться по следующей формуле:
Выходное напряжение усилителя вычисляется как:
В формуле для выходного напряжения (5.3.1.2) С
является общей емкостью. Она определяется следующим выражением:
(5.3.1.3)
- емкость между гранями
пьезоэлектрика,
- емкость кабеля между жилой и экраном,
- дополнительная стабильная емкость.
,
Выходное напряжение усилителя увеличивается за
счет увеличения его коэффициента усиления:
где
и
- сопротивления, представляющие
собой делитель напряжения. Однако, лишь до известных пределов, так как с ростом
коэффициента усиления усилителя и уменьшением глубины обратной связи возрастают
погрешности усилителя. В дальнейшем в результате расчетов выяснилось, что
необходимо взять усилитель с коэффициентом усиления:
В формуле (4.3.1.2)q - заряд,
образующийся на пьезоэлементе, определяется следующим выражением:
где -
пьезомодуль. Он выбирается из
описанной выше матрицы пьезомодулей (таблица 1). В условиях решаемой задачи был
выбрано следующее значение пьезомодуля для титаната бария:
F - сила,
действующая на пьезоэлемент. Она определяется по формуле (5.3.1).
Прикладываемое давление задается
исходя из исходных данных для проектирования.
Значение площади поверхности
вычисляется по следующей формуле:
r - радиус
пьезоэлемента,
=3,14.
В результате при r=10
мм получаем расчетное значение площади поверхности пьезоэлектрика:
S= 0.000314 (м2)
Проведем расчет всех емкостей входящих в состав
преобразователя: ёмкость передающего напряжение кабеля АВК-3 берется из
справочника и является равной
=75(пФ).
Значение дополнительной стабильной
емкости также является постоянным и выбирается и литературы:
=25(пФ).
Емкость между
гранями
пьезоэлектрика вычисляется из следующего выражения:
где
- относительная диэлектрическая
проницаемость титаната бария (
=1600),
- диэлектрическая проницаемость
вакуума (
=8,854
(пФ/м),
S - площадь
пьезоэлектрика (рисунок 4),
d -
расстояние между гранями пьезоэлектрика (рисунок 4). d=0,005 (м)
Рисунок 4. Схематическое изображение
пьезоэлемента
В результате расчетов по формуле
(4.3.1.10) емкость разрабатываемого преобразователя равна:
Тогда получим, что общая емкость
согласно формуле (5.3.1.3) будет равна:
С=990 (пФ)
Значения перечисленных в начале
этого раздела сопротивлений необходимых для расчета выбираем из справочников:
В результате, зная все необходимые
числа, подставляем их в расчетную формулу (4.3.1.4) и вычисляем полное сопротивление
преобразователя, оно равно:
Тем самым мы посчитали все параметры
необходимые для конечного расчета и получения функции преобразования
разрабатываемого преобразователя. В итоге с учетом формул (4.3.1.6) и (4.3.1.7)
функция преобразования выглядит следующим образом:
4.3.2 Расчет чувствительности преобразователя
Расчет чувствительности пьезоэлектрического
преобразователя осуществляется по следующей формуле:
(5.3.2.1)
Р - величина внешнего давления на пьезоэлементе.
Тогда получаем, что: S=0,012
(В/Па).
ЗАКЛЮЧЕНИЕ
В данном курсовом проекте был разработан и
рассчитан пьезоэлектрический преобразователь давления. Полученный в итоге
преобразователь отличается относительно высокой чувствительностью, точностью,
надежностью в работе и линейными выходными характеристиками.
Полученные результаты расчетов проектирования
датчика соответствую требованиям, описанным, в задании на курсовую работу и
являются выполненными с точки зрения технического задания.
СПИСОК ИСПОЛЬЗОВАННЫХ ИСТОЧНИКОВ
1. Фрайдеи
Дж. Современные датчики. Справочник. (Текст) /перевод с англ. Ю.А. Заболотной /
под ред. ЕЛ. Свинцова. - М.: Техносфера.2005 - 580 с., ил.
2. Туричин
А.М. и др. Электрические измерения неэлектрических величин. Текст)/ Туричин
А.М., Новицкий П.В.. Левшина Е. С., - изд. 5-е,перераб. и доп. - Л., «Энергия»,
1975 - 576 с., ил.
. Ногачева
Т.И. Методические указания к выполнению курсового проект по дисциплине «Физические
основы получения информации» для специальности 200101 «Приборостроение»
[Текст)/ Ногачева Т.И. - Орел:ОрелГТУ, 2006 - 18 с.
. Левшина
Е.С. Электрические измерения физических величин: учебное пособие для вузов
[Текст] / Левшина Е.С., Новицкий П.В.. - Л.:Энергоатомиздат. Ленингр. отд-е,
1983 - 320 с., ил.
. Осадчий
Е.П. и др. Проектирование датчиков для измерения механических величин [Текст) /
под ред. Е.П. Осадчсго. - М.: Машиностроение, 1979 - 480 с., ил.
. Анурьев
В.И. Справочник конструктора-машиностроителя: В 3-хт. Т.1. [Текст) / 5-е изд.,
перераб. и доп. - М.: Машиностроение, 1978 - 728 с.
. Атамалян
Э.Г. Приборы и методы измерения электрических величин: Учеб.пособие [Текст] /
Атамалян Э. Г. - М.: Высш. школа, 1982 - 223с., ил.
. Распопов
В.Я. Принципы построения датчиков давления и топология тензорезисторов [Текст]
/ Распопов В.Я. // Датчики и системы, №2,2005-с. 14-22.
. Распопов
В.Я. Принципы построения датчиков давления [Текст) /Распопов В.Я. // Датчики и
системы, Л«2,2007 - с. 22-26.
. Зимин
В.Н. и др. Микроэлектронные чувствительные элементы давления [Текст]/ Зимин
В.Н., Данилова Н.JI.,
Панков В.В. // Датчики исистемы, №2. 1999 - с. 55 - 59.
. Готман
П.Е. и др. Электротехнические материалы. Справочник[Текст].
. Чурабо
Д.Д. Детали и узлы приборов. Конструирование и расчет. Справочное пособие
[Текст] / Чурабо Д.Д., изд. 4-е, перераб. и доп. - М.:«Машиностроение». 1975 -
559 с.. ил.