Датчики давления

  • Вид работы:
    Реферат
  • Предмет:
    Физика
  • Язык:
    Русский
    ,
    Формат файла:
    MS Word
    1,44 Мб
  • Опубликовано:
    2012-11-24
Вы можете узнать стоимость помощи в написании студенческой работы.
Помощь в написании работы, которую точно примут!

Датчики давления















Датчики давления

1. Тензометрический датчик

Датчик, преобразующие деформацию в электрический сигнал

Тензодатчик - измерительный преобразователь деформации твёрдого тела, вызываемой механическими напряжениями, в сигнал (обычно электрический), предназначенный для последующей передачи, преобразования и регистрации. Наибольшее распространение получили тензодатчики сопротивления, выполненные на базе тензорезисторов, действие которых основано на их свойстве изменять под влиянием деформации (растяжения или сжатия) своё электрическое сопротивление, что является проявлением тензорезистивного эффекта, а именно изменения удельного электросопротивления твёрдого проводника (металла, полупроводника) в результате его деформации.

Конструктивно тензорезисторы представляет собой либо решётку (рис.1), изготовленную из проволоки или фольги (из константана, нихрома, различных сплавов на основе Ni, Mo, Pt), либо пластинку из полупроводника, например, Si.


Виды тензодатчиков: проволочные - петлевая (а), витковая (б) и с перемычками (в); фольговые - для измерения одной компоненты деформации (г), трех компонент (д) и кольцевых деформаций (е); 1 - проволока; 2 - выводы решетки; 3 - перемычки; S - база датчика.

Тензорезисторы механически жестко соединяют (например, приклеивают, приваривают) с упругим элементом тензодатчика (рис.2), либо крепят непосредственно на исследуемой детали. Упругий элемент воспринимает изменения исследуемого параметра (давления, деформации узла машины, ускорения и т. п.) и преобразует их в деформацию решётки (пластинки), что приводит к изменению сопротивления тензорезистора.

Схема тензорезисторного датчика

- решетки; 2 - упругий элемент; R1,... ,R4 - тензорезисторы; х - измеряемый параметр.

Закон измерения (измерение сопротивления проводника):

- длина проводника, S - сечение, ρ - плотность проводника.

. Жидкостные датчики

Принцип действия жидкостных манометров основан на уравновешивании измеряемой величины высотой столба рабочей жидкости. В качестве рабочей жидкости, в зависимости от величины измеряемого избыточного давления или разряжения, а также от химических свойств измеряемого вещества, применяются: вода, спирт, ртуть, минеральные масла небольшой вязкости


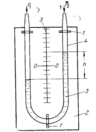
Наиболее распространенным и самым простым по устройству является U-образный прибор. Он состоит из изогнутой в виде буквы U стеклянной трубки 4, примерно до половины заполненной рабочей жидкостью 3. С помощью скобок 1 трубка прикреплена к доске 2, между ветвями трубки размещена шкала 5. Когда давления Р1 и Р2 равны, уровни жидкости в левой и правой ветвях U-образной трубки находятся против нулевой отметки шкалы. При неравенстве давлений, например, Р1>Р2, уровень в левой ветви опустится, а в правой - поднимется. Отсчет нужно производить дважды: от нуля вниз до уровня в левой ветви и от нуля вверх до уровня в правой ветви; полученные значения отсчетов (их сумма равна h) надо сложить. Это рекомендуется делать, поскольку трубки обеих ветвей прибора могут немного отличаться по диаметру. В этом случае жидкость будет опускаться (в левой) и подниматься (в правой) ветвях на неодинаковое количество делений. Значение измеряемой величины (разность давлений Р1 и Р2) определяется по шкале прибора:

-P2=hpg

где р - плотность рабочей жидкости; g - ускорение силы тяжести, h - разность высот жидкости.


В этих приборах измеряемое давление или разрежение уравновешивается силами упругого противодействия различных чувствительных элементов, деформация которых, пропорциональная измеряемому параметру, через рычаги передается на стрелку или перо прибора. При снятии давления чувствительный элемент возвращается в первоначальное положение под воздействием упругой деформации. Деформационные манометры нашли широкое применение в промышленности, что обусловлено простотой и надежностью конструкции, наглядностью показаний, малыми габаритами, высокой точностью и широкими пределами измерения.

В качестве измерительных элементов деформационных манометров и измерительных преобразователей давления, разрежения и перепада давлений используют одновитковую трубчатую пружину (рис. 3а), сильфон (рис. 3б), мембранную коробку (рис. 3в), многовитковую трубчатую пружину (рис. 3г), вялую мембрану (рис. 3д), жесткую мембрану (рис. 3е).



. Трубчатопружинный манометр

датчик манометр индуктивный влажность

В трубчатопружинном манометре с одновитковой трубчатой пружиной (рис. 4), получившем наибольшее распространение, чувствительным элементом является трубчатая пружина 2, представляющая собой полую трубку овального или эллиптического сечения, согнутую по дуге окружности на 180-270. Маленькая ось эллипса трубки располо-жена параллельно, а большая - перпендикулярно плоскости чертежа. Один конец трубчатой пружины жестко соединен с держателем 1, укрепленным винтами в круглом корпусе 3 манометра. Держатель имеет резьбовой ниппель, предназначенный для крепления при-бора на трубопроводе или аппарате, в котором измеряется давление. Свободный конец пружины поводком связан с передаточным механизмом 7 , состоящим из зубчатого сектора и сцепленной с ним шестеренки, на ось которой насажена стрелка 4.

Для устранения мертвого хода стрелки, вызванного люфтами в соединениях, пере-даточный механизм снабжен упругим спиральным волоском 5. Внутренний конец волоска крепится на оси стрелки, а внешний - на неподвижной плате механизма. Волосок постоянно прижимает шестеренки со стрелкой в направлении, противоположном перемещению звеньев механизма под действием давления, что устраняет влияние люфтов в соединениях, и стрелка прибора начинает двигаться одновременно с отклонением чувствительного элемента.

Под действием давления среды, сообщающийся с внутренней полостью трубчатой пружины, последняя несколько распрямляется, свободный конец перемещается и тянет за собой поводок, который через передаточный механизм вызывает перемещение стрелки по шкале прибора. Раскручивание трубчатой пружины, согнутой по дуге окружности, обусловлено тем, что при подаче давления ее эллиптическое сечение стремиться перейти в круглое. При этом малая ось эллипса, расположенная в плоскости чертежа, увеличивается, и волокна пружины, находящиеся на радиусе r1, переходят на больший радиус r1’, а волокна, находящиеся на радиусе r2, переходят на меньший радиус r2’. Так как длина трубчатой пружины остается неизменной, а один конец ее жестко заделан в держателе, в пружине возникают внутренние напряжения, приводящие к ее раскручиванию и перемещению свободного конца. Последний и, следовательно, стрелка прибора перемещаются пропорционально изменению измеряемого давления, поэтому манометр имеет равномерную шкалу.


. Мембранный манометр

Мембранный манометр типа ММ предназначен для измерения давления до 2,5 МПа. В манометре под действием измеряемого давления мембрана 2, находящаяся в коробке 1, прогибается, перемещая шток 3, соединенный через рычаг 4 с зубчатым сектором 6. Зубчатый сектор находится в зацеплении с зубчатым колесом 8, которое через пружину 9 соединено со стрелкой 7, перемещающейся по шкале 5. Снизу у манометра предусмотрен резьбовой штуцер для установки манометра на объект измерения.

Мембранные манометры применяют, как правило, для измерения небольших давлений. Недостатками мембранных манометров являются малая чувствительность системы, трудность регулировки и изменение характеристик во времени вследствие «усталости мембраны».

Для изготовления мембран используют бронзу, латунь и хромоникелевые сплавы.

Индуктивное сопротивление:



L - индуктивность, ω - циклическая частота протекающего тока

Емкостное сопротивление:


С - емкость



Сильфон представляет собой тонкостенную металлическую трубку или камеру с гофрированной (волнообразной) боковой поверхностью (рис.). Сильфоны изготавливают из латуни (обычно полутомпака), фосфористой и бериллиевой бронзы и нержавеющей стали. Наиболее широко сильфоны применяют в пневмо- и гидроавтоматике в качестве чувствительных элементов, реагирующих (расширением или сжатием, подобно пружине) на изменение давления газа или жидкости, действующего на дно сильфона (например, в датчиках температуры, давления), а также в качестве гибких соединений трубопроводов, компенсаторов температурных удлинений, упругих разделителей сред и т. п. Стенки сильфона для работы при больших разностях давлений и в агрессивных средах изготовляют 2-, 3- и 4-слойными.

. Грузопоршневые манометры

В этих приборах измеряемое давление определяется по величине нагрузки, воздействующей на поршень определенной площади. Грузопоршневые манометры имеют высокую точность (0,02; 0,05; 0,2) и широкий диапазон измерения (0,1- 250 МПа). Обычно их применяют для градуировки и поверки грузопоршневых манометров.


Грузопоршневой образцовый манометр МП-60 (рис. 5), предназначенный для поверки технических манометров с одновитковой трубчатой пружиной состоит из вертикального цилиндра 8 с тщательно пригнанным стальным поршнем 5, на верхнем конце которого закреплена тарелка 7 для укладки образцовых грузов 6, имеющих форму дисков. Воронка 4 служит для заполнения прибора минеральным маслом. Прибор имеет поршневой пресс 1 с манжетным уплотнением. Для установки поверяемых манометров предназначены штуцеры 3 и 10. Игольчатые вентили 2, 9, и 11 служат для перекрытия каналов, вентиль 12 для спуска масла.

Создаваемое грузом давление

= m/A,

где m - масса поршня с тарелкой и грузом; А - эффективная площадь поршня, за которую принимают сумму площади сечения поршня и половину площади кольцевого зазора между поршнем и цилиндром (обычно А=0,996-1,004см2). Пределы измерения прибора 0 - 6 МПа. Класс точности 0,05.

Оптические ( фотоэлектрические ) датчики применяются в промышленном оборудовании и предназначены для контроля положения и расстояния, определения контрастных и цветовых меток и других технологических задачах.

Оптические датчики делятся на три основных типа, по способу функционирования:

. Отражающие от объекта - излучающие и принимающие свет, отражённый от объекта, находящегося в зоне действия датчика. При возвращении на сенсор определённого количества света, отражённого от объекта, на выходе устанавливается соответствующий логический уровень. Величина зоны срабатывания зависит от типа датчика, размеров регистрируемого предмета, от его цвета, шероховатости, кривизны поверхности и т.д. Конструктивно излучатель и приёмник выполнены в одном корпусе.

. Отражающие от световозвращателя - которые излучают и принимают свет, отражённый от специального отражателя (рефлектора), и при прерывании луча объектом, выдаётся соответствующий выходной сигнал. Дальность зоны действия зависит от состояния воздушной среды, окружающей объект и датчик (пыль, дым, туман и т.д.). Конструктивно излучатель и приёмник также выполнены в одном корпусе.

. Датчики сквозного типа - имеющие раздельные источник света и приёмник. Они должны быть расположены соосно напротив друг друга. Любой предмет попадающий в зону светового потока прерывает его и вызывает изменение на выходе логического уровня.

Световые элементы оптических датчиков работают на различных длинах световых волн. Это могут быть ифракрасный свет, видимый свет ( лазерные), и другие, работающие на различных длинах волн ( датчики цветовых меток).

Конструктивно оптические датчики состоят из излучателя, излучающего свет в различных световых диапазонах, и приёмника, воспринимающего свет той же длины волны, которая испускается излучателем. Излучатель и приёмник могут быть конструктивно размещены в одном корпусе, либо могут быть разнесены в разных корпусах.

Принцип работы оптических датчиков основан на изменении оптического излучения излучателя возвращаемого на приёмник при появлении в активной зоне действия датчика (оптическом луче) непрозрачного объекта. При включении датчика излучатель излучает оптический луч, который принимается приёмником либо непосредственно, либо через рефлектор, либо отражённый от регистрируемого объекта. На выходе датчика появляется аналоговый или цифровой сигнал, различной логики, используемый далее схемой регистрации и исполнительным устройством.

Зона чувствительности (длина оптического луча) оптических датчиков различна и лежит в пределах от нескольких сантиметров до десятков и даже сотен метров.

8. Датчики уровня

Электродный датчик уровня



Электроды датчика включены в цепь катушки промежуточного реле К, которое включается во вторичную обмотку понижающего трансформатора напряжением 12 В. При повышении уровня жидкости в резервуаре до уровня короткого электрода 1, образуется электрическая цепь: вторичная обмотка трансформатора - катушка реле К - электрод 1 - жидкость - электрод 2. Реле срабатывает и становится на самопитание через свой контакт К и электрод 3, при этом контакты 6 реле дают команду на отключение электродвигателя насоса. При снижении уровня жидкости, когда он становится ниже уровня электрода 3, реле отключается и включает электродвигатель насоса.

Поплавковый датчик уровня


Поплавковый датчик (реле) уровня применяется в отапливаемых помещениях для контроля уровня неагрессивных жидкостей. На рисунке показано схематическое устройство реле. В резервуар 10 погружается поплавок 1, подвешенный на гибком контакте через блок 3 и уравновешенный грузом 6. На контакте закреплены упоры 2 и 5, которые при предельных уровнях жидкости в резервуаре поворачивают коромысло 4 контактного устройства 8. При поворотах коромысло замыкает соответственно контакты 7 или 9, включающие или отключающие электродвигатель насоса.

Мембранные датчики уровня

Для определения уровня сыпучих материалов в бункерах используются мембранные датчики уровня, которые крепятся в отверстии стенки бункера. В них мембрана воздействует на контакты, замыкая или размыкая цепь управления загрузочными или разгрузочными устройствами.

Пьезокварцевый датчик

Пьезокварцевый датчик Д в простейшем виде состоит из двух кварцевых пластин К, между которыми расположен изолированный электрод. Пластины обращены к электроду сторонами, на которых при сжатии появляется заряд отрицательной полярности.

Пьезометрический датчик

Пьезо́метр (от греч. piézo - сжимаю и метрео - измеряю) - прибор, который используется для производственного и лабораторного измерения гидростатического или гидродинамического давления ньютоновских жидкостей и деформации твёрдых тел.

Пьезометры, используемые для давления в жидкостях, представляют собой обычно трубку малого диаметра (обычно около нескольких миллиметров), которая одним концом соединяется с сосудом, в котором измеряется давление. В лабораторной практике пьезометр обычно стеклянный полностью или в месте наблюдения за уровнем жидкости.

=ρgh

. Датчики влажности

Психрометры

Психрометрический метод основан на измерении разности двух температур. Прибор, который работает на этом принципе, называется психрометр и состоят из двух термометров. Один термометр «сухой», другой - «влажный». Для того, что бы второй термометр был влажным, он оборачивается в хлопчатобумажную ткань, которая опускается в воду и является постоянно влажной за счёт капиллярного эффекта. Испаряясь, вода охлаждает влажный термометр. В результате этого получается разница между показаниями «сухого» и «влажного» термометров. Исходя из разницы температур «влажного» и «сухого термометров», и температуры «сухого» термометра - т.е. температуры в помещении, по специальным таблицам, которые называются психометрическими (табл.1) определяют относительную влажность воздуха.

Гигрометры

Гигроскопический метод основан на свойстве некоторых материалов изменять свои линейные размеры в зависимости от изменения влажности воздуха. Такой метод позволяет измерять влажность воздуха в пределах от 30% до 100%. Обычно для этих целей используют обезжиренный человеческий волос. Волос закрепляют на основании и соединяют его с подвижной стрелкой. При измерении влажности длина волоса изменяется, а стрелка перемещается по шкале, проградуированной в относительных единицах влажности (процентах). Такие приборы называются гигрометры (рис.1). Так же существуют гигрометры на основе органической плёнки, электролитический, керамический, конденсационный гигрометры.

Классические гигрометры, построенные на использовании волоса, применяют в основном для измерения влажности при отрицательных температурах, где остальные методы неэффективны, поэтому данный метод для контроля влажности в помещении нам неинтересен. Более точным способом, по сравнению с гигрометрическим, является психометрический способ определения влажности.




. Датчики расхода

Труба Вентури


- сопло; 2 - диффузор; Р1 и Р2 - давления до и после сужения.


Очень часто к жидкостным манометрам относят приборы, измерительная система которых хотя и содержит в качестве одного из элементов жидкость, но по принципу действия в корне отличается от жидкостных манометров. К таким приборам относится дифференциальный манометр типа „кольцевые весы" (рис. 3), состоящий из тороидального корпуса 1, внутренняя полость которого в верхней части разделена перегородкой 2, а нижняя часть до половины заполнена жидкостью 4. Таким образом, корпус имеет две измерительные камеры А и Б, в которые через гибкие шланги подаются измеряемые давления pl и р2. Корпус может поворачиваться относительно опоры 3, расположенной в его геометрическом центре. К нижней части корпуса прикреплен противовес 5.

При равенстве давлений в камерах А и Б корпус прибора располагается в соответствии с рис. ^ 4, а. Если одно из давлений больше другого, например, р1 > р2 то под действием разности давлений Δр = p1 - р2, воздействующей на перегородку, корпус повернется на определенный угол α, а уровни жидкости внутри корпуса займут положения, соответствующие рис. 4, б.


Ротаметр - прибор для определения объёмного расхода газа или жидкости в единицу времени.


Ротаметр состоит из конической трубки, расходящейся вверх, внутри которой перемещается поплавок-индикатор. Измеряемый поток жидкости или газа проходит через трубку снизу вверх и поднимает поплавок. Чем выше поплавок, тем больше площадь вокруг него, через которую может течь поток. Поднявшись настолько, что сила тяжести FG уравновешивает подъёмную силу Fr со стороны потока, поплавок останавливается. Таким образом, каждому положению поплавка соответствует определённый расход - определение этого соответствия называется градуировка (калибровка). Для отечественных ротаметров градуировка производится на заводе изготовителе по воздуху и воде при норм. условиях. Зарубежные ротаметры, например немецкой фирмы Krohne, как правило градуируются по параметрам измеряемой среды заказчика.

Трубки ротаметров могут быть стеклянными (рассчитаны на давление до 2,5 МПа) и металлическими (до 70 МПа). Поплавки в зависимости от свойств жидкости или газа изготовляют из различных металлов либо пластмасс.


Не нашли материал для своей работы?
Поможем написать уникальную работу
Без плагиата!
Без нейросетей!