Бурение скважин

  • Вид работы:
    Курсовая работа (т)
  • Предмет:
    Геология
  • Язык:
    Русский
    ,
    Формат файла:
    MS Word
    1,34 Мб
  • Опубликовано:
    2012-09-20
Вы можете узнать стоимость помощи в написании студенческой работы.
Помощь в написании работы, которую точно примут!

Бурение скважин

Введение

А кто-нибудь задавался вопросом, кто такой инженер с теоретической точки зрения? Ответ на этот вопрос должен знать любой студент, собирающийся стать инженером, не зависимо от выбранной специальности, механик ли или буровик. Инженер (фр. ingénieur, от лат. ingenium - способность, изобретательность) - специалист с высшим техническим образованием, создатель информации об архитектуре материального средства достижения цели или способа изготовления этого средства (продукта) и осуществляющего руководство и контроль за изготовлением продукта. Деятельность инженера может включать: 1. постановку цели (задания), 2. разработку информации о продукте, 3. разработку информации о способах производства продукта (технологии), 4. руководство и контроль запроцессом производства продукта.

Однако кроме теоретического трактования слова «инженер», существует и творческое. Его автор увидел на табличке, висящей на стене одного технического ВУЗА России: «Инженер?!... этот открыто светящийся интеллект, этот свободный и необидный юмор, эта лёгкость и широта мысли, непринуждённость переключения из одной инженерной области в другую и вообще от техники - к обществу, к искусству. Затем - эту воспитанность, тонкость вкусов; хорошую речь, плавно согласованную и без сорных словечек; у одного - немножко музицирование; у другого - немножко живопись; и всегда у всех - духовная печать на лице…». Несомненно, инженер творческая профессия, обязанная внятно вкладывать свою мысль в головы сотрудников. Автор склонен считать, что оба описанных определения слова «инженер» верны, а читатели могут склониться к тому или иному мнению.

1. Понятие о буровой скважине, классификация и назначение скважин

Бурение - это процесс сооружения скважины путем разрушения горных пород. Скважиной называют горную выработку круглого сечения, сооружаемую без доступа в нее людей, у которой длина во много раз больше диаметра.

Верхняя часть скважины называется устьем, дно - забоем, боковая поверхность - стенкой, а пространство, ограниченное стенкой - стволом скважины. Длина скважины - это расстояние от устья до забоя по оси ствола, а глубина - проекция длины на вертикальную ось. Длина и глубина численно равны только для вертикальных скважин. Однако они не совпадают у наклонных и искривленных скважин.

Элементы конструкции скважин приведены на рис. 1. Начальный участок I скважин называют направлением. Поскольку устье скважины лежит в зоне легкоразмываемых пород его необходимо укреплять. В связи с этим направление выполняют следующим образом. Сначала бурят шурф - колодец до глубины залегания устойчивых горных пород (4...8 м). Затем в него устанавливают трубу необходимой длины и диаметра, а пространство между стенками шурфа и трубой заполняют бутовым камнем и заливают цементным раствором 2.

Рис. 1. Конструкция скважины:

- обсадные трубы; 2 - цементный камень; 3 - пласт; 4 - перфорация в обсадной трубе ицементном камне; I - направление; II - кондуктор; III - промежуточная колонна; IV - эксплуатационная колонна.

Нижерасположенные участки скважины - цилиндрические. Сразу за направлением бурится участок на глубину от 50 до 400 м диаметром до 900 мм. Этот участок скважины закрепляют обсадной трубой 1 (состоящей из свинченных стальных труб), которую называют кондуктором II.

Затрубное пространство кондуктора цементируют. С помощью кондуктора изолируют неустойчивые, мягкие и трещиноватые породы, осложняющие процесс бурения.

После установки кондуктора не всегда удается пробурить скважину до проектной глубины из-за прохождения новых осложняющих горизонтов или из-за необходимости перекрытия продуктивных пластов, которые не планируется эксплуатировать данной скважиной. В таких случаях устанавливают и цементируют еще одну колонну III, называемую промежуточной. Если продуктивный пласт, для разработки которого предназначена скважина, залегает очень глубоко, то количество промежуточных колонн может быть больше одной.

Последний участок IV скважины закрепляют эксплуатационной колонной. Она предназначена для подъема нефти и газа от забоя к устью скважины или для нагнетания воды (газа) в продуктивный пласт с целью поддержания давления в нем. Во избежание перетоков нефти и газа в вышележащие горизонты, а воды в продуктивные пласты пространство между стенкой эксплуатационной колонны и стенкой скважины заполняют цементным раствором.

Для извлечения из пластов нефти и газа применяют различные методы вскрытия и оборудования забоя скважины. В большинстве случаев в нижней части эксплуатационной колонны, находящейся в продуктивном пласте, простреливают (перфорируют) ряд отверстий 4 в стенке обсадных труб и цементной оболочке.

В устойчивых породах призабойную зону скважины оборудуют различными фильтрами и не цементируют или обсадную колонну опускают только до кровли продуктивного пласта, а его разбуривание и эксплуатацию производят без крепления ствола скважины.

Устье скважины в зависимости от ее назначения оборудуют арматурой (колонная головка, задвижки, крестовина и др.).

Классификация скважин:

Скважины можно классифицировать по назначению, профилю ствола и фильтра, степени совершенства и конструкции фильтра, количеству обсадных колонн, расположению на поверхности земли и т.д.

По назначению различают скважины:опорные, параметрические, структурно-поисковые, разведочные, нефтяные, газовые, геотермальные, артезианские, нагнетательные, наблюдательные, специальные.

По профилю ствола и фильтра скважины бывают: вертикальные, наклонные, направленно-ориентированные, горизонтальные.

По степени совершенства выделяют скважины: сверхсовершенные, совершенные, несовершенные по степени вскрытия продуктивных пластов, несовершенные по характеру вскрытия продуктивных пластов.

По конструкции фильтра скважины классифицируютна: незакрепленные, закрепленные эксплуатационной колонной, закрепленные вставным щелевым или сетчатым фильтром, закрепленные гравийно-песчаным фильтром. По количеству находящихся в скважине колонн выделяют скважины: одноколонные (только эксплуатационная колонна), многоколонные (двух-, трех-, п-колонные). По расположению на поверхности земли скважины различают: расположенные на суше, шельфовые, морские.

Назначение скважин:

При поисках, разведке и разработке нефтяных и газовых месторождений бурят опорные, параметрические, структурные, поисково-разведочные, эксплуатационные, нагнетательные, наблюдательные и другие скважины. Опорные скважины закладываются в районах, не исследованных бурением, и служат для изучения состава и возраста слагающих их пород.

Параметрические скважины закладываются в относительно изученных районах с целью уточнения их геологического строения и перспектив нефте-газоносности. Структурные скважины бурятся для выявления перспективных площадей и их подготовки к поисково-разведочному бурению.

Поисковые скважины бурят с целью открытия новых промышленных залежей нефти и газа. Разведочные скважины бурятся на площадях с установленной промышленной нефтегазоносностью для изучения размеров и строения залежи, получения необходимых исходных данных для подсчета запасов нефти и газа, а также проектирования ее разработки.

Эксплуатационные скважины закладываются в соответствии со схемой разработки залежи и служат для получения нефти и газа из земных недр

Нагнетательные скважины используют при воздействии на эксплуатируемый пласт различных агентов (закачки воды, газа и т.д.).

Наблюдательные скважины бурят для контроля за разработкой залежей (изменением давления, положения водонефтяного и газонефтяного контактов и т.д.). Кроме того при поиске, разведке и разработке нефтяных и газовых месторождений бурят картировочные, сейсморазведочные, специальные и другие скважины.

2. Способы бурения скважин

По способу воздействия на горные породы различают механическое и немеханическое бурение. При механическом бурении буровой инструмент непосредственно воздействует на горную породу, разрушая ее, а при немеханическом разрушение происходит без непосредственного контакта с породой источника воздействия на нее. Немеханические способы (гидравлический, термический, электрофизический) находятся в стадии разработки и для бурения нефтяных и газовых скважин в настоящее время не применяются. Механические способы бурения подразделяются на ударное и вращательное.

Рис. 2. Классификация способов бурения скважин на нефть и газ

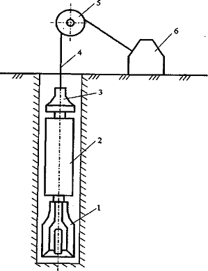
При ударном бурении разрушение горных пород производится долотом 1, подвешенным на канате (рис. 3). Буровой инструмент включает также ударную штангу 2 и канатный замок 3. Он подвешивается на канате 4, который перекинут через блок 5, установленный на какой-либо мачте (условно не показана). Возвратно-поступательное движение бурового инструмента обеспечивает буровой станок 6.

Рис. 3. Схема ударного бурения:

- долото; 2 - ударная штанга; 3 - канатный замок; 4 - канат; 5 - блок; 6 - буровой станок.

По мере углубления скважины канат удлиняют. Цилиндричность скважины обеспечивается поворотом долота во время работы.

Для очистки забоя от разрушенной породы буровой инструмент периодически извлекают из скважины, а в нее опускают желонку, похожую на длинное ведро с клапаном в дне. При погружении желонки в смесь из жидкости (пластовой или наливаемой сверху) и разбуренных частиц породы клапан открывается и желонка заполняется этой смесью. При подъеме желонки клапан закрывается и смесь извлекается наверх.

По завершении очистки забоя в скважину вновь опускается буровой инструмент и бурение продолжается.

Во избежание обрушения стенок скважины в нее спускают обсадную трубу, длину которой наращивают по мере углубления забоя.

В настоящее время при бурении нефтяных и газовых скважин ударное бурение в нашей стране не применяют.

Нефтяные и газовые скважины сооружаются методом вращательного бурения. При данном способе породы дробятся не ударами, а разрушаются вращающимся долотом, на которое действует осевая нагрузка. Крутящий момент передается на долото или с поверхности от вращателя (ротора) через колонну бурильных труб (роторное бурение) или от забойного двигателя (турбобура, электробура, винтового двигателя), установленного непосредственно над долотом. Турбобур - это гидравлическая турбина, приводимая во вращение с помощью нагнетаемой в скважину промывочной жидкости. Электробур представляет собой электродвигатель, защищенный от проникновения жидкости, питание к которому подается по кабелю с поверхности. Винтовой двигатель - это разновидность забойной гидравлической машины, в которой для преобразования энергии потока промывочной жидкости в механическую энергию вращательного движения использован винтовой механизм.

По характеру разрушения горных пород на забое различают сплошное и колонковое бурение. При сплошном бурении разрушение пород производится по всей площади забоя. Колонковоебурение предусматривает разрушение пород только по кольцу с целью извлечения керна - цилиндрического образца горных пород на всей или на части длины скважины. С помощью отбора кернов изучают свойства, состав и строение горных пород, а также состав и свойства насыщающего породу флюида.

3. Оборудование для бурения нефтяных и газовых скважин

Буровая вышка:

Центральным звеном бурового комплекса является буровая установка. Буровая установка - это комплекс буровых машин, механизмов и оборудования, смонтированный на точке бурения и обеспечивающий с помощью бурового инструмента самостоятельное выполнение технологических операций по строительству скважин. Современные буровые установки включают следующие основные блоки: Вышечный блок; • Насосный блок; • Блок силового привода; • Блок приготовления и очистки бурового раствора. - буровое оборудование (талевый механизм, насосы, буровая лебедка, вертлюг, ротор, силовой привод и т.д.); - буровые сооружения (вышка, основания, сборно-расборные, каркасно-панельные укрытия, приемные мостки и стеллажи); - оборудование для механизации трудоемких работ (регулятор подачи долота, механизмы для автоматизации спуско-подъемных операций, пневматический клиновой захват для труб, автоматический буровой ключ, вспомогательная лебедка, пневмораскрепитель, краны для ремонтных работ, пульт контроля процессов бурения, посты управления); - оборудование для приготовления, очистки и регенерации бурового раствора (блок приготовления, вибросита, песко- и илоотделители, подпорные насосы, емкости для химических реагентов, воды и бурового раствора); - манифольд (нагнетательная линия в блочном исполнении, дроссельно-запорные устройства, буровой рукав); устройства для обогрева блоков буровой установки (тепло генераторы, отопительные радиаторы и коммуникации для развода теплоносителя). Вышечный блок предназначен для подвешивания талевой системы и размещения бурильных труб, оборудования для спуска и подъема бурильных, обсадных и других труб, оборудования для подачи и вращения инструментов. Блок силового привода предназначен для размещения силовых установок, дизелей или электродвигателей, редукторов, компрессоров, коробки передач. Насосный блок предназначен для размещения насосных приводов вместе с приводом. Блок приготовления и очистки бурового раствора включает в себя приемные и запасные емкости для хранения раствора, находящегося в циркуляции и создания необходимого его запаса. Средства приготовления раствора: глиномешалки, блоки приготовления раствора (БПР) и другие емкости. Средства очистки бурового раствора: вибросита, песко- и илоотделители, отстойники, дегазаторы.


Спускоподъёмный комплекс буровой установки (рис. 4) представляет собой полиспастный механизм, состоящий из кронблока 4, талевого (подвижного) блока 2, стального каната 3, являющегося гибкой связью между буровой лебёдкой 6 и механизмом 7 крепления неподвижного конца каната. Кронблок 4 устанавливается на верхней площадке буровой вышки 5. Подвижный конец А каната 3 крепится к барабану лебедки 6, а неподвижный конец Б - через приспособление 7 к основанию вышки. К талевому блоку присоединяется крюк 1, на котором подвешивается на штропах элеватор для труб или вертлюг. В настоящее время талевый блок и подъёмный крюк объединены в один механизм - крюкоблок.

Комплекс для вращения бурильной колонный

 

На рис. 5 представлен комплекс для вращения бурильной колонны. В его состав входит ротор 2, расположенный на полу буровой 1, вертлюг 6, подвешенный на крюке крюкоблока 8. Вертлюг посредством гибкого бурового рукава 4 и стояка 7 передаёт буровой раствор под давлением в бурильную колонну. Посредством вращателя 2 и квадратной ведущей трубы 3 крутящий момент ротора передаётся бурильной колонне и не передаётся талевой системе.

Насосно-циркуляционный комплекс буровой установки


На рис.6 показана схема циркуляции бурового раствора и примерное распределение потерь напора в отдельных элементах циркуляционной системы скважины глубиной 3000 м. Из резервуаров 13 очищенный и подготовленный раствор поступает в подпорные насосы 14, которые подают его в буровые насосы 1. Последние перекачивают раствор под высоким давлением (до 30 МПа) по нагнетательной линии, через стояк 2, гибкий рукав 3, вертлюг 4, ведущую трубу 5 к устью скважины 6. Часть давления насосов при этом расходуется на преодоление сопротивлений в наземной системе. Далее буровой раствор проходит по бурильной колонне 7 (бурильным трубам, УБТ и забойному двигателю 9) к долоту 10. На этом пути давление раствора снижается вследствие затрат энергии на преодоление гидравлических сопротивлений. Затем буровой раствор вследствие разности давлений внутри бурильных труб и на забое скважины с большой скоростью выходит из насадок долота, очищая забой и долото от выбуренной породы. Оставшаяся часть энергии раствора затрачивается на подъём выбуренной породы и преодоление сопротивлений в затрубном кольцевом пространстве 8. Поднятый на поверхность к устью 6 отработанный раствор проходит по желобу 11 в блок очистки 12, где из него удаляются в амбар 15 частицы выбуренной породы и поступает в резервуары 13 с устройствами 16 для восстановления его параметров; и снова направляется в подпорные насосы. Нагнетательная линия (манифольд) состоит из трубопровода высокого давления, по которому раствор подаётся от насоса 1 к стояку 2 и гибкому рукаву 3, соединяющему стояк 2 с вертлюгом 4. Манифольд оборудуется задвижками и контрольно-измерительной аппаратурой. Для работы в районах с холодным климатом предусматривается система обогрева трубопроводов.

) Технологический буровой инструмент.

Буровой инструмент - общее название механизмов и приспособлений, применяемых при бурении шпуров, скважин и ликвидации аварий, возникающих в скважинах. По назначению выделяют буровой инструмент технологический, вспомогательный, аварийный и специальный. В зависимости от области применения (бурение взрывных, геологоразведочных, нефтяных или газовых скважин), способа и диаметра бурения номенклатура и конструктивные особенности бурового инструмента в каждой группе имеют специфические особенности.

Технологический инструмент предназначен для осуществления собственно бурения скважин или бурового процесса - разрушения пород и транспортирования продуктов разрушения. К этому типу инструментов относится следующий породоразрушающий или забойный инструмент: коронки и долота, неправильно называемые «наконечниками», «буроголовками», «истирающими»; расширители; кернорватели; колонковые трубы; шламовые трубы; бурильные трубы (БТ); утяжеленные бурильные трубы (УБТ); переходники; сальники и др.

Породоразрушающий буровой инструмент:

В строении нефтяных и газовых месторождений принимают участие только осадочные горные породы. Основными физико-механическими свойствами горных пород, влияющими на процесс 6yрения, являются: упругие и пластические свойства, твердость абразивность и сплошность. Основной вид деформации, под действием которой породы в процессе бурения разрушаются,-вдавливание. При бурении нефтяных и газовых скважин основным инструментом, при помощи которого происходит разрушение горной породы на забое и образуется собственно скважина, является долото. бурение скважина забой горный

По характеру разрушения породы все буровые долота классифицируются следующим образом:

• долота режуще-скалывающего действия, разрушающие породу лопастями, наклоненными в сторону вращения долота. Предназначены для разбуривания мягких пород. • долота дробяще-скалывающего действия, разрушающие породу зубьями или штырями, расположенными на шарошках, которые вращаются вокруг своей оси и вокруг оси долота. При вращении долота наряду с дробящим действием зубья (штыри) шарошек, проскальзывая по забою скважины, скалывают (срезают) породу, за счет чего повышается эффективность разрушениям пород. • долота истирающе-режущего действия, разрушающие породу алмазными зернами или твердосплавными штырями, располагающиеся в торцовой части долота или в кромках лопастей долота. Долота с алмазными зернами и твердосплавными штырями в торцевой части применяются для бурения неабразивных пород средней твердости и твердых; долота лопастные армированные алмазными зернами или твердосплавными штырями - для разбуривания перемежающихся по твердости абразивных и неабразивных пород.

Лопастные долота:

Лопастные долота в зависимости от конструкции и оснащенности твердым сплавом предназначаются для бурения мягких средней твердости пород, мягких пород с пропластками средних малоабразивных пород, для разбуривания цементных пробок, металлических деталей низа обсадных колонн и расширения и ствола скважины. Используются следующие лопастные долота: • двухлопастные диаметрами от 76,0 до 165,1 мм с обычной (проточной) промывкой; • трехлопастные диаметрами от 120,6 до 469,9 мм с обычной и гидромониторной промывкой; • трехлопастные истирающе-режущего действия диаметрами от 190,5 до 269,9 мм с обычной и гидромониторной промывкой; • шестилопастные истирающе-режущего действия диаметрами от 76,0 до 269,9 мм с обычной и гидромониторной промывкой; • пикообразные диаметрами от 98,4 до 444,5 мм с обычной промывкой. Выпускаются следующие типы лопастных долот (кроме пикообразных долот): М - для мягких пород, МС - для мягких пород с пропластками средней твердости, МСЗ - для мягких абразивных пород с пропластками средней твердости; С - для пород средней твердости, Лопастные пикообразные долота вида выпускаются двух типов: Ц - для разбуривания цементных пробок и металлических деталей низа обсадных колонн; Р - для расширения ствола скважины.

Шарошечные долота:

В России, а также в США и других зарубежных странах для бурения нефтяных и газовых скважин в основном используют шарошечные долота с коническими шарошками. Шарошечные долота предназначены для сплошного бурения нефтяных, газовых и геолого-разведочных скважин, а также скважин различного назначения вгорнодобывающей промышленности и строительстве с очисткой забоя жидкостью или воздухом. Шарошечные долота имеют следующие преимущества по сравнению с лопастными: • площадь контакта шарошечных долот с забоем значительно меньше, чем у лопастных долот, но длина их рабочих кромок больше, что значительно повышает эффективность разрушения горных пород; • шарошки долота перекатываются по забою в отличие от лезвий лопастного долота, скользящих по нему, вследствие чего интенсивность износа зубьев шарошек значительно меньше интенсивности износа лезвий лопастных долот; • вследствие перекатывания шарошек по забою крутящий момент, потребляемый долотом, сравнительно невелик, поэтому опасность заклинивания шарошечного долотасводится к минимуму. В соответствии с ГОСТ 20692 - 75 шарошечные долота изготавливаются трех видов: • одношарошечные, • двухшарошечные, • трехшарошечных. Трехшарошечные долота получили наибольшее распространение. По расположению и конструкции промывочных или продувных каналов долота изготовляются: с центральной промывкой - Ц, боковой гидромониторной промывкой - Г, центральной продувкой - П, боковой продувкой - ПГ.

Алмазные долота:

В состав алмазных буровых долот входят твердосплавная алмазонесущая рабочая часть (матрицы) и стальной корпус, который включает внутреннюю присоединительную конусную замковую резьбу.

Данный тип бурового долота бывает различной формы рабочей части, качества алмазов и системы промывки. Твердосплавная алмазонесущая рабочая часть алмазных долот производится из металлического порошка способом порошковой металлургии. Металлический порошок обеспечивает хорошим удержанием алмазов и позволяет получать матрицы разной твёрдости, а также износостойкости. Матрицы, изготовленные на основе вольфрама, выдают необходимую износостойкость, прочность, и, конечно же, высокую теплопроводность материала.

Бурильные головки и алмазные долота бывают двух модификаций:

однослойный тип «ДР», «ДК», «ДТ», «КР» и «КТ» с размещением алмаза в поверхностных слоях рабочих кромок матриц определёнными схемами;

импрегнированный тип «ДИ» с приблизительно ровным распределением мелких алмазовых зёрен в матрице.

Несомненным преимуществом алмазных долот является увеличивающаяся проходка кратное число раз.

Различают 11 типов алмазных буровых долот:

) долото с поверхностными алмазами;

) долото импрегированные, где алмазы размещаются поверху матрицы до 8мм;

) долото с конструкционными особенностями;

) долото ДР с радиальными каналами и с биконической поверхностью с наружи;

) долото ДК с напорным каналом с наличием тораидальных выступов;

) долото *C с синтетическим расположение алмазов;

) долото *И с импрегированными алмазами;

) долото ДЛ - лопастное долото;

) долото ДВ - торцевое долото с внутренним конусом при зарезке нового ствола;

) долото ДИ - импрегированное долото с заостренными лопастными торцами;

) долото ДУ - универсальное долото.

Целью применения алмазных долот являются большие (более 3000 м) глубины скважин. Стойкость алмазного бурового долота в 20-30 раз превышает шарошечную стойкость.

Бурильная колонна:

Бурильная колонна (drillingstring) - спущенные в скважину последовательно соединённые бурильные трубы. Основное назначение бурильной колонны - обеспечить гидравлическую и механическую связь работающего на забое долота и ствола скважины с поверхностным механическим и гидравлическим оборудованием. Одновременно бурильная колонна служит инструментом для доставки в скважину буровых и колонковых долот, исследовательских приборов и устройств, снарядов и аварийно-ликвидационных приспособлений. Две главные функции обеспечивает бурильная колонна в процессе бурения ствола: вращает долото и одновременно передает на него осевую нагрузку, создает замкнутую циркуляцию бурового раствора через забой скважины, обеспечивая очистку ствола от выбуренной породы, и привод погружных гидравлических двигателей. Бурильная колонна включает следующие основные элементы сверху вниз: рабочую (ведущую) трубу, бурильные трубы, утяжелённые бурильные трубы (УБТ).

Забойные двигатели:

В качестве забойных двигателей при бурении используют турбобур, электробур и винтовой двигатель, устанавливаемые непосредственно над долотом.

Тубробуры:

Турбобур (рис. 7) - это многоступенчатая турбина (число ступеней до 350), каждая ступень которой состоит из статора, жестко соединенного с корпусом турбобура, и ротора, укрепленного на валу турбобура. Поток жидкости, стекая с лопаток статора, натекает на лопатки ротора, отдавая часть своей энергии на создание вращательного момента, снова натекает на лопатки статора и т.д. Хотя каждая ступень турбобура развивает относительно небольшой момент, благодаря их большому количеству, суммарная мощность на валу турбобура оказывается достаточной, чтобы бурить самую твердую породу.

Рис. 7. Турбобур: а - общий вид; б -ступень турбобура; 1 - вал; 2 - корпус; 3 - ротор; 4 - статор.

При турбинном бурении в качестве рабочей используется промывочная жидкость, двигающаяся с поверхности земли по бурильной колонне к турбобуру. С валом турбобура жестко соединено долото. Оно вращается независимо от бурильной колонны.

При бурении с помощью электробура питание электродвигателя осуществляется через кабель, укрепленный внутри бурильных труб. В этом случае вместе с долотом вращается лишь вал электродвигателя, а его корпус и бурильная колонна остаются неподвижными.

Винтовой забойный двигатель:

Основными элементами винтового двигателя (рис. 8) являются статор и ротор. Статор изготовлен нанесением специальной резины на внутреннюю поверхность стального корпуса. Внутренняя поверхность статора имеет вид многозаходной винтовой поверхности. А ротор изготовляют из стали в виде многозаходного винта. Количество винтовых линий на одну меньше, чем у статора.

Рис. 8. Винтовой двигатель:

а - общий вид; б - полости, образуемые между ротором (винтом) и статором; 1 - переводник; 2 - корпус двигательной секции; 3 - статор; 4 - ротор; 5 - карданный вал; 6 - корпус шпинделя; 7 - торцовый сальник; 8 - многорядный радиально-упорный подшипник; 9 - радиально-резино- металлическая опора; 10 - вал шпинделя.

Ротор расположен в статоре с эксцентриситетом. Благодаря этому, а также вследствие разницы чисел заходов в винтовых линиях статора и ротора их контактирующие поверхности образуют ряд замкнутых полостей - шлюзов между камерами высокого давления у верхнего конца ротора и пониженного давления у нижнего. Шлюзы перекрывают свободный ток жидкости через двигатель, а самое главное - именно в них давление жидкости создает вращающий момент, передаваемый долоту.

) Промывка скважин.

Промывка скважин - циркуляция (непрерывная или периодическая) промывочного агента (газа, пены, воды, бурового раствора) при бурении с целью очистки забоя от выбуренной породы (шлама) и транспортирования её на поверхность или к шламосборникам, передачи энергии забойным двигателям, охлаждения и смазки породоразрушающего инструмента. При роторном бурении в мягких и средних породах за счёт действия промывочного агента (при скорости истечения жидкости 200-250 м/с) достигается также гидромониторное разрушение пород на забое.

 <http://dic.academic.ru/pictures/enc_geolog/1629.j>

Схема общей прямой промывки скважин: 1 - ёмкость для бурового раствора; 2 - насос; 3 - гибкий шланг; 4 - вертлюг; 5 - ведущая труба; 6 - бурильная колонна; 7 - гидравлический двигатель; 8 - насадки долота; 9 - кольцевой канал; 10 - желоба; 11 - вибросито; 12 - отстойник; 13 - вспомогательный насос; 14 - гидроциклон; 15 - центрифуга. Различают общую прямую, общую обратную, призабойную (местную) и комбинированную схемы циркуляции. При общей прямой циркуляции буровой раствор подаётся насосами из ёмкости через гибкий шланг, вертлюг и ведущую трубу в бурильную колонну; затем он проходит через гидравлический двигатель и насадки долота, очищает забой и транспортирует шлам вверх по кольцевому каналу между бурильной колонной и стенкой скважины. На поверхности буровой раствор поступает в систему очистки, где последовательно проходит через желоба, вибросита, отстойники, вспомогательные насосы, гидроциклоны и центрифуги. При бурении в твёрдых непроницаемых породах, в верхних и средних интервалах разреза система очистки упрощается - используется меньшее кол-во очистных агрегатов.

Общая обратная циркуляция применяется в тех случаях, когда очистка забоя и транспортировка шлама невозможны из-за недостаточной мощности насосов, увеличенного диаметра скважины, а также при бурении шахтных стволов. При общей обратной циркуляции промывочный агент поступает на забой по кольцевому пространству между стенкой скважины и бурильными трубами и обогащённый шламом возвращается по бурильным трубам на поверхность к очистным устройствам и насосу. Высокие скорости восходящего потока обеспечивают гидротранспорт Керна и вынос тяжёлого шлама. При герметиз. устье циркуляция обеспечивается буровым насосом, нагнетающим промывочный агент в скважину. Осн. недостатки общей обратной промывки скважины: невозможность использования забойных двигателей, забивание каналов породоразрушающего инструмента, необходимость герметизации устья скважины, возможность возникновения гидроразрыва пластов из-за высоких давлений. Для снижения недостатков в большинстве случаев для обратной циркуляции используется эрлифт. Для этого в бурильную колонну через трубы малого диаметра по отд. магистрали нагнетается сжатый воздух, который аэрирует буровой раствор в кольцевом пространстве между воздушной и бурильной трубами и подаёт его через пульпоотводящий тройник и сливной патрубок в отстойник и далее самотёком снова в скважину.В мелких, гл. обр. водозаборных скважинах обратная циркуляция осуществляется с помощью вакуумного насоса. Обратная циркуляция по сравнению с прямой характеризуется более высокой скоростью восходящего потока, возможностью увеличения диаметра скважин при надёжной гидровыдаче крупнокусковой разрушенной породы, лучшей очисткой забоя, повышенным выходом керна и возможностью его непрерывной подачи на поверхность. При наличии в геол. разрезе сильно поглощающих пластов используется призабойная (местная) циркуляция. Циркуляция бурового раствора осуществляется с помощью погружного насоса с электрическим или механическим приводом, выбуренная порода скапливается в шламоуловителях, включённых в компоновку бурильной колонны. Комбинированная циркуляция проводится по различным схемам. Для повышения выхода и качества керна используется энергия нагнетаемого с поверхности по колонне бурильных труб промывочного агента, создающего местную, как правило, обратную циркуляцию. При этом применяют пакерные, эжекторные и эрлифтные устройства, а также различные погружные насосы.

При двойной (совмещённой) комбинированной циркуляции, используемой при бурении шахтных стволов, буровой раствор подаётся в ствол скважины самотёком и одновременно в бурильную колонну буровым насосом. При этом бурильная колонна имеет не менее 3 отдельных каналов, по одному из которых раствор подаётся за забой, по второму подаётся сжатый воздух для эрлифта, по третьему поднимается пульпа. Такая промывка обеспечивает качественную очистку забоя и хорошее охлаждение породоразрушающего инструмента. В схеме совмещённой циркуляции в качестве обратного канала может использоваться нижняя часть опережающей скважины малого диаметра, пробуренной на проектную глубину и сбитой у забоя со специальнойэрлифтовой скважиной. Для расширения верхней части опережающей скважины применяют турбобуры, работу которых обеспечивает прямая циркуляция промывочного агента. Крупный шлам оседает в забое опережающей скважины, а остальной выносится черезэрлифтную скважину. При значит диаметре форшахты скорость восходящего потока прямой циркуляции в ней резко падает и крупные фракции породы, поднявшиеся с забоя опережающей скважины до форшахты, далее на поверхность подняться не могут. Для их подъёма в форшахте монтируется эрлифт, не совмещённый с колоннами бурильных и обсадных труб опережающей скважины.

При промывке скважины возможны потери промывочного агента за счёт частичного или полного поглощения пластами. Иногда при внезапном вскрытии крупных трещин или каверн наблюдаются катастрофические потери бурового раствора, что обычно заканчивается аварией. Процесс промывки скважины также нарушается при интенсивном поступлении в скважину пластовых вод и при газовых выбросах.

)Крепление скважин.

Крепление скважин - процесс укрепления стенок буровых скважин обсадными трубами и тампонажным раствором. Наиболее распространено крепление скважин последовательным спуском и цементированием направляющей колонны, кондуктора, промежуточной и эксплуатационных колонн. Промежуточная и эксплуатационная колонны могут быть спущены целиком, секциями и в виде потайных обсадных колонн, которые, как правило, входят в башмак предыдущей колонны и в процессе проводки скважины могут быть наращены до устья.

Перед спуском обсадной колонны производят комплекс геофизических работ, среди которых важное место занимают кавернометрия и профилеметрия, что позволяет определить количество тампонажного цемента и др. Для выбора числа обсадных колонн (зон крепления) используется совмещённый график изменения пластового давления, давления гидроразрыва пород и гидростатического давления столба бурового раствора, построенный на основании исходных данных в прямоугольных координатах "глубина - эквивалент градиента давления". Под эквивалентом градиента давления понимают плотность жидкости, столб которой в скважине в точке замера создаёт давление, равное пластовому (поровому) или давлению гидроразрыва.

Подготовку обсадных труб к спуску в скважину осуществляют централизованно на трубных базах или непосредственно на буровых. Обсадные трубы должны иметь заводские сертификаты и маркировку, подтверждающие их соответствие требованиям стандартов. Все обсадные трубы, предназначенные для крепления скважины, на буровой подвергаются гидравлическому испытанию труб на внутреннее давление для определения их пригодности и внешнему осмотру.

Расчёт обсадных колонн (эксплуатационных и промежуточных) производится по нескольким методикам. Для эксплуатационных колонн определяется наружное и внутреннее давление и проводится расчёт обсадных колонн на растяжение, для промежуточных колонн учитывается их износ. Существуют особенности расчёта колонн применительно к многолетнемёрзлым породам, соляным залежам и т.д. Обсадные колонны, собираемые с помощью муфтовых соединений или на сварке, спускают обычно в один приём. При спуске труба, находящаяся у буровой, с помощью элеватора поднимается на талевой системе лебёдкой, нижним концом свинчивается с муфтой уже спущенной и висящей на роторном столе обсадной трубой, затем опускается вся колонна обсадных труб. Процесс повторяется до спуска всех труб. После спуска обсадной колонны скважина промывается и цементируется.

Процесс цементирования начинается с приготовления цементного раствора с помощью цементно-смесительных машин и цементировочных агрегатов, потом закачивается в обсадную колонну и вытесняется в заколонное пространство. Цементирование (тампонирование) скважин повышает герметичность обсадной колонны и предотвращает сообщение между пластами, дневной поверхностью или зоной перфорации. Герметичность скважины обеспечивается контактированием колонны обсадных труб и стенки скважины с тампонажным раствором низкой водоотдачи, затвердевающим в безусадочный камень. Для осуществления процесса крепления и цементирования применяются заколонная оснастка и колонная оснастка.

При обоснованном времени загустеваниятампонажного раствора определяющим фактором обеспечения герметичности заколонного пространства скважин является высокая степень вытеснения бурового раствора из интервала цементирования. Полнота вытеснения бурового раствора из заколонного пространства тампонажным раствором (величина статистического характера) определяется реологическими свойствами жидкостей, эксцентриситетом обсадной колонны, временем контакта тампонажного раствора и буферной жидкости со стенками скважины, коэффициентом турбулентного переноса, степенью отклонения формы ствола скважины от идеальной, коэффициентом Рейнольдса и др. Лучший случай обеспечения герметичности крепи наблюдается, когда тампонажный раствор, вытеснив буровой, занял все каверны и контактирует с породой и обсадной колонной. Степень вытеснения бурового раствора тампонажным характеризуется коэффициентом вытеснения, под которым понимается отношение объёма вытесненного бурового раствора к полному объёму скважины на высоте подъёма тампонажного раствора.

Похожие работы на - Бурение скважин

 

Не нашли материал для своей работы?
Поможем написать уникальную работу
Без плагиата!
Без нейросетей!