Бурение геологоразведочных скважин на стадии разведки
ОГЛАВЛЕНИЕ
Введение
.
Геолого-технические условия
1.1
Определение свойств горных пород
2.
Выбор способа бурения
.
Выбор конструкции скважины
.
Расчет режимных параметров
.
Повышение качества проб или образцов пород, получаемых в процессе бурения
.
Выбор бурового оборудования
.1
Буровой станок
.2
Буровой насос
.3
Буровая мачта
.4.
Буровое здание
.5
Выбор бурильных труб
.
Расчет талевой системы
.1
Определение числа рабочих струн
.2
Определение усилий во всех струнах талевой системы
.3
Определение нагрузки на вышку в статике и динамике
.4
Определение грузоподъёмности талевой системы
.5
Определение диаметра каната и выбор его конструкции
.6
Определению числа свечей, поднимаемых на каждой скорости
.
Уточнение режимов бурения
.
Промывочная жидкость и ее доставка на буровые
.1
Водоснабжение
.2
Промывочная жидкость
.
Производство работ при бурении скважин
.1
Забуривание и оборудование устья скважины
.2
Закрепление стенок скважины
.3
Спуско-подъемные операции
.4
Предупреждение и ликвидация аварий
10.5 Ликвидация или консервация скважин
11.
Технология бескернового бурения
11.1 Породоразрушающий инструмент для
бескернового бурения
.1.1 Шарошечные долота
.1.2 Лопастные и дисковые долота
.1.3. Долота специального назначения
12.
Подсобные цеха, связь, транспорт
.
Охрана труда, промсанитария, техника безопасности, противопожарная техника
.
Охрана природы
ВВЕДЕНИЕ
Целью проведения буровых работ являются бурение
геологоразведочных скважин на стадии разведки. Основой для проведения работ
послужил уголь. Глубина скважины 320 метров, общее количество скважин 30, общий
метраж 9600 метров. Начальный зенитный угол забуривания 0°.
Глубина подсечения полезного ископаемого 90, 180, 270 метров. В интервале от
120 до 130 метров полное поглощение промывочной жидкости. Водоснабжение - ручей
в 100 метрах. Энергоснабжение - госэнергосеть в 500 метрах. Глины привозные,
каолинитовые. Расстояние между скважинами 150 метров. Срок проведения работ -
12 месяцев.
1. ГЕОЛОГО-ТЕХНИЧЕСКИЕ УСЛОВИЯ
.1 Определение свойств горных пород
Геологический разрез представлен породами:
от 0 до 25 метров - четвертичные отложения,
от 25 до 70 метров - песчаники крупнозернистые
трещиноватые,
от 70 до 90 метров - аргиллиты,
от 90 до 93 метров - антрацит,
от 93 до 180 метров - аргиллиты, слабо
окремненные,
от 180 до 182 метров - угли слабые,
от 182 до 270 метров - песчаники кремнистые,
от 270 до 275 метров - антрацит,
от 275 до 300 метров - алевролиты окварцованные,
от 300 до 320 метров - песчаники кварцевые
сливные.
Четвертичные отложения
Четвертичные отложения, коэффициент абразивности
кабр=0.4; коэффициент динамической прочности Fд=3.2
1. Категория по буримости 3
2. Твердость по Шрейнеру (МПа) 100-250
. Коэффициент крепости по Протодьяконову
1-2
. Примерная механическая скорость
бурения, м/ч 11-15
Порода малоустойчивая, легко разрушаемая и
растворимая.
Песчаники крупнозернистые
трещиноватые
Глина плотная, коэффициент абразивности кабр=0.5;
коэффициент динамической прочности Fд=2.1
. Категория по буримости 3
. Твердость по Шрейнеру (МПа) 250-500
. Коэффициент крепости по Протодьяконову 2-4
. Примерная механическая скорость бурения, м/ч
5,7-10
Порода малоустойчивая, легко разрушаемая.
Аргиллиты
Аргиллиты, коэффициент абразивности кабр=0.5;
коэффициент динамической прочности Fд=2.0
. Категория по буримости 5
. Твердость по Шрейнеру (МПа) 1000-1500
. Коэффициент крепости по Протодьяконову 6-7
. Примерная механическая скорость бурения, м/ч
2,5-3,5
Порода малоустойчивая, легко разрушаемая.
Антрацит
Антрацит, коэффициент абразивности кабр=0.5;
коэффициент динамической прочности Fд=6.0
. Категория по буримости 5
. Твердость по Шрейнеру (МПа) 1000-1500
. Коэффициент крепости по Протодьяконову 6-7
. Примерная механическая скорость бурения, м/ч
2,5-3,5
Порода среднеустойчивая, разрушаемая
гидродинамическими нагрузками и вибрационными снарядами, слаботрещиноватая,
удельная кусковатость керна 6-10 шт./м, показатель трещиноватости 0.51-1.0.
Аргиллиты, слабо окремненные
Аргиллиты слабо окремненные, коэффициент
абразивности кабр=2.0; коэффициент динамической прочности Fд= 25.0
. Категория по буримости 6
. Твердость по Шрейнеру (МПа) 1500-2000
. Коэффициент крепости по Протодьяконову 7-8
. Примерная механическая скорость бурения, м/ч
1,5-2,5
Угли слабые
Угли слабые, коэффициент абразивности кабр=0,4;
коэффициент динамической прочности Fд= 3.2
. Категория по буримости 3
. Твердость по Шрейнеру (МПа) 250-500
. Коэффициент крепости по Протодьяконову 2-4
. Примерная механическая скорость бурения, м/ч
5.7-10.0
Песчаники кремнистые
Песчаники кремнистые, коэффициент абразивности кабр=2,06;
коэффициент динамической прочности Fд= 10.0
. Категория по буримости 7
. Твердость по Шрейнеру (МПа) 3500-3500
. Коэффициент крепости по Протодьяконову 14-16
. Примерная механическая скорость бурения, м/ч
0.75-1.20
Антрацит
Песчаники кремнистые, коэффициент абразивности кабр=0,5;
коэффициент динамической прочности Fд= 6.0
. Категория по буримости 5
. Твердость по Шрейнеру (МПа) 1000-2000
. Коэффициент крепости по Протодьяконову 6-7
. Примерная механическая скорость бурения, м/ч
2.5-3.5
Алевролиты окварцованные
Песчаники кремнистые, коэффициент абразивности кабр=0,4;
коэффициент динамической прочности Fд= 3.2
. Категория по буримости 6
. Твердость по Шрейнеру (МПа) 1500-2000
. Коэффициент крепости по Протодьяконову 7-8
. Примерная механическая скорость бурения, м/ч
1.5-2.5
Песчаники кварцевые сливные
Песчаники кварцевые сливные, коэффициент
абразивности кабр=1.0; коэффициент динамической прочности Fд= 7.5
1. Категория по буримости 7
. Твердость по Шрейнеру (МПа) 3000-3500
. Коэффициент крепости по Протодьяконову 11-14
. Примерная механическая скорость бурения, м/ч
1.3-1.9
2. ОБОСНОВАНИЕ СПОСОБА БУРЕНИЯ
Из основных способов бурения скважин,
применяемых при геологоразведочных работах, самым целесообразным в данном
случае является вращательное. Этот выбор обоснован тем, что скважины на участке
работ глубокие. Применение других способов не эффективно, так как применение,
например, ударно-канатного бурения не возможно, потому что скважины бурятся с
отбором керна и необходимо получать представительные образцы пород с
сохранением их структуры и свойств. Бурение с использованием ударно-вращательное
способа так же не эффективно, потому что категории горных пород, представленных
на данном участке, средней твердости.
3. ВЫБОР КОНСТРУКЦИИ СКВАЖИНЫ
Конструктивно скважина состоит из ствола,
пробуренного в горных породах, нескольких обсадных колонн и тампонажного камня,
заполняющего целиком или частично пространство между колоннами и стенками
ствола.
Конструкцию скважины характеризует число
спущенных в нее колонн и их диаметры, длина ствола под каждую колонну, а также
местоположение интервалов цементирования.
Рациональной является такая конструкция, которая
обеспечивает оптимальное сочетание стоимости сооружения скважины с
геологическими и технологическими требованиями и ограничениями.
Проектирование конструкции начинается с анализа,
минимально - допустимого диаметра керна (dкmin) по полезному
ископаемому, возможных осложнений, проявление которых нежелательно, т. к. может
привести к возникновению аварийных ситуации. Это в свою очередь приводит к
удорожанию стоимости ведения буровых работ, либо к ликвидации скважины.
На основании анализа осложнений выделяются
интервалы с несовместимыми условиями бурения. Обеспечение же безаварийности
проводки скважины при бурении по интервалам с несовместимыми условиями бурения
возможно лишь либо перекрытием данных зон обсадными колоннами, либо применением
высококачественных промывочных жидкостей.
На предварительной стадии разведки полезное
ископаемое - бурый железняк, по таблице 6.7 [2,c.31] определяем рекомендуемый
минимально-допустимый диаметр керна, dкmin=32 мм.
Для определения минимально возможного диаметра
коронки Dкmin используем формулу [2, c.
15]:
кmin=dкmin+
D,
(1)
где D- уменьшение
диаметра керна в зависимости от категории горной породы по буримости, f= III.
Ориентировочно D может быть
определена по формуле[2, c.
15] :
D=20-8×lnf,
(2)
D=20-8×ln3=11.2
ммkmin=32+11.2=43.2
мм
Принимаем коронку с наружным и внутренним
диаметрами 59 и 44 мм соответственно.
На основе геолого-технических условий и диаметра
керна по полезному ископаемому проектируем конструкцию скважины и заносим в
ГТН.
Для бурения данной скважины было предложено две
конструкции (табл. 1 и табл. 2).
Конструкция скважины №2 (табл. 2) имеет
существенный недостаток: так как данная конструкция предусматривает установку
обсадной колонны впотай .
Наиболее рациональной является первая
конструкция скважины (табл. 1), в которой предусматривается лишь три перехода
по диаметру ПРИ, сводится к минимуму возможность аварий в интервале 0-120 м.
так как данный интервал предусматривает обсадку трубами диаметром 73 мм.
Исходя из вышесказанного, для бурения скважины
принимаем вторую конструкцию (табл. 1).
Бурение в интервале от 0 до 45 м осуществляется
шарошечным долотом типа В-112МГ диаметром 112 мм. После отбуривания интервала,
устанавливаются обсадные трубы диаметром 108 мм до 4,5 метровой глубины,
затрубное пространство забутовывается глиной.
В интервале от 4 до 40 м бурение производится
шарошечным долотом типа II-93М-ЦВ
диаметром 93 мм. Данный интервал обсаживается трубами диаметром 73 мм.
Затрубное пространство тампонируется в интервале от 115 до 125 м цементным
раствором. Состав раствора: портландцемент + вода. Основные технические
параметры: В/Ц=0.40¸0.55, r=1.35¸1.95
г/см3, Т=17¸25 см, сроки схватывания, ч:
начало 5.5-6; конец 8-12.
В интервале от 125 м до проектной глубины
скважины бурение производится ПРИ диаметром 59 мм.
Таблица 1
Конструкция скважины №1
|
Линейный
масштаб, м
|
Литологическая
колонка
|
Мощность
слоев пород по оси скважины, м
|
Название
пород
|
Угол
падения слоев пород, град
|
Проектная
категория пород по буримости
|
Выход
керна, %
|
Интервал
(м) и характер возможных осложнений
|
Конструкция
скважины
|
|
|
|
|
|
|
|
|
Диаметр
(мм) и глубина (м) ствола скважины
|
Диаметр
(мм) и глубина (м) спуска обсадных труб
|
Интервалы
тампонирования, м
|
|
|
|
|
|
|
плановый
|
Возможный
фактический
|
|
|
|
|
|
|
от
|
до
|
всего
|
|
|
|
|
|
|
|
|
|
|
2
|
3
|
4
|
5
|
6
|
7
|
8
|
9
|
10
|
11
|
12
|
13
|
14
|
|
|
|
|
|
|
|
|
|
|
|
|
|
|
Таблица
2
Конструкция скважины №2
|
Линейный
масштаб, м
|
Литологическая
колонка
|
Мощность
слоев пород по оси скважины, м
|
Название
пород
|
Угол
падения слоев пород, град
|
Проектная
категория пород по буримости
|
Выход
керна, %
|
Интервал
(м) и характер возможных осложнений
|
Конструкция
скважины
|
|
|
|
|
|
|
|
|
Диаметр
(мм) и глубина (м) ствола скважины
|
Диаметр
(мм) и глубина (м) спуска обсадных труб
|
Интервалы
тампонирования, м
|
|
|
|
|
|
|
плановый
|
Возможный
фактический
|
|
|
|
|
|
|
от
|
до
|
всего
|
|
|
|
|
|
|
|
|
|
|
2
|
3
|
4
|
5
|
6
|
7
|
8
|
9
|
10
|
11
|
12
|
13
|
14
|
|
|
|
|
|
|
|
|
|
|
|
|
|
|
Описание конструкции скважины
шифрами
Скважина №1
1. Классификация по Козловскому Е.А.:
А II
(4.5;41)
в
(4;40;125)
2. Классификация по ВИТРу:
360 Т 59 II
4.5 (108Н) 41 (89Н)
3. Классификация Юшкова А.С.:
112/108(4.5)93/89(41)76(125)59(360)
Скважина №2
4. Классификация по Козловскому Е.А.:
А II
(4.5;125)
в (4;125)
5. Классификация по ВИТРу:
360 Т 59 II
4.5 (108Н) 125 (73Н)
6. Классификация Юшкова А.С.:
112/108(4.5)93/89(125)59(360)
4. РАСЧЕТ РЕЖИМНЫХ ПАРАМЕТРОВ
К режимным параметрам бурения относится осевая
нагрузка на ПРИ, частота вращения снаряда, расход промывочной жидкости.
Оптимальное сочетание данных параметров
позволяет обеспечить достижение наилучших показателей работы коронки. Кроме
того, от режимных параметров напрямую зависит величина механической скорости
бурения.
В общем случае увеличение как частоты вращения,
так и осевой нагрузки, при расходе промывочной жидкости, достаточной для
удаления продуктов разрушения, обеспечивает рост механической скорости. Но, при
этом существует ряд ограничивающих факторов, прежде всего технологического и
технического характера, препятствующих увеличению частоты вращения и осевой
нагрузки до величин, которые бы обеспечили достижение максимальной скорости
бурения.
В связи с этим необходимо подбирать такие
значения режимных параметров, которые бы приводили к достижению высокой
механической скорости бурения в сочетании с высокой проходкой на ПРИ.
Технологические режимы бурения
шарошечным долотом
Осевая нагрузка на долото определяется по
формуле [1,с.268]:
, (3)
где
-осевая
нагрузка на 1 см диаметра долота, кН, значения приведены в табл. 39 [2,с.269];
-диаметр
долота, см.
Частота вращения определяется по формуле
[1,с.132]:
, (4)
где
-окружная
скорость вращения долота, (м/с) значения приведены табл. 39 [1,с.269];
-диаметр
долота, м.
Расход промывочной жидкости принимается из
расчёта эффективной очистки забоя скважины и определяется по формуле
[1,стр.132]:
, (5)
где
-
площадь забоя скважины, см2;
- коэффициент очистки забоя, характеризующий расход жидкости на площади 1 см2
за 1 с, см3 (с•см2), k0
=
0,02-0,04.
Технологические режимы бурения
твердосплавным ПРИ
Осевая нагрузка на коронку определяется по
формуле [1,стр.131]:
, (6)
где
-
осевая нагрузка на один резец или вставку, кН значения приведены табл. 23
[1,стр.126]; m - число основных
резцов или вставок в коронке значения приведены табл. 23 [1,стр.126];
Частота вращения коронки определяется по формуле
(4):
Расход промывочной жидкости принимается из
расчёта эффективной очистки забоя скважины и определяется по формуле
, (7)
или
,
(8)
где
-скорость
восходящего потока промывочной жидкости, дм/с значения приведены в приложении 6
[1,стр.445];
-площадь кольцевого
зазора между стенками скважины и бурильными трубами, дм2 , q
- удельный расход жидкости на 1 мм диаметра коронки, л/мин.
Технологические режимы бурения
алмазным ПРИ
Осевая нагрузка на коронку определяется по
формуле [1,с.164]:
, (9)
где
-
удельная нагрузка рабочей площади торца коронки, кН/см2 ; S
- рабочая площадь торца алмазной коронки (за вычетом площади промывочных
каналов), см2 значения представлены в табл. 27 [1,с.165]
Значения
принимаются
для коронок: однослойных 0,3-1,2 кН; многослойных и импрегнированных 0,4-1,5
кН.
Частота вращения коронки определяется по формуле
(4):
Расход промывочной жидкости определяется по формуле
(8):
I
интервал 0-4 м
Для бурения по данному интервалу применяется ПРИ
диаметром 112 мм типа В-112МГ.
Осевая нагрузка P
(в кН) определяется по формуле (3):
, кН
Частота вращения (в об/мин.) определяется по
формуле (4):
, об/мин.
Расход промывочной жидкости (в л/мин.)
определяется по формуле (5):
, л/мин.
II
интервал 4-40 м
Для бурения по данному интервалу применяется ПРИ
диаметром 93 мм типа II-93М-ЦВ
Осевая нагрузка P
(в кН) определяется по формуле (3):
, кН
Частота вращения n
(в об/мин) определяется по формуле (4):
, об/мин.
Расход промывочной жидкости (в л/мин.)
определяется по формуле(5):
, л/мин.
III
интервал 40-125 м
Для бурения по данному интервалу применяется
коронка диаметром 93 мм типа М2, до проектной глубины скважины используется
ОКС.
Осевая нагрузка на коронку P
(в кН) определяется по формуле (6):
, кН
Частота вращения n
(в об/мин.) определяется по формуле (4):
, об/мин.
Расход промывочной жидкости (в л/мин.)
определяется по формуле (7):
, л/мин.
IV
интервал 125-265 м
Для бурения по данному интервалу применяется
коронка диаметром 59 мм типа СМ4
Осевая нагрузка на коронку P
(в кН) определяется по формуле (6):
, кН
Частота вращения n
(в об/мин.) определяется по формуле (4):
, об/мин.
Расход промывочной жидкости (в л/мин.)
определяется по формуле (8):
, л/мин.
V
интервал 265-295 м
Для бурения по данному интервалу применяется
коронка диаметром 59 мм типа СА4
Осевая нагрузка на коронку P
(в кН) определяется по формуле (6):
, кН
Частота вращения n
(в об/мин.) определяется по формуле (4):
, об/мин.
Расход промывочной жидкости (в л/мин.)
определяется по формуле (8):
, л/мин.
VI
интервал 295-360 м
Для бурения по данному интервалу применяется
коронка диаметром 59 мм типа 02И4
Осевая нагрузка на коронку P
(в кН) определяется по формуле (9):
, кН
Частота вращения n
(в об/мин.) определяется по формуле (4):
, об/мин.
Расход промывочной жидкости (в л/мин.)
определяется по формуле (8):
, л/мин.
5. ПОВЫШЕНИЕ КАЧЕСТВА ПРОБ ИЛИ
ОБРАЗЦОВ ПОРОД, ПОЛУЧАЕМЫХ В ПРОЦЕССЕ БУРЕНИЯ
Основным материалом, используемым при бурении
геологоразведочных скважин, является керн, количество и качество которого
должно удовлетворять известным требованиям.
Выход керна при колонковом разведочном бурении
зависит от целого ряда факторов, которые можно объединить в несколько групп:
геологические, технические, технологические и организационные.
Геологические. Горные
породы при колонковом бурении рассматриваются главным образом с точки зрения их
буримости, выхода керна и устойчивости в стенках скважины. В большинстве
случаев мягкие, рыхлые породы легко бурятся, но дают низкий выход керна и
неустойчивы в стенках скважины. Эти показатели зависят от физико-механических
свойств горных пород.
Знание геологических условий позволяет заранее
принять меры по обеспечению хорошего выхода керна и нормального процесса
бурения.
Основными физико-механическими свойствами горных
пород, оказывающими влияние на процесс бурения, являются прочность, твёрдость,
абразивность и устойчивость.
Все горные породы и полезные ископаемые
целесообразно разделить на группы по признакам разрушения керна, что позволит
наметить конкретные мероприятия по обеспечению выхода керна.
Технические
факторы, оказывающие влияние на выход керна и его качество, определяются
главным образом конструктивными особенностями колонкового снаряда и
породоразрушающего инструмента, а также условия их работы. Сюда относятся
каналы, направляющие поток промывочной жидкости до начала и во время бурения,
каналы дренажа жидкости из керноприёмной трубы, конструкция керноприёмной трубы
и её соединений, способ заклинки керна, конструкция породоразрушающего
инструмента, диаметр и наклон скважины, качество промывочного агента и
вибрация.
К технологическим факторам, влияющим на
сохранность керна при бурении, относятся: количество подаваемой жидкости на
забой скважины во время бурения, скорость вращения породоразрушающего
инструмента, осевое усилие на породоразрушающий инструмент, величина проходки
за рейс.
Организационные. Успешное
получение качественного керна в значительной мере зависит от умения бурового
персонала правильно применять наиболее эффективные средства в данных условиях
бурения и правильно организовывать производство буровых работ.[9]
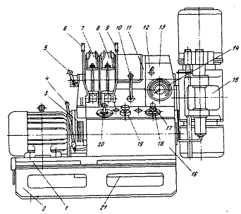
6. ВЫБОР БУРОВОГО ОБОРУДОВАНИЯ
Выбор бурового агрегата и необходимого
оборудования производим согласно решаемой геологической задаче,
геолого-техническим условиям бурения, способу бурения, конструкции скважины и
разработанным режимам бурения. На основе анализа характеристик оборудования,
позволяющих бурить скважину на планируемую глубину, выбираем наиболее
эффективное .УКБ - 4П. Установка состоит из бурового станка СКБ - 4, буровой
трубчатой мачты БМТ - 4 со зданием ПБЗ - 4, бурового насоса НБ - 160/63,
труборазворота РТ - 1200М, обогреваемого подсвечника П - 4/5, элеватора МЗ -
50/80, транспортной базы ТБ - 15 [6].
.1 Буровой станок
Станок СКБ-4 предназначен для бурения
геологоразведочных скважин глубиной 300 м твердосплавными и 500 м - алмазным
ПРИ. Станок имеет моноблочную конструкцию. Вращатель шпиндельного типа имеет
два зажимных гидравлических патрона.
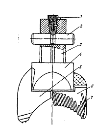
Рис. 1. Буровой станок СКБ-4:
- станина; 2 - рама; 3 - сцепление; 4 - рукоятка
сцепления; 5 - рукоятка включения лебедки; 6, 9 - рычаги тормозов подъема и
спуска; 7, 8 - тормоза подъема и спуска; 10 - рычаг коробки передач;
11-лебедка; 12 - рукоятка раздаточной коробки; 13 - трансмиссия; 14 - указатель
давления; 15 - вращатель; 16-гидросистема станка с автоперехватом; 17 -
дроссель; I8-прибор
управления; 19 - регулятор подачи; 20 - распределитель; 21 - цилиндр
перемещения станка
Гидравлическая система обеспечивает привод
механизма подачи гидравлических патронов, перемещения и фиксации станка на
раме. Система работает от сдвоенного лопастного маслонасоса 3Г12-22А с подачей
12 и 18 л/мин. При выходе из строя приводных двигателей для поднятия снаряда
над забоем используется ручной маслонасос [6].
Таблица
3
Техническая характеристика станка СКБ-4
|
Техническая
характеристика
|
СКБ
- 4
|
|
Глубина
бурения в м при конечном диаметре скважины, мм: 93 59
|
300
500
|
|
Начальный
диаметр скважины, мм
|
132
|
|
Угол
бурения, град
|
0-360
|
|
Вращатель:
тип частота вращения, об/мин
|
шпиндельный
155;280;390;435;640;710; 1100;1600
|
|
Диаметр
проходного отверстия шпинделя, мм
|
54
|
|
Диаметр
бурильных труб, мм
|
42;54
|
|
Подача
инструмента
|
поршневая,
гидравлическая
|
|
Длина
хода подачи, мм
|
400
|
|
Максимальная
скорость подачи, м/мин вниз вверх
|
|
Тип
лебедки
|
планетарная
|
|
Грузоподъемность
лебедки на прямом канате, кН
|
26
|
|
Скорость
навивки каната на барабан лебедки по второму слою, м/с
|
0.45 - 1.8
|
|
Диаметр
каната, мм
|
20,5
|
|
Привод
станка: тип мощность, кВт
|
АД
22
|
|
Габариты
станка, мм
|
1800Х1200Х1800
|
|
Масса,
кг:
|
975
|
6.2 Буровой насос
Большинство способов бурения требует промывки
скважин в процессе ее углубки. Основным назначением промывки является удаление
с забоя и из ствола скважины продуктов разрушения горных пород и бурового
инструмента, охлаждение ПРИ, поддержания устойчивого состояния стенок скважины.
Подача промывочной жидкости в скважину в процессе ее промывки осуществляется
при помощи насосов, которые входят в состав установки.
Буровой насос должен обеспечивать возможность
простого и быстрого регулирования в широком диапазоне подачи и напора в
зависимости от параметров технологического режима бурения. При этом одним из
основных требований процесса бурения является обеспечение независимости подачи
(расхода) от давления, т.е. насос имеет жесткую напорно - расходную
характеристику “Q-H”
[6].
Таблица
4
Техническая характеристика насосной установки
НБ4-160/63
|
Производительность,
л/мин8;10;20;25;40;50;65;95;162
|
|
|
Давление,
МПа
|
6,3
- 4,5
|
|
Высота
всасывания жидкости, м
|
до
5
|
|
Число
плунжеров
|
3
|
|
Частота
вращения коленчатого вала, об/мин
|
31;38;80;146;249
|
|
Диаметр
плунжеров, мм
|
45;70
|
|
Длина
хода плунжера, мм
|
63
|
|
Двигатель
привода насоса: тип мощность, кВт
|
А02-51-5
11
|
|
Масса
с двигателем, кг
|
520
|
|
Максимальная
глубина скважины, м
|
1000
|
6.3
Буровая мачта
Схема мачты БМТ-4 представляет собой
одностержневую конструкцию I,
шарнирно опирающуюся на А-образный портал 4. Для придания стволу мачты
необходимой устойчивости в продольной плоскости он раскреплен подкосами 2. С
целью обеспечения центрального нагружения ствола мачты от нагрузки на крюке
мачта снабжена кронблоком качающегося типа с системой оттяжных уравновешивающих
канатов 5. Свободное движение элеватора вдоль оси мачты достигается за счет
предварительного наклона ее к устью скважины. Мачту устанавливают на заданный
угол наклона в продольной плоскости ее несущих опор, что обеспечивает
повышенную устойчивость и большие предельные углы наклона скважин от 93-'75° до
90-60° к горизонту. Установку мачты на заданный угол бурения производят одной
регулировочной опорой, а укладывают в транспортное
положение поворотом ее в одной плоскости [6].
Таблица
5
Техническая характеристика буровой мачты БМТ-7
|
грузоподъемность,
тс: номинальная максимальная
|
3,2
8,0
|
|
высота,
м
|
13,7
|
|
угол
наклона, град
|
90-60
|
|
талевая
оснастка
|
ТС
0Х1
|
|
длина
свечи, м
|
9,5
|
|
масса,
т: мачта с основанием буровое здание
|
5,8
4,0
|
Рис. 2. Схема мачты с поперечным расположением
станка: 1 - стержень; 2 - подкос; 4 - А-образный портал; 5 - система оттяжных
уравновешивающих канатов
6.4 Буровое здание
Буровое здание ПБЗ-4 представляет собой объемную
металлоконструкцию, обшитую алюминиевыми панелями с теплоизоляционной
прослойкой. Здание имеет специальный выдвижной тамбур для увеличения рабочей
площадки при ведении буровых работ. В транспортном положении выдвижной тамбур
убирается во внутрь здания, чем обеспечивается уменьшение транспортного
габарита. Отопление здания электрическое, рассчитанное на поддержание в здании
температуры не ниже 15
С в холодное время
года.
Конструкция установки предусматривает
возможность ее транспортирования на большие расстояния с помощью подкатной базы
ТБ-15
Для соединения установки с транспортной базой ее
поднимают с помощью гидравлических домкратов и крепят специальными
устройствами. На близкие расстояния установка может передвигаться волоком на
полозьях основания буровой мачты [6].
6.5 Выбор бурильных труб
Колонна бурильных труб служит для соединения
породоразрушающего инструмента, работающего на забое, с буровой установкой,
смонтированной на поверхности.
При колонковом бурении через бурильную колонну
на породоразрушающий инструмент, непосредственно воздействующий на породу
забоя, передаются осевое усилие, необходимое для внедрения разрушающих
элементов в породу, и крутящий момент для преодоления сил сопротивления со
стороны забоя. Кроме того, колонна бурильных труб является каналом для
подведения к породоразрушающему инструменту очистного агента, с помощью
которого осуществляется очистка забоя от продуктов разрушения и удаление их на
поверхность, а также для охлаждения ПРИ.
Для бурения данных скважин на всем интервале
будут использоваться трубы марки СБТН-54.
7. РАСЧЕТ ТАЛЕВОЙ СИСТЕМЫ
.1 Определение числа рабочих струн
Талевая система - это грузоподъемное устройство,
состоящее из крон-блока, талевого блока и каната, служащее для увеличения
грузоподъемности на крюке при производстве спуско-подъемных операций. Талевая
система преобразует вращательное движение барабана лебедки в поступательное
перемещение элеватора при подъеме и спуске бурильных или обсадных труб и даёт
выигрыш в силе за счет уменьшения скорости перемещения элеватора [6].
Исходными данными для определения конструкции
талевой системы являются максимальная нагрузка на крюке и грузоподъемность
лебедки станка. Число рабочих ветвей талевой системы определяется по формуле
[6,с.100]
, (10)
где Qкр∑
- нагрузка на крюке при подъеме колонны бурильных труб из скважины, кГс;
Qл -
грузоподъемность лебедки, кГс; η - ориентировочный
коэффициент полезного действия талевой системы.
Таблица
6
Ориентировочные значения коэффициента полезного
действия талевых систем
|
Qкр
/ Qл
|
1
|
1,01-2,0
|
2,01-3,0
|
3,01-4,0
|
4,01-5,0
|
5,01-6,0
|
|
η
|
0,966
|
0,950
|
0,934
|
0,918
|
0,903
|
0,880
|
Нагрузка на крюк определяется весом наиболее
тяжелой колонны бурильных или обсадных труб, весом подвижного (постоянного)
груза, в состав которого входят вес талевого блока, элеватора, крюка и т.д.
Кроме того, при определении Qкр∑
необходимо
учитывать динамические силы, возникающие, в начале подъема снаряда, а также
силы сопротивления движению колонны бурильных труб в скважине, обусловленные
трением между трубами и стенками скважины, кривизной её ствола и возможностью
прихвата бурового снаряда[6,с.100].
(11)
где q-
вес одного метра бурильной трубы, кГс;
L-длина колонны БТ,
м;
γж,
γм - удельный вес
жидкости и материала БТ;
θср
- средний зенитный угол, град;
ƒ - коэффициент трения;
G - вес подвижной
части талевой системы, кГс;
V-максимальная скорость
подъёма крюка или элеватора, м/с;
t- время разгона
крюка, с;
g- ускорение
свободного падения, м/с2.
Подставляем значения в формулу (14) :
Для определения ориентировочного значения
коэффициента полезного действия находим Qкр/Qл
=2412/5000=0.8. Его значение выбирается из табл.1. η=0,975
[6].
Подставляем значения Qкр∑
, Qл
, η в формулу (13), получаем:
Выбираем талевую систему с 1-ой рабочей струной
(0
1).
7.2 Определение усилий во всех
струнах талевой системы
Рис. 3. Расчётная схема для определения усилий в
ветвях талевой системы
В статическом состоянии все струны талевой
оснастки равномерно нагружены силой [6, с. 102]:
(12)
Рассчитываем нагрузку на крюке для статического
состояния[6,с.101]:
(13)
Подставляем значение Qкр
в формулу (15), получаем:
В динамическом состоянии рассчитывается по
формуле [6,с.101]:
, (14)
где β - коэффициент
сопротивления одного ролика учитывает силы трения в подшипниках роликов и
каната о ролики, для стального каната β=1,03-1,04.
Находим усилие в лебедочном конце каната по
формуле [6,с.100]:
(15)
Подставляем в формулу (17) Рл ,
получаем
7.3 Определение нагрузки на вышку в
статике и динамике
В статическом состоянии [6,с.101]:
(16)
В динамическом состоянии [6,с.101]:
, (17)
где Рл-усилие в лебёдочном конце
каната.
7.4 Определение грузоподъёмности
талевой системы
Грузоподъемность многоструйной талевой системы
определяется по формуле [6,с.102]:
, (18)
где N0
-
номинальная мощность двигателя, кВт;
V-скорость навивки
каната на барабан лебедки, м/с;
η- коэффициент
полезного действия передач от вала двигателя до барабана лебёдки,
η=0,80-0,85;
ηт -
к.п.д. талевой системы, определяется по формуле (22) [6,с.102]; m-
число рабочих струн;
(19)
Подставим значения в формулу (21), получим

, кГс
7.5 Определение диаметра каната и
выбор его конструкции
Расчет и выбор талевого каната производится по
статическому разрывному усилил каната Rk
, определяемому по формуле [6,с.103]:
, (20)
где k
- запас прочности талевого каната, соответствующий требованиям техники
безопасности. Для условий бурения геологоразведочных скважин на твердые
полезные ископаемые k=2,5; Qл.мах
-максимальное
усилие, развиваемое лебедкой на минимальной скорости навивки каната на барабан
с учетом возможной перегрузки приводного двигателя, кГс определяется по формуле
[6,с.103]:
, (21)
где λ- коэффициент
перегрузки двигателя: для асинхронных электродвигателей λ=
1,6-2,0; для ДВС λ = 1,1-1,15;
η - коэффициент
полезного действия передач от приводного двигателя до барабана лебедки, η
=0,80-0,85;
Vmin -
минимальная скорость навивки каната на барабан лебедки, м/с.
Для оснастки талевых систем выбирают канат
грузового назначения марки I
из светлой или оцинкованной проволоки с временным сопротивлением разрыву [σв]
= 160-180 кГс/мм2.
.6 Определению числа свечей,
поднимаемых на каждой скорости
Для определения количества свечей, поднимаемых
на каждой скорости лебедки станками с коробкой перемены передач, необходимо
знать:
скорость подъема крюка для каждой скорости
навивки каната на барабан лебедки;
грузоподъемность лебедки для каждой скорости
подъема крюка;
условный вес одной свечи бурильной трубы.
Скорость подъема элеватора на i-й
скорости навивки каната на барабан лебедки определяется по формуле [6,с.99]:
, (22)
где Vкр.i-
скорость подъема крюка, м/с; Vi
- скорость навивки каната на барабан лебедки, м/с; m
- число рабочих струн талевой системы.
Грузоподъемность талевой
системы на i-й скорости при
работе на многострунной талевой системы определяется по формуле [6,с.96]:
(23)
Условный вес одной свечи южно определить из
выражения [6,с.100]:
(24)
где Qкр
- нагрузка на крюк при подъеме колонны бурильных труб из скважины, кГс;
lсв-
длина свечи, м;
L - длина колонны бурильных
труб, м.
Подъём буровой колонны надо начинать с первой
скорости. Так как первая скорость обеспечивает нужную грузоподъёмность. А
заканчивать на второй, так как на третей скорости скорость подъёма крюка
>2
м/с;
Определяем количество свечей, поднимаемых на
первой и последующих скоростях лебёдки по формулам[6,с.100]:
(25)
(26)
Результаты расчёта сведены в табл.7
Таблица
7
|
N
|
Vкр.i
|
Qкр
|
Zi
|
|
1
|
0.9
|
2036.6
|
21
|
|
2
|
1.75
|
1047.4
|
17
|
|
3
|
2.75
|
|
|
|
4
|
4
|
|
|
Проверка:
(27)
Результаты проверки показывают, что расчеты
проведены верно. Следовательно, можно производить процесс бурения без нарушения
техники безопасности.
8. УТОЧНЕНИЕ РЕЖИМОВ БУРЕНИЯ
Уточнение режимов бурения ведется, исходя из
параметров выбранной установки и используемого оборудования. Так как бурение
будет вестись станком СКБ-4 с использованием бурового насоса НБ4-160/63 и мачты
БМТ-4 выбираем оптимальные режимы бурения и заносим их в табл.8
Таблица
8
|
Интервалы
бурения, м
|
ПРИ
|
РЕЖИМЫ
БУРЕНИЯ
|
|
|
Осевая
нагрузка, кГс
|
Частота
вращения, об/мин
|
Интенсивность
промывки, л/мин
|
|
от
|
до
|
всего
|
тип
|
Диа-метр
|
Расчет-ная
|
Уточнен-ная
(по паспорту станка)
|
расчетная
|
Уточнен-ная
(по паспорту станка)
|
расчетная
|
уточненная
(по паспорту насоса)
|
|
0
|
4
|
4
|
B112МГ
|
112
|
2240
|
500
|
171.4
|
155
|
177.2
|
162
|
|
4
|
40
|
36
|
II-93М-ЦВ
|
93
|
1860
|
1500
|
206.9
|
155
|
122.2
|
162
|
|
40
|
125
|
85
|
М2
|
93
|
600
|
600
|
379.6
|
390
|
67.5
|
65
|
|
125
|
265
|
140
|
СМ4
|
59
|
330
|
500
|
487.5
|
435
|
76.7
|
65
|
|
265
|
295
|
30
|
СА4
|
59
|
440
|
500
|
305.7
|
280
|
70.8
|
65
|
|
295
|
360
|
65
|
02И4
|
59
|
1020
|
1000
|
570.4
|
640
|
59
|
50
|
9. ПРОМЫВОЧНАЯ ЖИДКОСТЬ И ЕЕ
ДОСТАВКА НА БУРОВЫЕ
.1 Водоснабжение
Буровая установка обеспечивается водой из реки,
расположенной в 0.5 км по магистральной линии, собранной из старых бурильных
труб либо с использованием пластиковых труб.
Блок водонасосной состоит из основания с
каркасом укрытия. На основании монтируется плунжерный насос с приводом от
электродвигателя. На напорной линии устанавливается запорный вентиль, на
всасывающей линии - фильтр с обратными клапанами, а также патрубок с вентилем и
воронкой для заполнения жидкостью полости насоса и всасывающего трубопровода
перед пуском насоса. При низких температурах в блоке устанавливаем
подогреватели.
.2 Промывочная жидкость
При бурении скважин для обеспечения циркуляции очистного
агента будет использоваться прямая схема промывки.
В качестве очистного агента будет использоваться
глинистый раствор. При этом, исходя из предполагаемых осложнений, плотность
раствора в процессе бурения будет корректироваться.
Следует отметить, что для обеспечения
безаварийности проводки скважины, по каждому характерному интервалу осложнений,
помимо необходимой плотности, раствор должен обладать параметрами
соответствующих данным условиям бурения.
Как отмечалось выше, при бурении скважины в
качестве очистного агента будет использоваться глинистый раствор и техническая
вода.
При этом для достижении безаварийности при
проводки скважины раствор должен обладать параметрами соответствующих
конкретным условиям бурения.
Разработка рецептур бурового раствора как раз и
заключается в выборе необходимых по типу химических реагентов, использование
которых позволит достигнуть и поддерживать на нужном уровне значение основных
параметров промывочной жидкости.
К числу основных параметров промывочной жидкости
относятся плотность ρ, вязкость Т,
водоотдача В, толщина глинистой корки К, статическое напряжение сдвига СНС,
содержание песка П.
Увеличение плотности раствора приводит к
снижению механической скорости, увеличению гидростатических сопротивлений. Но с
увеличением гидростатического давления столба жидкости снижает вероятность
водопроявлений и обрушения стенок скважины в неустойчивых породах. Поэтому при
бурении по неустойчивым породам и в интервалах проявления пластового флюида
плотность раствора должна быть увеличена. При бурении по интервалам поглощения
плотность должна быть снижена.
С ростом вязкости увеличиваются гидравлические
сопротивления в циркуляционной системе, ухудшаются условия очистки бурового
раствора от шлама, падает механическая скорость бурения. Поэтому вязкость по
возможности должна быть минимальной. Лишь по породам, склонным к поглощению, ее
необходимо увеличивать.
Статическое напряжение сдвига определяет
способность промывочной жидкости удерживать во взвешенном состоянии частицы
разрушенной горной породы, а также способность проникать в трещины и поры и
удерживаться там под действием нагрузок. При интенсивном разрушении горных
пород, а также при бурении по интервалам поглощений и проявлений, статическое
напряжение сдвига следует повышать.
Водоотдача характеризует способность раствора
отфильтровывать жидкую фазу в породы под действием давлений. При этом процесс
водоотдачи сопровождается образованием на стенках скважины фильтрационной
корки.
Для снижения поглощений промывочной жидкости, а
также кальмотации продуктивных пластов водоотдача соответственно при бурении по
интервалам поглощения и продуктивным коллекторам должна быть уменьшена. Это
достигается за счет образования на стенках скважины непроницаемой глинистой
корки. В нормальных условиях толщина глинистой корки не должна превышать 2 мм.
При бурении по интервалам с возможным появлением прихватов бурового снаряда
глинистая корка должна быть по возможности минимальной.
Чрезмерное содержание песка и частиц выбуренной
породы в растворе приводит к абразивному износу бурового оборудования и
бурового снаряда. Поэтому содержание песка не должно превышать 1-3%.
Контроль за параметрами, будет проводиться
измерением их значений соответствующими приборами, а именно - АБР-1, ВБР-5,
СНС-2, ВМ-6, ОМ-2.
Для снижения водоотдачи и проницаемости
глинистой корки в состав бурового раствора будет вводиться КМЦ-600.
Для снижения вязкости, повышение которой
возможно при проходке по глинистым породам, будет использоваться окзил.
Для уменьшения коэффициента трения бурового
снаряда о горные породы, а также для уменьшения вероятности прихвата будет
использоваться смазочная добавка СМАД-1.
Кроме того, для улучшения качества работы
вышеперечисленных элементов в состав раствора будет вводиться кальцинированная
сода.
После доведения скважины до проектной глубины
раствор следует обработать поверхностно-активным веществом ОП-7 и произвести
промывку без проходки в течение часа.
Снижение содержания песка и частиц шлама в
растворе будет производиться с помощью системы очистки, в состав которой входят
ило- пескоотделители, вибросита и емкости - отстойники циркуляционной системы.
Для приготовления промывочной жидкости
используется глиномешалка МГ2-4.
Рис. 4 Глиномешалка МГ2-4 1
10. ПРОИЗВОДСТВО РАБОТ ПРИ БУРЕНИИ
СКВАЖИН
10.1 Забуривание и оборудование
устья скважины
Перед началом забуривания в точке заложения
скважины выкапывают приямок глубиной 0.5 м для того, чтобы под шпиндель можно
было завести короткий забурочный снаряд, который соединён с бурильной трубой,
проходящей через шпиндель станка. При этом бурильная труба в зажимных патронах
должна закрепляться строго соосно, в ином случае произойдёт отклонение ствола
скважины от заданного направления. После установки забурочного снаряда
проверяют правильность положения шпинделя и начинают бурение при небольших
осевых нагрузках и минимальной частоте вращения, расход промывочной жидкости
устанавливается в зависимости от твёрдости пород. В мягких и рыхлых породах
забуривать скважину можно без промывочной жидкости. Если скважину забуривают
алмазной коронкой, то перед этим нужно подготовить кольцевой забой
твёрдосплавной коронкой с последующим очищением забоя скважины от металлических
частиц. По мере углубки скважины длину колонковой трубы увеличивают .
После забуривания скважины
устанавливается направляющая труба. Она служит для предохранения устья скважины
от размывания и обрушения пород, а также для направления промывочной жидкости в
желоб циркуляционной системы. Кроме того, направляющая труба способствует
сохранению заданного направления оси скважины. Обычно направляющую трубу
устанавливают на глубину 3 - 6 м. Башмак ее должен быть зацементирован, а в
устье труба прочно закрепляется (забутовывается) и цементируется или
тампонируется глиной [10].
10.2 Закрепление стенок скважины
Закрепление стенок скважины или
изоляцию отдельных горизонтов при колонковом бурении скважин обычно
осуществляют с помощью обсадных труб. Как правило, при этом трубы в скважину
спускают свободно.
В некоторых случаях приходится
спускать трубы одновременно с бурением с применением расширителей. При этом
ведут углубку скважины на длину одной трубы, затем расширяют ствол и продвигают
колонну на длину этой трубы, затем снова проходят короткий интервал. Для
уменьшения сопротивлений, возникающих при посадке, трубы по наружной
поверхности смазывают отработанным смазочным материалом.
Перед спуском обсадных труб необходимо: точно
измерить глубину перекрываемого интервала скважины; подобрать требуемое число
обсадных труб, тщательно замерив их длину (с ниппелями) и записав замеры в той
последовательности, в которой трубы будут спускаться в скважину; произвести
тщательную очистку скважины от шлама интенсивной промывкой с применением
специального снаряда со шламовой трубой; проверить внутренний диаметр каждой
трубы, пропуская через нее буровую коронку с короткой колонковой трубой;
тщательно проверить и очистить резьбы на трубах, свинчивая их на поверхности в
том порядке, в котором они будут спускаться в скважину. Башмак спущенной
колонны должен быть обязательно затампонирован цементом [10].
.3 Спуско-подъемные операции
Состав работ при СПО: сборка
бурового снаряда и спуск его в устье скважины; присоединение бурильных труб и
спуск колонны с буровым снарядом до забоя. После выполнения всех операций,
связанных с бурением (углубкой) скважины, осуществляют подъем. При этом колонну
бурильных труб разбирают на свечи. Свечи, составленные из двух-трех или более
труб, либо выносят за пределы бурового здания и укладывают на козлы (стеллажи),
либо устанавливают в буровой вышке-в штангоприемнике (кармане) на подсвечник.
Выполняются эти операции с
помощью лебедки станка, управляемой бурильщиком, и комплекта приспособлений для
СПО, состоящего из элеватора, подкладной вилки, трубных ключей и
штангоразворота, которым управляет помощник бурильщика [10].
10.4 Предупреждение и ликвидация
аварий
Следует помнить, что аварию легче предупредить,
чем ликвидировать: исходя из этого рекомендуется к применению следующий
перечень мероприятий, способствующих их предупреждению.
Для предупреждения аварий с обрывами бурильных
труб необходимо: применять бурильные трубы, соответствующие по своей прочности
выбранному режиму бурения; проводить систематическое шаблонирование бурильных
труб и осмотр их соединений; обеспечивать условия складирования и
транспортировки бурильных труб, не допускающие их порчу и т.д.
Для предупреждения аварии в результате прихватов
бурильных колонн необходимо:
не допускать накопления и оседания шлама в
скважине, для чего применять промывочные жидкости, соответствующие условиям
бурения, в количестве, достаточном для выноса шлама;
устраивать циркуляционную систему,
обеспечивающую очистку раствора;
проводить спуск инструмента в нижней части
ствола скважины с промывкой и вращением: проводить специальную очистку скважины
от шлама (при необходимости - в каждом рейсе);
систематически осматривать бурильную колонну с
целью выявления мест утечки промывочной жидкости: своевременно перекрывать
обсадными трубами зоны неустойчивых пород и поглощений;
подбирать промывочные жидкости, способствующие
укреплению стенок скважины, и тампонажные смеси для ликвидации поглощений
промывочной жидкости;
прорабатывать ствол скважины в зоне затяжек;
спуск и подъем в этих интервалах проводить с вращением и интенсивной промывкой
растворами с пониженной водоотдачей;
не оставлять буровой снаряд па длительное время
на забое или в призабойной зоне при прекращении вращения и промывки.
Для предупреждения аварий с
обсадными трубами необходимо:
проверять перед спуском
обсадные трубы по диаметру, на целостность резьб и тела труб;
роверять исправность бурового
оборудования и спуско-подъемных приспособлений;
производить кавернометрию
скважины;
при возможности облегчать
глинистый раствор;
не допускать при спуске колонны
обсадных труб их вращения и забивания шламом; при длинных колоннах (особенно
тонкостенных) применять обратные клапаны;
производить перед спуском
колонн обсадных труб их наружную смазку (мазутом, нефтеграфитовой пастой и
т.п.) для облегчения извлечения,
Для предупреждения аварии с породоразрушающим
инструментом необходимо:
не допускать спуск в скважину коронок и долот,
имеющих дефекты резьб, трещины корпусов и матриц, люфт в опорах шарошек, с
забитыми промывочными отверстиями и другими дефектами;
наворачивать алмазные коронки и расширители специальными
ключами;
прекращать бурение и производить подъем
инструмента при резком падении механической скорости, возникновении вибрации и
посторонних процессов в скважине;
обеспечивать полную
герметичность всех соединений бурового снаряда во избежание утечек
промывочной жидкости; при замене породоразрушающего инструмента следить за
соответствием его диаметров.
Для предупреждения аварий при
работе в скважине необходимо:
ознакомить каротажную бригаду
перед производством работ с особенностями конструкции и состоянием скважины, с
возможными зонами осложнений;
роработать ствол скважины перед
спуском геофизических и других скважинных приборов и снарядов;
проверять соответствие кабеля
(троса) глубине производимых работ, его целостность, прочность крепления
скважинных приборов и устройств;
прекратить спуск скважинных
приборов при их затяжках, приборы поднять и повторить проработку скважины.
Для предупреждения аварий из-за
падения посторонних предметов в скважину необходимо: закрывать устье скважины
при поднятых бурильных трубах; следить за исправностью ключей, вилок, ручного
инструмента, спуско-подъемных приспособлений; систематически проверять
состояние деталей вращателя станка.
Обрыв бурильных труб и развёртывание
их при бурении; падение части колонны в скважину при спуско-подъёмных операциях
Во время каждого подъёма систематически
осматривают бурильную колонну и своевременно выбраковывать дефекты и износы;
учитывать продолжительность работы труб; применять бурильные трубы с диаметром
наиболее близким к диаметру скважин; правильно отрабатывать бурильные трубы,
чтобы износ был равномерным по всей длине колонны; следить за состоянием
резьбовых соединений, свинчивать до отказа; принадлежности для спуско-подъёмных
операций содержать в постоянной исправности.
Развинчивание и оставление в
скважине колонкового снаряда; прихваты и стяжки при извлечении из скважины
Не оставлять на забое без подачи промывочной
жидкости в скважину; при внезапном прекращении циркуляции промывочной жидкости
приподнимать снаряд над забоем на 1.5 - 3 м; содержать в чистоте забой
скважины; соответствие промывочной жидкости; в конце каждого рейса перед
подъёмом снаряда нужно периодически производить специальную очистку скважины
снарядом, состоящим из короткой колонковой трубы и длинной шламовой трубы.
Оставление в скважине
породоразрушающих инструментов, разрушение алмазосодержащей матрицы, прожог
коронки
Нужно очищать забой перед спуском снаряда;
соблюдать оптимальные осевые нагрузки на породоразрушающий инструмент;
тщательно осматривать коронку перед каждым её спуском в скважину; включать в
состав расширитель или соблюдать очерёдность работы коронками в соответствии с
их диаметрами; снижать вибрации снаряда; при бурении по сильнотрещиноватым
породам снижать осевую нагрузку и частоту вращения снаряда; контролировать
процесс промывки; с повышением давления промывочной жидкости снижать осевую
нагрузку; резьбовые соединения должны быть герметичны; при подклинивании керна
прекратить бурение и поднять снаряд на поверхность;
Попадание в скважину мелких инструментов
или посторонних предметов
Для ликвидации аварий используют разного рода
аварийные инструменты: ловильные метчики, ловильный колокол, ловители ЛОМ-50 и
ЛОГ-50, гладкие и граненые пики, труболовки, труборезы, труборезы-труболовы,
магнитные ловушки и т.д. и т.п. [8].
10.5 Ликвидация или
консервация скважин
После того, как скважина
достигает проектной глубины и в ней произведены все исследования, ее
ликвидируют. При этом делают контрольный замер глубины скважины, угла наклона и
азимута.
Ликвидация скважины заключается
в извлечении обсадных труб и установке специального знака (репера). Перед
извлечением обсадных труб выясняют, потребуется ли труборез, надо ли применять
домкрат, какие усилия можно приложить к трубам, чтобы их не разорвать; какую
оснастку талей необходимо применять с учетом массы колонны, ее прихвата, т. е.
сил сопротивления и грузоподъемности лебедки; придется ли применять левую
колонну бурильных труб и др.
После подъема труб на
поверхность скважину заполняют доверху густым глинистым раствором или
производят ликвидационное тампонирование глиной, цементом, обезвоженными солями
во избежание прорыва подземных вод в горные выработки или межпластового
перетока.
После выполнения этих работ в устье скважины
прочно вбивают деревянную пробку или старую обсадную трубу со смятым верхним
концом или с пробкой. На выступающем над поверхностью земли конце такого знака
выжигают или выбивают бородком: номер скважины, глубину, отметку устья
скважины. На ликвидацию скважины составляется акт установленной формы. После
ликвидации скважины разбирают вышку, демонтируют оборудование и все перевозят
на новую точку [10].
скважина уголь
буровой оборудование
11. ТЕХНОЛОГИЯ БЕСКЕРНОВОГО БУРЕНИЯ
Технология бескернового бурения
может быть реализована различными видами породоразрушающего инструмента:
шарошечными долотами, дисковыми долотами фрезерного типа, лопастными долотами
режущего действия и долотами специального назначения.
При бурении геологоразведочных
скважин наиболее широко используются шарошечные долота, которые различаются по
типам в зависимости от категории по буримости и физико-механических свойств
горных пород. При бурении долотами малого диаметра, особенно при чередовании их
с алмазными коронками, необходимо калибровать стенки скважины по диаметру. Это
достигается применением шарошечных расширителей, которые обеспечивают
сохранность диаметра ствола и проведение скважины с минимальным искривлением.
При бурении скважин шарошечными
долотами забой от разбуренного шлама очищается потоком промывочной жидкости,
сжатым воздухом и другими агентами. Очистные агенты подводятся к забою через
каналы в долоте, по которым они достигают поверхности забоя и вымывают частицы
разбуренной породы в затрубное пространство и на поверхность При этом
поверхность забоя, зубья шарошек и межтрубные канавки очищаются от налипшей
разбуренной породы. В зависимости от конструкции промывочных устройств потоки
очистного агента направляются в периферийные и центральный участки забоя,
рабочие конуса шарошек и в пространство между шарошками.
Расположение промывочных каналов зависит от
назначения и размеров долота. При недостаточной интенсивности очистки забоя
разбуренная порода дополнительно перемалывается зубьями шарошек, т. е.
размельчается уже разрушенная порода. При этом увеличивается энергия,
затрачиваемая на разрушение единицы объема породы, затупляются зубья шарошек,
снижаются механическая скорость проходки и ресурс долота. Наилучшие показатели
достигаются, когда выбуренная порода своевременно удаляется с забоя. При
переходе в процессе бурения с промывки промывочной жидкостью на промывку
утяжеленными глинистыми растворами механическая скорость бурения снижается в
1,5-2 раза; при использовании воздуха или газа для продувки забоя скважины
механическая скорость возрастает в кратное число раз по сравнению с промывкой
жидкостью.
Для обеспечения интенсивной
очистки забоя от разбуренной породы и разрушения поверхности забоя применяются
гидромониторные насадки различных типов.
Лопастные долота режущего типа,
предназначенные для бурения геологоразведочных скважин в мягких породах, в том
числе с прослойками пород средней твердости, разрушают забой в режиме резания с
очисткой забоя промывочным агентом или шнековым способом. Как правило, бурение
в мягких породах ведется с использованием легкого бурового оборудования,
поэтому применяются небольшие осевые нагрузки на долото и малые крутящие
моменты.
Наиболее эффективно лопастными
долотами типа М разбуриваются ленточные и пластичные глины средней плотности,
суглинки, супеси, рыхлые мергели, гипсы, тальковые разрушенные сланцы многих
разновидностей, глинистые бокситы и другие породы с аналогичными физико-механическими
свойствами. Лопасти долот глубоко внедряются в забой и создают срез породы
большой толщины. Поэтому за каждый оборот долота разрушается большой объем
породы. Для выноса этого объема необходимо увеличить циркуляцию потока
промывочной жидкости.
Удельная осевая нагрузка на
долото типа М составляет 150-500 даН на каждый сантиметр диаметра долота: она
увеличивается в зависимости от роста твердости буримых пород; при бурении
мягких вязких пород осевую нагрузку следует уменьшать, чтобы предотвратить заклинивание
долота на забое. Частота вращения лопастных долот типа М меняется в широких
пределах и практически составляет 50-400 мин-1 в зависимости от мощности
буровой установки.
Долота типа МС применяют при
бурении скважин в породах IV
категории по буримости с пропластками пород средней твердости V
и VI категорий.
Наиболее эффективно этими долотами разбуриваются плотные песчаники, плотные
глины с пропластками галечника и щебенки, алевролиты, сланцы, валунно-галечные
отложения. Эффективная работа достигается за счет увеличения осевой нагрузки,
частоты вращения бурового вала и интенсивности очистки забоя от шлама. Поэтому
при бурении скважины должен обеспечиваться оптимальный режим для каждого
размера долота. В зависимости от диаметра долота осевая нагрузка может
колебаться в пределах от 200 до 600 даН на каждый сантиметр диаметра долота с
изменением твердости проходимых пород и глубины скважины.
Частота вращения обычно
выбирается с учетом мощности бурового оборудования и прочности бурового вала,
чтобы обеспечивать интенсивное вращение долота при проходке самых вязких пород.
Обычно при бурении вязких глин и глинистых сланцев, когда необходим большой
крутящий момент, частота вращения снижается до минимума; при бурении сыпучих
пород типа галечников и щебенки частота вращения увеличивается. При бурении
песчаников частота вращения может быть максимальной, так как в этом случае
сопротивление породы вращению долота будет незначительным.
Особенно осторожно следует
вести бурение при проходке липких вязких пород, когда происходит налипание
породы на долото и начинают образовываться сальники. При этом необходимо
снизить до минимума осевую нагрузку и частоту вращения и увеличить циркуляцию
промывочной жидкости. Если при этом сальник породы не размывается, то следует
поднять бурильную колонну на высоту 5-6 м и провести расходку снаряда.
Рекомендуемые соотношения
параметров режима для различных типоразмеров долот бескернового бурения
приведены в табл. 9 и 10.
Таблица 9
Рекомендации по удельным
значениям параметров режима бурения
|
Тип
долота
|
Категории
пород по буримости
|
|
I - II
|
III
|
IV - V
|
VI - VII
|
VIII - IX (X - XI)
|
|
1.
Удельные нагрузки на 1 см диаметра долота, кН
|
|
2-лопастные
|
0,6
- 0,7
|
0,60
- 0,75
|
-
|
-
|
-
|
|
3-лопастные
|
0,7
- 0,8
|
0,80
- 0,90
|
0,75
- 0,95
|
-
|
-
|
|
Истирающие
и крупного скола
|
-
|
-
|
1,0 - 1,15
|
1,15 - 1,30
|
-
|
|
2-
и 3-шарошечные типа: М
|
2,0
|
2,0
|
-
|
-
|
-
|
|
C
|
-
|
-
|
2,0 - 2,1
|
2,1 - 2,3
|
-
|
|
CT
|
-
|
-
|
-
|
2,3 - 2,4
|
-
|
|
T
|
-
|
-
|
-
|
2,4 - 2,5
|
2,50 - 2,75
|
|
TK
|
-
|
-
|
-
|
-
|
2,75 - 3,00
|
|
K
|
-
|
-
|
-
|
-
|
3,0 - 3,5 (3,5 - 4,0)
|
|
2.
Окружные скорости вращения долота, мин-1
|
|
2-лопастные
|
0,8 - 1,2
|
1,0 - 2,0
|
-
|
-
|
-
|
|
3-лопастные
|
0,8 - 1,2
|
1,0 - 1,6
|
0,6 - 1,2
|
-
|
-
|
|
Истирающе-режущие
и крупного скола
|
-
|
0,8 - 1,4
|
0,6 - 1,2
|
0,5 - 1,0
|
-
|
|
Трехшарошечные
типа: М
|
0,8 - 1,2
|
1,2 - 1,4
|
1,0 - 1,4
|
0,8 - 1,2
|
-
|
|
С
и СТ
|
-
|
-
|
1,0 - 1,4
|
0,8 - 1,2
|
-
|
|
Т
и ТК
|
-
|
-
|
-
|
-
|
0,6 - 1,0
|
|
К
|
-
|
-
|
-
|
-
|
0,6 - 0,8 (0,6 - 0,8)
|
|
|
|
|
|
|
|
Таблица
10
Рекомендуемые значения расхода промывочной
жидкости, л/мин
Примечания. 1. Скорость потока
в затрубном пространстве для пород I-VII
категории должна составлять 0,6 м/с (глинистый раствор); для пород VIII-XII
категории - 0,4 м/с (техническая вода):
. Тип соединения бурильных
труб: ниппельные или замковые 3-42 для долот диаметром 59 мм; замковые для
остальных диаметров.
Общие закономерности
зависимости результатов бурения от параметров режима выглядят следующим
образом. С ростом осевой нагрузки до определенного значения увеличиваются
проходка на долото и механическая скорость. Частота вращения долота влияет в
основном на механическую скорость и почти не влияет на ресурс всех типов долот,
если нагрузка на них поддерживается в требуемых пределах.
При бурении мягких и средней
твердости пород механическая скорость пропорциональна расходу жидкости,
подаваемой на забой скважины в пределах 100-300 л/мин. Это связано с тем, что
размеры частиц шлама достигают 8-10 мм (породы VI
категории по буримости), а объем выбуренной породы по сравнению с колонковым
способом (при одинаковых диаметрах бурения) увеличивается. Так, при бурении
долотом диаметром 92 мм в породах V
категории объем выбуренной породы возрастает в 5 раз, а в породах VII
категории - в 3,7 раза.
Вынос крупного шлама
эффективнее обеспечивается при промывке скважины глинистым раствором.
Рекомендуемые режимы бурения
шарошечными долотами геолого-разведочных скважин приведены в табл. 11.
Минимальные осевые нагрузки и максимальные частоты вращения, указанные в
таблице, следует применять при бурении менее твердых пород, максимальные
нагрузки и минимальные частоты вращения - для более твердых пород. При бурении
сильнотрещиноватых пород рекомендуется применять минимальную частоту вращения
снаряда и снижать осевую нагрузку на долото на 30-40% по сравнению с бурением
аналогичных монолитных пород.
В абразивных породах следует
применять более низкие частоты вращения, чем в малоабразивных, при бурении
абразивных пород окружная скорость не должна превышать 1 м/с; в малоабразивных
принимается в пределах 1-2 м/с.
Для эффективной очистки
скважины скорость восходящего потока промывочной жидкости должна быть в твердых
породах не менее 0,4 и в мягких - 0,8 м/с. Уменьшение расхода жидкости приводит
к повышенному износу долот и снижению скорости бурения.
Для создания оптимальных
нагрузок при шарошечном бурении рекомендуется применять бурильные трубы
максимально возможного диаметра.
При увеличении кривизны скважины более 5° на 100
м необходимо уменьшать осевую нагрузку на 30-50% от нормальной до прекращения
искривления.
Забуривание скважины долотами
проводится при осевой нагрузке 10-20% от рекомендуемой, а разбуривание ствола -
при нагрузке не более чем 30% от рекомендуемой и при частоте не выше 150 мин
Каждое новое долото должно быть
приработано на забое в течение 10- 15 мин при минимальной частоте вращения и
осевой нагрузке, составляющей 10-20% от оптимальной; долото при этом должно
углубиться не менее, чем на 0,5 его диаметра. После приработки осевая нагрузка
быстро, но плавно доводится до оптимальной при обязательном вращении долота
[8].
Критерии отработки
долот. Основные признаки, указывающие на необходимость
подъема долота.
) резкое снижение механической
скорости бурения или полное прекращение углубки; причина: заклинивание опор
шарошек или полный износ долота;
) устойчивое снижение скорости
бурения по однородным породам; причина: износ вооружения шарошек.
Таблица
11
Рекомендуемые режимы бурения шарошечными
долотами геологоразведочных скважин (по В.С. Травкину и др.)
Критерии снятия шарошечных
долот с эксплуатации: 1) износ твердосплавных зубков более чем на 80%; 2) износ
зубьев шарошек на 2/3 их высоты; 3) скол и выпадение более 10-20%
твердосплавных зубков; 4) люфт шарошек достигает для долот: 59 и 76 мм - более
4 мм, 0 93 мм - более 5 мм, 0 112 и 132 мм - более 6 мм, 0 151 мм - более 7 мм;
5) полный износ вершин шарошек; 6) износ долота по диаметру более 3 мм.
Критериями снятия с
эксплуатации дисковых и лопастных долот являются предельные значения износа,
влияющие на снижение механической скорости бурения (табл. 12).
При бурении шарошечными
долотами может наблюдаться повышенное искривление скважин, возрастающее с
ростом осевой нагрузки и диаметра долота. Основным средством уменьшения
искривления является применение жестких буровых компоновок, включающих: 1)
утяжеленные бурильные трубы весом на 20-30% больше осевой нагрузки; 2)
центрирующие фонари диаметром, равным диаметру колонковой трубы для конкретного
типоразмера породоразрушающего инструмента; 3) трубы из ниппельной заготовки и
направляющие фонари (для долот диаметром 59 и 76 мм); 4) направляющий снаряд из
труб прежнего и последующего диаметра (при переходе на меньший диаметр
бурения).
Наиболее характерным видом
аварий, связанных с применением шарошечных долот, является оставление на забое
скважины частей и осколков поломанных шарошек. Извлечение крупных частиц
проводится накрытием их и забуриванием в забой на 30-50 см колонковым снарядом
с твердосплавной коронкой; расколотые шарошки, шарики подшипников,
твердосплавные зубки и штыри поднимаются в этом случае вместе с керном. Мелкие
металлические частицы извлекают с помощью магнитной ловушки типа Л СМ (ВИТР)
[8].
Таблица 12
Значения износа дисковых и
лопастных долот, вызывающие снижение механической скорости
11.1
Породоразрушающий инструмент для бескернового бурения
Породоразрушающий инструмент
для бескернового бурения геологоразведочных скважин по характеру воздействия на
породу разделяется на:
долота ударно-дробящего действия;
долота дробяще-скалывающего
действия;
долота режуще-истирающего
действия.
К первой группе относятся двух-
и трехшарошечные долота; разрушение породы такими долотами происходит за счет
перекатывания зубьев шарошек по забою с нанесением ударов.
Ко второй группе относятся
дисковые долота; они разрушают породу дроблением и скалыванием за счет ударного
и скалывающего воздействия зубьев на забой.
К третьей группе относятся
лопастные долота, алмазные, и инструмент, армированный синтетическими и
сверхтвердыми материалами; они используются для бурения пластичных горных
пород: разрушение породы происходит за счет срезания тонкого слоя при внедрении
в нее резцов.
Специальные долота используются
при гидроударном бурении, шнековом бурении, с продувкой забоя воздухом, при
бурении шпуров, при направленном бурении и т.д. Эти долота имеют свои
конструктивные особенности, вызванные спецификой разрушения забоя [8].
11.1.1 Шарошечные
долота
Шарошечные долота представляют
собой наиболее универсальный породоразрушающий инструмент, поскольку область их
применения охватывает практически все многообразие горных пород: от очень
мягких до весьма твердых.
Разработанный в последние годы
ассортимент шарошечных долот по своим типоразмерам способен удовлетворить самые
широкие запросы потребителей. В частности, впервые в мировой практике
разработаны шарошечные микродолота диаметром 46 и 59 мм. Для повышения ресурса
долот в их конструкции используются опоры скольжения и вооружение шарошек
твердосплавными зубками. Для наиболее тяжелых условий эксплуатации разработаны
долота с элементами герметизации опор.
По конструктивному исполнению
корпуса шарошечные долота разделяются на: корпусные, применяемые для бурения
скважин большого диаметра; секционные (бескорпусные), состоящие из двух (трех) сваренных
между собой секций со стандартной присоединительной резьбой.
Основные конструктивные
особенности долот: конструкция шарошек; схема опор; система промывочных
устройств; наплавка зубьев твердым сплавом; оснащение шарошек твердосплавными
зубьями.
Основные конструктивные
параметры долот: расположение на оси шарошек по отношению к оси долота и вершин
шарошек относительно оси долота; величина угла наклона осей шарошек к оси
долота; число конусов на шарошках; расположение венцов зубьев; геометрические параметры
зубьев.
Долота типа К характеризуются
ударным действием вооружения на разрушаемый забой и предназначены для бурения
твердых и весьма твердых пород.
Шарошки долот имеют чистое
качение по забою без проскальзывания, а вооружение состоит из цилиндрических
твердосплавных зубков со сферической головкой. Калибрующее вооружение каждой
шарошки работает в режиме резания.
Долота типа ТК и Т характеризуются
ударно-скалывающим действием вооружения на разрушаемый забой. Шарошки этих
долот имеют кинематические схемы, обеспечивающие чистое качение с небольшим
проскальзыванием основного конуса по поверхности забоя. Поэтому твердосплавные
и фрезерованные зубья наносят по забою удары с некоторым сдвигом по ходу
вращения шарошек. Шарошечные долота типа Т и ТК образуют забой выпуклой формы.
Долота типа ТК и Т
предназначены для бурения твердых пород и твердых с пропластками очень твердых.
Долота типа СТ и С
характеризуются скалывающим действием вооружения на разрушаемые породы. Их
шарошки имеют многоконусную форму самоочищающегося типа и работают по
кинематической схеме, обеспечивающей качение со значительным проскальзыванием
основных конусов шарошки вдоль поверхности забоя. Оси шарошек смещены
относительно оси долота на 2-3 мм в зависимости от размеров долота, поэтому вооружение
шарошек, состоящее из твердосплавных зубков и фрезерованных зубьев, наносит по
забою наклонный удар со значительным сдвигом по ходу их вращения. Шарошечные
долота типа СТ и С образуют забой выпуклой формы. Эти долота предназначены для
бурения пород средней твердости с пропластками твердых пород.
Долоma
пита М характеризуются режуще-скалывающим действием вооружения на разрушаемые
породы. Их шарошки имеют многоконусную форму самоочищающегося типа; они
работают по кинематической схеме, обеспечивающей большое скольжение основных
конусов шарошки вдоль поверхности забоя. Вооружение шарошек состоит из острых
фрезерованных зубьев, имеющих одностороннюю наплавку мелкозернистым твердым
сплавом. Зубья шарошек вдавливаются в поверхность забоя и скалывают большой кусок
породы с поворотом рабочей площадки зуба. Шарошечные долота типа М образуют
выпуклый забой. Долота предназначены для бурения скважин в мягких породах с
пропластками пород средней твердости.
Двухшарошечные долота (рис. 4) - наиболее
распространенный породоразрушающий инструмент при бурении геологоразведочных
скважин на глубину до 2000 м. В определенных гсолого-технических условиях эти
долота обеспечивают превосходство над трехшарошечными на 10-15% по проходке и
на 15-20% по механической скорости, т е. в условиях, когда невозможно создать
необходимые осевые нагрузки для нормальной работы трехшарошечных долот. Каждая
отдельная секция двухшарошечного долота имеет большие диаметры шарошек по
сравнению с трехшарошечным, что позволяет иметь на шарошке увеличенное число
зубчатого или твердосплавного вооружения при увеличенном шаге между зубками.
Зубки, расположенные на шарошке с увеличенным шагом, наносят по забою более
интенсивные удары со сколом более крупных частиц разбуриваемой породы.
Рис. 5. Двухшарошечные долота:
а - типа К: 1 - твердосплавные зубки; 2-
подшипник скольжения с центральным замковым устройством; 3 - шарошки; б - типа
Т(ТК): 1 - шарошки чистого качения самоочищающегося типа; 2 - стальные
фрезерованные зубки пирамидальной формы с наплавкой релита; 3- зубья
пикообразной схемы; 4 - составные стальные вкладыши; 5 - фиксирующаяся
разжимная шайба; 6- твердосплавные цилиндрические зубки; в - типа С(СТ): 1 -
шарошки; 2 - стальные фрезерованные зубки пирамидальной формы; 3 -
односторонняя наплавка мелкозернистым твердым сплавом релита; 4 - венцы с
самоочищающейся схемой расположения; 5 - основной рабочий конус шарошек; 6 -
усиленная калибрующая поверхность затылочного конуса; г - типа М: 1 - шарошки;
2 - стальные фрезерованные зубья; 3- односторонняя наплавка мелкозернистым
релитом; 4 - зубья; 5 - направленный слой крупнозернистого сплава на затылочном
конусе шарошек
Преимуществом двухшарошечных
долот над трехшарошечными является упрощение технологии их изготовления.
Двухшарошечные долота имеют меньшую стоимость. К недостаткам двухшарошечных
долот относится недостаточно мощное калибрующее вооружение - насыщенность
зубьями снижена на 30% по сравнению с трехшарошечными долотами. Это приводит к
преждевременному износу долота по диаметру, а также является причиной вибрации
при бурении, приводящей к более интенсивному искривлению скважины, чем при
бурении трехшарошечньши долотами.
Трехшарошечные долота (рис. 5) позволяют
наиболее полно использовать габариты скважины для размещения шарошек,
вооруженных наибольшим числом рабочих и калибрующих зубьев, а также позволяют
разместить во внутренней полости шарошек наиболее мощные опорные подшипники и
обеспечить надежную устойчивость долота на забое при оптимальной осевой
нагрузке [8].
Рис. 6. Трехшарошечное долото
типа К:
- шарошки; 2 - твердосплавные зубки со
сферической рабочей головкой; 3 - основной конус шарошек; 4 - калибрующее
вооружение шарошек - цилиндрические твердосплавные зубки с плоской рабочей
поверхностью, размещенные на затылочном конусе шарошек; 5 - промывочная система
11.1.2 Лопастные и
дисковые долота
Лопастные долота, армированные
режущими элементами из вольфрамо-кобальтовых твердых сплавов различных марок и
форм, разработаны СКБ «Геотехника» и освоены в производстве. Такие долота
являются высокопроизводительным породоразрушающим инструментом для бескернового
бурения в мягких, малоабразивных я вязких породах, а также многолетнемерзлых
породах с содержанием твердых включений. Они применяются при бурении
геологоразведочных, гидрогеологических, инженерно-геологических,
сейсморазведочных и технических скважин. Эффективность лопастных долот
обусловлена простотой конструкции, относительно невысокой стоимостью, высокими
производительностью и ресурсом, все это обеспечивает проведение скважин при
минимальных энергозатратах и стоимости бурения.
По назначению долота
подразделяются на два типа: М - для бурения мягких (в том числе мерзлых) и
вязких пород 1-IV
категорий по буримости: МС-те же комплексы горных пород, но с содержанием
твердых включений.
Долота пиши М диаметром 76-151 мм имеют
пикообразную форму и армированы удлиненными твердосплавными пластинами размером
3 х5 мм, установленными в открытых пазах. Усиленное вооружение режущих граней
позволяет получить высокие механические скорости бурения при небольших осевых
нагрузках. Наличие опережающих лезвий на периферийной части долота предохраняет
лопасти от быстрого износа и значительно повышает ресурс инструмента.
Калибрующая масть лопастей армирована твердосплавными цилиндрическими зубками
(восьмигранниками), предохраняющими долото от износа по диаметру. Для
предупреждения размыва стенок скважины промывочные каналы (диаметром 10-25 мм)
направлены перпендикулярно к плоскости забоя.
Долота типа МС диаметром 76-151 мм имеют лопасти
также пикообразной формы, но армируются твердосплавными цилиндрическими зубками
(или восьмигранниками) диаметром 5 мм. Для предотвращения скалывания при
встрече в горных породах твердых включений зубки установлены в теле лопастей.
Вследствие малой площади режущих лезвий эти долота можно применять при бурении
на малых осевых нагрузках. Усиленное вооружение калибрующей и периферийной
частей лопастей предохраняет долота от износа по диаметру и обеспечивает им
высокий ресурс.
Лопастные долота для шнекового бурения диаметром
151-320 мм имеют три лопасти ступенчатой формы, армированные (в зависимости от
области применения) релитом, наплавленным на рабочие поверхности,
твердосплавными пластинами удлиненной формы с малым поперечным сечением,
установленными в открытых пазах, или цилиндрическими (восьмигранными) зубками,
расположенными в теле лопастей во избежание скалывания при встрече твердых
включений в горных породах. Ступенчатое расчленение забоя на отдельные зоны
разрушения и центральная рассечка обеспечивают повышение скорости бурения и
ресурса долот. Калибрующие участки лопастей армированы износостойкими
материалами, предохраняющими долото от износа по наружному диаметру.
В случае необходимости долота
могут изготавливаться в двухлопастном исполнении. Такие долота (рис. 6) состоят
из корпуса с присоединительным шестигранником, с помощью которого монтируют
долото на полый шнек.
На корпусе долота имеются две
разновеликие лопасти: одна разрушает основной профиль забоя - поражает
центральную часть скважины и участвует в калибровке диаметра скважины; другая
выполняет вспомогательные функции, разрушая небольшой участок забоя и участвуя
в калибровке диаметра скважины.
Сейсмические скважины бурят вращательным
способом в основном лопастными долотами с промывкой забоя очистным агентом (или
продувкой сжатым воздухом) и шнековым способом с погружением заряда ВВ после
извлечения инструмента в открытый ствол скважины или через полый шнек.
Перечисленные способы бурения ведутся без отбора керна, большей частью в мягких
породах II-IV
категорий по буримости и в вечномерзлых породах, содержащих в ряде случаев
валунно-галечные отложения; около 10% этого вида бурения ведется в твердых
породах VII-X
категорий шарошечными долотами. Заряды ВВ имеют диаметры 80-100 мм и поэтому
могут быть успешно размещены в скважинах диаметром 112 мм и более практически
во всем комплексе проходимых пород.
Рис. 7. Двухлопастное долото
режущего типа для шнекового бурения:
- шпилька; 2 - замковое кольцо, 3 -
присоединительный шестигранник; 4 - корпус; 5 - вспомогательная лопасть,
разрушающая небольшой участок забоя и калибрующая диаметр скважины; 6 -
лопасть, разрушающая основной профиль забоя; 7 - резцы из твердого сплава
(лопасть наплавлена также зернистым релитом)
Дисковые долота диаметром 76 и 93 мм относятся к
долотам режуще-скалывающего типа: в них совмещены преимущества как шарошечных,
так и лопастных долот. Конструкция долот относительно проста и позволяет
размещать мощные опоры и вооружение для дисков, что существенно повышает их
работоспособность (скорость бурения и ресурс) и износостойкость и делает их
применение технологически и экономически выгодным. Наиболее эффективно
использование дисковых долот (с точки зрения производительности, энергоемкости
и экономичности бурения) в породах средней твердости, в частности, для бурения
при разведке угольных месторождений [8].
.1.3 Долота
специального назначения
Для бурения геологоразведочных
скважин в особых геолого-технических условиях, а также при использовании
специального бурового оборудования и для выполнения специальных задач при
проходке скважин разработаны буровые долота специального назначения: шарошечные
долота для пневмо- и гидроударного бурения, для бурения с продувкой: шпуровые
шарошечные долота, шарошечные долота для направленного бурения; для бурения с
гидротранспортом шлама; колонковые шарошечные долота и другие.
Шарошечные долото для гидро- и
пневмоударного бурения наиболее перспективны для бурения в твердых и весьма твердых
породах поскольку наложение ударных нагрузок на шарошечное долото позволяет
интенсифицировать процесс разрушения породы и повысить скорость бурения. Кроме
того, использование долот совместно с ударными машинами позволяет бурить с
пониженными осевыми нагрузками, что приводит к снижению интенсивности
искривления скважин в процессе бурения. Вместе с тем ударное воздействие
предъявляет повышенные требования к прочности конструктивных элементов долота.
С этой целью в конструкции заложены усиленные опоры скольжения и вооружение
шарошек, гарантирующие эффективное применение долот в комплексе с гидро- и
пневмоударниками.
Шарошечные долота для бурения с
продувкой (рис. 7) предназначены для проходки сухих обезвоженных скважин в
основном небольшой глубины, а также для бурения скважин в подземных условиях и
взрывных скважин на открытых карьерах. Отличительной особенностью этих долот
является наличие специальных каналов, направляющих потоки воздуха (или газовых
смесей) через внутреннюю полость лап во внутреннюю полость шарошки. Нагнетаемый
через эти каналы воздух выносит частицы породы, проникающие с забоя в опорные
подшипники и охлаждает последние, что способствует увеличению их долговечности
и повышает работоспособность долота.
Для лучшей циркуляции воздушного потока в
призабойной зоне на боковых гранях лап приваривают боковые косынки, которые
закрывают свободное пространство между корпусом долота и шарошками и направляют
поток воздуха вниз до забоя.
Рис. 8. Шарошечное долото для
бурения с продувкой:
- специальные каналы для прохода потока воздуха
(газовых смесей); 2 - лапа; 5 - расточка в замковом пальце; 4 - цапфа лапы; 5 -
внутренняя полость шарошки
Шпуровые шарошечные долота
используют для бурения шпуров глубиной до 15 м в твердых породах. В этих
условиях наиболее важное значение приобретает механическая скорость бурения с
одноразовым использованием долота. Поэтому на основных конусах твердосплавные
зубки располагаются в шахматном порядке, угол наклона осей шарошек к оси долота
увеличивается, а насыщенность калибрующего вооружения на затылочном конусе
снижается.
Шарошечные долота для
направленного бурения предназначены для искусственного искривления скважин.
Конструкции таких долот имеют специальное калибрующее вооружение на затылочном
конусе шарошек и на периферийных венцах. Это вооружение должно обеспечивать
боковое врезание в стенку скважины при проходке через отклонители различных
типов, поэтому оно выполнено в виде твердосплавных зубков, максимально
уменьшенных диаметров для обеспечения наибольшей насыщеннрсти врезающейся части
калибрующих конусов.
Шарошечное долото диаметром 76
мм для направленного бурения имеет большие габариты шарошек за счет увеличения
угла наклона осей шарошек к оси долота и насыщенное вооружение на периферийных
венцах из твердосплавных зубков размером 4 х 6 мм и термообработанных дисковых
перемычек, расположенных между зубками.
Шарошечные долота для бурения с
гидротранспортом шлама разработаны в нескольких конструктивных исполнениях. Они
способны обеспечить получение крупных частиц породы при разрушении забоя, что
очень важно для оценки содержания в породе полезных ископаемых. Разработка
конструкций таких долот ведется в двух направлениях: при ударном воздействии
вооружения на забой и при ударно-скалывающем воздействии. В первом случае
создаются шарошечные долота, у которых шарошки оснащены высокими
твердосплавными зубками с клиновидной рабочей поверхностью, а во втором случае
создаются комбинированные шарошечно - дисковые долота, у которых конструкция состоит
из одной вертикальной шарошки, обрабатывающей периферийный участок забоя и
наружный диаметр скважины, и другой, дисковой фрезерующей шарошки,
расположенной с противоположной стороны и разрушающей поверхность забоя со
сколом крупных частиц породы.
Колонковые шарошечные долота
диаметром 93-157 мм относятся к числу перспективных направлений
совершенствования технических средств для отбора керна. Долота имеют
относительно невысокую стоимость и в составе с современными керноприемными
снарядами обеспечивают необходимый выход керна, позволяющий получать надежные и
достоверные данные при разведке месторождений, изучении геологических условий,
подсчете запасов полезных ископаемых и др.
Съемные раздвижные долота ДРС
диаметрами 132/190 и 190,5/244 мм разработаны ВИТРом совместно с Сургутским
отделением ЗапСибБУРНИПИ (изготовитель опытных образцов завод «Уралбурмаш»).
Долота предназначены для бурения и одновременно расширения стволов
гидрогеологических и инженерных скважин в горных породах средней твердости. Долота
типа ДРС имеют цельный корпус с центральным каналом, присоединительную резьбу
для бурильных труб, три продольных паза с отверстиями для трех осей, на каждой
из которых размещается лапа. На цапфе лапы монтируется опора с шарошкой. Опора
шарошки имеет три подшипника: два радиально-упорных шариковых (один из которых
является замком) и один роликовый. Промывочная жидкость подводится к забою
через центральный канал круглого сечения. Конструкция долота является
разборной, то есть позволяет отделять лапы с шарошками от корпуса путем
извлечения из него трех осей. Изношенные шарошки могут заменяться новыми без
замены корпуса.
При постановке долота на забой
скважины оно, за счет осевой нагрузки и центробежной силы инерции, из
транспортного положения переходит в рабочее состояние. Бурение ведется
одновременно с расширением ствола скважины. После окончания рейса при подъеме
долото принимает транспортное положение, шарошки под действием собственного
веса и силы трения о стенки скважины уменьшают диаметр долота.
При бурении долотом ДРС на
забое образуется керн горной породы, который при использовании двойной колонны
и обратной промывки может непрерывно выноситься на поверхность. При бурении
сплошным забоем в центральной части долота ДРС устанавливается керноразрушитель
в виде вставки, армированной резцами из твердого сплава.
Шарошки долот оснащены крупными
фрезерованными зубьями, армированными твердым сплавом. Тыльные конусы шарошек,
образующие диаметр долота, также наплавлены твердым сплавом, что способствует
сохранению диаметра долота при бурении.
Конструкция долота ДРС позволяет
усовершенствовать технологию вскрытия продуктивного пласта и повысить качество
и скорость сооружения скважины за счет: формирования в интервале установки
фильтра каверны заданного диаметра с незакольматированными стенками с целью
образования гравийного фильтра, что в 2-3 раза повышает дебит скважины;
исключения материальных . затрат (до 20% от стоимости строительства скважины)
на приготовление, применение и экологическую очистку глинистых или полимерных
растворов при замене их технической водой: снижения числа аварий и осложнений,
связанных с нарушением устойчивости стенок скважины при бурении через каверны,
трещиноватые зоны, плывуны путем непрерывного перекрытия их подвижной колонной
обсадных труб; уменьшения травматизма вследствие сокращения числа
спуско-подъемных операций с обсадной колонной, при которых на буровых работах
происходит наибольшее число тяжелых несчастных случаев.
Кроме создания каверн для образования в них
гравийных фильтров специальными работами, которые могут выполняться с
применением долот типа ДРС, являются: разбуривание и замена запесоченных старых
фильтров новыми, не извлекая обсадных труб из скважины; бурение под сваи,
которые должны выдерживать нагрузки как на сжатие, так и на растяжение;
укрепление строительных фундаментов, в которых требуется проходить через кладку
скважины возможно меньшего диаметра, а затем расширять диаметр до максимального
[8].
12. ПОДСОБНЫЕ ЦЕХА, СВЯЗЬ, ТРАНСПОРТ
В механическую мастерскую входят отделения:
кузнечное, токарное, сварочное, инструментальное. Механическая мастерская
выполняется работы по ремонту бурового оборудования, транспорта, а также
производится ремонт и изготовление отдельных узлов и деталей, необходимых для
восстановительного ремонта при эксплуатации оборудования. Основанием на
ремонт является дефектная ведомость. Ведомость составляется старшим механиком
по эксплуатации оборудования в присутствии бурового мастера [10].
Доставка вахт на буровой участок производиться
вахтовыми машинами. Транспортировка грузов и персонала производится
высокопроходимыми автомомобилями типа «Урал».
Все буровые объекты обеспечиваются радио и
телефонной связью. Диспетчерская служба имеет устойчивую связь с буровыми
бригадами через радиотелефонные аппараты “Карат”. Связь с бригадами
осуществляется из диспетчерской, в которой постоянно находится дежурный
диспетчер или радист в ночное время, которые принимают постоянную информацию и
заказы. Также при выходе на связь с буровыми бригадами диспетчер обязан строго
документально осуществлять запись заказов и следить за их реализацией. Связь с
буровыми поддерживается три раза в день.
Электроснабжение буровых установок
осуществляется от государственных линий электропередач, находящихся в 5 км.
Для обеспечения сохранения керна и возможности
его просмотра кернохранилище должны быть оборудованы специальными стеллажами,
которые устраиваются с расчетом свободного доступа к ящикам керна.
13. ОХРАНА ТРУДА, ПРОМСАНИТАРИЯ,
ТЕХНИКА БЕЗОПАСНОСТИ, ПРОТИВОПОЖАРНАЯ ТЕХНИКА
Административно-технический персонал каждой
геологической организации обязан заботиться о создании здоровых и безопасных
условий труда на производстве. Для этого составляется комплексные планы
улучшения условий труда и санитарно-оздоровительных мероприятий. Составной
частью комплексных планов являются предупреждение несчастных случаев, которые
решаются с помощью комплекса организационно-методических, инженерно-технических
и методико-профилактических мероприятий.
Организационно-методические мероприятия включают:
систему нормативно-технической документации; обучение и инструктаж рабочих;
анализ производственного травматизма в целях рационального планирования средств
на мероприятие по предупреждению несчастных случаев.
Инженерно-техническими средствами борьбы с
производственным травматизмом являются: оградительные устройства для изоляции
движущихся частей механизмов и машин; предохранительные устройства-блокировки,
автоматически отключающие оборудование при выходе какого-либо параметра за
пределы допустимых значений, сигнализация, габариты безопасности, дистанционное
управление, средства индивидуальной защиты.
Методико-профилактические мероприятия включают
предварительный и периодический осмотры рабочих, профилактические прививки. Все
рабочие проходят следующие виды инструктажа по технике безопасности:
1 вводный
инструктаж;
2 инструктаж
на рабочем месте;
3 повторный
инструктаж.
Буровые здания относятся к производственным
помещениям геологоразведочных организаций, строительство и содержание которых
должны проводиться в соответствии с требованиями строительных норм и правил, а
также требованиям производственной санитарии и гигиены.
Освещение на буровых должно соответствовать
следующим требованиям:
4 равномерное
распределение яркости на рабочей поверхности и в пределах окружающего
пространства;
5 отсутствие
повышенной яркости светящихся поверхностей;
6 постоянство
освещения во времени;
7 отсутствие
опасности и вредности от осветительных устройств.
Отопление должно обеспечивать в помещении
поддержание заданной температуры воздуха (не ниже 13-18°С)
в холодное время года.
Вентиляция должна обеспечивать качественный
состав воздуха в помещении.
Комплекс методов по борьбе с шумом включает
следующие мероприятия:
8 уменьшение
шума в его источнике;
9 уменьшение
шума на пути его распространения;
10 изменение
направления излучения шума;
11 рациональная
планировка помещения и его акустическая обработка;
12 рациональное
конструирование машин и механизмов;
13 применение
средств индивидуальной защиты для органов слуха.
Для контроля уровня шума применяется шумомер
ШШВ-1.
Индивидуальные средства защиты на буровой:
14 защитные
каски предназначены для защиты головы от падающих предметов, воды, растворов и
т.д.;
15 вкладыши,
наушники, шлемы для защиты органов слуха;
16 специальные
очки или щитки для защиты глаз от механического повреждения, попадания масла и
т.д.;
17 диэлектрические
перчатки и рукавицы, резиновые боты и галоши, резиновые коврики и дорожки,
изолирующие подставки предназначены для изоляции работающих от пола и земли, и
частей электрооборудования, находящегося под напряжением, и предохраняют от
поражения электрическим током.
Спецодежда и спецобувь предназначены для защиты
рабочих от вредного воздействия производственных и природных факторов.
Прокладка подъездных путей, сооружение буровой
мачты, размещение оборудования, устройство отопления, освещения и т.д. должны
производиться по проектам и типовым схемам монтажа, утвержденным руководством
управления.
Проекты и схемы должны разрабатываться в
соответствии с техническими требованиями эксплуатации оборудования и правил
безопасности.
Буровое оборудование, вышки (мачты) должны
осматриваться мастером не реже одного раза в декаду и бурильщиком при передачи
смены.
Все буровые должны иметь противопожарные щиты на
случай возникновения пожара [4].
14. ОХРАНА ПРИРОДЫ
. На защиту и восстановление земельных участков
должны быть составлены и утверждены проекты и сметы, предусматривающие
следующие мероприятия подготовленные до процесса бурения, по охране в процессе
бурения скважины и по восстановлению земельных участков.
. Подготовительные мероприятия должны включать в
себя :
18 установление
мест складирования растительного и почвенного слоев или грунтов, подлежащие
выемке;
19 удаление
плодородного слоя в местах его загрязнения продуктами разрушения,
нефтепродуктами и другими жидкостями.
3. Охранные мероприятия в процессе бурения
скважины:
.1 При наличии грунтовых вод водоносные
горизонты обязательно должны перекрываться обсадными трубами.
.2 Самоизливающиеся скважины должны быть
оборудованны регулирующими устройствами.
.3 Слив использованного промывочного раствора и
химических реагентов в открытые водные бассейны и на почву запрещаются.
.4 Загрязнение почвы горюче-смазочными
веществами запрещается.
. Мероприятия по восстановлению земельных участков.
.1 После окончания бурения проводится
рекультивация- комплекс мероприятий, направленных на восстановление земельных
отводов, загрязненных производством.
.2 Проводится горнотехническая и биологическая
рекультивация:
20 остатки
дизельного топлива сжигаются, отработанный глинистый раствор вывозится,
загрязненные земли покрываются почвенным слоем и дерном; загрязненные площади
озеленяют и возвращают лесное и другое пользование.
4.3 Проведение работ по
рекультивации осуществляется в соответствии с инструкциями, согласованными с
местными органами [8].
15. ОПРЕДЕЛЕНИЕ
ЗАТРАТ ВРЕМЕНИ НА ПРОЦЕСС БУРЕНИЯ СКВАЖИНЫ
Таблица
13
|
N
п/п
|
Диаметр
ПРИ
|
Категория
по буримости
|
Объем
бурения, м
|
Норма
времени в ст-см на метр
|
Коэффициент
|
Итого
затраты на объем
|
|
1
|
112
|
II
|
4
|
0.04
|
-
|
0.16
|
|
2
|
93
|
II
|
16
|
0.04
|
-
|
0.64
|
|
3
|
93
|
III
|
20
|
0.06
|
-
|
1.2
|
|
4
|
93
|
III
|
80
|
0.06
|
-
|
4.8
|
|
5
|
59
|
V
|
150
|
0.1
|
-
|
15
|
|
6
|
59
|
VII
|
20
|
0.14
|
-
|
2.8
|
|
7
|
59
|
IX
|
70
|
0.18
|
-
|
12.6
|
Итого затрат времени на бурение одной скважины:
37.2 ст.*см
Затраты времени на весь процесс бурения скважин
рассчитываются по формуле:
Nбур
= Nскв∙n,
(28)
где Nскв
-
время на бурение одной скважины; n
- количество скважин.
Nбур =
37.2∙16 = 595.2 ст*см.
Количество одновременно действующих буровых
установок Nу
вычисляется по формуле:
Nу
= (Nскв∙n)/(103∙Т),
(29)
где Т - это время на бурение 16 скважин, мес.;
103 - это количество станко-смен в месяце при работе буровой бригады в три
смены.
Nу
= (37.2∙16)/(103∙3) = 1.92
Nу - принимаем
равной 2, т. е. в процессе проведения работ будут задействованы 2 буровые
установки.
Перечень документации, которая
ведется на буровой
- акт на ввод в эксплуатацию скважины;
ГТН;
буровой журнал;
журнал проверки состояния ТБ;
график планово-предупредительного ремонта;
акты на ликвидацию осложнений и аварий, на
проведение специальных работ в скважине, акт проверки готовности скважины к
геофизическим работам и др.
ЗАКЛЮЧЕНИЕ
В данной курсовой работе впервые проводилось
проектирование скважины, выбор бурового оборудования, расчет режимных
параметров, которые соответствуют данным геолого-техническим условиям. Данная
работа дала огромный опыт перед выполнением дипломного проекта.
СПИСОК ЛИТЕРАТУРЫ
.
Бурение разведочных скважин. Проектирование скважин: Методические указания по
выполнению курсового проекта.- Томск: Изд. ТПУ, 1997.
.
Воздвиженский Б.И., Новожилов А.А. Разведочное бурение. - М.: Недра, 1979. -
510 с.
.
Волков С.А., Сулакшин С.С., Андреев М.М. Буровое дело. - М.:Недра, 1965. - 490
с.
.
Ребрик Б.М. Бурение инженерно-геологических скважин.-М.:Недра, 1989. - 336 с.
.
Рябчиков С.Я. Буровые машины и механизмы: Учебное пособие.-Томск: Изд. ТПУ,
1999.- 108 с.
.
Справочник инженера по бурению геологоразведочных скважин. - Том 1. - М.:
Недра, 1984. - 512 с.
.
Справочник по бурению геологоразведочных скважин./Гл. ред. Е.А.
Козловский,-СПб.:ООО “Недра”, 2000.- 712 с.
.
Сулакшин С.С. Способы, средства и технология получения представительных
образцов пород и полезных ископаемых при бурение геологоразведочных скважин:
Учебное пособие. - Томск: Изд. НТЛ, 2000. - 248 с.
.
Сулакшин С.С. Бурение геологоразведочных скважин: Учебник для вузов. - М.:
Недра, 1994 - 432 с.