Алгоритмы диагностики заболевания раком молочной железы
НАЦИОНАЛЬНЫЙ
ИССЛЕДОВАТЕЛЬСКИЙ УНИВЕРСИТЕТ
«МЭИ»
Институт__ИРЭ_______________Кафедра
__Основ радиотехники____
ЗАДАНИЕ
Н А В Ы П У С
К Н У Ю Р А Б О Т У
бакалавра
__техники и технологии______________________________
(квалификация,
присваиваемая по завершении образования)
по
направлению__210300 Радиотехника__________________________
Тема:”
Алгоритмы диагностики заболевания раком молочной железы “
Студент_____Залевская Е.А. Эр-16-08_______________________
Научный руководитель________________________________________
СОДЕРЖАНИЕ РАЗДЕЛОВ ЗАДАНИЯ И ИСХОДНЫЕ ДАННЫЕ
Познакомиться с вопросами:
анатомии, физиологии и классификации заболеваний молочной железы (МЖ),
современных методов диагностики и лечения заболеваний раком молочной
железы (РМЖ). Областями использования в маммологии рентгеновской и
ультразвуковой диагностики;
параметров современных ультразвуковых медицинских диагностических
устройств (УЗМДУ), используемых в маммологии;
вейвлет - анализа;
работы в системе MATLAB;
современной элементной базы для построения аппаратных средств
приёмо-передающего модуля (ППМ) современного акустического компьютерного
маммоскопа (АКМ);
работы с Патентным Фондом США.
Изучить:
язык VHDL программирования ПЛИС;
метод акустической резонансной визуализации (АРВ), предназначенный для
ранней (доклинической) диагностики РМЖ [3];
функциональные схемы микросхем фирм Analog Device и National
Semiconductor для построения современных УЗМДУ.
Разработать:
. Общую структурную, функциональные и принципиальные схемы
субблоков устройства АРВ.
. Математическую модель метода АРВ.
. Алгоритм диагностики РМЖ посредством вейвлет - анализа.
. VHDL-программу генератора “качающейся” частоты
Исходные данные:
. Считать микрокальцинаты предвестниками РМЖ.
. Размеры микрокальцинатов - 50 - 100 мкм.
. Масса микрокальцината- 0,1 мкг.
. Диапазон частот резонансных колебаний микрокальцинатов - 20Гц -
20 кГц.
ПЕРЕЧЕНЬ ГРАФИЧЕСКОГО МАТЕРИАЛА
. Анатомия молочной железы.
. Классификация заболеваний молочной железы.
. Параметры современных УЗМДУ, используемых в маммологии.
. Принцип метода АРВ.
. Структурная схема устройства АРВ.
. Функциональные схемы субблоков приёмо-передающего модуля
устройства АРВ.
. Математическая модель метода АРВ.
. Результаты моделирования.
.Алгоритм диагностики РМЖ посредством вейвлет - анализа.
. Листинг VHDL- программы генератора “качающейся” частоты.
РЕКОМЕНДУЕМАЯ ЛИТЕРАТУРА
1. Баскаков
С.И. Радиотехнические цепи и сигналы. М., Высшая школа, 2003.
. Осипов
Л.В. Ультразвуковые диагностические приборы. М., Видар, 1999.
. Sehgal.
Apparatus for imaging an element within a tissue and method therefor. Устройство и метод для визуализации
элемента внутри ткани. United States Patent № 5,997,477. 1999.
. Бабак
В.П., Корченко А.Г., Тимощенко Н.П.,Филоненко С.Ф. VHDL. Справочное пособие по
основам языка. Додэка. 2008.
. Поликар
Р. Введение в вейвлет-пребразование. Пер. Грибунина В.Г. СПб. АВТЭКС, 2001.
. Заболевания
молочной железы. П.И.Зима, Ю.Ф. Пауткин / Учебн. пособие. - М.: Изд-во РУДН,
1996.
. Патология
молочной железы. Э.Л. Нейштадт, О.Л. Воробьева - Санкт-Петербург: ООО
«Издательство Фолиант», 2003.
. Фирма
NS. Фирменные описания микросхем для построения УЗМДУ.
. Половко
А.М., Бутусов П.Н. MATLAB для студента. СПб, БХВ-Петербург, 2005.
. Алексеев
Е.В., Чеснокова О.В. Самоучитель MATLAB 7.0. М., NT-Press. 2006. Новиков Л.В.
Основы вейвлет-анализа сигналов. Учебное пособие. СПБ. 1999
Аннотация
Дипломный проект посвящён вопросам ранней диагностики рака молочной
железы.
Рассматриваются основы анатомии молочной железы и патология, приводиться
классификация заболевания и основные методы диагностики РМЖ применяющиеся на
сегодняшний день.
Приведены основы УЗМДУ, показаны основные требования и параметры.
Приведено описание метода акустической резонансной визуализации,
основывающееся на выявлении в молочной железе микрокальцинатов, которые
являются ранними предвестниками РМЖ.
Приведено подробное описание метода непрерывного вейвлет-анализа при
диагностике молочной железы.
Пояснительная записка к дипломному проекту состоит из четырех глав
основного текста, списка литературы и двух Приложений.
ВВЕДЕНИЕ
Постановка
задачи
Медико-социальная
постановка задачи
Неуклонное увеличение заболеваемости раком молочной железы (РМЖ) в нашей
стране и за рубежом ставит раннюю диагностику и лечение этого очень грозного
заболевания в ряд наиболее актуальных, важных и значительных мировых
медицинских проблем. Анализ заболеваемости показывает, что в некоторых в
странах мира женщины болеют РМЖ в несколько раз чаще, чем в других. Самыми
«привлекательными» для РМЖ являются жительницы США. Уровень заболеваемости РМЖ
в некоторых штатах США превышает 130 на 100 тыс. женщин. Для сравнения, средний
уровень заболеваемости в России составляет 38-39 на 100 тыс. В Москве этот
показатель несколько выше и достигает почти 50 на 100 тыс. женщин. Есть страны
с уровнем заболеваемости менее 20 заболевших на 100 тыс. женщин. Ежегодно
диагностируется около 25000 новых случаев этого заболевания, и каждый год от
него умирают приблизительно 15000 женщин - больше, чем от любого другого вида
рака. Это самая распространенная причина смерти среди всех женщин в возрасте от
35 до 54 лет. По оценкам медиков, вероятность заболеть РМЖ равна 1:12, а в
некоторых группах женщин, как показано ниже, она сщественно возрастает [12].
Но современная медицина совершенствуется и развивается.
Усовершенствованные хирургические методы, применение радиотерапии,
медикаментозное лечение и гормональная терапия, применяемые по отдельности или
в сочетании, уменьшают возможность рецидива. Усовершенствованные методы ранней
диагностики и реализация национальных программ скрининга позволяют обнаруживать
РМЖ на ранней стадии, когда более высока вероятность излечения.
Научно-техническая постановка задачи
Целью настоящей бакалаврской работы было изучение современных тенденций в
области УЗ исследований МЖ для создания современного УЗ аппарата, оснащенного
аппаратными и программными средствами, обеспечивающими раннее выявления РМЖ.
Данная проблема является очень сложной научно-технической и инженерной
задачей. Здесь необходимо обнаружить с малой долей ошибок типа "ложной
тревоги" или "пропуска цели" (как принято говорить в
радиолокации), ложно положительных или ложно отрицательных ошибок (как принято
говорить в медицине) аномалию размером порядка 1 мм в диаметре (объёмом порядка
1 мм3) в объёме ткани МЖ порядка 105 мм3.
Причём данная аномалия относительно редко встречается в обследуемой группе
пациентов. Поэтому эта задача требует высочайшего пространственного разрешения
УЗ диагностического устройства, высокого качества изображения по контрасту, а
также возможности автоматически обрабатывать и умения правильно
интерпретировать информацию во время обследования.
Как показал анализ, устройство, обладающее необходимыми качествами, может
быть создано на основе разработанного в НИИТП базового медицинского УЗ локатора
с синтезированием апертуры (МУЛСА) путем его дооснащения дополнительными
аппаратными и программными средствами.
Стоимость АКМ, дооснащённого дополнительными средствами повышения эффективности
ранней диагностики РМЖ, должна быть как минимум в два - три раза ниже цены
аналогичных по параметрам зарубежных аппаратов. Однако, в любом случае не
должна превышать 25 тыс. долл., чтобы быть доступной большинству отечественных
медицинских учреждений.
АКМ должен быть импортозамещающим, экспортопригодным прибором.
Проведение массовых профилактических обследований населения на предмет
выявления опухолей МЖ требует огромных расходов. АКМ должен быть диагностически
эффективным прибором, позволяющим оперативно проводить диагностику. На Западе
стоимость пункционной биопсии составляет 750-1000 долл. Единственный способ
повышения эффективности и экономичности скрининга заболеваний МЖ связан со
снижением до минимума числа проводимых биопсий за счёт более чёткой
дифференциации опухолей на этапе, предшествующем биопсии. С этой же целью
прибор должен быть, в частности, дооснащён средствами повышения
производительности труда врача, освобождающими его от рутинной работы по
оформлению заключений УЗ-обследований.
Результаты информационного и патентного поиска
Во всём мире ведутся интенсивные исследования по ранней диагностике
заболеваний МЖ. Чтобы разработать конкурентоспособное изделие необходимо
ознакомиться с мировым опытом.
В процессе работ по разработке АКМ и, в частности, выполнения настоящего
дипломного проекта, было проведено знакомство с большим количеством литературы
по данной тематике.
Патентный поиск проводился по патентному фонду США по ключевым словам (ultrasound AND "breast tissue" AND mammography) за 1999 - 2005 гг. Было выявлено
220 патентов. Несмотря на то, что в качестве ключевого слова (признака)
использовалось слово ultrasound, автоматический патентный поиск дал большое количество патентов по не УЗ
методам диагностики (рентгеновскому, фотоакустическому, инфракрасному и пр.),
тесно связанным с УЗ.
Из общего перечня патентов для данной работы наибольший интерес
представляли группы патентов, касающиеся:
ранней диагностики РМЖ,
использования 3D-визуализации
в маммологии,
использования вейвлет-преобразования при характеризации ткани МЖ.
Последняя группа патентов выделена из общего перечня и оформлена в виде
отдельного списка в приложении 1.
ГЛАВА 1. МЕДИЦИНСКАЯ ПОСТАНОВКА ЗАДАЧИ
.1 Анатомия молочных желез
Молочная железа расположена на передней поверхности грудной клетки от 3
до 7 ребра. Это сложная трубчато-альвеолярная железа (производное от
эпидермиса, ее относят к железам кожи). Паренхима железы состоит из 15 - 20
долек железистой ткани (доли или сегменты), окруженных жировой клетчаткой и
заключенных в капсулу из поверхностной грудной фасции. От капсулы вглубь идут
междольковые пучки соединительнотканных волокон, поддерживающие молочную
железу. Жировая клетчатка окружает железу снаружи и проникает вглубь между
дольками железы. Каждая долька представляет собой трубчато-альвеолярную
желёзку, состоящую из густой сети млечных протоков, с многочисленными боковыми
выпячиваниями - альвеолами. Выводные протоки долек расположены в радиальном
направлении, открывающиеся выводным протоком на вершине соска. Доли (сегменты)
представлены 20 - 40 дольками, состоящими из 10 - 100 альвеол каждая. [6]
Рис 1.1. Анатомическое строение молочной железы
1.1.1 Кровоснабжение МЖ и отток лимфы
Молочная железа снабжается кровью ветвями наружной грудной (30%),
внутренней грудной (60%) и межреберных артерий (10%). Венозный отток
осуществляется через межреберные и внутренние грудные вены.
Отток лимфы осуществляется через поверхностную и глубокую лимфатические
сети, которые сливаются с кожной лимфатической сетью, идут к ареоле и образуют
подареолярное лимфатическое сплетение. Лимфа из молочной железы оттекает в
регионарные лимфатические узлы. Регионарными являются подмышечные и
парастернальные лимфатические узлы. Основным направлением оттока лимфы из
молочной железы является путь к подмышечным лимфоузлам, но из медиальных и
центральных квадрантов железы лимфа, минуя подмышечный путь, может оттекать в
парастернальные лимфатические узлы. Отток лимфы происходит и в других
направлениях. Из них особенно важен путь к молочной железе, подмышечным и
парастернальным лимфатическим узлам противоположной стороны.
1.1.2 Патологоанатомическая характеристика
Локализация. Молочную железу условно делят на четыре квадранта двумя
перпендикулярными линиями, проводимыми в вертикальном и горизонтальном
направлении через сосок. По расположению квадранты называют верхневнутренним,
верхненаружным, нижневнутренним и нижненаружным. Кроме этого, выделяют
центральный квадрант, расположенный в окружности соска, и аксиллярныйотросток.
Рак может возникать в любом отделе молочной железы, но чаще опухоль
располагается в верхненаружном квадранте или на границе верхних квадрантов.
Рак молочной железы - эпителиальная опухоль, исходящая из протоков или
долек железы. Различается по виду ткани, в которой развивается опухолевый
процесс, и степени распространения. Раковые клетки могут образовываться в
железистой ткани, в молочных протоках, жировой и соединительной ткани. Раковый
процесс в разных тканях молочной железы прогрессирует по-разному. Некоторые
опухоли разрастаются медленно и распространяются по организму (метастазируют),
только после того, как станут большого размера. Другие опухоли более
агрессивны, растут и метастазируют за короткий срок. При выявлении групп
повышенного риска по раку молочной железы учитываются эндогенные и экзогенные
факторы.
Рис 1.2. Рак молочной железы
Гистологическое строение. РМЖ обычно развивается из эпителия протоков,
преимущественно мелких. В дольках он возникает примерно у 10% больных.
Дольковый рак нередко бывает мультифокальным и иногда поражает обе молочные
железы. Гистологическая картина многообразна. Типичной является аденокарцинома.
Различают инфильтрирующие аденокарциномы, а также особые гистологические формы
рака (медуллярный, папиллярный, слизистый, скиррозный, плоскоклеточный и др.).
Опухоли одинакового гистологического строения различаются по степени
дифференцировки клеток. Выделяют три гистологические градации:
· G1 - высокая степень дифференцировки;
· G2 - средняя степень дифференцировки;
· G3 - низкая степень дифференцировки.
Степень дифференцировки является важным прогностическим фактором: чем
ниже степень дифференцировки, тем хуже прогноз.
Симптоматика. Вся симптоматология РМЖ может быть разделена на три
основные группы:
. Первичные прямые признаки, являющиеся теневым отображением самого
опухолевого узла.
. Вторичные признаки, отражающие развитие «парапроцесса» вокруг
опухолевого узла.
. Косвенные признаки («признаки запущенности процесса»), свидетельствующие,
о распространении процесса на значительную часть молочной железы.
Первичные и вторичные признаки отражаются в виде локальной
«патологической перестройки» структуры молочной железы, как в области
опухолевого узла, а также вокруг него. Причинами данного скиалогического
синдрома являются: «сам опухолевый узел», реактивное воспаление, раковый
лимфангит, стромогенный и реактивный склероз, дистрофический процесс (атрофия и
дистрофия железистой ткани), в окружающей узел ткани, как следствие компрессии
её растущим узлом. [6]
В отечественной и зарубежной литературе к первичным (основным) признаками
рака молочной железы относят:
непосредственное отображение опухолевого узла;
наличие микрокальцинатов.
Необходимо отметить, что в настоящее время нет единодушного мнения, по
поводу так называемых «микрокальцинатов». Л.Д. Линденбратен указывает, что
данным термином обозначаются кальцинаты менее 1 мм. А.Г. Илькевич считает, что
микрокальцинатом должен называться кальцинат размерами менее 0,5 мм. [9] Другие
авторы, также не единодушны в характеристике микрокальцинатов по величине.
Некоторые авторы пользуются классификацией микрокальцинатов по M. Le Gal,
которая предусматривает деление микрокальцинатов на пять типов:
Тип1. Круглые и дуговидные кальцинаты, иногда горизонтальные или
полулунные, соответствуют маленьким микрокистозным эктазиям.
Тип 2. Круглые, правильной формы.
Тип 3. Пылевидные, очень нежные.
Тип 4. Точечные, неправильной формы.
Тип 5. Червеобразные, древовидные. Отражают внутрипротоковый некроз.
Необходимо констатировать, что отнесение микрокальцинатов к первичным
(основным) признакам рака молочной железы, может быть неверно по следующим
соображениям:
«скопления микрокальцинатов», «группы микрокальцинатов» регистрируются на
снимках при рутинной «мастопатической трансформации», фиброаденомах,
посттравматических и поствоспалительных участках склероза ткани молочной железы
и др.;
наличие кальцинатов может свидетельствует о нарушении «обменных
процессов» в определенном участке молочной железы, с последующим дистрофическим
процессом и метаплазией.
Однако, в данной работе мы будем считать микрокальцинаты размером 50-100
мкм признаками рака молочной железы.
Развитие опухоли. Темп роста новообразований молочной железы колеблется в
широких пределах. В среднем от появления опухоли микроскопических размеров до
достижения 1 см в диаметре проходит 8 - 9 лет. Дальнейший рост происходит более
быстрыми темпами. Темп роста зависит от многих факторов. Имеет значение форма
опухоли: инфильтративные формы характеризуются быстрым ростом, рак Педжета -
медленным. У молодых женщин новообразование растет быстрее, чем у женщин в
менопаузе. Ускоренными темпами рак развивается во время беременности и при
грудном вскармливании.
1.1.3 Стадии РМЖ
Раковые заболевания классифицируются по стадиям. Определение стадии рака
- это процесс установления количества раковых образований в организме и места
их расположения. Врачи определяют стадию рака, собирая информацию из
результатов обследований и анализов опухоли, лимфатических узлов и отдаленных органов.
• Клиническая стадия определяется по информации, полученной в
результате проведенного врачом обследования, а также в результате визуализации
(рентгенограммы, маммограммы и т.д.)
• Патологическая стадия включает в себя информацию, полученную при
хирургическом удалении раковой опухоли и лимфатических узлов.
Наиболее часто применяемая для описания развития и распространения рака
молочной железы схема - это система определения стадии TNM, также известная как
система Американского совместного комитета по онкологии (American Joint
Committee on Cancer, AJCC). В системе определения стадии TNM информация об
опухоли, близлежащих лимфатических узлах, метастазах в отдаленные органы
объединяется, и стадии присваиваются определенные TNM- группы. Стадии, которым присвоены
группы, описываются с использованием цифры 0 и римских цифр от I до IV.
[6]обозначает размер раковой опухоли (измеряемым в сантиметрах). N обозначает
распространение в лимфатические узлы, распложенные в области молочной железы, и
M обозначает метастаз (распространение в отдаленные органы тела).
Категории T: Категории T определяются на основе размера раковой опухоли
молочной железы, ее месторасположения в груди и распространения на соседнюю
ткань.
• T0: Признаки первоначальной опухоли отсутствуют.
• Tis: Карцинома in situ или неинвазивный рак молочной железы.
Протоковая карцинома in situ (DCIS): Раковые клетки расположены в
протоках молочной железы и не поражают стенки протоков и окружающие ткани.
Дольковая карцинома in situ (LCIS): Также называемая дольковой
неоплазией.
Аномальные клетки растут в дольках молочной железы (производящих молоко
железах), но не проникают через стенки долек и не вызывают поражения.
Карцинома LCIS не является в действительности раком, но женщины,
страдающие карциномой LCIS, подвержены большему риску развития инвазивного рака
молочной железы на более поздней стадии жизни.
• T1: раковая опухоль размером 2 см в диаметре (около 3/4 дюйма)
или меньше.
• T2: раковая опухоль размером более 2 см, но не больше 5 см в
диаметре.
• T3: раковая опухоль размером более 5 см в диаметре.
• T4: раковая опухоль любого размера и распространившаяся на
грудную стенку или кожу.
Категории N: Категории N определяются на основе того, какие из
лимфатических узлов, расположенных около молочной железы, поражены раком (при
наличии таковых).
• N0: Рак не распространился в лимфатические узлы.
• N1: Рак распространился в лимфатические узлы, расположенные в
области подмышки с той же стороны, что и раковая опухоль молочной железы.
Лимфатические узлы еще не соединились друг с другом или с окружающей их тканью.
• N3: Рак распространился на внутренние грудные лимфатические узлы
(расположенные ниже молочной железы или внутри грудной клетки).
Категории M: Категория M зависит от того, распространился ли рак на любые
отдаленные ткани или органы.
• M0: Распространение рака на отдаленные органы отсутствует.
• M1: Возможно, рак распространился на отдаленные органы или на
надключичные (расположенные выше ключицы) лимфатические узлы.
Классификация рака молочной железы: Когда категории T, N, и M присвоены,
данная информация объединяется для назначения общей стадии 0, I, II, III или
IV.
1.2 Устройства и методы диагностики рака
молочной железы
Задача методов визуализации при обследовании больной со злокачественной
опухолью состоит не только в выявлении и характеристике патологии, но и
определении стадии процесса и установлении или исключении отдаленных
метастазов. Мы рассмотрим методы визуализации молочной железы, широко
используемые наряду с УЗ-диагностикой. Далее будут кратко изложены физические
принципы и отражена клиническая ценность каждого метода, приведен краткий обзор
новых методов визуализации, находящихся в стадии испытаний.
1.2.1 Физикальное обследование
Метод состоит в осмотре и пальпации молочных желез, а также подмышечных и
надключичных лимфатических узлов. Проводят осмотр в вертикальном положении
(сначала с опущенными руками, а затем с поднятыми руками). Оценивают контуры,
величину, симметричность, состояние кожных покровов. Выявляют смещение,
асимметрию, деформацию, изменение уровня расположения соска, сморщивания кожи,
отечность или гиперемию, выделения из соска. Пальпируют подмышечные,
надключичные и подключичные лимфатические узлы. Пальпаторно определяют
консистенцию железы, однородность ее структуры.
1.2.2 Ультразвуковое исследование молочной
железы
Метод позволяет исследовать структуру молочных желез, обнаружить
диффузные и очаговые поражения, дифференцировать полостные но плотные по
консистенции образования. В сочетании с пальпацией и маммографией повышает
точность диагностики рака до 80 - 90%. [8]
Ультразвуковое исследование является одним из наиболее информативных
методов диагностики в медицине. Во время УЗИ специальное устройство посылает
ультразвуковые волны внутрь организма, которые отражаются от тканей, имеющих
разную плотность, и этот отраженный сигнал фиксируется датчиком. В зависимости
от плотности или других характеристик тканей принимаемый сигнал меняется. Затем
он преобразуется в цифровой сигнал, который врач может увидеть на экране
монитора в виде достаточно четкого изображения анатомических структур.
Ультразвуковые сканнеры помогают идентифицировать и правильно оценить
состояние тканей молочной железы по их плотности и содержанию. Это безвредный,
безболезненный и доступный метод исследования, не требующий специальной
подготовки со стороны пациента. Ультразвуковое исследование является как
самостоятельным методом выявления доброкачест-венных и злокачественных
образований в молочной железе, так и дополнительным, применяе-мым в
совокупности с маммографией. В ряде случаев ультразвук по своей
результативности превосходит маммографию: при исследовании плотных молочных
желез у молодых женщин; у женщин, имеющих фиброзно-кистозную мастопатию; в
выявлении кист.
1.2.3 Маммография
Маммография применяется при: очаговых и диффузных уплотнениях в железе,
при наличии метастазов в подмышечных лимфоузлах из не выявленного первичного
очага, при контрольных обследованиях больных, перенесших в прошлом радикальную
мастэктомию, для скрининга на рак молочной железы. Снимки делают в прямой и
боковой проекциях. Для сравнения производят маммограммы здоровой железы.
Оптимальным временем для проведения маммографии являются 8 - 10 день после
окончания менструации. Анализируя снимки, обращают внимание на структуру
молочных желез, состояние кожи и соска, наличие затемнений, соответствующих
пальпируемому уплотнению. Оценивают форму, локализацию, контуры и величину
затемнения. [8]
Маммография - широко распространенный и в настоящее время основной метод
диагностики РМЖ. Маммография составляет основу визуализации молочной железы в
рамках скрининга, диспансерного наблюдения и обследования больных с клинической
симптоматикой.
Маммограмма представляет собой полутоновое (негативное) фотоизображение,
отражающее различную степень ослабления электромагнитного (рентгеновского)
излучения, проходящего сквозь различные ткани молочной железы. Степень
затухания излучения зависит от атомного числа ткани. Для получения маммограммы
молочную железу располагают между источником рентгеновского излучения и
воспринимающим элементом. Для этого используют специальное оборудование (рис.
1.3). Ткани с относительно высоким атомным числом в большей степени ослабляют
излучение, что на изображении проявляется в виде различной степени затенения.
На обычных пленочных рентгенограммах самые темные участки соответствуют тканям
с относительно низкой степенью ослабления излучения - подкожной и
ретромаммарной жировой клетчатке. Эти ткани называют рентгенопрозрачными. И
наоборот, ткани, сильно ослабляющие рентгеновское излучение, например плотная
железистая ткань и кальцинаты, дают более светлое (белое) изображение - их
называют рентгеноконтрастными (рис. 1.4.). В современном цифровом оборудовании
обычная серая шкала инвертирована, следовательно, мелкие кальцинаты имеют вид
черных точек на светлом фоне.
Рис.1.3.Маммограф Рис. 1.4. Маммограмма
Нормальные и патологически измененные ткани характеризуются различной
способностью ослаблять рентгеновское излучение. На этом и основан этот метод
диагностики, хотя на общую информативность маммограммы влияют многие факторы.
Главное преимущество маммографии - хорошая способность выявлять солидные
рентгеноконтрастные опухоли на фоне рентгенопрозрачной ткани молочной железы,
находящейся в состоянии инволюции у женщин преклонного возраста, а также
высокорентгеноконтрастные микрокальцинаты, которые служат признаком
преинвазивного опухолевого роста.
Маммография основана на воздействии ионизирующей радиации, что неизбежно
обусловливает дозозависимый биологический риск стимуляции злокачественного
перерождения. Перед выполнением процедуры необходимо убедиться, что маммография
оправдана с точки зрения радиационной безопасности.
.2.4 Магнитно резонансная
томография (МРТ)
МРТ получила широкое распространение для принятия решений в сложных случаях
диагностики заболеваний молочной железы. Также расширяется применение этого
метода для скрининга женщин с высоким риском. МРТ уже давно считается наиболее
чувствительным методом визуализации при обследовании женщин с осложнениями
после установки имплантов.
Хотя МРТ характеризуется высокой чувствительностью и отсутствием
облучения, все же это относительно дорогой метод исследования, к тому же
имеющий недостаточно высокую специфичность. За исключением исследования женщин
с установленными силиконовыми имплантами, МРТ не подходит в качестве
единственного метода диагностики, либо - средства исследования первой линии.
Она показана только в определенных случаях. Данные МРТ всегда следует
интерпретировать вместе с картиной стандартной маммографии или УЗИ и с учетом
результатов клинического исследования.
В настоящее время выпускают различное МРТ- совместимое оборудование и
расходные материалы для выполнения вмешательств. Однако следует отметить, что в
большинстве случаев патологические изменения, выявленные на МРТ, особенно
злокачественные опухоли, также обнаруживают и при маммографии или УЗИ, хотя
признаков злокачественного роста нет. В связи с этим необходимости в биопсии
под МРТ-наведением, как правило, не возникает.
Формирование MP-изображения основано на анализе информации о поведении
протонов в атомах тканей организма, в частности в атомах водорода. Сами по себе
протоны несут положительный заряд и находятся в постоянном движении. Их
электрический заряд создает определенное магнитное поле. В MP-сканере находится
сверхпроводящий электромагнит, который создает высокоиндуктивное гомогенное
магнитное поле (0,5-1,5 тесла). Нелишне отметить, что если у пациентки имеются
какие-либо металлические «инородные тела», даже такие медицинские устройства,
как водитель ритма или скобы, МРТ абсолютно противопоказана.
.2.5 Радионуклидная диагностика
Это чувствительный, преимущественно функциональный метод визуализации,
дающий биохимические характеристики тканей и позволяющий получить сведения о
функциональных изменениях, связанных с патологическим процессом. Принцип метода
состоит в следующем. Внутривенно вводят фармацевтический препарат, который
избирательно накапливается в тканях, подлежащих исследованию. Этот препарат
метят радионуклидной меткой. Клинически значимая информация получается за счет
дифференциального распределения этого радиофармпрепарата в организме.
Радиоактивность выявляют неинвазивным методом с помощью гамма-камеры, что
позволяет получить графическое изображение и выполнить количественный анализ.
[8]
Гамма-камера содержит кристаллический сцинтиллятор, который улавливает
излучение, испускаемое тканями, поскольку радионуклидный метчик, распадаясь,
излучает фотоны света. Затем фотоэлектронный множитель превращает световую
энергию в электрические сигналы, по которым можно судить о пространственном
распределении и интенсивности радиоактивности.
Следует отметить, что этот метод визуализации основан на радиоактивном
излучении, поэтому перед исследованием необходимо основательно взвесить все
«за» и «против», особенно это касается беременных или кормящих грудью женщин.
1.2.6 Сцинтимаммография
Сцинтиграфия играет ту же роль, что и МРТ, в плане определения
мультицентрического или синхронного характера роста опухоли, а также в оценке
эффективности. Сцинтиграфия считается более чувствительным методом выявления
рецидива опухоли по сравнению с маммографией и УЗИ. [8]
Сущность сцинтимаммографии заключается в следующем. В периферическую вену
вводят радиофармпрепарат. После этого пациентку располагают в непосредственной
близости от гамма-камеры. Затем женщину последовательно поворачивают, чтобы
получить изображения молочных желез и аксиллярных областей в правой и левой
боковых проекциях в положении лицом вниз и в передней проекции в положении
лицом вверх.
Так же как и при МРТ, данные сцинтимаммографии можно отображать либо в
виде анатомического полутонового изображения, либо в виде кривой зависимости
интенсивности излучения от времени (в сцинтимаммографии эти кривые называют
кривыми «время-активность»). На полутоновом изображении степень затенения прямо
пропорциональна интенсивности излучаемой радиации в определенной точке. Участки
повышенной активности («горячие очаги») могут отображаться в виде либо темных
зон на нормальном светлом фоне, либо светлых зон на нормальном темном фоне.
Рис 1.5. Кривая «время-активность» показывает изменение радиоактивности в
определенной (выбранной оператором) анатомической зоне, представляющей интерес,
в зависимости от времени.
1.2.7 Гамма-томография
Традиционная радионуклидная визуализация представляет собой плоскостное
двухмерное изображение трехмерного распределения радиоактивности. Поэтому
неизбежно наложение друг на друга сигналов от образований, расположенных на
различной глубине. Принцип гамма-томографии состоит в сборе данных об
активности радиоизотопа из нескольких плоскостей вокруг пациентки и
математической реконструкции данной информации, что позволяет получать
изображения отдельных поперечных срезов тела.
Гамма-томография дает лучшее контрастное разрешение и разделяет
накладывающиеся друг на друга образования, в связи с чем это более
чувствительный метод исследования, чем плоскостная визуализация.
1.2.8 Пункционная биопсия
Производится с целью получения материала для цитологического
исследования. Ее выполняют обычной иглой, получая в пунктате разрозненные
клетки, или специальными иглами, позволяющими иссечь небольшой столбик и
выполнить гистологическое исследование.
Выводы
В этой главе была рассмотрена анатомия молочной железы и патологические
отклонения. Рассмотрены все действующие методы диагностики . Среди огромного
количества методов и устройств диагностики РМЖ основными считают маммографию.
Она считается наиболее безлопастной и стандартной процедурой. Но основным
вопросом диагностики РМЖ остается вопрос его ранней диагностики.
ГЛАВА 2. ПРИНЦИП РАБОТЫ СОВЕРЕМЕННЫХ УЗМДУ
Ключом к решению проблемы РМЖ считается ранняя диагностика заболеваний
МЖ, проводимая, в основном, в ходе массовых профилактических обследований
населения. Для этого требуется УЗДУ с очень высокой пространственной и
контрастной разрешающей способностью. Шансы на излечение от РМЖ обратно
пропорциональны стадии болезни, на которой началось лечение. На первой стадии
излечиваются 90 - 95% и только хирургическим путём, а при третьей - только 50 %
больных, хотя добавляется ещё лучевая терапия и химиотерапия. Таким образом,
разработка современного УЗДУ имеет очень большое медикосоциальное значение; она
актуальна, вытекает из запросов отечественного здравоохранения.
2.1 Основные требования к УЗДУ
Разрабатываемое УЗДУ четвёртого поколения должно быть экспертного класса.
Под таким УЗДУ понимается УЗДУ, характеризующееся определённым набором
параметров. Основные из них:
- высокое качество УЗ изображений. Пространственная разрешающая
способность должна быть не хуже 1,0 мм во всей зоне обзора, что обеспечивается,
в частности, многоканальной архитектурой и используемыми методами синтеза УЗ
изображений. Должна быть также высокая контрастная разрешающая способность;
практически должны отсутствовать артефакты и зернистость (спекл-шум)
изображений и пр.;
- высокая временная разрешающая способность, т.е. частота
кадров УЗ изображений должна быть не ниже 25 Гц
- широкая номенклатура используемых УЗ датчиков (линейные,
конвексные, микроконвексные, ректальные, вагинальные, интраскопические,
внутрисосудистые и др.);
- возможность визуализировать практически все внутренние
органы, включая сердце и транскраниально структуры головного мозга;
- глубина зондирования до 240 мм;
- возможность работать в различных режимах визуализации
(двумерном яркостном типа B на весь экран, два изображения B\B на экране,
одномерном M для визуализации перемещающихся биологических структур, трёхмерном
3D, четырёхмерном 4D (3D в РМВ), и др.);
- возможность доплеровских измерений и различных режимов
картирования скорости кровотока и скорости перемещения тканей;
- наличие системы архивирования результатов обследований;
возможность передачи результатов обследований на расстояние по каналам
связи в стандарте DICOM,
эргономика, дизайн,
длительный жизненный цикл, и др.
Ставится задача, чтобы по своим функциональным и диагностическим
возможностям разрабатываемое УЗДУ соответствовало лучшим современным мировым
образцам (например, аппаратам Voluson 730 и Voluson I фирмы General Electric
(США), Nemio фирмы Toshiba (США), SSA 9900 фирмы Medison (Республика Корея) и
др., а по цене было бы намного дешевле, чтобы быть доступным отечественным
медицинским учреждениям.
Современные УЗДУ экспертного класса характеризуются очень большим количеством
параметров (более 100). Задача разработчика УЗДУ состоит в максимизации
интегрального показателя "функциональные и эксплуатационные
параметры/себестоимость". Но с точки зрения упрощения продаж также важно,
чтобы цена прибора не превышала цену приборов конкурентов, даже если эти
приборы конкурентов будут с худшими диагностическими и функциональ-ными
возможностями.
Ввиду наукоёмкости и сложности приборов и, как следствие, участия в
разработке большого количества специалистов различных специализаций, очень
большое значение приобретают вопросы выбора рациональной технологии разработки
и строгого её соблюдения с целью уменьшения количества итераций разработки и
исключения напрасных трудозатрат.
Рис.
2.1. Укрупненная структурная схема УЗ диагностического устройства нового
поколения (с разбивкой на субблоки)
В
состав разрабатываемого УЗДУ входят:
набор
УЗ-датчиков различных типов (универсальных и специализированных для различных
областей медицины) с решётками пьезоэлементов (ПЭ),
многоканальный
ППМ,
сверхбыстродействующая
вычислительная система (СВС).
В
свою очередь, в состав ППМ входят:
многоканальные
передающее и приёмное устройства ((субблоки) СБ ПРД и ПРМ)
СБ
SCAN
Из
медицинской постановки задачи вытекают требования к аппаратным и программным
средствам УЗДУ. А из требований к УЗДУ в целом вытекают требования к отдельным
СБ и модулям программного обеспечения (ПО). Без знания всего УЗДУ в целом
трудно представить работу и правильно разработать отдельные субблоки.
Медицинские, системотехнические, алгоритмические, программотехнические,
схемотехнические, конструкторско-технологические и стоимостные вопросы
неразрывно связаны между собой.
Функциональный
узел коммутатора приёмо-передающих каналов (ППК) присутствует во всех УЗДУ.
Наличие этого функционального узла обусловлено тем, что количество
пьезоэлементов (ПЭ) в решётке УЗ датчика практически всегда намного больше
количества ППК в ППМ УЗДУ.
Увеличение
количества ППК повышает качество УЗ изображений, так как удаётся лучше
аппроксимировать требуемую форму передающей и приёмной УЗ волн и,
следовательно, уменьшить уровень боковых лепестков. Одновременно можно улучшить
поперечную разрешающую способность и повысить быстродействие. Однако,
увеличение ППК увеличивает стоимость УЗДУ. Приходиться идти на компромисс,
максимизируя отношение интегральный показатель качества/стоимость . А раз
количество ПЭ намного больше количества ППК, необходимо осуществлять коммутацию
(пересоединение) последних на ПЭ.
Основные
требования к коммутатору ППК:
программируемость,
гибкость, что позволяет осуществлять электронное управление сканированием, т.е.
перемещать ось симметрии УЗ луча вдоль решёт-ки ПЭ, а также независимо изменять
размер передающей и приёмной субапертур (подрешёток); управлять формой
диаграммы направленности (ДН) и фокусировкой, участвовать в изменении
направления УЗ луча;
надёжная
защита входных цепей приёмных каналов во время излучения зондирующих импульсов
(ЗИ);
отключение
выходных цепей передающих каналов во время приёма эхосигналов;
минимальные
искажения и потери мощности зондирующих импульсов и эхосигналов в цепях
коммутации;
достаточное
быстродействие, малое время коммутации;
обеспечение
модульности построения УЗДУ;
малые
габарито-массовые характеристики (ГМХ), что должно позволять размещать субблок
SCAN вблизи или даже в составе (в корпусе) УЗ датчика;
возможность
использования доступной элементной базы;
экономичность
(малая мощность потребления),
надёжность
работы,
низкая
стоимость.
Известно,
что приведённый ко входу приёмника уровень шума определяет чувствительность
любого локатора, под которой понимается минимальная вели-чина полезного
эхосигнала, который может быть выделен на фоне шумов. Входной каскад должен
обладать как можно меньшим уровнем собственных шумов, так как его шумы
усиливаются следующими каскадами. Теоретически можно разработать приёмник,
чувствительный ко сколь угодно слабым сигналам. Для этого требуется лишь
увеличить число его усилительных каскадов. Однако в реальных локационных
устройствах, наряду с полезным информационным сигналом, всегда имеются шумы,
образующиеся за счёт внешних помех и собственных шумов приёмника. Уровень
собственных шумов в основном определяется шумами первых каскадов приёмника.
Уровень полезных сигналов на выходе ПЭ УЗ датчика УЗДУ имеет уровень одного мкв
при работе на максимальную глубину зондирования. Поэтому при создании
высокочувствительных приёмников УЗДУ одной из важнейших задач является
разработка малошумящих активных и пассивных элементов и усилительных каскадов.
Помимо
чувствительности по отношению к внутренним шумам принято говорить ещё об
эффективной чувствительности, под которой понимается способ-ность приёмника
принимать слабые сигналы с заданным качеством (отношением сигнал/шум) в
условиях воздействия всего ансамбля помех. Для работы УЗДУ в условиях реальной
помеховой обстановки медицинских учреждений требуется надёжно защитить входные
цепи приёмных устройств от промышленных помех, образующихся при работе мощной
диагностической, терапевтической, нагревательной и прочей аппаратуры этих
учреждений. Для этого необходимо рациональное конструирование, тщательная
экранировка и пр.
Основные
требования к малошумящим усилителям (МШУ) УЗДУ:
малый
коэффициент шума,
большой
динамический диапазон,
достаточная
ширина АЧХ,
возможность
программного управления входным импедансом МШУ для его согласования с выходным
импедансом ПЭ,
возможность
управления коэффициентом усиления МШУ по цифровому и аналоговому входам,
реализация
нескольких МШУ в одном корпусе, что уменьшает ГМХ, технологический разброс
параметров и стоимость;
низкая
стоимость микросхем МШУ.
2.2 Входная и выходная информация
На
рис. 2.2 показана классификация входной и выходной информации УЗДУ. В УЗДУ
формируются зондирующие импульсы (ЗИ), которые через УЗ датчик направляются в
тело пациента. Этот же УЗ датчик используется для приема эхосигналов,
отраженных от акустических неоднородностей биологических тканей.
Эхосигналы
обрабатываются в УЗДУ. В результате этой обработки форми-руются УЗ изображения
внутренних органов и мягких тканей с, возможно, нало-женными на них картами
кровотока;
Геометрические
измерения проводятся на "замороженных" изображениях; они могут
включать измерение длины между определенными точками изображе-ния, площади,
периметра или объема интересующей области.
Предусматривается
возможность построения и выдачи гистограммы, мате-матического ожидания и
дисперсии яркостей определенной области изображения.
Результаты
УЗ-исследований могут выдаваться на принтер, термопечать, архивироваться
(записываться в базу данных протоколов УЗ обследований на винчестере),
передаваться на расстояние через сети связи.
Рис.
2.2. Классификация входной и выходной информации УЗДУ
2.3 Принципы работы
В
основе функционирования УЗДУ всех поколений лежит один и тот же общий
физический принцип работы: зондирование области интереса УЗ сигналами и
использование для получения изображения эхосигналов, отражённых от акустических
неоднородностей биологической среды. Однако, по мере прогресса в электронике и
вычислительной технике, методы формирования зондирующих импульсов (ЗИ), способы
сканирования зоны обзора, методы обработки эхосигналов и вторичной обработки УЗ
изображений сильно изменяются (усложняются) от поколения к поколению УЗДУ.
Математические
основы формирования плоского изображения g(x, y) в любой (не обязательно
ультразвуковой) системе интроскопии выражаются следующим соотношением (здесь
для простоты объяснений используется двумерный случай):
(1.1)
где
ƒ(α, β) - двумерная яркостная картина в плоскости объекта
исследования,(x, y) - функция отклика точечного источника (ФОТИ).
Применительно
к УЗДУ прогресс в развитии электроники, вычислительной техники и методов
обработки может быть интерпретирован как улучшение ФОТИ. В предельном случае
идеальной системы интроскопии точке ƒ(α, β) в области объекта соответствует точечное изображение
g(x, y) в области изображения.
Формула
(1.1) полезна для наглядного и сжатого описания сути и анализа работы УЗДУ и
процесса формирования УЗ изображения. Однако, они мало пригодны для синтеза
УЗДУ. Это обусловлено тем, что синтез УЗДУ является творческим процессом и мало
поддаётся формализации, а трудоёмкость определения ФОТИ сравнима с
трудоёмкостью экспериментальной проверки самого УЗДУ. На практике анализ формы
ФОТИ активно используется при выборе и оптимизации формы зондирующих импульсов,
способов сканирования и обработки эхосигналов, определении уровня боковых
лепестков и пр. в процессе моделиро-вания алгоритма синтеза УЗ изображения.
УЗДУ
первых поколений были аналоговыми. В этих УЗДУ использовались аналоговые
способы формирования узких УЗ лучей на передачу и приём. Для соз-дания УЗ лучей
и формирования динамической апертуры использовались линии задержки.
В
УЗДУ третьего поколения использовался метод виртуальных источников (ВИ).
Существо этого метода состоит в предварительной фокусировке УЗ лучей на
передачу от соседних пьезоэлементов (ПЭ) внутри области обзора на некотором
расстоянии от рабочей поверхности УЗ датчика. В точках ВИ суммируется энергия
нескольких соседних ПЭ. Эти точки ВИ затем можно рассматривать как
самостоятельные точечные источники излучения, хотя реаль-ных источников
излучения в этих точках нет (поэтому они и называются виртуальными). Согласно
теории антенн способ создания ВИ не имеет значения. ВИ формируются для
некоторой группы соседних ПЭ (субапертуры). Посредством соответствующей
коммутации ПЭ и приёмо-передающих каналов эта субапертура может перемещаться
вдоль решётки ПЭ УЗ датчика.
ВИ
используются как в режиме передачи, так и в режиме приема.
Применение
метода ВИ в значительной степени было обусловлено задачей улучшить энергетику в
одноканальной (т.е. дешёвой) системе. Кроме того, требо-валось обойти
отсутствие на тот период времени достаточно мощных выходных транзисторов для
формирования ЗИ. Метод ВИ неплохо себя зарекомендовал. Существенным его
достоинством является возможность уменьшить влияние ди-фракционных максимумов
посредством уменьшения расстояния между соседними ВИ до значений, меньших расстояния
между соседними ПЭ решётки УЗ датчика. Этот метод планируется применять и в
новой разработке при необхо-димости использования недорогих УЗ датчиков с
большим шагом расположения ПЭ.
Выводы
В данной главе был рассмотрены основы УЗМДУ, указаны основные параметры и
требования. В медицине УЗМДУ обширно применяются на практике, ультразвкуковое
исследование, как было показано в главе 1, является одним из ключевых в
диагностике РМЖ.
ГЛАВА 3. ИСПОЛЬЗОВАНИЕ МЕТОДА
АКУСТИЧЕСКОЙ РЕЗОНАНСНОЙ ВИЗУАЛИЗАЦИИ ПРИ ДИАГНОСТИКЕ ЗАБОЛЕВАНИЙ
МОЛОЧНОЙ ЖЕЛЕЗЫ
3.1
Описание метода
молочный железа диагностика маммография
В 1997 году «The Trustees of the University of
Pennsylvania (Philadelphia, PA)» заявили
патент под номером №5,997,477.
(перевод патента в
Приложение 3) Автор Chandra Sehgal представил
метод и устройство для обнаружения микрокальцинатов в молочной железе, которые
по некоторым по мнению многих исследователей являются предвестниками рака
молочной железы. Описанный ниже метод позволяет в значительной степени повысить
вероятность обнаружения микрокальцинатов и, соответственно, повысить
вероятность ранней диагностики рака молочной железы. Метод базируется на
утверждении, что микрокальцинаты, находящиеся в молочной железе, возбуждаются
их резонансной частотой и это позволяет обнаружить образования, обладающие даже
очень малой массой.
Микрокальцинаты появляются в МЖ в
виде зерен неправильной формы. Размер микрокальцинатов может лежать в диапазоне
от микроскопических до 2 мм, в основном они имеют размер порядка 100-500
микрон. Важными факторами в дифференциальной диагностике являются размер,
форма, количество и пространственное распределение кальциевых частиц. Как
правило, для того, чтобы с большой достоверностью предположить
злокачественность, необходимо обнаружить, по крайней мере, 5-10
микрокальцинатов.
Как известно, в настоящее время
наиболее распространённым и весьма надежным методом обнаружения
микрокальцинатов является рентгеновская маммография. Другие методы диагностики,
включая сонографию (УЗ диагностику), термографию, световое сканирование,
магниторезонансную визуализацию и пр., не могут достоверно отобразить
кальциевые включения. Поскольку, как упоминалось выше, наличие микрокальцинатов
является важным признаком ранней стадии РМЖ, очень ценно уметь обнаруживать их
при ультразвуковом обследовании. По сравнению с рентгеновской маммографией,
ультразвук не имеет ионизирующего излучения и не известны связанные с ним
побочные эффекты. Это делает ультразвук весьма привлекательным для проведения
регулярных обследований (скрининга) женщин всех возрастов. Несмотря на то, что
методы современной рентгеновской маммографии весьма чувствительны к выявлению
микрокальцинатов, фактическая эффективность, как показала клиническая практика,
при этом низка. Кроме того, рентгеновская маммография не дает информации
о силах сцепления микрокальцинатов с окружающей тканью, что является важным
дополнительным диагностическим признаком. При относительно высоком уровне
положительных маммографических диагнозов уровень их подтверждения биопсией
низок. При этом процедура взятия биопсии болезненна, а ее проведение и анализ -
дорогие. За счет сокращения количества биопсий с отрицательным результатом
можно получить значительную экономию средств. Это может быть достигнуто только
при условии повышения надежности обнаружения микрокальцинатов.
Клиническая практика указывает на
то, что существующие в настоящее время ультразвуковые системы и методы
диагностики могут давать высокий процент как ложноположительных, так и
ложноотрицательных диагнозов и, следовательно, их использование в дополнение к
рентгеновской маммографии ограничено. Существующие методы получения
ультразвуковых изображений используют для визуализации отражение акустических
волн от неоднородностей тканей. Кальциевые включения обладают высокой
отражающей способностью по сравнению с окружающими мягкими тканями и, тем не
менее, надежно идентифицировать их на сонограммах (УЗ изображениях) трудно. Во
многом это потому, что на УЗ изображениях присутствует сильный фоновый шум
(часто это так называемый спекл-шум), вызванный когерентной интерференцией
ультразвуковых волн.
Получение высокого разрешения в
ультразвуковых системах, предназначенных для маммографии, требует решения
целого ряда сложных технических проблем. Так, например, ткань МЖ является гетерогенной
(разнородной), что приводит к быстрому уменьшению энергии УЗ пучка за счет
отражения и рассеивания от многих несогласованных по импедансу поверхностей.
Кроме того, за счет сильной рефракции, вызванной кривизной тканей молочной
железы, УЗ луч расфокусируется. При этом включения, расположенные в
поверхностных слоях МЖ, могут быть искажены или пропущены, так как они
находятся в ближней зоне УЗ датчика.
При существующих методах
однородная интенсивность луча в ближней зоне может вызвать такое отражение от
ткани, окружающей кисту, при котором ее можно принять за твердое включение. По
этой причине, исследования МЖ с помощью датчика, который врач держит в руке,
требует использования либо внешней, либо встроенной в датчик жидкостной
"прокладки". В будущем такие прокладки, по-видимому, будут
представлять собой заполненный жидкостью пакет с откачанным воздухом, который
помещается между датчиком и грудью, или специальный сосуд с жидкостью, или
некоторое устройство.
Включения, которые расположены
глубже, могут также искажаться из-за расхождения луча, ухудшающего поперечное
разрешение. Такого рода искажения могут выражаться в размытии границ включений,
в появлении плотной тени за небольшими включениями и невозможности выявления
небольших включений. Хотя датчики с фазированной антенной решеткой позволяют
получить хорошее разрешение при отображении ткани МЖ, они, как правило, не
обеспечивают корректное отображение подповерхностных включений без
использования специальных устройств, смещающих датчик таким образом, чтобы
подповерхностные включения попадали в его фокус.
Вообще говоря, хотя системы с
высокой разрешающей способностью позволяют достаточно надежно отличить
доброкачественную кисту от плотного злокачественного образования, с их помощью
затруднительно получить изображения микрокальцинатов в ткани молочной железы и
отличить доброкачественные образования от злокачественных.
Отсюда следует необходимость
разработки метода и устройства, обеспечивающего визуализацию с высокой
разрешающей способностью и с возможностью точной оценки положения элемента в
окружающей ткани, в частности, обнаружение, оценку и отображение
микрокальцинатов в МЖ. Метод и устройство, представленные в [3], обеспечивают
получение значительно более качественных изображений, чем при использовании прежних
методов, и, по-видимому, с определёнными доработками, дадут возможность
обнаруживать РМЖ на ранних стадиях этого заболевания.
Каждый микрокальцинат может быть
приведен в состояние резонанса воздействием на него сигналом возбуждения с
частотой, соответствующей собственной резонансной частоте колебаний этого
элемента. Резонансное движение элемента вызывает частотную модуляцию сигнала
визуализации, которым одновременно облучается микрокальцинат и окружающая его
ткань, образуя эхо-сигнал. В соответствии с этим метод, предлагаемый в
изобретении [3], определён термином "Акустическая резонансная
визуализация" (АРВ) ("Acoustic Resonance Imaging" (ARI)).
Отраженный эхо-сигнал будет иметь специфическую частотную характеристику,
обеспечивая, таким образом, возможность точного определения характеристик
микрокальцината.
АРВ может использовать сигналы
возбуждения, имеющие частоты, близкие к заранее определенным резонансным
частотам колебаний микрокальцинатов в конкретном интервале их размеров.
Резонанс элемента на выбранных частотах является высокоинформативным признаком
наличия микрокальцинатов и наличия РМЖ. Кроме того, сила сцепления между
элементом и тканью, измеренная с помощью АРВ, может быть независимым
дополнительным показателем, определяющим важные характеристики, как сама по
себе, так и в сочетании с другими количественными показателями, например, может
подчеркнуть различие между злокачественными и доброкачественными образованиями
и помочь уменьшить количество ложноотрицательных биопсий МЖ. Весьма
вероятно, что такого рода силы сцепления связаны с молекулярными свойствами
включений и механизмом, вызывающим кристаллизацию кальция в определенных
участках ткани МЖ.
Так как АРВ может использовать
интегрированный доплеровский сигнал, это приводит к практическому отсутствию
спекл-интерференции и отображению микрокальцинатов как высококонтрастных
объектов. Так как выявление малых объектов требует высокой контрастности, АРВ
может обеспечить визуализацию значительно меньших по размерам микрокальцинатов,
чем традиционная эхография.
Желательно, чтобы сигнал,
используемый при визуализации, был чувствителен к медленным перемещениям и не
зависел от угла между лучом и направлением движения частиц (угла j). Именно поэтому наиболее предпочтительной является интегрированная энергия
доплеровского спектра, называемая также энергетическим доплером, так как она
чувствительна к медленным движениям и, в то же время, относительно независима
от угла j.
Микрокальцинаты, как правило,
ведут себя как неоднородности, "подвешенные" в мягкой ткани. Такие
неоднородности не являются свободно плавающими. Они связаны с соседней тканью
слабыми силами сцепления, характеризуемыми константой сцепления k. Величина этих
сил зависит от смачиваемости, т.е. гидрофильных/гидрофобных свойств частиц.
Частица кальция, имеющая радиус r и массу m, возбужденная
сигналом, имеющим круговую частоту wd и удельную (на
единицу площади) амплитуду PdO, представляет
собой генератор затухающих колебаний, движение которой моделируется
дифференциальным уравнением второго порядка:
(1)
где c' - коэффициент вязкостного трения (затухания),
пропорциональный скорости движения микрокальцината.
Удобно записать величину c' как произведение m на другую постоянную g, а величину k - как mw20. Если поделить обе части
уравнения на m , то
получим
(2)
Здесь F = 4pr2Pd0cos wt.
Для решения уравнения (2) применим комплексный метод.
Представим F как действительную часть
комплексной величины
, x - как действительную часть комплексной величины
и подставим эти комплексные
числа в соотношение (2). Получим
Поделив обе части уравнения (3) на exp (iwt), найдём отклик
осциллятора на силу
:
(4)
Итак, отклик
равен силе
, умноженной на некоторый множитель, который обычно
обозначается буквой R:
.
Решение дифференциального уравнения для x дает функцию
отклика для скорости частицы.
(2)
где R и θ определяются формулами (3) и (4) соответственно:
(3)
(4)
Рис 3.1 Значения скоростных откликов (резонансные кривые)
для различных сил сцепления
На рис. 3.1 приведены графики величины R. Кривые а - е показывают
скоростной отклик R для
значений g порядка 0.001, 0.01, 0.05, 0.1 и 0.5, соответственно.
Сила взаимодействия между микрокальцинатами и мягкой
тканью зависит, как правило, от смачиваемости частиц. Отношение между
смачиваемостью и сцеплением можно рассматривать в терминах межфазного
напряжения, являющегося функцией свободной энергии на единицу площади поверхности
раздела. Работа WCS силы сцепления между микрокальцинатом C и мягкой тканью S определяется как приращение свободной энергии,
приводящее к разделению двух компонентов. Если γi (i = C; S)- поверхностное натяжение, то:
(5)
Если θCS - угол контакта между
микрокальцинатом и мягкой тканью, то
(6)
Или
(7)
Величина
называется адгезионным напряжением и является мерой
коэффициента k.
Для различных биологических жидкостей (слюна,
"телесная" жидкость, кровь и пр.) величина γS лежит
в диапазоне 15-60 дин/см. Эта величина для внутритканевой жидкости, которая, в
первую очередь, отвечает за смачивание микрокальцинатов, может иметь
сопоставимое значение, а константа kCS может лежать в диапазоне 10-100 дин/см, в зависимости от
морфологии поверхности, угла контакта θ и величины gS. В пределах тканевого объёма
адгезионное напряжение между соседними областями определяется слабыми
физическими силами водородных связей. Связывающая энергия водородных связей,
как правило, имеет порядок 5-10 Ккал/моль, что приводит к тому, что константа kSS для ткани имеет порядок 105
дин/см.
На рис.3.1 (а-е) представлены значения скоростных
откликов для микрокальцинатных включений с размерами между 100 и 500 микрон на
частоте возбуждения около 100 Гц (при значении абсциссы, равном 1). Для
окружающих мягких тканей величина w/w0=ωd/ωn (см.
формулу (1)) меньше, чем 10-5 и далеко отстоит от пика резонансной
частоты колебаний микрокальцината. Таким образом, микрокальцинат в ответ на
внешнее возбуждение может начать сильно вибрировать, в то время как окружающая
ткань этого не делает. Если, одновременно с внешней вибрацией, среда облучается
высокой частотой визуализации f0, то
резонансный эхо-сигнал, отраженный от микрокальцината, будет частотно
модулирован благодаря эффекту Доплера. Частотный сдвиг Δf(r) равен:
(8)
где Fd0 = 4πr2.
На частоте, близкой к резонансной, ωd/ωn = 1. Следовательно, R=l/2ς, φ =π/2 и доплеровский сдвиг равен:
, (9)
где нижний индекс R представляет резонанс, а x=g/2. Так как микрокальцинат движется к и от
датчика, доплеровский спектр будет лежать в интервале :
от
до
Если A1 -
амплитуда сигнала, рассеиваемого резонирующими структурами, интегральная
мощность доплеровского спектра будет равна:

(10)
Возможны два типа нерезонансных структур: те, для которых
частота возбуждения значительно ниже их резонансной частоты (ωd << ωn), и те, для которых (ωd >> ωn). В первом случае это определяется упругостью (или эластичностью). Этим
условием характеризуется мягкая ткань с отдельными элементами, связанными
силами, подобными силам водородной связи и силам межмолекулярного притяжения. С
другой стороны, второй случай определяется массой и описывает поведение больших
структур типа сухожилий и артерий. Следуя изложенному выше подходу,
использующему интегральный энергетический доплер, для нерезонансных случаев
можно показать, что:
(11)
и
(12)
Отношение интегральной мощности доплеровского сигнала от
резонирующих микрокальцинатов к нерезонирующей окружающей мягкой ткани
определяется отношением βPD уравнений (10) и (11):
где индексы C и S обозначают кальциевое включение и
мягкую ткань, соответственно.
Если положить для простоты, что рассеивание, вызываемое
различными тканевыми структурами, соизмеримо и ζ =
0.5, то частица
кальция размером 100 микрон, окруженная 10-микронными клетками, даст
интегральное значение энергии доплеровского спектра в 105 - 106
раз большее, чем интегральное значение отражённой доплеровской энергии от
окружающей ткани. Так как при визуализации в приёмных каскадах УЗ
диагностических устройств обычно используется логарифмическое сжатие, то, в
принципе, изображение микрокальцинатов будут в пять - шесть раз ярче окружающих
областей.
3.2 Реализация устройства
Устройство должно включать в себя в себя передатчик,
контактирующий с тканью и проецирующий на элемент сигнал с частотой
визуализации, часть которого отражается от элемента. Кроме того, в устройство
входит передатчик сигнала возбуждения, также контактирующий с тканью и
облучающий элемент сигналом с частотой возбуждения, который заставляет элемент
резонировать на резонансной частоте элемента. При этом отраженная часть сигнала
возбуждения объединяется с отраженной частью сигнала визуализации, образуя
резонансный эхо-сигнал. Приемник, контактирующий с тканью, и устройство
обработки, подключенное к приемнику, принимают и обрабатывают резонансный
эхо-сигнал и обеспечивают воспринимаемое представление сигнала от элемента.
В
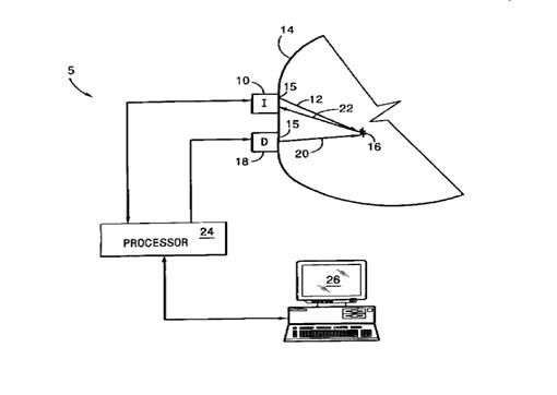
одной из реализаций изобретения, проиллюстрированной на рис. 3.1, устройство
включает в себя трансдюсеры 10 и 18, устройство обработки 24 и устройство
визуализации 26. В трансдюсер 10 входит передатчик, облучающий сигналом
визуализации 12 элемент 16. Предполагается, что трансдюсер 10 контактирует с
тканью 14 с помощью хорошо известных методов обеспечения акустического
контакта, например, с помощью контактного геля 15. Могут быть использованы и
другие методы обеспечения акустического контакта, включая и те, которые
предполагают интегрирование специальных устройств в трансдюсер 10.
Рис
3.2. Пример устройства визуализации
Передатчик
трансдюсера 10 излучает сигнал визуализации 12 на соответствующей частоте,
которая для молочной железы должна быть близка к 6 МГц. От элемента 16
отражается часть сигнала визуализации 12, определяемая отражательной
способностью этого элемента. Передатчик 18 сигнала возбуждения облучает элемент
16 сигналом возбуждения 20. Как и в случае трансдюсера 10, передатчик 18 должен
контактировать с тканью 14, например, с помощью контактного геля 15. Так как
каждый элемент может иметь собственную резонансную частоту, передатчик сигнала
возбуждения 18 может излучать сигнал возбуждения 20 на частоте, определяемой
пользователем таким образом, чтобы эта частота была близка к собственной
резонансной частоте элемента 16. Под воздействием сигнала 20 элемент 16
резонирует и отраженная часть сигнала возбуждения, объединяясь с отраженной
частью сигнала визуализации 12, образует резонансный эхо-сигнал 22. Резонансный
эхо-сигнал имеет набор параметров, представляющих размер, форму, структуру и
пространственное распределение элемента. Набор параметров может, также
содержать информацию, касающуюся силы сцепления, например, адгезионного
напряжения, между элементом 16 и тканью 14. Кроме того, он может включать доплеровский
сигнал, представляющий элемент. В свете сказанного выше, анализируя резонансный
эхо-сигнал, можно получить характеристики отклика самого элемента, элемента
относительно окружающей ткани или того и другого. Для того, чтобы вызвать
резонанс элемента 16, передатчик сигнала возбуждения 18 обеспечивает излучение
сигнала возбуждения на частотах в диапазоне 20 - 2000 Гц. Как правило,
отношение частоты возбуждения к собственной резонансной частоте элемента лежит
в диапазоне 0,1 - 10. Если элемент 16 представляет собой кальциевую
неоднородность, а ткань является мягкой тканью молочной железы, то размер
элемента может находиться в диапазоне 10 мк -2 мм. Передатчик 18 может также
обеспечивать передачу многочастотного сигнала, имеющего суммарную энергию
совокупности частот, чтобы "высветить" элементы, размер которых лежит
в некотором предполагаемом диапазоне. Например, микрокальцинаты в женской
молочной железе, как правило, имеют размер от 50 до 500 микрон.
На
рис. 3.3 приведена полная блок-схема метода, соответствующего изобретению [3].
Первый шаг включает излучение сигнала возбуждения и возбуждение элемента в
ответ на этот сигнал. Сигнал возбуждения может иметь заранее выбранную частоту,
либо сканировать по частотному диапазону. Например, для микрокальцинатов в МЖ,
сигнал возбуждения может лежать в диапазоне 20 Гц -2000 Гц. Кроме того, метод
включает излучение сигнала визуализации с предварительно выбранной частотой. По
крайней мере, часть сигнала визуализации является частотно-модулированной
колебательным движением элемента и часть этого частотно-модулированного сигнала
отражается от элемента как резонансный эхо-сигнал. Резонансный эхосигнал имеет
набор характеристик, которые представляют размер, форму, структуру и
распределение элемента. В наборе характеристик может быть представлена сила
сцепления элемента с окружающей тканью. Часть сигнала визуализации, отражаясь
от других структур в ткани, например, от неоднородностей в самой ткани железы,
образует эхо-сигнал визуализации. Далее в методе 50 принимается резонансный
эхо-сигнал и эхо-сигнал визуализации. Так как резонансный эхо-сигнал несет в
себе набор параметров, характеризующих элемент (эхо-профиль), то метод включает
анализ эхо-профиля для генерации "воспринимаемого" представления
элемента. Если необходимо, метод может включать отображение воспринимаемого
представления, т.е. элемент может быть визуализирован. В предполагаемой
реализации изобретения шаг анализа эхо-профиля может включать шаг интегрального
доплеровского анализа. Интегральный доплеровский анализ может быть, в свою
очередь, использован для визуализации элемента и ткани. В контексте диагностики
РМЖ, изложенный здесь метод может использоваться для обнаружения, определения
характеристик и визуализации микрокальцинатов в МЖ.
Рис3.3 Укрупнённая блок-схема процедуры АРВ
3.3 Анализ метода
акустической резонансной визуализации
В основу метода акустической резонансной визуализации
положена хорошая идея. Из предыдущего раздела видно, что эта идея состоит в
следующем. Так как визуализация микрокальцинатов, являющихся основными
предвестниками рака молочной железы, затруднена из-за их очень малых размеров и
маскируемости их шумами на УЗ изображениях, предлагается вызывать резонансные
колебания микрокальцинатов посредством облучения их сигналом от отдельного
внешнего генератора. Колебания микрокальцинатов будут вызывать доплеровское
смещение сигнала визуализации. Это смещение можно уловить посредством
доплеровских измерений, выполняемых устройством визуализации.
С точки зрения теории обнаружения современной
радиолокации это один из самых чувствительных методов, так как сигнал с заранее
известными параметрами можно обнаружить посредством согласованной фильтрации,
даже если он намного ниже уровня шума.
Однако, сразу видно, что при практической реализации метода
возникнут трудности:
-
из-за случайного разброса массы микрокальцинатов и вязкости тканевой жидкости
собственная частота резонансных колебаний
также
будет случайной величиной. В [3] указано, что резонансная частота может
находиться в диапазоне от 20 Гц до 20 КГц. Поэтому нельзя считать частоту
колебаний и, следовательно, параметры эхосигнала заранее известными. Придётся
разрабатывать генератор ступенчато-изменяющейся частоты. Шаг ступенек придётся
делать мелким, так как спектр резонансных колебаний - узкий. Длительность
каждой ступеньки должна быть такой, чтобы резонансные колебания успевали
установиться. Всё это увеличит время анализа и усложнит аппаратно-программные
средства устройства;
·
доплеровский
сигнал будет слабым; его трудно будет обнаружить.
В любом случае методы и устройства ранней диагностики
РМЖ должны быть обсуждены с маммологами, пройти тщательную
технико-экономическую экспертизу, а разработанный опытный образец устройства
должен пройти тщательные и всесторонние клинические испытания.
В связи с этими обстоятельствами в НИИТП начали
разрабатывать метод обнаружения микрокальцинатов, свободный от указанных
недостатков.
Выводы
В настоящее время одним из
наиболее надежных методов визуализации микрокальцинатов является
рентгеномаммография. Одним из недостатков рентгенодиагностики является наличие
ионизирующего излучения. При ультразвуковой диагностике ионизирующее излучение
отсутствует, и она считается менее опасной для молодых женщин, чем
рентгеномаммография. Кроме того, рентгеномаммография не дает информации о
силах сцепления кальцинатов с окружающей тканью. К сожалению, клинические
испытания показали, что ультразвуковая диагностика дает высокий процент
ложноположительных и ложноотрицательных диагнозов. Метод АРВ позволяет
совершать раннюю диагностику с более точным результатом, удволетворяя всем
требованиям.
В данной главе:
1. Описан метод акустической резонансной визуализации, как один из
методов раннего (доклинического) исследования заболеваний молочной железы.
. Введено понятие «микрокальцинат»
. Приведено подробное описание использования предложенного алгоритма для
оценки параметров структуры МЖ, которые затем используются для
дифференцирования ткани МЖ.
ГЛАВА 4. ИСПОЛЬЗОВАНИЕ МЕТОДА НЕПРЕРЫВНОГО ВЕЙВЕТ-ПРЕОБРАЗОВАНИЯ
(НВП) ПРИ ДИАГНОСТИКЕ ЗАБОЛЕВАНИЙ МОЛОЧНОЙ ЖЕЛЕЗЫ
4.1 Обзор литературы по перспективным работам в
области ранней диагностики заболеваний молочной железы
Описанный ниже метод метод является одним из перспективных по ранней
диагностике заболеваний МЖ, а также диагностирующим появление опухоли на
клеточном уровне. В отличие от традиционных методов, в которых диагностика
проводится по изображению, здесь используется первичный радиочастотный
эхосигнал, ещё не искажённый процессом формирования изображения.
Дифференциация между доброкачественной и злокачественной тканью МЖ
возможна, хотя специфичность не более 70%. Несколько исследований in vivo пытались характеризовать ткань, используя
удовлетворительные приближения, которые используют средства обработки сигналов.
Например, Shankar и др. [10] использовали набор
параметров, который включал отношение сигнал/шум (с/ш) и эффективное число
рассеивателей, оцененных моделированием огибающей эхосигнала рассеивателей с k распределением. Эти авторы, однако,
не приняли во внимание корреляцию между соседними рассеяниями.
Названные методы пытались характеризовать ткань МЖ до инвазивного
процесса биопсии. Биопсия МЖ - дорогой и неприятный процесс для пациентки;
много усилий направлено на снижение числа необходимых биопсий. Данная работа
также нацелена на снижение биопсий посредством характеризации ткани ее УЗ
картиной. Предложен простой и быстрый алгоритм - алгоритм декомпозиции с
использованием непрерывного вейвлет - преобразования (НВП) для извлечения структурных
параметров ткани МЖ посредством наблюдения эхосигнала. Оцененные параметры
затем используются в качестве сигнатуры ткани.
Результаты исследований подтверждают способность данной системы
распознавать нормальную и патологическую ткань посредством использования единых
параметров, таким образом, понижая статистические ошибки, возникающие при
использовании большого количества параметров. Результаты представлены в
терминах эмпирической рабочей характеристики приёма (
-кривой; Receiver Operating Characteristics) - широко известного метода для
характеристики эффективности оценки. Преимущество ROC-кривой состоит в том, что она описывает эффективность
диагностического метода (вероятность обнаружения) в некоторой зависимости от
степени ложных тревог и суммирует эффективность метода в одном числе, которым
является площадь под ROC-кривой.
Высокая ROC-область (ограниченная 1) выражает
высокую вероятность обнаружения при данной ложной тревоге.
4.2 Метод декомпозиции РЧ эхосигнала
Метод декомпозиции РЧ эхосигнала рассеивателя на его компоненты
рассеивания был впервые предложен в 1997 году Сohen F.S. Данный метод
позволял находить неизвестные параметры сигнала в предположении периодичности
когерентного компонента. Это предположение является важным для УЗ изображений
печени из-за регулярности структуры печени. К сожалению, эта форма не может
быть использована для РЧ эхосигнала таких органов как МЖ из-за нерегулярности
структуры.
Новый алгоритм декомпозиции для УЗ эхосигнала применим для тканей с
нерегулярной структурой, таких как МЖ. Основной идеей алгоритма НВП является
декомпозиция РЧ сигнала на когерентную и дффузную части. Диффузная часть
отражает на эхограмме строение ткани и существует вследствие большого числа
наугад сконцентрированных неразрешаемых рассеивателей в опухолевой клетке.
Когерентный компонент содержит информацию, имеющую отношение к разрешаемым
рассеивателям в ткани. Предлагаемая декомпозиция не требует выполнения
предположения периодичности когерентной части. Это позволяет моделировать
каждый компонент в отдельности, и извлекать особенности, которые несут
количественную информацию о структуре ткани. Эти особенности и используются для
тканевой характеристики МЖ.
Эхосигнал является нестационарным из-за существования нерегулярно
локализованных разрешаемых рассеивателей. Для определения временной локализации
спектральных компонент необходимо знать частотно-временное представление
сигнала. Данную задачу решают несколько методов преобразования сигналов:
квадратичное частотно-временное преобразование (КЧВП) (например, распределение
Вигнера), линейное частотно-временное преобразование (такое как кратковременное
(оконное) преобразование Фурье (ОПФ)), а также непрерывное
вейвлет-преобразование (НВП). Квадратичное частотно-временное преобразование не
является подходящим для многокомпонентных сигналов с различными частотами
вследствие того, что они вызывают смешение компонентов. В данном случае имеется
двухкомпонентный сигнал (когерентный и диффузный), который содержит в себе далеко
отстоящие друг от друга частотные компоненты, следовательно, очевиден выбор
линейного частотно-временного представления (ЛЧВП). ОПФ является дополнением к
преобразованию Фурье при частотно-временном анализе, но успешное применение
метода определяется выбором ширины оконной функции. Если частоты сосредоточены
в небольших временных интервалах, то использование узкого окна является
наилучшим (сигнал стационарен в пределах окна), но частотное разрешение
ухудшается (не известны точно присутствующие в сигнале частоты, а только полосы
частот). НВП более гибкий метод и достигает хорошей согласованности между
временной и частотной локализацией. В случаях биомедицины обычно используется
именно метод НВП.
.3 Отражение структуры молочной железы
компонентами РЧ сигнала
Нормальная МЖ состоит из четырех основных типов рассеивателей: жир,
паренхима (протоки и альвеолы), рыхлая соединительная ткань и плотная
соединительная ткань [6]. Если принять во внимание размер протоков (которые
сравнимы с размером мелких долек) и создание процесса обратного рассеивания, то
можно сделать вывод, что эхо жировой границы протока и жировой границы мелких
долек обнаруживается с помощью обычных УЗ устройств, используемых в наше время.
А остаются жировые клетки, которые находятся внутри мелких долек и в
пространстве между долями. Эти рассеяния образуют неразрешаемую часть УЗ
сигнала МЖ. Когда появляется болезнь, тканевая структура меняется. Тканевые
характеристики, оцененные по компонентам РЧ сигнала, и отражают эти изменения
так, чтобы было возможно распознавание между нормальной тканью и различными
типами болезней МЖ.
В 90% раковых случаях болезнь зарождается в протоковом эпителии.
Поскольку раковые клетки разрастаются, то протоковый эпителий подвергается
гиперпластичному росту, как видно на рисунке 4.2. Эти результаты изменяют
характеристики и диффузного и когерентного компонента эхосигнала. Фиброзные
изменения характеризуются образованием кист, увеличением фиброзной ткани,
доброкачественной формой изменения протоков, и началом клеточных изменений.
Фиброаденома является наиболее общим доброкачественным новообразованием МЖ. Она
является доброкачественной опухолью, сочетающей удлиненные протоки и
гиперпластчную строму, похожую на внутридольковую соединительную ткань.
.4 Модель РЧ эхосигнала
В предположениях слабости рассеивания, узкости УЗ луча и линейного
распространения модель точечного рассеивания является адекватной моделью и
широко используется в литературе [5].
Пусть h(t) - это УЗ импульс и s(t) - распределение
рассеивателя. Тогда РЧ эхосигнал y(t) это:
(t) = s(t) * h(t) = c(t) + d(t), (1)
где c(t) - это взаимодействие импульса с разрешаемыми
рассеивателями:
, (2)
где
Nc - это число когерентных рассеивателей,
θn - время
задержки распространения эхосигналов от когерентных рассеивателей до приемника
и
сn
- их относительная интенсивность.
В
формуле (1) d(t) - это взаимодействие импульса с хаотично
сконцентрированными диффузными рассеивателями, d(t)
вычисляется следующим образом:
, (3)
где Ns - это число неразрешаемых центров
рассеяния,
τn - время задержек от диффузных рассеивателей до
приемника и
dn - их относительные силы.
РЧ эхосигнал y(t) - дискретизируется, получается
А-линия y(n).
Декомпозиция РЧ сигнала происходит на две его компоненты:
(n) = c(n) + d(n), (4)
где диффузный компонент d(n) моделируется как начальный
авторегрессионный процесс с нулевым средним порядка p (AР(p)) (p = 5), обуславливающий последовательность ω(n) белого шума с нулевым средним (не
обязательно Гауссовского) с дисперсией σ2 :
. (5)
Чтобы
смоделировать когерентную компоненту c(n), необходимо
рассмотреть формирование РЧ сигнала. Разрешаемая рассеивающая структура может
быть представлена как суммирование d-функций,
локализованных в разрешаемых местах расположения рассеивателей со случайной
интенсивностью. Импульс преобразователя хорошо аппроксимируется как синусоида,
модулированная Гауссовской. Поскольку исследуются большие разрешаемые
рассеиватели, когерентный компонент c(n) может быть
смоделирован как суперпозиция синусоид, промодулированных Гауссовой функцией:
, (6)
где
ωс -
центральная частота преобразователя,
mi -
выражает местоположение когерентного рассеивателя,
σci -
параметр, относящийся к полосе частот преобразователя,
Аi
- относится к интенсивности когерентного рассеивателя и
Nc -
количество когерентных рассеивателей в исследуемом окне.
Известным
параметром является только параметр ωс.
Из
(2) и (3) следует, что два компонента перекрываются во временной и частотной
области, поэтому необходим частотно-временной анализ, чтобы декомпозировать
сигнал.
4.5 Понятие «вейвлет», «вейвлет-преобразование»
Английское
слово wavelet можно формально перевести на русский язык
словосочетанием «небольшая волна» или «небольшое колебание» [2]. Смысл данного
термина - в наглядно-образной форме указать на те требования, которым обязана
соответствовать некоторая функция ψ(t) для того,
чтобы принадлежать к этому классу:
- график такой функции должен осциллировать вокруг нуля
в окрестности некоторой точки на оси t, причем:
, (7)
норма
функций должна быть конечной:
. (8)
Конкретный
выбор того или иного вейвлета целиком зависит от характера поставленной задачи
и от вида анализируемого сигнала.
Дискретный
вейвлет-анализ - это представление сигналов в виде обобщенного ряда Фурье по
системе базисных функций, возникающих из некоторого исходного (порождающего)
вейвлета ψ(t) за
счет операций сдвига во времени и изменения временного масштаба.
Вейвлет-преобразование.
По определению, вейвлет-преобразованием сигнала y(t)
является функция двух переменных:
, (9)
где
y(t) - это анализируемый сигнал,
s и τ - параметры масштаба и сдвига соответственно,
ψ0 -
функция преобразования (материнский вейвлет),
*
- означает сопряжение.
По
своему смыслу вейвлет-преобразование полностью соответствует ПФ. Однако здесь
ядром интегрального преобразования вместо функции ехр(-jωt) служит материнский вейвлет ψ0((t - τ)/s).
Вейвлет
локализован как во временной, так и в частотной областях, что делает
рассматриваемый метод весьма подходящим для описания всевозможных импульсных
сигналов, которые не обладают четко выраженной периодичностью.
Вейвлет-преобразование
Wy(s, τ) является функцией двух аргументов, первый из которых
аналогичен периоду осцилляции (т.е. обратной частоте), а второй - смещению сигнала
вдоль оси времени. Ясно, что если изучаемый сигнал y(t)
представляет собой некоторый одиночный импульс, сосредоточенный в окрестности
точки t = t0 и
имеющий длительность τи, то его
вейвлет-преобразование будет принимать наибольшее значение в окрестности точки
с координатами s = τи, τ = t0
Равенство
(9) при заданной левой части может рассматриваться как интегральное уравнение
относительного сигнала y(t). Решение этого уравнения дается формулой обратного
вейвлет - преобразования:
. (10)
В
последние годы техника вейвлет-анализа стала с успехом использоваться для
решения многих актуальных задач, прежде всего для сжатия и распознавания
сигналов. Косвенным подтверждением ценности этого метода является то, что
алгоритмы вейвлет-анализа достаточно полно представлены в составе широко
распространенного прикладного пакета Mathlab.
Формула
(10) имеет высокую вычислительную сложность. Однако, существуют другие методы
аппроксимации для выполнения обратного преобразования, которые имеют
существенно меньшую вычислительную сложность. Один из них использует δ-функцию, чтобы реконструировать сигнал [2]:
, (11)
. (12)
Эту
формулу эмпирически получил Морле, и она используется в данной работе. Этот
метод реконструкции был выбран потому, что он объединяет быстроту вычислений
(одномерный интеграл вместо двумерного как в (10)), а также обеспечивает
точность.
Выводы
.
Описаны понятия “вейвлет” и “вейвлет-преобразование”..
.
Рассмотрено представление структуры МЖ диффузным м компонентами РЧ сигнала.
.
Приведено описание использования предложенного алгоритма для оценки параметров
структуры МЖ, которые затем используются для дифференцирования ткани МЖ.
.
Представлена дискретная реализация метода НВП.
ВЫВОДЫ
. В работе рассмотрена анатомия молочной железы и ее патология.
. Было установлено, что одним из предвестников рака молочной
железы являются микрокальцинаты, хотя некоторые ученые настаивают, что этот
фактор не является стопроцентным доказательством диагностики рака молочной
железы.
. Рассмотрены и описаны все действующие методы диагностики рака
молочной железы.
. Рассмотрены основные параметры и требования УЗМДУ.
. По Патентному Фонду США был проведен обстоятельный патентный
поиск. По ключевым словам breast cancer,
определяемым по всему тексту патентов, было выявлено более 1500 патентов.
. Проведён дополнительный патентный поиск по ключевым словам cancer visualization (согласованный фильтр) AND wall filter, который выявил 381 патентов.
. Был подробно рассмотрен один из патентов, основанный на
визуализации микрокальцинатов в груди.
. Установлено, что метод позволяет выявлять микрокальцинаты малых
размеров, что позволяет диагностировать рак молочной железы на ранних стадиях.
. Был изучен метод неприрывного вейвлет-анализа применительно к
диагностики рака молочной железы.
БИБЛИОГРАФИЧЕСКИЙ СПИСОК
1. Осипов
Л.В. Ультразвуковые диагностические приборы. М., Видар, 1999.
. Баскаков
С.И. Радиотехнические цепи и сигналы. М., Высшая школа, 2003.
3. Sehgal.
Apparatus for imaging an element within a tissue and method therefor. Устройство и метод для визуализации
элемента внутри ткани. United States Patent № 5,997,477. 1999.
. Поликар
Р. Введение в вейвлет-пребразование. Пер. Грибунина В.Г. СПб. АВТЭКС, 2001.
5. Заболевания
молочной железы. П.И.Зима, Ю.Ф. Пауткин / Учебн. пособие. - М.: Изд-во РУДН,
1996.
. Патология
молочной железы. Э.Л. Нейштадт, О.Л. Воробьева - Санкт-Петербург: ООО
«Издательство Фолиант», 2003.
. .
Рак молочной железы, учебное пособие Куликов Е.П. , Рязань, 2002.
. Ультразвуковое
исследование молочной железы под ред. А.М. Диксон, Практическая медицина, 2011
год.
.
10. Allen;
James Patrick, (Austin, TX), Apparatus for the reliability of host data stored
on fibre channel attached storage subsystems
11. Половко
А.М., Бутусов П.Н. MATLAB для
студента. СПб, БХВ-Петербург, 2005.
. http://impedance.ru/product_stat.html
. Новиков
Л.В. Основы вейвлет-анализа сигналов. Учебное пособие. СПБ. 1999.
. Алексеев
Е.В., Чеснокова О.В. Самоучитель MATLAB
7.0. М., NT-Press. 2006.
. Фирма
NS. Фирменные описания микросхем для
построения УЗМДУ.