Цифро-аналоговое преобразование сигналов в микроконтроллерных системах

  • Вид работы:
    Практическое задание
  • Предмет:
    Информатика, ВТ, телекоммуникации
  • Язык:
    Русский
    ,
    Формат файла:
    MS Word
    112,06 Кб
  • Опубликовано:
    2012-11-04
Вы можете узнать стоимость помощи в написании студенческой работы.
Помощь в написании работы, которую точно примут!

Цифро-аналоговое преобразование сигналов в микроконтроллерных системах

Федеральное агентство по образованию

Государственное образовательное учреждение высшего профессионального образования

«Национальный исследовательский Томский Политехнический университет»

Институт - кибернетики

Кафедра - ИКСУ





Лабораторная работа №3

ЦИФРО-АНАЛОГОВОЕ ПРЕОБРАЗОВАНИЕ СИГНАЛОВ

В МИКРОКОНТРОЛЛЕРНЫХ СИСТЕМАХ











Томск 2011 г

Цель работы: изучить основные типы цифроаналоговых преобразователей, получить навыки составления программ, синтезирующих аналоговый сигнал заданной формы, для микроконтроллеров AVR.

Задание:

.   Изучить теоретический материал;

2.       Исследовать приведенный пример в пакете VMLab:

.        Выполнить задание в соответствии с указанным вариантом (табл. 1);

4. Табл. 1. Индивидуальное задание

№ п/п

Рисунок

Задание

1

Реализовать периодический сигнал следующей формы:  экспонента y=ex. прямая пропорциональность y=kx гипербола  ступенчатая функция Недостающие значения вычислить или взять произвольно, добившись наибольшего соответствия итогового графика заданному.

 

Цифроаналоговый преобразователь (ЦАП) - функциональный узел, однозначно преобразующий кодовые комбинации цифрового сигнала в значения аналогового сигнала. Основой для нахождения однозначного соответствия может служить напряжение на выходе ЦАП

(1)

где E0 - опорное напряжение; - цифровой код; xi принимают значения «0» или «1». При определенном значении E0 каждому xi на выходе устройства соответствует напряжение Uвых.

В цифроаналоговых преобразователях используют три основных двоичных кода: прямой, смещенный, дополнительный. Графики соответствия цифровых кодов хвх и аналогового напряжения Uвых при прямом (а), смещенном (б) и дополнительном (в) кодах показаны на рис. 1.

Рис. 1 Графики соответствия цифровых кодов и выходных напряжений

Наиболее просто определяется соответствие цифровых и аналоговых величин при прямом коде. Этот код удобен при преобразовании сигналов следящих систем, так как при переходе через нуль не меняются старшие разряды кода, что позволяет реализовать линейный переход от малых положительных к малым отрицательным выходным напряжениям. Для преобразования как положительных, так и отрицательных кодов используют знаковый разряд, который управляет переключением выходного напряжения ЦАП.

Для исключения коммутирующих элементов из схемы ЦАП используют смещенный код, являющийся наиболее простым для реализации в схеме преобразователя.

При применении дополнительного кода положительные числа преобразуются так же, как для прямого кода, а отрицательные - двоичным дополнением соответствующего положительного числа (инверсия всех разрядов с последующим добавлением единицы в младший разряд).

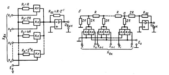
Рациональным способом уменьшения количества номиналов резисторов является использование резистивной (лестничной) матрицы R-2R, изображенной на рисунке 2б.

Выражение (1) реализуется схемой ЦАП (рис. 2а) непосредственно, так как соотношение Roc/Ri равно весу соответствующего хi. Схема ЦАП на основе матрицы R-2R также реализует выражение (1). Так как потенциал суммирующей точки операционного усилителя равен нулю, то, анализируя эквивалентную схему на рис. 2а, можно записать для точки а


где Ki - коэффициент передачи Е0 в точку а от разряда цифрового кода с соответствующим индексом.

Рис. 2. Схемы ЦАП: а) с двоично-весовыми резисторами; б) на основе резистивной матрицы R-2R

Значения коэффициентов можно определить, изменяя конфигурацию эквивалентной схемы, при условии равенства единице только одного разряда цифрового кода (метод наложения э.д.с). На рис. 3 приведена эта матрица.

цифровой аналоговый преобразователь программирование

Рис. 3. Схемы резистивной матрицы R-2R

Из рис. 3 следует, что:


Схемы ЦАП, представленные на рис. 2, обладают одним существенным эксплуатационным недостатком: при переключении различных кодовых комбинаций (особенно типа 0111…111→1000…000) в матрице в мгновение происходит микромощное перераспределение токов, в результате чего схема излучает помеху. Поэтому все современные ЦАП в интегральном исполнении по каждому хi коммутируют 0 В вместо Е0.

Рис. 4. Реализация схемы ЦАП на микроконтроллере

Стоит отметить, что емкость фильтрующего конденсатора выбирается таким образом, чтобы на аналоговый выход пропускалась лишь основная частота сигнала, а высокочастотные помехи подавлялись. Проверить это можно, подставив значения в формулу:

 

τ.=RC,

Дискретные значения функции y(t) для первой четверти периода

n

0

1

2

3

4

5

6

7

8

9

y[nT]

0

8

16

24

32

39

46

53

66

n

10

11

12

13

14

15

16

17

18

19

y[nT]

72

78

82

87

91

94

97

99

101

102

Листинг файла проекта VMLab

.MICRO "ATmega16"

.TOOLCHAIN "GENERIC"

.TARGET "dac5.hex"

.POWER VDD=5 VSS=0 ; Power nodes

.CLOCK 4meg ; Micro clock ; Trace (micro+signals) storage time

; Micro nodes: RESET, AREF, PA0-PA7, PB0-PB7, PC0-PC7, PD0-PD7, ACO, TIM1OVF

; Define here the hardware around the microPD7 Uzel_1 10kUzel_1 VSS 180n

.PLOT V(Uzel_1)

.PLOT V(PD7)

Для АЦП на матрице R-2R

.MICRO "ATmega16"

.TOOLCHAIN "GENERIC"

.TARGET "dac.hex"

.POWER VDD=5 VSS=0 ; Power nodes

.CLOCK 4meg ; Micro clock ; Trace (micro+signals) storage time

; Micro nodes: RESET, AREF, PA0-PA7, PB0-PB7, PC0-PC7, PD0-PD7, ACO, TIM1OVF

; Define here the hardware around the microPA7 Uzel_1 20KUzel_1 Uzel_2 10KPA6 Uzel_2 20KUzel_2 Uzel_3 10KPA5 Uzel_3 20KUzel_3 Uzel_4 10KPA4 Uzel_4 20KUzel_4 Uzel_5 10KPA3 Uzel_5 20KUzel_5 Uzel_6 10KPA2 Uzel_6 20KUzel_6 Uzel_7 10KPA1 Uzel_7 20KUzel_7 Uzel_8 10KPA0 Uzel_8 20KUzel_8 VSS 20KUzel_1 VSS 800p

.PLOT V(Uzel_1)

Вывод

В ходе данной лабораторной работы получили навыки работы с программированием портов ввода вывода микроконтроллера AVR. Были построены 2 принципиально разных АЦП: на матрице R-2R и с использованием ШИМ. Приведенные схемы имеют различное строение. В результате сравнения выявлено, что схема на матрице R-2R требует больших материальных затрат, чем ШИМ. Однако в некоторых ситуациях эта схема более предпочтительна. Смеха с ШИМ, в отличие от вышеописанной, требует всего лишь один ПИН-порт вывода, но не столь точна как предыдущая.

Похожие работы на - Цифро-аналоговое преобразование сигналов в микроконтроллерных системах

 

Не нашли материал для своей работы?
Поможем написать уникальную работу
Без плагиата!
Без нейросетей!