Проектирование систем контроля технологического параметра В-13
Министерство
образования РФ
Костромской
государственный технологический университет
Кафедра автоматики и микропроцессорной техники
Курсовая
работа
по дисциплине
“Технические
измерения и приборы”
на тему:
Проектирование
систем контроля технологического параметра
В-13
Выполнил:
Лебедев А.А.
Кострома,
2011
Содержание
Введение
1. Анализ
поставленной задачи и вариантов её решения
. Общие
сведения об измерениях и методах контроля влажности
2.1 Краткое
описание газорегуляторного пункта
.2 Методы и
средства измерений
2.3 Методы
измерения температуры
.4 Жидкостные
стеклянные термометры
2.5
Биметаллические и дилатометрические термометры
2.6
Манометрические термометры
2.7
Термоэлектрические термометры
2.8
Бесконтактное измерение температуры
2.9 Электрические
термометры сопротивления
2.10 Выбор
средства измерения
3. Разработка
структурной схемы системы контроля
. Разработка
функциональной схемы системы контроля
5. Выбор
конкретных устройств, линий связи. Расчет погрешностей
5.1 Выбор
модели термопреобразователя сопротивления
5.2 Выбор
модели измерительного преобразователя
5.3 Проверка
измерительной системы на точность
Заключение
Список
используемой литературы
Список
нормативных документов
Приложение
Введение
Современные
автоматизированные системы управления теплотехническими процессами требуют
значительного количества и разнообразия средств измерений, обеспечивающих,
выработку сигналов измерительной информации в форме, удобной для дистанционной
передачи, сбора, дальнейшего преобразования, обработки и представления ее.
Важнейшими
показателями современного научно-технического прогресса являются значительная
интенсификация технологических процессов, рост единичной мощности и
производительности агрегатов и тесно связанное с ними развитие технических средств
и техники управления.
Измерения,
как один из способов познания природы, способствуют новым научно-техническим
открытиям и их внедрению в производство и обеспечивают объективный контроль за
технологическими процессами, надежность работы оборудования и экономичность
производства. Энергетика, металлургическое и химическое производство, легкая
промышленность равно как и другие отрасли промышленности, немыслимы без
применения современных средств измерений. Особо важное значение приобретает
контроль за технологическими процессами в решении проблемы повышения качества
продукции и эффективности производства.
Задачи
в этом направлении требуют дальнейшего развития и внедрения автоматизированных
систем управления технологическими процессами (АСУ ТП) и производством (АСУП) с
широким использованием различных методов и современных средств измерении. Можно
без преувеличения сказать, что в целом ряде случаев эффективность производства
и качество продукции зависят от достоверности и своевременности полученной
измерительной информации о ходе технологического процесса.
Температура
является одним из важнейших параметров технологических процессов. Она обладает
некоторыми принципиальными особенностями, что обусловливает необходимость
применения большого количества методов и технических средств для ее измерения.
В отличие от таких физических величин, как длина,
масса и др. температура является не экстенсивной (параметрической), а
интенсивной (активной) величиной. Так, если разделить на две равные части
гомогенное тело, то его масса делится пополам. Температура, являющаяся
интенсивной величиной, таким свойством аддитивности не обладает, т. е. для
системы, находящейся в термическом равновесии, любая микроскопическая часть
системы имеет одинаковую температуру. Поэтому не представляется возможным
создание эталона температуры, подобном тому, как создаются эталоны экстенсивных
величин.
Измерять температуру можно только косвенным путем, основываясь на
зависимости от температуры таких физических свойств тел, которые поддаются
непосредственному измерению. Эти свойства тел называют термометрическими. К ним
относят длину, объем, плотность, термоЭДС, электрическое сопротивление и т. д.
Вещества, характеризующиеся термометрическими свойствами, называют
термометрическими. Средство измерений температуры называют термометром. Для
создания термометра необходимо иметь температурную шкалу. [1]
В качестве контролируемого параметра в данной работе выступает
температура газа до газорегуляторного пункта (ГРП). Необходимость
контролирования данного параметра обусловлено тем, что при увеличении
температуры пропана на 1 0С давление увеличивается в среднем на 7
кгс/см2, при значительном перепаде температур возможен разрыв трубы
из-за повышенного давления. Следует также отметить, что для исключения
образования гидратных пробок в газопроводах при транспортировке природного газа
с входным давлением до 1,2МПа (12кгс/см2) температура газа на входе в ГРП
должна быть не ниже 4 - 6°С в зависимости от относительной плотности (4°С для
плотности 0,6кгс/м3, 6°С для плотности 0,8кгс/м3).
1. Анализ поставленной задачи и вариантов её решения
|
Диапазон измерения
|
-50÷ +50 0С
|
|
Предел основной приведенной
погрешности датчика
|
±0.15 %
|
|
Допустимая результирующая
погрешность
|
1 %
|
|
Назначение
|
Показание, ввод в ЭВМ
|
В качестве контролируемого параметра выступает температура газа до
газорегуляторного пункта.
Исходя из заданных параметров, необходимо самостоятельно сконструировать
датчик, или выбрать его из ряда готовых, которые предлагает промышленность.
Далее оцениваем точность спроектированной системы контроля.
2. Общие сведения об измерениях и методах контроля
температуры
.1 Краткое описание газорегуляторного пункта
Газорегуляторные пункты (ГРП) и газорегуляторные установки (ГРУ)
предназначены для снижения входного давления газа до заданного выходного
(рабочего) и поддержания его постоянным независимо от изменения входного
давления и потребления газа. Колебания давления газа на выходе из ГРП (ГРУ)
допускаются в пределах 10% рабочего давления. В ГРП (ГРУ) осуществляются также
очистка газа от механических примесей, контроль входного и выходного давления и
температуры газа, предохранение рабочего давления от повышения или понижения,
учет расхода газа.
Газорегуляторные установки размещаются в газифицированных зданиях
непосредственно в помещениях котельных или цехов, где находятся
газоиспользующие агрегаты, или в смежных помещениях, имеющих не менее чем
трехкратный воздухообмен в час и соединенных с первым открытым проемом. Подача
газа от ГРУ к потребителям в других отдельно стоящих зданиях не допускается.
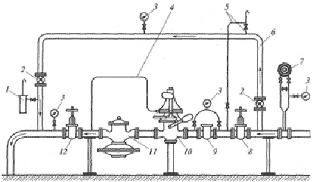
Рис.1. Принципиальная схема газорегуляторного пункта
-предохранительно-сбросный клапан (сбросное устройство); 2-задвижки на
байпасной линии; 3-манометры; 4-импульсная линия ПЗК; 5-продувочный газопровод;
6-байпасная линия; 7-расходомер газа; 8 - задвижка на входе; 9 - фильтр; 10 -
предохранительно-запорный клапан (ПЗК); 11-регулятор давления газа; 12-задвижка
на выходе.
В ГРП можно выделить три линии: основная, байпасная 6 (обводная) и рабочая.
На основной линии газовое оборудование располагается в такой
последовательности: запорное устройство на входе (задвижка 8); продувочный
газопровод 5; фильтр 9 для очистки газа от возможных механических примесей;
предохранительно-запорный клапан (ПЗК) 10, автоматически отключающий подачу
газа при повышении или понижении давления газа в рабочей линии за установленные
пределы; регулятор 11 давления газа, который снижает давление газа на рабочей
линии и автоматически поддерживает его на заданном уровне независимо от расхода
газа потребителями; запорное устройство (задвижка 12) на выходе из основной
линии.
В ГРП устанавливаются следующие контрольно-измерительные приборы:
термометры для измерения температуры газа и в помещении ГРП; расходомер газа 7
(газовый счетчик, дроссельный расходомер); манометры 3 для измерения входного
давления газа, давления в рабочей линии, давления на входе и выходе газового
фильтра. [2]
.2 Методы и средства измерений
Общее назначение средств измерений состоит в преобразовании различных
физических величин (температуры, влажности, давления, скорости, пути и т.д.) в
пропорциональный сигнал, удобный для автоматической обработки или для
восприятия оператором.
ОИ - объект измерения
СИ - система стандартов
О - оператор
Рис.2. Схема процесса измерения
Совокупность физических явлений, на которых основаны измерения,
называется принципом измерения. Методом измерения называется совокупность
приемов использования принципов и средств измерений. Средства измерений делятся
на измерительные преобразователи, приборы и системы. Измерительный
преобразователь (чувствительный элемент) - средство измерений, предназначенное
для выработки сигнала измерительной информации в форме, удобной для передачи,
преобразования, обработки, хранения, но не поддающейся непосредственному
восприятию наблюдателем. На вход измерительного преобразователя кроме входной
величины действуют и другие параметры объекта и окружающей среды. В этих
условиях он должен избирательно реагировать только на значение входной величины
и не реагировать на влияние всех остальных факторов. Измерительный прибор -
средство измерений, предназначенное для выработки сигнала измерения в форме,
доступной для непосредственного восприятия наблюдателем. Измерительная система
- система, предназначенная для выработки сигналов измерительной информации в
форме, удобной для автоматической обработки, передачи и использования в
автоматических системах управления, а также и для восприятия оператором.
Измерительные системы - это наиболее современные средства измерений,
позволяющие решать задачи автоматизации технологических процессов на высоком
техническом уровне.
.3 Методы измерения температуры
Современная термодинамика определяет температуру как величину, выражающую
состояние внутреннего движения равновесной макроскопической системы и
определяемую внутренней энергией и внешними параметрами системы.
Непосредственно температуру измерить невозможно, можно лишь судить о ней по
изменению внешних параметров, вызванному нарушением состояния равновесия
благодаря, теплообмену с другими телами.
Каждому методу определения температуры, в основе которого лежит
зависимость между каким-либо внешним параметром системы и температурой,
соответствует определенная последовательность значений параметра для каждого
размера температуры, называемая температурной шкалой. Наиболее совершенной
шкалой является термодинамическая температурная шкала (шкала Кельвина).
Практическая ее реализация осуществляется с помощью Международной практической
температурной шкалы (МПТШ), устанавливающей определенное число фиксированных
воспроизводимых реперных точек, соответствующих температуре фазового равновесия
различных предельно чистых веществ.
Исходным эталоном температуры является комплекс изготовленных в разных
странах мира газовых термометров, по показаниям которых определяются численные
значения реперных точек по отношению к точке кипения химически чистой воды при
давлении 101325 Па, температура которой принята равной 100,00°С (373,15 К
точно). Для практического воспроизведения и хранения МПТШ международным
соглашением установлены единые числовые значения реперных точек, которые с
развитием техники время от времени уточняются и корректируются. Последняя
корректировка была произведена в 1968 г. Согласно МПТШ-68 установлены следующие
реперные точки, соответствующие давлению 101325 Па: точка кипения кислорода
-182,97 °С (90,18 К), тройная точка воды (при давлении 610 Па) +0,01 °С (273,16
К), точка кипения воды + 100,00 °С (373,15 К), точки затвердевания: олова
+231,9681 °С (505,1181 К), цинка +419,58 °С (692,73 К), серебра +961,93 °С
(1235,08 К) и золота +1064,43 °С (1337,58 К).
Весь температурный диапазон перекрывается семью шкалами, для
воспроизведения которых в зависимости от области шкалы используются различные
методы: от 1,5 до 4 К - измерение давления ров гелия-4, от 4,2 до 13,8 К -
германиевые терморезисторы 13,8 до 273,16 К и от 273,16 до 903,89 К -
платиновые терморезисторы от 903,89 до 1337,58 К - термопары платинородий -
платина, от 1337,58 до 2800 К - температурные лампы и от 2800 до 100 000 К -
спектральные методы. Огромный диапазон существующих температур (теоретически
максимально возможное значение температуры составляет 1012 К)
обусловил большое разнообразие методов их измерения.
Существуют аналоговые и микропроцессорные приборы для измерения
температуры. Аналоговые средства измерения постепенно уходят в прошлое, и на их
место приходят микропроцессорные, отличающиеся большей точностью и диапазоном
измерения, широтой применения, простотой изготовления и использования.
Температуру измеряют с помощью устройств, использующих различные
термометрические свойства жидкостей, газов и твердых тел. Существуют десятки
различных устройств, применяемых в промышленности, при научных исследованиях,
для специальных целей. [3]
В таблице 1 приведены наиболее распространенные устройства для измерения
температуры и практические пределы их применения.
Таблица 1
|
Термометрическое свойство
|
Наименование устройства
|
Пределы измерения, 0С
(нижний/верхний)
|
|
Тепловое расширение
|
Жидкостные стеклянные
термометры Биметаллические термометры Дилатометрические термометры
|
-190÷600 -100÷600 -30÷1000
|
|
Изменение давления
|
Манометрические термометры
|
-160÷600
|
|
Изменение электрического
сопротивления
|
Электрические термометры
сопротивления Полупроводниковые термометры сопротивления
|
-200÷500 -90÷180
|
|
Термоэлектрические эффекты
|
Термоэлектрические
термометры (термопары) стандартизованные
|
-50÷1600
|
|
Термоэлектрические
термометры (термопары) специальные
|
1300÷2500
|
|
Тепловое излучение
|
Оптические пирометры
|
700÷6000
|
|
Радиационные пирометры
Фотоэлектрические пирометры Цветовые пирометры
|
20÷3000 600÷4000 1400÷2800
|
.4 Жидкостные стеклянные термометры
Самые старые устройства для измерения температуры - жидкостные стеклянные
термометры - используют термометрическое свойство теплового расширения тел.
Действие термометров основано на различии коэффициентов теплового расширения
термометрического вещества и оболочки, в которой она находится
(термометрического стекла или реже кварца).
Жидкостный термометр состоит из стеклянных баллона 1, капиллярной трубки
3 и запасного резервуара 4 (рис. 3). Термометрическое вещество 2 заполняет
баллон и частично капиллярную трубку. Свободное пространство в капиллярной
трубке и в запасном резервуаре заполняется инертным газом или может находиться
под вакуумом. Запасной резервуар или выступающая за верхним делением шкалы
часть капиллярной трубки служит для предохранения термометра о порчи при
чрезмерном перегреве.
Основные достоинства стеклянных жидкостных термометров - простота
эксплуатации, достаточно высокая точность измерения даже для термометров
серийного изготовления, дешевизна. К недостаткам стеклянных термометров можно
отнести: хрупкость, плохую видимость шкалы (если не применять специальной
увеличительной оптики), невозможность автоматической записи показаний, передачи
показаний на расстояние и ремонта, значительная инерционность.
.5 Биметаллические и дилатометрические термометры
Действие биметаллических и дилатометрических
термометров основано на термометрическом свойстве теплового расширения
различных твердых тел.
В биметаллических термометрах в качестве чувствительного элемента используют
пластинки или ленты, состоящие из двух слов разнородных металлов,
характеризуемых различными коэффициентами теплового расширения. Чаще всего
применяют медноцинковый сплав - латунь (70% Cu + 30% Zn) и
сплав железа с никелем - инвар (64% Fe + 36% Ni), с существенно различными
коэффициентами теплового расширения: порядка 0,000019 град-1 для
латуни и 0,000001 град-1 для инвара. При изменении температуры
биметаллической пластинки она деформируется (рис.4) вследствие неодинакового
расширения отдельных слоев пластинки. Если закрепить неподвижно один конец
пластинки, то по перемещению другого конца, соединенного с указателем, можно
судить об изменении температуры.
Рис. 4 а-при нормальной температуре; б - при повышенной; 1-латунь; 2-
инвар
Чувствительные элементы биметаллических термометров
обычно выполняют в форме спиралей, соединяемых со стрелочным указателем. Такие
термометры класса точности 2,0 или 2,5 применяют для измерения температуры
атмосферного воздуха.
Достоинства биметаллических термометров - простота
изготовления, механическая прочность, возможность встраивания в системы
автоматики и тепломеханики. Недостатки - низкая чувствительность, проявление
"усталости" металлов и отсюда - необходимость частой проверки и
калибровки по эталонным термометрам.
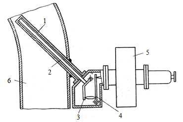
Дилатометрические термометры как указатели температуры
обычно не применяют. Их используют в качестве устройств информации (датчиков) в
системах автоматического регулирования. На рис. 5 показано одно из таких
устройств.
Рис. 5. Схема дилатометрического устройства измерения
температуры.
Чувствительный элемент выполнен из металлической
оболочки 1 и кварцевого или фарфорового стержня 2. Рычаги 3 и 4 пропорционально
увеличивают разность расширения оболочки и стержня и создают входной сигнал для
гидравлического усилительного устройства 5 автоматического регулятора
температуры в трубопроводе 6.
.6 Манометрические термометры
Действие манометрических термометров основано на использовании
зависимости давления вещества при постоянном объеме от температуры. Замкнутая
измерительная система манометрического термометра состоит из (рис. 6) из
чувствительного элемента, воспринимающего температуру измеряемой среды, -
металлического термобаллона 1, рабочего элемента манометра 2, измеряющего
давление в системе, длинного соединительного металлического капилляра 3. При
изменении температуры измеряемой среды давление в системе изменяется, в
результате чего чувствительный элемент перемещает стрелку или перо по шкале
манометра, отградуированного в градусах температуры. Достоинствами
манометрических термометров являются сравнительная простота конструкции и
применения, возможность дистанционного измерения температуры и возможность
автоматической записи показаний. К недостаткам манометрических термометров
относятся: относительно невысокая точность измерения (класс точности 1.6; 2.5;
4.0 и реже 1.0); небольшое расстояние дистанционной передачи показаний (не
более 60 метров), трудность ремонта при разгерметизации измерительной системы,
влияние температуры окружающей среды на капилляр, инерционность.
Манометрические термометры не имеют большого применения на тепловых
электрических станциях. В промышленной теплоэнергетике они встречаются чаще,
особенно в случаях, когда по условиям взрыво- или пожаробезопасности нельзя
использовать электрические методы дистанционного измерения температуры.
.7 Термоэлектрические термометры
Для измерения температуры наиболее широкое распространение получили
термоэлектрические термометры, работающие в интервале температур от -200 до
+2500 0C и выше. Данный
тип устройств характеризует высокая точность и надежность, возможность
использования в системах автоматического контроля и регулирования параметра, в
значительной мере определяющего ход технологического процесса. Сущность
термоэлектрического метода заключается в возникновении ЭДС в проводнике, концы
которого имеют различную температуру.
Следует иметь в виду, что с ростом температуры возрастает влияние
агрессивных свойств среды и продолжительность работы термоэлектрических
термометров быстро снижается. Созданию надежных высокотемпературных
термоэлектрических термометров дли длительного применения уделяется в настоящее
время большое внимание как в России, так и за границей.
К числу достоинств термоэлектрических термометров следует отнести
достаточно высокую степень точности, возможность централизации контроля
температуры путем присоединения нескольких термоэлектрических термометров через
переключатель к одному измерительному прибору, возможность автоматической
записи измеряемой температуры с помощью самопишущего прибора, возможность
раздельной градуировки измерительного прибора и термоэлектрического термометра.
.8 Бесконтактное измерение температуры
О температуре нагретого тела можно судить на основании измерения
параметров его теплового излучения, представляющего собой электромагнитные
волны различной длины. Чем выше температура тела, тем больше энергии оно
излучает.
Термометры, действие которых основано на измерении теплового излучения,
называют пирометрами. Они позволяют контролировать температуру от 100 до 6000
0С и выше. Одним из главных достоинств данных устройств является отсутствие
влияния измерителя на температурное поле нагретого тела, так как в процессе
измерения они не вступают в непосредственный контакт друг с другом. Поэтому
данные методы получили название бесконтактных.
На основании законов излучения разработаны пирометры следующих типов:
) пирометр суммарного излучения (ПСИ) - измеряется полная энергия
излучения;
) пирометр частичного излучения (ПЧИ) - измеряется энергия в
ограниченном фильтром (или приемником) участки спектра;
) пирометры спектрального отношения (ПСО) - измеряется отношение
энергии фиксированных участков спектра.
В зависимости от типа пирометра различаются радиационная, яркостная,
цветовая температуры.
Радиационной
температурой реального тела Тр называют температуру, при которой полная
мощность АЧТ равна полной энергии излучения данного тела при действительной
температуре Тд. Яркостной температурой реального тела Тя называют температуру,
при которой плотность потока спектрального излучения АЧТ равна плотности потока
спектрального излучения реального тела для той же длины волны (или узкого
интервала спектра) при действительной температуре Тд. Цветовой температурой
реального тела Тц называют температуру, при которой отношения плотностей потоков
излучения АЧТ для двух длин волн
и
равно отношению плотностей потоков излучений
реального тела для тех же длин волн при действительной температуре Тд.
В
практике для измерения температур до 6500С применяются термометры сопротивления
(ТС), принцип действия которых основан на использовании зависимости
электрического сопротивления вещества от температуры. Зная данную зависимость,
по изменению величины сопротивления термометра судят о температуре среды, в
которую он погружен. Выходным параметром устройства является электрическая
величина, которая может быть измерена с весьма высокой точностью (до 0.020С),
передана на большие расстояния и непосредственно использована в системах
автоматического контроля и регулирования.
Для
металлических термометров
-сопротивление
при t=0,
-сопротивление
при температуре t
Электрические
термометры сопротивления практически позволяют измерять температуру с высокой
степенью точности - до 0,02°С, а при измерениях небольшой разности температур -
до 0,0005°С. Обязательное наличие источника тока, а также большие размеры
чувствительного элемента у термометров сопротивления ограничивают их
применение. Если у термопар температура определяется в точке соединения двух
термоэлектродов, то у термометров сопротивления - на участке некоторой длины.
В
качестве материалов для изготовления чувствительных элементов ТС используются
чистые металлы: платина, медь, никель, железо и полупроводники.
Чаще
применяют металлические термометры сопротивления. Материалы для термометров
сопротивления должны обладать следующими свойствами: а) высоким удельным
сопротивлением; б) высоким температурным коэффициентом; в) химической
инертностью; г) легкой технологической воспроизводимостью; д) дешевизной; е)
постоянством физических свойств во времени.
Термометры,
предназначенные для измерения температуры воздуха при атмосферном давлении,
имеют перфорированный внешний защитный чехол.
Достоинствами
ТСПП являются небольшие габариты, малая инерционность, высокий коэффициент
. Однако они имеют и существенные недостатки:
1) нелинейный характер зависимости сопротивления от температуры;
) отсутствие воспроизводимости состава и градуировочной
характеристики, что исключает взаимозаменяемость отдельных ТС данного типа. Это
приводит к выпуску ТСПП с индивидуальной градуировкой.
) Необходимость источника постоянного тока. [4]
.10 Выбор средства измерения
В
постановке задания сформулировано требование о том, что система на выходе
выдает унифицированный токовый сигнал, поэтому такие устройства, как жидкостные
стеклянные термометры, манометрические термометры, биметаллические термометры
не могут быть использованы (на выходе данных устройств достаточно сложно
получить токовый сигнал). Пирометры также не пригодны, так как данные
устройства имеют нижний предел измерений, который превышает обозначенный в
задаче. Термопары удовлетворяют по всем требованиям заданию, однако
соединительные провода, используемые в комплекте с термопарами, дают
значительную погрешность. Исходя из вышеперечисленного, можно сделать вывод о
том, что наиболее подходящим способом измерения заданного параметра, является
способ измерения электрического сопротивления, который удовлетворяет всем
поставленным условиям задачи. Данный метод имеет также некоторые преимущества,
такие как небольшие габариты, малая инерционность, высокий коэффициент
.
газ контроль
термопреобразователь
3. Разработка структурной схемы системы контроля
В качестве чувствительного элемента используется термопреобразователь с
унифицированным выходным сигналом, который позволяет не использовать
дополнительные нормирующие преобразователи и усилители. В качестве отсчётного
устройства используется измерительный преобразователь с унифицированным входным
и выходным сигналом. Таким образом, структурная схема примет следующий вид
(рис. 9):
Рис.9. Структурная схема проектируемой системы
4. Разработка функциональной схемы системы контроля
Рассматривая структурную схему, а также задания к курсовому проекту,
можно представить функциональную схему проектируемого устройства (рис. 10). На
рисунке ТЕ - термопреобразователь, ТI - измерительный преобразователь, TT - преобразователь сигнала.
Рис.10. Функциональная схема
5. Выбор конкретных устройств, линий связи. Расчет погрешностей
.1 Выбор модели термопреобразователя сопротивления
В рамках данной курсовой работы можно либо самостоятельно разработать
функциональные блоки системы контроля, либо использовать уже готовые,
выпускаемые промышленностью. Подберем готовые функциональные блоки, или
целостную измерительную систему, отвечающую в полном объеме предъявленным
требованиям. В настоящее время промышленностью выпускается огромное количество
разнообразных датчиков и целостных измерительных систем, основанных на
разнообразных методах и принципах измерений, имеющих разнообразную сложность и
функциональность.
Рассмотрим некоторые модели термопреобразователей:
) Термопреобразователь платиновый ТСУ005 (ЗАО НПЦ «Навигатор»)
· Диапазон измеряемых температур -50…+500С
· Номинальная статическая характеристика 100П
· Предел допускаемой основной приведенной погрешности ±0.25%
· Потребляемая мощность не более 1 Вт
· Выходной сигнал 4...20 мА
· Диапазон условных давлений 0.3 МПа
· Цена 965 р
) Термопреобразователь медный ТСМУ 9418 (НПП «Эталон»)
· Диапазон измеряемых температур -50…+1500С
· Номинальная статическая характеристика 100М
· Предел допускаемой основной приведенной погрешности ±0.15%
· Напряжение электропитания постоянного тока - 12 В
· Потребляемая мощность не более 1.2 Вт
· Диапазон условных давлений 0.8 МПа
· Цена 628 р
) Термопреобразователь ТМ-9201 (ООО «Прибор»)
· Диапазон измеряемых температур -50...+100°С
· Предел допускаемой основной приведенной погрешности ±0.5%
· Диапазон условных давлений 0.5 МПа
· Крепление: штуцер, посадка в гнездо
· Цена 450 р
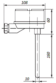
Рис.11. Габариты ТП
Исходя из заданных параметров измеряемой величины, в качестве
термопреобразователя можно выбрать термопреобразователь с унифицированным
выходным сигналом ТСМУ Метран 274-МП-Ex,, т.к. он удовлетворяет всем требованиям данной
курсовой работы, и цена данного датчика является наиболее приемлемой.
Обозначение «МП» - микропроцессорный термопреобразователь, который является
более точным. Так как нам необходимо контролировать температуру газа до ГРП, а
газ является взрывоопасной средой, выбран термопреобразователь, который может
применяться во взрывоопасных зонах (обозначение «Ех»). У данного датчика
диапазон условных давлений 2.0 МПа, это позволяет его использовать в
газорегуляторных пунктах высокого давления (более 1.2 МПа). Также выбор
обоснован тем, что у данного термопреобразователя предел допускаемой основной
приведенной погрешности не превосходит предела основной приведенной погрешности
датчика, заданного в задании к курсовой работе
Предназначен для измерения температуры нейтральных и агрессивных сред, по
отношению к которым материал защитной арматуры является коррозионностойким.
Чувствительный элемент первичного преобразователя и встроенный в головку
датчика измерительный преобразователь преобразуют измеряемую температуру в
унифицированный выходной сигнал постоянного тока.
Технические характеристики и параметры
Диапазоны унифицированных выходных сигналов, номинальная статическая
характеристика (НСХ) первичного преобразователя, диапазоны преобразуемых
температур и др. параметры указаны в табл.2.
Табл.2.
|
Тип и исполнение
термопреобразователя
|
ТСМУ Метран274-МП-Ex
|
|
НСХ
|
100М
|
|
Выходной сигнал, мА
|
0÷5
|
|
Диапазон преобразуемых
температур, °С
|
-50...100, -50...150, -50...50,
0...50, 0...100, 0...150,0...180
|
|
Предел допускаемой основной
приведенной погрешности, γ,%
|
±0,15
|
|
Зависимость выходного
сигнала от температуры
|
линейная
|
|
Потребляемая мощность
|
не более 0,9 Вт
|
IP65 по ГОСТ 14254
|
|
Виброустойчивость
|
группа исполнения V1 по
ГОСТ 12997
|
|
Напряжение питания
|
(24±2%)В постоянный ток
|
|
Масса
|
0,45...0,65 кг
|
|
Вероятность безотказной
работы ТП за 2000 ч
|
не менее 0,8
|
|
Средний срок службы ТСМУ,
ТСПУ
|
не менее 5 лет
|
Назначение
Термопреобразователи с унифицированным выходным сигналом состоят из
первичного преобразователя температуры (термопреобразователя сопротивления) и
программируемого нормирующего преобразователя.
Изменение температуры осуществляется путем преобразования сигнала
первичного преобразователя температуры в унифицированный выходной сигнал
постоянного тока программируемым нормирующим преобразователем (далее ПНП),
который вмонтирован непосредственно в корпусе соединительной головки первичного
преобразователя.
Модели термопреобразователей с обозначением «Ех» могут применятся во
взрывоопасных зонах согласно требованиям главы 7.3 ПУЭ, в которых возможно
образование взрывоопасных смесей газов, паров, горючих жидкостей с воздухом
категории IIА, IIВ, IIС группа Т1-Т6.
ТП соответствуют ТУ 4211-003-12580824-2001 «Термопреобразователи с
унифицированным выходным сигналом Метран-274МП-Ех».
Устройство и работа
ТП состоят из термозондов и измерительных преобразователей с выходным
сигналом 0-5 мА. Термозонды снабжены чувствительными элементами (медным ЭЧМ).
Измеряемый параметр для ТСМУ Метран-274МП-Ех-температура, преобразуемая в
изменение омического сопротивления терморезистора, размещенного в термозонде.
Программируемый нормирующий преобразователь (ПНП) преобразует сигнал от
первичного преобразователя температуры (ППТ) с помощью аналогово-цифрового
преобразователя (АЦП) в дискретный сигнал. Дискретный сигнал обрабатывается
микропроцессором с целью:
линеаризации НСХ ЧЭ ППТ;
перестройки пределов измерения в пределах рабочего диапазона температур;
перенастройки номинальной статической характеристики в случае замены
чувствительного элемента на другой тип;
калибровки датчика под индивидуальную статическую характеристику
чувствительного элемента по 2 - 8 температурным точкам для повышения его
точности;
изменения постоянной времени усреднения показаний;
самодиагностики составляющих узлов ПНП;
детектирования обрыва или короткого замыкания ППТ.
С выхода микропроцессора дискретный сигнал поступает на цифро-аналоговый
преобразователь (ЦАП), осуществляющий преобразование дискретного сигнала в
унифицированный токовый сигнал 0-5 мА [5].
Рис. 12. Схема ТСМУ Метран274-МП-Ex
н - сопротивление нагрузкин= 250 Ом- источник питания
Рис. 13. Схема внешних электрических подключений
5.2 Выбор модели измерительного преобразователя
Рассмотрим некоторые модели термопреобразователей:
) Измерительный преобразователь ИПМ 0399/М3
· Напряжение питания ~ 176…253В
· Потребляемая мощность 11ВА
· Предел допускаемой основной приведенной погрешности ±0,25%
· Цена 4500 р
) Измерительный преобразователь ИР-13-2-0
· Напряжение питания ~ 220 В; 50 Гц
· Связь с ЭВМ через интерфейс RS-232
· Основная абсолютная погрешность ±9°С
· Потребляемая мощность 10ВА
· Цена 8160 р
В качестве измерительного преобразователя, можно выбрать измерительный преобразователь
Метран-950, который может работать совместно с ТСМУ Метран 274-МП-Ex. Выбор данного устройства обусловлен
тем, что у этого измерительного преобразователя цена является наиболее
приемлемой, и он может преобразовывать сигнал с термопреобразователя и
показывать значение температуры газа на основном табло, и с помощью интерфейса
RS232 выводить информацию в компьютер. Также имеется встроенный источник
питания для внешних устройств, т.е. отпадает необходимость устанавливать
дополнительный блок питания для термопреобразователя сопротивления.
Общие сведения
Измерительный преобразователь Метран-950 предназначен для непрерывного
преобразования входных сигналов от термопреобразователей сопротивления,
преобразователей термоэлектрических и преобразователей с унифицированным
выходным сигналом в выходной унифицированный токовый сигнал 0÷5, 4÷20, 0÷20 мА.
· Подключение различных типов первичных преобразователей к
универсальному входу
· Возможность программирования и перенастройки потребителем
· Визуализация измеряемых параметров на встроенном светодиодном
индикаторе
· Встроенный источник питания для внешних устройств
· Три выходных реле аварийной сигнализации
· Все установки параметров и настройка производятся кнопками с
передней панели прибора или с компьютера с помощью программного обеспечения
· ТУ 4220H005H51465965H2004
Выходные устройства
. преобразователь встроенный измерительный для преобразования измеряемой
величины в унифицированный выходной сигнал 4-20 мА;
. встроенный интерфейс RS232 для связи с компьютером.
Технические характеристики и параметры
Табл.4.
|
Измеряемая величина
|
Температура, °С
|
|
Диапазон измерений
|
-50...200
|
|
Тип первичного
преобразователя (НСХ)
|
ТСМ (50М, 53М, 100М)
|
|
Пределы допускаемой
основной приведенной погрешности
|
измерительного канала, %
|
±0,2
|
|
канала преобразования, %
|
|
Питание
|
питание от сети переменного
тока напряжением 220В и частотой (50±1)Гц
|
|
Потребляемая мощность
|
8 ВА
|
|
Габаритные размеры
|
70х75х116мм
|
Индикация
Метран-950 имеет два четырехразрядных светодиодных и три одиночных
индикатора.
Основное табло предназначено для отображения:
числовых значений текущего токового сигнала;
буквенно-цифровых наименований пунктов меню в режиме клавиатурного
программирования параметров прибора;
сообщения об ошибках
Дополнительное табло предназначено для отображения:
значения уставки срабатывания одного из реле или типа входного сигнал
(первичного преобразователя) в режиме измерения;
буквенно-цифровых значений параметров в режиме клавиатурного
программирования параметров прибора;
символьные сообщения об ошибках
Устройство и принцип работы
Рис.14. Структурная схема ИП
Метран-950 имеет один измерительный канал с гальванической развязкой
вход-выход и три гальванически развязанные канала коммутации цепей переменного
и постоянного тока (зависит от варианта исполнения) для дискретного
регулирования измеряемого параметра. Состояния каналов коммутации (замкнуто или
разомкнуто) зависят от уставок и значения измеряемого параметра. Структурная
схема ИП приведена на рис.14. Блок питания (БП) преобразует сетевое напряжение
220 В частотой 50 Гц в стабилизированные напряжения постоянного тока,
необходимые для питания узлов ИП в напряжение постоянного тока 24 В,
предназначенное для питания внешних цепей. Входной преобразователь (ВП)
обеспечивает преобразование значения входного параметра в напряжение,
согласованное по диапазону с входным напряжением АЦП. Аналого-цифровой
преобразователь (АЦП) преобразует напряжение с выхода ВП в код. Модуль
интерфейса (МИ) обеспечивает гальваническую развязку и согласование уровней
микроконтроллерного модуля (МКМ) и СОМ-порта компьютера. Модуль реле (МР)
обеспечивает коммутацию внешних цепей регулирования. Состояние реле зависит от
значения измеренного параметра и уставок, задаваемых пользователем при
эксплуатации.
Модуль преобразователя встроенного измерительного (ПВИ) обеспечивает
формирование выходного тока. [7]
.3 Проверка измерительной системы на точность
Найдем сопротивление всех соединительных проводов. Задана длина
соединительной линии, равная L=5 м.
Пусть используется медный провод сечением S=1мм2.
Тогда сопротивление подводящей линии Rл
Rл=ρ*L/S=17*10-9
Ом
м *(5м/1*10-6м2)= 0,085 Ом.
Rн=250
Ом-сопротивление нагрузки, подключаемое к ТП
ΔR= (Rн+Rл)- Rн=0.085
Ом
γл= ΔR*100%/Rоб=0.085*100%
/ (250+0,085)=0,034%
Находим
результирующую погрешность γрез, с учетом основной приведенной погрешности ТП γтп,
измерительного преобразователя γип1, γип2
γрез=( γл2 + γип12 + γип22 +γТП2 )0,5=(0.0342+0.22
+0.252 +0.152)0.5=0.355%
.355%<1% -таким образом, получившаяся результирующая
погрешность меньше требуемой.
Заключение
В
ходе проделанной работы была спроектирована система, измеряющая температуру
газа до газорегуляторного пункта. В качестве средства измерения был выбран
метод измерения температуры термосопротивлением. После разработки структурной и
функциональной схемы системы контроля были выбраны конкретные устройства:
термопреобразователь с унифицированным выходным сигналом ТСМУ Метран274-МП-Ex и
измерительный преобразователь Метран-950, которые соответствуют современным
требованиям и стандартам.
Достоинством
полученной системы является то, что полученная допустимая результирующая
погрешность (0.355%) меньше требуемой заданием (1%).
Таким
образом, в ходе проделанной работы были решены все задачи, поставленные в
данной курсовой работе.
Список
используемой литературы
1) Преображенский
В.П. Теплотехнические измерения и приборы: Учебник для вузов по специальности
«Автоматизация теплоэнергетических процессов».-3-е изд., перераб. - М.:
«Энергия», 1978. - 704с., ил.
2) Сайт «Информационный
ресурс для операторов котельной», код доступа <#"554105.files/image023.jpg">
Рис.15
Параметрами мостовой схемы являются: напряжение питания U, значение
резисторов R5, R6, R7, R8, токи в плечах моста I1 = I2. Причем токи выбираются
из условия, что погрешность от саморазогрева терморезистора не превысит
нормирующего значения. Для достижения наибольшей чувствительности моста
необходимо выбрать:
;
где
- сопротивление терморезистора в начальной точке при
температуре t0 (в начале температурного диапазона).
Сопротивление
соединительных проводов рассчитывается по формуле:
=
=0.0085 Ом
Поскольку
сопротивление провода меньше 10 Ом, в расчетах будем брать
= 10 Ом с
учетом того, что при изготовлений преобразователя сопротивление проводов будет
доведено до 10 Ом с помощью построечных резисторов.
Для
металлических терморезисторов максимальный ток через терморезистор имеет место
при температуре t0. Следовательно
=78.7 Ом
(значение при t=-50°C для термосопротивления 100М)
У
измерительного преобразователя Метран 950 имеется блок питания постоянного тока
24 В, следовательно Uп=24 В. Исходя из этого выберем сопротивления:
R8=
=78.7 Ом; R6=R7=11955.65 Ом; R5=23911.3
Ом
Расчет
градуировочной характеристики сведем в табл.5:
Табл.5.
|
T,°C
|
-50
|
-25
|
0
|
25
|
50
|
|
Rt
|
78.7
|
89.35
|
100
|
110.65
|
121.31
|
|
Uвых
|
0.0
|
   
Для
t0=-50°C
Uвых=0
Чтобы
привести выходной сигнал преобразователя к нормированному (определяется ГОСТ
9895-78), необходимо соблюсти следующие условия:вых / t=t0 = 0; Uвых / t=tmax =
Umax норм, (где t0 - температура в начале температурного диапазона;
Umax норм - нормируемое напряжение на выходе преобразователя в конечной точке
температурного диапазона)
Для
выполнения этих условий сигнал с выхода моста подают на масштабирующий
усилитель, коэффициент усиления которого должен быть равным:
Если
масштабирующий усилитель представляет собой операционный усилитель,
инвертирующий коэффициент усилителя можно рассчитать из соотношения:
.
Примем
R=10 Ом, тогда Ом
В
качестве операционного усилителя выбираем микросхему К140УД14, цоколевка
которой изображена на рис.16. Электрические характеристики микросхемы сведены в
табл.6:
Табл.
6.
|
Напряжение питания UП, В
|
2x(5..18)
|
|
Минимальный коэффициент усиления КDmin
|
|
|
Максимальный коэффициент усиления КDmax
|
|
|
Потребляемый ток IП, мА
|
1
|
|
Напряжение смещения
"нуля" Uсм, мВ
|
5
|
|
Наибольшая амплитуда выходного
напряжения ±U2m max, В
|
12
|
|
Входное сопротивление RD вх, МОм
|
30
|
|
Коэффициент ослабления
синфазного сигнала Kсф, дБ
|
85
|
Рис.16.
Нам необходимо получить унифицированный токовый сигнал 0-5 мА, для этого
к нагрузке подключаем резистор Rн=1кОм.
Таким образом, получим нормирующий преобразователь, изображенный на рис. 16
Рис. 16. Схема нормирующего термопреобразователя
Рис. 17. ТСМУ Метран274-МП-Ex
Рис. 18. Метран-950
Похожие работы на - Проектирование систем контроля технологического параметра В-13
|